HDF825X - Taille-haies POULAN - Notice d'utilisation et mode d'emploi gratuit
Retrouvez gratuitement la notice de l'appareil HDF825X POULAN au format PDF.
| Type d'appareil | Motoculteur |
| Moteur | Essence, 4 temps |
| Puissance | Non précisé |
| Largeur de travail | Non précisé |
| Profondeur de travail | Non précisé |
| Nombre de vitesses | Non précisé |
| Transmission | Manuelle |
| Type de fraises | Acier trempé |
| Poids | Non précisé |
| Capacité du réservoir | Non précisé |
| Dimensions | Non précisé |
| Type de démarrage | Manuel |
| Guidon | Réglable |
| Utilisation recommandée | Labour, préparation du sol |
| Accessoires compatibles | Non précisé |
| Garantie | Non précisé |
FOIRE AUX QUESTIONS - HDF825X POULAN
Téléchargez la notice de votre Taille-haies au format PDF gratuitement ! Retrouvez votre notice HDF825X - POULAN et reprennez votre appareil électronique en main. Sur cette page sont publiés tous les documents nécessaires à l'utilisation de votre appareil HDF825X de la marque POULAN.
MODE D'EMPLOI HDF825X POULAN
L'ENTRETIEN ET LES PIECES DE RECHANGE
Ce produit, concu avec les soins les plus attentifs, est fabriqué en accord avec des standards stricts. comme pour tous les produits avec des parties mobiles, il peut être nécessaire pendant la durabilité de votre machine d'effectuer des ajustements ou le remplacement de certaines pieces.
Pour les pieces de rechange et l'entretien, contactez notre concessionnaire autorisé: appelez 1-800-849-1297
Pour les pieces de rechange, ayez pres de vous:
A. Numéro du modele/Référence numéro du manufacturer
B. Description de la pierce
Pour l'assistance technique: appelez 1-800-829-5886
Pour un manuel de pieces, allez à notre site web: www.poulan-pro.com/support.asp
N.B.: HOP assures la distribution des pieces de rechange et l'entretien de ses produits par l'intérimédiaire des concessionnaires et des distributeurs agréés; par conséquent toute demande de pieces ou d'entretien doit être adressée directement au distributeur agréé le plus proche. La philosophie de HOP est d'améliorer en permanence la gamme complète de ses produits. Si les caractéristiques ou l'apparace de votre outil sont différentes de celles décrites dans ce Manuel, contactez S.V.P. votre concessionnaire pour les informations et l'assistance concernant les mises à jour.
GUIDE DE DÉPANNAGE
| PROBLEME | CAUSE | CORRECTION |
| Le moteur refuse de démarrer | 1. Sans essence.2. Le moteur n'est pas correctement étrangléd.3. Le moteur est noyéd.4. Filtre à air sale.5. Il y a d'eau dans l'essence.6. Réservoir d'essence bouché.7. Fil de bougie d'allage est débranché.8. Mauvaise bougie d'allage ou écart incorrect.9. Carburateur dérégléd. | 1. Remplissez le réservoir d'essence.2. Rétérérez-vous à la section "DEMARRER LE MOTEUR" dans la section d'utilisation.3. Attendez plusieurs minutes avant de démarrer.4. Nettoyez/remplacez la cartouche de filtre à air.5. Vidangez l'essence du réservoir et du carburateur, et remplissez le réservoir avec l'essence fraîche.6. Enlevez le réservoir d'essence et nettoyez-le.7. Branchez le fil de bougie d'allage.8. Remplacez la bougie d'allage, ou réglez l'écart.9. Réglez le carburateur. |
| Démarrage difficile | 1. La commande des gaz n'est pas réglée correctement.2. Filtre à air sale.3. Mauvaise bougie d'allage ou écart incorrect.4. Essence sale ou vieille.5. Fil de bougie d'allage débranché.6. Carburateur dérégléd. | 1. Posez la commande des gaz à la position rapide ("FAST").2. Nettoyez/remplacez la cartouche de filtre à air.3. Remplacez la bougie d'allage, ou réglez l'écart.4. Vidangez l'essence du réservoir et remplissez avec l'essence fraîche.5. Branchez le fil de bougie d'allage.6. Réglez le carburateur. |
| Le moteur manque de puissance | 1. Moteur surcharge.2. Filtre à air sale.3. Niveau d'huile bas ou huile sale.4. Bougie d'allage défectueuse.5. Présence d'huile dans l'essence.6. Essence sale ou vieille.7. Il y a d'eau dans l'essence.8. Réservoir d'essence bouché.9. Fil de bougie d'allage est débranché.10. Tamis d'air encrassé.11. Silencieux est bouché/sale.12. Le carburateur est dérégléd.13. Mauvaise compression. | 1. Réglez laJAuge de profondeur et les roues pour labourage moins profond.2. Nettoyez/remplacez la cartouche de filtre à air.3. Vérifiéz le niveau d'huile ou remplacez-la.4. Nettoyez, ajustez l'écart ou remplacez la bougie d'allage.5. Vidangez, nettoyez et remplissez le réservoir d'essence et nettoyez le carburateur.6. Vidangez l'essence du réservoir et remplissez avec l'essence fraîche.7. Vidangez l'essence du réservoir et du carburateur, et remplissez le réservoir avec l'essence fraîche.8. Enlevez le réservoir d'essence et nettoyez-le.9. Branchez et serrez le fil de bougie d'allage.10. Nettoyez le tamis d'air de moteur.11. Nettoyez/remplacez le silencieux.12. Réglez le carburateur.13. Contactez un centre d'entretien autorisé. |
| Moteur surchauffe | 1. Niveau d'huile bas ou huile sale.2. Tamis d'air encrassé.3. Moteur encrassé.4. Silencieux bouché partiellement.5. Réglage de carburateur incorrect. | 1. Vérifiéz le niveau d'huile ou la remplacez-la.2. Nettoyez le tamis d'air.3. Nettoyez les ailettes de cylindre, le tamis d'air, et autrou du silencieux.4. Enlevez et nettoyez le silencieux.5. Réglez le carburateur à la position plus riche. |
| Rebondissements excessifs et un maniement difficile | 1. La terre est trop sèche et dure.2. Réglages des roues et de la jauge de profondeur. | 1. Mouillez légarèment la terre ou attendez des conditions de sol plus favorables.2. Réglez les roues et la jauge de profondeur. |
| Terre se groupe en mottes | 1. La terre est trop mouillée. | 1. Attende des conditions de terre plus favorables. |
| Moteur marche mais la motobineuse ne bouge pas | 1. Courroie trapézoidale n'est pas dans les poulies.2. Mauvais réglage de la courroie trapézoidale.3. La barre de commande n'est pas engagée. | 1. Vérifiéz la courroie trapézoidale.2. Vérifiéz/réglez la courroie trapézoidale3. Engagez la barre de commande. |
| Moteur marche mais peine lors du labourage | 1. Labourage trop profund.2. Mauvais réglage de la commande des gaz.3. Le carburateur est dérégléd. | 1. Réglez laJAuge de profondeur pour labourage moins profund.2. Vérifiéz le réglage de la commande des gaz.3. Réglez le carburateur. |
ENTREPOSAGE
Préparez immédiatement votre motobineuse pour l'entreposage à la fin de la saison ou si l'unité ne sera pas utilisée pendant 30 jours ou plus.

AVERTISSEMENT: N'entrepose jamais la motobineuse lorsque le réserve contient d'essence dans un bâtiment ou les vapeurs pourraient parvenir à une flamme neue ou une étincelle. Laissez le moteur refroidir avant d'entreposer dans un lieu clos.
MOTOBINEUSE
- Nettoyez complètement la motobineuse (référez-vous à la section “NETTOYAGE” dans la section Entretien de ce manuel).
- Inspectez, et si nécessaire, remplacez les courroies (Référez-vous aux instructions de remplacement de courroie dans la section Révision et Reglages de ce manuel).
- Lubrifiez comme illustré dans la section Entretien de ce manuel.
Assurez-vous que tous les écrous, les boulons et les vis soient bien serrés. Vérifiez si les pièces mobiles sont avariées, brises et usées. Remplacez-les si nécessaire. - Retouche toutes les surfaces peintes rouillées ou éraflées; sablez légèrement avant de peindre.
MOTEUR
SYSTEME D'ALIMENTATION
IMPORTANT: C'EST TRÉS IMPORTANT D'ÉVITER LA FORMATION DE DEPÔTS DE GOMME DANS LE CARBURATEUR, LE FILTRÉ D'ESSENCE, LE TUYAU D'ESSENCE OU LE RESERVOIR D'ESSENCE PENDANT L'ENTREPOSAGE. L'EXPERIENCE DEMONTRE QUE LES CARBURANTS MÉLANGÉS AVEC DE L'ALCOOL (APPELEES GASOHOL, OU UTILISANT DE L'ETHANOL OUDUMETHANOL) PEUVENT ATTIRER L'HUMIDITE QUI CAUSE LA SEPARATION ET LAFORMATION D'ACIDES PENDANT L'ENTREPOSAGE. LE GAZ ACIDE POT UVARIER LE SYSTème D'ALIMENTATION DU MOTEUR PENDANT L'ENTREPOSAGE.
Vidangez le réservoir d'essence.
- Démarrez le moteur et laissez-le tourner jusqu'à ce que les conduites d'essence et le carburateur soient vides.
- N'utilisez jamais les produits spéciaux pour nettoyer le moteur et le carburateur dans le réserve d'essence. L'emploi de ces produits pourrait cause des dégats permanents.
REMARQUE: Un agent stabilisant dans l'essence est une option acceptable pour minimiser la formation des dépôts degomme de carburant pendant l'entreposeage. Ajoutez l'agent à l'essence dans le réservoir d'essence ou dans le bidon de carburant. Suivez toujours le dosage de mélange inscrit sur le bidon de l'agent. Laissez tournier le moteur pendant au moins 10 minutes après avoir ajouté l'agent pour lui permettre d'atteindre le carburateur. Ne vidangez pas le réservoir d'essence et le carburateur si l'agent d'essence est utilisé.
HUILE DE MOTEUR
Vidangez l'huile ( quand le moteur est chaud) et remplacez avec l'huile de moteur fraîche. (Référez-vous à “MOTEUR” dans la section Entretien de ce manuel.)
CYLINDRE(S)
- Enlevez la bougie d'allumage.
- Versez une once 28 ml (1 once) d'huile par l'orifice de la bougie d'allumage dans le cylindre.
Tirez lentement la poignée de démarrage plusieurs fois pour distribuer l'huile. - Remplacez par une nouvelle bougie d'allumage.
INFORMATION SUPPLEMENTAIRE
- Ne conservez pas d'essence d'une salle à l'autre.
- Remplacez le bidon d'essence s'il commence à rouiller. La présence de rouille et/ou de saleté dans l'essence causera des problèmes.
- Entreposez la motobineuse à l'intérieur, si possible, et couvre-la pour la proteger de la poussière et de la saleté.
- Couvre la motobineuse avec une couverture imperméable. N'utilise pas une couverture en plastique. Le plastique obstrue la circulation d'air et permet la formation de condensation qui fera à rouiller l'unité.
IMPORTANT: NE COUVREZ JAMAIS LA MOTOBINEUSE QUAND LE MOTEUR ET LE CIRCUIT D'ECHAPPEMENT SONT ENCLORE CHAUDS.
RéVISION ET RÉGLAGES

FIG. 21
MOTEUR
L'entretien, la réparation, ou le remplacement des dispositifs antipollution, lesquels sont faits aux frais du client, peuvent être exécutés par tout atelier ou technicien spécialisé en moteurs pour service hors-route. Les réparations sous garantie doivent être exécutées par un centre de service autorisé par le fabricant.
POUR RÉGLER LE CARBURATEUR
Le carburateur a eté régla à l'usine et ne devrait pas être modifié. Cependant, quelques réglages pourraient être nécessaires pour compenser les différences d'altitude, de température, de carburant et de charge. Si un réglage est nécessaire, communiquez avec le centre/département d'entretien autorisé le plus proche.
IMPORTANT: NE TOUCHEZ PAS LE REGULATEUR DE MOTEUR. LE CONSTRUCTEUR DE L'ÉQUIPEMENT QUI A MONTE LE MOTEUR DETERMINE LA VITESSE MAXIMUM HORSCHARGEALAQUELLELMOTEURDOITETREUTILISE. NEDEPASSEZJAMAISCETTEVITESSE.CETTEACTIONPEUT ETREDANGEREUSE.SIVOUS PENSEZQU'UN REGLAGE DE LA VITESSE MAXIMUMESTNECESSAIRE,ADRESSEZ-VOUS A LAGENT AGREE LE PLUS PROCHE DE VOTRE DOMICILE. QUI A LES TECHNICIENS QUALIFIES ET LES OUTILS APPROPRIES POUR DES REPARATIONS NECESSAIRES.

FIG. 22
RéVISION ET RÉGLAGES
Tirez lentement la poignée de démarriage pendant vous que observez les femmes. Les femmes ne doivent pas tournier.
Si les fraises tournent, le fil interieur du cable de commande est trop tendu ce qui allunge le ressort inférieur et engage les fraises. Desserrez le collier de serrage du cable et abaissez le cable jusqu'à ce que la tension du ressort soit reliachée. Serrez à fond le collier de serrage du cable.
- Vérifiez encore et réglez si nécessaire (en position "ARRET").
DERNIÈRE VÉRIFICATION - POSITION “MARCHE”
- Avec la commande des fraises en position "MARCHE" (ON), poussez le guidon vers le bas pour soulever les fraises du sol.
Tirez lentement la poignee de démarrage et observe les femmes. Les femmes devraient tourner en avant.
Si les fraises ne tournent pas, le fil interieur du cable de commande est trop lache. Desserrez le collier de serrage du cable et tirez le cable vers le haut pour enlever le mou et serrez encore le collier. - Vérifiez encore et réglez si nécessaire (en position marche).
REMARQUE: Si la vérification en position "MARCHE" (ON) demande un réglage, vérifiez encore le réglage en position "ARRET" (OFF) pour que les fraises ne tournent pas quand la commande est en position "ARRET" (OFF) (haute).

FIG. 19
POUR ENLEVER LE PROTECTEUR DE COURROIE (Voir la fig. 20)
- Enlevez deux (2) écrous borgnes et les rondelles du côte du protecteur de courroie.
- Desserrez (n'enlevez pas) l'écrou du déflecteur de fraise sur le dessous du déflecteur de fraise.
Tirez le protecteur de couroie loin de la motobineuse. - Remettez le protecteur de couroie en rinsversant les étapes ci-dessus. Assurez-vous que la fente située au fond du protecteur de couroie soit située sous la tête du boulon de déflecteur de fraise et que touse les écrous soient serrés à fond.

FIG. 20
POUR REMPLACER LA COURROIE TRAPÉZOIDALE (Voir les fig. 21 et 22)
Remplacez la courroie trapézoidale si elle est très allongée, fendue ou effilochée. Il y a deux (2) courroies trapézoidales - marche avant (intérieure) et marche arrière (extérieure).
Le protecteur de couroie doit être enlevé pour entrenir la couroie. Voir la section “POUR ENLEVER LE PROTECTEUR DE COURROIRE” dans cette section de ce manuel.
REMARQUE: Avant d'enlever les courroies, notez soigneusement l'acheminement des deux courroies et l'emplacement de tous les guides-courroie.
ENLÉVEMENT DE COURROIRE
- Enlevez la poulie du galet-tendeur de marche arrière du bras du galet-tendeur.
- Enlevez la couroie trapézoidale de marche arrrière (à l'extérieur).
- Enlevez premièrement la courroie trapézoidale de marche avant (à l'intérieur) de la poulie de la transmission et ensuite de la poulie du moteur.
REEMPLACEMENT DE COURROIRE
- Installé la nouvelle couroie trapézoidale de marche avant (à l'intérieur) sur la poulie du moteur puis sur la poulie de la transmission. Assurez-vous que la couroie soit posée dans la rainure intérieure sur les deux poulies, à l'intérieur de tous les guides-couroie, et qu'elle s'appuie sur la poulie du galet-tendeur.
- Avant d'installer la couroie trapézoidale de marche arrêté (extérieure), returnez la couroie. Tortiliez la couroie afin que la surface plate de la couroie soit située à l'intérieur.
- Mettez la couroie trapézoidale autour de la poulie de galettendeur de marche arrière et remontez le galet-tendeur au bras de galet-tendeur. Serrez à fond. Assurez-vous que la couroie soit située entre la poulie du galet-tendeur de marche arrière et la goupille du bras de galet-tendeur.
- Installez la couroie à la rainure extérieure de la poulie de la transmission. Assurez-vous que la couroie soit située à l'intérieur de tous les guides-courroie et qu'elle s'appuie sur la rainure extérieure de la poulie du moteur.
VERIFIER L'UTILISATION DES FRAISES
- Référez-vous à la section de “VÉRIFICATION DE L’UTILISATION DES DENTS” dans cette section de ce manuel.
REMPLACER LE PROTECTEUR DE COURROIE
RéVISION ET RÉGLAGES

ATTENTION: Débranchez le fil de bougie d'allumage et posez-le à un endroit où il ne peut pas toucher la bougie.
MOTOBINEUSE
POUR RÉGLER LA HAUTEUR DU GUIDON (Voir la fig. 15)
La motobineuse est expédée avec le guidon dans une position basse. Choisissez la hauteur la plus convenable pour vous et les conditions de labourage. La hauteur sera différente lorsque la motobineuse creuse le sol.
- Si vous désirez une hauteur plus élevé, desserrez les quatre écrous qui fixent le panneau du guidon aux supports de moteur.
Gillesz le panneau à l'emplacement désiré. - Serrez à fond les quatre écrous.

FIG. 15
DISPOSITION DES FRAISES
Les raisées extérieures peuvent être disposées de différentes façon afin de répondre à vos demandes de labourage.

ATTENTION: Les fraises sont tranchantes. Portez des gants ou d'autres protections quand vous touchez aux fraises.
LABOURAGE NORMAL - CHEMIN DE 26"/66 cm (Voir la fig. 16)
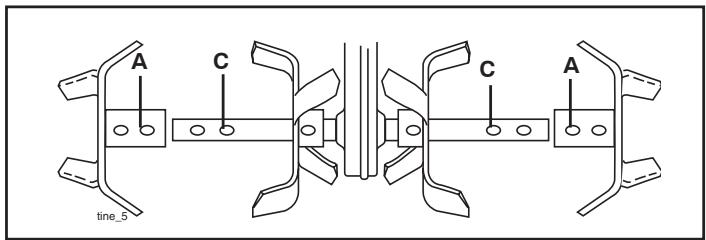
Montez les trouss "A" dans les moyeux de fraise aux trouss "B" dans l'arbre de fraise.

FIG. 16
LABOURAGE DE MOYENNE LARGEUR - CHEMIN DE 24"61cm (Voir la fig. 17)
Montez les trouss "A" dans les moyeux de fraise aux trouss "C" dans l'arbre de fraise.

FIG. 17
LABOURAGE/BINAGE ÉTROIT - CHEMIN DE 12,75"32cm (Voir la fig. 18)
Enlevez les fraise extérieures.

FIG. 18
REMARQUE: Lors de remontage des fraises extérieures, assurez-vous que l'ensemble de la fraise du côte croit de la motobineuse (marqué "R") et l'ensemble de la fraise du côte gauche (marqué de "L") soit montés au bon côte correct de l'arbre de fraise.
VÉRIFICATION DE L'UTILISATION DES FRAISES (Voir la fig. 19)

AVERTISSEMENT: Debranchez toujours le fil de bougie d'allumage pour éviter le démarrage pendant la vérification de l'utilisation des dents.
Pour assurer le bon fonctionnement des fraises, le levier de commande des fraises en marche avant doit être contre le corps de commande et tout le mou doit être enlevé du fil interieur du cable de commande quand cette commande est à la position "ARRÊT" (OFF) (haute).
Si le levier et le cable sont lâches, relâchéz le collier de serrage du cable à l'extrémité inférieure du cable. Tirez le cable vers le haut pour enlever le mou, faites attention que vous n'allongez pas le dessort situé à l'extrémité du cable, et serrez encore le collier de serrage du cable.
DERNIÈRE VÉRIFICATION - POSITION “ARRÊT”
- Avec la commande des frasies en position "ARRET" (OFF) (haute), poussez le guidon vers le bas pour soulever des femmes du sol.
ENTRETIEN
SYSTÉME DE REFROIDISSEMENT (Voir la fig. 14)
Votre moteur est refroidi à l'air. Pour un bon fonctionnement du moteur et pour une longue durabilité, maintenez le moteur propre.
- Nettoyez féquèment le tamis d'air à l'aide d'une Brosse à poils raides.
- Enlevez le boitantier de soufflerie et nettoyez-le si nécessaire.
- Conserve les ailettes de cylindre exemples de saleté et de la balle.

FIG. 14
SILENCIEUX
N'utilisez pas la motobineuse sans silencieux. Ne modifies pas le système d'échévement. Un silencieux ou un pare-étincelles avarié pose des risques d'incendie. Inspectez-les périodiquement et remplacez-les si nécessaire. Si vous moteur est muni d'un grillage de pare-étincelles, enlevez-le toutes les 50 heures pour le nettoyer et l'inspector. Remplacez-le s'il est avarié.
BOUGIE D'ALLUMAGE
La bougie d'allumage devrait etre changée toutes les 50 heures d'utilisation ou au commencement de la saison de labourage. Le type de la bougie d'allumage et le reglage de l'ecart se trouvent dans la section de "SPECIFICATIONS DU PRODUIT".
TRANSMISSION
Votre transmission est scelledée et la lubrication n'est pas demandée à moins qu'elle soit réparée.
NETTOYAGE
Ne pas nettoyer la motobineuse si le moteur et la transmission sont encore chauds. Il serait mieux de ne pas utiliser de l'eau pressurisée (tuyau d'arrosage, etc.) afin de nettoyer la machine sauf si la garniture pres de la transmission, le silencieux du moteur, le filtrte a air et le carburateur sont protégés contre toute pénetration possible d'eau. L'entrée d'eau au niveau du moteur réduit la durée de votre motobineuse.
- Nettoyez le moteur, les roues, la finition, etc. de toutes les matieres étrangères.
- Conservez la propriété des roues et des surfaces peintes en relevant, l'essence, l'huile, etc.
- Protégez les surfaces peintes avec une cire d'auto.

Débranchez le fil de bougie d'allumage avant d'effectuer tout entretien (sauf le réglage du carburateur) pour éviter un démarrage accidentel du moteur.
Evitez les incendies! Maintenez le moteur exempt d'herbe, de feuilles et d'huile ou de carburant repandu. Vidangez le carburant du réservoir avant de pencher la motobineuse pour l'entretien. Nettoyez la surface du silencieux de toute accumulation d'herbe, de saleté et de débris.
Ne touche pas à un silencieux chaud ou à des ailettes chaudes de cylindre puisque le contact peut cause des brûlures.
MOTEUR
LUBRIFICATION
Utilisez seulement l'huile déterente de qualité supérieure cotée SG-SL par le service API. Choisissez le degré de viscosité SAE de l'huile selon la température prévue.

FIG. 11
REMARQUE: Bien que les huiles de multi-viscosité (5W30, 10W30 etc.) améliorent le démarrage par temps froid, leur consommation augmente à plus de 0^ . Vérifiez le niveau d'huile plus liéquement pour éviter l'avarie du moteur lors de l'utilisation avec un niveau d'huile bas.
Changez l'huile tous les 50 heures d'opération ou au moins une fois par an si la motobineuse est utilisé moins de 50 heures par an.
Vérifiez le niveau l'huile du carter avant de démarrer le moteur et ensuite toutes les cinq (5) heures en cas d'utilisation continue. Ajoutez l'huile moteur SAE 30 ou une huile correspondante. Serrez le bouchon d'huile à chaque fois que vous vérifiez le niveau l'huile.
POUR REMPLACER D'HUILE MOTEUR
(Voir la fig. 11 et 12)
Vérifiez la gamme de température prévue avant le prochain remplacement de l'huile. Toutes les huiles doivent rencontres la classification de service API SG-SL.
- Vérifiez si la motobineuse soit stationnée sur un terrain plat.
L'huile se vidangera plus facilement si elle est chaude.
Recueilz l'huile dans un recipient approprié.
Enlevez le bouchon de vidange. - Penchez en avant la motobineuse pour vidanger l'huile.
Lorsque la vidange est complète, remettez le bouchon de vidange l'huile et serrez à fond. - Enlevez le bouchon de replissage l'huile. Ne laissez pas de saletés entre dans le moteur.
- Remplissez le moteur avec l'huile. Voir la section "REMPLIR LE MOTEUR D'HUILE" dans la section'utilisation de ce manuel.

FIG. 12
FILTRE À AIR (Voir la fig. 13)
Remplacez la cartouche du filtré à air toutes les 50 heures, plus souvent si les conditions sont pousséesuses.
- Desserrez les vis du filtré à air, une sur chaque côte du couvercle.
Enlevez le couvercle du filtré à air. - Enlevez soigneusement la cartouche de filtré à air. Faites attention. Ne laissez pas de saletés ou de débris entre dans le carburateur.
Nettoyez en la frappant légèrement sur une surface plate.
Si elle est très sale ou avariee, remplacez la cartouche.
Nettoyez et remettez le couvercle. Serrez à fond les vis.

ATTENTION: Les solvants de petrole, tels que le kerosene, ne doivent pas etre utilisés pour nettoyer la cartouche. Ils risquent la déterioration de la cartouche. Ne mettez pas d'huile sur la cartouche. N'utilise pas d'air comprimé pour nettoyer ou secher la cartouche.

FIG. 13
ENTRETIEN
| CALENDRIER D'ENTRETIEN INSCRIVEZ LES DATES AU FUR ET À MESURE QUE VOUS EFFECTUEZ LES ENTRETIENS RÉGULIERS | AVANT CHAQUE USAGE TOUTES LES 5 HEURES TOUTES LES 25 HEURES TOUTES LES 50 HEURES | |||||||||||
| Vérifiez le niveau d'huile de moteur | ✓ | ✓ | ||||||||||
| Changez l'huile de moteur | ✓1,2 | |||||||||||
| Huilez les points de pivotement | ✓ | |||||||||||
| Inspectez le silencieux pare-étincelles | ✓ | |||||||||||
| Inspectez le tamis à air | ✓ | |||||||||||
| Nettoyez/remplacez la cartouche du filtre à air | ✓2 | |||||||||||
| Nettoyez les ailettes de cylindre du moteur | ✓ | |||||||||||
| Remplacez la bougie d'allumage | ✓ | |||||||||||
1 - Changez plus souvent quand la motobineuse fonctionne sous une charge lourde ou a température ambiente elevée.
2 - Faites entretenir plus souvent dans des conditions poussiéreuses ou sales.
RECOMMANDATIONS GÉNÉRALES
La garantie pour cette motobineuse ne couvre pas les éléments qui ont ete sujets a un abus soit a de la elegence de la part de I'opérateur. Pour conserver une garantie complète, l'utiliseur doit maintainir la motobineuse tel que précisé dans ce manuel.
Quelques ajustements sont nécessaires périodiquement pour maintenir correctement votre motobinuese.
Tous les réglages dans la section de Révision et Réglages de ce manuel devraient être vérifiés au moins une fois par saisson.
- Une fois par an, remplacez la bougie d'allumage, nettoyez ou remplacez le filtré à air, et vérifie les fraises et les courroies pour les signes d'usure. Une nouvelle bougie d'allumage et un nouveau filtré à air propre assurent un mélange air/essence correct et ainsi permettent à votre moteur de mistréux fonctionner et de durer plus longtemps.
AVANT CHAQUE UTILISATION
Vérifiez le niveau d'huile de moteur.
Vérifiez le fonctionnement des praises.
Vérifiez la solidité des systèmes de fixation.
LUBRIFICATION
Assurez que votre motobineuse est bien lubrifiée. Reportez au "TABLEAU DE LUBRIFICATION".
TABLEEAU DE LUBRIFICATION

① HUILDE MOTEUR SAE 30 OU 10W30
② RÉFÉRÉZ-VOUS À LA SECTION DE ENTRETIEN DE MOTEUR.
UTILISATION
Laissez rechauffer le moteur pendant quelques minutes avant d'engager les praises.
REMARQUE: Le mélange du carburant peut exiger un réglage à une altitudes supérieure à 914,4 metres (3000 pi.) ou à une température inférieure à 32^ / 0^ . Voir "POUR REGLER LE CARBURATEUR" dans la section de Révision et Reglages de ce manuel.
REMARQUE: Si le moteur ne démarre pas, voir le guide de dépannage.

FIG. 8
RODAGE DE LA MOTOBINEUSE
Assouplissez la couroie, les poulies et la commande des femmes avant de commencer le labourage.
- Démarrez le moteur, appuyez sur les poignées pour soulever les fraises du sol. Engagez la commande des fraises pour les faire tourner. Laissez tourner les fraises pendant cinq minutes.
- Vérifiez le fonctionnement des fraises et réglez si nécessaire. Référez "VERIFICATION D'UTILISATION DES FRAISES" dans la section de Révision et Reglages de ce manuel.
CONSEILS DE LABOURAGE

ATTENTION: Utilisez la motobineuse avec la commande des gaz en position lente "SLOW" jusqu'à ce que vous soyez habitué.
Soulevez légèrement les poignées (levant ainsi la jauge de profondeur de la terre) pour aider la motobineuse à avancer. Appuyez sur les poignées pour ralentir la motobineuse.
S'il faut faire un effort ou si la motobineuse tremble, les roues et la jauge de profondeur NE sont PAS correctement ancreées dans la terre à labourer. Vous arriverez à un réglage correct de la jauge et des roues par des essais et selon l'état de la terre. Si la terre est dure ou mouillée, la vitesse du moteur et des fraises sera lente. Dans ces conditions, la motobineuse sautera sur le sol.
Une motobineuse bien reglee bechera sans que l'opérateur ait à exercer un gros effort.
Le labourage est le creusage, le returnage et l'effritement de la terre durci avant l'ensemencement. Une terre déliée favorise la croissance des racines. La meilleure profondeur de laborage est de 4 à 6 po. (10 à 15 cm). Une motobineuse aide aussi à enlever les mauvaises herbes. La décomposition de ces mauvaises herbes enrichit le sol. Dépendant du climat (pluie et vent) il peut être préféable de laborer la terre à la fin d'une saison de récolte pour mistréux conditionner de la terre.
L'etat du sol est importantes. Les raisées pénétront pas facilement une terre séche et dure qui peut contributor aux rebondissements exagérés et à un maniement difficile de votre motobineuse. Une terre dure devrait être humidifiée avant le labourage, et une terre extrémement mouillé formera des boulles ou des mottes durant le labourage. Attendez jusqu'à ce que la terre soit moins mouillé afin d'obtenir les salariés résultats. Lorsque le labourage se fait à l'autonne, enlevez les vignes et les longues herbes pour empêcher celles-ci de s'enrouler autour de l'arbre des frais et ralentir le labourage.
- Vous trouvrez lelabouragebeaucoupplusfacilesiyou laisssez unrang non bêchéentre les sillons.Puis returnez entreles sillons(Voirla fig.9).Il y a deux raisons pour faire ceci.Premièrement,des virages larges sontbeaucoup plusfaciesa prendreeque des demi-tours.Deuxièmement, la motobineuse ne youentrainerapatversle rangplus proche.
- Mettez la hauteur de la jauge de profondeur et les roues en position pour labourage peu profond lorsque la terre est extrémement dure. Travailliez ensuite les premiers sillons en perpendiculaire à une profondeur normale.

FIG. 9
CULTURE
La culture est un labourage peu profond entre les rangs pour arracher les mauvaises herbes et les empêcher de priver les plantes d'humidité et d'aliments. De plus, travailler la couche supérieure de la terre contribuera à la conservation de l'humidité. La meilleure profondeur de binage se situe entre 1 à 3 pouces (2,5 à 7,5 cm).
Il ne sera pas nécessaire probabilité d'utiliser la jauge de profondeur. Commencez en penchant en avant la jauge jusqu'à ce qu'elle soit tenue par le ressort de jauge.
Cultivez le long des rangs à une vitesse qui permettra aux femmes de déraciner les mauvaises herbes et de laisser la terre à l'état brut pour que les mauvaises herbes n'y repoussent plus (Voir la fig. 10).

FIG. 10
UTILISATION
ENVILLE
- Débranchez le fil de bougie d'allumage.
Vidangez le réservoir d'essence. - Ne penchez pas la motobineuse sur le côté pendant le transport afin d'éviter une fuite d'huile.
AVANT DE DÉMARRER LE MOTEUR
IMPORTANT: FAITESATTENTIONDE NEPAS PERMETTRE QUE DES CONTAMINANTS ENTRENT DANS LE MOTEUR LORSQUE VOUS FAITES LA VERIFICATION, OU LE REMPLISSAGE DE L'HUILE OUDU CARBURANT. UTILISEZ DE L'HUILE ET DUCARBURANT PROPRE ETENTREPOSEZ-LES DANS DES RECIPIENTS PROPRES, COUVERTSQUIONTETE APPROVUES. UTILISEZ DES ENTONNOIRS PROPRES.
REEMPLIR LE MOTEUR D'HUILE (Voir la fig. 7)
Enlevez l'étiquette du moteur.
- Avec le moteur nivelé, enlevez le bouchon de replissage d'huile.
- Remplissez le moteur avec de l'huile jusqu'àu point de débordement. Voir la section "SPECIFICATIONS DE PRODUIT" pour obtenir la capacité approximative à la page 3 de ce manuel.
- Inclinez la motobineuse vers l'arrière sur ses roues et remettez-la à niveau.
- Avec le moteur à niveau, replisssez jusqu'à point de débordement si nécessaire. Replacez le bouchon de replissage d'huile
Pour undémarrage facile pendant l'hiver, on devrait replacer l'huile. (Voir le tableau de viscosité d'huile dans la section de Entretien de ce manuel).
Pour remplacer l'huile, voir la section de Entretien de ce manuel.

FIG. 7
REEMPLIR LE RÉSERVOIR D'ESSENCE
- Remplissez le réservoir d'essence. Remplissez le réservoir d'essence jusqu'au fond de son goulot de remplissage. N'en mettez pas trop. Utilisez de l'essence sans plomb, régulière, fraîche, et propre avec un indice d'octane au moins 87. (L'utilisation d'essence sans plomb tend à réduire les dépôts de calamine et d'oxyde de plomb et prolonge la vie des soupapes). Ne mélangez pas l'huile avec l'essence. Pour que l'essence utilisée soit fraîche, achetez des quantilés qui peuvent être utilisées dans les trente jours suivant l'achat.

ATTENTION: Remplissez jusqu'à 1/2 pouce (12,5 mm) du haut du réservoir d'essence pour éviter les risques de débordement et pour permettre l'expansion du carburant. En cas d'un débordement d'essence accidentel, éloignez la motobineuse. Evitez de créé toute source d'incendie jusqu'à la disparition des vapeurs d'essence. N'en mettez pas trop.
Essuyez toujours l'huile ou l'essence renversée. Vous ne doivent jamais emmagasiner, repandre ou utiliser de l'essence pres d'une flamme nue.
IMPORTANT: POUR ASSURER UN BON DEMARRAGE PAR TEMPS FROID (SOUS LES 32^ / 0^ ), VOUS DEVEZ UTILISER DE L'ESSENCE FRAICHE, PROPRE ET SPECIALE D'HIVER.
ATTENTION: L'expérience indique que les combustibles mélangés avec l'alcool (appeles gasohol ou utilisant l'éthanol ou le méthanol) peuvent attirer l'humidité qui cause la séparation et la formation d'accide pendant l'entreposage. Le gaz acide peut avoir le système d'essence d'un moteur pendant l'entreposage. Pour éviter les problèmes de moteur, le système d'essence doit être vidangé avant tout l'entreposage de 30 jours ou plus. Vidangez le réservoir d'essence, démarrez le moteur et laissez-le fonctionner jusqu'à ce que les conduites de combustible et le carburateur soient vides. Utilisez del'essence fraîche la saison suivante. Reportez-vous aux instructions sur l'entreposage pour les autres renseignements. N'utilise jamais de produits de nettoyage de moteur ou de carburateur dans le réservoir d'essence sinon des dommages permanents pourraient être causés.
POUR DEMARRER LE MOTEUR (Voir la fig. 8)

ATTENTION: Lors du démarrage du moteur, maintenez la commande des praises en position arrêt (OFF).
Quand vous démarrez le moteur pour la première fois ou si le moteur n'a plus d'essence, il sera nécessaire de tirer plusieurs fois la poignée de démarrage pour que l'essence passé du réservoir au moteur.
Assurez-vous que le fil de la bougie d'allumage soit correctement branché.
- Mettez la commande des gaz en position rapide (FAST).
Déplacez la commande de l'étrangleur à la position "CHOKE". Saisissez la poignée de démarrage avec une main et avec l'autre, le manche de la motobineuse. Tirez lentement la corde jusqu'à ce que le moteur commence le cycle de compression (la corde résistera légèrement à ce moment).
Tirez rapidement la poignée de démarrage. Ne laissez pas la poignée de démarrage revenir brusquement contre le démarreur. Repétez si nécessaire.
Si le moteur s'allume mais ne démarre pas, bougez la commande de l'étrangleur à demi-position. Tirez de la poignée de démarrage jusqu'à ce que le moteur démarre.
- Quand le moteur démarre, déplacez lentement la manette de l'étrangleur à la position marche (RUN) comme le moteur s'échauffe.
REMARQUE: Un moteur chaud demande moins d'étranglement pour démarrer.
- Déplacez la commande des gaz à la position de marche désirée.
UTILISATION

L'utilisation d'une mobotineuse présente le risque de la projection des particules dans les yeux, ce qui peut cause des blessures sérieues. Portez toujours des lunettes de sécurité ou une visière avant de démarrer la mobotineuse et lorsque vous laboure. Nous recommendons une visière de sécurité panoramaique pour ceux qui portent des lunettes ou des lunettes de sécurité standard.
COMMENT UTILISER VOTRE MOTOBINEUSE
Assurez-vous de connaître toutes les commandes avant d'ajouter l'essence, l'huile ou avant de démarrer le moteur.
ARRÉT (Voir la fig. 5)
FRAISES
- Relâchéz la commande des raisées pour arrêtier le mouvement.
- Relâchéz la commande des raisées marche arrêté pour arrêter le mouvement.
MOTEUR
- Déplacez la commande des gaz à la position "ARRET" ("STOP").
N'utilisez jamais l'entrangleur pour arreter le moteur.

FIG. 5
UTILISATION DES FRAISES(Voir la fig. 5)
MARCHE AVANT
- Serrez la commande des fraises de marche avant jusqu'à ce qu'elle touche la poignée.
MARCHE ARRIERE
- Avec la commande des fraises de marche avant à la position "ARRET" (haute), tirez vers l'arrière et tenez la commande des fraises de marche arrière.
LABOURAGE
La vitesse de motobineuse et la profondeur de labourage sont réglées par l'emplacement de la jauge de profondeur et la hauteur des roues.
LaJAuge de profondeur devrait always etre sous les roues pour becher. Mettez la jauge sort de frein pour ralentir la motobineuse et permettre aux fraises de pénétrer la terre. Plus la jauge est basse, plus le labour est profond.
JAUGE DE PROFONDEUR (Voir la fig. 6)
Pour régler la jauge, enlevez le collier en épingle à cheveux et l'axe de chape. Mettez la jauge de profondeur à la position désirée. Remettez ensuite le collier en épingle à cheveux et l'axe de chape.
- Réglez la jauge de profondeur au deuxième ou troisième trou en partant du haut pour un labourage normal.
ROUES (Voir la fig. 6)
Réglez les roues en enlevant le collier en épingle à cheveux et l'axe de chape. Changez la position des roues. Remettez le collier en épingle à cheveux et l'axe de chape.
- Réglez les roues au deuxième ou troisième trou du haut pour un labourage normal.

FIG. 6
POUR TRANSPORTER

ATTENTION: Laissez refroidir le moteur et le silencieux avant de soulever ou transporter. Débranchez le fil de bougie d'allumage. Vidangez l'essence du réservoir.
DANS LA COUR
- Penchez la jauge de profondeur vers le devant jusqu'à ce qu'elle soit maintainue par le ressort de jauge.
- Appuyez sur les poignées pour soulever les fraises du sol.
Poussez ou tirez la motobineuse jusqu'à l'endetroit désiré.
UTILISATION
CONNAISSEZ VOTRE MOTOBINEUSE
LISEZ CE MANUEL DU PROPRIÉTAIRE ET LES RÉGLES DE SECURITÉ AVANT D'UTILISER VOTRE MOTOBINEUSE.
Comparez les illustrations à votre motobineuse pour connaître les positions des différentes commandes et les différents régliages.
Conservez ce manuel.
Ces symboles peuvent figurer sur toute mobineuse ou dans les publications fournies avec le produit. Apprenez et comprende la signification des symboles.

ABOURAGE

EN AVANT

POINT MORT

MARCHE

ATTENTION OU

DÉMARRER
LE MOTEUR

COUPER
LE MOTEUR

RAPIDE

LENTE

ETRANGLEUR

ESSENCE

HUILE

MARCHE

FIG. 4
Cette motobineuse sont conformes aux normes de securite standard du "American National Standards Institute".
COMMANDE DES FRAISES EN MARCHE AVANT - permet d'engager les fraises vers l'avant.
JAUGE DE PROFONDEUR - commande la vitesse la profondeur auquelle la motobineuse bêche.
POIGNEE DE DEMARRAGE -permet de demarrer le moteur.
COMMANDE DES FRAISES DE MARCHE ARRIÈRE - permet de engager les fraises vers l'arrière.
COMMANDE DE L'ETRANGULEUR - employé pour démarrer un moteur froid.
MANETTE DE COMMANDE DES GAZ - permet de commander la vitesse de moteur.
DEBALLER ET INSTALLER LE MANCHE (Voir la fig. 2)

ATTENTION: Faites attention aux agrafes du carton.
IMPORTANT: LORSQUE VOUS DÉBALLEZ OU MONTEZ LA MOTOBINEUSE, NE PAS ETIRER OU ENTORTILLER LE(S) CABLE(S).
Coupez les attaches qui fixent le manche.
Le guidon peut etre montedans la position haute ou basse. Doucement levez l'ensemble du guidon en haut et alignez les trous du guidon avec le trou et la fente du panneau du guidon.
Lachement montez la quincaillerie comme montré. Assurez-vous que le boulon H 1" le plus long soit monté dans le trou inférieur du guidon. Répétez le même procédure dans l'autre côté. Serrez toute la quincaillerie à fond.
REMARQUE: Les câbles ne doivent pas toucher les silencieux.
- Coupez les attaches qui retiennent motobineuse sur la palette. Enlevez la motobineuse de la palette en tirant en arrêté.
- Enlevez la vis de fixation du goujon de profondeur pour faire glisser et éliminer la vis.

FIG. 2
INSTALLER L'ENSEMBLE DE LA JAUGE DE PROFONDEUR (Voir la fig. 3)
- Desserrez écrou "A".
- Insérez le soutien de tasseau de profondeur entre les moitiés de supports du moteur en orientant le ressort de tasseau vers le fond.
Montez le soutien de tasseau de profondeur aux supports du moteur à l'aide des 5 / 16 × 1 - 1 / 4 boulons, des rondelles frein et des écrous. Serrez à fond. Serrez aussi l'écrou "A".
Le tasseau de profondeur doit bouger librement. S'il ne rouge pas, desserrez le boulon de soutien.

FIG. 3
HAUTEUR DE POIGNÉE
La hauteur de poignée peut être réglée à une position convenable à l'opérateur. (Référez-vous à “HAUTEUR DE POIGNEE” dans la section de Révision et Réglages de ce manuel.)
LARGEUR DU LABOURAGE
La largeur peut être réglée pour vos demandes de labourage. (Référez-vous à “DISPOSITION DES DENTS” dans la section de Révision et Réglages de ce manuel.)
UTILISATION DES DENTS
- Avant le premier usage de votre motobineuse, vérifie l'utilisation des dents. (Référez-vous à “VERIFICATION DE L’UTILISATION DE DENT” dans la section de Révision et Réglages de ce manuel.)
MONTAGE
Votre nouvelle motobineuse a ete montee a lusine sauf certaines piocen en vue de I'expedition. Pour s'assurer d'une utilisation correcte et sure de voite motobineuse, tautes les pioces et ferrures que you assemblez doent etre serrees a fond. Utilisez les bons outils.
LES OUTILS EXIGES POUR LE MONTAGE
Un jeu des clés à douille facilititera l'assemblage. Les dimensions normales des clés sont indiquées:
(1) Couteau à tout usage
(1) Tournevis
(1) Prince
(2) Clés de 1 / 2^n
POSITION D'OPERATEUR (Voir la fig. 1)
Quand on utilise l'expression "droite" ou "gauche", l'utilisateur est en position derrière le guidon.

FIG. 1
CONTENU DU SAC DES PIECES

(2) Boulons H 5/16-18 x 1

(2) Rondelles 3/8 × 7/8 × 14

(4) Boulons H 5/16-18 x 1-1/4

(2) Rondelles Frein 5/16

(2) Eclesous H 5/16-18
SPECIFICATIONS DU PRODUIT
| Capacité et type d'essence: | 2,8 L (3 Qts. de Gallon) L'essence sans plomb normale |
| Type d'huile(API-SG-SL): Capacité d'huile:21oz.(0,6 L) | SAE30 (à plus de 0°C/32°F) 5W-30 (à moins de 0°C/32°F) |
| Bougie d'allumage: (Écart: 0,030 po/0,762 mm) | Champion RC12YC |
FÉLICITATIONS pour votre achat d'une mobotineuse. Elle a été concise, perfectionnée et fabriquée pour assurer un bon fonctionnement et la fiabilité maximale.
En cas d'un problème que vous ne pouvez pas résoudre, contactez le centre d'entretien autorisé le plus proche. Vous y trouverez les techniciens qualifiés et les outils appropriés pour l'entretien et la réparation de cette machine.
Veuillez litre et conserver ce manuel. Les instructions qu'il contient vous permetront de monter, et d'entreinir correctement votre motobineuse. Observe toujours les "REGLES DE SECURITE".
RESPONSABILITÉS DU CLIENT
- Lisez et faites attention aux régles de sécurité.
- Suivez un programme régulier d'entretien, de soin, et d'utilisation de la motobineuse.
- Suivez les instructions dans les sections des "Entretien" et d'Entreposage de ce manuel du propriétaire.
IMPORTANT: CETTE MACHINE EST MUNIE D'UN MOTEUR À COMBUSTION INTERNE ET NE DEVRAIT PAS ÉTRE UTILISÉE SUR OU PRES D'UN TERRAIN COUVERT D'ARBRES, D'ARBRISSEaux, OUD' HERBE SI LE SYSTEMÉ D'ÉCHAPPEMENT N'EST PASMUNID'UN PARE-ETINCELLES RENCONTRANT LES EXIGENCES DES LOIS LOCALES APPLICABLES. QUAND UN PARE-ETINCELLES EST UTILISE, IL DEVRAJIT ÉTRE MAINTENU EN BON FONCTIONNEMENT PAR L'OPERATEUR.
VOIR LE CENTRE D'ENTRETIEN AUTORISÉ LE PLUS PRÉS POUR L'ÂRPE-ÉTINCELLES. L'NUMERO DE PIECE FIGURE DANS LA SECTION PIECES.
SOMMAIRE
RÉGLES DE SECURITÉ 2
RESPONSABILITIES DU CLIENT 3
SPECIFICATIONS DU PRODUIT 3
MONTAGE 4-5
UTILISATION 6-9
CALENDRIER D'ENTRETIEN 10
ENTRETIEM. 10-12
REVISION ET RÉGLAGES 12-14
ENTREPOSAGE 15
GUIDE DE DEPANNAGE 16
GARANTIE 17
FORMATION:
- Lisez soigneusement ce manuel du propretaire. Familiarisez-vous avec les commandes pour apprendre à utiliser efficacement votre motobineuse. Apprenez comment l'arrêtarapidement.
- N'autorisez jamais les enfants à utiliser sa motorbineuse. Ne permettez pas que lesadultes l'utilisent s'ils n'ont pas reçu les instructions nécessaires.
- Éloignez de la surface d'utilisation les animaux et les personnes et en particulier les petits enfants.
PREPARATION:
- Vérifiez systématiquement et soigneusement le terrain et enlevez tous les objets étrangers.
- Débrayez tous les embrayages et mettez la transmission en position point mort avant de démarrer le moteur.
- Habillez-vous avec des vêtements pratiques. Portez uniquement des chaussures solides ayant uneonne traction.
- Soyez particulièrement prudent lors de manipulation d'essence; elle est inflammable.
Utilisez un填补 d'essence approvue. - N'ajoutez jamais d'essence quand le moteur fonctionne et laissez refroidir le moteur avant de replir le réservoir.
- Remplissez le réservoir d'essence à l'extérieur. Ne remplissez jamais le réservoir à l'intérieur d'un[bâtiment.
- Remettez le bouchon de réservoir d'essence et essuyez l'essence renversée avant de redémarrer le moteur.
- Utilisez les cordons prolongateurs et les prises femelle selon les specifications du fabricant pour toute machine à moteur électrique (entrainement ou démarrage électrique).
- Ne tentez jamais de faire des réglages quand le moteur fonctionné (sauf quand un réglage est recommendé explicitement par le fabricant).
UTILISATION:
- Ne mettez pas les mains ou les pieds à proximé ou sous les parties mobiles.
- Faites attention lorsque vous traversez les allées, les chemins, les routes et toutes les surfaces couvertes de graviers. Ne transportez jamais des passagers.
- Si vous heurtez un objet e'tranger, arrêtez immédiatement le moteur. Débranchez le cable de bougie d'allumage et inspectez la motobineuse, puis réparez tous les dommages avant de redémarrer.
- Faites attention pour éviter de glisser ou tomber.
- N'utilise pas votre motobineuse si elle vibre anormalement. Arrêtez le moteur, recherche la cause des vibrations. Des vibrations excessives sont les manifestations d'un problème technique.
- Coupe le moteur quand vous quittez la position d'utilisation.
- Prenez toutes les précautions possibles quand vous laisssez la motobineuse sans surveillance. Dégagez les fraises, mettez le levier de changement de vitesse à la position point mort, et coupez le moteur.
- Avant de nettoyer, d'inspecter, ou de réparer votre motobineuse, coupez le moteur et assurez-vous que toutes les parties mobiles soient arrêtées. Ensuite, débranchez le cable de bougie d'allumage et maintenez-le au loin de la bougie pour éviter le démarrage accidentel du moteur. Débranchez le cordon d'alimentation sur les moteurs électriques.
-
Ne démarrez pas le moteur à l'intérieur d'un batiment. Les gaz d'échéppement sont dangereux.
-
N'utilise jamais votre motobineuse sans les défecteurs, les plaques de protection, ou les autres dispositifs de sécurité en place.
Éloignez les enfants et les animaux domestiques. - Ne labourez pas trop profondement à grande vitesse. Vous surchargerez la capacité productive de la motobineuse.
- Ne laissez jamais la motobineuse à grande vitesse quand la surface est glissante. Regardez en arrêté et soyez prudent en reculant.
- Ne laïsez personne près de la motobineuse lorsque vous l'utilisez.
- N'utilise pas les accessoires qui ne sont pas recommendés par le fabricant.
Utilisez la motobineuse seulement avec la lumière naturelle ou artificielle suffisante. - Faites attention quand vous labourez de la terre dure. Les femmes peuvent s'accrocher dans la terre et pousser la motobineuse en avant. Dans ce cas, relâchéz les poignées et ne retènz pas la machine.
ENTRETIEN ET ENTREPOSAGE:
- Conserve la motobineuse et les accessoires en bon fonctionnement.
- Vérifiez féquèment que tous les boulons de cisaillement, les boulons de montage de moteur, et les autres boulons sont correctement serrés.
- N'entreposez jamais à l'intérieur d'unBATIMENT une motobineuse avec de l'essence dans le réservoir. Les vapeurs d'essence en provenance du réservoir peuvent s'enflammer au contact d'une flamme nue ou des apparciels tels que chauffe-eau, radiateurs etc. Laissez refroidir le moteur avant de l'entreposer.
- Consultez toujours le manuel du propriétaire pour les directives importantes quand la motobineuse doit être entreposée longtemps.
- IMPORTANT -
ATTENTION, IMPORTANT, ET REMARQUE SONT UN MOYEN D'ATTIRER VOTRE ATTENTION SUR DE L'INFORMATION IMPORTANTE DANS CE MANUEL.
IMPORTANT: CE SYMBOLE ATTIRE VOTRE ATTENTION SUR LES RISQUES DE DOMMAGES À L'ÉQUIPEMENT
REMARQUE: CE MOT ATTIRE VOTRE ATTENTION SUR LA COMPREHENSION, L'INTEGRATION OU L'EXECUTION D'INSTRUCTIONS.

Ce symbole signale les points importants en matière de sécurité. Il signifie - ATTENTION !!!, SOYEZ PRUDENT !!! VOTRE SECURITE EST EN JEU.

ATTENTION: Débranchez toujours le fil de bougie d'allumage et pour prévenir les démarrages accidentels, posez-le de telle façon qu'il ne puisse pas entraire en contact avec la bougie d'allumage lors de l'installation, du transport, des ajustements ou des réparations.
Poulan PRO

MANUEL DU OPÉRATEUR
MODELE:
HDF825X
MOTOBINEUSE
À FRAISE AVANT

AVERTISSEMENT:
Lisez soigneusement le manuel suivez tous les averissements et les instructions de sécurité. Les blessures sérieues peuvent en résultat si vous ne lisez pas ces averissements et instructions de sécurité.
Portez toujours des lunettes de sécurité lors de l'utilisation.
Visitez notre site web: www.poulan-pro.com
Notice Facile