VAL 6 - Chauffage mobile industriel SOVELOR - Notice d'utilisation et mode d'emploi gratuit
Retrouvez gratuitement la notice de l'appareil VAL 6 SOVELOR au format PDF.
| Intitulé | Description |
|---|---|
| Type de produit | Chauffage à air soufflé |
| Caractéristiques techniques principales | Appareil mobile, puissance de chauffage réglable, thermostat intégré |
| Alimentation électrique | 230 V, 50 Hz |
| Dimensions approximatives | Longueur : 50 cm, Largeur : 30 cm, Hauteur : 40 cm |
| Poids | 10 kg |
| Compatibilités | Convient pour les espaces de travail, ateliers et garages |
| Type de batterie | Non applicable |
| Tension | 230 V |
| Puissance | 3000 W |
| Fonctions principales | Chauffage rapide, réglage de la température, protection contre la surchauffe |
| Entretien et nettoyage | Nettoyage régulier des filtres, vérification des connexions électriques |
| Pièces détachées et réparabilité | Disponibilité de pièces de rechange, service après-vente accessible |
| Sécurité | Certifié CE, protection contre la surchauffe, arrêt automatique en cas de basculement |
| Informations générales utiles | Garantie de 2 ans, manuel d'utilisation inclus, conseils d'installation fournis |
FOIRE AUX QUESTIONS - VAL 6 SOVELOR
Questions des utilisateurs sur VAL 6 SOVELOR
0 question sur cet appareil. Repondez a celles que vous connaissez ou posez la votre.
Poser une nouvelle question sur cet appareil
Téléchargez la notice de votre Chauffage mobile industriel au format PDF gratuitement ! Retrouvez votre notice VAL 6 - SOVELOR et reprennez votre appareil électronique en main. Sur cette page sont publiés tous les documents nécessaires à l'utilisation de votre appareil VAL 6 de la marque SOVELOR.
MODE D'EMPLOI VAL 6 SOVELOR
Réception (emballages et contenus), Assemblage 5
Conseils d'utilisation et Fonctionnement. page 6
Diagramme de fonctionnement. page 7
Angle d'inclinaison et Rotation. page 7
Contrôle automatique de la température (thermostat d'ambiance optionnel)...... pages 8
Prise (fuite) d'air. page 9
Entretien & Maintenance.. pages 9,10,11
Filtre fuel.. page 9
Remplacement du filtré fuel. page 10
Réservoir....page 10
Remplacement du giclaur.. page 10
Nettoyage de la cellule photoelectrique...page 11
Remplacement du fusible.. page 11
Listedes pannes possibles.. page 12
Caracteristiques techniques.. page 12
Dimensions. page 13
Scheme 13
Tableau de réglage. page 14 Val 6/2
Vue éclatée et références de pieces détachées. pages 15 à 19
Bruleur...type EP6 JA(S). page 15, 16, 17
Reservoir.. page 18
Chambre de combustion....page 19
CHER CLIENT
Nos you remercions d'avoir choisi notre generateur à infrarouge modele VAL 6.
En assurant un entretien convenable, (voir page ....) suaueVAL 6 fonctionnera tous jours parfaitement.
Nous espérons que vous profiterez au maximum et le dernier possible de ce matériel, suivant les instructions continues dans ce livre.
AVERTISSEMENTS
Veuillez dire attentivement et entierement ce mode d'emploi avant de proceder à l'assemblage, à l'utilisation ou à l'entretien de cet appeareil de chauffage.
En effet, une utilisation inappropriée de cet appeareil risque de blesser quelqu'un voire d'entraineur la mort par brûture, être la conséquence d'un incendie, d'une explosion, d'une électrocution et d'un empoisonnement au monoxyde de carbone.
DANGER
Un empoisonnement au monoxyde de carbone peut entraîner la mort
Nous you demandons de dire et de bien comprenre tous les avertissements indiques dans cette documentation . Conserver ce mode d'emploi pour toute consultation ulterieure.
Utilisez uniquement une alimentation électrique de 230 v +N + T - 50Hz.
(Unetensioninférieurea210vendommagelelectroniqueduVAL6)
Utilisez uniquement du fioul domestique de bonne qualité
L'utilisation de petrole lampant est toléré si celui ci est de bonne qualité
Utilisez l'appareil de chauffage entre - 20^ et + 40^ (veillez à la tenue au gel du carburant )
NE PAS UTILISER DE L'ESSENCE
✓ NE PAS UTILISER A PROXIMATE DE PRODUITS OU VAPEURS INFLAMMABLES
NE PAS UTILISER A PROXIMATE DE POUSSIÈRE DE BOIS (scierie, ébénisterie...)
Ne pas faire le plein l'appareil étant en fonction : Attendre que celui ci soit froid.
Utiliser cet apparéil dans un local aéré avec un taux de renouvellement d'air frais de 1 m3 / minute, ou en plein air (utilisation extérieure).
Respecter les reglementations, code du travail et lois en vigueur lors de l'utilisation de l'appareil de chauffage.
Lors de l'utilisation, veillez a tener éloigné de la zone de rayonnement les enfants, les animaux domestique et tout produits combustibles :
Minimum à 2.5 m de l'appareil (devant, derrière, à droite, et à gauche).
Lors du remisage de l'appareil ou de son déplacement, le maintainir de niveau de façon à ne pas renverser le combustible.

1- Chambre de combustion
2- Réservoir
3- Brûleur
4- Transformateur haute tension
5-Pompe fuel
6- Ventilateur (moteur du brûleur)
7- Cellule photoelectrique de contrôle de flamme
8-Filtre a fuel
9-Gicleur
10-Tuyau d'alimentation
11-Vis de vidange
12-Tuyau de retour fuel
13- Valve automatique (soupape)
Réception

Assemblage

Conseils d'utilisation
Le val 6 a ete conu pour etre utilise au sol ou sur un plancher. Nous degageons notre responsabilité sur les dommages pouvant resultant d'une utilisation non conforme aux averisations page 2 et recommendations suivantes :
Ne pas utiliser le VAL 6 en séparant le brûleur du réservoir,
Ne pas utiliser le VAL 6 en le suspendant dans des lieux élevés.
Un mauvais taux de renouvellement d'air frais (1m3/minute) peut entraîner une mauvaise combustion et encrasser l'appareil.
Ne pas débrancher la prise de courant avant l'arrêt total de l'appareil (post-ventilation)
1 ere utilisation :
La fumée s'échappant lors de la première mise en service est due à l'évaporation de l'humidité dans les matériaux, et en particulier dans la chambre de combustion, ainsi qu'a l'huile anti corrosive qui protège l'appareil durant le transport.
Au bout de 30 secondes de fonctionnement, la fumée disparait.
O Nous rappelons qu'il est conseilé très fermement de ne pas débrancher la prise de courant avant d'avoir mis l'interrupteur OFF en position d'arrêt pour bien faire la post-ventilation. Le voyant de contrôle de fonctionnement doit rester allumé.
Fonctionnement

Si l'air ne sort pas 30 secondes après, le tímoin de Rate d'allumage s'allumera et l'opération s'arrête.
Eteignez puis rallumez. Si nécessaire recommenciez Jusqu'à ce que l'allumage se fasse.
5 cycles maxi, ensuite voir page ;
O Purge et 1er démarrage

Diagramme de fonctionnement

- N'enlevez pas le fil électrique de la prise de courant avant que le ventilateur arrêté et que le témoin lumineux soit éteint.
Angle d'inclinaison et rotation

- Réglage de l'inclinaison verticale
/
Réglage de la rotation horizontale
Raccordement d'un thermostat d'ambiance
Raccordement sur fiche


Prise d'air

Si la pompe aspire de l'air pendant le
fonctionnement, il yaura un bruit anomal et
la flamme deviendra instable ou pourra
meme s'eteindre.
Dans ce cas, Eteignez le VAL 6
Remédier à la prise (fuite) d'air :
- Réservoir vide
Tuyau ou joint sur l'aspiration plus étanche
Rallumez.
Entretien & Maintenance
L'utilisation de pieces détachées d'origine SOVELOR est obligatoire
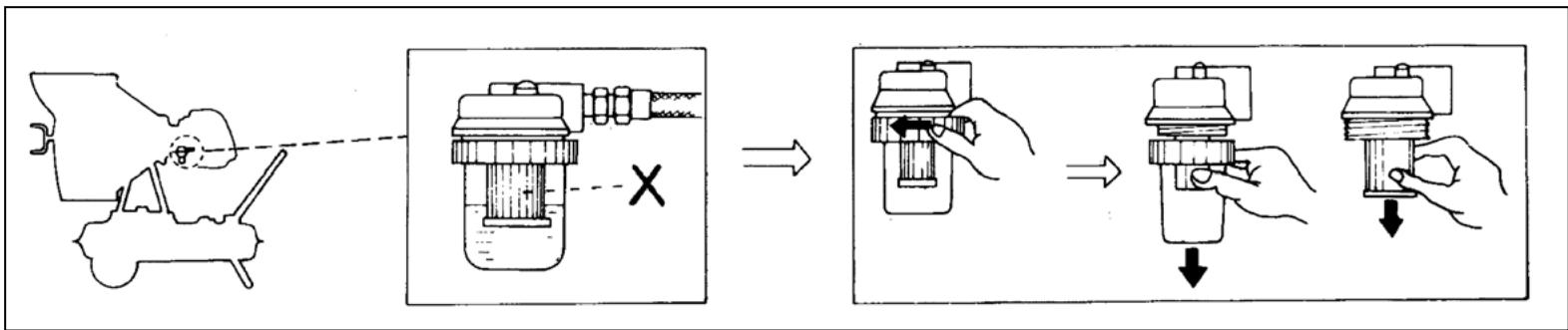
Filtrefuel
Si l'eau s'est introduite dans la cuve du filtr, vidanger l'eau.

Entretien & Maintenance (suite...)
Remplacement du filtré fuel (il est conseillé de remplacer le filtré fuel au moins 3 fois par an)
Si le filtré fuel est obstrué, proceder à son remplacement.

Réservoir
Vidanger l'eau contenue dans le fond du réservoir.

Gicleur
Si le giclure est obstrué, proceder à son remplacement grâce à la clé fournie avec l'appareil (aucun demontage n'est nécessaire).

Entretien & Maintenance (suite...)
Nettoyage de la cellule
Retirer la cellule de son support, et la nettoyer avec un chiffon doux, sec et propre.

Remplacement d'un fusible
Une trop forté intensité de courant dans le système électrique fait fondre le fusible qui protège l'appareil. Vérifiez la cause de cet incident et replacer le fusible fondu par un neuf.

Réglage de l'air comburant

| SYMPTOMES | CAUSES | MESURES |
| Le ventilateur ne démarre pas lorsqu'on branche l'appareil. | Défaut dans le cable de branchement. Branchment défectueux. Fusible grillé. Voltage insuffisant. | Localiser et réparer la partie de cable endommagée. Remplacer ou réparer ce branchement. Fusible remplaced par un nouveau. Utiliser un cable d'alimentation plus gros ou moins long. |
| Le ventilateur démarre mais l'allumage ne se fait pas. Le disque du générateur ne devient pas incandescent. | Réservoir vide. Gicleur obstrué. Filtre obstrué. Carburant de mauvaise qualité. | Remplir le réservoir. Nettoyer ou changer le giclure. Nettoyer ou changer filtre. Vérifier la qualité du carburant et replacer le kerosène. |
| Odeur et fumée noire. Flamme instable. | Mauvaise combustion. Carburant de mauvaise qualité. | Regler l'entrée d'air. Utiliser carburant de bonne qualité |
| L'allumage est suivi d'une mauvaise combustion puis arrêt. | L'oeil électrique a besoin d'être nettoyé. | Nettoyer la cellule ou la replacer. |
| Bruit anormal à la pompe électromagnétique. | Raccordement des tuyaux a une fuite d'air. Reservoir vide. | Vérifier et desserrer les raccords et le filtre. Remplir le réservoir. |
En cas d'incident autre que ceux décrits ci-dessus, mettez-vous s'il vous plaît en rapport avec nos représentants et distributeurs.
Caracteristiques techniques
| PUISSANCE | 40kW |
| COMBUSTIBLE | KEROSENE OU PETROLE |
| CONTENANCE DU RESERVOIR | 40LITRES |
| TENSION ELEC TRIQUE | 230V/50HZ MONO |
| PUISSANCE ELECTRIQUE ABSORBEE | 65W |
| CONTROL DE FLAMME | PREVENTILATION 5 SECONDS POSTVENTILATION 180 SECONDS |
| SECURITE | PAR CELLULE PHOTO-ELECTRIQUE FUSIBLE 1.6 AMPERES |
| SYSTEME DE COMBUSTION | BRULEUR FUEL A HAUTE PRESSION |
| SYSTEME D'ALLUMAGE | PAR TRANSFORMATEUR HAUTE TENSION 15.000 VOLTS |
| PRESSION DE LA POMPE | 7kg/cm²(7bars) (686 k Pa) |
| NIVEAU DE BRUIT | 69dB(A) |
| GICLEUR | 1gal/h(3.78l/h) CONE CREUX 80° |
| MATIERE DE LA CHAMBRE DE COMBUSTION | ISOLATION SPECIAL PAR FIBRES DE CERAMIQUES |
| POIDS NET A VIDE | 53kgs ENVIRON |
Ces spécifications sont susceptibles d'être modifiées sans préavis en vue de perfectionner nos apparèils.
Dimensions


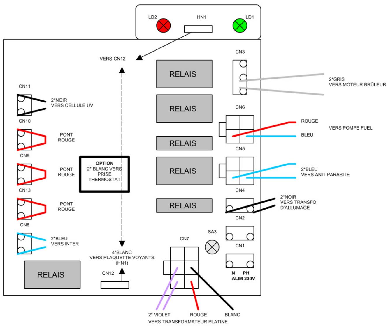
Schéma électrique

REGLAGES DE BASE DU VAL6

VENTILATEUR DE COMBUSTION :
volet d'air 7
repere 7

PRESSION DE POMPE FUEL:
regler avec 1 manometre la pression a 7 BAR
7 BAR
VIS DE REGLAGE PRESSION DE POMPE

PURGE DE LA POMPE POUR AMORCAGE
enlever la vis de purge etmettre en routejusqu'acce que le fuel jaillisse puis remetre la v

REGLAGE DES ELECTRODES


| PART NO. | DESIGNATION EP6A, KBE1JA | CODE NO. | Q'TY /SET | REMARQUES |
| 3 | BRULEUR | 248780 | 1 | pour EP6A/6JA |
| 3A | BURNER ASSEMBLY | 503061-01001 | 1 | Pour KBE1JA |
| 3-1 | GICLEUR | 210220 003-1 | 1 | |
| 3-2 | SUPPORT GICLEUR | 210220 003-2 | 1 | |
| 3-3 | COUDE DE LIAISON GICLEUR | 210220 003-3 | 1 | |
| 3-4 | ELECTRODE DROITE | 210220 003-4 | 1 | INCLU 3-93 |
| 3-5 | ELECTRODE GAUCHE | 210220 003-5 | 1 | INCLU 3-93 |
| 3-6 | SUPPORT ELECTRODE | 210220 003-6 | 1 | |
| 3-7 | PATTE DE FIXATION ELECTRODES | 210220 003-7 | 2 | |
| 3-8 | CACHE ELECTRODE | 210220 003-8 | 1 | |
| 3-9 | FILTRE FUEL COMPLET | 210210 003-9 | 1 | INCLU 3-10,3-11,3-12 & 3-89 |
| 3-10 | CARTOUCHE FILTRE | 210210 03-10 | 1 | |
| 3-11 | CUVE DE FILTRE FUEL | 210210 03-11 | 1 | L=56mm |
| 3-12 | CORPS DE FILTRE | 210210 03-12 | 1 | INCLUDE RING NUT |
| 3-15 | COUDE M/M ENTRE FILTRE FUEL | 210210 03-15 | 1 | |
| 3-16 | RACCORD M/M SORTIE FILTRE | 210210 03-16 | 1 | |
| 3-17 | CANALISTION FUEL | 502802 02009 | 1 | SORTIE FILTRE / ENTREE POMPE |
| 3-18 | COUDE M/M ENTREE POMPE | 502042 01025 | 1 | |
| 3-19 | POMPE FUEL | 50305 201A04 | 1 | Raccordement par connecteur sur CN 6 |
| 3-22 | CANALISATION FUEL | 502802 02010 | 1 | |
| 3-23 | PROTECTION CAOUTCHOUÇ | 210220 03-25 | 1 | |
| 3-25 | CAPOT BRULEUR | 210210 03-25 | 1 | |
| 3-26 | POIGNEE CAPOT BRULEUR | 210220 03-28 | 1 | |
| 3-28 | JOINT DE PANNEAU CDE CAPOT | 213005 03-65 | 1 | |
| 3-30 | PATTE DE FIXATION CAPOT | 210210 03-30 | 2 | |
| 3-35 | CONDENSATEUR 1μF | 502912 01021 | 1 | |
| 3-36 | SHUNT / CONNECTEUR CN... | 502492 03047 | 3 | |
| 3-37 | PLATINE ELECTRONIQUE | 50321 204005 | 1 | Raccordement par connecteurs |
| 3-38 | PORTE FUSIBLE | 502912 01004 | 1 | |
| 3-39 | SUPPORT DE PORTE FUSIBLE | 502912 01018 | 1 | |
| 3-41 | FUSIBLE 1.6 A | 502912 01006 | 1 | |
| 3-42 | CHASSIS TOLE SUPPORT PLATINE | 222150 30015 | 1 | |
| 3-43 | CHASSIS TOLE SUPPORT PLATINE | 213005 03-48 | 1 | |
| 3-44 | BOUCHON PLASIQUE DE TH | 502912 01014 | 1 | 9, FOR EP6A |
| 3-45 | PANNEAU FRONTAL DE CDE | 502912 01007 | 1 | |
| 3-46 | TRANSFORMATEUR lere ALLURE | 502912 01002 | 1 | Raccordement sur CN 7 |
| 3-47 | MOTEUR DE VENTILATEUR | 502912 01009 | 1 | Raccordement sur CN 3 |
| 3-48 | CELLULE PHOTOELECTRIQUE | 502622 02030 | 1 | Raccordement sur CN 11 |
| 3-49 | SUPPORT DE CELLULE | 502622 02029 | 1 | |
| 3-51 | TRANSFORMATEUR ALLUMAGE | 502912 01003 | 1 | Raccordement sur CN 4 |
| 3-52 | EMBOUT ISOLANT | 502912 01016 | 2 | Raccordement ELECTRODES |
| 3-54 | CARTER BRULEUR | 502802 0200A | 1 | |
| 3-55 | PATTE DE FIXATION CAPOT | 210210 03-55 | 2 | |
| 3-56 | JOINT CAPOT BRULEUR | 210220 03-54 | 1 | |
| 3-57 | BRIDE BRULEUR | 210220 03-55 | 1 | |
| 3-58 | CANON BRULEUR | 210220 03-56 | 1 | |
| 3-59 | ACCROCHE FLAMME | 210220 03-57 | 1 | |
| 3-69 | INTERRUPTEUR MARCHE / ARRET | 502911 01002 | 1 | |
| 3-71 | CABLE D'ALIMENTATION | 503032 01005 | 1 | INCLUDE 3-72 & 3-73 |
| 3-72 | PRISE D'ALIMENTATION | 502332 01005 | 1 | |
| 3-73 | PRESSE ETOUPE | 502212 A2028 | 1 | |
| 3-74 | JOINT DE BRIDE BRULEUR | 210220 03-66 | 1 | |
| 3-75 | CLE GICLEUR | 210220 03-68 | 1 | Inclus dans 3-83 |
| 3-77 | JOINT ETANCHÈITE | 210220 03-45 | 2 | |
| 3-79 | SOUPAPE - VALVE DE PURGE | 210620 03-67 | 1 | |
| 3-80 | CANALISATION RETOUR FUEL | 502912 01013 | 1 | entre SOUPAPE / COUDE |
| 3-81 | COUDE M/M RETOUR FUEL | 213005 03-60 | 1 | entre COUDE / FLEXIBLE |
| 3-82 | PROTECTION CAOUTCHOUC | 210210 03-82 | 1 | |
| 3-83 | KIT ENTRETIEN : | 503052 03-83 | 1 | |
| 3-84 | TUBE DE LIAISON CHROME | 210210 03-84 | 1 | |
| 3-89 | JOINT TORIQUE | 210210 03-13 | 1 | 2 joints Inclus dans 3-83 |
| 3-90 | JOINT ETANCHÈ. support GICLEUR | 213005 003-6 | 1 | |
| 3-93 | CONNECTEUR ELECTRODES | 210210 03-93 | 2 | |
| 3-94 | ECROU FIXATION COUDE 3-81 | 213005 03-58 | 1 | |
| 3-97 | COUVERCLE EN TOLE / PLATINE | 222150 30013 | 1 | |
| 3-98 | PRISE JACK FEMILLE (thermostat) | 503062 01002 | 1 | FOR KBE1JA/EP6JA |
| 3-99 | SUPPORT TOLE DE PANNEAU Av | 213005 03-72 | 1 | |
| 3-101 | CONNECTEUR THERMOSTAT | 503062 01007 | 1 | |
| 3-102 | SUPPORT PLATINE | 502291 04005 | 4 | |
| PART NO. | DESIGNATION POUR TOUS LES MODELES | CODE NO. | Q'TY /SET | REMARQUES |
| 2 | RESERVOIR COMPLET | 1 | ||
| 2-1 | RESERVOIR NU | 210220 002-1 | 1 | |
| 2-2 | EMBASE DE SUPPORT rotatif | 210220 002-2 | 1 | |
| 2-3 | MANETTE DE SERRAGE | 210220 002-3 | 1 | pour support rotatif |
| 2-4 | BRANCARD SUPPORT réservoir | 210220 002-4 | 1 | |
| 2-5 | GUIDON | 210220 002-5 | 1 | |
| 2-6 | AXE DE ROUES | 210220 002-6 | 1 | |
| 2-7 | ROUE | 502012 04006 | 2 | |
| 2-10 | JAUGE CARBURANT | 210220 02-10 | 1 | |
| 2-11 | FILTRE DE REMPLISSAGE | 210220 02-11 | 1 | |
| 2-12 | BOUCHON DE RESEROIR | 210220 02-12 | 1 | |
| 2-13 | TUBE PLOUDEUR ASPIRATION | 213005 02-13 | 1 | |
| 2-14 | FLEXIBLES Aspiration / Retour | 210220 02-14 | 2 | |
| 2-16 | BOUCHON DE VIDANGE | 502312 04020 | 1 | |
| 2-17 | JOINT DE BOUCHON | 502312 04021 | 1 | |


| PART NO. | DESIGNATION Pour tout modèles | CODE NO. | Q'TY /SET | REMARQUES |
| 1 | CHAMBRE COMPLETE | 1 | ||
| 1-1 | DISQUE DE COMBUSTION | 210220 001-1 | 1 | |
| 1-2 | CONE ISOLATION | 210220 001-2 | 1 | |
| 1-3 | CARROSSEIRE DIFFUSEUR | 210220 001-3 | 1 | |
| 1-4 | CHAMBRE DE COMBUSTION | 210220 001-4 | 1 | |
| 1-5 | BRIDE BRULEUR | 210220 001-5 | 1 | |
| 1-6 | CASQUETTE DE PROTECTION | 210220 001-6 | 1 | |
| 1-7 | PROTECTION AVANT | 210220 001-7 | 1 | FOR SPARE PART ONLY |
| 1-8 | ETRIER / FIXATION CHAMBRE | 210220 001-8 | 1 | SUR SUPPORT ROTATIF 1-13 |
| 1-9 | BOULON DE SERRAGE Droit | 210220 001-9 | 1 | Inclinaison par poignée 1-11 |
| 1-10 | BOULON DE SERRAGE Gauche | 210220 01-10 | 1 | Inclinaison par poignée 1-11 |
| 1-11 | POIGNEE D'INCLINAISON | 210220 01-11 | 2 | Fixation sur boulon 1-9 / 1-10 |
| 1-12 | RONDELLE | 502012 01055 | 2 | |
| 1-13 | SUPPORT ROTATIF | 210210 01-13 | 1 |

Notice Facile