PB3200 - Aspirateur rechargeable PROGRESS - Notice d'utilisation et mode d'emploi gratuit
Retrouvez gratuitement la notice de l'appareil PB3200 PROGRESS au format PDF.
| Type d'appareil | Aspirateur rechargeable |
| Alimentation | Batterie rechargeable |
| Autonomie | Non précisé |
| Temps de charge | Non précisé |
| Capacité du réservoir | Non précisé |
| Poids | Léger |
| Utilisation | Manuel, sans fil |
| Accessoires inclus | Non précisé |
| Type de filtre | Non précisé |
| Niveau sonore | Non précisé |
| Couleur | Gris et blanc |
| Dimensions | Compact |
| Garantie | Non précisé |
| Fonction | Nettoyage des surfaces |
| Mode d'emploi | Inclus |
FOIRE AUX QUESTIONS - PB3200 PROGRESS
Téléchargez la notice de votre Aspirateur rechargeable au format PDF gratuitement ! Retrouvez votre notice PB3200 - PROGRESS et reprennez votre appareil électronique en main. Sur cette page sont publiés tous les documents nécessaires à l'utilisation de votre appareil PB3200 de la marque PROGRESS.
MODE D'EMPLOI PB3200 PROGRESS
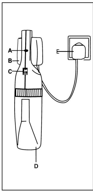
B = Support mural avec compartment pour le cable
C = Interrupteur marche/arré
D = D(= (1 - 1))
D = Receptacle à poussière
E = Chaleur
E- Shangguo
Fig.1 Placer le connecteur a cliquets dans
le support mural.
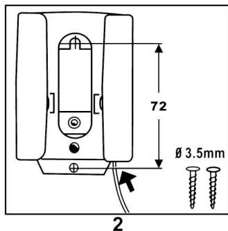
Fig. 2 Montage du support mural
L'aspirateur peut également fixe au mur, soit posé à plat. Faire attention à ce qu'il soit monté à portée de la main, à proximité d'une prise de courant. Ecartement vertical des vis 72 mm, diamètre des vis 3,5 mm. Rentre le cable excédanteur et brancher le chargeur sur la prise de courant.
Mise en marche
Veuilzez vérifier si la tension du secteur est bien conforme aux données figurant sur la plaque signalétique du chargeur.
Faire glisser l'aspirateur rechargeable dans le support mural jusqu'à ce qui s'échéquite distinctement. Avant la première mise en marche, le chargeur doit être branché pendant 24 heures au minimum.
Ifnexistsaucun dangerde surcharge laissuereau daiterontesassures
L aspirateur doit rester constamment sur le chargeur entre chaque utilisation.
Quand une batterie entièrement rechargede fonctionnelle pendant moins de 7 minutes, la cause peut-être une certaine résistance à la recharge qui se produit lorsque l'aspirateur n'est toujours utilisé que peu de temps. Dans un tel cas, nous vous conseillons d'utiliser l'aspirateur jusqu'à ce que le batterie soit à plat. Rechargez ensuite la batterie. Si nécessaire, repétée cette operation.
Remarque: Il est recommando de ne pas préchauter à une large quant et l'immateriature ambiente est inférieure à 0^ (2) (14)
Le chargeur chauffe pendant la recharge. C'est tout a fait normal.
Fig. 3 Nettoyage de l'appareil. Enlever le receptacle à poussière de la poignée en tournant dans le sens de la flèche. Vider la poussière.
Fig. 4 Dans le cas d'un fort encasement, enlever le filtré et le dépoussierer. Si nécessaire, le laver dans une solution de savon ou le remplaçer par un filtré neuf. Ne renmettre l'aspirateur en marche qu'après sechage parfait du filtré.
Remarques importantes
Seule la batterie spéciale qui se trouve dans l'aspirateur peut être chargeé par le chargeur.
A n'utiliser que dans des peices d'habitation. Nettoyer souvent le receptacle a poussiere et le filtre! Ne pas aspirer d'objets humides ou incandescents. Pour aspirer, il faut sepaérer l'aspirateur au accu du chargeur. Ne faire proceder à l'échange des batteries que par le service après-venture Progress
Attention! En cas de panne, l'aspirateur et le chargeur devont être contrôliés ou échangés.
Seul du personnel qualifié à le droit de réparer les apparèts électroménagers. Des réparations mal faites peuvent entrainer des dangers considérables pour l'utilisateur.
En cas de panne, veuillusdoncousuyadresseràvotrecommercant的专业ise ou directement au service après的进步Progress.
Les dettes de rechange sont en vente dans les Centres Services agregés Progress. Pour connaître l'adresse du centre le plus proche de votre domicile tel. 0344262424.
CE Cet apparéil est conforme aux directives
suivantes de la CEE
73/23/CEE du 19.02.1973 - directive concernant laasse tension 89/336/CEE du 03.05.1989 (y compris la directive de modi-fication 92/31/CEE) - directive concernant la compatibilité electromaétique.
Remarque importante sur l'élimination des batteries L'aspirateur rechargeable est équipé de batteries au Ni-MH, dont les éléments peuvent nuir à l'environnement. En cas de remplacement, nous recommando de faire effeteur l'échange des batteries par le Centre Services agéré Progress pour garantir une élimination ecologique.

Ni-MH Ni-MH
Il faut procéder à une élimination dans les formes prescrites également si vous faisses l'échange vous-même. La batterie usagée ou l'appellé avec les batteries ne doit enaucen cas être iéte dans le ordres ménagerés.
Pour retirer la batterie: après avoir oité le filtré, enlever le caoutchouc de retenue et sortir les deux pieces de raccordement des talons de suspension de la batterie.
Des precautions sont à prendre pour manipuler la batterie.
Il pourrait y avoir encore une capacité résiduelle et un court-circuit de ses contacts poutraitrair causer des dommages. Il est donc conséille de trans-porter la batterie dans un sachet en plastique.
Pour rélimination, vous avez les créditeurs suiviants: Colective collective des ordures prévue par les communes.
- Remise à l'un des Centre Service agréés Progress.
Pour la sauvegarde de l'environnement
Ne pas jeter simplement le matériel d'emballage.
Le carton d'emballage peut être gardé pour la collecte des derniers papiers.
- Remetre le sac en polyethylené (PE) à la collecte sélective de PE pour le recyclage.
Renseignez-vous après de votre municipality pour savoir où se找出 le centre de recyclage.
H 822 949 133 - 0301/00
ELECTROLUX L.D.A - 43 avenue Félix Louat - B.P. 30140 - 60300 SENLIS
Tel.: 03 44 62 24 24 - Telécopieur: 03 44 62 23 94SNG au capital de 150.000 Euros - B.C.S. SanCel
SNC au capital de 150 000 Euros. - R.C.S.: Serris B 409 547 383
Achtung
- Utilisez exclusivement la batterie rechargeable fournie par le fabricant de l'appareil.
L'utilisation de tout autre type de batterie pourrait provoquer des fuites et creer un danger.
583.5mm

PB 3200

Instruction Manual
Mode d'emploi
Gebrauchsanweisung
Aspirateur rechargeable
Accusaugerv
PB3200 - Rev A
583.5mm



3

1

4
DE
A = Ladegerat
Notice Facile