ROTARY SR110 - Poêle ARCO - Notice d'utilisation et mode d'emploi gratuit
Retrouvez gratuitement la notice de l'appareil ROTARY SR110 ARCO au format PDF.
| Type d'appareil | Poêle à bois |
| Modèles | SR 110 ROTARY, SR 130 ROTARY |
| Installation | Fixe |
| Alimentation | Bois |
| Puissance thermique | Non précisé |
| Rendement | Non précisé |
| Dimensions (L x H x P) | Non précisé |
| Poids | Non précisé |
| Matériau | Acier et fonte |
| Type de combustion | Rotation |
| Sortie des fumées | Non précisé |
| Utilisation | Chauffage domestique |
| Accessoires inclus | Non précisé |
| Normes de sécurité | Conforme aux normes en vigueur |
| Garantie | Non précisé |
FOIRE AUX QUESTIONS - ROTARY SR110 ARCO
Questions des utilisateurs sur ROTARY SR110 ARCO
0 question sur cet appareil. Repondez a celles que vous connaissez ou posez la votre.
Poser une nouvelle question sur cet appareil
Téléchargez la notice de votre Poêle au format PDF gratuitement ! Retrouvez votre notice ROTARY SR110 - ARCO et reprennez votre appareil électronique en main. Sur cette page sont publiés tous les documents nécessaires à l'utilisation de votre appareil ROTARY SR110 de la marque ARCO.
MODE D'EMPLOI ROTARY SR110 ARCO
1.1 Generalités 8 1.2Infos sur les combustibles 8
1.2.1 Le bois 8 1.2.2 Produits de combustion 9 1.2.3 Contrôle de la combustion 10 1.2.4 Humidité du bois et pouvoir calorifique 10 1.2.5 Comment sécher et bien conserver le bois 10 1.2.6 Évaluation de l'humidité du bois 11 1.2.7 Méthode 11 1.2.8 Conclusions 11 1.2.9 Pellet (Granulés) 12
1.3 Responsabilités du constructeur 12 1.4 Pièces de rechange 12 1.5 Plaque d'identification 13 1.6 Accessoires fournis 13
2 Precautions de securite 13
2.1 Conseils à l'installateur 13 2.2 Conseils à l'utilisateur 13
3 Installation 14
3.1 Ou implanter le poèle 14 3.2Evacuation des fumées du poèle 14
3.2.1 Raccordement au conduit de fumées 15 3.2.2 Hauteur 16 3.2.3 Section du conduit 16 3.2.4 Dépression 17 3.2.5 Chapeau de cheminée et généralités 17
3.3 Distances de sécurité 19
3.3.1 Champ de rayonnement de l'appareil 19 3.3.2 Aération du local d'installation de l'appareil 19 3.3.3 Distances de sécurité 20 3.3.4 Position du poèle 20 3.3.5 Raccordement électrique 20
4 Utilisation du POELE 21
4.1 Description des parties principales du poêle 21 4.2 Utilisation au bois 22
4.2.1 Allumage 22
4.3 Utilisation au pellet (granulé) 23
4.3.1 Interface usager 23 4.3.2 Voyant vert. 23 4.3.3 Voyant rouge 23 4.3.4 Bouton du temporisateur 23
4.4 Allumage 24
4.4.1 Extinction 24 4.4.2 Chargement du pellet 24
4.5 Utilisation avec des buches densifiées 25
4.5.1 Prparation 25 4.5.2 Allumage 25
4.6 Fonctionnement 26 4.7 Utilisation du four (uniquement sur le modèle SR 130) 26
5 Nettoyage et entretien 27
5.1 Nettoyage courant 27 5.2 Nettoyage hebdomadaire 29 5.3 Nettoyage général 29
6 Montage du DECOR 30
6.1.1 Montage du décorlateral 31 6.1.2 Montage du décor frontal 31
6.2.1 Montage du décor latéral 33 6.2.2 Montage du décor frontal 33
7 Garantie 34
La maison A. R. CO vous remercie pour avoir choisi l’un de ses produits, synonymes d’élegance, robustesse, fonctionnalité, facilité d’emploi et dont le design et le style uniques, résultat de notre tradition artisanale jumelée aux techniques de combustion les plus modernes.
A. R. CO ne propose à sa clientèle que des produits d'excellente qualité, utilisant les meilleurs matériaux (aciers stabilisés, réfractaires de dernière génération, vernis thermorésistants, etc...), les technologies de production les plus avancées et soumet ses produits, autres ses contrôles internes sur la qualité de production, aux tests et certifications Européennes EN 12815 contrôles effectués par des laboratoires spécialisés reconnus mondialement.
Nous vous invitons à suivre ce livre d'instructions et à l'affiner avec votre expérience personnelle et un entretien ajusté, vous aurez ainsi un appareil en mesure de vous donner pleine satisfaction, longtemps.

DANGER: TENSION ELECTRIQUE

DANGER: GENERIQUE

DANGER: HAUTES TEMPERATURES

L'UTILISATION DE GANTS EST RECOMMANDEE

LIRE ATTENTIVEMENT LES INSTRUCTIONS
1.1 Généralités
Par la fourniture de ce manuel, A. R. CO. D2CLINE toute responsabilité tant civile que pénale pour tout incidente suite à la non observation partielle ou totale des instructions ci-après
A. R. CO. decline toute responsabilité suite à un usage inapproprié du poêle, à un usage incorrect par l'utilisateur, à des modifications ou réparations non agrées, à l'emploi de pièces de rechange non originales.
1.2.1 Le bois
Pour un bon fonctionnement de nos appareils, utiliser seulement des bois durs, bien secs et d'au moins 2 ans de coupe afin d'obtenir un bon rendement et éviter d'encrasser rapidement le conduit de fumées (voir tableau ci-dessous). On peut aussi utiliser les briquettes de lignite, utiles pour obtenir un feu réduit et de longue durée (ex. La nuit). Important : lors des premiers feux, nous recommandons de faire des feux modérés pour favoriser une bonne mise en place générale de toute l'installation.
Attention: éviter absolument les grandes flambées de buchettes, cartons, bois d'emballages ou déchets qui peuvent causer de graves dommages suite à un dégagement de chaleur excessif et trop brutal. une telle utilisation et les dommages en découlant rendent immédiatement caduque la garantie.
Tenir compte que les normes interdisent l'utilisation de :
- Bois points ou vernis
- Bois traités ou en particules
- Déchets domestiques
- Briquettes de papiers (rejets nocifs : cadmium, plomb, zinc)
De plus, l'emploi de tels matériaux dégage - outre les odeurs - des substances néfastes pour la santé. Les résineux (pin, sapin...) font beaucoup de tincelles et encrassent beaucoup.
Un poêle ou une cuisinière ne doit pas être utilisé comme incinérateur.
Classification des bois
| DURS | MOYENS | TENDRES |
| ROUVRE | HÉTRE | PEUPLIER |
| ERABLE | CHÉNE VERT | TILLEUL |
| ROBINIER | CHATAIGNIER | PLATANE |
| CHARME | MURIER | BOULEAU |
| CHENE | FRENE | SAULE |
| PIN-SAPIN-MELEZE | ||
| HETRE | ARBRES FRUITIERS |
1.2.2 Produits de combustion
Du point de vue chimique, le bois est composé principalement de carbone, d'hydrogène et d'oxygène. Il n'y a pratiquement pas de substances polluantes comme le soufre, le chlore et les métaux lourds, donc si la combustion est excellente, il ne reste comme résidus solides que des cendres de bois ; pour contre, si la combustion n'est pas complète, il sera rejeté toute une série de substances polluantes, comme par exemple, le monoxyde de carbone (toxique), l'acide acétique, le phénol, le méthane (toxique), la formaldehyde et des suies et goudrons, donc :
Utiliser seulement du bois sec;
Pour l'allumage, employer seulement du bois coupé en petits morceaux, qui brûle plus rapidement que les grandes bûches et permet d'atteindre plus vite la température nécessaire à la combustion complète;
Pour un chauffage continu, ne pas introduire trop de bois d'un seul coup, il vaut mieux en rajouter souvent par petite quantité. La quantité de bois doit toujours être proportionnelle aux besoins de chaleur.
Conformément à la norme EN 13240, on recommande d'utiliser seulement des bûches d'environ 33x5x5 cm
Les intervalles normaux de recharge à la puissance nominale sont de 60 minutes.
1.2.3 Contrôle de la combustion
La qualité de la combustion se contrôle facilement en évaluant ces simples paramètres:
Couleur et constance des cendres : si la combustion est bonne, les cendres sont blanches et fines. Une coloration des cendres de carbone, dues à une charge de bois et donc une combustion insuffisante.
Couleur des fumées : pour celles-ci, suivez à la règle qui dit... plus les fumées sont invisibles, meilleure est la combustion.
1.2.4 Humidité du bois et pouvoir calorifique
Le pouvoir calorifique du bois dépend principalement de sa teneur en humidité. Plus le bois est humide, plus il faudra apporter d'énergie à la combustion pour l'évaporer. Cette énergie est au détriment du pouvoir calorifique. Donc, plus le bois est humide, plus bas est son pouvoir calorifique.
Par exemple : Le bois fraîchement coupé a un contenu d'humidité de 50% et un pouvoir calorifique de 2.3kWh / Kg environ ; le bois bien sec (séché à l'air) par contre, présente un contenu d'humidité du 15% environ et un pouvoir calorifique de 4.3kWh / Kg environ. Il en résulte qu'en brûlant du bois très humide on a, par rapport à du bois sec, seulement la moitié environ du pouvoir calorifique. Tenir compte également qu'en outre, la combustion de bois très humide provoque une augmentation de la corrosion des parois du foyer, et que la vapeur aqueuse libérée en abondance se condense plus facilement dans les tuyaux de fumées et dans le conduit, ce qui crée des dommages dus aux goudrons et suies grasses. L'humidité élevée du bois provoque en outre un abaissement de la température de combustion, empêchant ainsi une combustion complète de tous les composants du bois. On perd le contenu d'énergie de ces inbrûlés (+ de consommation) et du point de vue écologique un résultat inadmissible "la Fumée indienne".
1.2.5 Comment sécher et bien conserver le bois
Voici quelques remarques très importantes :
Pour bien sécher, le bois a besoin de temps 18 à 36 mois suivant essence. Le bois doit être préparé scié et fendu -prêt à l'emploi-, ce qui favorise un séchage plus rapide.
Les bûches doivent être empilées dans un lieu ventilé, le plus ensoleillé possible, et protégé de la pluie (préférer l'exposition au sud).
Laisser des passages pour l'air entre les bûches pour pouvoir évacuer l'humidité libre.
Ne pas couvrir le bois avec une pellicule plastique ou couverture imperméable, l'humidité ne pourrait pas s'évacuer.
Ne jamais stocker de bois frais dans une cave, il pourrait au lieu de sécher.
Seul le bois déjà bien sec peut être conservé à l'intérieur d'une maison.
1.2.6 Évaluation de l'humidité du bois
Notre méthode pour la détermination de la qualité de votre bois est importante pour la meilleure utilisation de nos poêles et cuisinières.
Rappelons d'abord que :
L'humidité d'un bois de chauffage (pour éviter tous problèmes de condensation, etc.) doit être inférieure à 18 - 20%.
Le bois est juste sec lorsqu'il atteint un état d'équilibre, c'est-à-dire lorsque ne perd plus ni n'absorbe plus l'humidité ambiant... il poids reste constant.
1.2.7 Méthode
Prélever quelques bûches en différents points du tas de bois.
Marquer les bûches pour ne pas les confondre
Peser ces bûches et noter leur poids.
Sécher les bûches artificiellement (par exemple en laissant dans le flux de l'air chaud de convection du poêle ou de la cuisine).
Remettre ces buches à leur position d'origine dans le tas de bois.
Les y laisser 2 jours.
Repesez ces bûches et constatez s'il y a une différence de poids.
1.2.8 Conclusions
Si le poids relevé après le séchage est égal à celui marqué en départ, cela veut dire que le bois est sec.
Si le poids relevé après le séchage est inférieur à celui marqué en départ, Carla peut dire que le bois n'est pas sec (humidité supérieure au 20%) et ne doit pas encore être utilisé.
1.2.9 Pellet (granulés)
Le poêle à pellet produit une chaleur saine et améliore la qualité de l'ambiance. Il peut brûler sans problèmes des pellets de différentes compositions (sapin, pin...)
Son système spécial et breveté de combustion à air primaire à tirage naturel garantit une combustion parfaite. Les émissions de CO sont considérablement réduites, au-dessous des réglementations en vigueur, tout en maintenant un haut rendement (supérieur à 80%). Les matériaux de haute qualité utilisés pour le réaliser et les détails techniques de construction rendent les Rotary sûrs, fiables, très faciles à employer quotidiennement et simples dans l'entretien.
1.3 Responsabilités du constructeur
Le constructeur décline toute responsabilité civile ou pénale, directe ou indirecte, suite à :
- Mauvaise manipulation Inobservation des instructions du présent manuel Usage non conforme aux directives de sécurité Installation non conforme aux normes du pays en vigueur Installation faite par du personnel non qualifié et non agréé
- Modifications ou réparations non autorisées par le constructeur Utilisation de pièces de rechange non originales
- Événements exceptionnels (fortes chutes de tension, foudre...)
Utiliser exclusivement des pièces de rechange d'origine
Ne pas attendre que les composants soient trop usagés.
Des composants trop usagers peuvent provoquer des dommages à l'appareil ou aux personnes.
Mod. SR130
Numéro lotto: 0106
2.1 Conseils à l'installation
Respecter les informations contenues dans ce manuel.
Vérifier que les caractéristiques du conduit de fumées et des prises d'air sont conformes pour ce type d'installation.
Ne pas effectuer de raccordement électrique avec des fils non isolés ou provisoires.
Vérifier que la mise à la terre de l'installation électrique est efficace.
2.2 Conseils à l'utilisateur
En fonctionnement, les parois du poêle sont très chaudes, éviter alors de : toucher les tuyaux de fumées
toucher la vitre de la porte – risque de brûlures graves -
sortir le cendrier
procéder à aucun nettoyage en général.



3.1 Où implanter le poêle
Le positionnement du poèle est un facteur déterminant pour chauffer de façon optimale le volume.
Ne pas explanter le poèle dans la zone "nuit".
L'alimentation électrique doit être reliée à la terre.
Le lieu d'implantation doit posséder une ventilation suffisante.
Nous vous indiquons quelques recommandations et règles générales, sans engager notre responsabilité, compte tenu que chaque installation est spécifique et les normes (DTU) uniques à chaque pays.

3.2 Évacuation des fumées du poêle
Le poêle chaud, le système d'évacuation des fumées fonctionne par mise en dépression de la chambre de combustion par le conduit de fumées.
Il est donc très important que le circuit d'évacuation des fumées soit étanche. L'évacuation des fumées doit se faire vers l'extérieur, par un conduit, et ne pas déboucher dans un espace fermé, garage ou sous-faîtiage.
La température de surface des tuyaux de fumées est élevée, il faut donc faire attention.
Respecter les normes en vigueur pour toute traversée de plancher.
3.2.1 Raccordement au conduit de fumées
Le conduit de fumées revêt une grande importance dans le bon fonctionnement d'un appareil de chauffage à combustible solide. Il est primordial que le conduit soit construit dans les règles de l'art et maintenu en bon état pour être efficace.
Le diamètre des tuyaux de liaison et les raccords ne doit jamais être inférieur au diamètre de la buse montée d'origine sur l'appareil.
- Limiter au maximum les coudes et parties horizontales. Si nécessaire, prévoir une pente de 2 à 3 cm par mètre.
- Nombre d'appareils possible par conduit : se référer aux normes du pays. En France : 1 seul appareil par conduit.
- Les tuyaux de liaison doivent être parfaitement étanches entre eux, et tout particulièrement au raccord au conduit. Nous conseillons les tuyaux A. R. CO.
- Éliminer toute infiltration d'air par des éventuelles fissures du conduit ou par la trappe de visite.



3.2.2 Hauteur
La dépression (tirage) d'un conduit dépend entre autres de sa hauteur. La hauteur minimum d'un conduit ne doit pas être inférieure à cinq mètres linéaires en partant de l'entrée des gaz de combustion dans la cheminée et du niveau supérieur du chapeau de la cheminée.
Sous le faitage
Dépassant le faitage
3.2.3 Section du conduit
La section d'un conduit dépend de la hauteur de la cheminée et de la puissance thermique de l'appareil. Pour obtenir les meilleures performances de nos appareils, nous vous recommandons autant que possible, un conduit de forme circulaire avec des parois internes lisses et de section constante sur toute la longueur.
Pour des conduits préfabriqués, nous vous conseillons la section suivante :
| Hauteur conduit | Section ronde | Section carrée |
| 5 m. linéaire | 20 cm | 20x20 cm |
| 10 m. linéaire | 18 cm | 18x18 cm |
| 15 m. linéaire | 16 cm | 16x16 cm |



3.2.4 Dépression
La dépression (tirage) nécessaire aux poêles et cuisinières ARCO est indiquée sur les catalogues des produits. La dépression optimale varie de 0.15 mbar (1.5 mm de colonne d'eau) à 0.2 mbar selon les modèles. Il faut donc la faire contrôler avant l'installation d'un appareil.
Se rappeler que :
Avec des valeurs inférieures, le feu sera trop lent, avec formation de dépôts carbonés et production excessive de fumées qu'on verra sortir des portes pendant les phases de chargement du bois, d'où un encrassement très rapide de toute l'installation.
Avec des valeurs supérieures, on aura une combustion trop rapide, peu de transmission de chaleur et l'impossibilité d'avoir une bonne durée de feu.
La conduite doit être étanche : toute infiltration d'air par des fissures ou par une trappe de visite non étanche réduit considérablement le tirage de la cheminée.
3.2.5 Chapeau de cheminée et généralités
Pour faciliter le tirage, le chapeau doit être placé en plein vent et par conséquent dépasser du faîte du toit d'au moins 50 cm. Ses dimensions varient selon le type de conduit ; la section de passage en sortie doit être du double de la section du conduit pour faciliter l'échappement des fumées.
Nous conseillons un chapeau de type antivent de forme permettant l'effet Venturi, c'est-à-dire l'expulsion des fumées hors du chapeau, même en présence de forts vents horizontaux.
Un chapeau de mauvaise qualité ou en mauvais état peut provoquer des obstructions dans le conduit par le détachement d'éléments refractaires utilisés pour les scellements, dus aux condensats acides qui attaquent les matériaux, provoquant des fissures, des infiltrations d'air et des décollements de plaques de suie.
Pour éviter ces problèmes, il est préférible d'installer un chapeau de production industrielle parce qu'étudié en privilégiant les critères techniques par rapport à leurs purement esthétiques.
Concernant les matériaux, la paroi intérieure du conduit doit être lisse ; il doit être réalisé en inox ou avec des matériaux refractaires, résistants aux températures de fumées, à leur agressivité acide et imperméable aux gaz ; la partie extérieure peut être réalisée avec des éléments des préfabriqués vibrocompressés à base de ciment formant un double conduit avec lame d'air et isolation en laine de roche épaisseur 3-5 cm pour obtenir une bonne isolation.


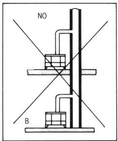
3.3 Distances de sécurité

A = min. 50 cm
B = min. 30 cm
C = 16 cm (distance suffisante pour permettre l'extraction du cendrier de récupération des poussières du distributeur)
3.3.1 Champ de rayonnement de l'appareil
Ne jamais mettre de matériaux inflammables ou thermosensibles à moins de 80 cm de la vitre du poêle.

3.3.2 Aération du local d'installation de l'appareil
Pour obtenir un bon fonctionnement de l'appareil et garantir votre sécurité, il est nécessaire de munir le local d'installation d'une ventilation ajustée pour assurer une entrée suffisante d'air pour une combustion optimale.
Pour l'aération du local, employer des bouches de ventilation à registre partiel. Il est toujours conseillé de consulter un professionnel du secteur chauffage/ventilation. Des fenêtres ou des portes trop étanches peuvent limiter la ventilation, et promptement le bon tirage de l'appareil.
3.3.3 Distances de sécurité
- L'appareil de chauffage (poêle, cuisinière) devra être implanté dans un lieu où ne puisse pas se produire d'incendie. En conséquence, les murs adjacents, le sol et les objets posés à proximité doivent être incombustibles et aptes à supporter une température d'environ 80°C supérieure à l'ambiance.
- A défaut, il est obligatoire de prévoir une isolation thermique de ces éléments.
- Il est interdit d'accoler à la cuisinière des meubles plus hauts que le plan de travail (risque d'incendie ou de détérioration de ceux-ci).
- Il faut laisser un espace de 10/20 cm autour de l'appareil (sauf modèles à parois ventilées) pour garantir un bon refroidissement de l'appareil et une bonne distribution de l'air chaud dans le local.
- Si le sol est en matériaux combustibles (parquet, moquette,...), il doit être protégé par une plaque (tôle d'acier, laiton, verre, marbre, pierre) débordant d'au moins 50 cm en façade et d'au moins 30 cm sur les côtés.
Ne jamais mettre de matériaux inflammables ou thermosensibles à moins de 80 cm de la vitre du poêle (voir fig. 4).
3.3.4 Position du poêle
L'appareil sera installé sur un sol pouvant supporter la charge. À défaut, il faudra consulter un architecte pour déterminer les renforcements de dalles éventuels nécessaires.
3.3.5 Raccordement électrique
Pour les appareils nécessitant une alimentation électrique, prévoir une alimentation en 230 V. Monophasé, et 50 Hz. Le branchement doit être effectué exclusivement par un personnel spécialisé et breveté, par un câble de section approprié à la puissance totale installée.
La ligne doit être protégée par un interrupteur omnipolaire ayant une distance d'ouverture des contacts d'au moins 3 mm.
S'assurer en outre que le réseau électrique dispose d'une mise à la terre efficace.
La Sté J. CORRADI srl décline toute responsabilité civile et pénale dans le cas d'une installation, d'une ventilation ou d'un branchement électrique non conforme aux normes en vigueur, ou en cas d'emploi inapproprié de l'appareil.
4.1 Description des parties principales du poêle

- Volet d'arrivée d'air primaire de combustion
- Tiroir cendrier
- Tiroir cendrier
- Racleur de cendres
- Foyer de combustion
- Manette d'ouverture de l'air secondaire de combustion
- Four de cuisson (SR 130 Rotary)
- Réservoir à combustible
- Entonnoir de remplissage (SR 130 Rotary)
- Panneau de commande
4.2.1 Allumage

S'assurer que la grille foyer soit abaissée, ouvrir totalement l'air primaire (1) et pousser la manette d'air secondaire (6) vers la gauche. Pour l'allumage, utiliser un produit d'allumage du commerce, positionné au centre de la grille et mettre quelques brindilles et buchettes de bois bien sèches. Allumer le feu et attendre que tout le bois flambe bien, ce qui favorise le réchauffage du et son tirage (certains jours de basse pression atmosphérique, il peut être utile de laisser entre-ouverte de quelques cm la porte du tiroir cendrier (2) pour favoriser l'allumage). Après quelques minutes, à combustion bien établie, ajouter quelques buches moyennes. Attendre que tout flambe bien pour commencer à fermer le volet d'air primaire (1). Après environ 20/30 minutes, charger avec des buches de bonne dimension et recharger toutes les 3-4 heures sur le lit de braises, et régler l'air secondaire (6). Cette méthode d'emploi permet le meilleur rendement (supérieur à 75% en moyenne) et une longue durée (feu continu) de la combustion.
4.3.1 Interface
Schéma ci-dessous = console verticale de commande avec la légende des éléments qui la composent

4.3.2 Voyant vert
Le voyant vert s'allume lorsque le temporisateur pour l'insertion du pellet dans le creuset fonctionne.
4.3.3 Voyant rouge
Le voyant rouge s'allume lorsque le moteur pour l'insertion du pellet dans le creuset fonctionne.
En cas de coupure d'électricité, le voyant rouge clignote. Au retour de celle-ci, le moteur d'alimentation en pellet reste arrêté ; pour redémarrer le moteur, éteindre le temporisateur en tournant le bouton dans le sens inverse des aiguilles d'une montre jusqu'au clic de blocage.
4.3.4 Bouton du temporisateur
Tournez le bouton dans le sens des aiguilles d'une montre pour allumer le moteur d'alimentation du pellet et pour augmenter la capacité thermique. Tournez le bouton dans le sens inverse des aiguilles d'une montre pour réduire la puissance; pour éteindre le poêle, positionnez le bouton sur OFF.
4.4 Allumage

S'assurer que la grille foyer soit relevée, ouvrir complètement le volet d'accès d'air primaire de combustion (1) et pousser la manette d'ouverture de l'air secondaire (6) vers la gauche. Insérer dans le creuset du pellet jusqu'à recouvrir entièrement le fond. Pour l'allumage, il est conseillé d'utiliser des produits d'allumage du commerce (gel, sucre) à placer au centre de la grille. Allumer le feu et attendre que le pellet soit bien enflammé, tourner le bouton dans le sens des aiguilles d'une montre pour activer l'alimentation automatique du pellet et augmenter ainsi la combustion et le réchauffage du conduit de fumées pour favoriser son tirage (certains jours de basse pression, il peut être utile de laisser la porte du cendrier (2) entrouverte de quelques centimètres pour favoriser l'amorce de la combustion.
4.4.1 Extinction
Pour éteindre, il suffit de tourner le bouton dans le sens inverse des aiguilles d'une montre jusqu'au clic de blocage.
4.4.2 Chargement du pellet
Le pellet est chargé par le réservoir à combustible (8). Le SR 130 Rotary est pourvu d'une ouverture latérale afin de faciliter le chargement du pellet au moyen d'un entonnoir (9) ; le replissage par cette ouverture limite la capacité du réservoir.
4.5.1 Préparation
Fig. a
fig. b
Abaisser la grille foyère si on peut une combustion lente et peu vivace (fig. A) et régler l'ouverture de l'air primaire -1 cm maximum pour un fonctionnement normal.
Par contre, si on peut une combustion forte, il est préférible de relever la grille (en position pellets), et une fois la combustion établie, fermer totalement l'air primaire (1) et réguler sur l'air secondaire.
4.5.2 Allumage
Ouvrir totalement l'air primaire (1) et pousser vers la gauche le levier (6) d'air secondaire. Pour l'allumage, utiliser un produit d'allumage du commerce, positionné au centre de la grille.
Allumer le feu et attendre que tout le bois flambe bien, ce qui favorise le réchauffage du foyer et son tirage (certains jours de basse pression atmosphérique, il peut être utile de laisser entrouverte de quelques cm la porte du tiroir cendrier (2) pour favoriser l'allumage). Après quelques minutes, à combustion bien établie, ajouter quelques buches moyennes. Attendre que tout flambe bien pour commencer à fermer le volet d'air primaire (1). Après environ 20/30 minutes, charger avec des buches de bonne dimension et recharger toutes les 3-4 heures sur le lit de braises, et régler l'air secondaire (6). Cette méthode d'emploi permet le meilleur rendement (supérieur à 75% en moyenne) et une longue durée (feu continu) de la combustion.
4.6 Fonctionnement
En réglant le volet d'arrivée d'air primaire de combustion (1) et en le combinant avec l'ouverture de l'air secondaire de combustion (6), il est possible d'augmenter ou de diminuer la vitesse de combustion et d'adapter ainsi les différents besoins de chauffage et de cuisson.
4.7 Utilisation du four (uniquement sur le modèle SR 130)
La température indiquée par le thermomètre posé sur la vitre de la porte peut vous aider dans vos cuissons.
Le passage des fumées autour du corps du four, sur toutes les faces, permet d'obtenir une température uniforme à l'intérieur du four. Il est conseillé de ne pas monter la température au-dessus de 250°C car on encourt alors le risque de brûler rapidement les mets à cuisiner. Les tableaux individuels de la page 31 peuvent vous fournir des renseignements utiles pour vos cuissons.
5 Nettoyage et entretien
Avant d'effectuer une quelconque opération d'entretien, appliquer les précautions suivantes :
- s'assurer que toutes les parties du poêle sont froides
- vérifier qu'il ne subsiste aucune braise dans le foyer
- vérifier que l'interrupteur général est sur la position OFF
- vérifier d'avoir débranché l'alimentation électrique
- terminer l'entretien en vous assurant que tout est comme avant l'intervention
5.1 Nettoyage courant
SR 110 ROTARY
SR 130 ROTARY
- Contrôler le niveau des cendres ou des résidus dans le creuset, s'il y en a plus de 1 cm d'épaisseur, vider le creuset ou, à l'aide du racleur, remuer les cendres pour les faire tomber dans le cendrier.
- Nettoyer régulièrement la vitre du foyer avec un chiffon ou du papier journal et du produit nettoyant pour les vitres.
5.2 Nettoyage hebdomadaire
Contrôler le tiroir cendrier, s’il est plein le vider en prenant garde qu’il ne reste aucune braise ardente.
Contrôler l'intérieur du foyer, s'il reste des cendres, nettoyer avec un aspirateur, de préférence de type "bidon aspirateur-tout" avec des filtres appropriés pour ne pas rejetter de poussière dans l'air.
Vérifier que les trous du creuset ne sont pas obstrués par de la cendre, si c'est le cas, les déboucher en y passant un tournevis ou un objet pointu.
Attention : selon la qualité du pellet utilisé, il peut y avoir plus ou moins de restes de cendres à l'intérieur du creuset et de la chambre de combustion.
5.3 Nettoyage général
Nettoyer soigneusement les tuyaux de fumées et contrôler l'état du conduit de fumées.
Contrôler l'état du creuset, en cas d'usure, commander la pièce à votre revendeur.
Contrôler le joint de la porte du foyer, si il est dur et sec, le faire remplaçer.
Il est recommandé d'effectuer le nettoyage général des points énumérés ci-dessus minimum une fois par mois.
Il est conseille d'etablir un contrat ANNUEL d'entretien avec son revendeur/installateur.
- Dévisser les 2 vis de fixation du carter arrêté (8) (voir détaillé A) et l'enlever. Faire attention au panneau de commande.
- Dévisser les 4 vis de fixation du carter sortie des fumées (9) (voir détaill F) et l'enlever.
- Dévisser les 4 vis de fixation du couvercle (7) (voir détaill B) et le retirer.
- Retirer les vis de fixation des 4 profilés d'angle (4) (voir détaill E) et les enlever en les levant pour les dégager de l'embase (voir détaill C).
6.1.1 Montage du décorletal
- Desserer légèrement les vis de fixation du profilé de blocage des céramiques ou pierres (3) (voir détaillé D).
- Insérer le profilé de finition (1) puis dans l'ordre la céramique ou pierre latérale (2) et pour finir un autre profilé de finition (1) comme illustré sur le schéma.
- Resserrez modérément les vis des profilés latéraux de blocage céramique ou pierre (3) (voir détails D).
6.1.2 Montage du décor frontal
- Enlever 1 vis du profilé porte céramique ou pierre frontales (5) et insérer la céramique ou la pierre.
- Replacer la vis du profilé porte céramique ou pierre frontales (5) et bien la revisser.
- Remettre les profilés d'angle (4) dans les logements de l'embase (voir détail C) et les fixer sur les parties supérieures avec les vis (voir détail E).
- Repositionner le couvercle (7) sur le poêle et le fixer avec ses vis (voir détail B).
62 SR 130 ROTARY

Ma nuae LAST STUPID DELI CIORE
CORRECT
- Dévisser les 2 vis de fixation du carter arrêté (8) (voir détaill A) et le retirer. Faire attention au panneau de commande.
- Dévisser les 4 vis de fixation du couvercle (7) (voir détaill B) et le retirer.
- Retirer les vis de fixation des 4 profilés d'angle (4) (voir détaill E) et les lever pour les dégager de l'embase (voir détaill C).
6.2.1 Montage du décorletal
- Desserrer légèrement les vis de fixation du profilé de blocage des céramiques ou pierres (3) (voir détaillé D).
- Insérer le profilé de finition (1) puis dans l'ordre la céramique ou pierre latérale (2) et pour finir un autre profilé de finition (1) comme illustré sur le schéma.
- Resserrez modérément les vis des profilés latéraux de blocage céramique ou pierre (3) (voir détaillé D).
6.2.2 Montage du décor frontal
- Enlever 1 vis du profilé porte céramique ou pierre frontales (5) et insérer la céramique ou la pierre.
- Replacer la vis du profilé porte céramique ou pierre frontales (5) et bien la revisser
- Remettre les profilés latéraux (4) dans les logements de l'embase (voir détaill C) et les fixer en partie supérieure avec les vis (voir détaill E).
- Repositionner le couvercle (7) sur le poêle et le fixer avec ses vis (voir détaill B).
7 Garantie
Cet appareil est garanti par A. R. CO pour une durée de 24 mois à compter de la date d'acquisition. Pour rendre la garantie opérationnelle, l'utilisateur doit, au préalable, obligatoirement obtenir et conserver un document fiscal valide sur lequel figure clairement le nom du revendeur, l'identification précise de l'appareil et sa date d'acquisition. Cette documentation doit être présentée au personnel du Service Assistance (SAV) en cas d'intervention. En cas de non-présentation, la garantie ne pourrait pas être invoquée. Par garantie s'entend la réparation gratuite ou le remplacement des éléments de l'appareil qui sont défectueux depuis l'acquisition pour cause de vice de fabrication. Par contre, la garantie est caduque dans tous les cas d'utilisation non conforme à l'appareil, en particulier en cas d'utilisation non domestique, et ne couvre pas, dans le cadre d'une utilisation normale, toutes les parties subordonnées à l'usure telles que : le verre, les joints, la peinture, le creuset en acier et le revêtement en céramique. L'emploi de pellet de mauvaise qualité ou de chaque autre matériel pourrait endommager les composants du poêle, entraînant ainsi la fin de la garantie sur ceux-ci ainsi que la fin de la responsabilité du constructeur. La garantie ne peut être invoquée en cas d'installation ou d'entretien non conformes aux instructions de la notice livrée avec l'appareil, en cas de négligence au cours de l'utilisation, d'entretien effectué par une personne non habilitée et pour tout ce qui ne se réfère pas à un vice de fabrication de l'appareil et de ses composants. Sont plus spécifiquement exclus de la garantie les interventions et les branchements aux installations d'alimentation électriques et/ou gaz. Ces branchements doivent être réalisés par un personnel qualifié et certifié, comme notification dans les lois en vigueur. Durant la période couverte par la garantie, les réparations seront effectuées à titre gratuit à moins qu'elles ne sortent du cadre de la garantie, comme spécifique ci-dessus. Dans ce cas, les frais seront à la charge de l'utilisateur. Au terme des 12 premiers mois de garantie, celle-ci est reconduite à nouveau pour 12 mois pour tous les composants, à l'exclusion des frais de droit d'appel et de la main-d'œuvre nécessaire à l'intervention selon les tarifs en possession du personnel technique. L'intervention sera effectuée dans les limites de temps réclamées par les exigences d'organisation du SAV. Passés ces 12 mois, tous les frais d'assistance seront à la charge complète du client. Ceci est l'unique garantie pour les produits A. R. CO : personne n'est autorisé à en modifier les termes ou à la changer, de manière verbale ou écrite.
Notice Facile