K2 POWER 165 KF - Haut-parleurs de voiture FOCAL - Notice d'utilisation et mode d'emploi gratuit
Retrouvez gratuitement la notice de l'appareil K2 POWER 165 KF FOCAL au format PDF.
| Type de produit | Enceinte coaxiale 2 voies |
| Diamètre du haut-parleur | 165 mm |
| Réponse en fréquence | 60 Hz - 20 kHz |
| Impédance | 4 Ohms |
| Puissance nominale | 70 W RMS |
| Puissance maximale | 140 W |
| Sensibilité | 92 dB |
| Type de montage | Montage en surface |
| Matériaux du cône | Polypropylène |
| Matériaux de la suspension | Caoutchouc |
| Dimensions approximatives | 165 mm de diamètre, profondeur 70 mm |
| Poids | 1,6 kg par enceinte |
| Compatibilités | Compatible avec la plupart des autoradios |
| Entretien et nettoyage | Essuyer avec un chiffon doux, éviter les produits abrasifs |
| Pièces détachées et réparabilité | Disponibles auprès du fabricant ou de revendeurs agréés |
| Sécurité | Ne pas exposer à des températures extrêmes ou à l'humidité |
| Informations générales | Idéal pour une utilisation dans des systèmes audio de voiture haut de gamme |
FOIRE AUX QUESTIONS - K2 POWER 165 KF FOCAL
Questions des utilisateurs sur K2 POWER 165 KF FOCAL
0 question sur cet appareil. Repondez a celles que vous connaissez ou posez la votre.
Poser une nouvelle question sur cet appareil
Téléchargez la notice de votre Haut-parleurs de voiture au format PDF gratuitement ! Retrouvez votre notice K2 POWER 165 KF - FOCAL et reprennez votre appareil électronique en main. Sur cette page sont publiés tous les documents nécessaires à l'utilisation de votre appareil K2 POWER 165 KF de la marque FOCAL.
MODE D'EMPLOI K2 POWER 165 KF FOCAL
Nous vous remercions d'avoir besoin les kits K2 Power et de partager avec nous notre philosophie "the Spirit of Sound". Ces haut-parleurs de haute technicité intègrent les ultimes perfections Focal en matière de conception pour l'obtention d'un son puissant et de très haute qualité. Afin d'exploiter toutes leurs performances, nous vous conseillons de lire ce livre, puis de le conserver avec précaution pour pouvoir vous y référer ultérieurement. Tout problème du au non-respect des règles d'utilisation peut entraîner l'invalidation de la garantie.
Avertissement
L'écoute prolongée à fort niveau au-delà de 110 dB peut déteriorer durablement l'audition. Des écoutes même brèves à plus de 130 dB peuvent provoquer des lésions auditives irrémédiables.
Caracteristiques
Membrane K2 Power : nouveau sandwich CKMV composite Kevlar / mousse structurale / verre, alliant très haute rigidité, légèreté extrême et amortissement maximal pour un son puissant et très détaillé, sans distorsion même à fort niveau.
Châssis Zamak : châssis rigide et aimanté.
Bobine sur support Kapton : très haute tenue en puissance sans déformation de la bobine.
Suspension en butyle : excellente fiabilité dans le temps.
Tweeter à dôme inversé TN 47 : dôme inversé en titane traité Toxid 5 pour un son fin, doux, mais détaillé et dynamique.
Filtre haute précision : réglage du niveau du tweeter, composants de haute qualité.



Focal® est une marque de Focal-JMlab® - BP 374 - 108, rue de l'Avenir - 42353 La Talaurdière Cedex - France - Tel. (+33) 04 77 43 57 00 - Fax (+33) 04 77 37 65 87 - www.focal-fr.com
K2 POWER 130 KF - 165 KF
Manuel Utilisateur






Placement tweeter
Le tweeter TN 47 est conçu pour être monté en surface ou encastré en affleurement, grâce aux deux kits de fixation fournis. Le choix de l'implantation du tweeter, de la méthode de montage encastré ou en surface, a une influence considérable sur le rendu des haute fréquences, la stabilité de l'image stéréophonique et le "staging".
La règle, incontournable en stéréophonie, est de chercher le meilleur emplacement possible de manière à ce que les tweeters droit et gauche soient placés approximativement à égale distance du conducteur. L'emplacement idéal du tweeter exigera de multiples écoutes comparatives.
Le tweeter devra impérativement être placé en avant du point d'écoute, de préférence aux extrémités du tableau de bord (fig. A, 1), ou moins encore, sur les montants de pare-brise (fig. A, 2) moyennant transformation. Le carter des rétroviseurs (fig. A, 3) accepte généralement l'implantation d'un tweeter moyennant une petite transformation.
Un positionnement en haut des portières (fig. A, 4) est acceptable, même si il n'est pas optimal en termes de "staging".
Il est impératif de vérifier la profondeur d'encastrement du tweeter avant perçage, notamment en encastrement.
Montage en surface
Le kit de fixation pour le montage en surface du TN 47 offre deux pans pour avoir une inclinaison de ou et optimiser l'installation (fig. C, 1). Fixez le support au moyen de la vis fournie, faites passer les fils du tweeter au travers du support, mettez en place le tweeter puis faites-le pivoter à l'aide de la clef fournie pour le bloquer sur le support. Remettez la grille en place.
Montage encastré
(recommende)
Les asseoir des peches, les cinq ans de l'air ne s'est pas fait. Les meilleurs résultats sonores seront obtenus pour un montage des tweeters en encastrement. Découper une ouverture de 45 mm de diamètre. Insérer le support de montage en affleurement avec sa barrette de fixation maintenue par le boulon (fourni). Bloquer la vis afin que la barrette vienne pincer le support et le maintienne fermement en haut de porte ou sur la planche de bord. Faire passer les fils du tweeter au travers du support, mettre en place le tweeter puis le faire pivoter pour le bloquer sur le support à l'aide de la clef fournie (fig. C, 2).
Attention : il ne faut en aucun cas utiliser l'arceau central pour faire pivoter le tweeter. Utilisez uniquement la clef fournie.
- Recommandations importantes
Les hauts-parleurs de la ligne K2 Power sont conçus, grâce à des réglages adaptés et optimisés, pour fonctionner au niveau de leurs possi-bilités dans la plupart des empa-acements habituels.
Il convient cependant de ne pas perdre à l'esprit que ces haut-parleurs délivrent une énergie considérable qui ne doit pas être diluée dans la structure du véhicule, la faute à un support de haut-parleur insuffisamment rigide.
Nous vous suggérons de fixer les haut-parleurs K2 Power sur un support très rigide, éventuellement renforcé par du bois ou de la résine.
Les haut-parleurs doivent y être ensuite solidement fixés pour éviter les vibrations parasites. L'étanchéité du support doit être parfaite pour éviter les fuites entre l'avant et l'arête du woofer, sous peine d'occasionner un dysfonctionnement important.
Pour des écoutes optimales, nous vous conseillons de coller un matériel absorbant type Plain Chant directement sur la tôle intérieure de la portière, juste derrière le haut-parleur, pour amortir les vibrations.
Vérifier également que l'aimant du woofer ne génère pas certains organes mécaniques du véhicule.
Si vous n'utilisez pas les grilles fournies avec les kits K2 Power mais celles d'origine par exemple, veillez à ce que l'espace entre le haut-parleur et la grille soit suffisant pour que la membrane ne vienne pas percuter la grille à fort volume.
Installation woofer
- Placement woofer
Les haut-parleurs K2 Power pourront être placés en haut des portières pour une perception optimale des fréquences médium (fig. B, 1).
Ils pourront être placés plus bas dans les portes sans dégradation sensible des performances (fig. B, 2). Les woofers K2 Power pourront également être placés en "kicks panels" (fig. B, 3) dans le but d'optimiser la perception stéréophonique (staging).
Fixation woofer
Placez si nécessaire les 4 pattes de fixation de vis fournies.
Mettre en place la couronne de fixation de la grille (fig. D).
Fixez le joint circulaire sur la face arrière du châssis du haut-parleur.
Mettez en place le woofer sur le support de grille.
Fixez solidement l'ensemble au moyen des 4 vis fournies.
Mettre la grille de protection en place.
Installation de fibre
Pour accéder aux trous de fixation du filtre mais aussi aux différents réglages, retirez le capot translucide en appuyant fermement sur les deux extrémités de celui-ci et en le soulevant. Ne pas utiliser d'outils pour retirer le capot au risque de le détériorer.
Fixez solidement le filtre au moyen des 2 vis fournies sur un support adaptés dans le véhicule.
Les filtres doivent être montés dans un endroit sec et aéré (de préférence exempt de vibration).
Cablage
Branchez la sortie de l'amplificateur sur les entrées "INPUT" du filtre.
Connectez le woofer sur l'entrée "WOOFER" et le tweeter sur "TWEETER" (fig. E).
Attention : il est primordial de respecter les polarités "+" et "-" pour l'obtention d'un recoupement optimal entre le woofer et le tweeteter, sans sensation de "trou" ou de "bosse" à l'écoute.
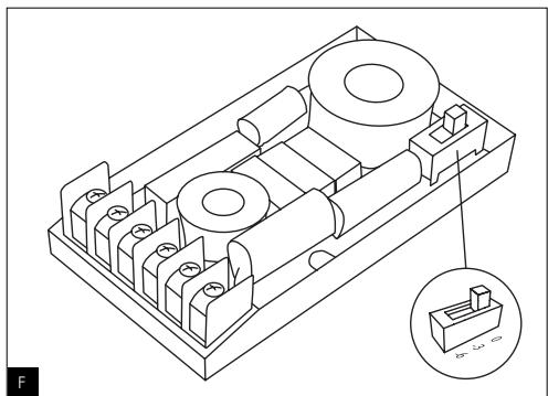
Réglage du tweeter
Le réglage du niveau du tweeter s'effectue à l'intérieur du filtre, par l'intermédiaire d'un inverseur qui commande une atténuation de -3 et -6 dB (fig. F).
Période de rodage
Les haut-parleurs utilisés sur K2 Power sont des éléments mécaniques complexes qui exigent une période d'adaptation pour fonctionner au mieux de leurs possibilités et s'adapter aux conditions de température et d'humidité de votre environnement. Cette période de rodage varie selon les conditions rencontrées et peut se prolonger sur quelques semaines. Pour accélérer cette opération, nous vous conseillons de faire fonctionner vos haut-parleurs une vingtaine d'heures à niveau moyen, sur des programmes musicaux riches en grave. Une fois les caractéristiques des haut-parleurs totalement stabilisées, vous pourrez profiter intégralement des performances de vos kits K2 Power.
Configuration
La ligne K2 Power compte une gamme de 4 subwoofer de 27 cm (27 KX), 33 cm (33 KX), 40 cm (40 KX) et 46 cm (46 KX 4) dont les caractéristiques sont idéalement complémentaires avec celles des kits K2 Power. Consulter votre revendeur.
| Kit | 130 KF | 165 KF |
| Puisance maximale | 140 W | 160 W |
| Puisance nominale | 70 W | 80 W |
| Sensibilité | 90 dB | 91 dB |
| Réponse en fréquence | 70 à 20 000 Hz | 60 à 20 000 Hz |
| Fréquences de filtrage | 3,5 kHz à 12/18 dB/oct | 3,5 kHz à 12/18 dB/oct |
| Impédance nominale | 4 ohms | 4 ohms |
| Tweeter | TN 47 | TN 47 |
| Dôme | Inversé Tioxide 5 | Inversé Tioxide 5 |
| Aimant | Néodyme | Néodyme |
| Woofer | 5 KP | 6 KP |
| Membrane | Sandwich K2 130 mm | Sandwich K2 165 mm |
| Bobine mobile | 25 mm | 25 mm |
| Aimant | 85 mm | 85 mm |
| Suspension | Butyle | Butyle |
| Fréquence de résonance (Fs) | 89 Hz | 73 Hz |
| Résistance continue (Re) | 3,2 ohms | 3,0 ohms |
| Vas | 4,93 litres | 7,71 litres |
| Qes | 0,74 | 0,81 |
| Qms | 8,06 | 9,01 |
| Qts | 0,68 | 0,74 |
| Sd | 86,6 cm2 | 132,7 cm2 |
| BI | 4,27 N/A | 5,09 N/A |
| Xmax | 2,5 mm | 5 mm |
| Diamètre d'encastrement | 115 mm | 142 mm |
| Profondeur d'encastrement | 61 mm | 71 mm |
Conditions de garantie
En cas de problème, adressez-vous à votre revendeur Focal.
La garantie pour la France sur tout matériel Focal est de 1 an. En cas de matériel défectueux, celui-ci doit être expédié à vos frais, dans son emballage d'origine auprès du revendeur, lequel analysera le matériel et déterminera la nature de la panne. Si celui-ci est sous garantie, le matériel vous sera rendu ou remplacé en "franco de port". Dans le cas contraire, un devis de réparation vous sera proposé.
La garantie ne couvre pas les dommages resulting d'une mauvaise utilisation ou d'un branchement incorrect (bobines mobiles brûlées par exemple...).
En dehors de la France, le matériel Focal est couvert par une garantie dont les conditions sont fixées localement par le distributeur officiel Focal de chaque pays, en accord avec les lois en vigueur sur le territoire concerné.
K2 POWER 130 KF - 165 KF
Focal-JMlab - BP 374 - 108, rue de l'Avenir - 42353 La Talauđière cedex - FRANCE
Model:
Serial number:
Nom du distributeur:
Town:
Date deachat:
Prix d'achat:
Your name:
Age:
Pour validation de la garantie Focal, merci de nous retourner cette page dans les 10 jours, à l'adresse suivante :
Focal-JMlab - BP 374 - 108, rue de l'Avenir - 42353 La Talauđière cedex - FRANCE
Modèle:
N° de série :
Nom du revendeur :
Ville :
Date de l'achat :
Prix de l'achat :
Votre nom :
Age:
Votre adresse email :
Composition de votre installation (marque, modèle) :
Cassette : CD : Système de navigation : Système multimédia : DVD : Amplificateur : Chargeur CD : Autres éléments :
Votre choix pour l'achat de ce modèle focal s'est fait en fonction de :
Conseil du revendeur Conseil d'amis, relation Visite d'exposition, salon Article de presse Écoute en auditorium Possède défaut Focal Fiabilité / Qualité Catalogues Réputation Matériel Français Garantie Rapport qualité/prix Esthétique / Finition □ Autre Son
En cas de renouvellement, quels étaient vos précédents haut-parleurs?
Dites en quelques mots pourquoi vous avez besoin Focal...
Vos annotations eventuelles :

Focal® is a registered trademark of Focal-JMlab® - www.focal-fr.com
Notice Facile