VK230711 - Cuiseur vapeur GAGGENAU - Notice d'utilisation et mode d'emploi gratuit
Retrouvez gratuitement la notice de l'appareil VK230711 GAGGENAU au format PDF.
| Type d'appareil | Cuiseur vapeur |
| Capacité | Non précisé |
| Puissance | Non précisé |
| Alimentation | Électrique |
| Commandes | Manuelles et numériques |
| Affichage | Écran digital |
| Nombre de niveaux de cuisson | Non précisé |
| Matériau du récipient | Non précisé |
| Sécurité | Protection contre la surchauffe |
| Dimensions | Non précisé |
| Poids | Non précisé |
| Accessoires inclus | Non précisé |
| Fonctions spéciales | Cuisson vapeur douce |
| Nettoyage | Facile à nettoyer |
| Garantie | Non précisé |
FOIRE AUX QUESTIONS - VK230711 GAGGENAU
Questions des utilisateurs sur VK230711 GAGGENAU
0 question sur cet appareil. Repondez a celles que vous connaissez ou posez la votre.
Poser une nouvelle question sur cet appareil
Téléchargez la notice de votre Cuiseur vapeur au format PDF gratuitement ! Retrouvez votre notice VK230711 - GAGGENAU et reprennez votre appareil électronique en main. Sur cette page sont publiés tous les documents nécessaires à l'utilisation de votre appareil VK230711 de la marque GAGGENAU.
MODE D'EMPLOI VK230711 GAGGENAU
Notice d'utilisation et de pose
VK 230 711
Cuiseur à vapeur

Précautions importantes
- Instructions importantes page 4-5
1.1 Sécurité page 4 1.2 Première mise en service page 4 1.3 Utilisation page 5
- Description et principe de fonctionnement page 6-7
2.1 Description de l'appareil page 6 2.2 Accessoires de série et optionnels page 6 2.3 Principe de fonctionnement page 7
- Utilisation page 8-11
- Étalonnage du point d'ébullition page 8 - Mise en marche / arrêt page 8
- Utilisation avec minute-série page 9 - Mise en place de la poignée spéciale page 9 - Fonctionnement de la sécurité enfants page 10 - Coupure de sécurité page 10
- Vidange du liquide de cuisson page 11
4. Nettoyage et entretien page 12 5. Maintenance page 13 6. Consels pratiques page 14-18 6.1 Domaines d'utilisation de l'appareil page 14 6.2 Tableau de cuisson page 15-16 6.3 Recettes page 17 6.4 Trucs et astuces page 18 7. Instructions de montage page 19-22 7.1 Caracteristiques importantes page 19 7.2 Instructions importantes page 19 7.3 Pose page 20 7.4Evacuation page 21-22
Fig. 1
Grâce à votre cuiseur à vapeur, vous prendrez encore plus de plaisir à cuisiner.
L'appareil vous offre les avantages suivants :
- cuisson sans pression, - programmation de l'heure d'arrêt, - installation très facile, grâce au nouveau système de pose!
Pour que vous puissiez profiter de toutes les fonctions de l'appareil, lisez attentivement la notice d'utilisation et de pose avant la première mise en service. Cette brochure contient des instructions importantes concernant l'utilisation, l'installation et la maintenance de l'appareil.
Vous trouverez en page suivante des instructions importantes concernant la sécurité et l'utilisation. Elles ont pour but d'assurer votre protection personnelle et de préserver la durée de vie de votre appareil.
En page 3, se trouvent des instructions à observer avant la première mise en service.
Les chapitres « Description et principe de fonctionnement » et « Utilisation » vous montrent tout ce que peut faire votre plaque de cuisson et comment procéder pour en tirer le maximum.
Le chapitre « Nettoyage et entretien » vous indique comment faire pour préserver l'esthétique de votre appareil.
Si vous ne parvenez pas à activer une fonction, consultez le chapitre « Conseils pratiques ». Si ces conseils ne sont pas suffisants, adressez-vous à votre service après-vente Gaggenau.
1. Lisez toutes les instructions.
- Ne touchez pas les surfaces chaudes. Servez-vous des boutons et commandes.
- Pour éviter les chocs électriques, ne laisser pas le cordon électrique ou la fiche plongés dans de l'eau ou du liquide.
- Ne laissez jamais des enfants utiliser un appareil ou se tenir près d'un appareil en marche sans surveillance attentive. Lorsque les enfants sont assez grands pour utiliser l'appareil, il est de la responsabilité des parents ou tuteurs légaux de vérifier que leurs enfants ont reçu de personnes qualifiées les informations nécessaires pour respecter les règles de sécurité.
- Débranchez l'appareil lorsqu'il n'est pas utilisé ainsi que pour le nettoyer. Laissez refroidir avant de mettre en place ou d'enlever des pièces.
- Ne mettez jamais en marche un appareil dont le cordon ou la fiche d'alimentation sont endommagés, qui présente des anomalies de fonctionnement ou qui a été endommagé de quelque façon que ce soit. Retournez l'appareil au service après-vente agréé le plus proche, pour vérification, réparation ou réglage.
- L'utilisation d'accessoires non autorisés par le fabricant de l'appareil peut entraîner des blessures.
- Ne pas utiliser à l'extérieur.
- Ne pas laisser le cordon d'alimentation pendre sur l'arête d'un plan de travail, ni en contact avec des surfaces chaudes.
- Ne pas placer sur un feu à gaz ou une plaque électrique, ni à proximité, ni dans un four en marche.
- Faites très attention lorsque vous déplacez un appareil contenant de l'huile ou tout autre liquide chaud.
- Commencez toujours par brancher la fiche à l'appareil, avant de brancher le cordon d'alimentation à la prise de courant murale. Pour permettre hors tension, mettez toutes les commandes sur « arrêt », puis débranchez le cordon de la prise de courant murale.
- N'utilisez pas l'appareil à une autre fin que celle pour laquelle il a été conçu.
- Conserve ces instructions.
1.1 Sécurité
Ne faites pas fonctionner l'appareil s'il est endommagé.
L'appareil doit être raccordé uniquement par un technicien agréé, en conformité avec toutes les règles des entreprises de distribution d'électricité et les réglementations sur la construction.
Respectez les instructions de montage!
Si des appareils électriques sont branchés à proximité de l'appareil, faites en sorte que les cordons électriques ne soient pas en contact avec des surfaces très chaudes!
L'utilisateur est responsable du bon usage et du parfait état de l'appareil
Ne laissez pas fonctionner l'appareil sans surveillance.
Ne faites pas fonctionner l'appareil à vide !
Attention, risque d'incendie! Ne laissez pas des objets inflammables dans l'appareil. Seuls les éléments intérieurs effectivement nécessaires peuvent rester dans l'enceinte de cuisson pendant la marche.
Attention! L'appareil chauffe pendant la marche. Maintenez les enfants à distance!
Ne nettoyez pas l'appareil avec un nettoyeur à vapeur ou à pression d'eau : risque de court-circuit !
À chaque opération de maintenance, il faut isoler l'appareil du secteur, soit en débranchant la fiche d'alimentation, soit en désactivant le fusible concerné.
Afin que la sécurité électrique soit garantie, les réparations doivent être confiées à des techniciens agréés.
Aucune garantie ne peut être assurée pour les dommages générés par le non-respect de la présente notice.
Sous réserve de modifications techniques !
1.2 Première mise en service
Avant de mettre pour la première fois l'appareil en marche, respectez les consignes suivantes :
- Faites poser et brancher l'appareil par un technicien.
- Lisez soigneusement et intégralement les instructions d'utilisation et de pose.
- Sortez l'appareil de l'emballage et éliminez ce dernier de manière conforme.
Remarque : des accessoires se trouvent au fond de l'emballage !
Ne laissez pas les enfants jouer avec l'emballage.
- Avant la première utilisation, sortez tous les éléments amovibles de l'appareil.
- Avant la première utilisation, nettoyez soigneusement l'appareil et ses accessoires afin d'éliminer les éventuelles odeurs de neuf et les salissures d'emballage (voir chapitre Nettoyage et entretien).
- Avant mise en service, assurez-vous que le branchement électrique est en ordre.
- La plaquette d'identification de l'appareil est fournie sur un feuillet séparé de la notice.
Conservez-la au même endroit que votre notice d'utilisation et de pose !
Étalonnage du point d'ébullition :
Le point d'ébullition de l'appareil dépend de l'altitude du lieu où il est utilisé. Lors de la première mise en service, l'appareil effectue un autoétalonnage du point d'ébullition. À l'occasion de cette opération, l'appareil peut produire une forte quantité de vapeur. Pendant que l'appareil procède à cet auto-étalonnage, vous pouvez préparer des aliments de manière tout à fait normale.
1.3 Utilisation
- L'appareil est conçu exclusivement pour un usage domestique et toute autre utilisation est interdite.
- Utilisez l'appareil uniquement pour faire cuire et préparer des aliments. Le cuiseur à vapeur n'est pas conçu pour chauffer la pièce ! Le cuiseur à vapeur est conçu pour être utilisé seulement avec de l'eau. Il ne faut pas l'utiliser pour faire de la friture.
- Ne laissez pas d'objets inflammables dans l'appareil. Seuls les objets nécessaires peuvent rester dans le cuisseur à vapeur pendant la marche.
- N'utilisez que les bacs prévus à cet effet.
Attention! risque de brûlure!
Pour insérer et extraire les bacs, utilisez la poignée spéciale.
- Le symbole (Cuisson) s'éteint dans le bandeau de commande dès que la température programmée est atteinte.
- Après cuisson, ramenez le bouton «température» en position «0»!
- Nettoyez régulièrement l'appareil, autant que possible après chaque utilisation.
- Une protection de température intégrée empêche la surchauffe de l'appareil. Ne pas mettre l'appareil en marche s'il est vide (uniquement avec du liquide de cuisson, jamais d'huile ou similaire!). Si le cuiseur à vapeur est vide, il se coupe automatiquement et le symbole (limiteur) apparait sur l'afficheur.
- , pendant ce laps de temps, la position du bouton « Température » n'est pas modifiée. Des traits clignotants apparaissent alors sur l'afficheur.
- Dès que le niveau n'atteint plus le minimum (repère inférieur), rajoutez du liquide de cuisson.
Le niveau d'eau doit atteindre au moins la marque inférieure et ne pas dépasser le rebord.
Attention : risque d'incendie si le niveau mini n'est pas atteint !
- Attention à ce que la sortie de vapeur ne soit pas obturée pendant la marche.
- Attention! Ne posez pas le couvercle en verre chaud sur un plan de travail froid et humide, et ne le refroidissez pas sous l'eau courante froide. Le couvercle risquerait d'éclater. Tout couvercle endommagé doit être remplacé sans délai. Si des éclats de verre tombent dans la cuve de cuisson, ne consommez pas les aliments préparés dans le cuiseur! Le couvercle doit toujours être bien en place sur l'appareil!
- N'utilisez pas le couvercle en verre comme desserte.
- Soyez très prudent lorsque vous vidangez l'eau chaude sans disposer d'un raccordement d'évacuation fixe. Risque de brûture!
Utilisez pour ce faire un récipient résistant à la température et offrant une capacité suffisante (seau de 10 litres par exemple). Servez-vous du kit d'évacuation (voir instructions de pose).
- Si vous n'avez pas d'évacuation fixe et si vous avez des enfants en bas âge, verrouillez les portes de l'élement bas, de façon à réduire les risques de brûlure.
- L'évacuation fixe doit être faite en conformité avec les directives en vigueur!
- En cas d'anomalie de fonctionnement, vérifie si la sécurité enfants n'est pas activée (voir page 10). Ensuite, vérifie les fusibles du logement. Si l'alimentation électrique est en ordre alors que votre appareil ne fonctionne pas, avertis le service après-vente GAGGENAU le plus proche.
2.1 Description de l'appareil


1 Afficheur 2 Couvercle en verre 3 Orifice de sortie de vapeur 4 Bord antidébordement 5 Cuve de cuisson 6 Bouton « Minuteur » (plage de réglage 1 à 90 minutes) et fonction « Vidange » 7 Bouton « Température » avec fonction « Cuisson vapeur » et « Vidange »
Bandeau de commande :
afficheur pour les fonctions suivantes : symbole (cuisson) indication de la température programmée indication de la durée programmée (en minutes) symbole limiteur symbole cuisson vapeur symbole robinet de vidange ouvert
2.2 Accessoires de série et optionnels

L'appareil est livré en série avec les accessoires suivants (fig. 4):
- couvercle en verre avec bouton
- GE 020-010 : bac non perforé
- GE 020-020 : bac perforé
- poignée pour les bacs
Vous pouvez commander les accessoires optionnels suivants :
- VD 201-010 : couvercle
- VV 200-000 : profilé de jonction pour montage avec d'autres appareils
- FK 023-000 : panier à pâtes (1)
- GE 020-010: bac non perforé (2)
- GE 020-020: bac perforé (3)
- AG 060-000 : kit d'évacuation pour vidange de l'eau
Remarque à propos de la première mise en service
Avant la première utilisation, nettoyez soigneusement l'appareil et ses accessoires à l'eau de vaisselle non agressive afin d'éliminer les odeurs de neuf et les salissures. Remplissez la cuve de cuisson d'eau propre jusqu'au bord antidébordement. Mettez le couvercle en verre en place et faites fonctionner l'appareil pendant 30 minutes en mode « cuisson vapeur » : le cuiseur procède automatiquement à l'étalonnage du point d'ébullition. Au cours de cette opération, l'appareil peut rejeter une grande quantité de vapeur. Videz ensuite l'eau. Le point d'ébullition de l'appareil dépend de l'altitude du lieu où vous vous trouvez. Lors de la première mise en service, l'appareil effectue lui-même un auto-étalonnage du point d'ébullition en fonction de l'altitude.
Après un déménagement entraînant un changement de lieu, il faut ré-étalonner l'appareil une fois qu'il a été installé.
Remplissez d'eau la cuve du cuiseur à vapeur jusqu'au repère « mini », puis mettez le couvercle en verre. Faites faire trois allers-retours à la manette de « Température » entre la position 200°F et la position « cuisson vapeur », puis laissez la manette sur la position « cuisson vapeur ». L'appareil procède alors automatiquement à l'étalonnage. Pendant l'opération, qui dure environ 10 minutes, n'ouvrez pas le couvercle en verre.
Le cuiseur à vapeur est un appareil multifonction qui permet plusieurs modes de cuisson et de préparation : vapeur, étouffée, cuisson traditionnelle, pochage, blanchiment.
La cuisson à l'étouffée consiste à cuire dans un courant de vapeur d'eau dont la température est d'environ 180 - 210 °F.
C'est la vapeur qui transmet la chaleur. Les aliments convenant à ce mode de cuisson sont, par exemple, les légumes, les pommes de terre, le poisson, les boulettes à la levure de boulanger.
La vapeur entoure le mets et évite les pertes de substances nutritives. Le mets préparé conserve sa forme, sa couleur et son arôme typique; il ne brunit pas.
L'appareil vous permet de cuire à la vapeur sans pression, dans un ou deux bacs.
Avec les bacs perforés, la vapeur peut entrer de tous les côtés en contact avec le mets, ce qui garantit une cuisson régulière, même si la quantité d'aliment est importante.
Vous pouvez faire varier la température du liquide de cuisson par paliers de 10°C entre 100 et 200°F. Cette précision de réglage vous permet par exemple de préparer du chocolat à napper, de pocher de la viande ou de faire cuire des nouilles.
Ajoutez le sel et les cubes de bouillon seulement lorsque l'eau est très chaude. La cuve offre une très bonne résistance à la corrosion; toutefois, dans certains cas, le matériel peut être attaqué, par exemple par le sel.
L'appareil est conçu pour être utilisé seulement avec de l'eau ou du liquide de cuisson. Il ne faut pas l'utiliser pour faire de la friture.
3. Utilisation

Attention! L'appareil devient très chaud!
Attention! Ne mettez jamais le cuiseur en marche à vide.
Fig. 5
Fig. 6


Fig. 7


Mise en marche
- Remplissez la cuve d'eau ou d'un autre liquide de cuisson (quantités : voir tableau de cuisson et livre de recettes). La cuve doit être remplie au moins jusqu'à la marque « mini » et ne doit pas être remplie au-delà du bord (fig. 5).
- Placez le bouton « Température » sur la valeur souhaitée ou sur la position « cuisson vapeur » (fig. 6).
- La température programmée (entre 100 et 200°F) ou le symbole (cuisson vapeur) apparait sur l'afficheur.
Tant que l'appareil chauffe, le symbole (cuisson) est visible sur l'afficheur.
Arrêt
Ramenez le bouton « Température » en position 0 (fig. 7).


Attention! Le bouton « Température » (bouton droit) ne doit pas se trouver sur la position « vidange ».

Utilisation avec minuterie :
- Tournez le bouton «température » sur la valeur ou sur le niveau de cuisson souhaités avant de régler la minuterie. Sinon, cette fonction fonctionnera sans la fonction d'arrêt.
- Placez le bouton «minuterie» en position + ou -, jusqu'à ce qu'apparaisse la durée souhaitée (fig. 8). Dès que le bouton se trouve en position zéro, la durée programmée commence à s'écouler.
Après le temps programmé, l'appareil s'arrête automatiquement et un signal sonore se fait entendre.
Si vous arrêtez l'appareil plus tôt, la minuterie continue à marcher sans la fonction d'arrêt.
Après expiration de la durée programmée, un signal sonore retentit. Pour l'arrêter, tournez un des boutons.
Remarque : le minuteur est utilisable même lorsque l'appareil est arrêté.
Mise en place de la poignée spéciale dans les bacs :
L'insertion et l'extraction des bacs n'est possible qu'avec la poignée spéciale fournie. La poignée spéciale n'est pas conçue pour retourner les bacs, par exemple pour en verser le contenu.
Remarque:
La poignée spéciale permet de protéger les mains contre les brûlures pouvant se produire pendant l'utilisation.
Procédez de la manière suivante :
- Introduisez la poignée spéciale dans l'évidement prévu à cet effet. Rabattez l'arceau vers l'avant.
- Relevez la poignée vers le haut (voir fig. 9).

Activation
- Tournez le bouton « Minuteur » vers la gauche, jusqu'à la position moins et maintenez-le dans cette position.
- Tournez le bouton « Température » vers la droite, sur une température quelconque.
- Ramenez le bouton « Température » en position 0.
- Ramenez le bouton « Minuteur » en position 0. Sur l'afficheur, l'indication (sécurité enfants) s'affiche (fig. 10). Vous pouvez maintenant tourner le bouton température dans une position quelconque sans que l'appareil chauffe.

Désactivation
- Tournez le bouton « Minuteur » vers la gauche, en position moins et maintenez-le dans cette position.
- Tournez le bouton « Température » vers la droite, sur une température quelconque.
- Tournez le bouton « Minuteur » en position 0.
- Tournez le bouton « Température » en position 0. Le symbole sécurité enfants disparaît sur l'afficheur (fig. 11).
L'appareil peut maintenant fonctionner.
Coupure de sécurité
Pour votre protection, l'appareil est équipé d'une coupure de sécurité. L'appareil allumé s'éteint automatiquement au bout de 4 heures si pendant ce laps de temps, aucune intervention de l'utilisateur sur une commande n'a eu lieu. Des traits clignotants apparaissent sur l'afficheur. Tournez le bouton « Température » en position 0, afin de pouvoir remettre l'appareil normalement en marche.



Attention!
Avant la vidange, laissez l'eau ou le liquide de cuisson refroidir de façon à éviter la formation de vapeur dans l'élément bas et à empêcher les brûlures. Si l'eau est très calcaire, faites un détartrage régulier afin d'éviter les décolorations et les accumulations thermiques.
Procédez de la manière suivante :
- Placez un récipient collecteur (seau de 10 l par exemple) sous le robinet de vidange du kit d’évacuation optionnel AG 060-000 si vous ne disposez pas d’une évacuation fixe.
- Tournez le bouton « température » vers la gauche, jusqu'à la position (robinet de vidange). Tournez le bouton « Minuteur » vers la gauche en position et maintenez le bouton dans cette position (fig. 12).
- Un signal acoustique se fait entendre. Quelques secondes plus tard, le symbole (robinet de vidange) clignote. Le robinet de vidange s'ouvre.
Lorsque le robinet de vidange s'ouvre, le symbole (robinet de vidange) est allumé en continu sur l'afficheur.
Fermeture du robinet de vidange:
- Tournez le bouton « Température ». vers la gauche, jusqu'à la position (robinet de vidange).
- Tournez le bouton « Minuteur » vers la droite jusqu'à la position + et maintenez-le dans cette position (fig. 13).
- Un signal sonore retentit. Quelques secondes plus tard, le symbole (robinet de vidange) clignote sur l'afficheur.
Le robinet de vidange se ferme.
Dès que le robinet est fermé, le symbole (robinet de vidange) s'éteint.
Remarque: si le robinet de vidange n'est pas complètement ouvert ou fermé, le symbole (robinet de vidange) clignote sur l'afficheur.
Si vous ne disposez pas d'une évacuation fixe, il faut placer sous le robinet de vidange un récipient résistant à la température et offrant une capacité appropriée (10 l minimum), et installer le kit d'évacuation AG 060-000.
4. Nettoyage et entretien
Pour le nettoyage, n'utilisez pas de produits agressifs ou de produits qui rayent (produits à récurer ou polissants nitrés). Utilisez des produits pour casseroles ou une brosse à vaisselle douce et un produit à vaisselle normal. N'utilisez pas non plus d'éponges à gratter.
Avant la première mise en service, nettoyez soigneusement l'appareil et ses accessoires. Effectuez l'étalonnage et allumez l'appareil en mode «cuisson vapeur» pendant 30 minutes afin d'éliminer les éventuelles odeurs de neuf. Videz l'eau.
Nettoyez la cuve à l'eau vaisselle douce. Ne pas la traiter avec un produit d'entretien pour inox, car ces produits ne sont pas homologués pour une utilisation alimentaire.
Vous pouvez nettoyer le couvercle en verre et les bacs de cuisson au lave-vaisse.
Nettoyez le bandeau de commande uniquement avec un chiffon doux. N'utilisez pas de nettoyants à inox du commerce, car ils peuvent attaquer l'impression.
Nettoyez les organes de commande et surfaces vitrées avec un chiffon humide et un peu de produit à vaisselle, puis essuyez avec un chiffon sec doux.
Dans la mesure du possible, nettoyez les accessoires uniquement à l'eau chaude et avec un peu de produit à vaisselle.
Après chaque utilisation, nettoyez l'appareil :
- Videz et nettoyez la cuve. Les dépôts de salissures, de sel et de tartre peuvent provoquer de la corrosion!
- Sortez le filtre à résidus. Nettoyez les bacs et le filtre
- Essuyez la cuve avec un chiffon et replacez le filtre. Tant que la cuve est humide, ne posez pas le couvercle en verre dessus.
- Si l'eau est très calcaire, il peut se former un dépôt blanc dans la cuve. Dans ce cas, essuyez la cuve à l'eau vinaigrée ou avec un détartrant alimentaire, puis rincez soigneusement à l'eau claire.
- Polissez la cuve avec un chiffon doux et une goutte d'huile alimentaire.
Après nettoyage et séchage, vous pouvez conserver dans la cuve les bacs nettoyés et la poignée. Pour que le couvercle de l'appareil (option) repose bien sur la table, il faut retourner le couvercle en verre.

Attention! avant toute réparation, séparez impérativement l'appareil du secteur.
En cas d'anomalie de fonctionnement, vérifier d'abord les fusibles.
Si l'alimentation électrique est correcte, mais que l'appareil ne fonctionne pas, aviser le distributeur Gaggenau qui indiquera l'adresse et le numéro de téléphone de l'agent de service agréé le plus proche ou bien prendre contact avec Gaggenau USA, télé. 877.4GAGGENAU.
Les réparations doivent être faites uniquement par des spécialistes agréés afin que la garantie de l'appareil soit maintenue.
Les interventions non conformes entraînant la perte de la garantie!
N'utilisez que des pièces de rechange d'origine.
La solution!
| ... l'appareil ne chauffe pas et le symbole Ⓞ s'affiche ? La sécurité enfants a été activée. Désactivez la sécurité enfants. | |
| ... l'appareil s'éteint et des traits clignotent sur l'afficheur ? | La coupure de sécurité a été activée. Éteignez l'appareil. Vous pouvez ensuite le remettre en marche. |
| ... un message d'erreur (F1, F2, F3, etc.) s'affiche ? | Contactez le service après-venture de Gaggenau. |
| ... le symbole ∨ (limiter) s'affiche ? | Pas de liquide dans le bac de cuisson. Éteignez l'appareil. Versez le liquide de cuisson jusqu'àu repère maxi. Laissez l'appareil refroidir entièrement. Si le symbole ∨ (limiter) est toujoursprésent après allumage bien que l'appareil soit totallyment froid, contactez le service après-venture de Gaggenau. |
Cuisson à la vapeur
- Remplissez le cuiseur jusqu'au repère mini.
- Placez dans l'appareil le bac de cuisson contenant le mets.
- Mettez le bouton « Température » en position « Cuisson vapeur ».
- Posez le couvercle en verre.
Vous pouvez relever le goût des aliments en remplaçant l'eau par un liquide convenant mistréux au mets (exemples : bouillon de légumes, fonds de viande, fumets de poisson).
Maintien au chaud
- Remplissez le cuiseur jusqu'au repère mini.
- Placez dans l'appareil le bac de cuisson contenant le mets.
- Mettez le bouton « Température » sur la valeur souhaitée.
- Posez le couvercle en verre.
Vous pouvez maintenir chauds les mets dans les bacs de cuisson pendant une période prolongée, sans qu'ils ne s'alterent, se dessèchent et perdent leur goût.
Régénération
Grâce au cuiseur à vapeur, vous pouvez régénérer (réchauffer) les mets déjà préparés.
- Remplissez le cuiseur jusqu'au repère mini.
- Mettez le mets dans le bac et placez le bouton « Température » en position « Cuisson vapeur ». Posez le couvercle en verre.
Dès que le symbole « Cuisson » est éteint, ramenez le bouton sur la température voulue (180-200°F).
Pochage, cuisson
- Remplissez la cuve d'eau ou d'un autre liquide (jus d'huile!) jusqu'au bord antidébordement.
- Placez le bouton « Température » sur une valeur de température comprise entre 100 et 200°F.
- Nous vous recommandons de poser le couvercle en verre!
Utilisez le panier à pâtes (accessoire ref.
FK 023-000).
Extraction du jus
- Remplissez le cuiseur jusqu'au repère mini.
- Mettez les fruits dans le bac perforé.
- Placez d'abord le bac non perforé dans l'appareil, puis le bac perforé.
- Faites cuire à la vapeur jusqu'à ce que le jus ne soit plus.
Stérilisation
- Remplissez le cuiseur jusqu'au repère mini.
- Placez les bocaux dans le bac perforé de façon qu'ils ne se touchent pas.
- Mettez le bouton « Température » en position « Cuisson vapeur ».
- Arrêtez l'appareil dès que des perles montent dans le bocal.
- Ne sortez les bocaux de l'appareil que lorsqu'ils sont complètement refroidis.
Blanchiment
- Remplissez le cuiseur jusqu'au repère mini.
- Faites préchauffer en position cuisson vapeur.
- Mettez les légumes dans le bac non perforé.
- Après 1 à 2 minutes, trempez les légumes dans l'eau glacée pour les refroidir rapidement, puis faites-les bien égoutter.
6.2 Tableau de cuisson Vapeur / traditionnelle Réglage : niveau de cuisson vapeur
| Aliments | Quantité d'eau (cup) | Choix du bac de cuisson | Quantité d'aliment | Préparation | Temps de cuisson* (minutes) |
| Vande | |||||
| Boulettes de viande | 4 | perforé | 500 g | 15 - 20 | |
| Filet de bœuf | 4 | non perforé | 400 g | mettre dans la cuve du sel et des herbes, par exemple 1/2 c. à café de thym | 15 - 20 |
| Escalopes de poulet farcies | 4 | non perforé fond beurré | 500 g | 20 - 25 | |
| Escalopes de dinde | 4 | non perforé fond beurré | 300 g | bouillon de légumes | 15 |
| Rôti de porc fumé et saumuré | 4 | non perforé | 1 kg | 60 | |
| Boeuf | 4 | non perforé | 1 kg | avec légumes | 85 - 90 |
| Poisson | |||||
| Filet de saumon | 4 | perforé | 600 g | 10 | |
| Truite au bleu | 4 | perforé | 2 truites | bouillon de légumes au vinaigre, dans la cuve | 8 - 10 |
| Truite au bouillon | 4 | non perforé | 2 pièces | 10 -15 | |
| Dames de cabillaud au vin | 4 | non perforé | 2 dames de cabillaud | éventuellesment: dans lit de légumes avec eau + vin | 20 |
| Filet de bar | 4 | non perforé | 3 filets | 10 - 12 | |
| Filet de sandre | 4 | non perforé | 1 kg+2 cups d'eau et ingrédients | 15 - 20 | |
| Moules | 4 | perforé, non perforé | dans bac perforé avec bouillon | 10 - 15 | |
| Légumes | |||||
| Chou-fleur | 4 | perforé | 1 tête | en bouquets | 20 - 30 |
| Chou-fleur et carottes | 4 | non perforé perforé | 1 kg1 kg | en bouquets en tranches | 35 - 40 |
| Brocolis | 4 | perforé | 1 tête | en bouquets | 8 - 12 |
| Haricots verts | 4 | perforé | 800 - 1000 g | 20 - 25 | |
| Chou-rave | 4 | perforé | 800 g | en tranches | 30 - 35 |
| Carottes | 4 | perforé | 1 kg | en tranches | 20 - 25 |
| Pommes de terre en robe des champes | 4 | perforé | 1 kg | 35 - 40 | |
| Pommes de terre à l'anglaise | 4 | perforé | 1 kg | coupees en deux | 20 - 25 |
| Pommes de terre à l'anglaise et chou-fleur | 4 | perforé non perforé | 1 kg1 kg | coupees en deux en bouquets | 25 - 30 |
| Asperges | 4 | perforé non perforé | 2 kg | entières | 25 - 40 |
| Courgettes, aubergines | 4 | non perforé | 500 g | en tranches | 5 - 8 |
| Épinards | 4 | non perforé | 250 g | 4 | |
| Fenouil | 4 | perforé | 4 pièces | entier | 30 - 40 |
| Garnitures | |||||
| Riz nature | 4 | non perforé | 250 g2 cups d'eau | 40 - 45 | |
| Riz parboiled | 4 | non perforé | 250 g2 cups d'eau | 20 | |
| Pâtes | 16 | panier à nouilles | 500 g | selon indication du fabricant | |
| Spätzle, pâtes (fraîches) | 16 | panier à nouilles | 500 g | 2 - 5 | |
| Gariture aux oeufs | 4 | non perforé fond beurré | 4 cups | 10 - 15 | |
| Desserts | |||||
| Pudding au bain-marie | 4 | perforé | quantité pour moule de 6 cups | selon indications de la recette | |
| Compote | 4 | non perforé | 1 kg, 1 cup d'eau | 10 - 20 | |
| Boulettes à la levure de boulanger | 4 | non perforé | 8 boulettes1/2 cup de lait,beurre et sucre | 15 - 20 | |
| Riz au lait | 4 | non perforé | 250 g,3 cups de lait | 25 - 30 | |
| * Remarque : les temps de cuisson mentionnés ici sont indicats.Nous vous recommandons de tous jours préchauffer le cuiseur à vapeur. Si l'appareil n'a pas été préchauffé, il faut allonger le temps de cuisson d'environ 5 minutes. | |||||
Tableau de cuisson Pochage Réglage : niveau de température
| Aliments | Quantité d'eau (cup) | Choix du bac de cuisson | Quantité d'aliment | Température | Temps de cuisson* (minutes) |
| Saucisses | 16 | sans | 4 - 8 paires | 160 - 180°F | 10 - 20 |
| Boulettes de viande | 16 (bouillon de viande) | sans | suivant taille | 190 - 200°F | 20 - 30 |
| Boulettes / nouilles | 16 | sans | 4 - 6 | 190 - 200°F | 20 - 30 |
| Vin chaud | - | sans | au moins 4 cups | 170 - 190°F | - |
| * Remarque : les temps de cuisson mentionnés ici sont indicatifs. | |||||
Dames de flétan avec jeunes carottes
menu complet, dans deux bacs de cuisson)
Pour 4 personnes :
Ingrédients
500 g de jeunes carottes
4 dares de flétan (200 g chacune)
l citrone
Poivre
1/2 bouquet de persil
1/2 bouquet de basilic ou d'aneth
30 g de beurre
100 ml bouillon de légumes
Sel
Préparation
Remplir le cuiseur d'eau jusqu'au repère mini.
Préchauffer au niveau « cuisson vapeur »
Couper les queues des carottes en en conservant 2 cm. Laver et peler les carottes. Les faire cuire entières à la vapeur dans le bac perforé pendant 12 minutes.
Rincer rapidement les darnes de poisson et bien les sécher. Les assaisonner de poivre et de jus de citron et les placer dans le bac non perforé. Poser ce dernier au-dessus des carottes et faire cuire le tout pendant 12 minutes.
Pendant ce temps, laver les herbes, les essuyer et hacher finement. Faire fondre le beurre dans une grande poêle. Retirer les carottes du cuisseur vapeur, maintenir le poisson à 150°F dans le cuisseur. Les lier au beurre.
Parsemer des herbes hachées. Mouiller de bouillon de légumes et rectifier l'assaisonnement des carottes avec du sel et du poivre. Saler les darnes de flétan et les servir avec les carottes aux herbes.
Escalopes de poulets en robe de poireau
Pour 4 personnes :
Ingrédients :
4 escalopes de poulet (120 g chacune)
2 c. à café de raifort (en bocal)
1 poireau (environ 200 g)
1 l de bouillon de poule
400 g de carottes 1 oignon
1/2 bouquet de persil l. c. à café de moutarde
sel, poivre, 1 c. à soupe de crème fraîche
quelques gouttes de jus de citron
Rincer les filets, les éponger et les couper en deux dans le sens de la longueur. Les enduire de raifort de tous les côtés.
Nettoyer le poireau et le couper en deux dans le sens de la longueur. Détacher les feuilles une à une et les couper dans le sens de la longueur en lanières d'environ 2 cm de large.
Préparer le bouillon de poulet et faire blanchir pendant 2 minutes les lanières de poireau, puis les sortir et les laisser refroidir.
Éplucher et laver les carottes, puis les détailler en julienne à l'aide d'un couteau.
Éplucher les oignons et les détailler. Rincer le persil, hacher la moitié des feuilles.
Mélanger les carottes avec l'oignon et les feuilles de persil, et mettre le tout dans le bac perforé.
Superposer les morceaux de viande 2 par 2, et les entourer de lanières de poireau en leur milieu.
Poser les paquets sur les carottes, saler et poivrer légèrement.
Placer le bac perforé au-dessus du bouillon. Porter le bouillon à ébullition et, après avoir couvert les paquets et les légumes, faire cuire à la vapeur pendant 25 - 30 minutes à chaleur modérée.
Sortir le bac perforé de la casserole, en le laissant couvert. Prélever 150 ml du bouillon et les verser dans une casserole. Mélanger avec de la moutarde et de la crème fraîche, donner un gros bouillon.
Rectifier l'assaisonnement de la sauce avec du sel, du poivre et du jus de citron, ajouter le persil haché. Servir avec une purée de pommes de terre ou du pain.
6.4 Trucs et astuces
Le cuiseur à vapeur peut recevoir jusqu'à deux bacs de cuisson en même temps. - Si vous utilisez des bacs, vous pouvez soit les placer en même temps dans la cuise, soit les ajouter pendant la cuisson. Si vous utilisez cette méthode, faites en sorte de mettre d'abord dans la cuve le mets ayant le temps de cuisson le plus long. Veillez à placer le bac perforé sous le bac non perforé. Placez le deuxième bac dans la cuve lorsque le temps résiduel pour le deuxième mets a été atteint, de façon à finir en même temps les aliments ayant des temps de cuisson différents. - Les mets cuits à la vapeur ont un goût propre plus marqué que les aliments cuits de manière habituelle. Vous pouvez donc vous passer d'épices, ce qui rend l'appareil utilisable en cas de régime. - Les substances nutritives ainsi que les vitamines et les minéraux sont conservés, de même que le goût initial, la forme et la couleur des aliments. La cuisson s'effectue sans: graisse! - À chaque fois que cela est possible, mettez le couvercle en verre. Bien en place, le couvercle évite et empêche les pertes de vapeur et d'énergie. - L'aliment à cuire n'entre pas en contact avec l'eau en ébullition; il est entièrement entouré de vapeur et l'eau n'entraîne pas de substances nutritives. - La cuisson à la vapeur est un mode de préparation qui économise l'énergie. - Faites toujours préchauffer le cuiseur à vapeur afin de réduire le temps de cuisson et de minimiser les pertes de substances nutritives.
Si le symbole (limiteur) apparait sur l'afficheur, les causes peuvent en être les suivantes :
- fonctionnement à sec :
- l'appareil a été mis en marche sans eau
- l'appareil ne contient plus d'eau
- accumulation de chaleur:
- les dépôts de calcaire peuvent provoquer une accumulation de chaleur entraînant une surchauffe.
Important!
-Tournez le bouton « Température » en position 0. - Remplissez l'appareil de liquide de cuisson jusqu'au repère maxi. - Laissez l'appareil refroidir entièrement avant de le remettre en marche.
Si le symbole ⇔ (limiter) est toujours visible après allumage bien que l'appareil soit totalement froid, contactez le service après-vente de GAGGENAU.
7.1 Caractéristiques importantes
Puissance raccordée totale : 1800 W
AC 120V / 60Hz
Dimensions de l'appareil :
288 x 490 x 190 / 260 mm
11^5 / 16 × 19^5 / 16 × 7^1 / 2 / 10^1 / 4
Respecter les indications de la plaquette d'identification. L'appareil peut être raccordé par une fiche amovible ou par un branchement fixe.
7.2 Instructions importantes
L'installateur est responsable du parfait fonctionnement de l'appareil sur le lieu où il est monté. Il doit en expliquer le fonctionnement à l'utilisateur, à l'aide de la notice d'utilisation, et lui dire comment l'appareil peut être isolé du secteur électrique.
L'appareil doit être raccordé uniquement par un électricien agréé, en conformité avec toutes les règles des entreprises de distribution d'électricité et les réglementations nationales.
La distance minimale entre le fond de la cuve et les pièces sensibles à la chaleur les plus proches est de 10 mm (13/32").
La distance latérale avec les éléments en bois doit être d'au moins 200 mm (7 7/8")
Lors de la pose, il faut veiller à respecter une distance minimale de 35 mm (1³/8") avec la bande de liaison avec le mur ou de 50 mm (2") avec le mur (mesure prise depuis le bord de la découverte de l'appareil).
Remarque : n'installez pas l'appareil juste à côté d'une friteuse !
Aucune garantie ne peut être assurée pour les dommages générés par le non-respect de la présente notice.
Si le cordon d'alimentation électrique est endommagé, il faut le remplacer par un câble spécial que le fabricant ou son service après-vente sont autorisés à raccorder.
Le cordon d'alimentation secteur doit être au moins du type SJTO 3x16 AWG 105^
Si le cuiseur à vapeur est posé sous des éléments hauts, il faut prévoir une hotte aspirante, car la vapeur pourrait abîmer les meubles.
Sous réserve de modifications techniques.
La pose du cuiseur à vapeur dans des cuisines intégrées en bois ou autre matériel inflammable similaire est possible sans dispositions additionnelles.
Lisez les «Instructions importantes» (chapitre 1).
Branchement électrique
L'appareil doit être raccordé uniquement par un électricien/agréé, dans le respect de toutes les réglementations en vigueur.
La fiche doit être conforme aux normes NEMA POUR FICHES ET PRISES DE COURANT.
La fiche ne doit pas être d'un type inférieur à 6-15 p (2 pôles 3 fils terre).
Ce dispositif doit être posé uniquement par un électricien qualifié.
Nous conseillons de poser à environ 70 cm (27¹/²") au-dessus du sol, derrière l'appareil, une prise de courant 10 Å avec terre ou bien une boîte de connexion fixe, qui restent accessibles après installation de l'appareil.
7.3 Pose



- Réalisez la découpe dans votre plan de travail pour un ou plusieurs appareils Vario. Pour ce faire, basez-vous sur le schéma de pose et le tableau des cotes. Ce dernier indique l'encombrement de la barrette de jonction entre les appareils. Important! L'angle entre la surface de coupe et le plan de travail doit être de (fig. 14).
- Repérez avec précision le milieu de la découpe. Fixez le rail de fixation des deux côtés dans la découpe. Vérifiez que les ergots du rail de fixation reposent sur le plan de travail et que la marque du milieu du rail coïncide exactement avec la marque du milieu du plan de travail (fig. 15).
Fixez le couvercle sur l'appareil avant de poser l'ensemble (voir Instructions de montage VD 201-010).
- Placez l'appareil dans le plan de travail en faisant attention à ce que les ergots de l'appareil reposent exactement sur les ressorts de blocage. Enforcez fermement l'appareil dans le plan de travail : les ergots se verrouillent dans les ressorts (fig. 16).
Remarque : En cas de pose dans un plan de travail en granit ou en marbre, faire réaliser les trous par un spécialiste ou coller les rails de fixation avec une colle à 2 composantes (métal sur pierre) résistant à la température.
Remarque : Il est possible d'encastrer plusieurs appareils dans des découvertes individuelles, en respectant une distance latérale minimale de 40 mm (19/16") entre les appareils.
7.4 Évacuation

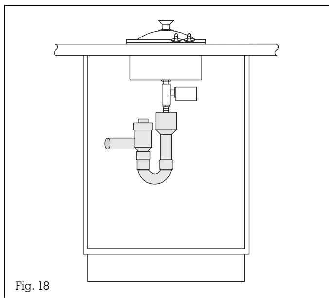
Une connexion de drainage permanente est recommandée. Pour cela, une connexion de drainage est nécessaire dans l'armoire de base. Elle peut être connectée en permanence (fig. 17) ou avec une chute libre (fig. 18).
Veuillez installer une valve de non-retour si cela est requis par les régulations locales.

Fig. 19
Si le raccord d'évacuation se trouve dans un élément bas voisin, il est possible de faire le branchement avec un tuyau de jonctionouple ou rigide (fig. 19), à la condition d'installer un clapet antiretour. Bien faire attention à ce que ce tuyau de jonction présente une pente continue.
Fig. 20
Si aucune sortie d'évacuation n'est prévue, le kit d'évacuation (AG 060-000) permet de vidanger le liquide dans un récipient approprié (seau de 10 l par exemple, fig. 20).
GAGGENAU HAUSGERÄTE GMBH CARL-WERY-STR. 34·81739 MUNCHEN GERMANY (089) 45 90-03 FAX (089) 45 90-23 47
5551 McFADDEN AVENUE HUNTINGTON BEACH, CA 92649 USA 877.4GAGGENAU www.gaggenau-usa.com
Notice Facile