VPN BOOSTER 32I - Routeur Wi-Fi BEWAN - Notice d'utilisation et mode d'emploi gratuit
Retrouvez gratuitement la notice de l'appareil VPN BOOSTER 32I BEWAN au format PDF.
| Type d'appareil | Routeur VPN |
| Série | VPN Booster 32 |
| Fonction VPN | Oui |
| Nombre d'antennes | 2 |
| Type de connexion réseau | Ethernet filaire et Wi-Fi |
| Normes Wi-Fi | Non précisé |
| Ports Ethernet | Plusieurs ports LAN |
| Vitesse maximale | Non précisé |
| Alimentation | Adaptateur secteur |
| Indicateurs LED | Présents (état réseau, alimentation) |
| Fonctionnalités de sécurité | VPN intégré |
| Configuration | Interface web |
| Compatibilité | Non précisé |
| Dimensions | Non précisé |
| Poids | Non précisé |
| Utilisation recommandée | Réseaux d'entreprise et professionnels |
FOIRE AUX QUESTIONS - VPN BOOSTER 32I BEWAN
Questions des utilisateurs sur VPN BOOSTER 32I BEWAN
0 question sur cet appareil. Repondez a celles que vous connaissez ou posez la votre.
Poser une nouvelle question sur cet appareil
Téléchargez la notice de votre Routeur Wi-Fi au format PDF gratuitement ! Retrouvez votre notice VPN BOOSTER 32I - BEWAN et reprennez votre appareil électronique en main. Sur cette page sont publiés tous les documents nécessaires à l'utilisation de votre appareil VPN BOOSTER 32I de la marque BEWAN.
MODE D'EMPLOI VPN BOOSTER 32I BEWAN
Les informations continues dans ce manuel sont susceptibles de modification sans préavis.
BeWAN systems ne peut être tenue pour responsable si une non-conformité partielle apparait entre ce manuel et le produit qu'il décrit, ni des évventuels dommages accidentels directs ou indirects consécutifs à l'utilisation de ceux-ci.
Le manuel fourni est protégé par les lois de Copyright et ne peut être copiedé ou distribué de quelque façon et pour chaque usage que ce soit. L'utilisation de la documentation est destinée à un usage personnel uniquement. Toute représentation ou reproduction intégrale ou partielle doit être faite avec le consentement de l'auteur ou de ses ayants droit ou ayants cause. Toute'utilisation à des fins commerciales est strictement interdite. La violation de ces règes peut entraîner des poursuites judiciaires et la personne concernée sera tenue responsable sur le plan économique de tout préjudice et perte subie par le titulaire du Copyright.
Copyright © 2004-2005, BeWAN systems. Tous droits réservés.
Edition avril 2005.
Marques déposées et copyright :
- BeWAN, VPN Booster et le logo BeWAN systems sont des marques déposées de BeWAN systems.
- Microsoft, Windows sont des marques déposées de Microsoft Corporation aux États-Unis et/ou dans d'autres pays.
Macintosh est une marque d'Apple Computer, Inc. déposée aux Etats-Unis et dans d'autres pays. - i-minitel est une marque déposée par France Télecom.
De même, les noms des produits cités dans ce manuel à des fins d'identification peuvent être des marques commerciales, déposées ou non par leurs propriétaires respectifs.
Table des matières
Partie 1: Introduction 7
Contenu de la boîte du VPN Booster 8
Avant de commencer 9
Précautions d'utilisation 9
Partie 2 : Installation du routeur............11
Raccordements du routeur 12
Raccordements du VPN Booster 8. 12
Raccordements des VPN Booster 32, 32 g et 32 i. 14
Raccordements des VPN Booster 32 V et 32 Vg. 17
Voyants lumineux et connecteurs du routeur 20
Voyants lumineux et connecteurs du VPN Booster 8. 20
Voyants lumineux et connecteurs de la Série VPN Booster 32 21
Equipement informatique existant au sein de l'entreprise 24
Votreréseau local n'est pas encoreinstallé 24
Votre reseau local est déjà installé mais il n'utilise pas le protocole TCP/IP 24
Votre reseau local est déjà installe et utilise le protocole TCP/IP 25
Configuration des ordinateurs 26
PC sous Windows 95/98/Me 26
PC sous Windows NT 33
PC sous Windows 2000 40
PC sous Windows XP 46
Macintosh (Mac OS 9). 53
Configuration des logiciels de navigation 57
Microsoft Internet Explorer 57
Mozilla 58
Installation et utilisation de 1'Assistant de demarrage 59
Configuration requise 59
Configuration pour PC 59
Configuration pour Mac OS 9 62
Configuration pour Mac OS X 64
Accès à l'administration HTML du routeur 66
Identification lors de la première configuration 66
Identification lors des accès suivants 67
Partie 3: Configuration du routeur 68
Modification des paramètres administrateur 69
Configuration des paramètres Wireless (VPN Booster 32g / 32Vg ) 70
Parametres généraux 71
Paramètres de sécurité 73
Contrôle d'accès 76
Clients Wireless 77
Accès à Internet 79
Accès à Internet via un modem xDSL ou cable. 79
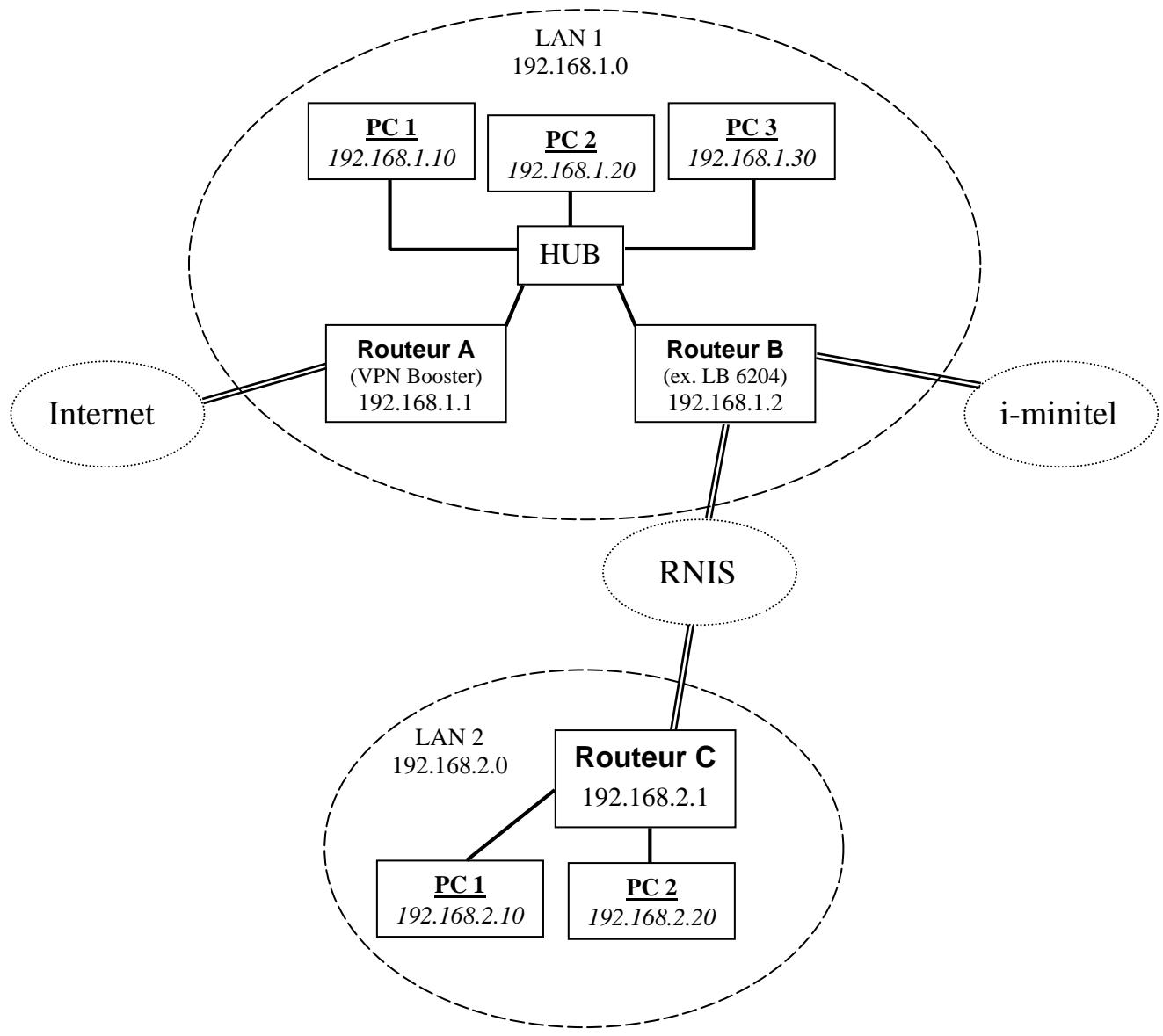
Accès à Internet via le réseau RNIS (VPN Booster 32 i uniquement) 85
Connexion d'equipements distants (VPN Booster 32 i) 89
Connexion de postes isolés via RNIS 89
Interconnexion de réseaux via RNIS 92
Configuration du VPN 98
Configuration d'un VPN entre deux routeurs VPN Booster (mode Tunnel) 98
Configuration d'un VPN entre un routeur VPN Booster et un utilisateur isolé (mode Transport)...... 110
Configuration d'un VPN sur le LAN ou WLAN 121
Configuration du mode Pass-Through 126
Filtres IP et Firewall 127
Paramétrage d'un filtré 127
Configuration generale des filtres 130
Scheme du processus de filtrage 131
Configuration des défenses DoS 132
Configuration du filtrage de contenu 133
NAT / Ouverture de ports / DMZ 136
Translation d'adresses (NAT) 136
Ouverture de ports 138
DMZ 140
Gestion des plages horaires. 141
Réglage de l'heure du routeur 141
Paramétrage des plagesHoraires 142
Paramétrage du DNS Dynamique 146
Activation du DNS dynamique 146
Exemples de creation de comptes DNS dynamiques 147
Paramétrage des routes statiques 151
Client RADIUS 154
Paramétrage du service UPnP 155
Configuration du VLAN 157
Activation du VLAN 157
Activation du contrôle de début 158
Contrôle QoS (Série VPN Booster 32) 159
Introduction 159
Configuration du QoS 159
Configuration de la Voix sur IP (VPN Booster 32V / 32Vg ). 162
Etape 1: Annuaire des correspondants IP 164
Etape 2:Parametrage SIP. 165
Etape 3:Paramétrage CODEC/DTMF/RTP. 167
Etape 4: Etat de la connexion VoIP 168
Partage de 1'imprimante USB (Serie VPN Booster 32) 169
Partie 4 : Outils d'analyse et de contrôle 174
Outils de diagnostic. 175
Etat de la connexion Internet 175
Visualisation de l'en- 壶 du paquet de connexion 177
Visualisation de la table ARP 177
Visualisation de la table des ports NAT activés 178
Etat du traffic 178
Paramétrage du Syslog 179
Fonctionnalités d'administration 180
Gestion du contrôle d'accès 180
Mise à jour du firmware par FTP 182
Commandes Telnet 183
Ouvrir une session Telnet 183
Principes de base de Telnet 183
Listedes commandes principales 184
Listedesous-commandedes 185
Partie 5 : Outils de maintenance 196
Mise à jour du routeur 197
Mise à jour à partir d'un PC 197
Mise à jour à partir d'un Macintosh 199
Sauvegarde / Restauration de configuration 202
Sauvegarde d'une configuration 202
Restauration d'une configuration 203
Redemarrage du routeur 205
Partie 1 : Introduction
Contenu de la boîte du VPN Booster. 8
Avant de commencer 9
Précautions d'utilisation. 9
Félicitations, vous venez d'acquérir un VPN Booster, un routeur performant et ergonomique.
Ce routeur va vous permettre de federer en toute sicuret les ordinateurs de voire entreprise en un reseau communiquant grace notamment a :
- son commutateur Ethernet intégré, qui vous permet de raccorder directement jusqu'à 4 ordinateurs ou plus de 4 ordinateurs via un concentrateur Ethernet externe (non fourni). Le réseau local peut être constitué de différents types d'ordinateurs (PC sous Windows ou Linux, Macintosh, etc.).
- un port WAN, qui vous permet de raccorder un modem xDSL ou un modem cable.
- un port imprimante USB (pour la Série VPN Booster 32 uniquement) qui vous permet de raccorder une imprimante à votre routeur et ainsi de la partager sur le réseau local.
- un port ISDN (VPN Booster 32 i uniquement) qui vous permet de raccarder votre ligne RNIS grâce au cable fourni.
- un point d'accès réseau sans fil (VPN Booster 32g / 32Vg ) afin de connecter des stations clientses Wireless.
Le VPN Booster gètre dynamiquement la connexion à Internet et son partage sur le réseau local. Ce dernier est protégé efficacement grâce aux nombreuses fonctions dont dispose le routeur (firewall complet, VPN, défenses DoS, NAT, gestion de plages heures, etc.).
Contenu de la boîte du VPN Booster
Dans la boîte du VPN Booster, vous doivent tracer, en plus du routeur, les éléments suivants :

Guide de démarrage

Câble d'alimentation électrique

Câble Ethernet droit (bleu)

CD-ROM Routeurs VPN Booster

Câble RNIS (VPN Booster 32 i uniquement)

Adaptateur téléphonique (VPN Booster 32V / 32Vg uniquely)
Remarque: si vous disposez du VPN Booster 32g / 32Vg , vous doivent trouver également 2 antennes externes destinées à être visées à l'arrête du routeur.
Avant de commencer
Nous considérons dans ce manuel que les conditions suivantes sont réunies :
- Vos ordinateurs sont équipés de cartes Ethernet.
- Vous disposez d'un accès xDSL (ADSL, SDSL) et/ou d'un accès Internet par le cable et/ou d'une ligne RNIS (pour le VPN Booster 32 i).
- Vous avez souscrit un abonnement aupres d'un fournisseur d'acces Internet (FAI) et celui-ci vous a confirmé vos paramétres de connexion (identifiants, mots de passage, serveurs DNS, etc.).
Assistance Technique: Si vous rencontres des difficultés, l'assistance technique sur le matériel est assurée par le Support Technique de BeWAN systems au 08 92 16 22 92 (Tarif Audiotel 0,34 €TTC/min).
du lundi au heute, de 9h à 13h et de 14h à 18h.
le vendredi, de 9h à 13h et de 14h à 16h30.
Précautions d'utilisation

Lisez attentivement les instructions de sécurité suivantes avant d'installer ou d'utiliser le VPN Booster. Veillez à respecter rigoureusement les précautions d'emploi.
Emplacement
- Evitez d'utiliser, de placer et de conserver l'appareil dans des endroits exposés à une lumière intense ou à des températures élevées ou pres de sources de chaleur.
Des températures élevées risquènt de déformer le boîtier. La température maximum ne peut dépasser 40^ . - Conservez l'appareil dans un endroit sûr et bien ventilé.
- Evitez d'installer l'appareil dans un endroit humide ou poussiéreux.
Vous risqueriez entre autres de provoquer un incendie ou une décharge électrique.
- Ne placez pas l'appareil sur un élément non stable.
Si I'appareil tombe, cela pourrait cause des sérieux dommages. - L'emplacement de la prise de courant secteur doit être facilement accessible.
La tension secteur doit correspondre aux indications figurant sur la plaque signalétique de l'adaptateur électrique.
- Conservez l'appareil hors de portée des enfants.
Entretien et maintenance
Veillez a ne pas ouvrir, désassembler ou modifier une partie de l'appareil.
Tout désassemblage ou modification pourrait provoquer une forte décharge électrique. Les inspections internes, les modifications et les réparations doiventIMPÉRATIVEMENT être effectuées par des techniciens agrés et qualifiés.
L'ouverture de l'appareil ou toute modification interne entraînera la perte de la garantie.
- Débranchez le cordon d'alimentation de l'appareil avant de le nettoyer.
- Pour nettoyer l'appareil, n'utilise pas certains produits chimiques pouvant endommager les matieres plastiques. N'utilise pas de substances contenant de l'alcool, du benzène, du diluant ni d'autres produits inflammables. L'emploi de ces produits pourrait provoquer un incendie.
- Ne mettez pas l'appareil en contact avec de l'eau ou d'autres liquides.
Aucun liquide ne doit pénétre à l'intérieur de l'appareil. Si la partie externe de l'appareil entre en contact avec un liquide, essuyez-le à l'aide d'un chiffon doux et absorbant. Si un liquide ou une substance quelconque pénétre à l'intérieur de l'appareil, éteignez-le immédiatement ou débranchez le cordon d'alimentation de la prise électrique. Si vous continuez à l'utiliser, vous risquez de provoquer un incendie ou une décharge électrique.
Alimentation et câbles
- N'utilisez que les accessoires d'alimentation recommendés.
L'utilisation de sources d'alimentation autres que celles recommandées pour ce matériel pourrait entraîner une surchauffe ou une déformation de l'appareil, et provoquer entre autres un incendie ou une décharge électrique.
Veillez a ce que les cables soient dans une position qui evite que quelqu'un puisse trabucher ou marcher dessus. - Ne tentez pas d'acheminer les câbles dans un passage ou un endroit susceptible de les pincer.
Veillez a ne pas couper, endommager ou transformer le cordon de l'adaptateur d'alimentation, ni a placer des objets lourds sur ce cordon.
Vous risqueriez de causeur un court-circuit qui pourrait provoquer un incendie ou une décharge électrique.
- Ne touchez pas le cordon d'alimentation si vos mains sont mouillées.
Vous risqueriez de receivevoir une décharge électrique.
- Lorsque vous débranchez le cordon, tenez la partie solide de la prise.
En tirant sur la partie flexible du cordon, vous pouze nuire à l'isoation ou dénuder le fil, et créé ainsi un risque d'incendie et de décharge électrique.
- Cessez immédiatement d'utiliser l'appareil si ce dernier se mettait à dégager de la fumée.
Vous risqueriez sinon de provoquer un incendie ou une décharge électrique. Eteignez aussi t l'appareil et debranchez le cable d'alimentation de la prise electrique.
Partie 2 : Installation du routeur
Raccordements du routeur. 12
Voyants lumineux et connecteurs du routeur. 20
Equipement informatique existant au sein de l'entreprise. 24
Configuration des ordinateurs 26
Configuration des logiciels de navigation 57
Installation et utilisation de l'Assistant de démarrage 59
Accès à l'administration HTML du routeur 66
Raccordements du routeur
Nous distinguons dans ce chapitre le raccordement du VPN Booster 8 du raccordement de la Serie VPN Booster 32.
Raccordements du VPN Booster 8
Raccordement du routeur à l'alimentation électrique
Pourmettresous tensionleVPNBooster8,procedez comme suit:
- Munissez-vous du cable d'alimentation électrique fourni dans l'emballage du routeur.
- Raccordez l'extrémité du cable prévu à cet effet au connecteur PWR du routeur.
- Raccordez l'autre extrémité du cable à une prise électrique compatible avec les specifications imprimées sur le bloc d'alimentation.

La mise sous tension du routeur suppose également le positionnement de l'interrupteur sur ON.
Raccordement du routeur au modem xDSL ou cable
Pour raccorder le VPN Booster 8 au modem xDSL (ADSL, SDSL) ou au modem cable, procedez comme suit :
- Munissez-vous du cable Ethernet fourni généralement dans l'emballage du modem xDSL ou du modem cable.
- Raccordez une extrémité de ce cable au port WAN du routeur.
- Raccordez l'autre extrémité du cable au modem xDSL ou au modem cable (modems de type Ethernet).

Le raccordement des ordinateurs du réseau local au routeur peut s'effectuer directement grâce au commutateur Ethernet intégré dans le routeur. Il peut également s'effectuer indirectement en utilisant un concentrateur Ethernet externe. Les deux types de raccordement peuvent être utilisés simultanément.
Raccordement direct
Pour raccorder directement un ordinateur au VPN Booster 8, procedez comme suit :
- Munissez-vous du cable Ethernet bleu fourni dans l'emballage du routeur.
- Raccordez une extrémité de ce cable à l'un des ports P1 à P4 du routeur.
- Raccordez l'autre extrémité du cable au connecteur RJ45 de la carte Ethernet de l'ordinateur.
Vou puez aisi raccorder directement jusqu'a 4 ordinateurs (cables supplémentaires non fournis). Au-delà du quatrième ordinateur, vous nevez utiliser un concentrateur Ethernet externe (voir section ci-dessous).

Raccordement indirect via concentrateur externe
Pour raccorder indirectement un ordinateur au VPN Booster 8 via un concentrateur Ethernet externe (non fourni), proceeds comme suit :
- Munissez-vous du cable Ethernet bleu fourni dans l'emballage du routeur.
- Raccordez une extrémité de ce cable à l'un des ports P1 à P4 du routeur.
- Raccordez l'autre extrémité à l'un des ports Ethernet du concentrateur Ethernet externe.
Attention: grâce au système d'auto-detction du cablage, vous n'avez pas besoin d'utiliser de cable croisé.
- Raccordez ensuite l'ordinaire au concentrateur Ethernet externe (cable supplémentaire non fourni).

Voupuez bien entendu raccorder plusieurs ordinateurs et autres équipements au concentrateur Ethernet externe.
Raccordements des VPN Booster 32, 32 g et 32 i
Raccordement du routeur à l'alimentation électrique
Pourmettresous tensionleVPNBooster 32 / 32g / 32i ,procedez comme suit:
- Munissez-vous du cable d'alimentation électrique fourni dans l'emballage du routeur.
- Raccordez l'extrémité du cable prévu à cet effet au connecteur PWR du routeur.
- Raccordez l'autre extrémité du cable à une prise électrique compatible avec les specifications imprimées sur le bloc d'alimentation.

La mise sous tension du routeur suppose également le positionnement de l'interrupteur sur ON.
Raccordement du routeur au modem xDSL ou cable
Pour raccorder le VPN Booster 32 / 32g / 32 i au modem xDSL (ADSL, SDSL) ou au modem cable, procedez comme suit :
- Munissez-vous du cable Ethernet fourni généralement dans l'emballage du modem xDSL ou du modem cable.
- Raccordez une extrémité de ce cable au port WAN du routeur.
- Raccordez l'autre extrémité du cable au modem xDSL ou au modem cable (modems de type Ethernet).

Le raccordement des ordinateurs du réseau local au réseau peut s'effectuer directement grâce au commutateur Ethernet intégré dans le réseau. Il peut également s'effectuer indirectement en utilisant un concentrateur Ethernet externe. Les deux types de raccordement peuvent être utilisés simultanément.
Raccordement direct
Pour raccorder directement un ordinateur au VPN Booster 32 / 32g / 32i ,procedez comme suit :
- Munissez-vous du cable Ethernet bleu fourni dans l'emballage du routeur.
- Raccordez une extrémité de ce cable à l'un des ports P1 à P4 du routeur.
- Raccordez l'autre extrémité du cable au connecteur RJ45 de la carte Ethernet de l'ordinateur.
Vou puez aisi raccorder directement jusqu'a 4 ordinateurs (cables supplémentaires non fournis). Au-delà du quatrième ordinateur, vous nevez utiliser un concentrateur Ethernet externe (voir section ci-dessous).

Raccordement indirect via concentrateur externe
Pour raccorder indirectement un ordinateur au VPN Booster 32 / 32g / 32 i via un concentrateur Ethernet externe (non fourni), procedede que comme suit :
- Munissez-vous du cable Ethernet bleu fourni dans l'emballage du routeur.
- Raccordez une extrémité de ce cable à l'un des ports P1 à P4 du routeur.
- Raccordez l'autre extrémité à l'un des ports Ethernet du concentrateur Ethernet externe.
Attention: grâce au système d'auto-detection du cablage, vous n'avez pas besoin d'utiliser de cable croisé.
- Raccordez ensuite l'ordinaire au concentrateur Ethernet externe (cable supplémentaire non fourni).

Voupuez bien entendu raccorder plusieurs ordinateurs et autres equipments au concentrateur Ethernet externe.
Raccordement d'une imprimante USB au routeur
Grace au port USB situé à l'arrière du boîtier, vous pouvez raccorder une imprimante USB à votre routeur et ainsi la partager sur le réseau local.

Attention : l'imprimante doit être compatible avec la norme USB 1.1
- Munissez-vous du cable USB fourni avec votre imprimante USB.
- Raccordez l'extrémité du cable prévue à cet effet sur le port Printer du routeur.
- Raccordez l'autre extrémité du cable sur votre imprimante.

Remarque: une fois le raccordement effectué, vous doivent configurer les ordinateurs qui composez votre réseau. Reportez-vous au chapitre « Partage de l'imprimante USB (Série VPN Booster 32) » page 169.
Raccordement du routeur au réseau RNIS (VPN Booster 32 i)
Pour raccorder le VPN Booster 32 i au réseau RNIS, procedez comme suit :
- Munissez-vous du cable RNIS noir fourni dans l'emballage du routeur.
- Raccordez une extrémité de ce cable au port ISDN du routeur.
- Raccordez l'autre extrémité du cable à la prise RNIS dont vous disposez.

Raccordements des VPN Booster 32 V et 32 Vg
Raccordement du routeur à l'alimentation électrique
Pourmettresous tensionleVPNBooster 32V / 32Vg ,procedez comme suit:
- Munissez-vous du cable d'alimentation électrique fourni dans l'emballage du routeur.
- Raccordez l'extrémité du cable prévu à cet effet au connecteur PWR du routeur.
- Raccordez l'autre extrémité du cable à une prise électrique compatible avec les specifications imprimées sur le bloc d'alimentation.

La mise sous tension du routeur suppose également le positionnement de l'interrupteur sur ON.
Raccordement du routeur au modem xDSL ou cable
Pour raccorder le VPN Booster 32 V / 32 Vg au modem xDSL (ADSL, SDSL) ou au modem cable, procedez comme suit :
- Munissez-vous du cable Ethernet fourni généralement dans l'emballage du modem xDSL ou du modem cable.
- Raccordez une extrémité de ce cable au port WAN du routeur.
- Raccordez l'autre extrémité du cable au modem xDSL ou au modem cable (modems de type Ethernet).

Le raccordement des ordinateurs du réseau local au routeur peut s'effectuer directement grâce au commutateur Ethernet intégré dans le routeur. Il peut également s'effectuer indirectement en utilisant un concentrateur Ethernet externe. Les deux types de raccordement peuvent être utilisés simultanément.
Raccordement direct
Pour raccorder directement un ordinateur au VPN Booster 32V / 32Vg ,procedez comme suit :
- Munissez-vous du cable Ethernet bleu fourni dans l'emballage du routeur.
- Raccordez une extrémité de ce cable à l'un des ports P1 à P4 du routeur.
- Raccordez l'autre extrémité du cable au connecteur RJ45 de la carte Ethernet de l'ordinateur.
Vou puez aisi raccorder directement jusqu'a 4 ordinateurs (cables supplémentaires non fournis). Au-delà du quatrième ordinateur, vous nevez utiliser un concentrateur Ethernet externe (voir section ci-dessous).

Raccordement indirect via concentrateur externe
Pour raccorder indirectement un ordinateur au VPN Booster 32V / 32Vg via un concentrateur Ethernet externe (non fourni), précédez comme suit :
- Munissez-vous du cable Ethernet bleu fourni dans l'emballage du routeur.
- Raccordez une extrémité de ce cable à l'un des ports P1 à P4 du routeur.
- Raccordez l'autre extrémité à l'un des ports Ethernet du concentrateur Ethernet externe.
Attention: grâce au système d'auto-detection du cablage, vous n'avez pas besoin d'utiliser de cable croisé.
- Raccordez ensuite l'ordinaire au concentrateur Ethernet externe (cable supplémentaire non fourni).

Voupuez bien entendu raccorder plusieurs ordinateurs et autres equipments au concentrateur Ethernet externe.
Raccordement d'une imprimante USB au routeur
Grace au port USB situé à l'arrière du boîtier, vous pouvez raccorder une imprimante USB à votre routeur et ainsi la partager sur le réseau local.

Attention : l'imprimante doit être compatible avec la norme USB 1.1
- Munissez-vous du cable USB fourni avec votre imprimante USB.
- Raccordez l'extrémité du cable prévue à cet effet sur le port Printer du routeur.
- Raccordez l'autre extrémité du cable sur votre imprimante.

Remarque: une fois le raccordement effectué, vous doivent configurer les ordinateurs qui composent votre réseau. Reportez-vous au chapitre « Partage de l'imprimante USB (Série VPN Booster 32) » page 169.
Raccordement de téléphones au routeur
Grace aux ports FXS1 et FXS2 situés à l'arrière du VPN Booster 32 V / 32 Vg, vous pouvez racorder les téléphones à votre routeur afin de profiter de la téléphonie sur Internet (VoIP).
- Munissez-vous de l'adaptateur téléphonique fourni dans l'emballage du routeur.
- Raccordez l'extrémité du cable sur le port FXS1 ou FXS2 du routeur.
- Munissez-vous ensuite de votre téléphone.
- Insérez votre prise téléphonique dans la fiche de l'adaptateur prévue à cet effet.

Voyants lumineux et connecteurs du routeur
Voyants lumineux et connecteurs du VPN Booster 8
Voyants lumineux
Situés sur l'avant du VPN Booster 8, les voyants lumineux renseignent sur l' état du routeur et des connexions. Le tableau ci-dessous indique la signification des différents voyants.
| Intitulé duvoyant | Fonction | Connecteur | |
| ACT | Allumé à la mise sous tension Clignote lorsque le routeur est alimenté et lorsqu'il est actif. Clignote également lors de la mise à jour | PWR | |
| Témoins du débit (3 leds) | Varient selon le taux d'occupation de la bande passante | ||
| WAN | Allumé lorsque le routeur est connecté à un modem xDSL ou à un modem cable | WAN | |
| Online | Allumé lorsque la connexion Internet est établie | ||
| LAN | P1 à P4 | Vert, lorsque la communication est établie à 100 Mbps Orange, lorsque la communication est établie à 10 Mbps 1 - Allumé lorsqu'un ordinateur est connecté et qu'aucun paquet n'est émis ou reçu 2 - Clignote lorsque des paquets sont émis ou reçus du commutateur Ethernet ou des ordinateurs connectés | P1 à P4 |
| VPN | Allumé lorsqu'une connexion VPN est établie | ||
Remarque: si levoyant ACT et levoyant situé à côté clignotent simultanément, cela signifie que le serveur TFTP est démarré. Voitre routeur est prét à receivevoir une nouvelle mise à jour.
Connecteurs
Tous les connecteurs du VPN Booster 8 sont regroupés sur sa face arrière. Reportez-vous aux schémas de raccordement dans la section « Raccordements du VPN Booster 8 » page 12.
Bouton Factory Reset
Si vous désirez remettre votre routeur en configuration d'usine, procedez comme suit :
- Lorsque votre routeur est sous tension, appuyez et maintenez une pression sur le bouton Factory Reset pendant plus de 5 secondes.
- Une fois que levoyant ACT commence a clignoter rapidement,relachez le bouton.Le routeur redemarrera alors avec les parametes d'usine.
Pour effectuer une mise à jour sans utiliser le configurateur Web ou Telnet de votre routeur, précédez comme suit :
- Debranchez l'alimentation votre routeur.
- Appuyez et maintenez une pression sur le bouton Factory Reset tout en rebranchant l'alimentation.
- Levoyant ACT clignote rapidement signifiant que le serveur TFTP est demarré et que votre routeur est pré à receivevoir une nouvelle mise à jour. Relâchez le bouton.
- Lancez l'Assistant de mise à jour et mettez à jour votre routeur (reportez-vous au chapitre « Mise à jour du routeur » page 197).
Voyants lumineux et connecteurs de la Série VPN Booster 32
Voyants lumineux
Voyants lumineux des VPN Booster 32, 32 g et 32 i
Situés sur l'avant du VPN Booster 32 / 32g / 32 i, les voyants lumineux renseignent sur l'etat du routeur et des connexions. Le tableau ci-dessous indique la signification des différents voyants.
| Intitulé duvoyant | Fonction | Connecteur | ||
| ACT | Allumé à la mise sous tensionClignote lorsque le routeur est alimenté et lorsqu'il estactif. Clignote également lors de la mise à jour | PWR | ||
| VPN Booster32 | DMZ | Allumé lorsque l'hôte DMZ est activé | ||
| QoS | Allumé lorsque le contrôle QoS est activé | |||
| VPN Booster | QoS | Allumé lorsque le contrôle QoS est activé | ||
| WLAN | Allumé lorsqu'une connexion Wireless est établie | |||
| 32gVPN Booster32 i | ISDN | Allumé lorsqu'il y a du traffic sur la ligne RNIS | ISDN | |
| QoS | Allumé lorsque le contrôle QoS est activé | |||
| Attack | Allumé si les défenses DoS ont été activées et si untentative d'intrusion (ou une requête interprétée comme telle) a été détectée par le routeur | |||
| VPN | Allumé lorsqu'une connexion VPN est établie | |||
| Printer | Allumé lorsqu'une imprimante est branchée sur le portUSB du routeur | Printer | ||
| WAN | Allumé lorsque le routeur est connecté à un modem xDSL ou à un modem cable | WAN | ||
| LAN | P1 à P4 | Vert, lorsque la communication est établie à 100 MbpsOrange, lorsque la communication est établie à 10 Mbps1 - Allumé lorsqu'un ordinateur est connecté et qu'aucenpaquet n'est émis ou reçu2 - Clignote lorsque des paquets sont émis ou reçus ducommutateur Ethernet ou des ordinateurs connectés | P1 à P4 | |
Remarque : si levoyant ACT et levoyant situé a cotoé clignotent simultanément, cela signifie que le serveur TFTP est démarré. Voitre routeur est prét à receivevoir une nouvelle mise à jour.
Voyants lumineux des VPN Booster 32 V et 32 Vg
Situés sur l'avant du VPN Booster 32 V / 32 Vg, les voyants lumineux renseignent sur l'etat du routeur et des connexions. Le tableau ci-dessous indique la signification des différents voyants.
| Intitulé duvoyant | Fonction | Connecteur | ||
| ACT | Allumé à la mise sous tension Clignote lorsque le routeur est alimenté et lorsqu'il est actif. Clignote également lors de la mise à jour | PWR | ||
| QoS | Allumé lorsque le contrôle QoS est activé | |||
| Phone | FXS1 / FXS2 | Clignote lors de la détention de sonnerie Allumé lors de la prise de ligne | FXS1 / FXS2 | |
| VPN Booster 32 V | VPN | Allumé lorsqu'une connexion VPN est établie | ||
| VPN Booster 32 Vg | WLAN | Allumé lorsqu'une connexion Wireless est établie | ||
| Printer | Allumé lorsqu'une imprimante est branchée sur le port USB du routeur | Printer | ||
| WAN | Allumé lorsque le routeur est connecté à un modem xDSL ou à un modem cable | WAN | ||
| LAN | P1 à P4 | Vert, lorsque la communication est établie à 100 Mbps Orange, lorsque la communication est établie à 10 Mbps 1 - Allumé lorsqu'un ordinateur est connecté et qu'aucun paquet n'est émis ou reçu 2 - Clignote lorsque des paquets sont émis ou reçus du commutateur Ethernet ou des ordinateurs connectés | P1 à P4 | |
Remarque : si levoyant ACT et levoyant situé à côté clignotent simultanément, cela signifie que le serveur TFTP est démarré. Voitre routeur est prét à receivevoir une nouvelle mise à jour.
Connecteurs
Tous les connecteurs du VPN Booster 32 sont regroupés sur sa face arrêté. Selon le modele dont vous diposez, reportez-vous aux schémas de raccordement dans les sections « Raccordements des VPN Booster 32, 32 g et 32 i » page 14 ou « Raccordements des VPN Booster 32 V et 32 Vg » page 17.
Bouton Factory Reset
Si vous désirez remettre votre routeur en configuration d'usine, précédez comme suit :
- Lorsque votre routeur est sous tension, appuyez et maintenez une pression sur le bouton Factory Reset pendant plus de 5 secondes.
- Une fois que levoyant ACT commence a clignoter rapidement,rela重心 le bouton.Le routeur redemarrera alors avec les parametes d'usine.
Pour effectuer une mise à jour sans utiliser le configurateur Web ou Telnet de votre routeur, précédez comme suit :
- Debranchez l'alimentation votre routeur.
- Appuyez et maintenez une pression sur le bouton Factory Reset tout en rebranchant l'alimentation.
- Levoyant ACT clignote rapidement signifiant que le serveur TFTP est demarré et que votre routeur est pré à receiveoir une nouvelle mise à jour. Relâchéz le bouton.
- Lancez l'Assistant de mise à jour et mettez à jour votre routeur (reportez-vous au chapitre « Mise à jour du routeur » page 197).
Equipement informatique existant au sein de l'entreprise
Vouss pouvez vous trouver dans differents cas de figure au moment d'installer le VPN Booster.
Votre réseau local n'est pas encore installé
Les ordinateurs de l'entreprise que vous souhaitez raccorder au routeur disposent chacun d'une carte Ethernet mais le réseau n'a pas encore ete instalé.
VousdevezconfigurerlescartesEthernetéquipantlesordinateurs.
Voussouvezchoisirentredeuxmodesd'adressageIP pourvoretreseau:
- Adresses IP dynamiques : les adresses IP sont assignées dynamiquement aux ordinateurs par le serveur DHCP du VPN Booster. Ce mode d'adressage présente l'avantage d'être simple à partager en œuvre. Il convient dans le cadre de l'accès à Internet et de la connexion de postes distants.
Si vous étés dans ce cas, nous vous conseillons de conserver la configuration IP par défaut du VPN Booster (adresse IP: 192.168.1.1, masque de sous-réseau : 255.255.255.0, serveur DHCP activé).
- Pour raccorder les ordinateurs au VPN Booster, en fonction du modele de routeur dont vous disposez, reportez-vous au chapitre « Raccordements du routeur » page 12, puis suivez les instructions.
- Pour configurer les ordinateurs, reportez-vous au chapitre « Configuration des ordinateurs » page 26.
-
Pour configurer le routeur, vous pouvez utiliser l'Assistant de démarrage (voir « Installation etutilisation de l'Assistant de démarriage » page 59) ou vous reporter directement au chapitre « Accès à l'administration HTML du routeur » page 66.
-
Adresses IP fixes: chaque ordinateur possède une adresse IP fixe, paramétrée par l'administrateur. Ce mode d'adressage nécessite une bonne connaissance de l'architecture du réseau local et des adresses IP. Il permet une administration plus avancée du réseau. L'adressage fixe est recommendé dans le cadre de l'interconnexion de réseaux.
Si vous étés dans ce cas, nous vous conseillons de conserver l'adresse IP par défaut du VPN Booster (adresse IP = 192.168.1.1, masque de sous-réseau 255.255.255.0). Vous devrez désactiver le serveur DHCP du routeur.
- Pour raccorder les ordinateurs au VPN Booster, en fonction du modele de routeur dont vous disposez, reportez-vous au chapitre « Raccordements du routeur » page 12, puis suivez les instructions.
- Pour configurer les ordinateurs, reportez-vous au chapitre « Configuration des ordinateurs » page 26. Attribuez une adresse IP fixe différente à chaque ordinateur (ex.: 192.168.1.2, 192.168.1.3, 192.168.1.4...).
- Pour configurer le routeur, vous pouvez utiliser l'Assistant de démarrage (voir « Installation etutilisation de l'Assistant de démarriage » page 59) ou vous reporter directement au chapitre « Accès à l'administration HTML du routeur » page 66.
Votre réseau local est déjà installé mais il n'utilise pas le protocole TCP/IP
Votre reseau local est installe mais fonctionne dans un autre protocole que TCP/IP, par exemple NetBEUI ou IPX/SPX.
Voudevasjouterle protocoleTCP/IP surles ordinateurs duseau.
Voupez choose un mode d'adressage IP fixe ou dynamique, en fonction du cadre d'utilisation du routeur (voir la section precedente « Notre réseau local n'est pas encore installé »).
Votre réseau local est déjà installé et utilise le protocole TCP/IP
Si vous réseau local est déjà installé et qu'il utilise le protocole TCP/IP, vous devrez tener compte du type d'administration qui a été mis en place. Vous vous trouvez dans l'une des deux situations suivantes :
-
Adressage IP dynamique : les adresses IP sont assignées dynamiquement aux ordinateurs du réseau par un serveur DHCP (Windows NT, autre routeur...). Si vous souhaitez conserver l'architecture réseau existante lors de l'installation du VPN Booster, vous devez :
-
désactiver le serveur DHCP du VPN Booster ;
- attribuer au VPN Booster une adresse IP apparanten au plan d'adressage du serveur DHCP en place ;
Important: si l'adresse IP par défaut du routeur (192.168.1.1) n'est pas compatible avec votre réseau, vous doivent impérativement la modifier grâce à l'Assistant de démarrage (voir « Installation et'utilisation de l'Assistant de démarrage » page 59).
- réserver l'adresse IP du VPN Booster sur le serveur DHCP;
-
compléter la configuration des ordinateurs du réseau local devant utiliser le VPN Booster (passerelle TCP/IP, serveur DNS...).
-
Adressage IP fixe : une adressse IP fixe a ete parametrée pour chaque ordinateur ou equipement du reseau. Si vous souhaitez conserver l'architecture reseau existante lors de 1'installation du VPN Booster, vous devez :
-
désactiver le serveur DHCP du VPN Booster ;
- attribuer au VPN Booster une adresse IP unique appartenant au plan d'adressage IP du réseau ;
Important: si l'adresse IP par défaut du routeur (192.168.1.1) n'est pas compatible avec votre réseau, vous doivent impérativement la modifier grâce à l'Assistant de démarrage (voir « Installation et'utilisation de l'Assistant de démarrage » page 59).
- compléter la configuration des ordinateurs du réseau local devant utiliser le VPN Booster (passerelle TCP/IP, serveur DNS...).
Configuration des ordinateurs
Ce chapitre vous concerne si vous reseau local n'est pas encore installe, si vous reseau local n'utilise pas le protocole TCP/IP ou tout simplement si vous souhaitez vérifier la configuration de vos ordinateurs.
Nous documentons ici la configuration des ordinateurs fonctionnant sous les systèmes d'exploitation suivants : Windows 95/98/Me, Windows NT 4.0, Windows 2000, Windows XP, Mac OS 9 et Mac OS X.
Remarque : nous considérons ici que les cartes Ethernet sont déjà installées dans les ordinateurs. Pour toute question relative à leur installation ou à leur fonctionnement, veuillez vous reporter à la documentation fournie par le constructeur de celles-ci.
PC sous Windows 95/98/Me
Vérification des protocoles
Le VPN Booster utilise le protocole réseau TCP/IP, il faut donc que celui-ci soit installé sur votre PC. Nous vous conseillons aussi d'installer le protocole NetBEUI pour une meilleure gestion du réseau Microsoft. Procedez comme suit :
- Cliquez sur Demarrer, pointez sur Paramètres, puis cliquez sur Panneau de configuration. Effectuez ensuite un double-clicsur l'iconeRéseau.

-
Dans la liste Les composants réseau suivants sont installés de l'onglet Configuration, vérifie si les éléments suivants sont prêts :
-
NetBEUI -> nom de votre carte réseau
- TCP/IP->nom de votre carte réseau
Si ces composants sont tous les deux premiers, passez directement à la section « Paramétrage du PC » page 28. Dans le cas contraire procédéz à l'installation des protocoles manquants.
Installation du protocole TCP/IP
- Dans l'onglet Configuration de la fenêtre Réseau, cliquez sur Ajouter....
- Dans la fenêtre Sélection du type de composant réseau, Sélectionnez Protocole, puis cliquez sur Ajouter....

- Dans la liste Constructeurs, Sélectionnéz Microsoft et TCP/IP dans la liste Protocôques réseau.

- Cliquez ensuite sur OK dans chacune des fenêtres et suivez les instructions à l'écran afin de valider les modifications.
Installation du protocole NetBEUI
- Dans l'onglet Configuration de la fenêtre Réseau, cliquez sur Ajouter....
- Dans la fenêtre Sélection du type de composant réseau, Sélectionnez Protocole, puis cliquez sur Ajouter....

- Dans la liste Constructeurs, Sélectionnez Microsoft et NetBEUI dans la liste Protocôques réseau.

- Cliquez ensuite sur OK dans chacune des fenêtres et suivez les instructions à l'écran afin de valider les modifications.
Paramétrage du PC
Nous avons vu dans le chapitre « Equipement informatique existant au sein de l'entreprise » page 24, que vous réseau local TCP/IP pouvait fonctionner avec des adresses IP dynamiques ou fixes. En fonction de votre choix, reportez-vous à la section correspondante.
Adresse IP dynamique
Voues aze chosi dutiliser le serveur DHCP du VPN Booster afin que celui-ci alloue dynamiquement des adresses IP aux ordinateurs du réseau local, procedez comme suit :
- Cliquez sur Demarrer, pointez sur Paramètres, puis cliquez sur Panneau de configuration. Effectuez ensuite un double-clicsur l'iconeRéseau.
- Dans le groupe Les composants réseau suivants sont installés, Sélectionnez TCP/IP -> nom de votre carte réseau, puis-cliquez sur Propriétés.
- Dans l'onglet Adresse IP de la fenêtre Propriétés TCP/IP, Sélectionnez l'options Obtenir automatiquement une adresse IP.

Vou des nez ensuite proceder à la configuration de la passerelle. Continuez le parametrage à l'etape 2 de la section « Passerelle » page 30.
Adresse IP fixe
Vouaveschoisi d'attribuer des adresses IP fixes aux ordinateurs du réseau local.Procedez comme suit :
- Cliquez sur Demarrer, pointez sur Paramètres, puis cliquez sur Panneau de configuration. Effectuez ensuite un double-clicsur l'iconeRéseau.
- Dans le groupe Les composants réseau suivants sont installés, Sélectionnez TCP/IP -> nom de votre carte réseau, puis-cliquez sur Propriétés.
- Dans l'onglet Adresse IP de la fenêtre Propriétés TCP/IP, Sélectionnez l'options Spécifier une adresse IP.
- Dans la rubrique Adresse IP, entrez l'adresse IP que vous avez decide d'attribuier au PC.
Important :
- L'adresse IP du PC doit impératifement être comprise dans la même plage d'adressage que celle du VPN Booster.
- L'adresse IP du PC doit être unique, c'est-à-dire différente de celle des autres équipements présents sur le réseau local (ordinateurs, VPN Booster ...).
- L'adresse IP du PC doit appartenir à une plage réservée aux réseaux privés. En effet votre réseau local ne doit pas utiliser des adresses réservées à Internet. Cela provoquerait des problèmes dans le cadre de la connexion de votre réseau à Internet.
En cas de doute sur ces points, vous doivent prendre conseil auprès d'un spécialiste réseaux.
- Dans la rubrique Masque de sous-réseau, entrez la valeur du masque de sous-réseau par défaut du VPN Booster, soit « 255.255.255.0 »

Dans l'exemple ci-dessus, l'adresse IP et le masque de sous-réseau alloués au PC sont compatibles avec les paramètres IP par défaut du VPN Booster.
Vou des nez ensuite proceder à la configuration de la passerelle. Continuez le parametrage à 1'etape 2 de la section « Passerelle »
Passerelle
Quel que soit le mode d'adressage IP choisi (fixe ou dynamique), vous devez indiquer l'adresse IP du VPN Booster. Procedez comme suit :
- Cliquez sur Demarrer, pointez sur Paramètres, puis cliquez sur Panneau de configuration. Effectuez ensuite un double-clicsur l'iconeRéseau.
- Cliquez sur l'onglet Passerelle.

- Dans la rubrique Nouvelle passerelle, entrez l'adresse IP attribuée au VPN Booster, puis cliquez sur Ajouter.
Rappel: par défaut, l'adresse IP du VPN Booster est « 192.168.1.1 »
Voudevez ensuite proceder à la configuration DNS.Continuez le parametrage a 1'etape 2 de la section «DNS»
DNS
Les serveurs DNS permettent la résolution des noms symboliques sur Internet. Pour effectuer la configuration DNS de votre PC, précédez comme suit :
- Cliquez sur Demarrer, pointez sur Paramêtres, puis cliquez sur Panneau de configuration. Effectuez ensuite un double-clic sur l'icone Réseau.
- Cliquez sur l'onglet Configuration DNS.
- Cochez la case Activer DNS.
- Dans les rubriques Hôte et Domaine, indiquez respectivement le nom de votre FAI et le suffixe de Domaine (exemple : « fr » dans la rubrique Domaine).
- Dans la zone Ordre de recherche DNS, saisissez de préférence l'adresse IP du routeur. De cette façon, vous utilisez la fonction Proxy DNS du routeur qui permet d'optimiser la navigation.
Remarque concernant le VPN Booster 32 i: ce paramétrage est notamment nécessaire si vous utilisez deux FAI distints pour la connexion RNIS et pour la connexion xDSL. La fonction Proxy DNS vous permet de ne pas modifier l'adresse du serveur DNS dans les propriétés TCP/IP à chaque fois que vous changez de mode de connexion.
Sinon, you pourz eaglement saisir l'adresse de serveur DNS indiquee par voite FAI (pour cela, reportez-vous a la documentation fournie par celui-ci lors de la souscription de 1'abonnement).
Remarque: le cas échéant, vous pouvez indiquer plusieurs adresses de serveurs DNS. Celle qui apparait en tête de liste sera utilisé en priorité.

Cliquez ensuite sur Ajouter.
- Cliquez ensuite sur OK dans chacune des fenêtres et suivez les instructions à l'écran afin de valider les modifications.
Vérification de la configuration
Les utilisaires Winipcfg et Ping, livrés avec Windows 95/98/Me, vous permettent de vérifier que la configuration réseau du PC est correcte et qu'il peut dialoguer avec le VPN Booster.
Avant d'exécuter ces utilisaires, assurez-vous que le VPN Booster est sous tension et que les cables Ethernet sont correctement branchés ( selon le modèle de routeur dont vous disposez, reportez-vous aux parties « Raccordement du routeur à l'alimentation électrique » et « Raccordement Ethernet » dans le chapitre « Raccordements du routeur » page 12, puis suivez les instructions).
Winipcfg
L'utilitaire Winipcfg permet de vérifier que votre configuration a bien ete prise en compte. Procedez comme suit :
- Cliquez sur Demarrer, puis sur Exécuter....
- Tapez « Winipcfg », puis cliquez sur OK.

- Dans la liste déroulante, Sélectionnez votre carte Ethernet.
Voudevez retrouver les valeurs de configuration reseau du PC :
- Adresse de la carte : adressé physique (MAC) de la carte ;
- Adresse IP : adressé IP de la carte. Cette adresse peut varier à chaque démarrage du PC si vous avez opté pour une adresse IP dynamique allouée par le serveur DHCP du VPN Booster ;
- Masque de sous-reseau : masque de sous-reseau de la carte ;
- Passerelle par défaut : adresse IP du VPN Booster.
Ping
L'utilitaire Ping permet de tester le dialogue entre le PC et le VPN Booster à travers le protocole TCP/IP. Procedez comme suit :
- Cliqueur Demarrer, pointez sur Programmes, puis cliquez sur Commandes MS-DOS.
- Dans la boîte de dialogue de commandes MS-DOS, tapez « ping » suivi de l'adresse IP du VPN Booster, puis appuyez sur la touche ENTRÉE.
Remarque: si vous n'avez pas changé les paramètres IP par défaut du VPN Booster, vous devez donc taper « ping 192.168.1.1 »
Dans l'exemple ci-dessous, le dialogue entre le PC et le VPN Booster s'est correctement établi. Si vous obtenez un écran similaire, c'est que votre configuration est opérationnelle.

Dans l'exemple ci-dessous, le PC n'a pu dialoguer avec le VPN Booster. Si vous obtenez un écran similaire, c'est que votre configuration n'est pas opérationnelle. Vérifiez les adresses IP et la connexion des cables.

PC sous Windows NT
Vérification des protocoles
Le VPN Booster utilise le protocole réseau TCP/IP, il faut donc que celui-ci soit installé sur votre PC. Nous vous conseillons aussi d'installer le protocole NetBEUI pour une:
meilleure gestion du réseau Microsoft.
- Cliquez sur Demarrer, pointez sur Paramètres, puis cliquez sur Panneau de configuration. Effectuez ensuite un double-clicsur l'iconeRéseau.
- Cliquez sur l'onglet Protocoques.

-
Dans la liste Protocôles réseau, vérifie si les éléments suivants sont prêsent :
-
Protocole NetBEUI
- Protocole TCP/IP
Si ces composants sont tous les deux premiers, passez directement à la section « Paramétrage du PC » page 34. Dans le cas contraire, procédez à l'installation des protocôles manquants.
Installation du protocole TCP/IP
- Dans l'onglet Protocôtes de la fenêtre Réseau, cliquez sur Ajouter....
- Dans la liste Protocole réseau, sélectionnéz Protocole TCP/IP.

- Cliquez ensuite sur OK dans chacune des fenêtres et suivez les instructions à l'écran afin de valider les modifications.
Installation du protocole NetBEUI
- Dans l'onglet Protocôtes de la fenêtre Réseau, cliquez sur Ajouter....
- Dans la liste Protocole réseau, selectionnez Protocole NetBEUI.

- Cliquez ensuite sur OK dans chacune des fenêtres et suivez les instructions à l'écran afin de valider les modifications.
Paramétrage du PC
Nous avons vu dans l'introduction que votre réseau local TCP/IP pouvait fonctionner avec des adresses IP dynamiques ou fixes. En fonction de votre choix, reportez-vous à la section correspondante.
Adresse IP dynamique
Vouaveschoisi dutiliser le serveur DHCP du VPN Booster afin que celui-ci alloue dynamiquement des adresses IP aux ordinateurs du réseau local,procedez comme suit:
- Cliquez sur Demarrer, pointez sur Paramètres, puis cliquez sur Panneau de configuration. Effectuez ensuite un double-clicsur l'icone Réseau.
- Cliquez sur l'onglet Protocoques.
- Sélectionnez Protocole TCP/IP, puis cliquez sur Propriétés.

- La fenêtre Propriétés de Microsoft TCP/IP s'ouvre sur l'onglet Adresse IP.

Dans la rubrique Carte réseau, Sélectionnez votre carte réseau.
- Sélectionnez l'option Obtenir une adresse IP par un serveur DHCP.
Cliquez sur Avance....
- Dans la zone Passerelles, cliquez sur Ajouter....

- Dans la rubrique Adresse de passerelle, indiquez l'adresse IP du routeur, puis cliquez sur Ajouter.
Rappel: par défaut, l'adresse IP du VPN Booster est « 192.168.1.1 »

- Cliquez sur OK. Le paramétrage de l'adresse IP de votre PC est terminé. Vous devez maintainant procédé à la configuration DNS. Reportez-vous pour cela à la section « DNS » page 37.
Adresse IP fixe
Vouaveschoisi d'attribuer des adresses IP fixes aux ordinateurs du réseau local.Procedez comme suit :
- Cliquez sur Demarrer, pointez sur Paramêtres, puis cliquez sur Panneau de configuration. Effectuez ensuite un double-clicsur l'icone Rseau.
- Cliquez sur l'onglet Protocoques.
- Sélectionnez Protocole TCP/IP, puis cliquez sur Propriétés. La fenêtre Propriétés de Microsoft TCP/IP s'ouvre sur l'onglet Adresse IP.
- Dans la rubrique Carte reseau, selectionnez votre carte reseau.
- Sélectionnez Spécifier une adresse IP.

- Dans la rubrique Adresse IP, entrez l'adresse IP que vous avez decide d'attribuier au PC.
Important :
- L'adresse IP du PC doit impératifement être comprise dans la même plage d'adressage que celle du VPN Booster.
- L'adresse IP du PC doit être unique, c'est-à-dire différente de celle des autres équipements présents sur le réseau local (ordinateurs, VPN Booster ...).
- L'adresse IP du PC doit appartenir à une plage réservée aux réseaux privés. En effet, votre réseau local ne doit pas utiliser des adresses réservées à Internet. Cela provoquerait des problèmes dans le cadre de la connexion de votre réseau à Internet.
En cas de doute sur ces points, vous doivent prendre conseil auprès d'un spécialiste réseaux.
- Dans la rubrique Masque de sous-réseau, entrez la valeur du masque de sous-réseau par défaut du VPN Booster, soit « 255.255.255.0 »
- Dans la rubrique Passerelle par défaut, entrez l'adresse IP attribuée au VPN Booster, puis cliquez sur Ajouter.
Rappel: par défaut, l'adresse IP du VPN Booster est « 192.168.1.1 »
VoudevezensuiteprocederàlaconfigurationDNS(voir ci-apres).
DNS
Les serveurs DNS permettent la résolution des noms symboliques sur Internet. Pour effectuer la configuration DNS de cette PC, procédez comme suit :
- Dans la fenêtre Propriétés de Microsoft TCP/IP, cliquez sur l'onglet DNS.
- Dans les rubriques Nom d'hôte et Domaine, indiquez respectivement le nom de votre FAI et son suffixe de Domaine (exemple : « fr » dans la rubrique Domaine).

- Dans la zone Ordre de recherche du service DNS, cliquez sur Ajouter....
- Saisissez de préférence l'adresse IP du routeur. De cette façon, vous utilisez la fonction Proxy DNS du routeur qui permet d'optimiser la navigation.
Remarque concernant le VPN Booster 32 i: ce paramétrage est notamment nécessaire si vous utilisez deux FAI distints pour la connexion RNIS et pour la connexion xDSL. La fonction Proxy DNS vous permet de ne pas modifier l'adresse du serveur DNS dans les propriétés TCP/IP à chaque fois que vous changez de mode de connexion.
Sinon, you pourz eaglement saisir l'adresse de serveur DNS indiquee par suaive FAI (pour cela, reportez-vous a la documentation fournie par celui-ci lors de la souscription de I'abonnement).
Remarque : vous pouvez ajouter successivement plusieurs adresses de serveurs DNS. Dans ce cas, c'est celle qui apparait en tete de liste qui sera utilisé en priorité.

Cliquez ensuite sur Ajouter.
- Cliquez ensuite sur OK dans chacune des fenêtres et suivez les instructions à l'écran afin de valider les modifications.
Vérification de la configuration
Les utilisaires Ipconfig et Ping, livrés avec Windows NT, vous permettent de vérifier que la configuration réseau du PC est correcte et qu'il peut dialoguer avec le VPN Booster.
Avant d'executer ces utilisaires, assurez-vous que le VPN Booster est sous tension et que les cables Ethernet sont correctement branchés ( selon le modele de routeur dont vous disposez, reportez-vous aux parties « Raccordement du routeur à l'alimentation electrique » et « Raccordement Ethernet » dans le chapitre « Raccordements du routeur » page 12, puis suivez les instructions).
Ipcfg
L'utilitaire Ipconfig permet de vérifier que votre configuration a bien eté prise en compte. Procedez comme suit :
- Cliquez sur Demarrer, pointez sur Programmes, puis cliquez sur Invite de commande.
- Dans la fenêtre Invite de commandes, tapez « Ipconfig », puis appuyez sur la touche ENTRÉE.

La fenêtre affiche les principales caractéristiques de la configuration IP de votre PC, à savoir :
- le modele de carte Ethernet instalé ;
- l'adresse IP de la carte. Cette adresse peut varier à chaque démarriage du PC si vous avez opté pour une adresse IP dynamique allouée par le serveur DHCP du VPN Booster ;
- le masque de sous-réseau utilisé ;
- la passerelle par défaut (adresse IP du VPN Booster).
Ping
L'utilitaire Ping permet de tester le dialogue entre le PC et le VPN Booster à travers le protocole TCP/IP. Procedez comme suit :
- Cliquez sur Demarrer, pointez sur Programmes, puis cliquez sur Invite de commandes.
- Dans la fenêtre Invite de commandes, tapez « ping » suivi de l'adresse IP du VPN Booster, puis appuyez sur la touche ENTRÉE.
Remarque: si vous n'avez pas changé les paramètres IP par défaut du VPN Booster, vous nevez donc taper « ping 192.168.1.1 »
Dans l'exemple ci-dessous, le dialogue entre le PC et le VPN Booster s'est correctement établi. Si vous obtenez un écran similaire, c'est que votre configuration est opérationnelle.

Dans l'exemple ci-dessous, le PC n'a pu dialoguer avec le VPN Booster. Si vous obtenez un écran similaire, c'est que votre configuration n'est pas opérationnelle. Vérifiez les adresses IP et la connexion des cables.

PC sous Windows 2000
Vérification des protocoles
Le VPN Booster utilise le protocole réseau TCP/IP. Celui-ci est installé par défaut dans Windows 2000. Nous vous conseillons aussi d'installer le protocole NetBEUI pour une meilleure gestion du réseau Microsoft.
- Cliquez sur Demarrer, pointez sur Paramétres, puis cliquez sur Panneau de configuration. Effectuez ensuite un double-clic sur l'icone Connexions réseau et accès à distance.
- Avec le bouton droit de la souris, cliquez sur Connexion au réseau local et selectionnez Propriétés dans le menu.

-
Dans la liste Les composants sélectionnés sont utilisés par cette connexion, vérifie si les éléments suivants sont prêsent :
-
Protocole NetBEUI
- Protocole Internet (TCP/IP)
Si ces composants sont tous les deux premiers, passez directement à la section « Paramétrage du PC » page 41. Si le protocole NetBEUI est manquant, précisé à son installation.
Installation du protocole NetBEUI
- Cliquez sur Installer.... Dans la fenetre Sélection du type de composant réseau, sélectionnez Protocole, puis cliquez sur Ajouter....

- Sélectionnez la ligne Protocole NetBEUI, puis cliquez sur OK.

- Cliquez ensuite sur OK et suivez les instructions à l'écran afin de valider les modifications.
Paramétrage du PC
Nous avons vu dans l'introduction que votre réseau local TCP/IP pouvait fonctionner avec des adresses IP dynamiques ou fixes. En fonction de votrechioix, reportez-vous à la section correspondante.
Adresse IP dynamique
Voues aze chosi dutiliser le serveur DHCP du VPN Booster afin que celui-ci alloue dynamiquement des adresses IP aux ordinateurs du réseau local, procedez comme suit :
- Cliquez sur Demarrer, pointez sur Paramétres, puis cliquez sur Panneau de configuration. Effectuez ensuite un double-clic sur l'icone Connexions réseau et accès à distance.
- Avec le bouton droit de la souris, cliquez sur Connexion au réseau local et selectionnez Propriétés dans le menu.
- Sélectionnéz l'élement Protocole Internet (TCP/IP), puis cliquez sur Propriétés.

- Sélectionnez l'option Obtenir une adresse IP automatiquement.
- Sélectionnez l'option Utiliser l'adresse de serveur DNS suivante.
Saisissez de préférence l'adresse IP du routeur. De cette façon, vous utilisez la fonction Proxy DNS du routeur qui vous permet d'optimiser la navigation.
Remarque concernant le VPN Booster 32 i: ce paramétrage est notamment nécessaire si vous utilisez deux FAI distints pour la connexion RNIS et pour la connexion xDSL. La fonction Proxy DNS vous permet de ne pas modifier l'adresse du serveur DNS dans les propriétés TCP/IP à chaque fois que vous changez de mode de connexion.

Sinon, you could see again the address of serveur DNS indiqued par voite FAI (pour cela, reportez-vous a la documentation fournie par celui-ci lors de la souscription de I'abonnement).
Le cas échéant, vous pouvez ajouter une adresse de serveur DNS secondaire dans la rubrique Serveur DNS auxiliaire.
Rappel : les serveurs DNS permettent la résolution des noms symboliques sur Internet.
Cliquez sur Avance....
- Dans la zone Passerelles par défaut, cliquez sur Ajouter....

- Dans la rubrique Passerelle, indique l'adresse IP du routeur, puis cliquez sur Ajouter.

Rappel: par défaut, l'adresse IP du VPN Booster est « 192.168.1.1 »
- Cliquez ensuite sur OK dans chacune des fenêtres et suivez les instructions à l'écran afin de valider les modifications.
Adresse IP fixe
Vouaveschoisi d'attribuer des adresses IP fixes aux ordinateurs du réseau local.Procedez comme suit :
- Cliquez sur Demarrer, pointez sur Paramétres, puis cliquez sur Panneau de configuration. Effectuez ensuite un double-clic sur l'icone Connexions réseau et accès à distance.
- Avec le bouton droit de la souris, cliquez sur Connexion au réseau local et selectionnez Propriétés dans le menu.
- Sélectionnez l'élement Protocole Internet (TCP/IP), puis cliquez sur Propriétés.
- Sélectionnez Utiliser l'adresse IP suivante.
- Dans la rubrique Adresse IP, entrez l'adresse IP que vous avez decide d'attribuer au PC.
Important :
- L'adresse IP du PC doit impératifement être comprise dans la même plage d'adressage que celle du VPN Booster.
- L'adresse IP du PC doit être unique, c'est-à-dire différente de celle des autres équipements présents sur le réseau local (ordinateurs, VPN Booster ...).
- L'adresse IP du PC doit appartenir à une plage réservée aux reseaux privés. En effet, votre réseau local ne doit pas utiliser des adresses réservées à Internet. Cela provoquerait des problèmes dans le cadre de la connexion de votre réseau à Internet.
En cas de doute sur ces points, vous doivent prendre conseil auprès d'un spécialiste reseaux.
- Dans la rubrique Masque de sous-réseau, entrez la valeur du masque de sous-réseau par défaut du VPN Booster, soit « 255.255.255.0 »
- Dans la rubrique Passerelle par défaut, entrez l'adresse IP attribuée au VPN Booster, puis cliquez sur Ajouter.
Rappel: par défaut, l'adresse IP du VPN Booster est « 192.168.1.1 »
- Sélectionnez l'option Utiliser l'adresse de serveur DNS suivante.
Saisissez de préférence l'adresse IP du routeur. De cette façon, vous utilisez la fonction Proxy DNS du routeur qui permet d'optimiser la navigation.
Remarque concernant le VPN Booster 32 i: ce paramétrage est notamment nécessaire si vous utilisez deux FAI distncts pour la connexion RNIS et pour la connexion xDSL. La fonction Proxy DNS vous permet de ne pas modifier l'adresse du serveur DNS dans les propriétés TCP/IP à chaque fois que vous changez de mode de connexion.

Sinon, you could see again the address of serveur DNS indiqued par la documentation fournie par celui-ci lors de la souscription de l'abonnement).
Le cas échéant, vous pouvez ajouter une adresse de serveurs DNS secondaire dans la rubrique Serveur DNS auxiliaire.
Rappel : les serveurs DNS permettent la résolution des noms symboliques sur Internet.
- Cliquez sur OK afin de valider les modifications.
Vérification de la configuration
Les utilisaires Ipconfig et Ping, livres avec Windows 2000, vous permettent de vérifier que la configuration réseau du PC est correcte et qu'il peut dialoguer avec le VPN Booster.
Avant d'executer ces utilisaires, assurez-vous que le VPN Booster est sous tension et que les câbles Ethernet sont correctement branchés (selon le modèle de routeur dont vous disposez, reportez-vous aux parties « Raccordement Ethernet » et « Raccordement du routeur à l'alimentation électrique » dans le chapitre « Raccordements du routeur » page 12, puis suivez les instructions).
Ipconfig
- Cliquez sur Demarrer, pointez sur Programmes, Accessoires, puis cliquez sur Invite de commandes.
- Dans la fenêtre Invite de commandes, tapez « Ipconfig », puis appuyez sur la touche ENTRÉE.

La fenêtre affiche les principales caractéristiques de la configuration IP de votre PC, à savoir :
- l'adresse IP de la carte. Cette adresse peut varier à chaque démarrage du PC si vous avez opté pour une adresse IP dynamique allouée par le serveur DHCP du VPN Booster ;
- le masque de sous-réseau utilisé ;
- la passerelle par défaut (adresse IP du VPN Booster).
Ping
L'utilitaire Ping permet de tester le dialogue entre le PC et le VPN Booster à travers le protocole TCP/IP. Procedez comme suit :
- Cliquez sur Demarrer, pointez sur Programmes, Accessoires, puis cliquez sur Invite de commandes.
- Dans la fenêtre Invite de commandes, tapez « ping » suivi de l'adresse IP du VPN Booster, puis appuyez sur la touche ENTRÉE.
Remarque: si vous n'avez pas changé les paramètres IP par défaut du VPN Booster, vous nevez donc taper « ping 192.168.1.1 »
Dans l'exemple ci-dessous, le dialogue entre le PC et le VPN Booster s'est correctement établi. Si vous obtenez un écran similaire, c'est que votre configuration est opérationnelle.

Dans l'exemple ci-dessous, le PC n'a pu dialoguer avec le VPN Booster. Si vous obtenez un écran similaire, c'est que votre configuration n'est pas opérationnelle. Vérifiez les adresses IP et la connexion des cables.

PC sous Windows XP
Vérification des protocoles
Le VPN Booster utilise le protocole réseau TCP/IP. Celui-ci est installé par défaut dans Windows XP.
- Cliquez sur démarrer, puis sur Panneau de configuration.
- Cliquez sur Connexions réseau et Internet, puis sur Connexions réseau.
- Avec le bouton droit de la souris, cliquez sur Connexion au réseau local, puis selectionnez Propriétés dans le menu.

-
Dans la liste Cette connexion utilise les éléments suivants, l'élément suivant est present :
-
Protocole Internet (TCP/IP)
Paramétrage du PC
Nous avons vu dans l'introduction que votre réseau local TCP/IP pouvait fonctionner avec des adresses IP dynamiques ou fixes. En fonction de votre choix, reportez-vous à la section correspondante.
Adresse IP dynamique
Vouaveschoisi dutiliser le serveur DHCP du VPN Booster afin que celui-ci alloue dynamiquement des adresses IP aux ordinateurs du réseau local,procedez comme suit:
- Cliquez sur démarrer, puis sur Panneau de configuration.
- Cliquez sur Connexions réseau et Internet, puis sur Connexions réseau.
-
Avec le bouton droit de la souris, cliquez sur Connexion au réseau local, puis selectionnez Propriétés dans le menu.
-
Sélectionnez l'élement Protocole Internet (TCP/IP), puis cliquez sur Propriétés.

- Sélectionnez l'option Obtenir une adresse IP automatiquement.
- Sélectionnez l'option Utiliser l'adresse de serveur DNS suivante.
Saisissez de préférence l'adresse IP du routeur. De cette façon, vous utilisez la fonction Proxy DNS du routeur qui vous permet d'optimiser la navigation.
Remarque concernant le VPN Booster 32 i: ce paramétrage est notamment nécessaire si vous utilisez deux FAI distints pour la connexion RNIS et pour la connexion xDSL. La fonction Proxy DNS vous permet de ne pas modifier l'adresse du serveur DNS dans les propriétés TCP/IP à chaque fois que vous changez de mode de connexion.

Sinon, you could see again the address of serveur DNS indiqued par voite FAI (pour cela, reportez-vous a la documentation fournie par celui-ci lors de la souscription de 1'abonnement).
Le cas échéant, vous pouvez ajouter une adresse de serveur DNS secondaire dans la rubrique Serveur DNS auxiliaire.
Rappel : les serveurs DNS permettent la résolution des noms symboliques sur Internet.
Cliquez sur Avance....
- Dans la zone Passerelles par défaut, cliquez sur Ajouter....

- Dans la rubrique Passerelle, indique l'adresse IP du routeur, puis cliquez sur Ajouter.
Rappel: par défaut, l'adresse IP du VPN Booster est « 192.168.1.1 »

- Cliquez ensuite sur OK dans chacune des fenêtres et suivez les instructions à l'écran afin de valider les modifications.
Adresse IP fixe
Vouaveschoisi d'attribuer des adresses IP fixes aux ordinateurs du réseau local.Procedez comme suit :
- Cliquez sur démarrer, puis sur Panneau de configuration.
- Cliquez sur Connexions réseau et Internet, puis sur Connexions réseau.
- Avec le bouton droit de la souris, cliquez sur Connexion au réseau local, puis selectionnez Propriétés dans le menu.
- Sélectionnez l'élement Protocole Internet (TCP/IP), puis cliquez sur Propriétés.

- Sélectionnez Utiliser l'adresse IP suivante.
- Dans la rubrique Adresse IP, entrez l'adresse IP que vous avez decide d'attribuer au PC.
Important :
- L'adresse IP du PC doit impératifement être comprise dans la même plage d'adressage que celle du VPN Booster.
- L'adresse IP du PC doit être unique, c'est-à-dire différente de celle des autres équipements présents sur le réseau local (ordinateurs, VPN Booster ...).
- L'adresse IP du PC doit appartenir à une plage réservée aux reseaux privés. En effet, votre réseau local ne doit pas utiliser des adresses réservées à Internet. Cela provoquerait des problèmes dans le cadre de la connexion de votre réseau à Internet.
En cas de doute sur ces points, vous doivent prendre conseil auprès d'un spécialiste reseaux.
- Dans la rubrique Masque de sous-réseau, entrez la valeur du masque de sous-réseau par défaut du VPN Booster, soit « 255.255.255.0 »
- Dans la rubrique Passerelle par défaut, entrez l'adresse IP attribuée au VPN Booster.
Rappel: par défaut, l'adresse IP du VPN Booster est « 192.168.1.1 »
- Sélectionnez l'option Utiliser l'adresse de serveur DNS suivante.
Saisissez de préférence l'adresse IP du routeur. De cette façon, vous utilisez la fonction Proxy DNS du routeur qui vous permet d'optimiser la navigation.
Remarque concernant le VPN Booster 32 i: ce paramétrage est notamment nécessaire si vous utilisez deux FAI distints pour la connexion RNIS et pour la connexion xDSL. La fonction Proxy DNS vous permet de ne pas modifier l'adresse du serveur DNS dans les propriétés TCP/IP à chaque fois que vous changez de mode de connexion.

Le cas échéant, vous pouvez ajouter une adresse de serveurs DNS secondaire dans la rubrique Serveur DNS auxiliaire.
Rappel : les serveurs DNS permettent la résolution des noms symboliques sur Internet.
- Cliquez sur OK afin de valider les modifications.
Vérification de la configuration
Les utilisaires Ipconfig et Ping, livrés avec Windows XP, vous permettent de vérifier que la configuration réseau du PC est correcte et qu'il peut dialoguer avec le VPN Booster.
Avant d'executer ces utilisaires, assurez-vous que le VPN Booster est sous tension et que les cables Ethernet sont correctement branchés (selon le modele de routeur dont vous disposez, reportez-vous aux parties « Raccordement Ethernet » et « Raccordement du routeur à l'alimentation electrique » dans le chapitre « Raccordements du routeur » page 12, puis suivez les instructions).
Ipcfg
L'utilitaire Ipconfig permet de vérifier que votre configuration a bien eté prise en compte. Procedez comme suit :
- Cliquez sur démarrer, Tous les programmes, pointez sur Accessoires, puis cliquez sur Invite de commandes.
- Dans la fenêtre Invite de commandes, tapez « Ipconfig », puis appuyez sur la touche ENTRÉE.

La fenêtre affiche les principales caractéristiques de la configuration IP de votre PC, à savoir :
- l'adresse IP de la carte. Cette adresse peut varier à chaque démarriage du PC si vous avez opté pour une adresse IP dynamique allouée par le serveur DHCP du VPN Booster ;
- le masque de sous-réseau utilisé ;
- la passerelle par défaut (adresse IP du VPN Booster).
Ping
L'utilitaire Ping permet de tester le dialogue entre le PC et le VPN Booster à travers le protocole TCP/IP. Procedez comme suit :
- Cliquez sur démarrer, Tous les programmes, pointez sur Accessoires, puis cliquez sur Invite de commandes.
- Dans la fenêtre Invite de commandes, tapez « ping » suivi de l'adresse IP du VPN Booster, puis appuyez sur la touche ENTRÉE.
Remarque: si vous n'avez pas changé les paramètres IP par défaut du VPN Booster, vous nevez donc taper « ping 192.168.1.1 »
Dans l'exemple ci-dessous, le dialogue entre le PC et le VPN Booster s'est correctement établi. Si vous obtenez un écran similaire, c'est que votre configuration est opérationnelle.

Dans l'exemple ci-dessous, le PC n'a pu dialoguer avec le VPN Booster. Si vous obtenez un écran similaire, c'est que votre configuration n'est pas opérationnelle. Vérifiez les adresses IP et la connexion des cables.

Vérification des protocoles
Le VPN Booster utilise le protocole réseau TCP/IP, il faut donc que celui-ci soit installé sur votre Macintosh. Le protocole TCP/IP est inclus par défaut dans les versions récentes de Mac OS, notamment les versions Mac OS 8.0 et supérieures.
Remarque : nous ne documentons pas ici la configuration de Macintosh utilisant un système d'exploitation antérieur à Mac OS 9. Si vous étés dans ce cas, veuilles vous reporter à la documentation fournie par le constructeur ou faites-vous assister par un spécialiste.
Paramétrage du Macintosh
Nous avons vu dans le chapitre « Equipement informatique existant au sein de l'entreprise » page 24, que votre réseau local TCP/IP pouvait fonctionner avec des adresses IP dynamiques ou fixes. En fonction de votrechioix, reportez-vous à la section correspondante.
Adresse IP dynamique
Vouaveschoisi dutiliser le serveur DHCP du VPN Booster afin que celui-ci alloue dynamiquement des adresses IP aux ordinateurs du réseau local,procedez comme suit:
- Choisissez menu Pomme > Tableau de bord > TCP/IP.
- Dans le menu Connexion, selectionnez Ethernet.
- Dans le menu Configuration, selectionnez Via un serveur DHCP.
- Dans la rubrique Client DHCP, spécifiez un nom attribué au VPN Booster.
Rappel: par défaut, l'adresse IP du VPN Booster est « 192.168.1.1 »

- Dans la barre des menus, choisissez Fichier, puis Quitter.
- Dans la fenêtre de confirmation des modifications, cliquez sur Enregistrer.
- Redémarrez le Macintosh.
Adresse IP fixe
Vouaveschoisi d'attribuer des adresses IP fixes aux ordinateurs du réseau local.Procedez comme suit :
- Choisissez menu Pommé > Tableau de bord > TCP/IP.
- Dans le menu Connexion, selectionnez Ethernet.
- Dans le menu Configuration, Sélectionnez Manuellement.
- Dans la rubrique Adresse IP, spécifiez l'adresse IP que vous avez decide d'attribuer à votre Macintosh.
Important :
L'adresse IP du Macintosh doit impératifement être comprise dans la même plage d'adressage que celle du VPN Booster.
L'adresse IP du Macintosh doit être unique, c'est-à-dire différente de celle des autres équipements prênts sur le réseau local (ordinateurs, VPN Booster ...).
- L'adresse IP du Macintosh doit appartenir à une plage réservée aux reseaux privés. En effet, votre réseau local ne doit pas utiliser des adresses réservées à Internet. Cela provoquerait des problèmes dans le cadre de la connexion de votre réseau à Internet.
En cas de doute sur ces points, vous doivent prendre conseil auprès d'un spécialiste réseaux.
- Dans la rubrique Masque sous-réseau, spécifiez la valeur du masque de sous-réseau par défaut du VPN Booster, soit « 255.255.255.0 »
- Dans la rubrique Adresse du routeur, spécifiez l'adresse IP attribuée au VPN Booster.
Rappel: par défaut, l'adresse IP du VPN Booster est « 192.168.1.1 »
- Dans la rubrique Adr. serv. de noms, saisissez de préférence l'adresse IP du routeur. De cette façon, vous utilisez la fonction Proxy DNS du routeur qui permet d'optimiser la navigation.
Remarque concernant le VPN Booster 32 i: ce paramétrage est notamment nécessaire si vous utilisez deux FAI distints pour la connexion RNIS et pour la connexion xDSL. La fonction Proxy DNS vous permet de ne pas modifier l'adresse du serveur DNS dans les propriétés TCP/IP à chaque fois que vous changez de mode de connexion.
Sinon, you pourz eaglement saisir l'adresse de serveur DNS indiquee par voite FAI (pour cela, reportez-vous a la documentation fournie par celui-ci lors de la souscription de 1'abonnement).

- Dans la fenêtre de confirmation des modifications, cliquez sur Enregistrer.
- Redémarrez le Macintosh.
Paramétrage du Macintosh
Nous avons vu dans le chapitre « Equipement informatique existant au sein de l'entreprise » page 24, que vous réseau local TCP/IP pouvait fonctionner avec des adresses IP dynamiques ou fixes. En fonction de votre choix, reportez-vous à la section correspondante.
Adresse IP dynamique
Vouaveschoisi d'utiliser le serveur DHCP du VPN Booster afin que celui-ci alloue dynamiquement des adresses IP aux ordinateurs du réseau local, procedez comme suit :
- Effectuez un double-clic sur l'icone de votre disque dur, sur Applications, puis sur Preférences Systeme.
- Cliquez ensuite sur Réseau.
- Dans le menu Afficher, Sélectionnez Ethernet intégré.
- Dans le menu Configurer de l'onglet TCP/IP, Sélectionnez Via DHCP.
- Dans la rubrique Client DHCP, spécifiez un nom attribué au VPN Booster.
Rappel: par défaut, l'adresse IP du VPN Booster est « 192.168.1.1 »

- Cliquez sur le bouton Appliquer pour sauvegarder vos modifications.
- Dans le menu Préférences Systeme, cliquez sur Quitter Préférences Systeme.
Adresse IP fixe
Vouaveschoisi d'attribuer des adresses IP fixes aux ordinateurs du réseau local.Procedez comme suit :
- Effectuez un double-clic sur l'icone de votre disque dur, sur Applications, puis sur Preférences Systeme.
- Cliquez ensuite sur Réseau.
- Dans le menu Afficher, Sélectionnez Ethernet intégré.
- Dans le menu Configurer de l'onglet TCP/IP, Sélectionnez Manuellement.
- Dans la rubrique Adresse IP, spécifie l'adresse IP que vous avez decide d'attribuier à votre Macintosh.
Important :
- L'adresse IP du Macintosh doit impératifement être comprise dans la même plage d'adressage que celle du VPN Booster.
- L'adresse IP du Macintosh doit être unique, c'est-à-dire différente de celle des autres équipements prênts sur le réseau local (ordinateurs, VPN Booster ...).
- L'adresse IP du Macintosh doit appartenir à une plage réservée aux réseaux privés. En effet, votre réseau local ne doit pas utiliser des adresses réservées à Internet. Cela provoquerait des problèmes dans le cadre de la connexion de votre réseau à Internet.
En cas de doute sur ces points, vous doivent prendre conseil auprès d'un spécialiste reseaux.
- Dans la rubrique Sous-reseau, spécifiez la valeur du masque de sous-reseau par défaut du VPN Booster, soit « 255.255.255.0 »
- Dans la rubrique Routeur, spécifiez l'adresse IP attribuée au VPN Booster.
Rappel: par défaut, l'adresse IP du VPN Booster est « 192.168.1.1 »
- Dans la rubrique Serveurs DNS, saisissez de préférence l'adresse IP du routeur. De cette façon, vous utilisez la fonction Proxy DNS du routeur qui permet d'optimiser la navigation.
Remarque concernant le VPN Booster 32 i: ce paramétrage est notamment nécessaire si vous utilisez deux FAI distints pour la connexion RNIS et pour la connexion xDSL. La fonction Proxy DNS vous permet de ne pas modifier l'adresse du serveur DNS dans les propriétés TCP/IP à chaque fois que vous changez de mode de connexion.
Sinon, you pourz eaglement saisir l'adresse de serveur DNS indiquee par voite FAI (pour cela, reportez-vous a la documentation fournie par celui-ci lors de la souscription de 1'abonnement).

- Cliquez sur le bouton Appliquer pour sauvegarder vos modifications.
- Dans le menu Préférences Systeme, cliquez sur Quitter Préférences Systeme.
Configuration des logiciels de navigation
Nous indiquons dans ce chapitre comment les logiciels de navigation installés sur les ordinateurs du réseau local doivent être configurés pour pouvoir utiliser le VPN Booster.
Nous avons pris l'exemple des logiciels les plus couramment utilisés, à savoir Microsoft® Internet Explorer et Mozilla. Si vous disposez d'un autre logiciel de navigation, vous doivent regardier à sa documentation pour toute information sur son mode de configuration.
Microsoft® Internet Explorer
Pour un ordinateur disposant de Microsoft® Internet Explorer, procédez comme suit :
- Lancez le logiciel Internet Explorer.
- Dans le menu Outils, selectionnez Options Internet....
- Cliquez sur l'onglet Connexions.

- Dans la zone Options de numérotation et paramètres de réseau privé virtuel, si une connexion Internet est déjà configurée, Sélectionnez Ne jamais établit de connexion.
- Cliquez sur le bouton Paramètres réseau... et vérifie ensuite qu'aucune case n'est cochée dans la fenêtre Paramètres du réseau local.

- Refermez toutes les fenêtres en cliquant sur OK.
Mozilla
Pour un ordinateur disposant de Mozilla, procedez comme suit :
- Lancez le logiciel Mozilla.
- Dans le menu Edition, Sélectionnez Préférences....
- Dans la liste Catégorie, développpez la catégorie Avancées et seLECTIONNZ Proxies.
- Sélectionnéz Connexion directe à Internet.

- Cliquez sur OK afin de valider votre configuration.
Installation et utilisation de l'Assistant de démarrage
L'Assistant de démarrage permet de configurer l'adresse IP du VPN Booster, puis de lancer son configurateur HTML ou démarrer une session Telnet afin de compléter le paramétrage.
Remarque : l'utilisation de l'Assistant de démarrage n'est pas nécessaire si l'adresse IP par défaut du VPN Booster est compatible avec le plan d'adressage de votre réseau. Vous pouvez dans ce cas paramétrer directement le VPN Booster en mode HTML (voir « Accès à l'administration HTML du routeur » page 66) ou Telnet (voir « Commandes Telnet » page 183).
Configuration requise
Pour utiliser l'Assistant de démarrage du VPN Booster, vous doivent disposer d'un ordinateur dans la configuration suivante :
-
systèmes d'exploitation :
-
PC: Windows 95, 98, Me, NT 4.0, 2000 ou XP,
-
Macintosh: Mac OS 9 à Mac OS X.
-
un lecteur de CD-ROM,
- une carte réseau Ethernet et le protocole TCP/IP correctement installés (voir « Configuration des ordinateurs » page 26).
Configuration pour PC
Viete ordinateur doit etre correctement raccordé au VPN Booster, soit directement, soit via un concentrateur Ethernet (selon le modèle de routeur dont vous disposez, reportez-vous à la partie « Raccordement Ethernet » du chapitre « Raccordements du routeur » page 12).
Le VPN Booster doit être raccordé à une prise électrique (selon le réseau de routeur dont vous disposez, voir la partie « Raccordement du routeur à l'alimentation électrique » dans le chapitre « Raccordements du routeur » page 12).
Procedez comme suit :
- Insérez le CD-ROM Routeurs VPN Booster dans le lecteur du PC. Si la configuration du PC l'autorise, le programme d'installation est lancé automatiquement. Si le lancement n'est pas automatique, executez le programme autorun.exe qui se trouve à la racine du CD-ROM.
- Cliquez sur Debuter l'installation, le modele VPN Booster dont vous disposez, Utilitaires, puis sur Utilitaires VPN Booster.
- Une fois dans le programme d'installation des Utilitaires, il vous suffit de suivre les instructions de l'Assistant et de cliquer plusieurs fois sur Suivant.
- Dans la fenêtre intitulée Confirmation, cliquez sur Demarrer.
- Une fenêtre vous indique ensuite que les Utilitaires VPN Booster ont bien été installés. Cliquez sur Quitter.
- Pour lancer 1'Assistant de démarrage, cliquez sur démarrer, pointez sur Tous les programmes, Utilitaires VPN Booster, puis sur Assistant de démarrage.

- L'Assistant de démarrage apparait. La première fenêtre donne la liste de tous les routeurs présents sur votre réseau. Ils sont répertoriés avec leurs différents identifiants (adresse IP, masque de réseau, adresse MAC). Sélectionnez le routeur à configurer, puis cliquez sur Suivant>>.

Remarque: si l'Assistant de démarrage ne trouve pas le VPN Booster sur le réseau, vérifie les raccordements du cable Ethernet et la configuration du PC (carte réseau et protocole TCP/IP).
- La fenêtre d'accueil de l'Assistant de démarrage est montré ci-dessous. Dans la rubrique Mot de passer du routeur, entrez le mot de passer du VPN Booster, puis cliquez sur Suivant>>. Par défaut, le mot de passage est bewan.

- Àpres l'acceptation de votre authentification, l'Assistant de démarriage affiche la fenêtre ci-dessous. Celle-ci rappelle la configuration TCP/IP du PC et permet de configurer l'adresse IP du routeur.

Nous youe consellons de conser la configuration TCP/IP par defaut du routeur sauf si celle-ci est incompatible avec voire reseau existant (voir « Equipement informatique existant au sein de l'enterprise » page 24). Dans ce dernier cas, youe nez modifier l'adresse IP du routeur et le masque de reseau afin de les rendre compatibles avec voire plan d'adressage.
Cliquez sur Suivant>>.
- La configuration可以选择 est enregistrée et le redémarrage du réseau peut commencer (écrans ci-dessous).


- Une fois le redémarrage du routeur terminé, sélectionnez le mode par lequel vous allez le configurer : Telnet ou HTML.

- Le mode HTML permet de configurer le VPN Booster de façon très conviviale, à partir du navigateur Web installé sur le PC. Il permet de définir l'ensemble des paramètres de fonctionnement du routeur.
Si vous souhaitez paramétrer le VPN Booster en mode HTML, cliquez sur le bouton HTML. Le navigateur Web par défaut du PC est alors automatiquement lancé et la connexion avec le VPN Booster est établie. Poursuivez la lecture de ce manuel au chapitre « Accès à l'administration HTML du routeur » page 66.
- Le mode Telnet permet également de configurer le VPN Booster, mais il requiert une expérience certaine de ce mode de configuration.
Si vous souhaitez paramétrer le VPN Booster en mode Telnet, cliquez sur le bouton Telnet. Le logiciel Telnet du PC est alors automatiquement lancé et la connexion avec le VPN Booster est établie. Pour toute information concernant le mode Telnet, reportez-vous au chapitre « Commandes Telnet » page 183.
Attention : la configuration de certains paramètres n'est pas possible en session Telnet. Ce mode est davantage réservé au dépannage ou au paramétrage avancé.
Configuration pour Mac OS 9
Viete ordinateur doit etre correctement raccordé au VPN Booster, soit directement, soit via un concentrateur Ethernet (selon le modèle de routeur dont vous disposez, reportez-vous à la partie « Raccordement Ethernet » du chapitre « Raccordements du routeur » page 12).
Le VPN Booster doit être raccordé à une prise électrique (selon le modele de routeur dont vous disposez, voir la partie « Raccordement du routeur à l'alimentation électrique » dans le chapitre « Raccordements du routeur » page 12).
Procedez comme suit :
- Insérez le CD-ROM Routeurs VPN Booster dans le lecteur de votre Macintosh.
- Effectuez un double-clic sur l'icone du CD-ROM.
- Effectuez un double-click sur le dossier correspondant au modele VPN Booster dont vous disposez, Utilitaires, Mac OS Classic, puis sur Utilitaires VPN Booster afin de lancer le programme d'installation des utilisaires.
- Une fenêtre apparait. Cliquez sur Continuer.
- Sélectionnez Installation Standard, puis cliquez sur Installer. Les Utilitaires VPN Booster s'installent ensuite automatiquement dans des dossiers spécifique de votre système.
- A la fin, un message doit vous indiquer que l'installation a réussi. Cliquez sur OK.
- Lancez ensuite l'Assistant de démarrage. Pour cela, cliquez sur le menu Pomme, pointez sur Tableaux de bord, Utilitaires VPN Booster, puis cliquez sur Assistant de démarrage.
- La première fenêtre donne la liste de tous les routeurs présents sur votre réseau. Ils sont répertoriés avec leurs différents identifiants (adresse MAC, adresse IP, masque de réseau, emplacement). Sélectionnez le réseau à configurer, puis cliquez sur Ok.

Remarque: si l'Assistant de démarrage ne trouve pas le VPN Booster sur le réseau, vérifie les raccordements du cable Ethernet et la configuration du Mac (carte réseau et protocole TCP/IP).
- La fenêtre d'accueil de l'Assistant de démarrage est montré ci-dessous. Dans la rubrique Mot de passer, entrez le mot de passer du VPN Booster, puis cliquez sur Ok. Par défaut, le mot de passer est bewan.

- Àpres l'acceptation de votre authentification, l'Assistant de démarrage affiche la fenêtre ci-dessous. Celle-ci rappelle la configuration TCP/IP du Mac et permet de configurer l'adresse IP du routeur.

Nous youe consellons de conser la configuration TCP/IP par defaut du routeur sauf si celle-ci est incompatible avec voire reseau existant (voir « Equipement informatique existant au sein de l'enterprise » page 24). Dans ce dernier cas, youe nez modifier I'adresse IP du routeur et le masque de reseau afin de les rendre compatibles avec voire plan d'adressage. Cliquez sur Suivant>>.
- La configuration可以选择 est enregistrée et le redémarrage du réseau peut commencer (écran ci-dessous).

- Une fois le redémarrage du routeur terminé, cliquez sur HTML pour acceder à la configuration du routeur.

Le mode HTML permet de configurer le VPN Booster de façon très conviviale, à partir du navigateur Web installé sur le Macintosh. Il permet de définir l'ensemble des paramètres de fonctionnement du routeur.
Le navigateur Web par défaut du Macintosh est alors automatiquement lancé et la connexion avec le VPN Booster est établie. Poursuivez la lecture de ce manuel au chapitre « Accès à l'administration HTML du routeur » page 66.
Remarque : la configuration du routeur via une session Telnet est également possible sur Mac OS 9. Un logiciel Telnet est fourni sur le CD-ROM du VPN Booster. Ensemble, reportez-vous au chapitre « Commandes Telnet » page 183 pour poursuivre la configuration du routeur.
Attention : la configuration de certains paramètres n'est pas possible en session Telnet. Ce mode est davantage réservé au dépannage ou au paramétrage avancé.
Configuration pour Mac OS X
Viete ordinateur doit etre correctement raccordé au VPN Booster, soit directement, soit via un concentrateur Ethernet (selon le modèle de routeur dont vous disposez, reportez-vous à la partie « Raccordement Ethernet » du chapitre « Raccordements du routeur » page 12).
Le VPN Booster doit être raccordé à une prise électrique (selon le modele de routeur dont vous disposez, voir la partie « Raccordement du routeur à l'alimentation électrique » dans le chapitre « Raccordements du routeur » page 12).
Procedez comme suit :
- Insérez le CD-ROM Routeurs VPN Booster dans le lecteur de votre Macintosh.
- Effectuez un double-clic sur l'icone du CD-ROM.
- Effectuez un double-clic sur le dossier correspondant au modele VPN Booster dont vous disposez, Utilitaires, Mac OS X, puis sur Utilitaires VPN Booster.dmg.
- Un disque virtuel Utilitaires VPN Booster est créé sur le bureau de votre Macintosh. Effectuez un double clic sur ce disque.

- Une fenêtre s'ouvre. Lancez ensuite l'Assistant de démarrage.
- La première fenêtre donne la liste de tous les routeurs présents sur votre réseau. Ils sont répertoriés avec leurs différents identifiants (adresse MAC, adresse IP, masque de réseau, emplacement). Sélectionnez le réseau à configurer, puis cliquez sur Ok.

Remarques :
- Si l'Assistant de démarrage ne trouve pas le VPN Booster sur le réseau, vérifie les raccordements du cable Ethernet et la configuration du Macintosh (carte réseau et protocole TCP/IP).
-
Si vous rencontres plusieurs des difficultés pour détecter votre routeur, veuilles alors au préalable attribuer à votre Macintosh une adresse IP compatible avec le plan d'adressage du routeur (reportez-vous au chapitre « Configuration des ordinateurs », section « Macintosh (Mac OS X) » page 55). Lancez ensuite votre navigateur Internet et tapez l'adresse IP de votre routeur pour acceder au configurateur Web.
-
La fenêtre d'accueil de l'Assistant de démarrage est montré ci-dessous. Dans la rubrique Mot de passer, entrez le mot de passer du VPN Booster, puis cliquez sur Ok. Par défaut, le mot de passer est bewan.

- Àpès l'acceptation de votre authentification, l'Assistant de démarriage affiche la fenêtre ci-dessous. Celle-ci rappelle la configuration TCP/IP du Mac et permet de configurer l'adresse IP du routeur.

Nous vous conseillons de conserver la configuration TCP/IP par défaut du routeur sauf si celle-ci est incompatible avec votre réseau existant (voir « Equipement informatique existant au sein de l'entreprise » page 24). Dans ce dernier cas, vous nevez modifier l'adresse IP du routeur et le masque de réseau afin de les rendre compatibles avec votre plan d'adressage. Cliquez sur Suivant>>.
- La configuration可以选择 est enregistrée et le redémarrage du routeur peut commencer (écran ci-dessous).

- Une fois le redémarrage du routeur terminé, cliquez sur HTML pour acceder à la configuration du routeur.

Le mode HTML permet de configurer le VPN Booster de façon très conviviale, à partir du navigateur Web installé sur le Macintosh. Il permet de définir l'ensemble des paramètres de fonctionnement du routeur.
Le navigateur Web par défaut du Macintosh est alors automatiquement lancé et la connexion avec le VPN Booster est établie. Poursuivez la lecture de ce manuel au chapitre « Accès à l'administration HTML du routeur » page 66.
Remarque : la configuration du routeur via une session Telnet est également possible sur Mac OS X. Utilisez l'application Terminal. Ensuite, reportez-vous au chapitre « Commandes Telnet » page 183 pour poursuivre la configuration du routeur.
Attention : la configuration de certains paramètres n'est pas possible en session Telnet. Ce mode est davantage réservé au dépannage ou au paramétrage avancé.
Accès à l'administration HTML du routeur
Le mode HTML permet de configurer le VPN Booster de façon très conviviale, à partir du navigateur Web installé sur votre ordinateur. Notre moyen de navigation doit être correctement configuré (voir « Configuration des logiciels de navigation » page 57).
Suivant la version de navigateur Web utilisé, les boîtes de dialogue et l'affichage des pages HTML peuvent varier légèrement. Dans nos exemples, nous utilisons le logiciel Microsoft® Internet Explorer 6.0.
Identification lors de la première configuration
Après avoir choisi le mode de configuration HTML de l'Assistant de démarrage, le logiciel de navigation installé sur votre PC ou sur votre Mac est automatiquement lancé. Une boîte de dialogue apparait. Elle vous permet de saisir le nom d'utilisateur et le mot de passer nécessaires pour administrer le routeur.
Par défaut, ces paramètres d'identification sont les suivants :
- Nom d'utilisateur:bewan
-
Mot de passage: bewan
-
Entre les éléments de votre identification. Cliquez sur OK.

Si vous ne souhaitez pas vous identifier à chaque fois que vous configurez le routeur depuis cet ordinateur, cochez Mémoriser mon mot de passer.
Attention : dans ce cas, toute personne ayant accès à cet ordinateur pourra entraîr en mode configuration du VPN Booster. Pour des raisons de sécurité, nous vous conseillons de ne pas cocher cette case.
- Dés que votre identificaton a ete acceptee, le Menu principal du configurateur HTML du VPN Booster apparait.

Remarque: avant toute chose, si vous n'avez pas encore modifié le nom et le mot de passer d'administration du routeur, nous vous recommendons vivement de le faire pour des raisons de sécurité. Pour cela, reportez-vous au chapitre suivant « Modification des paramètres administrateur » page 69.
Identification lors des accès suivants
Après votre configuration initiale, pour acceder de nouveau au configurateur HTML du VPN Booster, procédez comme suit :
- Lancez votre logiciel de navigation.
- Dans la rubrique Adresse, entrez 1'adresse IP du VPN Booster.
Rappel: par défaut, l'adresse IP du VPN Booster est « 192.168.1.1 »
- Dés que vous navigateur a établi la connexion avec le routeur, une boîte de dialogue apparait. Renseignez les rubriques Nom d'utilisateur et Mot de passer. Cliquez ensuite sur OK.
Partie 3 : Configuration du routeur
Modification des paramètres administrateur 69
Configuration des paramètres Wireless (VPN Booster 32 g / 32 Vg)..70
Accès à Internet 79
Connexion d'équipements distants (VPN Booster 32 i)................................89
Configuration du VPN. 98
Filtres IP et Firewall 127
NAT / Ouverture de ports / DMZ 136
Gestion des plages horaires. 141
Paramétrage du DNS Dynamique 146
Paramétrage des routes statiques 151
Client RADIUS. 154
Paramétrage du service UPnP 155
Configuration du VLAN. 157
Contrôle QoS (Série VPN Booster 32)................................159
Partage de l'imprimante USB (Série VPN Booster 32) 169
Modification des paramètres administrateur
L'administrateur du réseau peut changer le nom et le mot de passer qui permette d'acceder à la configuration du routeur. En configuration d'usine, comme nous avons pu le voirAAParavant, ces paramétres sont les suivants :
- Nom d'utilisateur:bewan
- Mot de passage: bewan
Pour modifier ces paramètres, procédez comme suit :
- Dans le menu Administration Systeme, cliquez sur Parametes administrateur.
- Dans la rubrique Identifique, remplacez l'ancien nom d'utiliser par un nouveau nom de votrechioix (dans notre exemple : admin).

- Dans la rubrique Mot de passer actuel, saisissez le mot de passer qui vous a servi à acceder au configurateur HTML.
- Dans la rubrique Nouveau mot de passer, saisissez un nouveau mot de passer de votrechoix. Saisissez ensuite ce mot de passer dans la rubrique Confirmation du nouveau mot de passer.
Attention :
- Choisissez un nom et un mot de passer que vous pourrez memoriser facilement. Si vous les oubliez, vous ne pourrez plus acceder à votre configuration. Vous serez alors obligé d'effectuer un « reset » en pointant sur le bouton à l'arrête du VPN Booster, perdant ainsi tous les éléments de votre configuration actuelle.
-
Lorsque vous saisissez vos identifiants d'administration, il est impératif de tener compte des majuscules et des minuscules.
-
Vous pouvez renseigner les rubriques Administrateur et Emplacement à titre d'information. Sachez que ces rubriques n'ont aucune incidence sur le fonctionnement du VPN Booster.
- Cliquez sur OK pour valider vos nouveaux paramètres d'identification.
- Si vous utilisez Microsoft® Internet Explorer, une boîte de dialogue apparait. Saisissez le nom d'utilisateur et le mot de passer que vous avez choisis, puis cliquez sur OK.

- Àpès la saisie de vos paramètres d'identification sur l'un ou l'autre des logériels de navigation, vous avez de nouveau accès au configurateur Web du VPN Booster.
Configuration des paramètres Wireless (VPN Booster 32 g / 32 Vg)
Le réseau sans fil (WLAN ou Wireless LAN) est principalement employé lorsqu'il s'agit d'interconnector des utilisateurs nomades (par exemple des portables PC ou Macintosh) entre eux et/ou de les relier à un réseau local filaire de manière simple et rapide. Le réseau sans fil utilise des ondes radio只得 qu'une infrastructure câblée. Ces ondes en effet ne sont pas affectées par les structures d'un bâtiment et peuvent se réfléchir pour contourner les obstacles. Le WLAN offre un accès sans fil à l'ensemble des ressources et des services du réseau de l'entreprise sur un ou plusieurs bâtiments.
L'accès sans fil au réseau local permet aux utilisateurs de n'importe quel ordinateur portable d'avoir constamment accès aux ressources du réseau tout en se déplaçant librement à l'intérieur d'un site ou d'un bâtiment sans que l'accès réseau soit interrompu. Les postes pourront se déplacer sans problème à l'intérieur d'une cellule autour du point d'accès constitué par les antennes du routeur.
Base sur le standard IEEE 802.11g (54 Mbps), le VPN Booster 32g / 32Vg est également compatible avec des équipements sans fil 802.11b. Le standard 802.11g a ete developppe pour favoriser et assurer l'interoperabilite des matieres entre eux. Elle presente de nombreux avantages permettant de minimiser les interferees, de maximaliser la bande passante sur les canaux.
Remarque : des lors, un matériel 802.11g d'un constructeur pourra fonctionner sans probleme avec un matériel 802.11g d'un autre fabricant. Cela signifie que vous pouvez acheter des materiaiels Wireless de fabricants differents et les utiliser pour communiquer avec le VPN Booster 32g / 32Vg
Pour étabir une liaison entre le routeur et un équipement de liaison 802.11g (par exemple, un portable), plusieurs conditions sont nécessaires :
- les antennes fournies avec le routeur doivent être visées à l'arrière du boîtier. Elle constitue le point d'accès et agit comme un hub sur lequel les utilisateurs sans fil se connectent via les ondes.
- la station Wireless doit posseder un équipement qui fonctionne avec la norme 802.11b ou 802.11g (cartes PCMCIA, cartes PCI, boitier USB).
- les deux matériels doivent être paramétrés de façon à pouvoir dialoguer (identification du point d'accès, besoin du canal, paramétrés de sécurité, autorisation d'accès).
Une fois les antennes visées dans les emplacements prévus à l'arrière du routeur, dans le menu Configuration Elémentaire, cliquez sur Réseau Wireless.
Dans la partie Informations du réseau Wireless, l'adresse MAC du routeur apparait.

Paramètres généraux
Par défaut, la fonction Wireless est activée.

Mode
Le VPN Booster 32g / 32Vg utilise donc la norme IEEE 802.11g mais est également compatible avec la norme 802.11b. Dans la rubrique Mode, selectionnez le mode de fonctionnement du routeur.
- Si vous sélectionnez l'option 11g seulement, seules les connexions avec des matériels 802.11g peuvent être établies.
- Si vous scélectionnez l'option 11b seulement, seules les connexions avec des matériels 802.11b peuvent être établies.
- Si vous sélectionné l'option Mixte (11b+11g), cela signifie que, outre des matériels 802.11g, des matériels 802.11b peuvent également étabir la connexion avec le VPN Booster 32g / 32Vg .
ESSID
La valeur d'identification du point d'accès, baptisée ESSID, est reportée dans la configuration. Il vous suffit ensuite de rentrer un ESSID autre que celui qui est proposé par défaut, et de communiquer ce nouvel identifient aux postes clients qui profiteront du partage de connexion. Par défaut, le SSID est défaut. Pour une raison de sécurité, nous vous conseillons de changer ce SSID lors de l'installation du VPN Booster 32g / 32Vg . Il peut être régle jusqu'à 31 caractères. Il est sensible à la casse.
La station Wireless choses le point d'accès auquel elle va s'associer. Lorsqu'elle entre dans la zone d'un point d'accès et est acceptée par ce point d'accès, la station Wireless s'accorde au canal radio auquel le point d'accès est rattaché.
Ces paramètres devront être les mêmes sur tous les postes du réseau pour qu'il fonctionne. Bien sur il faudra paramétrer les paramètres standards pour qu'un réseau fonctionne, comme le nom de Domaine ou le paramétrage TCP/IP par exemple.
Canal
Il fautchosir la frquence surlaquelle les postes devront communique.Lechoix du canal dépend du point d'accès.
Ainsi, le canal sélectionné dans la rubrique correspondante sera celui utilisé pour le dialogue entre les stations Wireless et le routeur. Pour que la transmission fonctionne, il faut que les stations Wireless soient paramétrées sur la même fréquence.
Masquer l'ESSID
Cette fonction vous permet de masquer ou non l'ESSID sur le réseau sans fil. Si vous cochez l'option, le VPN Booster 32g / 32Vg ne sera pas visible. Pour s'y connecter, il vous faudra alors obligatoirement intégrer ce nom à la configuration sans fil du matériel Wireless distant (exemple : PC portable). Ceci a pour but de renforcer la sécurité.
Remarque : la rapidité de la connexion dépend de la distance entre la station Wireless et le point d'accès, mais aussi du type de bâtiment dans lequel le réseau est installé. Le transfert étant effectué par ondes radio, il profite des avantages et inconvenients de celui-ci. Par exemple si les murs du bâtiment à partir duquel le réseau est installé ont des armatures métalliques, des perturbations risquènt de se faire sentir.
Paramètres de sécurité
Lorsque you've determiné une valeur d'identification et un canal de transmission, l'un des aspects majorés du réseau sans fil est la sécurité. C'est pourquoit le VPN Booster 32g / 32Vg prévoit des mécanismes d'authentication, un mode de cryptage afin de sécuriser les données entre la station et le point d'accès. En effet, sans encryption, n'importe qui dans la zone de couverture du réseau peut interceptor et décoder les trames qui ne lui sont pas destinées. L'objet est de permettre une confidentialité des données équivalente, voire supérieure, aux réseaux câblés et donc d'accentuer la fiabilité dans la transmission des paquets de données.
Pour paramétre la sécurité, procédez comme suit :
- Dans le menu Configuration Elémentaire, cliquez sur Reseau Wireless, puis sur Parametres de sécurité.
- Sélectionnéz votre mode d'encryption. Le VPN Booster 32g / 32Vg propose 6 types de sécurité :
Remarque: par défaut, le mode est positionné sur Désacté.

WEP seulment
Le WEP (Wired Equivalent Privacy) est un mécanisme d'authentication des utilisateurs. Vous sécurise la transmission des données entre le VPN Booster 32g / 32Vg et une station cliente ou entre deux Points d'Accès au moyen d'une clé d'encryption. En effet, sans encryption, n'importe qui dans la zone de couverture du réseau peut interceptor et décoder les trames qui ne lui sont pas destinées. Cette clé est suffisante pour une utilisation domestique.
La clé WEP est statique. Pour la modifier, il faut une intervention manuelle.
- Dans la rubrique Chiffrement WEP, selectionnez le niveau d'encryption (correspondant à la longueur de la clé): WEP 64 Bits ou WEP 128 Bits. Nous vous conseillons d'utiliser le niveau d'encryption le plus élevé.
Si vous sélectionné l'option WEP 64 Bits, vous devez saisir 5 caractères ASCII ou 10 chiffres hexadécimaux.
Si vous sélectionné l'option WEP 128 Bits, vous devez saisir 13 caractères ASCII ou 26 chiffres hexadécimaux.
- Indiquez ensuite votre clé WEP.
Si vous sélectionné le mode ASCII, choisissez vos caractères entre "a-z", "A-Z" et "0-9". En revanche, si vous sélectionné le mode Hexadecimal, vos caractères doivent être compris entre "a-f", "A-F" et "0-9" précédés de "0x".
Exemple du format d'une clé WEP 64 Bits en mode ASCII ou en mode Hexadecimal :
En ASCII: MaCle
EnHexadecimal:0x11AA22BB33
- Cliquez sur OK.

Attention: Le WEP utilise une clé secrete. Pour que la station distante puisse dialoguer avec le routeur, il faut qu'elle utilise la même clé d'encryptionption. Il existe 4 clés, mais une seule peut être seLECTIONnée.
L'important, est de noter très soigneusement le résultat obtenu pour pouvoir ensuite configurer vos stations clients ou un autre Point d'Accès. Activez alors le WEP sur chacun de vos équipements Wireless, puis reportez la clé du VPN Booster 32g / 32Vg que vous avez saisie, et la liaison se rétabira entre vos équipements Wireless et le VPN Booster 32g / 32Vg (en effet, lorsque vous avez activé l'encryption WEP sur le VPN Booster 32g / 32Vg , la liaison s'est logiquement rompue avec les autres équipements composant votre réseau sans fil...).
WPA/PSK seulement
Le WPA (Wi-Fi Protected Access) est un protocole de sécurité destiné à remplaçer l'actuel WEP (Wired Equivalent Privacy) pour les liaisons Wi-Fi, lequel utilise des clés statiques qu'il faut changer manuellement.
Par défaut, le WPA utilise le protocole de cryptage des données (ou algorithme) TKIP (Temporal Key Integrity Protocol). Au lieu d'utiliser une clé fixe pour chifferre les paquets de données, il générale régulièrement de nouvelles clés dynamiques dérivées de la clé principale, permettant ainsi une sécurité accrue.
Remarque : tous les matériels existants peuvent en bénéficier en effetuant une simple mise à jour logicielle.
Pour paramétre l'encryption WPA, procedez comme suit :
- Dans la rubrique Chiffrement WPA, l'option TKIP est selectionné par défaut.
- Dans la rubrique Clé de partage (PSK), saisissez la valeur de votre clé. Cette clé doit composer 32 caractères.
- Cliquez sur OK.
Remarque : pour la configuration des postes clients en WPA, veuillez vous reportez à la documentation fournie avec votre matériel.
WEP ou WPA/PSK
Si vous scélectionnez cette option, cela signifie que vous pouvez paramétre un clé WEP ou une encryption WPA simultanémment. Les équipements Wireless distants pourront donc utiliser l'une ou l'autre méthode de sécurité. Pour des stations qui ne peuvent utiliser le WPA (par exemple si elles sont sur des systèmes d'exploitation 98 ou Me), elles peuvent toujours se connecter en Wi-Fi via le WEP. Pour le paramétrage des deux options, reportez-vous aux deux sections précédentes.
WEP/802.1x seulement
Pour contrôle efficacement l'accès au réseau sans fil, la fonction d'authentication peut se faire grâce à un serveur d'authentication de type RADIUS.
L'utilisation d'un serveur RADIUS permet de protéger au maximum l'accès par identification des utilisateurs après définition de leur profil. Cette clé permettra à l'utilisateur d'être identifié par le serveur et de pouvoir acceder au réseau.
- ÀpRES avoir sélectionné WEP/802.1x seulement, cliquez sur OK.
- Dans le menu Réglages Avancés du routeur, cliquez sur Client RADIUS.
- Cochez Activer.
- Dans la rubrique Adresse IP du serveur, indiquez l'adresse IP de votre serveur RADIUS pour faire pointer le routeur vers le serveur.
- Indiquez le port du serveur RADIUS.
Remarque: le port de destination 1812 produit par défaut correspond au port standard RADIUS. Si vous le modifiez, voirlez bien à en faire de même du côte Serveur.
- Indiquez le mot de passer secret partagé échéné entre le serveur et le client RADIUS. Demandez-le à votre administrateur RADIUS si vous ne le connaissiez pas. Le mot de passer doit être identique sur le serveur RADIUS et le VPN Booster 32g / 32Vg
- Cliquez sur OK pour valider les informations. Le routeur doit ensuite redémarrer.
WPA/802.1x seulement
La configuration est identique l'encryption WEP/802.1x seulement. Reportez-vous à la section précédente.
WEP/802.1x ou WPA/802.1x
Si vous sélectionnez cette option, cela signifie que les équipements Wireless distants pourront utiliser l'une ou l'autre méthode de sécurité pour se connecter au routeur.
Contrôle d'accès
En plus des méthodes de cryptage (reportez-vous à la section précédente Paramêtres de sécurité), afin d'accroître encore la sécurité, le VPN Booster 32g / 32Vg gère une table des adresses MAC qui, sous forme de liste de contrôle, interdir à l'accès aux matériels Wireless distants (stations clients) dont l'adresse MAC ne figure pas dans la liste. Chaque client peut ainsi être inclus ou non à volonté. Seule l'adresse MAC paramétrée et validée peut acceder au réseau.

Attention :
- si vous n'avez pas appliqué de mécanisme de cryptage et si le contrôle d'accès n'est pas activé, par défaut, toutes les stations Wireless pourront acceder au réseau.
- si vous avons activé le contrôle d'accès sans spécifique d'adresse MAC, cela revient à bloquer l'accès à toutes les stations Wireless. Aucune station ne pourrait dialoguer avec le routeur.
L'adresse MAC est l'identifient physique d'une carte. Cette adresse est unique. Bien que cette solution soit lourde à gérer pour peu que l'on dispose de nombreuses cartes d'accès à saisir, elle permet de limiter les risques d'intrusion.
Pour activer le contrôle d'accès au routeur pour ces stations, procédez comme suit :
- Dans le menu Configuration Elémentaire, cliquez sur Rseau Wireless, puis sur Contrôle d'acces.
- Cochez Activer le contrôle d'accès.
- Renseignez la rubrique Adresse MAC. Vous spécifiez ainsi l'adresse MAC de la station autorisée à acceder au réseau.
- Cliquez sur le bouton Ajouter, puis sur OK afin de valider les informations.
Remarque: si vous souhaitez ensuite supprimer une adresse MAC, Sélectionnez-la dans la liste, puis cliquez sur le bouton Supprimer.

Clients Wireless
Grace a one table de contrôle actuallable, le VPN Booster 32g / 32Vg yout per met de scanner ttes les stations Wireless proches du routeur. Ceteiste you indique l'etat de connexion au routeur et l'adresse MAC de ces clients.
- Dans le menu Configuration Elémentaire, cliquez sur Réseau Wireless, puis sur Clients Wireless.
- Dans la table, sont répertoriées toutes les stations Wireless détectées par le routeur.

Si vous souhaitez ajouter un client Wireless dans le contrôle d'accès, procedez comme suit :
- Sélectionnez le client Wireless détecté. L'adresse MAC de la station est alors prise en compte dans la rubrique Adresse MAC du client.
- Cliquez sur le bouton Ajouter.

- L'adresse MAC en question est alors automatiquement prise en compte dans le contrôle d'accès. Cette adresse est alors autorisée à acceder au reseaux du réseau via le VPN Booster.

Accès à Internet
Avant de proceder à la configuration de votre connexion, selon le modele de routeur dont vous disposez, vérifie que cette raccordement est correctement établi dans le chapitre « Raccordements du routeur » page 12.
Accès à Internet via un modem xDSL ou cable
- Sur la page d'accueil du configurateur, cliquez sur Configuration rapide de la connexion.
- Dans la rubrique Connexion haut débit via un périphérique externe, vous avez le besoin entre différents types de connexion. Sélectionnez votre type de connexion en cliquant sur le bouton correspondant (en cas de doute, renseignez-vous auprès de votre opérateur télécom pour connaître la nature de la liaison). En fonction du protocole sélectionné, suivez la procédure désrite ci-après.
Connexion Internet via le protocole PPPoE
- En face de l'intitulé Lien PPPoE, Sélectionnez l'option Activer.
- Dans la rubrique Nom de la connexion, entrez un nom de connexion. Le choix de ce nom est arbitraire et n'a pas d'incidence sur la connexion.
- Dans les rubriques Nom d'utilisateur et Mot de passer, entrez le nom d'utilisateur et le mot de passer de connexion que vous a attribués le FAI.
Attention : lorsque vous entrez le nom d'utilisateur et le mot de passer, il est impératif de tener compte des majuscules et des minuscules.
- Si vous désirez gérer des heures de connexion, dans les rubriques des plages horaires, saisissez les numérodes plages horaires que vous souhaitez assigner à votre connexion xDSL.
Remarque : au préalable, vous doivent avoir paramétré et actifés les plagesHoraires (reportez-vous au chapitre « Gestion des plages horaires » page 141).
-
Si vous disposez du routeur VPN Booster 32 i, c'est-à-dire avec le module RNIS intégré, vous avez une rubrique supplémentaire à paramétre consacrée au mode de déclenchement du backup RNIS. Sélectionnez votre mode :
-
Aucun : lorsque cette option est sélectionnée, le backup RNIS n'est pas activé.
- Immediatement : si la connexion xDSL est interrompue, le backup RNIS se déclenchera immidiatement.
-
Au prochain paquet : si la connexion xDSL est interrompue, le backup RNIS ne sera actif que lorsqu'un nouveau paquet sera émis depuis le réseau local.
-
Dans la rubrique Authentication PPP de la Configuration du protocole PPP, selectionnez PAP ou CHAP ou PAP seulement :
Remarques :
- Si vous sélectionnez PAP ou CHAP, l'authentication pourra s'effectuer quel que soit le FAI.
-
Les protocoles d'authentication PPP acceptés dépendent du FAI. En cas de doute, contactez vous FAI.
-
Si vous souhaitez bénéficier d'une connexion permanente, cochez la case correspondante (configuration recommende). Dans ce cas, après une coupure, le routeur se reconnecttera automatiquement.
Sinon, dans la rubrique Delai d'inactivité, entrez le nombre de secondes d'inactivité au terme duquel la connexion à Internet sera automatiquement interrompu si aucun ordinateur du réseau local ne l'utilisation.
Remarque: si vous saisissez « 0», vous pourrez bénéficier d'une connexion permanente. En revanche, après une coupure, le rétablissement de la connexion ne sera pas effectif.
-
Suivant votre abonnement xDSL, votre fournisseur d'accès Internet peut vous fournir une adresse IP fixe ou vous allouer dynamiquement une adresse IP à chaque connexion.
-
Si vous fournisseur d'accès Internet vous a communiqué une adresse IP fixe, Sélectionnez Oui dans la rubrique Adresse IP fixe et saississez l'adresse IP.
Remarque : même avec un abonnement avec IP fixe, cette opération n'est pas obligatoire. En effet, lors de votre connexion, en fonction de votre nom et de votre mot de passer, votre adresse IP fixe vous est automatiquement affectée.
- Si vous fournisseur d'accès Internet ne vous a pas communiqué une adresse IP fixe, Sélectionnez Non dans la rubrique Adresse IP fixe.

- La configuration de votre accès Internet est terminée. Cliquez sur OK pour valider les informations.
- Si vous désirez tester votre connexion, lancer votre requête Internet et ainsi vérifier l'exactitude des paramètres saisis, dans le menu Diagnostics,-cliquez sur Etat LAN/WAN.
- La fenêtre État LAN / WAN apparaît. Dans la partie État WAN, cliquez sur Lancer la connexion PPPoE ou PPTP. Voitre mode de connexion doit alors apparaitre. Un rafraîchissement a lieu toutes les 5 secondes.
Si ce n'est pas le cas, vérifie les éléments suivants :
- Assurez-vous de nouveau du bon raccordement de votre routeur au modem xDSL ( selon le modele de routeur dont vous disposez, dans le chapitre « Raccordements du routeur » page 12, reportez-vous à la partie « Raccordement du routeur au modem xDSL ou cable »).
- Si le problème n'est pas résolu, assurez-vous ensuite auprès de votre opérateur que vous ligne ADSL a bien été activée.

Votre connexion est etablie. Vou puez desormais ouvrir une seconde fenetre dans voitre logiciel afin de naviguer sur Internet.
Remarque : pour interrompre la connexion, cliquez sur Arrête PPPoE ou PPTP.
Connexion Internet via le protocole PPTP
- En face de l'intitule Lien PPTP, Sélectionnez l'option Activer.
- Dans la rubrique Adresse IP du modem ADSL, entrez "10.0.0.138" (sauf avis contraire de votre opérateur télécom). Cette adresse est cette généralement utilisée.
- Dans la rubrique Nom de la connexion, entrez un nom de connexion. Le choix de ce nom est arbitraire et n'a pas d'incidence sur la connexion.
- Dans les rubriques Nom d'utilisateur et Mot de passer, entrez le nom d'utilisateur et le mot de passer de connexion que vous a attribués le FAI.
Attention : lorsque vous entrez le nom d'utilisateur et le mot de passer, il est impératif de tener compte des majuscules et des minuscules.
- Si vous désirez gérer des heures de connexion, dans les rubriques des plages horaires, saississez les numérodes plages horaires que vous souhaitez assigner à votre connexion ADSL.
Remarque: au préalable, vous doivent avoir paramétré et actif les plagesHoraires (reportez-vous au chapitre « Gestion des plages horaires » page 141).
-
Si vous disposez du routeur VPN Booster 32 i, c'est-à-dire avec le module RNIS intégré, vous avez une rubrique supplémentaire à paramétrer consacrée au mode de déclenchement du backup RNIS. Sélectionnez votre mode :
-
Aucun : lorsque cette option est sélectionnée, le backup RNIS n'est pas activé.
-
Au prochain paquet : si la connexion ADSL est interrompue, le backup RNIS ne sera actif que lorsqu'un nouveau paquet sera émis depuis le réseau local.
-
Dans la rubrique Authentication PPP de la Configuration du protocole PPP, selectionnez PAP ou CHAP ou PAP seulement :
Remarques :
- Si vous sélectionnez PAP ou CHAP, l'authentication pourra s'effectuer quel que soit le FAI.
-
Les protocoles d'authentication PPP acceptés dépendent du FAI. En cas de doute, contactez votre FAI.
-
Si vous souhaitez bénéficier d'une connexion permanente, cochez la case correspondante (configuration recommendée). Dans ce cas, après une coupure, le routeur se reconnecttera automatiquement.
Sinon, dans la rubrique Délai d'inactivité, entrez le nombre de secondes d'inactivité au terme duquel la connexion à Internet sera automatiquement interrompu si aucun ordinateur du réseau local ne l'utilisation.
Remarque: si vous saisissez « 0», vous pourrez bénéficier d'une connexion permanente. En revanche, après une coupure, le rétablissement de la connexion ne sera pas effectif.

-
Suivant votre abonnement ADSL, votre fournisseur d'accès Internet peut vous fournir une adresse IP fixe ou vous allouer automatiquement une adresse IP à chaque connexion.
-
Si vous fournisseur d'accès Internet vous a communiqué une adresse IP fixe, Sélectionnez Oui dans la rubrique Adresse IP fixe et saisissez l'adresse IP.
Remarque : même avec un abonnement avec IP fixe, cette opération n'est pas obligatoire. En effet, lors de votre connexion, en fonction de votre nom et de votre mot de passer, votre adresse IP fixe vous est automatiquement affectée.
-
Si vous fournisseur d'accès Internet ne vous a pas communiqué une adresse IP fixe, Sélectionnez Non dans la rubrique Adresse IP fixe.
-
Dans la partie Configuration de l'adresse IP LAN2/WAN, selectionnez Spécifier une adresse IP.
Dans les rubriques Adresse IP et Masque de sous-réseau, veillez à saisir une adresse IP et un masque de sous-réseau compatibles avec le plan d'adressage du modem ADSL.
- La configuration de votre accès Internet est terminée. Cliquez sur OK pour valider les informations.
- Si vous désirez tester votre connexion, lancer leur requête Internet et ainsi vérifier l'exactitude des paramètres saisis, dans le menu Diagnostics,-cliquez sur Etat LAN/WAN.
- La fenêtre État LAN / WAN apparaît. Dans la partie État WAN, cliquez sur Lancer la connexion PPPoE ou PPTP. Voitre mode de connexion doit alors apparaître. Un rafraîchissement a lieu toutes les 5 secondes.
Si ce n'est pas le cas, vérifie les éléments suivants :
- Assurez-vous de nouveau du bon raccordement de votre routeur au modem ADSL (selon le modele de routeur dont vous disposez, dans le chapitre « Raccordements du routeur » page 12, reportez-vous à la partie « Raccordement du routeur au modem xDSL ou cable »).
- Si le problème n'est pas résolu, assurez-vous ensuite auprès de votre opérateur que vous ligne ADSL a bien été activée.
Viete connexion est etablie. Vou puez desormais ouvrir une seconde fenetre dans voitre logiciel afin de naviguer sur Internet.
Remarque : pour interrompre la connexion, cliquez sur Arrête PPPoE ou PPTP.
Connexion Internet en IP statique ou dynamique
Champ d'application : la plupart des utilisateurs du cable ou des réseaux xDSL dégroupés (via un modem Ethernet ou un équipement regroupant l'accès Internet et différents services) sélectionneront ce type de connexion. Renseignez-vous auprès de votre FAI pour connaître la nature de la liaison Internet.
- En face de l'intitulé Accès haut débit, Sélectionnez l'options Activer.
-
Si vous disposez du routeur VPN Booster 32 i, c'est-à-dire avec le module RNIS intégré, vous avez une rubrique supplémentaire à paramétre consacrée au mode de déclenchement du backup RNIS. Sélectionnez votre mode :
-
Aucun : lorsque cette option est sélectionnée, le backup RNIS n'est pas activé.
-
Au prochain paquet : si la connexion xDSL est interrompue, le backup RNIS ne sera actif que lorsqu'un nouveau paquet sera émis depuis le réseau local.
-
Suivant votre abonnement, votre opérateur peut vous allouer automatiquement une adresse IP à chaque connexion ou vous fournir une adresse IP fixe.
-
Si vous opérer ne vous a pas communiqué une adresse IP fixe, Sélectionnez Obtenir automatiquement une adresse IP.
- Si vous opérateur vous a communiqué une adresse IP fixe, Sélectionnez Spécifier une adresse IP, puis saississez dans les rubriques correspondantes l'adresse IP ainsi que le masque de sous-réseau indiqués par votre opérateur.

- La configuration de votre accès Internet est terminée. Cliquez sur OK pour valider les informations.
- Le routeur doit redémarrer pour prendre en compte les nouveaux paramètres. Sélectionnez Conserver la configuration actuelle, puis cliquez sur OK. Attendez 5 secondes pour que le redémarrage soit terminé.
Attention : n'éteignez surtout pas le VPN Booster pendant cette phase de redémarrage. Vous risqueriez d'endommager sa mémoire et de le rendre inutilisable (dommage non couvert par la garantie).
Une nouvelle fenêtre apparait. Cliquez sur l'adresse http, qui est en fait l'adresse IP de votre routeur, afin de returner sur le configurateur du VPN Booster.
-
Si vous désirez tester votre connexion, lancer leur requête Internet et ainsi vérifier l'exactitude des paramètres saisis, dans le menu Diagnostics,-cliquez sur Etat LAN/WAN.
-
La fenêtre État LAN / WAN apparaît. Dans la partie État WAN, votre mode de connexion doit alors apparâtre (DHCP Client si vous opérateur vous a fourni dynamiquement une adresse IP ou Static IP si vous avez une adresse IP fixe). Un rafraîchissement a lieu toutes les 5 secondes. Pour vérifier que votre connexion est bien établie, sous Paquets RX et Vitesse RX, les valeurs ne doivent pas être à « 0 »

Viete connexion est etablie. Vou puez desormais ouvrir une seconde fenetre dans vrie logiciel afin de naviguer sur Internet.
Remarque : pour interrompre la connexion, dans la partie IP statique ou dynamique, en face de l'intitulé Accès haut débit, sélectionnez l'option Désactiver. Cliquez ensuite sur OK pour valider. Le routeur doit redémarrer pour que les nouveaux paramètres soient pris en compte et pour que votre connexion soit interrompue.
Accès à Internet via le réseau RNIS (VPN Booster 32 i uniquement)
L'accès à Internet via RNIS peut être utilisé comme liaison principale ou comme liaison de secours (backup) si la liaison principale s'effectue via un modem ADSL par exemple (reportez-vous à la section « Accès à Internet via un modem xDSL ou cable » page 79).
Avant de procéder à la configuration de votre connexion, vérifie au préalable que votre raccordement est correctement effectué comme indiqué dans la partie « Raccordements du routeur au réseau RNIS (VPN Booster 32 i) » page 16.
Vérifiez également que la ligne RNIS est bien activée dans le configurateur HTML du routeur. Procedez comme suit :
- Dans le menu Configuration Elémentaire, cliquez sur RNIS. L'écran suivant apparait:

- La ligne RNIS est activée par défaut. Vérifiez que l'option Activée est bien sélectionnée.
- Dans la rubrique Pays, selectionnez le pays dans lequel est installé le VPN Booster.
-
Dans la rubrique Numéro de bus RNIS :
-
Si le VPN Booster est connecté à une ligne directe (accès de base Numéris...), n'entrez rien dans cette rubrique.
-
Si le VPN Booster est relié à un standard d'entreprise (PABX), il peut être nécessaire dans certains cas d'indiquer votre numéro de poste. Attention, le numéro de poste n'est généralement pas un numéro du plan de numération national attribué par l'opérateur de télécommunication, mais un numéro de poste à 2, 3 ou 4 chiffres définir par l'installateur du PABX. En cas de doute, renseignez-vous auprès du responsable du PABX.
-
Cliquez sur OK pour valider.
-
Sur la page d'accueil du configurateur, cliquez sur Configuration rapide de la connexion.
-
Dans la rubrique Connexion RNIS, il est possible de configurer l'accès à un ou deux fournisseurs d'accès Internet (FAI). Vous doivent disposer des informations fournies par le (les) FAI auprès duquel (desquels) vous avez souscrit votre abonnement. En fonction du type de connexion, suivez la procédure décrite ci-après.

Connexion avec 1 FAI
- Dans la rubrique Nom de la connexion de la partie Configuration des paramétres Internet, entrez un nom de connexion. Le besoin de ce nom est arbitraire et n'a pas d'incidence sur la connexion.
- Dans la rubrique Numéro à composer, entrez le numéro d'appoint du FAI (ne mettez pas d'espace ni de virgule).
Remarque: si le VPN Booster est relié à un standard d'entreprise, n'oubliez pas, si nécessaire, de préciser le préfixe de sortie de celui-ci (généralement le "0").
- Dans les rubriques Nom d'utilisateur et Mot de passer, entrez le nom d'utilisateur et le mot de passer de connexion que vous a attribués le FAI.
Attention : lorsque vous entrez le nom d'utilisateur et le mot de passer, il est impératif de tener compte des majuscules et des minuscules.
- Si vous désirez gérer des heures de connexion, dans les rubriques des plages horaires, saisissez les numérodes plages horaires que vous souhaitez assigner à votre connexion RNIS.
Remarque : au préalable, vous doivent avoir paramétré et actifés les plagesHoraires (reportez-vous au chapitre « Gestion des plages horaires » page 141).
-
Dans la rubrique Type de connexion de la Configuration du protocole PPP / MLPPP, Sélectionnez le type de connexion Internet souhaité :
-
Connexion désactivée : lorsque cette option est sélectionnée, la connexion est impossible.
- Connexion 64 Kbps : la connexion s'établira sur un canal B à 64 Kbps.
- Connexion 128 Kbps : la connexion s'établira sur deux canaux B agregés à 128 Kbps.
Attention : vérifie que vous FAI autorise bien la connexion à 128 Kbps. N'oubliez pas que vous payez dans ce cas deux communications téléphoniques.
- Connexion BOD : la connexion s'étabira initialement sur un seul canal B, mais le deuxième canal B pourra se connecter et se déconnecter en fonction du besoin en bande passante. Au cours d'une connexion, le début pourra donc varier entre 64 et 128 Kbps afin d'optimiser le rapport comforts de communication.
Attention : vérifie que votre FAI autorise bien la connexion à 128 Kbps. Vous payez deux communications téléphoniques lorsque la communication utilise deux canaux B.
Remarque: si vous souhaitez modifier les paramètres par défaut de la connexion BOD, dans le menu Réglages Avancés, cliquez sur Débit RNIS et options de rappel.
- Dans la rubrique Authentication PPP, Sélectionnéz PAP ou CHAP ou PAP seulement.
Remarques :
- Si vous sélectionnez PAP ou CHAP, l'authentication pourra s'effectuer quel que soit le FAI.
-
Les protocoles d'authentication PPP acceptés dépendent du FAI. En cas de doute, contactez votre FAI.
-
Dans la rubrique Delai d'inactivité, entrez le nombre de secondes d'inactivité au terme duquel la connexion à Internet sera automatiquement interrompue si aucun ordinateur du réseau local ne l'utilisation.
-
Suivant votre abonnement, votre FAI peut vous fournir une adresse IP fixe ou vous allouer automatiquement une adresse IP à chaque connexion.
-
Si vous FAI vous a communiqué une adresse IP fixe, Sélectionnez Oui dans la rubrique Adresse IP fixe et saisissez l'adresse IP.
Remarque : même avec un abonnement avec IP fixe, cette opération n'est pas obligatoire. En effet, lors de votre connexion, en fonction de votre nom et de votre mot de passer, votre adresse IP fixe vous est automatiquement affectée.
- Si vous FAI ne vous a pas communiqué une adresse IP fixe, Sélectionnez Non dans la rubrique Adresse IP fixe.

- La configuration de votre accès Internet est terminée. Cliquez sur OK pour valider les informations.
- Si vous désirez tester votre connexion, lancer votre requête Internet et ainsi vérifier l'exactitude des paramètres saisis, dans le menu Diagnostics,-cliquez sur Etat de la ligne RNIS/LAN/WAN.
- La fenêtre État de la ligne RNIS / LAN / WAN apparait. Dans la partie État de la ligne RNIS, cliquez sur Lancer la connexion Internet. Un rafraîchissement a lieu toutes les 5 secondes. Sur le canal D, la signalisation RNIS devient active. Le nom de votre connexion doit apparaître sur l'un des deux canaux B si vous âtes connecté à 64 Kbps, sur les deux si vous âtes connecté à 128 Kbps.

Viete connexion RNIS est etablie. Vou puez desormais ouvr une seonde fenetre dans voitre logiciel afin de naviguer sur Internet. Si you desirez ensuite verifier la durée de vour connexion ou avoir des informations sur les paquets transmis ou reus, revenez dans la preme fenetre du navigateur sur la page Etat de la ligne RNIS / LAN / WAN.
Remarque : pour interrompre la connexion, cliquez sur Arreter B1 et/ou Arreter B2.
Connexion avec 2 FAI
Le VPN Booster 32 i vous permet également de configurer un double accès à Internet pour étabir une connexion à 64 Kbps pour chacun d'entre eux.
Cerains FAI ne proposant pas de compte d'accès à 128 Kbps, dans ce cas précis, il peut être intéressant de souscrite à deux comptes différents chez un FAI afin d'établier une double connexion (2 x 64 Kbps).
Attention : la connexion en mode 2 FAI n'est pas possible si on utilise également une connexion xDSL.
- Dans la partie Paramètres commons, cochez Utilisation en mode 2 FAI.
-
Saisissez les informations indiquées par les fournisseurs d'accès Internet (FAI) auprès desquels vous avez souscrit vos abonnements.
-
Dans la rubrique Type de connexion, Sélectionnez Connexion 128 Kbps.

- La configuration de votre accès Internet est terminée. Cliquez sur OK pour valider les informations.
- Si vous désirez tester la connexion et ainsi vérifier l'exactitude des paramètres saisis, dans le menu Diagnostics, cliquez sur État de la ligne RNIS / LAN / WAN.
- La fenêtre correspondante apparait. Dans la partie Etat de la ligne RNIS, cliquez sur Lancer la connexion Internet. Un rafraîchissement a lieu toutes les 5 secondes. Sur le canal D, la signalisation RNIS devient active. Les noms de vos connexions doivent apparaitre sur les deux canaux B si vous étes connecté à 128 Kbps.

Viete connexion RNIS est etablie. Vou puez desormais ouvr une seone fenetre dans vret logiciel afin de naviguer sur Internet. Si you desirez ensuite verifier la durée de vret connexion ou avoir des informations sur les paquets transmis ou reus, revenz dans la preme fenetre du navigateur sur la page Etat de la ligne RNIS / LAN / WAN.
Remarque : pour interrompre la connexion, cliquez sur Arreter B1 et/ou Arreter B2.
Connexion d'équipements distants (VPN Booster 32 i)
Connexion de postes isolés via RNIS
L'assistant: configuration d'applent entrant you permet de configurer le VPN Booster 32 i afin que des équipements distants (ordinateurs, routeurs...) puissant se connecter à votre réseau local en toute sécurité. Cela ne s'applique que dans le cas où l'on effectue une connexion via un PC équipé d'un adaptateur RNIS.
- Dans le menu Réglages Avancés, cliquez sur VPN et accès distants, puis sur Service d'applen entrant.

- Dans la rubrique Authentication PPP de la Configuration du protocole PPP, selectionnez PAP ou CHAP ou PAP seulement en fonction du type d'authentication que vous souhaitez mettre en place.
- L'activation de l'Authentication mutuelle (PAP) n'est pas indispensable. Par défaut, l'option Non est cochée. L'authentication mutuelle (PAP) constitue une sécurité supplémentaire. Si vous cochez l'option Oui, pour que l'appel entrant soit accepté, les 2 équipements distants doivent alors avoir des identifiants identiques (nom d'utilisateur et mot de passer).
- Dans la rubrique Début des addresses IP, indiquez la première adresse IP à assigner aux équipements distants.
Attention :
- Les équipements distants peuvent également spécifique des adresses IP fixes.
-
Qu'elles soient fixes ou allouées dynamiquement, les adresses IP des équipements distants doivent être compatibles avec le plan d'adressage du VPN Booster 32 i.
-
Cliquez sur OK.
- Cliquez ensuite sur Comptes d'emploi entrant. La fenêtre suivante permet de configurer les comptes d'emploi entrant et de les activer.

Le VPN Booster 32 i vous permet de paramétrer jusqu'à 32 comptes d'appoint entrant. Toutefois, le nombre de connexions entrantes simultanées est limité au nombre de canaux B disponibles à un moment donné, soit deux au maximum (caracteristique de la ligne RNIS).
- Pour paramétrer un compte, cliquez sur un numéro (si le compte n'a pas encore eté paramétré, le nom du compte apparait sous la forme ???).
- Pour activer le compte, cochez Activer le compte utiliser.
- Entrez un nom et un mot de passer dans les rubriques Nom d'utilisateur et Mot de passer (16 caractères maximum pour chacune des rubriques).
- Dans la rubrique Délai d'inactivité, entrez le nombre de secondes au terme duquel la connexion sera automatiquement interrompu en cas d'inactivité.
- Vous pouvez activer le système d'authentication CLID qui consiste à vérifier le numéro d'appel du correspondant. Pour cela, cochez Activer l'authentication CLID, puis indique le numéro RNIS du correspondant dans la rubrique correspondante.

-
Vous pouvez activer la fonction de rappel automatique (callback) afin que le correspondant soit rappelé par le routeur. Pour cela, cochez Activer le rappel automatique (callback).
-
Si le correspondant doit être rappelé à un numéro spécifique prédéterminé, cochez Fixer le numéro à rappeler et entrez le numéro à composer.
Remarque: si cette option n'est pas cochée, le VPN Booster 32 i envoie une instruction à l'équipement distant afin que celui-ci indique le numéro à rappeler. - Vous pouvez allouer un temps de rappel au correspondant en cochant Activer le temps de rappel et en indiquant une durée dans la rubrique Durée de rappel.
Remarque: le temps de rappel fonctionne comme un crédit de temps. La durée de chaque rappel est déduite. Lorsque le temps de rappel est épuisé, le VPN Booster n'effectue plus le rappel automatique. L'administrateur peut alors désir d'allouer au correspondant un nouveau temps de rappel dans la rubrique Durée de rappel.
13. Cliquez sur OK.
La configuration du compte d'applent entrant est terminée. Dans la colonne Etat, le compte est indiqué Activé (« v »).

Procedez comme precedemment pour chacun des comptes que vous souhaitez paramétrer. Si vous avez paramétré et activé un ou plusieurs comptes, le VPN Booster 32 i peut désormais recevoir des appel entrants.
Remarque : n'oubliez pas de communiquer les paramètres de connexion à chacun de vos correspondants.
Interconnexion de réseaux via RNIS
Il est possible de connecter deux réseaux locaux distants via RNIS en utilisant 2 VPN Booster 32 i. Cette section vous indique comment configurer les profils de chacun des deux réseaux afin qu'ils puisent être interconnectés.
Attention :
- Avant de paramétreνaire, vérifie que vous ligne RNIS est bien activée. Pour cela, dans le menu Configuration Élementaire, cliquez sur RNIS. Par défaut, cette ligne est activée. Si ce n'est plus le cas, Sélectionnez Activée, puis cliquez sur OK afin que ce paramètre soit pris en compte.
- Si vous désirez étabir une communication à 128 Kbps avec le site distant, n'oubliez pas que votre correspondant doit également avoir sélectionné le même débit dans le paramétrage de l'appel entrant. Si tel n'est pas le cas, le routeur va essayer d'étabir une connexion à 128 Kbps, mais n'ayant aucune réponse, la connexion ne s'effectuera que sur un seul canal à 64 Kbps. Pour paramétrer votre type de connexion, dans le menu Réglages Avancés, cliquez sur Débit RNIS et options de rappel.
Il est nécessaire, pour que l'interconnexion soit établie, que les administrateurs des 2 sites distants s'échangent leurs paramètres de connexion (numéro RNIS, mot de passer,...).
Pour rendre plus claire cette section, nous avons documenté un cas d'application concret.
Voici les caractéristiques des deux réseaux de notre exemple :
| Nom du réseau | Site A : Agence | Site B : Succursale |
| Adresse IP du réseau | 192.168.1.0 | 192.168.2.0 |
| Adresse IP du routeur | 192.168.1.1 | 192.168.2.1 |
| Assignation de l'adresse IP pour les appeals entrants | 192.168.1.200 | 192.168.2.200 |
| Numéro RNIS | 0123456789 | 0198765432 |
Etape 1 : Paramétrage de l'appoint entrant
Afin que les deux réseaux puissant s'interconneter, vous devez activer le service d'appoint entrant. Cette activation doit être effective pour chacun des deux réseaux. Pour cela, il vous suffit d'activer un compte d'appoint entrant. Procedez comme suit :
- Dans le menu Réglages Avancés, cliquez sur VPN et accès distants, puis sur Service d'applentrant.
- Dans la rubrique Authentication PPP de la Configuration du protocole PPP, selectionnez PAP ou CHAP ou PAP seulement en fonction du type d'authentication que vous souhaitez mettre en place.
- L'activation de l'Authentication mutuelle (PAP) n'est pas indispensable. Par défaut, l'option Non est cochée. L'authentication mutuelle (PAP) constitue une sécurité supplémentaire. Si vous cochez l'option Oui, pour que l'appel entrant soit accepté, les 2 équipements distants doivent alors avoir des identifiants identiques (nom d'utilisateur et mot de passer).
- Dans la rubrique Début des adresses IP, indiquez une adresse IP à assigner aux équipements distants.
Configuration sur le Site A, celui de l'Agence principale :

Configuration sur le Site B, celui de la Succursale :

- Cliquez sur OK pour valider ces informations.
Etape 2 : Création du profil des deux réseaux
Voudevez desormais creer sur chaque site un profil dinterconnexion afin d'établr les caractéristiques de la connexion avec le réseau distant.
- Dans le menu Réglages Avancés, cliquez sur VPN et accès distants, puis sur Interconnexion de réseaux. L'écran suivant apparait.

- Cliquez sur un numero dans la colonne Numéro.
Remarques :
- Si un profil n'a pas encore eté paramétré, son nom apparait sous la forme ???, indiquant qu'il est disponible.
-
Le VPN Booster 32 i vous permet de:gérer jusqu'à 32 sites distants.
-
Pour chaque profil d'interconnexion, vous devez renseigner quatre parties: Paramètres généraux, Paramètres d' appel sortant, Paramètres d' appel entrant, Paramètres TCP/IP de l'interconnexion de réseaux. Vous pouvez vous reférer aux captures d'écrans suivantes. Procedez comme suit :
Remarque: pour saisir le profil d'interconnexion, vous devez avoir en votre possession certains paramètres transmis par l'administrateur du site distant.
Partie 1 : Paramètres généraux
- Pour activer le profil, sélectionné l'option Activer ce profil.
- Dans la rubrique Nom du profil, indiquez un nom qui soit clair pour vous (10 caractères maximum), correspondant à votre interconnexion.
-
En face de l'intitule Sens de l'appoint, selectionnez la direction des appeals pour ce profil :
-
Entrant/sortant : l'interconnexion peut s'étabir aussi bien sur appelents entrants que sur appelles sortants.
-
Entrant : l'interconnexion ne peut s'établier que sur appel entrants.
Sortant : l'interconnexion ne peut s'étabir que sur appeals sortants. -
Decochez Rendre la connexion permanente.
- Dans la rubrique Délai d'inactivité, entrez le nombre de secondes d'inactivité au terme duquel votre interconnexion sera automatiquement interrompue si aucun ordinateur du réseau local ne l'utilise.
Partie 2 : Paramètres d'essayer sortant
Dans cette partie, vous doivent satisir les paramètres fournis par l'administrateur du réseau distant. Procedez comme suit :
- Dans la partie Type de serveur appelé, sélectionné le type RNIS.
- Dans la rubrique Numéro à composer, saisissez le numéro que vous a fourni l administrateur du site distant.
-
Dans la rubrique Type de connexion, Sélectionné le type de connexion souhaité :
-
Connexion désactivée : lorsque cette option est sélectionnée, la connexion est impossible.
- Connexion 64 Kbps : la connexion s'établira sur un canal B à 64 Kbps.
- Connexion 128 Kbps : la connexion s'établira sur deux canaux B agrégés à 128 Kbps.
-
Connexion BOD : la connexion s'établitra initialement sur un seul canal B, mais le deuxième canal B pourra se connecter et se déconnecter en fonction du besoin en bande passante. Au cours d'une connexion, le débit pourra donc varier entre 64 et 128 Kbps afin d'optimiser le rapport comforts/oute de communication.
-
Dans les rubriques Nom d'utilisateur et Mot de passer, entrez le nom (49 caractères maximum) et le mot de passer (24 caractères maximum) qui vous identifient sur le site distant.
- Dans la rubrique Authentication PPP, sélectionnez PAP ou CHAP ou PAP seulement.
Remarques:
- Si vous sélectionnez PAP ou CHAP, l'authentication pourra s'effectuer dans tous les cas.
- Les protocoles d'authentication PPP acceptés dépendent du paramétrage du site distant. En cas de doute, contactez son administrateur.
Partie 3 : Paramètres d'appoint entrant
Dans cette partie, vous doivent regardier les paramètres concernant le réseau distant. Procedez comme suit :
- Dans la rubrique Type d'emploi entrant permis, sélectionné le type RNIS.
- Dans les rubriques Nom d'utilisateur et Mot de passer, entrez un nom et un mot de passer (11 caractères maximum pour chaque des rubriques).
Remarque : vérifie que vos paramètres sont bien compatibles avec ceux enregistrés par le réseau distant.
Partie 4 : Paramètres TCP/IP de l'interconnexion de réseaux
- Dans la rubrique Adresse IP du réseau distant, entrez l'adresse IP du réseau avec lequel vous désirez étabir une connexion.
- Saisissez ensuite le masque de sous-reseau correspondant.
-
Sélectionnéz la direction RIP :
-
TX/RX: Transmission/Reception : les informations RIP sont non seulement transmises vers le routeur distant mais aussi reçues ;
- TX: Transmission单单 : les informations RIP sont transmises vers le routeur distant ;
- RX: Réception seulement : les informations RIP sont reçues du routeur distant.
Remarque: le VPN Booster gère le RIP (Protocole d'Information de Routage). Le RIP permet d'échanger les tables de routage sur les différents sites de façon dynamique. Pour visualiser les routes, dans le menu Diagnostics, cliquez sur Table de routage.
Configuration sur le Site A, celui de l'Agence principale :
1. Paramètres généraux
| Activier ce profil | |
| Nom du profil | Succurse |
2. Paramètres d'apple sortant

3. Paramètres d'appoint entrant

4. Paramétres TCP/IP de l'interconnexion de réseaux





Configuration sur le Site B, celui de la Succursale :
1. Paramètres généraux

2. Paramètres d'appointer



3. Paramètres d'appoint entrant

4. Paramétres TCP/IP de l'interconnexion de réseaux



- Cliquez ensuite sur OK pour que les paramètres de votre interconnexion soient pris en compte. Une fois ces paramètres enregistrés, le profil créé est ajouté. Dans la colonne État, « v » signifie que le profil est activé.
Configuration sur le Site B, celui de la Succursale :

Remarques :
- Vous pouvez à tout moment modifier la configuration des profils créés. Pour cela, dans la colonne Numéro, Sélectionnez le profil que vous voulez modifier. Attention: n'oubliez pas de bien transmettre les nouveaux paramètres à votre correspondant. Si ces changements ne sont pas répercutés chez le site distant, la connexion n'aura pas lieu.
- Vous ave la possibite de supprimer chacun des profils, un par un, ou de supprimer la totalite des profils en une seule manipulation.
Si vous désirez supprimer un seul profil, dans la colonne Numéro, Sélectionnez le profil que vous désirez supprimer. Dans la page de configuration du profil, cliquez sur Effacer. Une fenêtre de confirmation apparait. Cliquez alors sur OK. Ce profil est supprimé.
Si vous souhaitez supprimer la totalité des vos profils, cliquez sur le bouton Tout effacer. Dans la fenetre de confirmation, cliquez sur OK. Tous les profils sont alors supprimés.
Configuration du VPN
Le VPN (Virtual Private Network) est une liaison sécurisée entre 2 parties via un réseau public, en général Internet. Il vous permet d'envoyer et de partager des données ou des ressources entre des sites distants.
Les reseaux privés virtuels (VPN) permettent à l'utilisateur de créé un chemin virtuel sécurisé entre une source et une destination. Grâce à un principe de tunnel (tunnelling) dont chaque extrémité est identifiée, les données transient après avoir été chiffrées. C'est la méthode utilisée pour faire transiter des informations privées sur un réseau public. Cette technique assure donc l'authentication des 2 parties, l'intégrité des données et le chiffrage de celles-ci.
Pour communiquer au travers du VPN, plusieurs protocôques peuvent être utilisés : le PPTP (Point to Point Tunneling Protocol), le protocôcle L2TP (Layer 2 Tunneling Protocol) et enfin le protocôcle IPSec.
Il existe deux modes de VPN distincts :
- le Mode Tunnel : il creé des tunnels en encapsulant chaque trame dans une enveloppe qui protège tous les champs de la trame. Il est utilisé entre 2 équipements gérant l'interconnexion (exemple : la connexion VPN entre deux routeurs ou passerelles). Les données peuvent être chiffrées (mode ESP) ou non (mode AH).
- le Mode Transport : il protège le contenu d'une trame IP en ignorant l'en-tête. Ce mode est généralement utilisé entre deux équipements dont au moins un de type terminal (exemple : la connexion VPN d'un utilisateur isolé 'SoHo' vers une passerelle ou un routeur).
En fonction du mode VPN可以选择 et du protocole de connexion selectionné, différentes configurations sont possibles. Tout d'abord, avant que la connexion VPN ne puisse s'établit, il est nécessaire que les administrateurs des 2 sites distants s'échangent leurs paramètres de connexion (nom d'utilisateur, mot de passer, nom d'hôte ou adresse IP du serveur, voire clé IPSec...).
Préalable à l'établissement d'une connexion VPN : Paramétrage de la connexion Internet

Très important : Avant la création de votre connexion VPN, vous doivent préalablement avoir configuré et lancé votre connexion Internet. Reportez-vous pour cela au chapitre « Accès à Internet » page 79.
Attention: si vous utilisez une connexion Internet via RNIS (VPN Booster 32 i), avant de saisir vos parametes de connexion, vérifie que votre ligne RNIS est bien activée. Pour cela, dans la section Configuration Elémentaire, cliquez sur RNIS. Par défaut, cette ligne est activée. Si ce n'est plus le cas, Sélectionnez Activée, puis cliquez sur OK afin que ce paramètre soit pris en compte.
Configuration d'un VPN entre deux routeurs VPN Booster (mode Tunnel)
La figure suivanteschématise une connexion VPN entre 2 sites d'une société :

Selon le protocole attribué à votre connexion VPN, les paramètres à renseigner ne sont pas obligatoirement les mêmes. Voici donc les paramètres que vous doivent connaître selon la configuration que vous avezchioise. Vérifiez lors du paramétrage de votre connexion que vous avez bien en leur possession tous les éléments en fonction des exemples cédssous.
Configuration 1: Connexion via PPTP ou L2TP (sans règle IPSec)
| Routeur 1 | Routeur 2 | |
| Nom du réseau | Agence principale | Succursale |
| Adresse IP du réseau | 192.168.1.1 | 192.168.3.1 |
| Adresse IP du réseau | 192.168.1.0 | 192.168.3.0 |
| Nom d'utilisateur | VPN1 | VPN2 |
| Mot de passer | VPN1 | VPN2 |
| IP Internet | 81.56.xx.xx | IP dynamique |
| Nom de Domaine | vpn1.dyndns.org | vpn2.dyndns.org |
| IP assignée pour les appel | 192.168.1.200 | 192.168.3.200 |
Configuration 2 : Connexion via L2TP avec règle IPSec (recommandée ou obligatoire)
| Routeur 1 | Routeur 2 | |
| Nom du réseau | Agence principale | Succursale |
| Adresse IP du réseau | 192.168.1.1 | 192.168.3.1 |
| Adresse IP du réseau | 192.168.1.0 | 192.168.3.0 |
| Nom d'utilisateur | VPN1 | VPN2 |
| Mot de passer | VPN1 | VPN2 |
| IP Internet | 81.56.xx.xx | IP dynamique |
| Nom de Domaine | vpn1.dyndns.org | vpn2.dyndns.org |
| Clé IKE sortante | ABCABCABCABC | DEFDEF |
| Clé IKE entrante | DEFDEF | ABCABCABCABC |
| IP assignée pour les appel | 192.168.1.200 | 192.168.3.200 |
Configuration 3 : Connexion via Tunnel IPSec
| Routeur 1 | Routeur 2 | |
| Nom du réseau | Agence principale | Succursale |
| Adresse IP du réseau | 192.168.1.1 | 192.168.3.1 |
| Adresse IP du réseau | 192.168.1.0 | 192.168.3.0 |
| IP Internet | 81.56.xx.xx | IP dynamique |
| Nom de domaine | vpn1.dyndns.org | vpn2.dyndns.org |
| Clé IKE sortante | ABCABCABCABC | DEFDEF |
| Clé IKE entrante | DEFDEF | ABCABCABCABC |
Etape 1 : Configuration de l'expérience entrant
Attention : la configuration de l'appoint entrant est nécessaire uniquement pour les protocoles PPTP, L2TP ou L2TP IPSec.
Afin que deux réseaux puissant s'interconneter, vous devez activer le service d'appoint. Pour cela, il vous suffit d'activer un compte d'appoint entrant. L'appoint entrant vous permet de configurer le routeur afin qu'un équipement distant (passerelle, autre routeur...) puisse se connecter à votre réseau local en toute sécurité. Cette activation doit être effective pour chaque routeur qui souhaite receivevoir des appel.
- Dans le menu Réglages Avancés, cliquez sur VPN et accès distants, puis sur Service d'applen entrant.
- Dans la rubrique Début des addresses IP, indique la première adresse IP à assigner aux équipements distants.
Attention :
- Les équipements distants peuvent également spécifique leurs adresses IP. Dans ce cas, mettez « 0.0.0.0 » dans cette rubrique.
- Qu'elles soient fixes ou allouées dynamiquement, les adresses IP des équipements distants doivent être disponibles et compatibles avec le plan d'adressage du réseau local.
Paramétrage du routeur situé dans l'Agence principale :

Paramétrage du routeur situé dans la Succursale :

- Cliquez sur OK pour valider les informations.
- Pour chacun des routeurs, cliquez ensuite sur Interconnexion de reseaux afin d'étabrir votre fiche d'interconnexion et de creer le lien VPN entre les deux routeurs.
Etape 2 : Création du profil VPN
Pour relier les deux réseau privés (les deux routeurs), vous devez désormais créé sur chaque site un profil d'interconnexion afin de saisir les caractéristiques de la connexion VPN avec le réseau distant.
Remarque : pour saisir le profil d'interconnexion, vous devez avoir en votre possession certains paramétres transmis par l'administrateur du routeur distant (nom d'utilisateur, mot de passer, IP Internet ou nom de domaine,...).
- Dans le menu Réglages Avancés, cliquez sur VPN et accès distants, puis sur Interconnexion de réseaux. L'écran suivant apparait.

- Cliquez sur un numero dans la colonne Numéro.
Remarques :
- Si un profil n'a pas encore eté paramétré, son nom apparait sous la forme ???, indiquant qu'il est disponible.
-
Le VPN Booster 8 vous permet d'étabrir jusqu'à 8 connexions VPN simultanément. Vous avez la possibilité d'étabir 32 connexions si vous possédez un VPN Booster de la Série 32.
-
Pour chaque profil d'interconnexion, renseignez les rubriques nécessaires. Vous pouvez vous reférer aux captures d'écran suivantes. Procedez comme suit :
Remarque: pour saisir le profil d'interconnexion, vous doivent avoir en votre possession certains paramètres transmis par l'administrateur du site distant.
Partie 1 : Paramètres généraux
- Pour activer le profil, Sélectionnéz l'option Activer ce profil.
- Dans la rubrique Nom du profil, indiquez un nom qui soit clair pour vous (10 caractères maximum), correspondant à votre connexion VPN.
-
En face de l'intitulé Sens de l'appoint, sélectionné la direction des appeals pour ce profil :
-
Entrant/sortant : l'interconnexion peut s'étabir aussi bien sur appelents entrants que sur appelles sortants.
-
Entrant : l'interconnexion ne peut s'établier que sur appel entrants.
Sortant : l'interconnexion ne peut s'étabir que sur appeals sortants. -
Si vous souhaitez bénéficier d'une connexion permanente, cochez la case correspondante. Dans ce cas, après une coupure, le routeur se reconnecttera automatiquement.
- Dans la rubrique Delai d'inactivité, entrez le nombre de secondes d'inactivité au terme duquel la connexion VPN sera automatiquement interrompu si aucun ordinateur du réseau local ne l'utilisation.
Remarque: si vous saisissez « 0», vous pourrez bénéficier d'une connexion permanente. En revanche, après une coupure, le rétablissement de la connexion ne sera pas effectif.
- Dans la rubrique Ping sur l'IP, saississez l'adresse IP du routeur distant. C'est notamment indispensable quand la connexion est paramétrée avec une clé IPSec. En cas de coupure VPN par le distant, cette option permet de relancer la session VPN.
Partie 2 : Paramètres d'essay sortant
Dans cette partie, vous doivent satisir les paramètres fournis par l'administrateur du réseau distant. Procedez comme suit :
-
Dans la partie Type de serveur appelé, sélectionné le protocole utilisé pour étabir la connexion VPN.
-
Si vous ne désirez pas ajouter le protocole IPSec au tunnel VPN, Sélectionnez PPTP ou L2TP (aucune règle IPSec).
- Si vous désirez ajouter le protocole IPSec au tunnel VPN, Sélectionnez L2TP avec règle IPSec (récommandée ou obligatoire) ou Tunnel IPSec.
Remarque : dans le cas où vous choisissez d'employer le protocole IPSec, Sélectionnez ensuite votre niveau de sécurité dans la partie Méthode de sécurité IPSec. Différentes options sont proposées :
| Niveau de sécurité | Signification |
| Moyenne (AH) | l'en-tête des paquets IP estUTHIP |
| Haute (ESP)- DES* sans authentication- DES* avec authentication- 3DES* sans authentication- 3DES* avec authentication-AES sans authentication-AES avec authentication | les données sont chiffrées et l'en-tête peut être authortifié selon le chiffrement DES ou AES sélectionné:- les données sont chiffrées mais l'en-tête des paquets IP n'est pasUTHIP- les données sont chiffrées et l'en-tête des paquets IP est AUTHIP- les données sont chiffrées mais l'en-tête des paquets IP n'est pasUTHIP- les données sont chiffrées et l'en-tête des paquets IP estauthortifié- les données sont chiffrées mais l'en-tête des paquets IP n'est pasUTHIP- les données sont chiffrées et l'en-tête des paquets IP estauthortifié |
-
Méthodes de sécurité bénéficiant d'un chiffrement matériel (Série VPN Booster 32)
-
Dans la rubrique Numéro à composer ou Nom d'hôte ou Adresse IP du routeur VPN distant, saisissez le nom de Domaine du site distant ou son adresse IP Internet fournie par l'administrateur.
-
Dans les rubriques Nom d'utilisateur et Mot de passer, entrez le nom (49 caractères maximum) et le mot de passer (24 caractères maximum) qui vous identifient sur le site distant.
Remarque: si vous selectionnéz Tunnel IPSec, vous n'avez pas besoin de saisir un nom d'utilisateur ou un mot de passer. Ces identifiants ne sont pas pris en compte.
- Dans la rubrique Authentication PPP, selectionnez PAP ou CHAP ou PAP seulement.
Remarques :
- Si vous sélectionnez PAP ou CHAP, l'authentication pourra s'effectuer dans tous les cas.
-
Les protocôles d'authentication PPP acceptés dépendent du paramétrage du site distant. En cas de doute, contactez son administrateur.
-
Si vous avez selectionné L2TP avec règle IPSec (récommandée ou obligatoire) ou Tunnel IPSec dans la partie Type de serveur appelé, vous pouvez attribuer une clé IPSec à ce profil en particulier. Le bouton Clé de partage IKE devient alors accessible. Saisissez-la, puis cliquez sur OK.

- Si vous désirez:gérer des heures de connexion en mode sortant, dans les rubriques des plages horaires, saisissez les
numeros des plages horaires que vous souhaitez assigner a votre connexion VPN. - Le bouton Réglages avances vous permet des paramétrer des options supplémentaires. Cliquez sur Enregistrer pour valider les informations.

- En activant le Mode agressif, vous avez la possibilité de saisir un ID local (47 caractères maximum). La définition d'un ID est utile si vous n'avoz pas d'adresse IP fixe car elle permet précisément de replacer l'authentication sur adresse IP tout en permettant l'utilisation d'une clé IKE spécifique à ce profil.
- Il est conseilé de conserver les délais d'expiration par défaut sauf si l'équipement distant possède des paramétres différents. Dans ce cas, les paramétres doivent être identiques des deux côtes.
- Le mode PFS permet une(Meilleure compatibilite avec certains serveurs VPN (serveurs Linux par exemple).
Partie 3 : Paramètres d'appoint entrant
Dans cette partie, vous doivent satisir les paramètres concernant le réseau distant.
Remarque: renseignez-vous auprès de l'administrateur du réseau distant afin de connaître ces paramétres et de permettre la compatibilité.
Procedez comme suit :
- Dans la rubrique Type d'emploi entrant permis, Sélectionnez le type de protocole que vous allez accepter pour la connexion VPN.
-
Si, vous avez selectionné le protocole Tunnel IPSec ou affecté une règle IPSec (recommandée ou obligatoire) au protocole L2TP, vous nevez impérativement saisir une clé IPSec.
-
Si vous connaissiez l'adresse IP fixe du serveur distant ou son ID (47 caractères maximum, configuré dans les Paramètres d'appel sortant du routeur distant), vous pouze cocher Activer l'authentication (ou Activer l'authentication CLID si vous possédez le VPN Booster 32 i). Saisissez alors le paramètre du distant, puis entrez votre clé IPSec pour ce profil particulier en cliquant sur le bouton Clé de partage IKE qui est devenu accessible. Cette clé, une fois confirmée, ne sera active que pour ce profil.
-
Si vous ne connaissiez pas les paramètres du distant, vous doivent saisir une clé IPSec globale. Pour paramétrer cette clé, reportez-vous à la section « Étape 3 (facultative) : Paramétrage du protocole IPSec » page 108.
-
Dans les rubriques Nom d'utilisateur et Mot de passer, entrez un nom et un mot de passer (11 caractères maximum pour chacune des rubriques).
Partie 4 : Paramètres TCP/IP de l'interconnexion de réseaux
- Dans la rubrique Adresse IP du réseau distant, entrez l'adresse IP du réseau avec lequel vous désirez étabir une connexion.
- Saisissez ensuite le masque de sous-réseau correspondant.
-
Sélectionnéz la direction RIP :
-
TX/RX: Transmission/Réception : les informations RIP sont non seulement transmises vers le routeur distant mais aussi reçues ;
- TX: Transmission单单 : les informations RIP sont transmises vers le routeur distant ;
- RX: Réception seulement : les informations RIP sont reçues du routeur distant.
Remarque: le VPN Booster gère le RIP (Protocole d'Information de Routage). Le RIP permet d'échanger les tables de routage sur les différents sites de façon dynamique. Pour visualiser les routes, dans le menu Diagnostics, cliquez sur Table de routage.
Paramétrage du routeur situé dans l'Agence principale (VPN Booster 32 i):
1. Paramètres généraux
Active profile
Nom du profil
Succursale
Sens de l'appel
E ntrant/Sortant
Entrant Sortant
Rendre la connexion permanente
Délaïd'inactivité
-1 seconde(s)
Active le ping pour
gander la connexion active
Ping sur l'IP
192.168.3.1
2. Paramétres d'appointer sortant
Type de serveur appelé
RNIS
PPTP
Tunnel IPSec
L2TP avec règle IPSec (aucune)
Numéro à composer ou Nom d'hôte ou Adresse IP du routeur VPN distant
vpn2.dyndns.org
(ex:0143346920,monrouteur.dyndns.org ou 212.23.161.89)
Type de connexion
Nom d'utilisateur
Mot de passer
Authentication PPP
Compression VJ
Connexion 64 Kbps
???
PAP ou CHAP
Activée
Désactivée
Fonction de rappel automatique (callback)
Demander le rappel automatique
Fournir mon nombre RNIS au réseau distant
Méthode de sécurité IPSec
Clé de partage IKE
Moyenne (AH)
Haute (ESP)
S avec authentication
Réglages avances
Plages horaires (1-15)



3. Paramétres d'appoint entrant
Type d'applé entrant permis
RNS
PPTP
Tunnel IPSec
L2TP avec règle IPSec (aucune)
Nom d'utilisateur
Mot de passer
Compression VJ
???
Act
vee O Désactivée
Numéro du distant ou
Adresse IP du serveur
ou ID du distant
Méthode de sécurité IPSec
Clé de partage IKE
Moyenne
Haute (ESP)
□AH
DES
3DES AES
4. Paramétres TCP/IP de l'interconnexion de réseaux
Mon adresse IP WAN
Adresse IP de la passerelle distante
Adresse IP du réseau distant
Masque de sous-reseau du réseau distant
0.0.0.0
0.0.0.0
192.168.3.0
255.255.255.0
Ajouter
Direction du RIP
Version du RIP
NAT:IP publique
Routage:IPprivée
Désactiver
Ver.2

Adresse IP privée

Redéfinir ce tunnel comme route par défaut
Paramétrage du routeur situé dans la Succursale (VPN Booster 8) :
1. Paramètres généraux
Active profile Nom du profil
Agence
Sens de l'appel
- Entrant/Sortant
- Entrant Sor
Rendre la connexion permanente Delai d'inactivite 0 seconde(s)
Activer le ping pour garder la connexion active Ping sur l'IP
2. Paramétres d'appointer sortant
Type de serveur appelé
PPTP
Tunnel IPSec
L2TP avec règle IPSec (aucune)
Nom d'hote ou Adresse IP du routeur VPN distant
(ex :monroute.dynds.org ou 212.23.161.89)
Nom d'utilisateur
Mot de passer
Authentication PPP
Compression VJ
???
PAP ou CHAP
Activée
Désactivée
Méthode de sécurité IPSec
Clé de partage IKE
Moyenne (AH)
Haute (ESP)
S sans authentication
Réglages avances
Plages horaires (1-15)


3. Paramètres d'appoint entrant
Type d'applé entrant permis
PPTP
Tunnel IPSec
L2TP avec règle IPSec (aucune)
Nom d'utilisateur
Mot de passer
Compression VJ
???

Activée
Désactiveré
Active l'authentication
Adresse IP du serveur
81.56.xx.xx
ou ID du distant
Clé de partage IKE
Moyenne
Haute (ESP)
AH
DES 3
DES AES
4. Paramétres TCP/IP de l'interconnexion de réseaux
Mon adress IP WAN
Adresse IP de la passerelle distante
Adresse IP du réseau distant
Masque de sous-reseau du réseau distant
0.0.0.0
0.0.0.0
192.168.1.0
255.255.255.0
Ajouter
Direction du RIP
Version du RIP
NAT:IP publique
Routage:IPprivée
Désactiver
Ver.2
Adresse IP privée

Redéfinir ce tunnel comme route par défaut
- Cliquez ensuite sur OK pour que les paramètres de votre interconnexion soient pris en compte. Une fois ces paramètres enregistrés, le profil créé est ajouté. Dans la colonne État, « v » signifie que le profil est activé.

- Vous venez de paramétre un connexion VPN en Tunnel IPSec entre les deux VPN Booster. Cliquez sur Etat de la connexion VPN afin d'établier le lien VPN. Reportez-vous à la section « Étape 4 : Etat de la connexion VPN » page 109.
Remarque: comme nous avons pu le constater lors de la description des rubriques composant votre fiche d'interconnexion, vous pouvez attribuer une clé IPSec par profil afin de sécuriser chaque connexion VPN. Néanmoins, si par exemple vous désirez simplifier la gestion de vos connexions VPN, vous avez également la possibilité d'attribuer une clé IPSec globale pour toutes vos connexions VPN entrantes. Pour paramétrer cette clé unique, cliquez sur Sécurité IKE / IPSec. Reportez-vous à la section suivante « Étape 3 (facultative) : Paramétrage du protocole IPSec »
Etape 3 (facultative): Paramétrage du protocole IPSec
Introduction
Le protocole IPSec vise à sécuriser les échanges au niveau de la couche réseau. L'utilisation de ce protocole permet :
- la gestion et l'échange de clés entre routeurs,
- 1'authentification des paquets IP (méthode de sécurité AH : Authentication Header),
- le chiffrement des paquets IP (méthode de sécurité ESP : Encapsulating Security Payload).
Ce paramétrage est obligatoire si, dans votre fiche d'interconnexion, vous avez sélectionné soit Tunnel IPSec, soit le protocole L2TP avec règle IPSec recommendée ou obligatoire.
Ces deux protocôles (Tunnel IPSec et L2TP avec règle IPSec) nécessitent l'emploi d'une clé d'encryption (IKE: Internet Key Exchange) et le choix du niveau de sécurité (AH ou ESP).
Attention: la clé d'encryption et le niveau de sécurité doivent alors correspondre sur les deux routeurs qui souhaitent s'interconnecter.
Configuration IPSec
Pour réaliser le paramétrage IPSec, procedez comme suit :
- Dans le menu Réglages Avancés, cliquez sur VPN et accès distants, puis sur Sécurité IKE / IPSec afin de saisir les paramètres de sécurité.
Remarque : vous doivent avoir en votre possession les paramétres de sécurité communiqués par l'administrateur du site distant (clé de partage, niveau de sécurité DES, 3DES ou AES).
- Dans la rubrique Clé de partage, saisissez le code transmis par l'administrateur distant, puis tapez-le une seconde fois.
- Sélectionnez ensuite le niveau de sécurité. Cochez en fonction du niveau de sécurité IPSec sélectionné dans la fiche d'interconnexion. Voici un récapitulatif des correspondances qui peuvent exister entre deux routeurs :
| Fiche d'interconnexion : Différentes possibilités IPSec | Paramétrage IPSec : Paramètres à sélectionner |
| L2TP (recommmandée ou obligatoire) / Tunnel IPSec : → Moyenne (AH) | Moyenne (AH) |
| L2TP (recommmandée ou obligatoire) / Tunnel IPSec : → Haute (DES sansUTHVerification) | Haute (ESP) : DES ou Haute (ESP) : DES et 3DES |
| L2TP (recommmandée ou obligatoire) / Tunnel IPSec : → Haute (DES avecUTHVerification) | Moyenne (AH) et Haute (ESP) : DES ou Haute (ESP) : DES et 3DES |
| L2TP (recommmandée ou obligatoire) / Tunnel IPSec : → Haute (3DES sansUTHVerification) | Haute (ESP) : 3DES ou Haute (ESP) : DES et 3DES |
| L2TP (recommmandée ou obligatoire) / Tunnel IPSec : → Haute (3DES avecUTHVerification) | Moyenne (AH) et Haute (ESP) : 3DES ou Haute (ESP) : DES et 3DES |
| L2TP (recommmandée ou obligatoire) / Tunnel IPSec : → Haute (AES sansUTHVerification) | Haute (ESP) : AES ou Haute (ESP) : DES, 3DES et AES |
| L2TP (recommmandée ou obligatoire) / Tunnel IPSec : → Haute (AES avecUTHVerification) | Moyenne (AH) et Haute (ESP) : AES ou Haute (ESP) : DES, 3DES et AES |
Exemple de non connexion : si, dans sa fiche d'interconnexion, le routeur 1 a selectionné le protocole L2TP avec règle IPSec recommandée et un niveau de sécurité Moyenne (AH), le routeur 2, dans la partie Appel entrant de son paramétrage IPSec, ne pourra pas selectionner Haute (ESP). La connexion ne pourra pas s'étabir.
- Cliquez sur OK afin de valider les paramètres de connexion. Cliquez ensuite sur État de la connexion VPN afin de constater le bon fonctionnement du lien VPN.
Etape 4 : Etat de la connexion VPN
Après avoir établi votre fiche d'interconnexion, vérifie désormais que votre lien VPN est bien établi.
- Cliquez sur Etat de la connexion VPN.
- Dans la liste, sélectionné le lien VPN avec lequel vous désirez étabir la connexion, puis cliquez sur Appeler. Les paramètres de la connexion doivent alors apparaître dans État de la connexion VPN.

- Pour interrompre la connexion VPN, cliquez sur Arreter.
Configuration d'un VPN entre un routeur VPN Booster et un utilisateur isolé (mode Transport)
La figure suivanteschématise une connexion VPN entre un hote distant (par exemple, un telé-travailler) et un routeur (situé au siège de sa société) avec lequel il souhaite établit une connexion VPN :

Voici à la fois les caractéristiques de l'hôte distant et celles du routeur qu'il faut prendre en compte :
Paramètres de connexion du routeur :
| Routeur | |
| Adresse IP du réseau | 192.168.1.1 |
| Adresse IP du réseau | 192.168.1.0 |
| Nom d'utilisateur | teletravailleur |
| Mot de passer | bewan |
| Adresse IP WAN (Internet) | 81.56.xx.xx* |
| IP assignée pour les appel | 192.168.1.200 |
- Adresse IP indiquée dans la partie État WAN de État LAN / WAN (VPN Booster 8 / 32 / 32 g / 32 V / 32 Vg) ou État de la ligne RNIS / LAN / WAN (VPN Booster 32 i)
Cette adresse peut aussi être fixe ou replacée par un nom de domaine dynamique.
Paramètres de connexion de l'hôte distant :
| Hôte (useisateur distant) | |
| Nom de connexion | Connexion VPN |
| Nom d'utilisateur | teletravailleur |
| Mot de passer | bewan |
| IP du routeur VPN distant | 80.12.34.56 |
| Adresse IP WAN (Internet) | IP dynamique * |
- ou Adresse IP fixe. Dans ce cas, afin de sécuriser la connexion VPN, dans le paramétrage du compte d'appoint entrant sur le routeur, il vous est possible de cocher Activier l'authentication (ou Activier l'authentication CLID) si vous possédez le VPN Booster 32 i). Indiquez ensuite l'adresse IP dans la rubrique correspondante.
Etape 1 : Configuration de l'appel entrant sur le routeur
Afin que l'utilisateur distant puisse se connecter au réseau via le routeur, l'administrateur doit au préalable activer le service d'appel entrant. En mode Transport, le routeur est uniquement serveur VPN (connexion à l'initiative de l'hote VPN distant).
- Dans le menu Réglages Avancés, cliquez sur VPN et accès distants, puis sur Service d'applen entrant.
- Dans la rubrique Début des addresses IP, indique la première adresse IP à assigner aux équipements distants.
Attention :
- Les équipements distants peuvent également spécifique des adresses IP fixes.
- Qu'elles soient fixes ou allouées dynamiquement, les adresses IP des équipements distants doivent être disponibles et compatibles avec le plan d'adressage du réseau local.

- Cliquez sur OK pour valider les informations.
- Cliquez ensuite sur Comptes d'emploi entrant afin d'établier un compte d'emploi entrant pour que l'utilisateur distant puisse se connecter au réseau via un lien VPN.
Etape 2 : Paramétrage du profil VPN
Nous indiquons ici les paramétrages à effectuer sur le routeur ainsi que ceux à saisir par l'utilisateur distant.
Remarque : n'oubliez pas de communiquer les paramètres de connexion à votre correspondant. Par exemple, le nom d'utilisateur et le mot de passer doivent être saisis de manière identique des deux côtes de la connexion VPN.
Paramétrage à effectuer sur le réseau
- Configurez un compte d'appoint en entrant. Pour paramétre un compte, cliquez sur un numéro (si le compte n'a pas encore été paramétré, le nom du compte apparait sous la forme ???). Le VPN Booster vous permet de:gérer jusqu'à 16 comptes d'appoint en entrant si vous disposez du VPN Booster 8, et jusqu'à 32 comptes si vous possédez un VPN Booster de la série 32.

-
Pour activer le compte, cochez Activer le compte utiliser.
-
Entrez un nom et un mot de passer dans les rubriques Nom d'utilisateur et Mot de passer (16 caractères maximum). Ceux-ci doivent être les mêmes identifiants que ceux saisis par l'hôte distant.
- Dans la rubrique Délai d'inactivité, entrez le nombre de secondes au terme duquel la connexion sera automatiquement interrompue en cas d'inactivité.
- Dans la partie Type d'emploi entrant permis, cochez les protocoles que le routeur va autoriser pour ce compte. Le choix du protocole peut s'effectuer selon le système utilisé par l'utilisateur distant. A titre d'exemple, un utiliser sous Windows 98 ou Me ne pourrait réalier qu'une connexion VPN en PPTP. En effet, les protocoles VPN ne sont pas disponibles sur tous les systèmes Windows (voir « Paramétrage à effectuer chez l'hôte distant » page 114). En revanche, si l'utilisateur distant est sous Windows 2000 ou XP, une connexion VPN sera possible en L2TP (avec ou sans règle IPSec).
Remarque : si vous suivez notre exemple, vous pouvez en conclude que tous les systèmes peuvent acceder au routeur puisque le protocole minimum (PPTP) est coché.

- Si, vous avez selectionné le protocole Tunnel IPSec ou affecté une règle IPSec (recommandée ou obligatoire) au protocole L2TP, vous nevez impérativement saisir une clé IPSec.
Si vous connaissiez l'adresse IP fixe du serveur distant ou si votre client VPN permet la gestion d'un ID, vous pouvez cocher Activer l'authentication (ou Activer l'authentication CLID si vous possédez le VPN Booster 32 i). Saisissez alors le paramètre du distant, puis entrez votre clé IPSec pour ce profil particulier en cliquant sur le bouton Clé de partage IKE qui est devenu accessible. Cette clé, une fois confirmée, ne sera active que pour ce profil.
Si vous ne connaissiez pas les paramètres du distant, vous devez saisir une clé IPSec globale. Pour paramétre cette clé, reportez-vous à l'encadré ci-dessous.
- Cliquez sur OK afin de valider les informations. La configuration du compte d'appel entrant est terminée. Dans la colonne Etat, le compte est indiqué Activé (« v »).

Remarques :
- Pour que la connexion VPN puisse s'établier, vous doivent avoir configuré et lancé votre connexion Internet. Reportez-vous pour cela au chapitre « Accès à Internet » page 79.
- Le VPN Booster 8 vous permet d'étabrir jusqu'à 8 connexions VPN simultanément. Vous avec la possibilité d'étabir 32 connexions si vous possédez un VPN Booster de la Série 32.
Comment paramétrer la règle IPSec sur le routeur si vous choisissez le protocole L2TP avec IPSec?
- Dans le menu Réglages Avances, cliquez sur VPN et acces distants, puis sur Sécurité IKE / IPSec.
- Saisissez la même clé de partage et le même niveau de sécurité que ceux saisis dans le configurateur VPN de l'utilisateur distant.

- Cliquez sur OK pour valider les paramètres.
Paramétrage à effectuer chez l'hôte distant
Comme nous avons pu le voir plus haut, le besoin du protocole dépend du système d'exploitation utilisé. Nous allons donc développer différents cas de figure selon l'environnement sur lequel se trouve l'utilisateur isolé.
Si la carte réseau Ethernet de l'hote est activée, son adresse IP ne doit pas être dans le même plan d'adressage que le réseau du routeur VPNBooster distant.
| Environnement utilisé par l'hôte distant | Windows 98 et Me | Windows NT | Windows 2000 et Windows XP |
| Protocoles disponibles | PPTP | PPTP et L2TP | PPTP, L2TP sans ou avec règle IPSec |
Important: pour que la connexion VPN puisse s'étabir avec le routeur, tout comme lui, vous doivent avoir une connexion Internet configurée et active (par exemple, via un modem ADSL).
Sous Windows 98/Me
- Cliquez sur Demarrer, pointez sur Paramètres, puis cliquez sur Panneau de configuration. Effectuez ensuite un double-clicsur l'iconeRéseau.
- Dans l'onglet Configuration de la fenêtre Réseau, cliquez sur le bouton Ajouter....

- La fenêtre Sélection du type de composant réseau apparaît. Sélectionnez Carte, puis cliquez sur le bouton Ajouter....

- Paramétrage de l'hôte la même procédure pour installer la Carte de Réseau Privé Virtuel Microsoft.


- Cliquez ensuite sur OK dans chacune des fenêtres et suivez les instructions à l'écran afin de valider les modifications.
- Cliquez sur Demarrer, pointez sur Programmes, Accessoires, Communications, puis cliquez sur le dossier Acces reseau à distance.
- Effectuez un double-clic sur l'objet Nouvelle connexion. Une fenêtre Nouvelle connexion s'ouvre (voir ci-dessous).

- Saisissez un nom dans la rubrique Entrez un nom pour l'ordinateur appelé.
Remarque : ce nom ne joue aucun role dans la connexion. Il permet seulement d'identifier le fjchier créé sur votre disque. Son choix est donc arbitraire. Nous vous conseillons de besoinir un nom qui restera clair pour vous (ex. : nom de l'équipement distant). - Dans la liste déroulante Sélectionnez un périphérique, sélectionnez Microsoft VPN Adapter pour une connexion VPN. Cliquez sur Suivant.
- Une fois votre connexion creée, effectuez un clic droit sur celle-ci, puis selectionnéz Propriétés dans le menu.
-
Si vous étés sous Windows 98, cliquez sur l'onglet Types de serveur (ou sur l'onglet Mise en réseau si vous étés sous Windows Me). Dans la partie Options avancées, décochez toutes les options. Dans les Protocôles réseau autorisés, cochez seulement TCP/IP.
-
Cliquez sur Paramètres TCP/IP, puis décochez Utiliser la passerelle par défaut pour le réseau distant.

- Cliquez sur OK pour valider les réglages et refermer la fenêtre.
- Pour étabir la connexion, effectuez un double-click sur votre connexion. La fenêtre de connexion correspondante s'ouvre.
- Dans les rubriques Nom d'utilisateur et Mot de passer, vous n'avez plus qu'à saisir vos identifiants.
Rappel: ces paramêtres d'identification sont les mêmes que ceux saisis dans le compte d'applent entrant du routeur.
- Si vous ne souhaitez pas ressaisir votre mot de passer à chaque connexion, cochez Enregistrer le mot de passer.
Attention : dans ce cas, toute personne pouvant acceder à votre PC sera en mesure d'utiliser votre connexion VPN.
- Dans la rubrique Serveur VPN, saisissez l'adresse IP du serveur distant ou un nom de Domaine dynamique.
- Cliquez ensuite sur Connecter dans la fenêtre de connexion. La connexion s'effectue et vos paramètres d'identification sont vérifiés.
Remarque : vous doivent être lancer la connexion xDSL avant de vous connecter au serveur VPN du réseau distant.

- Si ces paramètres sont exacts, la connexion s'établit en quelques secondes. La fenêtre de connexion disparait automatiquement. A droite de la barre des tâches, l'indicateur d'accès distant apparait également.
Sous Windows 2000 ou XP
Outre le protocole PPTP, vous pouvez également utiliser le protocole L2TP sans ou avec règle IPSec. Le protocole IPSec vise à sécuriser les échanges au niveau de la couche réseau. L'utilisation de ce protocole permet :
- la gestion et l'échange de clés entre routeurs,
- l'authentication des paquets IP (méthode de sécurité AH: Authentication Header),
- le chiffrement des paquets IP (méthode de sécurité ESP : Encapsulating Security Payload)
Pour creer une connexion VPN entre un hote distant (sous Windows 2000 ou XP) et un routeur, ain de faciliter la configuration, un utilise est fourni sur le CD-ROM Routeurs VPN Booster. Installez ce configurateur VPN sur le poste distant.
- Insérez le CD-ROM Routeurs VPN Booster dans le lecteur du PC. Si la configuration du PC l'autorise, le programme d'installation est lancé automatiquement. Si le lancement n'est pas automatique, exécutez le programme autorun.exe qui se trouve à la racine du CD-ROM.
- Cliquez sur Debuter l'installation, Série 6100 x, puis sur votre modèle de VPN Booster. Cliquez sur Utilitaires, puis sur Configurateur VPN.
- Suívez ensuite le programme d'installation de l'utilitaire jusqu'à son terme.
Après l'installation de l'utilitaire sur votre PC, procédez comme suit :
- Cliquez sur démarrer, pointez sur Tous les programmes, puis cliquez sur Configurator VPN BeWAN. La fenêtre de paramétrage apparaît. Lors de la première utilisation du configurateur VPN, cliquez sur Configurer afin d'ajouter la clé nécessaire dans la base de registre.
Remarque : avant de procéder au paramétrage de votre connexion VPN et afin de vous connecter au serveur VPN du réseau distant, vous doivent connecté à Internet. Si ce n'est pas le cas, Sélectionnez votre connexion Internet que vous avez configurée, puis cliquez sur Composer. Si cette connexion Internet n' existe pas encore, vous ne pourrait pas poursuivre la configuration de la connexion VPN.

- Cliquez ensuite sur Connexion.
- Saisissez l'adresse IP du serveur distant (adresse IP WAN du routeur VPN Booster distant) ou le nom de Domaine dynamique.
- Dans les rubriques Nom d'utilisateur et Mot de passer, vous n'avez plus qu'a saisir vos identifiants.
Rappel : ces paramètres d'identification, connus par l'administrateur du routeur distant, sont les mêmes que ceux saisis dans le compte d'appoint entrant du VPN Booster.
- Dans la rubrique Type de VPN, Sélectionnez le protocole que vous allez utiliser lors de votre connexion VPN (PPTP, L2TP ou L2TP avec règle IPSec), puis cliquez sur OK.
Remarque: si vous scélectionnez le protocole PPTP, vous pouvez lui attribuer des niveaux d'encryption basés sur le protocole MPPE de Microsoft. Encryption requisoion correspond à une encryption de 40 bits. Encryption maximale correspond à une encryption de 128 bits.

Attention: si du côté du routeur distant, dans la partie Service d'appoint, l'encryption PPP (MPPE) est déclarée Obligatoire, sur le Configurator VPN, vous doivent cocher l'options Encryption maximale afin d'établier le lien VPN. Renseignez-vous évientuèlement auprès de l'administrateur du distant.
- Decochez Utiliser la passerelle par défaut pour le réseau distant.

- Si vous sélectionnez L2TP avec règle IPSec comme indiqué sur l'image ci-dessus, vous doivent désigné un clé de partage ainsi qu'un niveau de sécurité. Attention: ces paramètres doivent être également saisis à l'identique du côte du routeur distant. Cliquez ensuite sur OK.

- La connexion s'effectue et vos paramètres d'identification sont vérifiés. Si ces paramètres sont exacts, la connexion s'établit en quelques secondes. La fenêtre de connexion disparait automatiquement. A droite de la barre des tâches, l'indicateur d'accès distant apparaît également.

- Levoyant ISP vous indique que votre connexion Internet est bien établie. Levoyant VPN vert fait état de l'établissement de la connexion VPN.
- L'indicateur d'accès distant situé dans la barre des tâches confirme que la connexion est établie. Si vous effectuez un double-click sur cet indicateur, une fenêtre s'ouvre représentant les principaux paramètres de connexion (débit, durée de connexion...). Un bouton Se déconnecter vous permet d'internorme la connexion VPN.


Etape 3 : Etat de la connexion VPN sur le routeur
Etat de la connexion si l'hote distant est sous Windows 98 ou Me
Si les paramétrages ont été correctement effectuels sur le routeur et chez l'hôte isolé, votre lien VPN doit s'étabrir. Cliquez sur État de la connexion VPN. Les paramétrues de la connexion doivent alors apparaitre. Sous Windows 98 ou Me, comme l'indique l'image ci-dessous, la connexion VPN ne s'effectue que par le protocole PPTP.

Etat de la connexion si l'hote distant est sous Windows 2000 ou XP
Si les paramétrages ont été correctement effectuels sur le routeur et chez l'hôte isolé, vous lien VPN doit s'étabrir. Cliquez sur État de la connexion VPN. Les paramétrues de la connexion doivent alors apparaitre. comme cela est possible sous Windows 2000 ou XP, votre connexion VPN apparait cryptée.

Configuration d'un VPN sur le LAN ou WLAN
Ce mode de configuration permet de sécuriser la connexion d'un poste du réseau local. Il est notamment recommendé pour la liaison de postes sans fil.
Les protocoles possibles sont PPTP, L2TP avec ou sans règle IPSec.
Pourmettre en place cette connexion VPN, sur le PC (client local sous Windows 2000 ou XP), on doit utiliser le Configurateur VPN BeWAN.
Etape 1: Configuration des paramètres TCP/IP
La première étape consiste a affector au routeur une seconde adresse IP et au poste client une adresse IP figurant dans la meme plan d'adressage.
Sur le VPN Booster
- Dans le menu Configuration Elémentaire, cliquez sur LAN TCP/IP et serveur DHCP.
- En face de l'intitule Routage IP, selectionnez l'option Activer.
- Affectez ensuite une seconde adresse IP au routeur qui ne doit pas se couver pas dans le même plan d'adressage que votre réseau. Saisissez le masque de sous-réseau correspondant.

- Une fois ces informations saisies, cliquez sur OK pour valider.
- Le routeur doit redémarrer pour prendre en compte les nouveaux paramètres. Sélectionnez Conserver la configuration actuelle, puis cliquez sur OK. Attendez 5 secondes pour que le redémarrage soit terminé.
Attention: n'eteignez surtout pas le VPN Booster pendant cette phase de redémarrage. Vous risqueriez d'endommager sa mémoire et de le rendre inutilisable (dommage non couvert par la garantie).
- Une nouvelle fenêtre apparait. Cliquez sur la première adresse http, qui est en fait l'adresse IP de votre routeur, afin de returner sur le configurateur du VPN Booster.
Sur le poste client
- Cliquez sur démarrer, puis sur Panneau de configuration.
- Cliquez sur Connexions réseau et Internet, puis sur Connexions réseau.
- Avec le bouton droit de la souris, cliquez sur Connexion au réseau local, puis selectionnez Propriétés dans le menu.
- Sélectionnez l'élement Protocole Internet (TCP/IP), puis cliquez sur Propriétés.
- Sélectionnez Utiliser l'adresse IP suivante.
- Dans la rubrique Adresse IP, entrez l'adresse IP que vous avez decide d'attribuier au PC.
Important :
- L'adresse IP du PC doit impératifement se situer dans la même plage que la deuxième adresse IP que vous venez d'affector au VPN Booster (dans notre exemple, le routeur possède l'adresse IP « 192.168.46.1 » et le PC « 192.168.46.33 »).
-
L'adresse IP du PC doit être unique, c'est-à-dire différente de celle des autres équipements présents sur le réseau local (ordinateurs, VPN Booster ...).
-
Dans la rubrique Masque de sous-réseau, entrez la valeur du masque de sous-réseau du VPN Booster, soit « 255.255.255.0 »
- Dans la rubrique Passerelle par défaut, entrez la seconde adresse IP attribuée au VPN Booster.
- Sélectionnez l'option Utiliser l'adresse de serveur DNS suivante.
Saisissez de préférence l'adresse IP du routeur. De cette façon, vous utilisez la fonction Proxy DNS du routeur qui vous permet d'optimiser la navigation.
Sinon, you could see again the address of serveur DNS indiquée par voite FAI (pour cela, reportez-vous a la documentation fournie par celui-ci lors de la souscription de 1'abonnement).
Rappel : les serveurs DNS permettent la résolution des noms symboliques sur Internet.

- Cliquez sur OK afin de valider les modifications.
Etape 2 : Configuration du VPN
Sur le VPN Booster
- Dans le menu Réglages Avancés, cliquez sur VPN et accès distants, puis sur Compte d'applen entrant.
- Pour paramétrer un compte, cliquez sur un numéro (si le compte n'a pas encore été paramétré, le nom du compte apparait sous la forme ???).
- Pour activer le compte, cochez Activer le compte utiliser.
- Entrez un nom et un mot de passer dans les rubriques Nom d'utilisateur et Mot de passer (16 caractères maximum pour chacune des rubriques). Ceux-ci doivent etre les mêmes identifiants que leurs saisis par l'hote distant.
- Dans la rubrique Delai d'inactivité, entrez le nombre de secondes au terme duquel la connexion sera automatiquement interrompue en cas d'inactivité.
Remarque : indiquez « 0 » seconde afin que le routeur ne coupe pas la liaison après une période d'inactivité.
- Dans la partie Type d'emploi entrant permitted, cochez le(s) protocole(s) que le routeur va autoriser pour ce compte.
Attention : vous pouvez découvert le protocole Tunnel IPSec. En effet, le configurateur VPN que vous allez utiliser pour étabrir votre lien VPN ne vous permet pas d'utiliser ce mode de sécurité.
-
Si vous avez selectionné le protocole L2TP avec règle IPSec (recommandée ou obligatoire), vous devez impératifement saisir une clé IPSec :
-
Cochez Activer l'authentication (ou Activer l'authentication CLID si vous possédez le VPN Booster 32 i).
- Saisissez l'adresse IP du poste client.
- Saisissez ensuite votre clé IPSec pour ce profil particulier enclistuant sur le bouton Clé de partage IKE qui est devenu accessible. Cette clé, une fois confirmée, ne sera active que pour ce compte utiliseur.

- Cliquez sur OK afin de valider les informations. La configuration du compte d'appel entrant est terminée. Dans la colonne Etat, le compte est indiqué Activé (« v »).
Sur le poste client
- Cliquez sur démarrer, pointez sur Tous les programmes, puis cliquez sur Configurateur VPN BeWAN.
Remarque: le configurateur VPN est fourni sur le CD-ROM du routeur. Pour l'insteller, une fois vous党的建设 enregistré, cliquez sur Débuter l'installation, puis sur le modulo VPN Booster dont vous disposez. Cliquez sur Utilitaires, puis sur Configurateur VPN. Suivez ensuite le programme d'installation de l'utilitaire jusqu'à son terme.
- Cliquez sur Connexion.
- Saisissez la seconde adresse IP affectee au VPN Booster.
- Dans les rubriques Nom d'utilisateur et Mot de passer, vous n'avez plus qu'a saisir vos identifiants.
Rappel : ces paramètres d'identification, connus par l'administrateur du routeur distant, sont les mêmes que ceux saisis dans le compte d'appoint entrant du VPN Booster.
- Dans la rubrique Type de VPN, Sélectionné le protocole que vous allez utiliser pour étabrir votre connexion VPN (dans notre exemple, L2TP avec règle IPSec), puis cliquez sur OK.
Remarque: si vous sélectionnez le protocole PPTP, vous pouvez lui attribuer des niveaux d'encryption basés sur le protocole MPPE de Microsoft. Encryption requisition correspond à une encryption de 40 bits. Encryption maximale correspond à une encryption de 128 bits.

Attention: si du côté du routeur, dans la partie Service d'appoint, l'encryption PPP (MPPE) est déclarée Obligatoire, sur le Configurator VPN, vous doivent nécessairement cocher l'options Encryption maximale afin d'établier le lien VPN. Renseignez-vous auprès de l'administrateur réseau.
- Cochez Utiliser la passerelle par défaut pour le réseau distant.

- Cliquez sur OK pour valider.
- Àpès avoir sélectionné L2TP avec règle IPSec, vous devez désormais désirir la Méthode de sécurité appropriée.
Attention: veillez à ce que la méthode de sécurité désisie soit bien selectionnée dans le compte d'appoint du VPN Booster.
- Saisissez la même Clé de partage que cette renseignée dans le compte d'appoint entrant du routeur.
Attention: ce paramètre doit être également saisi à l'identique du (:é) du routeur distant.

- Cliquez ensuite sur OK.
- Une fois la connexion établie, vous doivent开具 un écran suivant.

Levoyant VPN vert fait etat de l'établissement de la connexion VPN. Notre poste est dorénavant connecté au VPN Booster sur le LAN ou WLAN.
Toutes les requêtes LAN ou WAN passeront exclusivement par le lien VPN.
Configuration du mode Pass-Through
Si vous souhaitez:gér une connexion VPN via un autre équipement que le routeur, vous pouvez utiliser le mode VPN Pass-Through.
Le mode Pass-Through vous permet de désactiver la gestion native d'un ou de plusieurs modes VPN en associant une ouverture de port correspondant au mode VPN utilisé. Grâce à cette opération, le routeur redirige les requêtes VPN entrantes vers un serveur VPN du réseau local. Procedez en deux étapes :
- Dans le menu Réglages Avancés, cliquez sur VPN et accès distants, puis sur Modes du VPN.
- Decochez le service en question.
Par exemple, si le serveur VPN fonctionne en mode PPTP, décochez Activer le service VPN en mode PPTP, puis cliquez sur OK. Vous devez ensuite redémarrer votre routeur.

- Effectuez une ouverture de port correspondant au mode VPN utilisé. Cliquez sur NAT dans le menu Réglages Avances, puis sur Configuration de l'ouverture de ports. Sélectionnez une fiche encore disponible. En fonction du mode choisi, Sélectionnez le protocole et le port suivants :
Mode PPTP: protocole TCP/Port 1723
Mode IPSec: protocole UDP/Port 500
Mode L2TP: protocole TCP/Port 1701
- Cliquez sur OK.
Filtres IP et Firewall
Le paramétrage des filtres IP et du Firewall yous permit d'empêcher l'intrusion de stations extérieures sur voitre réseau local. Il yous permit également de restreindre l'accès à Internet.
Le filtrage IP contient deux types de filtres: le filtrte sur les appeals et le filtrte sur les données. Le premier donne la possibilité de bloquer ou de permettre l'accès des paquets avant que la connexion WAN soit établie. Le second est prévu pour bloquer ou permettre l'accès des données une fois la connexion WAN établie. C'est donc en fonction de l'état de la connexion WAN que le filtrage IP transférera le paquet vers le filtrte sur les appeals ou vers le filtrte sur les données.
Paramétrage d'un contrôle
Vouaves la possibilité de configurer 12 filtrres.Procedez comme suit :
- Dans le menu Réglages Avancés, cliquez sur Firewall.

- Par défaut, le filtré sur les appels est défini dans le filtré 1 et le filtré sur les données dans le filtré 2. Sélectionnez le genre de filtré que vous désirez appliquer.

- Pour chaque configuration d'un filtre, vous devez préciser des règles (un maximum de 7 règles par filtre). Cliquez sur un nombre de règle et renseignez les rubriques dans la nouvelle fenêtre. Pour illustrer le paramétrage d'une règle, nous avons choisi un exemple simple de restriction à l'accès Internet. Au travers de cet exemple, nous verrons également les autres options possibles lors d'une configuration.
Dans ce cas present, l'utilisateur qui possède l'adresse IP « 192.168.1.200 » n'est pas autorisé à accéder au service http sur Internet. Le port 80 correspond au port http.

- Dans la rubrique Commentaires, entrez une information qui vous permettra d'identifier l'objet de cette règle.
- Cochez Activer la règle de ce contrôle.
-
Dans la rubrique Passer ou Bloquer, indique que chaque action sur les paquets doit avoir cette regle. Vous avez lechioix parmi 4 possibilités :
-
Passer immédiatement : laïse passer les paquets en fonction de la rège en question.
- Bloquer immédiatement : bloque les paquets en fonction de la règle en question.
- Passer si plus de correspondance : laisse passer les paquets en fonction non seulement de cette rège mais aussi en tenant compte des autres règes suivantes qui ont été paramétrées et activées. La vérification s'effectue à partir de la rège en question jusqu'à la première rège édictée et seulement dans cet ordre. Les règes sont donc mises en relation.
-
Bloquer si plus de correspondance : bloque les paquets en fonction non seulement de cette règle mais aussi en tenant compte des autres règles suivantes qui ont été paramétrées et activées. La vérification s'effectue à partir de la rècle en question jusqu'à la première règle édictée et seulement dans cet ordre. Les règles sont donc mises en relation.
-
Si vous souhaitez récapérer une trace du filtrage effectué, cochez la rubrique Log. Vous pourrez visualiser cette trace en utilisant une session Telnet (référez-vous au chapitre « Commandes Telnet », section « Liste des souscommandes LOG » page 188).
- Dans la rubrique Direction, indiquez la direction des paquets sur laquelle doit s'appliquer la règle.
Remarques :
- Si vous avez selectionné le filtré sur les appeals, cette rubrique n'est pas prise en compte. Quel que soit le paramètre selectionné, la règle ne peut s'appliquer que sur les appeals sortants. Ce filtré permettra le déclenchement ou le non déclenchement de la communication.
-
Concernant le filtrage sur les données, Direction entrante signifie que le filtrage se fait sur les paquets entrants sur le LAN (réseau local). Direction sortante signifie que le filtrage s'applique sur les paquets sortants sur le WAN (réseau distant).
-
Sélectionné le type de protocole auquel s'applique la règle. Quand vous effectuez un filtrage sur un port, veillez utiliser l'un des choix suivants : TCP, UDP ou TCP/UDP.
- Dans la rubrique Source de l'Adresse IP, saisissez l'adresse IP, puis le masque de sous-réseau.
Remarques :
- Suivant le masque de sous-reseau choisi, vous pouvez selectionnez une adresse en particulier ou un groupe d'adresses. Dans notre exemple, le masque de 255.255.255.255 (/32) inclut une seule adresse (192.168.1.200).
-
A titre indicatif, un masque de 255.255.255.0 (/24) inclurat les adresses de 192.168.1.1 à 192.168.1.254.
-
Pour filtrer un service, si vous avez selectionné le protocole TCP et/ou UDP, vous devez spécifique un opérateur logique (= , !=, < et >) , puis un port ou une plage de ports:
-
= (égal à) : le filtrage s'applique au numéro de port ou à la plage de ports saisis,
- ! = (différent de): le filtrage s'applique à tous les portes sauf au nombre du port ou de la plage de portes saisis,
- < (inférieur à) : le filtrage s'applique à tous les ports inférieurs au port saisi (de ce fait, vous ne devez rien saisir dans la rubrique Au port),
-
(supérieur à) : le filtrage s'applique à tous les ports supérieurs au port saisi (de ce fait, vous ne devez rien saisir dans la rubrique Au port).
Remarque : dans un processus client/serveur (ex. http, ftp,...), le port source du client est généralement un port libre supérieur à 1023 (port virtuel) alloué dynamiquement. Selon notre exemple, le filtrage doit donc s'effectuer sur le(s) port(s) de destination.
- Dans la rubrique Destination, entrez l'adresse IP à laquelle n'a pas accès votre utilisateur.
Remarque: « Any » signifie que la regle s'applique à toutes les adresses IP. - L'option Garder l'etat permet de conserver des informations sur une session complète de communication TCP/UDP.
- Dans la rubrique Gestion de la fragmentation des paquets, spécifiez le type de paquets sur lesquels vous souhaitez appliquer le filtrage.
- Cliquez sur OK pour que les paramètres soient pris en compte. Vous venez de créé une nouvelle règle.

- Une fois la règle édictée, elle devient active. Cliquez de nouveau sur OK. Vous revenez sur le tableau des filtres.
Remarque : pour la rendre inactive, décochez la case située dans la colonne Active, puis cliquez sur OK.

Attention : lorsque vous configurez un nouveau filtr, choisissez toujours le filtré immédiatement disponible après le dernier paramétré. En effet, si vous laissez un filtré libre entre deux filtres configurés, le(s) filtré(s) suivant le filtré laissé libre ne sera(seront) pas pris en compte (notamment en cas de suppression d'un filtré).
Pour que ce dernier soit en compte, vous doivent le relier au filtre situé avant. Procedez comme suit :
- Cliquez sur le nombre du filtré précédant le filtré laissez libre.
- Dans la rubrique Suite des règles sur le filtr, indique le nombre du filtr se situé après le filtr laissé libre. De cette manière, la vérification s'effectuera sur tous les filtrés configurés.
Configuration générale des filtres
Dans une page de configuration générale, vous pouvez activer ou désactiver une partie ou la totalité des filtres sur les appeals ou sur les données que vous avez préalablement créé. Pour cela, Sélectionnez le nombre du filtré à partir duquel s'établitra la vérification.
- Dans la fenêtre Paramétrage des filtres IP et du firewall, cliquez sur Configuration générale. Sélectionnez le ou les filtres que vous désirez activer.

- Vous pouvez ensuite activer ou non un journal des trames.
Remarque : le journal des trames permet de dupliquer les paquets filtrés ou non filtrés par le routeur. Specifiez alors l'adresse MAC du matériel (carte réseau d'un PC, firewall matériel,autre routeur,...) sur lequel seront renvoyés les paquets dont vous souhaitez avoir une trace. Pour que les informations soient renvoyées dans le journal des trames,cochez Dupliquer sur le LAN dans la ou les regle(s) que vous souhaitez analyser.
- Si vous souhaitez désactiver le journal des trames, dans la rubrique Journal des trames, Sélectionnez Aucun.
-
Si vous souhaitez au contraire avoir une trace des paquets filtrés ou non filtrés, plusieurs可以选择 dans la rubrique Journal des trames :
-
Passer: le journal des trames dupliquera tous les paquets autorisés par le(s) filtré(s),
- Bloquer: le journal des trames dupliquera tous les paquets bloqués par le(s) filtré(s),
-
Pas de correspondance : le journal des trames dupliquera tous les paquets qui ne correspondent pas aux règles de filtrage.
-
Cliquez sur OK pour valider vos paramètres de filtrage.
Schéma du processus de filtrage
Voici un schéma qui résumé la procédure du filtrage au niveau du routeur. Il faut que le filtré d'applé et le filtré de donnée soient actifs :


Configuration des défenses DoS
Le VPN Booster dispose également des fonctionnalités de contrôle d'intrusion DoS (Denial of Service) pour contrer les tentatives d'intrusion vers votre réseau.
La défense DoS vous aide à détecter et atténuer les attaques de DoS. Ces attaques consistent à paralyser des équipements reseaux afin qu'ils ne puissent plus être utilisés temporairement. En général, le but de ces attaques n'est pas de recupérer ou d'alterer des données mais de prendre inaccessible un service aux utilisateurs légitimes. Ces attaques peuvent rendre inutilisables un ordinateur ou un réseau et donc provoquer des conséquences dramatiques.
On désigne donc des attaques de masse et des attaques de vulnérabilité. Les attaques de masse tentent d'épaiser toutes les ressources de votre système tandis que les attaques de vulnérabilité Essaient de paralyser le système en attaquant les faillies caractéristiques des protocôtes ou des systèmes d'exploitation.
Le moteur de la défense DoS inspecte chaque paquet entrant selon sa base de données de signatures d'attaque à sa disposition. N'importe quel paquet identifié comme potentiellement dangereux ou destabilisant pour le système est bloqué. Lorsque le client Syslog est activé, tous les messages correspondants lui sont envoyés. Le format de message commence par le mot-clé représentant une signature DoS suivi du nom qui refère àquelle attaque il correspond.
Il existe 15 types de défense pour la configuration de la défense DoS. Par défaut, la fonctionnalité de la défense DoS est désactivée. Une fois cette fonctionnalité activée, la valeur par défaut est place à 300 paquets par seconde et le dernier d'inactivité est de 10 secondes.
Remarque : veillez à ce que le seuil soit toujours supérieur à 150 paquets par seconde et que le dernier d'inactivité soit supérieur à 5 secondes.

Configuration du filtrage de contenu
Le VPN Booster dispose de la fonction de filtrage de contenu.
Par exemple, pour les établissements scolaires ou les entreprises qui le souhaitent, il est possible d'interdire l'accès des élèves à des sites non souhaitables, mais également d'interdire certains sites (en fonctionnant par mot-clé) ne correspondant pas aux besoin de l'entreprise.
Grace à des puissants filtres par mots-clés, vous pouvez restreindre l'accès à des sites Web et ainsi les sites indésirables peuvent être inaccessibles de votre réseau. L'administrateur se sert d'une liste pré-définie afin de bloquer l'accès aux sites comportant un contenu répréhensible ou non déséré (pages pornographiques,iaux d'argent,...).Ce filtrage est opéré sur la base de l'URL demandée.

Attention: si vous disposez du VPN Booster 8, seules les restrictions URL et WEB sont paramétrables.
Restriction URL
Pour bloquer l'accès à certains sites, procédez comme suit :
- Cochez la case Activer les restrictions URL.
- Cochez la case ACT d'une ou plusieurs des 8 listes disponibles, puis saisissez le nom du site ou un ensemble de mots-clés dans la zone de texte.
Si une adresse de site saisie par un utilisateur contient l'un de ces mots-clés, la page concernée ne sera pas affichée. Dans l'exemple ci-dessous, nous avons decide de bloquer les sites dont l'adresse contient les caractères 'sex' ou 'porno'.
Important à savoir : en précisant l'expression 'sex', vous interdisez également l'accès aux noms de sites comptant les mots comme 'sexe', 'sexologie', 'sexy', 'sexualité' ou encore 'sextant', c'est-à-dire tous les mots constitués de ces trois lettres.
Remarque : quand plusieurs mots composent une liste, veuilles les séparer par une espace, une virgule ou un point virgule pour qu'ils soient pris en compte.

- Cliquez sur OK pour enregister les changements.
Remarque : en activant le filtrage URL, vous avez la possibilité de cocher l'option Interdire l'accès au Web par adresse IP. De cette manière, l'utilisateur doit obligatoirement taper un nom de Domaine pour acceder à un site.
Restriction WEB
Outre des URL spécifiques, le routeur peut également rejoeter certains types de code comme ActiveX, des applets Java, des cookies...
- Cochez la case Activer les restrictions WEB.
- Cochez ensuite les applications que vous souhaitez bloquer.
Dans l'exemple ci-dessous, nous avons decide de bloquer pour tout utiliser le téléchargement de fichiers '.exe' (option Fichiers exécutables) ou de fichiers '.zip' (option Fichiers compressés).

Attention : ces restrictions ne concernnent pas le téléchargement via le protocole FTP, mais uniquement le téléchargement via le protocole http.
Activier les restrictions WEB
Java
ActiveX
Fichiers compressés
Fichiers executables
□Cookie
Proxy
Fichiers multimedia
- Cliquez sur OK pour valider ces restrictions.
Plage hora des restrictions
Par défaut,ès que vous activez l'une des deux restrictions precedentes (URL ou WEB),ces filtrages sont permanents puisque l'option Blocage permanent est selectionnée.Néanmoins,vous avez également la possibilité de leur attribuer une plage hora spécifique.Procedez comme suit :
- Sélectionnez l'options Blocage de.
- Indiquez l'houre à laquelle vous souhaitez que le filtrage demarre ainsi que 1'houre à laquelle il doit se terminer.
- Determininez ensuite les jours concernés par ces restrictions.
Selon l'exemple montré ci-dessous, les restrictions que nous avons attribuées ne sont pas effectives le samedi et le dimanche. De plus, enSEAINE, I'acces est autorisé de 17h31 à 9h.
Plage horsaire des restrictions
Blocage permanent
Blocage de 9 : 0 à 17 : 30
Jours de laSEMaine:
Tous les jours
Les jours suivants

Dimanche

Lundi

Mardi

Mercredi


udi
Vendredi

Samedi
- Cliquez sur OK.
Autorisations exceptionnelles
La Série VPN Booster 32 gère une table des adresses IP qui, sous forme de liste de contrôle, autorisera l'accès aux sites interdits. Vous avez donc la possibilité, malgré les interdictions précédentes (Restriction URL ou Restriction WEB), d'autoriser certaines adresses IP qui composent votre réseau à acceder néanmoins aux sites prohibés. Ces autorisations sont donc prioritaires par rapport aux interdictions. Pour cela, procédez comme suit :
- Cochez la case Ignorer les restrictions pour les clients suivants.
- Saisissez l'adresse IP (et le masque de sous réseau correspondant) du client pour lequel les interdictions préalablement établies ne seront pas prises en compte. Seule cette adresse IP validée et configurée peut acceder aux sites interdits.
Dans l'exemple ci-dessous (en correspondance avec les examples précédents), nous avons decide d'autoriser l'ordinateur dont l'adresse IP est '192.168.1.20' à acceder aux noms de sites composés des caractères 'sex', et à télécharger des fichiers '.exe' ou des fichiers '.zip'.

- Cliquez sur OK pour valider.
NAT / Ouverture de ports / DMZ
Translation d'adresses (NAT)
L'utilisation classique du NAT permet de replacer l'adresse privée des stations du réseau par l'adresse publique attribuée par le fournisseur d'accès au routeur.
Dans le menu Réglages Avancés, cliquez sur NAT. L'écran suivant apparait.

Exposer un serveur sur Internet
Avec certaines applications, vous pouze utiliser le tableau de redirection des ports afin de permettre l'accessibilité de ces applications à tous les internautes.
L'exemple suivant vous montre un serveur FTP presente sur le LAN et accessible sur Internet. L'adresse du serveur FTP sur le réseau local est « 192.168.1.200 ». Le serveur FTP a ete reconfiguré avec un port 2021 (le port standard du service FTP est normalement le port 21).

Le tableau permet la redirection de 10 ports.
Dans la colonne Nom du service, saisisse le nom du service concené par cette redirection de port.
Dans la colonne Protocole, indiquez le type de protocole.
Dans la colonne Port public, indiquez le port qui doit être redirigé sur le service interne.
Dans la colonne IP privée, indiquez surquelle adresse privée doit être redirigée la requête.
Dans la colonne Port privé, indiquez surquel port privé doit être redirigée la requête.
Dans la colonne Activer, en cochant la case, vous validez la ligne concernée. Cliquez ensuite sur OK. Cette redirection de port est activé (le signe « v » estprésent dans le tableau de la fenêtre de confirmation).
Tableau des ports les plus connus
Dans le menu Réglages Avances, cliquez sur NAT, puis sur Liste des ports connus utilisés. Le tableau suivant apparait, récapitulant le numero des ports standards par service.

Ouverture de ports
Certaines applications (pcAnywhere, NetMeeting,iaux...) necessitant l'utilisation de ports spécifiques. Pour que les machines du réseau local (un maximum de 10) aient accès à ces applications, vous pouvez rediriger ces dernières en utilisant l'ouverture de ports si vous connaissiez les ports utilisés. Contrairement au NAT, l'ouverture de ports peut s'appliquer à plusieurs ports successifs. Vous pouvez ainsi rediriger un maximum de 10 plages de ports par machine.
Dans l'exemple suivant, afin de documenter cette fonction, nous considérons une machine destinée à être administrée à distance avec l'application pcAnywhere ou WinVNC (référez-vous à la liste des ports connus utilisés page 137).
- Dans le menu Réglages Avancés, cliquez sur NAT.
- Cliquez ensuite sur Configuration de l'ouverture de ports.

- Cliquez sur un numero dans la colonne Index.
- Dans l'écran suivant, cochez Activer ce profil.

-
Dans la rubrique Commentaires, entrez une information qui vous permettra d'identifier l'objet de ce profil.
-
Cliquez ensuite sur Voisinage réseau, puis selectionnez l'adresse IP de la machine sur laquelle sera dirigée l'ouverture de ports.
- Indiquez les ports utilisés et le protocole associé.
- Cliquez sur OK afin de valider le profil.
- Effectuez la même opération pour l'application WinVNC.

- Dans la colonne Etat, « v » signifie que l'ouverture de ports concernée est activée.

DMZ
Si les applications utilisent des ports inconnus ou non standards, on utilise la zone DMZ. Celle-ci vous permet d'ouvir tous les ports non définis précédemment (NAT ou ouverture de ports) vers une seule machine du réseau local. La DMZ vous permit d'exposer une machine sur Internet sans restriction d'utilisation des ports.
- Dans le menu Réglages Avancés, cliquez sur NAT.
- Cliquez ensuite sur Configuration de l'hote de la zone démilitarisée (DMZ).
- Cochez Activer.
- Cliquez sur Voisinage reseau, puis selectionnee 1'adresse IP de la machine sur laquelle sera utilisee l'application.
- Cliquez sur OK pour valider.

- Àpès avoir lancelé l'application sur la machine hôte, dans le menu Diagnostics, cliquez sur État du traffic afin de connaître les ports utilisés par l'application. En effet, le routeur redirige tous les ports non définis.
Voues pouze de cette maniere specifiec ces ports dans l'ouverture de ports apres avoir desactive la DMZ. Ceci yous permect d'optimiser la securite en n'ouvrant que les ports necessaires a I'application.
Remarque sur une autre utilisation de la DMZ :
Si vous souhaitez utiliser un logiciel firewall pour constater les différentes tentatives d'intrusions sur le réseau local, installez tout d'abord ce logiciel sur une des machines du réseau, puis configurez ensuite cette machine en hote DMZ. De cette manière, toutes les tentatives d'accès sur des ports non standards ne seront pas bloquées par le routeur, mais redirigées sur la machine DMZ.
Gestion des plages horaires
Le VPN Booster vous permet deGERER les heures de connexion Internet.
Voues pouvez specifier des plages horaires pendant lesquelles vous interdisez ou autorisez au routeur la connexion vers l'extérieur.
Réglage de l'heure du routeur
Attention :
- Les données concernant l'heure du réseau seront effacées en cas de redémarrage. N'oubliez pas de régler l'heure du réseau à chaque redémarrage afin que les plages horaires activées soient correctement prises en compte.
-
Le passage à l'heure d'établit n'est pas pris en compte par le routeur. Si vous Sélectionnéz Utiliser un serveur afin de régler l'heure, choisissez alors un fuseau horsaire en GMT+02:00.
-
Dans le menu Réglages Avancés, cliquez sur Heure du routeur.
-
Cliquez ensuite sur Obtenir l'heure.
-
Si vous scélectionnez Utiliser l'heure du navigateur Internet, l'heure prise en compte sera celle du PC d'administration sur lequel le navigateur est utilisé.
- Si vous sélectionné Utiliser un serveur, le routeur va chercher l'heure sur une machine du réseau local sur laquelle est installé un logiciel serveur NTP (Network Time Protocol). Ce logiciel (non fourni sur le CD-ROM) se connecte sur des sites afin de recuperer l'heure.
Dans la rubrique Adresse IP du serveur, saisissez l'adresse IP de l'ordinateur dédié sur lequel est installé le calculiel serveur NTP.
Indiquez le fuseau hora dans la rubrique correspondante.
Dans la rubrique IntervaIe de mise a jour, indique le delai de recuperation de 1'houre entre le routeur et l'ordinateur dédié.
Remarque : nous vous conseillons d'installer le logiciel NTP sur une machine allumée en permanence.

- Cliquez sur OK pour valider les paramètres de l'heure.
Paramétrage des plages horaires
Toutes les plages horaires que vous allez désormais configurer, puis activer, vont prendre comme reference l'heure du routeur que vous venez de paramétre dans la section précédente.
- Dans le menu Réglages Avances, cliquez sur Plages horaires. L'écran suivant apparait.

- Cliquez sur un numero dans la colonne Numero et renseignez les rubriques dans la nouvelle fenetre.
Remarques : le VPN Booster vous permet de paramétrer jusqu'à 15 plages horaires. Cependant, vous ne pourrez attribuer que 4 plages horaires à chaque type de connexion.
- Cochez Activer cette plage horaire.

- Dans la rubrique Début de la période, indiquez la date à partir de laquelle la plage hora devra être prise en compte par le routeur.
-
Indiquez ensuite l'heure de début ainsi que la durée de la plage horaire.
-
Dans la rubrique Action, indique que chaque action la connexion doit avoir cette plage hora. Vous avez le besoin parmi 4 possibilités :
-
Forcer la connexion : autorise la connexion suivant les heures établies.
- Forcer la déconnexion : interdir la connexion suivant les heures établies.
- Activer à la demande : autorise les connexions si une requête est envoyée. La connexion reste ensuite active en fonction du temps d'inactivité indiqué dans la rubrique correspondante.
-
Désactiver à la demande : si une connexion est déjà en cours, autorise la poursuite de la connexion tant que le traffic est permanent. En revanche, une fois le délambda d'inactivité dépasse, toute reconnexion est impossible.
-
Sélectionnez ensuite la féquence.
-
Si vous désirez que la prise en compte de la plage horsaire soit ponctuelle, seLECTIONnez Seulément à la date spécifique.
-
Si vous désirez que cette plage horsaire s'applique à plusieurs jours, Sélectionnez Le(s) jour(s) sélectionné(s), puis cochez ceux qui seront concernés.
-
Cochez ensuite sur OK afin de valider cette plage horaire.
Exemple de paramétrage de plages horaires
Nous prenons l'exemple d'une société qui ne désire autoriser l'accès à Internet via ADSL que pendant ses heures d'ouverture : de 9h00 à 12h30 et de 14h-18h30 sur cinq jours, du lundi au vendredi.
Plage horsire n°1: Activer la plage horsaire, puis selectionnez Forcer la connexion pour autoriser la connexion de 9h00 à 12h30.
Cochez les jours concernés par le paramétrage, puis cliquez sur OK afin de valider l'information.

Plage horsire n°2: Activer la plage horsaire, puis selectionnez Forcer la connexion pour autoriser la connexion de 14h00 à 18h30.
Cochez les jours concernés par le paramétrage, puis cliquez sur OK afin de valider l'information.

Plage hora n°3: Activer la plage hora, puis selectionnez Forcer la déconnexion pour interdre la connexion pendant les autres périodes de la journee c'est-à-dire de 00h00 à 8h59, de 12h31 à 13h59 et de 18h31 à 23h59.
Cochez les jours concernés par le paramétrage, puis cliquez sur OK afin de valider l'information.
Remarque : cela concerne également le samedi et le dimanche.

Dans la colonne Etat, « v » signifie que les plages horaires concernées sont activées.

Il you suffit ensuite de returner dans la fenetre des parametes de votre connexion Internet. Dans les rubriques Plages horaires (1-15), saisissez les nombres des plages horaires que vous désirez attribuer à votre connexion.
Attention: Veillezauraisirle numero de la plaque la plus restrictive en dernier, en l'occurrence la plaque n^3 dans notre exemple.

Paramétrage du DNS Dynamique
La fonction DNS dynamique vous permet d'obtenir un nom de Domaine qui pointe en permanence vers votre machine lorsqu'elle est connectee à Internet. Le DNS dynamique fait donc correspondre un nom de Domaine constant avec une adresse IP variable. Si vous utilisez une adresse IP dynamique, cela vous offre ainsi un accès permanent aux ressources utilisées via le routeur (applications serveur qui passent derrière le routeur : serveur FTP, serveur web, serveur de messagerie...).
Au préalable, avant de procéder au paramétrage du DNS dynamique via l'interface du routeur, vous devez avoir ouvert un compte chez un des fournisseurs de noms de Domaine dynamique actuellément supportés par le routeur. Ce compte une fois ouvert vous permettra de créé un lien dynamique entre le nom de Domaine et l'adresse IP obtenu lors de chacune de vos connexions. Cela évite ainsi de fournir à chaque fois son adresse IP à un correspondant qui peut se connecter en ftp ou http par exemple sur votre serveur.
Il suffit ensuite de remplacer l'adresse IP par le nom « bewan.dyndns.org » par exemple, pour obtenir directement la connexion.
Activation du DNS dynamique
- Dans le menu Réglages Avancés, cliquez sur DNS dynamique.
- Dans la colonne Comptes, cliquez sur l'un des trois numeros.
- Dans la fenêtre de paramétrage du compte, cochez Activer le compte DNS dynamique.
- Dans la rubrique Serveur, selectionnez un nom de serveur correspondant à celui que vous avez choisi lorsque vous avez ouvert un compte.
- Dans la rubrique Nom de Domaine, saisissez le nom choisi lors de la création de votre compte.
- Saisissez ensuite le nom d'utilisateur que vous avez besoin ainsi ainsi que le mot de passerie fourni par dyndns.org (dans notre exemple) sauf si vous avez modifie ce mot de passerie.

Remarques :
- La rubrique Autorisation des alias (Wildcards) vous permet de prendre votre nom de Domaine accessible même si vous ajoutez un alias (ex. : dupont@bewan.dyndns.org). Cela peut notamment se révêler utile si vous avez un serveur de messagerie derrière le routeur.
-
Les rubriques Secours de messagerie (Backup MX) et Adresse du serveur de messagerie ne sont valables que si vous avez souscrit une donation auprès du serveur.
-
Cliquez sur OK afin d'activer ce compte.
-
Notre compte est activé mais vous nevez désormais activer la fonction même du DNS dynamique. Àpès avoir coché Activer le DNS dynamique, cliquez de nouveau sur OK.

Remarque : si vous cliquez sur le bouton Journal, vous pouvez vérifier que la mise a jour a bien ete effectuee.
Exemples de création de comptes DNS dynamiques
Ouvrir un compte sur no-ip.com
- Connectez-vous sur le site http://www.no-ip.com
- Une fois sur la page d'accueil, cliquez sur Sign up Free!.
- Renseignez les champs obligatoires affichés en gras. Il vous faut bien sur indiquer une adresse e-mail valide.
-
Cliquez sur le bouton SIGN UP NOW.
-
Un écran vous confirme que l'enregistrement du compte utilisé a bien été validé. No-IP.com envoie un message à l'adresse email indiquée.
- Account Created
- Une fois connecté sur toute messagerie, activez ensuite votre compte. Retournez ensuite sur la page d'accueil afin de vous authenticateur.
- Dans le menu de gauche, saisissez votre adresse e-mail, puis votre mot de passer. Cliquez alors sur Login.
- Toujours dans le menu de gauche, dans la rubrique Hosts / Redirects, cliquez maintainant sur Add afin de creer un nom de domaine: bewan.no-ip.info. Attention: avant deCHOISIR l'extension du nom de domaine, assurez-vous qu'elle soit implémentee sur sua routeur.
- Add a Host
-
L'adresse IP qui apparait correspond à l'adresse IP de la connexion Internet que vous utilisez actuellement. Inutile de s'en préoccuper pour l'instant. Cliquez sur Create Host.
-
Dans le menu Configuration Elémentaire du routeur, cliquez sur LAN TCP/IP et serveur DHCP. Renseignez les champs Serveur DNS en individant les DNS du FAI.
- Dans le menu Réglages Avancés, cliquez sur DNS dynamique.
- Cliquez sur un compte disponible, puis cochez Activer le compte DNS dynamique.
-
Indiquez ensuite :
-
le Serveur utilisé (no-ip.com)
- le Nom de Domaine (bewan) et l'extension no-ip.info
- le Nom d'utilisateur et le Mot de passer : adresse e-mail que vous avez utilisé pour vous inscrite sur le site no-ip et le mot de passer.

- Cliquez sur OK afin d'activer ce compte.
- Dans la fenêtre de paramétrage du compte, cochez Activer le DNS dynamique, puis cliquez de nouveau sur OK.
- Il est possible de Forcer la mise à jour et de vérifier, grâce au Journal, que la mise à jour s'est bien effectuée. Les deux messages "Account is not enable" correspondent aux deux comptes (2 et 3) qui ne sont pas renseignés.

Remarques :
- "A" représenté le nom d'utilisateur et "H" le nom de Domaine sans l'extension.
-
Si le message "Http request error" s'affiche, vérifie que les DNS ont bien eté saisis sur le routeur.
-
Vous pouvezcki nentant :
-
Soit effectuer un ping sur bewan.no-ip.info afin de retrouver l'adresse IP de la connexion Internet du routeur,
- Soit utiliser le comptebewan.no-ip.info.
Ouvrir un compte sur dyndns.org
- Connectez-vous sur le site http://www.dyndns.org
- Une fois sur la page d'accueil, cliquez sur Sign Up Now.
- Lisez les informations, puis cochez la case I have read and agree to the Acceptable Use Policy above.
- Renseignez les champs suivants :
-Username:saisissez un nom d'utilisateur.
- E-mail Address : indiquez votre adresse e-mail, puis confirmez cette adresse.
- Password : indiquez votre mot de passer, puis confirmez-le.
- Cliquez sur le bouton Create Account.
- Connectez-vous ensuite sur votre messagerie et allez sur 1'adresse URL indiquee dans le message transmis par dyndns.org.
- Saisissez votre nom d'utilisateur et votre mot de passer, puis cliquez sur Login.
- Cliquez sur l'onglet Services, sur Dynamic DNS, puis sur Add Host.
- Choisissez un nom de Domaine, puis cliquez sur le bouton Add Host.
Remarque: le nom de Domaine est composé d'un nom d'hôte que vous avons choisi et d'un nom de serveur répertorié dans la liste des adresses. Avant de désir l'extension du nom de Domaine, assurez-vous qu'elle soit implémentée sur votre routeur. Voici un exemple de nom de Domaine: bewan.dyndns.org
- Reportez vos paramètres dans la partie du routeur consacrée au paramétrage du DNS dynamique.
Paramétrage des routes statiques
L'implémentation des routes statiques permet de spécifique un chemin et ainsi d'orienter des paquets IP vers différentes passerelles capables de joindre les réseaux de destination souhaités. Si votre réseau comporte au minimum 3 passerelles (routeurs, serveurs NT,...), il vous est alors possible d'établier des routes statiques. Sont nécessaires :
- une passerelle par défaut (en général la passerelle qui permet l'accès Internet); c'est aussi le routeur sur lequel va être implémentée la route statique,
- une passerelle intermédiaire par laquelle sont transiter les paquets et qui va les envoyer vers la passerelle de destination,
- une passerelle de destination.
Sur le VPN Booster, vous pouvez paramétre jusqu'à 10 routes statiques.
Nous allons illustrer cette section en prénant pour référence le type de configuration suivant. A noter dans l'exemple, que toutes les passerelles sont en réseau de classe C.

A partir du routeur A (VPN Booster), nous désirons :
acceder au LAN 2;
- faire de l'i-minitel au travers du routeur B.
Remarques préalables :
- Des fiches d'interconnexion (sur les routeurs B et C ) doivent être paramétrées.
-
Sur les PC du LAN 1, vous doivent déclarer le routeur A comme passererelle par défaut.
-
Dans le menu Réglages Avances, cliquez sur Routes statiques. L'écran suivant apparait.

- Pour paramétre r une route, cliquez sur une adresse de destination (si la route n'a pas encore ete parametrée, dans la colonne Etat, le signe « ? » apparait, indiquant qu'elle est encore disponible).
- Vous allez parameter la première route statique : le routeur A va pouvoir acceder au routeur C.
Dans la rubrique Etat/Action, selectionnez l'option Activé/Ajouter.
Remarques :
- L'option Vide/Effacer vous permet de supprimer une route statique déjà existante. Cliquez sur OK.
- L'option Désactivé/Désactiver vous permet de désactiver provisoirement une route statique. Cliquez sur OK.
Dans la rubrique Adresse IP de destination, spécifiez l'adresse du réseau auquel vous pouze acceder. Dans notre exemple, nous désirons acceder au LAN 2, donc à l'adresse réseau 192.168.2.0. Indiquez également le masque de sous-réseau correspondant.
Dans la rubrique Adresse IP de la passerelle, spécifiez l'adresse du routeur qui va faire le lien avec le réseau de destination. Dans notre exemple, pour acceder au LAN 2, nous allons mette le routeur B en passerelle.

- Cliquez sur OK afin de valider cette route statique.
- Dans la ligne 2, cliquez sur ??? afin de parameter la seconde route statique : le routeur A pourra joindre le serveur i-minitel par le routeur B.
Dans la rubrique Etat/Action, selectionnez l'option Activé/Ajouter.
Dans la rubrique Adresse IP de destination, spécifiez l'adresse de l'application à laquelle vous pouze acceder. Dans notre exemple, nous désirons acceder à l'i-minitel, donc à l'adresse 172.31.0.20. Indiquez également le masque de sous-réseau correspondant.
Dans la rubrique Adresse IP de la passerelle, spécifiez l'adresse du routeur qui va faire le lien avec le réseau de destination. Dans notre exemple, pour acceder à l'i-minitel, nous allonsmettre le routeur B en passerelle.

- Cliquez sur OK afin de valider cette seconde route statique. L'écran récapitulatif apparait.

Dans la colonne Etat, « v » signifie que les routes statiques concernées sont activées.
Attention: si vous routeur est en classe A ou en classe B, la première adresse IP ne gère que le NAT. Vous doivent alors activer le routage IP en indiquant une seconde adresse IP qui prendra le relais de la première pour toutes les fonctions autres que le NAT (routage). Dans le menu Configuration Élementaire,clinquez sur Paramètres LAN TCP/IP et serveur DHCP.Activez le routage IP, puis saisissez la seconde adresse qui doit se couver sur la même plage que la première.
Client RADIUS
L'intérêt est toujours de protéger les accès au serveur par identification des utilisateurs. Le VPN Booster vous permet de configurer jusqu'à 10 comptes d'appels entrants. Si vous désirez paramétrer des comptes supplémentaires, il vous faut donc utiliser un serveur central (appelez serveur RADIUS).
RADIUS (Remote Authentication Dial-In User Service) est un protocole client/serveur destiné à permettre au VPN Booster (qui fait alors office de « client » RADIUS) de communiquer avec une base de données centralisée regroupant en un point l'ensemble des utilisateurs distants. RADIUS va authenticate les utilisateurs et leur autoriser l'accès à telle ou celle ressource du routeur, ici allant dans le sens d'une sécurité accrue.
Quand un utilisateur distant appelle un serveur d'accès (routeur), il leur est demandé un nom d'utiliser et un mot de passage. RADIUS authenticate et autorise l'accès des utilisateurs distants au moyen d'un dialogue entre le routeur et le serveur RADIUS.
Le serveur create un paquet de données à partir de ces informations appelé « demande d'authentication », qui est faite à partir des informations collectées. Le serveur demande l'authentication, le port utilisé pour la connexion, le nom d'utilisateur et le mot de passée. Le serveur envoie ces informations au serveur qui possède les informations enregistrées dans sa base.
Une fois que l'utilisateur a eté authentifié, si le nom d'utilisateur et le mot de passage sont corrects, le routeur transmet un message d'authentication incluant les informations relatives au système et aux services demandés par l'utilisateur et lui donne donc accès aux services appropriés du réseau. Si le nom d'utilisateur et le mot de passage sont incorrects le serveur RADIUS transmit un message de rejet d'authentication au routeur et l'utilisateur se voit refuser l'accès au réseau.
RADIUS contrôle l'accès des sites distants au VPN Booster en fonction des comptes clients enregistrés dans sa base de données. Par conséquent, le système RADIUS se décompose en deux entités :
- un client RADIUS, qui correspond donc au VPN Booster, qui se charge, suivant la configuration, de demander l'accord au serveur "d'authentication" pour les accès pufitures, et les accès de communication de données entrants, de demander l'enregistrement des données recueillies au serveur "d'accounting".
- un ou plusieurs serveurs RADIUS (possibilité de séparer la partie "authentication" de la partie "accounting") destiné(s) à receivevoir les requêtes des clients, à gérer des données liées aux serveurs eux-mêmes, à fournir des réponses aux clients.
Pour paramétre le client RADIUS, procédez comme suit :
- Dans le menu Réglages Avancés du routeur, cliquez sur Client RADIUS.
- Cochez Activer.
- Dans la rubrique Adresse IP du serveur, indique z'adresse IP de votre serveur RADIUS pour faire pointer le routeur vers le serveur.
Remarque: le port de destination 1812 produit par défaut correspond au port standard RADIUS. Si vous le modifiez, voirlez bien à en faire de même du côte « serveur »
- Indique le mot de passer secret partagé échéné entre le serveur et le client RADIUS, puis confirmez-le. Demandez-le à votre administrateur RADIUS si vous ne le connaissiez pas. Le mot de passer doit être identique sur le serveur RADIUS et le routeur.

- Cliquez sur OK pour valider les informations. Le routeur doit ensuite redémarrer.
Paramétrage du service UPnP
Lorsqu'une application de fonctionne pas en utilise normale, vous pouvez vous servir de la fonction UPnP (Universal Plug and Play). Le VPN Booster offre une gestion complète de l'UPnP sous Windows XP. Lorsque cette fonction est activée, les ordinateurs du réseau détectent l'état de connexion du routeur et géront automatiquement l'ouverture et la fermeture des ports TCP/UDP lors de l'utilisation d'applications compatibles UPnP. Ceci permet d'éviter des paramétrages complexes. Cette fonction fournit ainsi la meilleure solution permettant aux utilisateurs de pouvoir profiter des jours en ligne, des video conférences et autres applications dites « peer-to-peer »
- Dans le menu Réglages Avances, cliquez sur UPnP.
- Cochez Activer le service UPnP, puis les deux options Autoriser le contrôle de connexion et Autoriser l'etat de connexion.

- Lancez Your connexion Internet, puis lancez l'application souhaitee (MSN Messenger, dans notre exemple).
- Cliquez sur demarrer, puis sur Panneau de configuration. Cliquez sur Connexions reseau et Internet, puis sur Connexions reseau.
- Dans la partie Passerelle Internet, l'élément Connexion IP sur BeWAN apparait (si vous type de connexion Internet est IP statique ou dynamique). Effectuez un double cli c sur celui-ci. La fenetre suivante s'affiche.

- Cliquez sur Propriétés. Cochez la case Afficher une icône dans la zone de notification une fois la connexion établie afin de faire apparaitre une icône dans la barre des tâches pour suivre l'état de connexion.
- Pour intervenir plus précisé sur la gestion des ports, après avoir cliqué sur Propriétés, cliquez ensuite sur Paramètres....

- Cliquez sur OK pour valider toute modification.
Configuration du VLAN
Un VLAN (Virtual Local Area Network) est une option de gestion de réseau permettant de répartir et d'organiser les éléments du réseau par regroupement logique des utilisateurs. Sur le VPN Booster, la méthode de construction du VLAN s'effectue par port.
Un VLAN est obtenu en associant chaque port du VPN Booster à un VLAN. L'administrateur peut ainsi parfaire les performances de communication et optimier l'utilisation des ressources. Les avantages du VLAN peuvent être les suivants :
- la réduction de la diffusion du traffic. En créé des VLAN ou des groupes d'utilisateurs destinés à ne travailler qu'entre eux sur le réseau local, vous contrôle les échanges entre les différents LAN, les messages de diffusion étant limités à l'intérieur de chaque VLAN.
- une meilleur utilisation de la bande passante.
1'amélioration de la sécurité.
Activation du VLAN
Vou puez creer 4 VLAN au maximum, qui seront constitués par groupes d'utiliseurs, et favoriser ou non l'un d'entre eux. En groupant plusieurs ports dans un VLAN, vous permette à des paquets d'être envoyés aux port constituant le même VLAN sans générer de traffic sur les autres ports, améliorant ainsi l'utilisation des ressources du réseau et sa sécurité. N'importe quel port peut faire partie d'un VLAN et un port peut appartenir à des VLAN différents.
Afin de configurer un VLAN et d'en comprendre le concept, vous pouze suivre l'exemple suivant. Dans une société, considérons que nous regroupons :
le service Comptabilité sur le port 1,
le service Commercial sur le port 2,
le service Marketing sur le port 3,
un serveur de fichiers et de messagerie sur le port 4, où chaque utilisateur possede un repertoire propre avec ses dossiers courants.
1. Creez les VLAN suivants:
- un VLAN associant le port 1 et le port 4,
- un autre les ports 2 et 4,
- un troisième les ports 3 et 4,
- et enfin un dernier réunissant les ports 2 et 3.

2. Cliquez sur OK pour valider.
En paramétrant ainsi votre routeur, vous autorisez :
- la communication entre chacun des services et le port 4 qui est constitué des serveurs.
- la diffusion d'informations uniquement entre le service Marketing et le service Commercial.
En revanche, par exemple, la communication entre les postes du service Comptabilité (port 1) et du service Marketing (port 3) est impossible.
Activation du contrôle de débit
Le contrôle de début vous permet de contrôler l'allocation de la bande passante entre les services et ainsi d'optimiser l'utilisation des ressources réseau, offrant ainsi la possibilité de privilégier certains services au détriment d'autres et de faire bénéficier aux services prioritaires de la bande passante la plus large pour une meilleure fluidité.
Par exemple, il sera pratique d'allouer plus de bande passante à un VLAN utilisant des services de téléphonie, de transfert de fichiers只不过 qu'à un VLAN regroupant des utilisateurs de connexion Internet.
Lorsque vous cochez Activer le contrôle de début, vous avez la possibilité de spécifique un début maximum sortant ou entrant par port. C'est utile pour réduire au minimum l'impact d'un utilisateur qui monopoliserait l'intégrality de la bande xDSL (par exemple en jouant à des jours ou en téléchargeant des dossiers volumineux à partir d'un serveur de fichiers) sur les autres utilisateurs.
Pour chacun des ports LAN (P1, P2, P3 ou P4),vous pouvezCHOISIR de limiter la largeur de la bande en entree ou en sortie.
Sous le numero de port correspondant, sur le ligne Activer, cliquez sur Sortant ou Entrant, puis indique la bande passante que vous désirez allouer à chaque port.
Repronons l'exemple évoqué lors de l'activation du VLAN. L'intérêt, en fonction de la structure de la société, est de permettre à chaque service un accès constant au serveur de fichiers et au serveur de messagerie. Pour cette raison, vous ne limiterez pas le niveau de bande passante sur le port 4, et rendrez ainsi son utilisation prioritaire. En revanche, pour que chaque service puisse profiter de la même manière de l'accès au serveur, vous partagerez la bande passante entre les 3 services concernés.
Active le contrôle de débit

Note :
- Le débit doit être un multiple de 32.
- Débit par défaut: 100000.
- Plage de début: 32 ~ 100000.
OK
Cliquez sur OK.
Contrôle QoS (Série VPN Booster 32)
Introduction
La fonction QoS (Quality of Service ou Qualité de Service) désigne un ensemble de paramètres vous permettant de garantir un traffic de données en contrôle l'allocation des ressources réseau, et notamment le débit alloué à certaines applications. Cette fonction fixe des règles de priorités entre les différents flux pour optimiser l'acheminement des données. Pour configurer la QoS, il convient donc au préalable de bien identifier les besoin du réseau afin de déterminer les applications prioritaires. Cela nécessite une analyse pertinente et régulière afin de se protégger des pointes de traffic et de prévoir d'eventuelles saturations.
L'allocation des ressources réseau permit de privilégier certains utilisateurs ou services ou de garantir une bande passante suffisante pour certaines applications, telles la Voix sur IP ou les yeux en ligne.
Afin de garantir cette qualité de service, plusieurs protocôles se sont imposés. Celui utilise par les routeurs VPN Booster est le protocole Diffser (Differentiated Services). Ce protocole assure une distinction des paquets par classes de flux. Les données sont identifiées grâce à un marquage dans le champ ToS (Type of Service, champ spécifique réservé dans l'en-tête IP de 8 bits), qui fixe les priorités.
Configuration du QoS
Procedez comme suit :
- Dans le menu Réglages Avancés, cliquez sur Contrôle QoS.
- Cochez la case Activer le contrôle QoS.
- Dans les champs Débit entrant du WAN et Débit sortant du WAN, spécifie la partie de la bande passante allouée à votre routeur par le FAI.
Remarque : nous vous recommendons de ne pas spécifique plus de 90 % de la bande passante afin de tener compte des pics d'utilisations.
- Définissez le sens de la direction de la QoS : Entrante, Sortante ou Entrante / Sortante.
-
Renseignez ensuite les informations sur les classes. Seules les trois premières peuvent etre definiies par les utilisateurs.
-
Pour les index 1 à 3, renseignez les rubriques Nom de classe (différents types de service).
- Spécifiez le pourcentage de bande passante que vous souhaitez leur octroyer dans la colonne Ratio du traffic alloué.
Remarque : l'index 4 prend automatiquement le pourcentage du traffic restant pour tous les autres protocoles.

Remarque: Activer le contrôle de débit pour UDP avec un ratio de 25% est recommendé afin que les paquets UDP ne poussent dépasser le pourcentage indiqué si leur volume devenait trop important. En effet, les performances peuvent être améliorées en séparant les traffics TCP et UDP. Le ratio est pris sur la totalité de la bande passante spécifiée dans les rubriques Débit entrant du WAN et Débit sortant du WAN.
Sur les routeurs VPN Booster, il existe ensuite deux manières de configurer la Qualité de Service :
- les réglages Élementaires, qui correspond à une bonne majorité des utilisations.
- les réglages Avancés, pour affiner les réglages sur un réseau plus conséquent.
Paramétrage avec les réglages Elémentaires
Comme cela est indiquedans notre exemple, nous desirons allouer un pourcentage du traffic aux services VoIP, Web et FTP.
- Pour chaque index, cliquez sur le bouton Elementaires.
- Dans la liste, selectionnez le protocole recherche, cliquez sur Ajouter puis validez par OK.
Remarque: Le traffic alloué à un protocole non-utilisé est redistribué sur les autres classes.
Ainsi, pour faire reference à notre exemple, pour le service Web, Sélectionnez le protocole HTTP.

Pour le service FTP, selectionnez le protocole FTP.

Paramétrage avec les réglages Avancés
Le bouton Avancés vous permet d'affiner le contrôle QoS en spécifique une adresse IP, un réseau, un sous-réseau en adresse source ou destination, voire un codage de priorité. Procedez comme suit :
- Pour chaque index, cliquez sur le bouton Avancés.
- Cliquez sur le bouton Inséorer.
- Cochez la case Activée.
-
Sélectionnéz le service dans la liste Type de service.
-
Renseignez si nécessaire les rubriques Adresse source et Adresse destination qui correspondent aux adresses IP des machines concernées. Vous pouvez définir une adresse unique, une plage d'adresse ou un sous-réseau.

-
La rubrique Codage de priorité permet de définir un niveau de priorité appliqué au paquet. Les routeurs gérant ces paquets doivent avoir les mêmes règes de QoS. On y retrouve les paquets de type :
-
IP precedence : définit la priorité de traitement des paquets (7 étant le plus prioritaire, 1 le moins prioritaire).
- AF (Assured Forwarding): garantit la transmission des données sans tener compte des délaits. Quatre classe AF sont disponibles dans lesquels sont définis 3 niveaux de priorité d'ordre de rejet [de Low Drop (faible rejet) à High Drop (rejet élevé)] dans un routeur en cas de congestion du réseau. Il n'existe aucune priorité entre ces différentes classes.
- EF (Expedited Forwarding): correspond à la priorité maximale. Cette classe a pour but de garantir une bande passante avec des taux de perte et de délit (latence) faibles. Elle réalise le transfert de flux à fortes contraintes temporelles comme la visio-conference ou la téléphonie sur IP par exemple. Elle est donc destinée aux paquets nécessitant une haute disponibilité.
- Aucun doit être utilisé pour les flux Internet qui ne nécessitant pas un traffic en temps réel.

- Cliquez sur Appliquer pour valider votre règle.
Configuration de la Voix sur IP (VPN Booster 32 V / 32 Vg)
La Voix sur IP ou VoIP est une technique permettant de faire dialoguer deux postes téléphoniques via un réseau IP.
Le principe de la voix sur IP est de faire circuler sur Internet, grâce au protocole IP, des paquets de données correspondant à des échantillons de voix numérisée que le routeur a compressés. Internet permet ensuite l'acheminement de ces paquets à leur destinataire. Cette technologie vous permit donc de communiquer à moindre coût avec une personne se trouvant à l'autre bout du monde. La VoIP offre également une qualité de transmission de la voix ainsi qu'une fiabilité comparable au réseau téléphonique classique.
La téléphonie sur réseau de données par paquets est constituée de plusieurs étapes. Voici comment transite la voix par IP:
- Numérisation de la voix (par exemple à 64 Kbps comme en téléphonie numérique): les communications issues de téléphones traditionnels sont converties en données binaires.
- Compression du signal numérique correspondant (pour diminuer son début, donc la quantité d'informations à transmettre).
- Découpage du signal obtenu, puis encapsulation du flux de données en paquets IP.
- Transmission des paquets vers son destinataire à travers Internet sur un réseau de données utilisant la même technologie.
A l'arrivée, le routeur récapère les paquets pour reconstituer la voix. Ces paquets acheminés sont ré-assemblés. Le signal de données ainsi obtenu est décompressé, puis converti en signal analogique pour restitution sonore à l'utilisateur (transformation inverse : des paquets vers la voix).
Préalable à l'établissement de la connexion VoIP

Avant la mise en place de votre communication, vous doivent avoir configuré et lancé votre connexion Internet. Reportez-vous pour cela au chapitre « Accès à Internet » page 79.
Il est nécessaire que les 2 correspondants aient échangé leurs paramètres de connexion Internet (exemple : adresse IP WAN ou DNS dynamique).
La figure suivanteschématise une connexion VoIP entre 2 sites d'une société :

L'utilisation de la Voix sur IP n'est possible que si les deux correspondants sont connectés chacun à un VPN Booster qui gère alors la communication, y compris la signalisation avec le réseau téléphonique et les conversions à l'entrée et à la sortie du réseau IP. Cette passerelle est l'élement central permettant des conversations VoIP impliquant un téléphone comme origine ou destination de l'appel. Il suffit donc de brancher le combiné téléphonique sur l'un des ports FXS de votre routeur.
Remarque: que la fiche de votre combiné téléphonique soit moulée ou non, nous vous conseillons de toutes utiliser l'adaptateur fourni avec le VPN Booster 32 V/32 Vg.
Considerons une connexion VoIP entre deux sites d'une société. Chaque correspondant possède un VPN Booster VoIP. Àpès avoir pris connaissance des paramètres du distant (Adresse IP ou Nom de Domaine), les deux interlocuteurs doivent chacun saisir les paramètres suivants :
Cas de figure 1 : les deux sites possèdent une adresse IP fixe ou un DNS dynamique
| Paramètres de la Succursale | Paramètres de l'Agence principale | |
| Annuaire du correspondant IP | ||
| Numéro d'appel : | 1234 | 6789 |
| Nom : | Agence | Succursale |
| Adresse IP / Nom de Domaine : | 80.12.34.56 | 203.xx.xx.xx |
| Paramétrage SIP | ||
| Port SIP : | 5060 (conserves le port par défaut) | |
| Enregistrement : | (Ne replisseez pas ce champ) | |
| Paramétrage des ports : | Choisisseez Port 1 (cela signifie que le téléphone est branché sur le port FXS1 à l'arrête du routeur) | |
| Méthode d'enregistrement : | Sélectionnez l'options Aucun | |
| Nom : | Succursale | Agence |
| Mot de passer : | (Ne replisseez pas ce champ) | |
| Délai d'expiration : | 10 minutes (conserves le paramètre par défaut) | |
| Paramétrage CODEC / DTMF / RTP | Conserver les paramètres par défaut | |
Cas de figure 2 : les deux sites utilisent une adresse SIP obtenue auprès d'un service d'enregistrement (dans notre exemple : iptel.org)
| Paramètres de la Succursale | Paramètres de l'Agence principale | |
| Annuaire du correspondant IP | ||
| Numéro d'appel : | 1234 | 6789 |
| Nom : | Agence | Succursale |
| Adresse IP / Nom de Domaine : | iptel.org | iptel.org |
| Paramétrage SIP | ||
| Port SIP : | 5060 (conserves le port par défaut) | |
| Enregistrement : | iptel.org (nom du serveur) | |
| Paramétrage des ports : | Choisissez Port 1 (cela signifie que le téléphone est branché sur le port FXS1 à l'arrière du routeur) | |
| Méthode d'enregistrement : | Sélectionnez l'options Automatique | |
| Nom : | Succursale | bewan |
| Mot de passer : | ***** (Saisissez le mot de passer) | |
| Délai d'expiration : | 10 minutes (conserves le paramètre par défaut) | |
| Paramétrage CODEC / DTMF / RTP | Conserve les paramètres par défaut | |
Dans le menu Réglages Avancés, cliquez sur VoIP.

Etape 1 : Annulaire des correspondants IP
Vouaves la possibilité de répertorier jusqu'à 60 correspondants.Procedez comme suit :
- Cliquez sur un numero dans la colonne Index. La fiche concernant votre futuro interlocuteur apparait alors.
- Cochez la case Activer.
- Dans la rubrique Numéro d'applé, saisissez le numéro qui sera attribué pour la communication avec le correspondant en question. Le choix de ce numéro est libre (26 caractères maximum).
- Dans la rubrique Nom, saisissez le nom de votre correspondant. Il peut s'agir aussi bien d'un nombre que d'un nom (23 caractères maximum). Ce nom doit être le même que celui présente dans la configuration du distant.
- Dans la rubrique Adresse IP / Nom de Domaine, précise l'adresse IP WAN utilisé par votre correspondant (ou DNS dynamique).
Si vous interlocuteur ne possède pas d'adresse IP fixe, vous devez saisir le nom du serveur qui gère votre abonnement SIP. Ce serveur fait correspondre un nom de Domaine constant avec une adresse IP variable.
Paramétrage du routeur situé dans l'Agence principale :

Paramétrage du routeur lié dans la Succursale :

- Cliquez sur OK pour valider les informations.
Etape 2 : Paramétrage SIP
En matière de codage et de restitution de la voix, le VPN Booster utilise le protocole SIP (Session Initiation Protocol). C'est un protocole de signalisation simple pour les applications de téléphonie qui s'occupe uniquement de l'établissement, de la gestion et de la terminaison des sessions. Le protocole de signalisation SIP est optimisé pour fournir une meilleure qualité de voix.
Le protocole est bati sur une architecture Client/Serveur et utilise des messages textuels. Les messages sont transporte s par les protocoles de transport reseaux TCP ou UDP. Le message possede un en-tete et un corps. L'en-tete definit les parametes nécessaires au routage du message et a l'établissement de la session. Le corps definit les caractéristiques de la session à l'aide d'un protocole de description de session.
Le protocole SIP spécifique comment étabir sur Internet des appel téléphoniques :
- localisation du terminal appelé,
- la gestion des mécanismes d'établissement et de libération de l'appeil,
- authentication de l'aggellant / de l'appelez.
Cas de figure 1 : les deux sites possèdent une adresse IP fixe ou un DNS dynamique
Attention : si les deux interlocuteurs possèdent une adresse IP fixe, il n'est pas nécessaire de posséder une adresse SIP.
Ils peuvent se joindre directement sans utiliser ce type d'adresse.
Sur la page du Paramétrage SIP, selon vos paramètres, il n'est pas nécessaire de replir toutes les rubriques.
- Dans la rubrique Port SIP, le numéro de port est utilisé pour étabir une session. La valeur par défaut est 5060. Vous pouvez modifier le numéro, mais il faut bien vérifier que votre interlocuteur change également ce paramètre sur son routeur.
- Dans la partie Paramétrage des ports, Sélectionnéz l'un des ports.
Remarque: si vous avez branché votre téléphone sur le Port FXS1 situé à l'arrête du routeur, Sélectionnez Port 1. A l'inverse, si vous l'avez branché sur le Port FXS2, Sélectionnez Port 2.
- Cochez la case Activer.
- Dans la rubrique Nom, indiquez un nom de votrechoix. Ce nom doit etre le meme que celui qui se trouve dans l'annuaire de�te correspondant.
Paramétrage du routeur situé dans l'Agence principale :

- Cliquez sur OK pour valider les informations.
Cas de figure 2 : les deux sites utilisent une adresse SIP obtenue auprès d'un service d'enregistrement (dans notre exemple : iptel.org)
Pour entamer une communication, le téléphone doit en référer à un serveur (necessité de creator un compte SIP) charge de l'identification, de la gestion de la bande passante et du routage d'appels. Une fois l'autorisation délivrée, les paquets IP porteurs de voix transient par le routeur qui dispose d'interfaces analogiques de type FXS (Foreign eXchange Station) nécessaires.
Pour obtenir une adresse SIP, vous devez vous inscrite sur un serveur d'enregistrement. Les adresses SIP seprésentent sous la forme suivante: sip:utilisateur@domaine.
Utilisateur = mot de passer ou numero de téléphone
- Domaine = nom de domaine (xxx.fr) ou adresse IP
Ainsi, la définition du numéro de téléphone pour joindre un utilisateur ressemble à une adresse de type e-mail, généralement constituée d'un nom d'utilisateur et d'un domaine séparé par un « @ ». Il est donc nécessaire de connaître son adresse SIP pour dialoguer.
- Dans la rubrique Port SIP, le numéro de port est utilisé pour étabir une session. La valeur par défaut est 5060. Vous pouvez modifier le numéro, mais il faut bien vérifier que votre interlocuteur change également ce paramètre sur son routeur.
- Dans la rubrique Enregistrement, afin de pouvoir joindre une personne à partir de son adresse SIP, saisisseze le nom de Domaine ou l'adresse IP du serveur d'enregistrement SIP sur lequel vous vous âtes abonné. Ce serveur permet de maintainir une correspondence entre l'adresse IP et le nom de Domaine SIP. Par exemple, iptel.org ou 80.xx.xx.xx sont identiques.
- Dans la partie Paramétrage des ports, Sélectionnéz l'un des ports.
Remarque: si vous avez branché votre téléphone sur le Port FXS1 situé à l'arrête du routeur, Sélectionnez Port 1. A l'inverse, si vous l'avez branché sur le Port FXS2, Sélectionnez Port 2.
- Dans la rubrique Méthode d'enregistrement, Sélectionnez Activer.
- Dans la rubrique Nom, indiquez le nom que vous vous etes attribué sur le serveur d'enregistrement. Ce nom doit etre le meme qui celui qui se fouve dans l'annuaire de voitre correspondant.
- Dans la rubrique Mot de passer, saisissez le mot de passer que vous avez besoin lors de votre inscription sur le site.
Paramétrage du routeur situé dans l'Agence principale :

- Cliquez sur OK pour valider les informations.
Etape 3 : Paramétrage CODEC / DTMF / RTP
Dans une transmission vocale ordinaire, un Codec (Codeur-Déccodeur) convertit les ondes de la voix en paquets numérisés. Ces paquets sont mis en forme pour être transmis sur le réseau. Les paquets VoIP acheminent de tout petits échantillons de la conversation, généralement à 20 ms afin que certaines pertes n' affectent pas l'intelligibilité de la conversation.
A l'émission, la voix est segmentede, codée, puis compressee afin d'etre encapsulée dans un paquet IP. La détermination de la taille du paquet est un compromis entre la réduction du début de transmission et l'utilisation optimale de la bande passante.
Il existe 5 Codec différents: G.711MU (64 Kbps), G.711A (64 Kbps), G.729A/B (8 Kbps), G.723 (6.4 Kbps) et G.726_32 (32 Kbps). La qualité de service de la transmission de la voix sur IP peut être déterminée par ce paramètre. Le Codec choses peut être utilisé du moment que vous interlocuteur à l'extrémité de la communication le supporte également.
Le Codec par défaut est le Codec G.729A/B. Celui-ci occupe moins de bande passante tout en offrant une voix de bonne qualité.
Remarque: si vous ligne ADSL fonctionne en Upload à 64 Kbps, n'utilise pas le Codec G.711.

Outre le protocole SIP, d'autres protocoles sont sollicités comme le protocole RTP (Real-time Transport Protocol) pour le transport des données et la gestion des flux multimédias sur IP. Il est utilisé pour optimiser (sans la garantir) la livraison de l'information dans l'ordre approprié d'un expéditeur à un récepteur. Il privilégie ainsi l'enchaînement du son,只不过 que l'intégrité des données.
RTP fournit un service de transport de bout en bout pour des applications incluant de la voix. Son role principal consiste à mettre en oeuvre des nombres de série de paquets IP pour reconstituer les informations de voix, même si le réseau sous-jacent change l'ordre des paquets.
RTP permit :
d'identifier le type de codage et l'information transporte,
d'ajouter des marqueurs temporels et des numeros de sequence,
- de détector les pertes de paquets et d'en informer la source,
- d'identifier le contenu des paquets pour leur transmission sécurisée,
- de contrôle l'arrivée à destination des paquets.
Intégre à RTP, RTCP (Real-time Transport Control Protocol) permet d'avoir des informations sur la qualité des données transmises.
Etape 4 : Etat de la connexion VoIP
Pour appeler l'Agence principale, la Succursale doit composer le numero 1234 sur son téléphone. A l'inverse, lorsque l'Agence principale peut appeler la Succursale, elle compose le numero 6789.
Dans le menu Diagnostics, cliquez sur Etat de la connexion VoIP.
- Canal : si vous avez connecté deux téléphones sur les ports FXS1 et FXS2, la ligne 1 ou 2 vous indique celui qui est actuellément en communication.
- Etat : si vous âtes en communication le message Actif est visible.
Repos : cela signifie qu'aucune communication n'est en cours
Collecte: votre téléphone est en réception d'appoint
Actif: vous avez décroché et vous âtes en communication
Raccroché: vous avez raccroché votre téléphone
- Codec : indique le Codec paramétré pour votre connexion VoIP.
- ID distant : indique l'interlocuteur qui vous appelle ou que vous appelez.
- Connecté depuis : le temps écoulé depuis le début de la connexion (temps en secondes).
- Pqts TX / Pqts RX : le nombre de paquets envoyés et reçus depuis le début de la connexion.
- RX perdus : le délambda de transmission dépend de la qualité de la ligne ainsi que de la dimension du réseau. Un taux de perte de paquets faible signifie que la retranscription de la voix est de bonne qualité. Les causes de pertes de paquets peuvent être dues à une mauvaise qualité du réseau IP. En effet, dans un tel cas, lorsque le routeur ne peut plus traiter les paquets entrants, ceux-ci sont simplement supprimés.
- Appels entrants / Appels sortants: comptabilise le nombre d'appels reçus et envoyés depuis le dernier redémarrage du routeur.
Etat de la connexion dans la Succursale

A noter : l'imag precedente nous permet de deduire que c'est la Succursale qui est à l'origine de l'appeL. L'ID distant correspond à l'adresse IP fixe de l'Agence.
En cliquant sur le bouton Journal, vous pouvez visualiser les derniers appel reçus ou envoyés.

Partage de l'imprimante USB (Série VPN Booster 32)
Le VPN Booster 32 permet de/partager une imprimante et fait office de serveur d'impression. Avres avoir correctement raccordéVoteimprimanteauVPNBooster32(danslechapitre consacreauxraccordementsdu routeur duVPN Booster 32,reportez-vousa la partie dediede au raccordementde l'imprimanteUSB),vousdevezdesormais configurer les ordinateurs de vouretreseau local eninstallant sur chaque poste les pilotes devoirimprime.Pour cela,procedez comme suit:
Attention : l'utilisation de l'imprimante via le VPN Booster 32 n'est possible que si vous étés sous Windows 2000 ou Windows XP.
- Cliquez sur demarrer, Paramètres, Imprimantes et télécopieurs.
- Effectuez un double-click sur Ajouter une imprimante.
- L'Assistant Ajout d'imprimante apparait. Cliquez sur Suivant.
- Sélectionnez Imprimante locale connectée à cet ordinateur, puis cliquez sur Suivant.

- Sélectionnez Créer un nouveau port, puis dans la rubrique Type de port, Sélectionnez Standard TCP/IP Port.

- Vous allez désormais ajouter un port pour votre imprimante. Cliquez sur Suivant.
- Dans la rubrique Nom d'imprimante ou adresse IP, saisissez l'adresse IP de votre routeur. Le nom du port est automatiquement créé. Cliquez sur Suivant.

- Dans la partie Type de pérophérique, Sélectionnez Standard, puis votre type de matériel. Cliquez sur Suivant.

- Notre port imprimante a bien ete ajoute. Cliquez alors sur Terminer.

Attention: vérifie que le protocole LPR soit bien sélectionné par défaut. Si ce n'est pas le cas, cliquez sur le bouton Précédent. Dans la partie Type de péripérisque, sélectionnez Personnelisé à la place de Standard, puis cliquez sur Paramétres.... La fenêtre suivante apparait. Dans la partie Protocole, sélectionnez LPR, puis cliquez sur OK.

Cliquez sur Suivant. Vous voici de nouveau dans la fenetre récapitulant le type de port. Cliquez sur Terminer.
- Installez ensuite les pilotes de l'imprimante en selectionnant tour à tour le fabricant, puis votre modele d'imprimante. Cliquez sur Suivant.
Remarque: si l'imprimante que vous souhaitez installer ne fait pas partie de cette liste, cliquez sur Disque fourni..., puis installez les pilotes de votre imprimante grâce au CD-ROM du fabricant livre avec votre matériel.
Assistant Ajout d'imprimante
Installer le logiciel d'impression
Le fabricant et le modele déterminent l'imprimante à utiliser.


Selectionnez le fabricant et le modele de votre imprimante. Si elle est fournie avec un disque d'installation, cliquez sur Disque foumi. Si elle n'est pas dans la liste, consultez sa documentation pourCHOISIR UN LOGICIER d'impression compatible.
Fabricant
Dataproducts
Diconix
Epson
Fuji Xerox
Fuitsu

Imprimantes

Epson Stylus COLOR 980 ESC/P 2

Epson Stylus COLOR 1160 ESC/P 2

Ce pilote à été signé numérique.
Pourquoi la signature du pilote est-elle si importante ?
Windows Update
Disque founi...

recédent

want>

nuler
Assistant Ajout d'imprimante

Fin de I'Assistant Ajout d'imprimante
L'Assistant Ajout d'imprimante est terminé.
Vous avez specifie les parametes d'imprime nante suivants:
Nom:
Pour fermer cet Assistant, cliquez sur Terminer.

recédent
Terminer
Annuler
- Vo r pe de t, si vou aes chisi de l'imprimer, va etre envoye a l'imprimante. Si cela fonctionne, cliquez sur OK.
Une page de test est envoyée à l'imprimante. En fonction de la vitesse de votre imprimante, la page de test sera imprimée dans une ou deux minutes.
La page de test démontré brievement la capacité de l'imprimante à imprimer des graphiques et du texte, et fournit des informations techniques sur le pilote d'imprimante.
Si la page de test a bien ete imprimee, cliquez sur OK. Si la page de test n'a pas ete imprimee, cliquez sur Depanner.
OK
Dépanner...
- L'imprimante est bien connectée à votre ordinateur, disponible et préte à répondre à vos requêtes d'impression.

Partie 4 :
Outils d'analyse et de contrôle
Outils de diagnostic. 175
Paramétrage du Syslog 179
Fonctionnalités d'administration. 180
Commandes Telnet 183
Outils de diagnostic
Le VPN Booster possède des outils d'analyse et de contrôle des connexions. Enclinquant sur le menu Diagnostics, vous avrez accès à ces fonctions de contrôle.
Etat de la connexion Internet
Cette page vous permet de suivre l'activité de votre liaison xDSL ou cable ainsi que l'activité de chaque canal B de votre ligne RNIS (VPN Booster 32 i uniquement). Elle indique également le nom de vos connexions.
Vou puez etablir la connexion Internet en cliquant sur Lancer la connexion PPPoE ou PPTP. De la meme maniere, vous pouze arreter la liaison Internet en cliquant alors sur Arreter PPPoE ou PPTP.
Si vous utilisez le module RNIS du VPN Booster 32 i, vous pouze etabir la connexion Internet en cliquant sur Lancer la connexion Internet. De la meme maniere, vous pouze arreter la connexion RNIS en cliquant alors sur Arreter B1 et/ou Arreter B2.

La page HTML correspondant à cette rubrique vous permit de connaître l'etat du réseau Ethernet. Elle est rafraîchie automatiquement toutes les 5 secondes.
Etat LAN
Vous pouvez connaitre :
1'adresse IP du routeur,
- le nombre de paquets envoyés et reçus par le routeur,
- les DNS utilisés.
Etat WAN
Dans cette partie, vous VOYZ appaiaître le compte-rendu de votre liaison xDSL ou cable. Vous pouvez connaître :
- le protocole utilisé pour votre connexion (PPPoE, PPTP, Static IP ou DHCP Client),
1'adresse IP de la passerelle,
1'adresse IP attribuée par le fournisseur d'accès, - le temps écoulé depuis le début de la connexion,
- le nombre de paquets envoyés et reçus depuis le début de la connexion.
Le bouton Arrêteer PPPoE ou PPTP permet de déconnecter la liaison xDSL.
Etat de la ligne RNIS (VPN Booster 32 i)
Une activité sur le canal D est indispensable avant toute connexion.
Pour chacun des canaux B de la ligne RNIS, vous pouvez connaître :
l'activité,
Aucune, s'il n'y a pas de connexion,
- le nom de la connexion s'il s'agit d'une connexion à Internet.
1'adresse IP attribuée par le fournisseur d'accès,
- le temps écoulé depuis le début de la connexion,
- le nombre de paquets envoyés et reçus depuis le début de la connexion.
Les boutons Arreter Bn permettent de déconnecter les canaux concernés.
Visualisation de l'en-tête du paquet de connexion
Cette page vous permet de voir l'en-tête décodé du paquet qui a déclenché la dernière connexion (adresse IP, port utilisé, adresse DNS,...).

Visualisation de la table ARP
Cet outil you per met de voir la correspondance entre l'adresse MAC et l'adresse IP des stations situées sur le réseau.

Visualisation de la table des ports NAT activés
Cet outil vous permet de voir toutes les redirections de port effectuees dans le parametrage du NAT.

Etat du traffic
Cliquez sur Etat du traffic, puis sur Rafraîchir. La fenêtre indique la liste des requêtes formulées par chaque ordinateur à un moment donné avec le nombre de port concerné.

Paramétrage du Syslog
Mettre en service le Syslog permet de centraliser la réception de messages d'erreurs ou d'informations sur une machine de supervision. Syslog journalise ainsi les événements du système de façon continue sur ce que l'on nommera un serveur Syslog. Cette supervision permet de connaître les heures de connexion ainsi que l'adresse IP des machines qui déclenchent les appels. Les traces sont sauvégardées dans un fichier texte. Ceci signifie que le Syslog avertit mais ne Fourth
Vouve devez reserver une machine de supervision dédiée à l'utilisation du BeWAN Syslog. Le logiciel BeWAN Syslog s'installe en même temps que les Utilitaires VPN Booster livrés sur le CD-ROM Routeurs VPN Booster.
Pourmettre en service leSyslog,procesdez comme suit:
- Installé tout d'abord sur la machine dédiée le logiciel BeWAN Syslog fourni sur le CD-ROM Routeurs VPN Booster. Cet utiliser est present avec les Utilitaires VPN Booster.
- Dans le menu Réglages Avancés du configurateur Web du routeur, cliquez sur Syslog.
- Cochez Activer le syslog.
- Dans la rubrique Adresse IP du serveur, indiquez l'adresse IP de la machine dédiée sur laquelle est installé le BeWAN Syslog.
Remarque: le port de destination 514 presente par défaut correspond au port standard Syslog. Si vous le modifie, veillez bien à en faire de même du côté de la machine de supervision.

Attention : sous Mac OS X, en raison du firewall interne qui, s'il est activé, bloque les ports 0 à 1023 inclus, le port standard du Syslog est le port 1028. Si vous utilisez donc le BeWAN Syslog sous ce système, voirlez'à bien changer le port de destination dans le configurateur Web du routeur.

- Cliquez sur OK pour valider les modifications.
-
Lancez ensuite l'utilitaire BeWAN Syslog à partir de la machine dédiée.
-
Si vous étés sous Windows,-cliquez sur démarrer,pointez sur Tous les programmes,Utilitaires VPN Booster, puis cliquez sur BeWAN Syslog.
- Si vous étés sous Mac OS 9, cliquez sur le menu Pomme, pointez sur Tableaux de bord, Utilitaires VPN Booster, puis cliquez sur BeWAN Syslog.
- Si vous étés sous Mac OS X, effectuez un double-click sur le fjichier Utilitaires VPN Booster.dmg. Un disque Utilitaires VPN Booster est créé sur le bureau de votre Macintosh. Effectuez un double click sur ce disque. Lancez le BeWAN Syslog.
Maintenant, à chaque connexion, réinitialisation ou autre utilisation du routeur, un message Syslog sera envoyé sur la machine automatiquement.
Fonctionnalités d'administration
Gestion du contrôle d'accès
Le contrôle d'accès permet de:gérer les utilisateurs autorisés à paramétrre le routeur. Pour saisir le principe, nous allons prendre un exemple concret. Dans le menu Administration Systeme, selectionnez Contrôlles d'accès et agent SNMP.

Cas numéro 1 : les PC 1 et 2 peuvent acceder au paramétrage du routeur après la vérification du nom d'utilisateur et du mot de passer.
Remarque: par défaut, Autoriser l'administration à distance est décochée.

Cas numero 2 : les PC 1, 2 et 3 peuvent acceder au paramétrage du routeur après la vérification du nom d'utilisateur et du mot de passe.
Cochez Autoriser l'administration à distance, puis cliquez sur OK pour valider.

Cas numero 3 : les PC 1 et 3 peuvent acceder au paramétrage du routeur après la vérification du nom d'utilisateur et du mot de passer.
- Cochez Autoriser l'administration à distance.
- Dans la partie Contrôle d'accès, saisissez les adresses qui ont la possibilité de proceder à l'activation à distance, puis cliquez sur OK pour valider.

Mise à jour du firmware par FTP
Vous avez la possibilité de metre à jour le firmware du VPN Booster par FTP. La mise à jour via FTP vous permet de remplacer le .ALL (fichier de mise à jour du firmware) ou le .CFG (fichier de mise à jour de la configuration). Pour effectuer ce mode de mise à jour, procededez comme suit :
- Dans le menu Administration Système, Sélectionnez Contrôles d'accès et agent SNMP.
- Cochez Activer la mise à jour du firmware par FTP, puis cliquez sur OK.

- Lancez le Client FTP dont vous disposez.
- Saisissez l'adresse IP du routeur, le nom d'utilisateur et le mot de passer.
- Une fois connecté au routeur, les fichiers .ALL et .CFG contenus dans la mémoire du routeur apparaissent directement dans le repertoire d'accueil de votre Client FTP.
- Procedez à la mise à jour en téléchargeant via FTP les nouveaux fichiers de mise à jour.

Attention : pour que ce nouveau fichier de mise à jour (.ALL ou .CFG) soit pris en compte, il doit être nommé de la même manière que le fichier existant. Renommez donc le nouveau fichier à l'identique afin d'écraser celui présente dans la mémoire du VPN Booster.
Remarques :
- La mise à jour ne provoque pas de redémarrage automatique. Il est donc conseillé de démarrer manuellement le routeur afin de prendre en compte les modifications apportées.
- Outre pour la mise à jour, vous pouvez également utiliser ce moyen pour récapucérer les fichiers du VPN Booster en les copiant dans un dossier de votre disque dur.
Commandes Telnet
Nous avons vu que le VPN Booster pourrait être configuré très simplement grâce à un configurateur Web.
Vouss pouvez également effectuer la configuration du VPN Booster via des commandes Telnet. Attention : la configuration de certains paramètres n'est pas possible en session Telnet.
Ouvrir une session Telnet
Pour démarrer le mode de configuration Telnet du VPN Booster à partir d'un PC sous Windows, procédez comme suit :
- Cliquez sur démarrer, puis sur Exécuter....
- Tapez telnet 192.168.1.1 (sauf si vous avez modifie l'adresse IP par défaut de votre VPN Booster).
- Lorsque le libellé Password apparaît, entrez votre mot de passer d'accès au mode administrateur du VPN Booster, puis appuyez sur la touche ENTRÉE.
Rappel: si vous ne l'avez pas encore modifié en mode HTML (voir « Modification des paramètres administrateur » page 69), le mot de passer par défaut du VPN Booster est « bewan »

Principes de base de Telnet
Lorsque vous mot de passer a eté verifié, votre nom d'utilisateur apparait suivi du caractère >.
VotreNom>
Pour envoyer une commande Telnet au routeur, saisissez-la, puis appuyez sur la touche ENTRÉE.
Par exemple, pour obtenir la liste des commandes Telnet, tapez ? puis appuyez sur la touche ENTREE :
VotreNom>?
Pour obtenir une aide en ligne sur une commande Telnet particulière, entrez celle-ci, tapez?, puis appuyez sur la touche ENTREE. Voir l'exemple ci-dessous:
Les 20 dernières commandes Telnet que vous avez entrées sont mémorisées. Vous pouze ainsi les faire défiler une à une en appuyant sur les touches FLECHE HAUT et FLECHE BAS. Vous pouze également utiliser la commande sys cmdlog pour les listed.
Après 2 minutes d'inactivité, la session Telnet se déconnecte automatiquement.
Vou ne pouvez pas ouvrir deux sessions Telnet simultanément.
Pour toute information complémentaire sur le fonctionnement du logiciel Telnet, veuillez vous reporter à l'aide en ligne de Microsoft.
Listedes commandes principales
Pour configurer votre routeur, vous disposez des commandes Telnet suivantes :
Ddns Consultation des paramètres DynDNS
Ddos Configuration des défenses DoS
Exit Fermetre de la session Telnet
Ip Configuration du réseau TCP/IP : routage...
Ipf Configuration des filtres IP
Isdn Configuration de l'interface RNIS
Log Fonctions de diagnostic
Mngt Fonctionnalités d'administration
Quit Fermetre de la session Telnet
Srv Configuration des fonctions serveur : NAT, DHCP
Sys Commandes système
Urlf Configuration du filtrage de contenu
Wan Modification du MTU
Listedes sous-commandedes
Listedous-sous-commandedesDDNS
- Obtenir des informations sur la configuration du DNS dynamique
Etat de la mise à jour, login et mot de passerse utilisés, nom d'hôte, adresse IP de connexion
VotreNom>ddns log
Listedous-sous-commandedesDDOS
- Activer le système des défenses DoS
VotreNom>ddos-A
- Désactiver le système des défenses DoS
VotreNom>ddos-D
- Afficher la liste des défenses DoS afin de visualiser leur activation ou non
VotreNom>ddos-V
Listedesous-commandsexET
- Quitter la session Telnet
VotreNom>exit
Listedesous-commanddesIP
- Obtenir l'adresse IP actuelle du routeur
VotreNom>ip addr?
%ipaddr
% Now: 192.168.1.1
- Changer l'adresse IP du routeur
VotreNom>ip addr
- Effectuer un ping sur l'adresse IP
VotreNom>ip ping
%ipping
Example: bewan > ip ping 192.168.1.10
- Visualiser la liste de la table ARP du routeur
VotreNom> ip arp status
- Ajouter une entrée dans le cache ARP du routeur
VotreNom>ip arp add
Example: bewan > ip arp add 192.168.1.76 00-50-7F-00-00-33 LAN
- Supprimer une entrée dans le cache ARP du routeur
VotreNom>ip arp del
Example: bewan > ip arp del 192.168.1.76
- Ajouter une route statique
VotreNom>ip route add
% ip route add
c'est-à-dire: dst Destination hôte/reseau
netmask Masque de sous-reseau de destination
gateway Passerelle autiliser
rotype S: routage statique
Example: bewan>ip route add 0.0.0.0 0.0.0.0 192.168.1.100 0 S
- Visualiser la table de routage IP du routeur
VotreNom>ip route status
Codes : C - connected, S - static, R - RIP, * - default
S 0.0.0.0/ 0.0.0.0 via 192.168.1.100, IF0
C 100.0.0.0/ 255.0.0.0 is directly connected, IF0
- Supprimer une route statique du routeur
VotreNom>ip route del
%ip route del
Example: bewan > ip route del 0.0.0.0 0.0.0 S
- Libérer les paramètres du client DHCP du routeur
VotreNom>ip dhcpc release
- Renouveler les paramètres du client DHCP du routeur
VotreNom> ip dhcpc renew
- Afficher les paramètres du client DHCP du routeur
VotreNom>ip dhcpcstatus
- Spécifier une adresse IP WAN pour acceder à Internet via une passerelle
VotreNom>ip wanaddr
%ip wanaddr <IP address><IP netmask>
c'est-à-dire: IP address Adresse IP IP netmask Masque de sous-réseau
% Set WAN IP address OK !!!
Example:bewan>ipwanaddr192.168.2.1255.255.255.0
Remarque : l'adresse IP WAN du routeur doit se trouver dans la plage d'adressage de la passerelle.
Listedes sous-commandedes IPF
1.Obtenir la version du filtrte
VotreNom>ipf-v
- Afficher le journal de filtrage
VotreNom> ipf view
- Effacer le journal de filtrage
VotreNom>ipf-z
Listedesous-commandedesISDN
- Lancer manuellement une connexion Internet ou une interconnexion de reseaux
VotreNom> isdn dial <nom de la connexion>
Example: bewan > isdn dial Wanadoo
Après avoir saisi la commande ci-dessus, le routeur établira la connexion Internet pour appeler Wanahoo.
- Arrêteur un canal B RNIS manuellement
VotreNom> isdn drop<B1 ou B2>
Example: bewan > isdn drop B1
Cette commande coupe la connexion sur le canal B spécifique.
Listedesous-commandedesLOG
Ces commandes vous permettent de vérifier le processus de connexion. Pour déterminer le problème rencontres, nous vous conseillons au préalable de vider du « buffer » tous les éléments retenus en mémoire. Une fois cette action effectuée, vous pouze lancer votre connexion. En cas d'appoint au support technique, ces informations vous seront demandées afin de diagnostiquer le problème rencontres.
- Obtenir des informations de connexion sur tous les derniers appel depuis le redémarrage du routeur VoitreNom> log -c
- Obtenir des informations sur toutes les dernières négociations PPP depuis le redémarrage du routeur VoitreNom> log -p
- Afficher une copie hexadécime et ASCII des paquets d'elles
VotreNom> log -p -x - Obtenir des informations sur toutes les dernières connexions WAN depuis le redémarrage du routeur VoitreNom> log -w
- Afficher une copie hexadécimale et ASCII des paquets WAN qui transient par le routeur VoitrNom> log -w -x
- Supprimer toutes les mémoires de log du « buffer »
VotreNom> log -F a (efface toutes les logs en mémoire)
VotreNom> log -F c (efface tous les logs d'applé en mémoire)
VotreNom> log -F f (efface tous les logs de filtrage en mémoire)
VotreNom> log -F w (efface tous les logs des connexions WAN)
Listedesous-commandedMNGT
1. Afficher le port FTP utilisé
VotreNom> mngt ftpport ?
Exemple : bewan> mngt ftpport ?
% % mngt ftpport <FTP port>
%% Current setting is 21
2. Changer le port FTP utilisé
VotreNom> mngt ftpport <FTP port>
Exemple : bewan> mngt ftpport 43
% Set FTP server port to 43 done
3. Afficher le port http utilisé
VotreNom> mngt httpport ?
Exemple :Behavior> mngt httpport ?
%% mngt httpport <http port>
%% Current setting is 80
4. Changer le port http utilise
VotreNom> mngt httpport <http port>
- Afficher le port telnet utilisé
VotreNom> mngt telnetport ?
Example:bewan> mngt telnetport?
%% mngt telnetport
% % Current setting is 23 - Changer le port telnet utilisé
VotreNom> mngt telnetport - Activer la mise à jour du firmware par FTP
VotreNom> mngt ftpserver enable
% FTP server has been enabled - Désactiver la mise à jour du firmware par FTP
VotreNom> mngt ftpserver disable
% FTP server has been disabled - Activer l'autorisation d'administration à distance
VotreNom> mngt rmtcfg enable
% Remote configure function has been enabled - Désactiver l'autorisation d'administration à distance
VotreNom> mngt rmtcfg disable
% Remote configure function has been disabled - Activer l'interdiction des pings provenant d'Internet
VotreNom> mngt echoicmp enable
%% Echo ICMP packet enabled - Désactiver l'interdiction des pings provenant d'Internet
VotreNom> mngt echoicmp disable
%% Echo ICMP packet disabled
Listedesous-commandesQUIT
- Quitter la session Telnet
VotreNom>quit
Listedesous-commandedsRV
- Activer le serveur DHCP
VotreNom>srv dhcp on
- Désactiver le serveur DHCP
VotreNom>srv dhcp off
- Spécifier le nombre d'adresses à affecter au serveur DHCP
VotreNom>srv dhcp ipcnt
Example:bewan>srv dhcp ipcnt 43
Remarque: le nombre maximal de comptes gérés ne peut pas dépasser 50. ÀpRES avoir tape cette commande, vous ne devez taper la commande sys reboot pour redémarrer le routeur.
- Spécifier l'adresse IP de départ de la plage DHCP
VotreNom>srv dhcp startup
- Réserver une adresse IP fixe dans la plage DHCP pour une adresse MAC spécifique
VotreNom>srv dhcp fixip add
c'est-à-dire:
IP Addr Adresse IP fixe désirée pour un hôte spécifique
MAC Addr Adresse Mac de la carte réseau de l'hote spécifique
Host ID Identification de l'hôte
- Supprimer une réservation d'adresse IP dans la plage DHCP
VotreNom>srv dhcp fixip del
- Effacer toutes les réservations d'adresses IP dans la plage DHCP
VotreNom>srv dhcp fixip clr
- Visualiser les comptes DHCP assignés par le routeur
VotreNom>srv dhcp status
DHCP server: Running
Default gateway: 192.168.1.1
Index
IP Address
192.168.1.1
MAC Address
00-50-7F-00-00-33
Leased Time
ROUTER IP
HOST ID
bewan
- Spécifier le DNS principal
VotreNom>srv dhcp dns1
- Spécifier le DNS secondaire
VotreNom>srv dhcp dns2
- Forcer l'utilisation des DNS saisis dans les parametres TCP/IP du routeur (Commande non disponible sur le VPN Booster 8)
VotreNom>srv dhcp frcdnsmanl on
- Ne pas forcer l'utilisation des DNS saisis dans les parametes TCP/IP du routeur (Commande non disponible sur le VPN Booster 8)
VotreNom>srv dhcp frcdnsmanl off
- Changer la passerelle par défaut affectée aux clients DHCP (par défaut, il s'agit de l'adresse IP du routeur)
VotreNom>srv dhcp gateway
- Changer le délié d'expiration des comptes du serveur DHCP (bail)
VotreNom>srv dhcp lease time
Example:bewan>srv dhcp leasetime 9000
- Visualiser les entrées de la table NAT
VotreNom>srv nat status
% NAT server: Running
- Ajouter une entrée dans la table NAT
VotreNom>srv nat portmap add
% srv nat portmap add
Example :bewan>srv nat portmap add 1 WWW 6 80 192.168.1.2 80
Pour vérifier que le port est bien redirige dans la table de configuration, tapez la commande suivante :
VotreNom>srv nat portmap table
Remarque : la commande srv nat portmap table équivaut à svr nat status.
VotreNom>srv nat status
% NAT server: Running
- Supprimer une entrée dans la table NAT
VotreNom>srv nat portmap del
% srv nat portmap del
Example: bewan > srv nat portmap del 1
Vérification du port supprimé dans la table de configuration
VotreNom>srv nat portmap table
- Activer une entrée NAT existante
VotreNom>srv nat portmap enable
%srv nat portmap enable
c'est-à-dire: idx Index
proto Protocole (TCP ou UDP)
- Désactiver une entrée NAT existante
VotreNom>srv nat portmap disable
- Supprimer tous les index de la table NAT
VotreNom>srv nat portmap flush
Listedesous-commandedsYS
- Afficher le nom de l'administrateur du routeur
VotreNom> sys admin ?
% sysadmin
% Now: Pierre
- Changer le nom de l'administrateur du routeur
VotreNom> sys admin
Example: bewan > sys admin Dominique
- Restaurer la configuration d'usine
VotreNom>syscfg default
- Obtenir la liste des dernières commandes effectuees
VotreNom>sys cmdlog
- Indiquer l'etat des interfaces LAN et WAN
VotreNom> sys iface
- Demarrer le serveur TFTP pour la mise à jour du routeur
VotreNom>sysftpd
- Obtenir l'identifant de connexion actuel pour acceder au paramétrage du routeur
VotreNom> sys name?
- Changer l'identifant de connexion pour acceder au paramétrage du routeur
VotreNom> sys name
- Obtenir le mot de passer actuel pour acceder au paramétrage du routeur
VotreNom> syspasswd < ASCII string>
- Changer le mot de passer pour acceder au paramétrage du réseau
VotreNom> syspasswd < ASCII string>
- Redémarrer le routeur en conservant la configuration actuelle
VotreNom> sys reboot
- Obtenir la version du firmware et des informations relatives au routeur
VotreNom>sysversion
Router Model: VPN Booster Version:vX.XX
Listed sous-commandes URLF
- Activer les restrictions URL
VotreNom>urlfblast on
- Activer une liste de mots spécifique
VotreNom>urlf blob
Exemple :bewan>urlf blist 2 -e sex (la liste 2 contenant le mot 'sex' est activée)
On peut traduire ' -e' par 'enable'.
Remarque : si vous liste contient plusieurs termes, séparez-les par une virgule, un point ou un point virgule.
- Désactiver une liste de mots
VotreNom>urlfblast
On peut traduire ‘-d’ par ‘disable’.
- Afficher l'etat des restrictions URL (restrictions URL activées ou non et mots interdits)
VotreNom>urlfblaststatus
- Déactivier les restrictions URL
VotreNom>urlfblastoff
- Activer l'interdiction au Web par adresse IP
VotreNom>urlfblast noip on
- Désactiver l'interdiction au Web par adresse IP
VotreNom> url bist noip off
- Activer une restriction WEB spécifique
VotreNom>urlf webf -e [java] [activex] [zip] [exe] [mms] [cookie] [proxy]
Exemple: bewan> url webf -e zip (active la restriction des fichiers compressés).
On peut traduire '–e' par 'enable'.
- Désactiver une restriction WEB spécifique
VotreNom>urlf webf -d [java] [activex] [zip] [exe] [mms] [cookie] [proxy]
Exemple: bewan> url webf -d exe (désactive la restriction des fichiers exécutables).
On peut traduire ‘-d’ par ‘disable’.
- Afficher l'etat des restrictions WEB (restrictions WEB activées ou non)
VotreNom>urlf webf status
- Désactiver les restrictions WEB
VotreNom> url webf off
- Restaurer les paramètres par défaut du filtrage de contenu (ce qui équivaut à effacer tous les filtres)
VotreNom>urlf setdefault
- Afficher la plage hora des restrictions
VotreNom>urlfschedulestatus
- Activer l'autorisation pour certaines adresses MAC
VotreNom> urlf esubnet on
- Activer l'autorisation pour une adresse MAC spécifique
VotreNom>urlf esubnet
Example: bewan > url esubnet 1 -e 192.168.1.23 255.255.255.0 (autorise l'accès à l'adresse IP 1, 192.168.1.23 avec un masque de sous-réseau en 255.255.255.0)
On peut traduire ‘-e’ par ‘enable’.
- Désactiver l'autorisation pour une adresse MAC spécifique
VotreNom> urlf esubnet
Exemple:bewan>urlf esubnet 1-d (n'autorise pas l'accès à l'adresse IP 1)
On peut traduire ‘-d’ par ‘disable’.
- Désactiver l'autorisation pour certaines adresses MAC
VotreNom>urlf esubnet off
Listedesous-commandedWAN
1.Obtenir la taille actuelle du MTU (1442 par défaut)
VotreNom> wan mtu?
- Spécifier un nouveau MTU
VotreNom> wan mtu
Remarque : cette commande permet de changer la taille maximum du champ Datagramme des paquets qui transient sur la partie WAN du routeur.
Partie 5 : Outils de maintenance
Mise à jour du routeur. 197
Sauvegarde / Restauration de configuration 202
Redemarrage du routeur 205
Mise à jour du routeur
Le VPN Booster dispose d'une mémoire (flash EPROM) qui contient son logiciel (firmware) et ses paramêtres d'usine.
Cette mémoire étant reprogrammable, le firmware et les paramêtres d'usine du routeur peuvent être mis à jour.
Les informations concernant d'eventuelles mises à jour du VPN Booster sont consultables sur le site Web de BeWAN systems (http://www.bewan.com).
Pour effectuer une mise à jour du VPN Booster, vous devez disposer d'un fichier de mise à jour. Il existe 3 types de fichiers de mise à jour, distingués par leur extension :
| Extension | Contenu du fichier de mise à jour |
| CFG | fichier de sauvégarde de votre configuration créé par l'administrateur (voir « Sauvegarde d'une configuration » page 202). Pour la mise à jour de ce fichier, reportez-vous à la section « Restauration d'une configuration » page 203. |
| ALL | programmes + pages HTML du configurateur |
| RST | programmes + paramètres d'usine + pages HTML du configurateur |
La procédure varie ensuite selon le type de fichier de mise à jour utilisé et selon le type d'ordinateur utilisé (PC ou Macintosh).
- Si vous désirezmettre à jour les fichiers .ALL et .RST,utilisez l'Assistant de mise à jour instalé avec les Utilitaires VPN Booster.
- Si vous désirezmettre à jour le fichier .CFG,cliquez sur Sauvegarde / Restauration de configuration dans le menu Administration Systeme.Reportez-vous alors au chapitre « Sauvegarde / Restauration de configuration » page 202.
Mise à jour à partir d'un PC
La mise à jour s'effectue via l'Assistant de mise à jour installé avec les Utilitaires VPN Booster.
Remarque : le serveur TFTP est démarré automatiquement avec l'Assistant de mise à jour.
Procedez comme suit :
- Cliquez sur démarrer, Tous les programmes, Utilitaires VPN Booster, puis sur Assistant de mise à jour. L'Assistant apparait.
- L'option Mise à jour est selectionnée par défaut.
- Dans la rubrique Routeur, cliquez sur ... pour selectionnee le routeur a mettre a jour (voir l'image ci-dessous) ou saisissez directement l'adresse IP du routeur si vous la connaissiez.

-
En face de la rubrique Emplacement du fichier, cliquez sur ... afin d'indiquer le chemin d'accès du fichier de mise à jour.
-
Enfin, indiquez le mot de passer du routeur àmettre à jour.

- Cliquez ensuite sur le bouton Envoyer afin de charger le fichier de mise à jour dans la mémoire du VPN Booster.
- Le fichier de mise à jour est alors en cours de chargement dans la mémoire du VPN Booster.

Remarque: si le serveur TFTP qui permet d'effectuer la mise à jour du firmware, n'a pas démarré pendant cette phase, le bouton Envoyer devient alors accessible. Clique de nouveau sur celui-ci afin de relaxer le serveur TFTP.
- Un message vous informe lorsque la mise à jour est effectuee. Cliquez sur OK.

Mise à jour à partir d'un Macintosh
La mise à jour à partir d'un Macintosh (de Mac OS 9 à Mac OS X) s'effectue en 3 étapes :
- Activation du serveur TFTP via le configurateur HTML du VPN Booster afin qu'il soit prét à receivevoir le fichier de mise à jour.
- Telechargement du fichier de mise à jour dans la mémoire du VPN Booster, grâce à l'Assistant de mise à jour.
- Redemarrage du VPN Booster dans la nouvelle configuration.
Activation du serveur TFTP
Pour activer le serveur TFTP du VPN Booster en mode HTML, procedez comme suit :
- Démarrez le configurateur HTML du VPN Booster.
- Lorsque le configurateur HTML est démaré, dans le menu Administration Système, Sélectionnez Mise à jour du firmware (serveur TFTP). L'écran suivant rappelle la version de firmware actuèment utilisé.

- Cliquez sur OK. Le serveur TFTP est demarré, vous pouze maintainant utiliser l'Assistant de mise à jour pour télécharger le fjichier de mise à jour dans la mémoire du VPN Booster. Reportez-vous pour cela à la section suivante « Mise à jour via l'Assistant de mise à jour »
Mise à jour via l'Assistant de mise à jour
L'Assistant de mise à jour a été installé en même temps que les Utilitaires VPN Booster. Reportez-vous pour cela au chapitre « Installation et utilisation de l'Assistant de démarrage » page 59. Procedez comme suit :
- Sous Mac OS 9: Cliquez sur le menu Pomme, pointez sur Tableaux de bord, Utilitaires VPN Booster, puis cliquez sur Assistant de mise à jour.
Sous Mac OS X: Effectuez un double-click sur le fichier Utilitaires VPN Booster.dmg. Un disque virtuel Utilitaires VPN Booster est créé sur le bureau de votre Macintosh. Effectuez un double click sur ce disque. Lancez ensuite l'Assistant de mise à jour.
-
En face de la rubrique Emplacement du fichier, cliquez sur le bouton Rechercher, puis indique z le chemin d'acces du fichier de mise a jour.
-
Dans la rubrique Adresse IP du routeur, indiquez l'adresse IP du VPN Booster.

- Cliquez sur Envoyer. Le fichier de mise a jour est alors en cours de chargement dans la mémoire du VPN Booster.

- Lorsque vous estes à 100% du transfert, la mise a jour est effectuee.

Redémarrage du VPN Booster
Le VPN Booster redémarre ensuite automatiquement afin que la mise à jour soit prise en compte. Selon le fichier de mise à jour utilisé (.ALL ou .RST), cliquez sur l'adresse http correspondante sur l'interface Web pour revenir sur la page d'accueil.
Mise à jour du firmware (serveur TFTP)
Le serveur TFTP est démaré. Veuillez lancer le logiciel "Assistant de mise à jour" afin d'actualiser votre routeur. Le serveur TFTP s'arrête automatiquement une fois la mise à jour effectue.
Attention! Le serveur TFTP doit être reactifé pour chaque fichier de mise à jour.
Une fais le routeur opérationnel,
- si vous avez conserve leur configuration (fichier .all), cliquez sur : http://192.168.1.1:80
-si vous ayez restauré la configuration d'usine (fichier .rst), cliquez sur : http://192.168.1.1
afin de vous connecter de nouveau sur les pages d'administration du routeur.
Attention :
- Le redémarrage du VPN Booster interrupt les évientuelles connexions en cours.
- N'éteignez enaucn cas le VPN Booster pendant cette phase de redémarrage, you risqueriez d'endommager sa mémoire et de le rendre inutilisable (dommage non couvert par la garantie).
La mise à jour du VPN Booster est maintenant terminée. Vous pouvez fermer l'Assistant de mise à jour.
Sauvegarde / Restauration de configuration
Vous ave la possibite de sauegarder your configuration complte (via la creation d'un fichier .CFG). Votre configuration entiere est ainsi disponible a tout moment en cas de probleme sur voitre routeur ou pour une utilisation ulterieure.
Sauvegarde d'une configuration
Procedez comme suit :
- Dans le menu Administration Systeme, selectionnez Sauvegarde / Restauration de configuration.
- Une fenêtre apparait. Dans la partie Sauvegarde, cliquez alors sur le bouton Sauvegarder.

- Vous doivent enregistrer vos fichier de sauvegarde sur toute disque. Indique l'emplacement du fichier CFG que vous souhaitez sauvegarder, nommeze-le si nécessaire, puis cliquez sur Enregistrer.

- Le fichier est désormais sauvegarde. Fermez la fenêtre Sauvegarde / Restauration.
Restauration d'une configuration
Si vous souhaitez remetre a jour libre routeur via un fichier .CFG, dans une configuration que vous avez préalablement sauvegardee (reportez-vous a la section precedente), procedez comme suit :
- Dans le menu Administration Systeme, selectionnez Sauvegarde / Restauration de configuration.
- Une fenêtre apparait. Dans la partie Restauration, indique le chemin d'accès du fichier .CFG de mise à jour. Cliquez pour cela sur le bouton Parcourir....
- Une fois le fichier sélectionné, cliquez sur Ouvrir.

- Cliquez ensuite sur Envoyer. Le fichier de restauration est envoyé au VPN Booster.

- Un message apparait alors, vous indiquant que le fichier de restauration a bien ete charge dans le VPN Booster. Cliquez sur le bouton Redemarrer afin que la mise a jour soit prise en compte.

Attention :
- Le redémarrage du VPN Booster interrupt les éventuelles connexions en cours.
- N'eteignez enaucn cas le VPN Booster pendant cette phase de redemarrage, you risqueriez d'endommager sa mémoire et de le rendre inutilisable (dommage non couvert par la garantie).
La mise à jour du VPN Booster via le fichier de sauvegarde est maintenant terminée.
Redémarrage du routeur
Pour redémarrer le VPN Booster à partir de son configurateur HTML, procédez comme suit :
- Dans le menu Administration Système, Sélectionnez Redémarrage du système.
-
Vous avez deux options possibles de redémarrage :
-
Conserver la configuration actuelle : sélectionnez cette option si vous souhaitez que le VPN Booster utilise vos paramètres et les dernières modifications effectuees lors du redémarrage.
- Restaurer la configuration d'usine : sélectionnez cette option si vous souhaitez que le VPN Booster redémarre dans sa configuration d'usine.

Cliquez sur OK.
- Attendez ensuite environ 5 secondes afin que le redémarrage du routeur soit terminé et que celui-ci soit à nouveau opérationnel.
Attention :
- Le redémarrage du VPN Booster interrupt les évientuelles connexions en cours.
- N'eteignez enaucn cas le VPN Booster pendant cette phase de redemarrage, you risqueriez d'endommager sa mémoire et de le rendre inutilisable (dommage non couvert par la garantie).

- Cliquez sur l'adresse http qui correspond à la première adresse de sous-réseau de votre routeur. Vous revenez alors sur le menu du configurateur.
DECLARATION DE CONFORMITE
Equipement terminal de télécommunications
Nom du constructeur : BeWAN systems
Siège social: BeWAN systems
Adresse: 16, rue du Moulin des Bruyères
Télécopie:0146910371
Code postal : 92400
Localité : Courbevoie - France
Identification du produit :
Noms : VPN Booster 8, VPN Booster 32, VPN Booster 32 i et VPN Booster 32 V
Type: Routeurs 10/100 BaseTx
Références : VPNB8, VPNB32, VPNB32i et VPNB32V
Déclaré sous son entière responsabilité que les produits décrits ci-dessus sont en conformité avec les exigences essentielles applicables et en particulier celles de la Directive R&TTE 1999/5/CE.
Les produits sont conformes aux exigences définies par la Directive 89/336/CEE concernant la compatibilité electromagnétique, et la Directive 73/23/CEE sur les basses tensions, la protection de la santé et la sécurité de l'utilisateur.
Les produits sont en conformité avec les normes suivantes :
EN55022 Classe B
EN55024 Classe B
EN60950
Information supplémentaire : le produit a eté testé dans une configuration standard.
Date: juillet 2004
Eric TEISSANDIER
Président du Conseil d'Administration

DECLARATION DE CONFORMITE
Equipement terminal de télécommunications
Nom du constructeur: BeWAN systems
Siège social: BeWAN systems
Adresse: 16, rue du Moulin des Bruyères
Télécopie:0146910371
Code postal : 92400
Localité : Courbevoie - France
Identification du produit :
Noms : VPN Booster 32 g et VPN Booster 32 Vg
Type: Routeurs 10/100 BaseTx avec Point d'Accès Wi-Fi (IEEE 802.11g)
Références : VPNB32G et VPNB32VG
Déclaré sous son entière responsabilité que les produits décrits ci-dessus sont en conformité avec les exigences essentielles applicables et en particulier celles de la Directive R&TTE 1999/5/CE.
Les produits sont conformes aux exigences définies par la Directive 89/336/CEE concernant la compatibilité electromagnétique, et la Directive 73/23/CEE sur les basses tensions, la protection de la santé et la sécurité de l'utilisateur. Ils sont conçus pour les reseaux WLAN fonctionnant dans la bande des 2.4 Ghz.
Les produits sont en conformité avec les normes suivantes :
EN55022 Classe B
EN55024 Classe B
EN60950
Information supplémentaire : le produit a eté testé dans une configuration standard.
Date: juillet 2004
Eric TEISSANDIER
Président du Conseil d'Administration

Notice Facile