P11CRD - Tondeuse à gazon autoportée PARTNER - Notice d'utilisation et mode d'emploi gratuit
Retrouvez gratuitement la notice de l'appareil P11CRD PARTNER au format PDF.
| Type d'appareil | Tondeuse autoportée |
| Alimentation | Essence |
| Largeur de coupe | Non précisé |
| Hauteur de coupe | Réglable, plusieurs positions |
| Capacité du bac de ramassage | Non précisé |
| Transmission | Hydrostatique ou mécanique |
| Nombre de roues | 4 |
| Type de moteur | 4 temps |
| Poids | Non précisé |
| Dimensions (L x l x H) | Non précisé |
| Vitesse maximale | Variable, selon modèle |
| Fonction mulching | Possible |
| Direction assistée | Non précisé |
| Siège | Confortable, réglable |
| Accessoires inclus | Non précisé |
| Normes de sécurité | Conforme CE |
FOIRE AUX QUESTIONS - P11CRD PARTNER
Questions des utilisateurs sur P11CRD PARTNER
0 question sur cet appareil. Repondez a celles que vous connaissez ou posez la votre.
Poser une nouvelle question sur cet appareil
Téléchargez la notice de votre Tondeuse à gazon autoportée au format PDF gratuitement ! Retrouvez votre notice P11CRD - PARTNER et reprennez votre appareil électronique en main. Sur cette page sont publiés tous les documents nécessaires à l'utilisation de votre appareil P11CRD de la marque PARTNER.
MODE D'EMPLOI P11CRD PARTNER
Manuel d'instructions
Merci de生存 très attentivement le manuel d'instructions. Assurez-vous d'avoir tout compris avant d'utiliser ce tracteur.
Description du fonctionnement.
Before starting.
Entretien, réglages.
Troubleshooting.
Störungssuche.
Recherche des pannes.
Storage.
Aufbewahrung.
Remisage.
Reglas de seguidad.
Norme antinfortunistica.
- Lisez toutes les instructions soigneusement. Familiarisez vous avec les commandes pour apprendre à utiliser efficacement cette machine.
- Ne jamais autoriser les enfants ou les personnes qui n'auraient pas lu ce manuel d'utilisation à utiliser ce tracteur de pelouse. La règlementation locale peut de plus interdre l'utilisation de telle machine au-dessous d'un certain âge.
- Ne jamais tondre à proximé de personnes, d'enfants ou d'animaux.
- Ne pas oublier que tout utiliseur ou propriete d'un tracteur de pelouse est responsable des accidents ou dommages causés à une personne ou a ses biens.
- Ne transportez pas de passagers.
-
Tous les utilisateurs doivent rechercher et obtenir une formation personnelle sérieuse et pratique qui devra insister :
-
sur la nécessité absolue d'être attentif et concentré lorsqu'on utilise un tracteur de pelouse,
- le fait qu'un tracteur de pelouse glissant sur une pente ne pourra pas etre arrete en appuyant simplement sur la pedale de frein.
Les raisons principales de cette perte de contrôle sont :
a) l'adherence insuffisante des pneus,
b) une conduite trop rapide,
c) un freinage insufficient,
d) un tracteur de pelouse inadaptée aux conditions d'utilisation,
e) une mauvaise appréciation des contraintes résultat de la nature du terrain à entretenir et, tout particulièrement de la présence de pentes sur ce terrain,
f) l'attelage incorrect d'une remorque et la mauvaise répartition des masses.
II. PREPARATION
- Pendant la tonte, ne porter que des chaussures solides et des pantalons longs. Ne jamais tondre pieds nus ou chaussede sandales.
- Contrôlez systématiquement et soigneusement l'état de la surface à tondre etsteroler tous les objets susceptibles de devenir des projectiles lors du passage de la machine.
-
ATTENTION - Le carburant est très inflammable.
-
Pour transporter ou stocker le carburant, n'utiliser exclusivement que des recipients concus et approuvés pour ces usages.
- Toujours replir le réservoir de carburant à l'air libre et ne pas fumer pendant le replissage.
- Remplir le réservoir de carburant avant de démarrer le moteur. Ne jamais retirer le bouchon du réservoir et ne jamais rajouter de carburant tant que le moteur est en factionnement ou qu'il est encore chaud.
- Si du carburant a été renversé, ne pas tenter de démarrer le tracteur, mais le pousser hors de la zone où le carburant a été renversé et éviter de creator une quelconque source de chaleur avant que les vapeurs de carburant ne se soient dissipées.
-
Refermer avec précautions les bouchons des réservoirs ou des recipients contenant du carburant pour garantir la sécurité.
-
Remplacer les pots d'échéppement défectueux.
-
Avant d'utiliser un tracteur de pelouse, toujours vérifier que les lames, les boulons de lame et le carter de coupe ne sont pas usés ou endommagés. Toujours replacer les lames et les boulons simultanément de façon à éviter tout problème d'équilibrage.
- Sur les tracteurs de pelouse multi-lames, ne pas oublier que la rotation d'une lame peut entraîner celle des autres.
III. UTILISATION
- Ne jamais demarrer un moteur à l'intérieur dans un espace confiné ou des émanations dangereuses de monoxyde de carbone pourraient s'accumulées.
Tondre uniquement à la lumière du jour ou avec une bonne luzière artificielle. - Avant de tenter de démarrer le moteur, s'assurer que les lames sont débrayées et que la boîte de vitesses est au point mort.
- Ne jamais utiliser un tracteur de pelouse sur des pentes supérieures à 10^ .
-
Se souvenir qu'il n'este pas de pente «sûre». Conduire sur des pentes herbeuses demande une attention particulière. Afin d'éviter tout risque de returnement du tracteur, appliquer avec soin les consignes suivantes :
-
ne pas s'arrête ou démarrer brusquement dans une pente,
- embrayer doucement et ne jamais arrêté le tracteur de pelouse dans une pente, et plus particulièrement dans le sens de la descente.
- conduire toujours lentement dans les pentes, tout comme dans les virages serrés,
- faire attention aux irrégulatés du terrain,
-
ne jamais tondre en travers d'une pente, à moins que le tracteur de pelouse n'ait eté spécialement concu à cet effet.
-
Faire attention lors de la traction de charges ou lors de l'utilisation d'équipements lourds.
-
N'utiliser que des points d'attelage approvés.
- Limiter les charges à celles qu'il est possible de contrôler avec sécurité.
- Nepastournertrop brusquement. Rester très prudent lors des conduites en marche arrière.
-
Utiliser les masses de roues ou les contrepoids lorsqu'ils sont conseillés dans ce manuel d'utilisation.
-
Faire attention à la circulation lorsque l'on doit utiliser le tracteur près d'une route ou lorsqu'on doit traverser une route.
- Toujours stopper la rotation des lames lorsqu'on doit traverser une surface autre que du gazon.
- Lors de l'utilisation d'accessoires, ne jamais les utiliser ou les déposer à proximé de celui'un.
- Ne jamais utiliser le tracteur de pelouse avec un bac, un déflecteur (option) ou un insert broyeur défectueux ou encore, sans qu'un bac ou un déflecteur ne soit monté sur le tracteur. Pour tandre, même en fonction broyage, il faut impérativement, pour la sécurité de l'utilisateur que, soit le bac, soit le déflecteur (option), soient placés à l'arrête du tracteur.
- Conserver le régime de rotation du moteur et ne jamais le faire fonctionner au dessus de son régime nominal car cela peut être dangereux.
Avant de quitter le siege :
- débrayer les lames et abaiser le carter de coupe,
-mettre le levier de vitesse au point mort et enclenger le frein de parking, -
arrête le moteur et-retirer les clés,
-
Débrayer les lames, arrêté le moteur, et débrancher le (s) fil (s) de (s) bougie (s) d'allumage ou retarder la cléf de contact :
-
avant de retirer l'insert broyeur ou avant de retirer la goulotte d'éjection pour la nettoyer.
- avant de contrôle, nettoyer ou travailler sur le carter de coupe,
- avant de prisoner un objet coincide dans le tracteur de pelouse.
Dans ce cas inspector aussitot la machine pour s'assurer qu'elle n'est pas endommagée et, si nécessaire, faire ou faire faire impératifement les réparations avant de la remettre en marche et de la faire fonctionner à nouveau.
- si la machine commence à vigorer anormalement.
Dans ce cas vérifier immédiatement le carter de coupe.
-
Débrayer systématiquement les lames quand le tracteur n'est pas utilisé ou quand il doit être transporte.
Débrayer les lames puis arrêté le moteur : -
avant de faire le plein d'essence,
- avant d'enlever le collecteur,
-
avant de régler la hauteur de coupe à moins que ce réglage ne puisse s'effectuer du poste de conduite.
-
Lorsque la tonte est terminée, réduire les gaz avant de couper le moteur et, si le tracteur de pelouse est équipée d'un robinet d'arrêt du carburant, fermer celui-ci.
IV. ENTRETIEN ET ENTREPOSAGE
- S'assurer que tous les écrous, boulons et vis sont bien serrés pour être certain que l'équipement est pré à fonctionner de nouveau, dans de bonnes conditions.
- Ne jamais entreposer le tracteur de pelouse avec du carburant dans le réservoir, dans un bâtiment où les vapeurs pouraient s'enflammer au contact d'une flamme ou d'une étincelle de l'allumage.
- Attendre le refroidissement du moteur avant d'entreposer la tondeuse autoportée dans un espace fermé.
- Pour supprimer les risques d'incendie s'assurer que le moteur, le pot d'échévement, le logement de la batterie et du réservoir de carburant ne sont pas encrassés par de l'herbe, des feuilles ou des surplus de graisse.
- Vérifier souvent le bac ou le collecteur pour vous assurer qu'il est propre et qu'il n'est pas endommagé.
- Pour plus de sécurité, remplacer systématiquement les pieces usées ou détiériorées.
- Si le réservoir de carburant doit être vidange, procéder à cette opération à l'extérieur.
- Sur les tracteur de pelouse multi-lames, ne pasoublier que la rotation d'une lame peut entraîner celle des autres.
- Quand le tracteur de pelouse est garé, entreprises ou tout simplement inutilisé, régler la hauteur de coupe dans sa position la plus)basse.

ATTENTION: Toujours débrancher le fil de la bougie d'allumage et le placer de telle sorte qu'il ne puisse, enaucun cas,enter en contact avec la bougie afin de prévenir les démarrages accidentels, lors du montage, du transport, des réglages ou des réparations.

I. INSTRUCCION
Ces symboles peuvent figurer sur tracteur ou dans les publications fournies avec le produit. Apprenez à comprendre la signification de ces symboles.

- Monter la ballonge de l'arbre de direction (1) en alignant bien les trous. Bien serrer la vis et l'écrou.
- Positionner le carénage sur la colonne de direction. S'assurer que les ergots du carénage sont bien placés dans les trous correspondants du tableau de bord.
- Retirer l'adaptateur crante du volant et le glisser sur l'arbre de direction. Vérifier que les roues avant sont bien alignées selon l'axe d'avancement et positionner le volant sur l'adaptateur. La traversse du volant doit être perpendicular à l'axe d'avancement.
- Mettre en place la grande rondelle plate, la rondelle frein et la vis ou l'écrou hexagonal(e). Serrer fortement.
- Encliqueter l'enjolivre de volant dans le centre du volant.
1. RALLONGE DE L'ARBRE DE DIRECTION
Retirer le bouton de réglage et la rondelle plate qui fixent le siège à l'emballage de carton, le conserver pour le montage du siège sur le tracteur.
Basculer le siège vers le haut et le sortir de l'emballage de carton. Se débarrasser ensuite de l'emballage.
Placer le siège sur son embase de façon que la tête de la vis à épaulement se place dans le trou à l'extrémité de la large fente de l'embase (1).
Pousser le siège vers le bas pour engager la vis à épaulement dans la fente puis repousser le siège vers l'arrière du tracteur.
La position du siège seul, par rapport à la position de la pédale de frein et d'embrayage, est régliable. Rechercheur une position assise correcte en déplaçant le siège vers l'avant ou vers l'arrière. Serrer ensuite à fond la vis de réglage (2).
ES Asiento
Vérifier que le cable électrique est bien connecté sur le contacteur de sécurité (3) place sous l'embase du siège.
(ES) NOTA!
FR 1. Capotage de batterie
- Câble (+)
- Cable (-)
- Carrosserie
- Borne de la batterie
- Batterie
FR Mise en place de la batterie
REMARQUE : Si la batterie est mise en service au-delà de l'année et du mois indiqués sur l'étiquette, recharger la batterie, pendant une heures au moins, à 6-10 A .
ATTENTION: Avant de mettre en place la batterie, prendre la précaution de retarder gourmette, montre-bracelet, anneau, etc. Leur contact avec la batterie pouvant entraîner des brûlures.
- Retirer le capotage de la batterie
ATTENTION: La borne positive doit être connectée la première fois, ainsi que le tissier ne peut se produire à la suite d'une mise à la masse accidentelle.
Retirer les capuchons de protection des bornes et les mettre de côté. Placer la batterie dans son logement, les bornes du côté extérieur. Raccarder en premier le cable rouge (+) à la borne positive de la batterie puis le cable noir (-) à la borne négative. Fixer les deux cables à l'aide des vis et des écrous fournis. Graisser les bornes de la batterie avec uneGRAisse résistante à l'humidité (vaseline) afin d'éviter la corrosion. Replacer le capotage de la batterie.

Les roulettes de jauge sont correctement régles lorsqu'elles se trouvent légarement au-dessus du sol pendant la tonte, le carter de coupe étant à la hauteur désirée pour la coupe.
- Régler les roulettes de jauge lorsque le tracteur se trouve sur un terrain plat.
- Régler le carter de coupe à la hauteur de coupe désiée.
Lorsque le carter de coupe est à la hauteur souhaitée, la roulette de jauge doit être placee légèrement au dessus du sol. Fixer la roulette de jauge dans le trou approprié du support situé sur le carter de coupe à l'aide de la vis, de la rondelle plate 3/8 et de l'écrou frein 3/8-16. Serrer à fond. - Répéter cette opération pour l'autre côté en plaçant la seconde roulette dans le trou correspondant à celui utilisé pour la première roulette de jauge.

Assemblage des composants du collecteur
- Goulotte d'éjection
- Ecrou 3/8
-
Rondelle plate
-
Retirer la goulotte d'éjection (1). Pour cela, libérer les deux attaches élastiques à l'arrière du tracteur et tirer la goulotte d'éjection hors du tracteur.
- Dévisser et-retirer les deux écrous ainsi que les deux rondelles plates des vis situées sur le panneau arrêté du tracteur (Voir figure).

- Ecrou frein diam. 3.8
- Rondelle plate
-
Chássis porteur.
-
A l'aide des écrous et des rondelles plates qui ont été retirés précédemment du panneau arrêté du tracteur, assembler le chassin porteur du collecteur sur le panneau arrêté comme indiqué sur la figure.

- Bras support supérieur
- Boulon poëlier 3/8
- Ecrou frein 3/8
- Vis H 3/8 x 63,5
-
Rondelle plate diam. 10,3 mm (13/32")
-
Positionner les deux bras supports supérieurs à travers le panneau arrêté du tracteur et les fixer au chassin à l'aide des boulons poeliers de 3/8 × 3/4 et des écrous fournis. Serrer à fond.
- Assembler chacun des deux bras supports à la face extérieure des tubes verticaux du chassin porteur du collecteur à l'aide des deux vis à tête hexagonale 3/8 x 63,5 mm, des deux rondelles plates 13/32" et des deux écrous frein 3/8 contenus dans la pochette de pieces détachées. Serrer à fond.

- Crochet
- Goulotte d'éjection
-
Trous dans le panneau arrière du tracteur
-
Replacer la goulotte d'éjection dans son logement au travers de la trappe d'éjection du panneau arrêté. Immobiliser la goulotte avec les deux attaches élastiques (Voir figure).
REMARQUE: Les crochets des attaches élastiques doivent être accrochés uniquement aux trous prévus à cet effet dans la goulotte d'éjection (2) (Voir figure). Ne pas laisser les crochets pénétrer dans les trouss du panneau arrêté du tracteur (3) (Voir figure). ce qui empêcherait la goulotte d'éjection de flotter avec le carter de coupe lorsque le tracteur se déplace sur un terrain irrégulier.

- Armature frontale
- Armature inférieure
- Boulon poelier 1 / 4 × 50,8 ~mm
- Ecrous freins 1/4"

- Armature frontale
- Boulon poelier 1/4 × 50,8 mm
- Ecrous freins 1/4
- Bande d'étanchéité en vinyle
- Levier de vidage du collecteur
- Cheville de fixation
- Epingle
- Chapeau
- Le capotage du collecteur doit être aligné sur le capotage des ailles arrirées du tracteur
- Crochet régable pour la fixation du collecteur
- Etrier de réglage de la position du collecteur
FR Pour assembler le collecteur
REMARQUE: nous vous recommendons, pour plus de facilité, de vous faire aider d'une autre personne pour effectuer le montage du collecteur.
- Les trous dans l'armature frontale du collecteur sont percés avec un angle prédéterminé. Lorsque vous mettez l'armature frontale en position d'assemblage contre l'armature inférieure (voir dessin ci-contre) vérifie le bon alignement des trous avant de placer les boulons.
- Assembler l'armature frontale et l'armature inférieure à l'aide des 4 boulons poelier 1/4 × 50,8 mm et des 4 écrous frein fournis. Serrer fermement.
- Faire glisser l'ensemble de la structure composée par les deux armatures préalablement assemblées à l'intérieur du collecteur.
- Assembler les armatures frontale et supérieure du collecteur à l'aide des 4 boulons poelier 1/4 × 50,8 mm et des 4 écrous frein fournis. Serrer fermement.
- Mettre en place les bandes d'étanchéité en vinyle sur les armatures du collecteur.
- Insérer le levier de vidage du collecteur dans le trou prévu à cet effet sur le capotage supérieur du collecteur, puis insérer la cheville et la bloquer à l'aide de l'épingle.
- Poussez le chapeau au-dessus de l'extrémité de la poignée de décharge du sac.
REMARQUE : ultérieurement la cheville et l'épingle pourront être retirees de façon à permettre l'utilisation du levier de vidage pour débourrer, si besoin est, le canal d'éjection du tracteur.
Positionnement du collecteur
Pour optimiser le fonctionnement du collecteur et son appar-. ence, il est nécessaire de le positionner correctement. Il doit y avoir un jeu de 6 à 9 mm entre le collecteur et la partie arrriere du tracteur. La surface supérieure du capotage du collecteur doit se situer exactement dans l'alignement de la surface supérieure du capotage des ailes arrirées du tracteur.
Réglage de la position horizontale
- Desserrer les écrous de fixation des crochets d'attelage du collecteur sur les étriers de réglage droit et gauche. Desserrer au minimum afin que les éléments gardent leur position mais puissant néanmoins être déplacés légèrement.
- Déplacer les crochets en avant ou en arrêté, juste de ce qu'il faut pour obtenir la bonne position du collecteur dans le plan horizontal. Bien presserrer les écrous.
Réglage de la position verticale
- Desserrer les écrous de fixation des étriers de réglage du collecteur permettant le réglage dans le plan vertical. Desserrer au minimum afin que les éléments gardent leur position mais puissant néanmoins être déplacés légèrement.
- Déplacer les étriers vers le haut ou vers le bas, juste de ce qu'il faut pour obtenir la bonne position du collecteur dans le plan vertical. Bien resserrer les écrous.
- Repositionner le collecteur sur ses crochets d'attelage afin d'en vérifier l'ajustement. Si le résultat n'est pas conforme aux instructions, repeter les opérations ci-dessus jusqu'à obtention d'un ajustage parfait.
Pour optimiser les fonctions ramassage, broyage ou éjection, se reporter au (chapitre 5) de ce manuel d'utilisation.

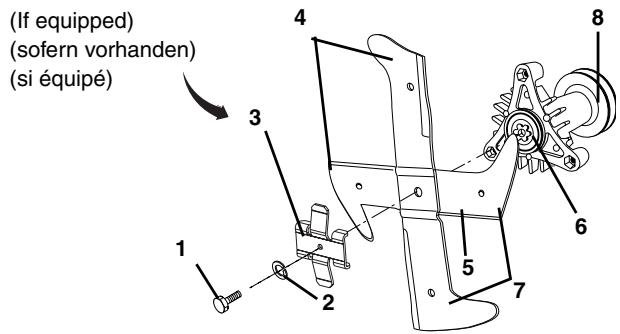
Pour assembler l'insert broyeur (si equipoé)
- Retirer l'épingle et l'axe de fixation.
- Insérer la tête de l'insert dans la poignée. Vérifier que les lettres A et B, moulées sur chacune des parties, se trouvent bien du même côté sur la tête et sur la poignée de l'insert, et si elles sont visibles du dessus lorsque l'insert est posé sur le sol.
- Insérer ensuite l'axe de fixation à travers les troups prévus à cet effet dans les deux parties de l'insert et le bloquer à l'aide de l'épingle. Pourmettre en place l'insert (et pour passer de la fonction broyage à la fonction éjection arriere),se reporter au chapitre 5 de ce manuel.

- Handle
- Retainer Spring
- Pin
- Plug

- Mango
- Resorte fijador
- Clavija
- Tapon o tapa

- Poignée de l'insert
- Epingle
- Axe de fixation
- Tete de l'insert

- Hendel
- Sluitveer
- Pen
- Plug

Emplacement des commandes
- Interrupteur des phares (si équipe)
- Commande de gaz
- Pédale de frein et d'embrayage
- Levier de changement de vitesses
- Embrayage/débrayage du groupe de coupe
- Abaisissement et releavage du plate au de coupe.
- Serrure de contact
- Frein de parking.
- Starter

- Interrupteur des phares (si équipe)

La commande des gaz permet de faire varier le régime du moteur et donc la vitesse de rotation des lames.

= Régime rapide

= Ralenti

2. Acelerador
FR 3. Pédale d'embrayage et de frein
En appuyant sur cette pédale, la transmission se débraye et le frein entre en action simultanément.
ES 3. Pedal de freno y de embrague
FR 4. Commande de la boite de vitesses
La boîte de vitesses possèdent des vitesses avant, une position neutre (point mort) et une marche arrrière. Le passage des vitesses peut s'effectuer du point mort jusqu'à la vitesse maximale sans s'arrêté sur les rapportes intermédiaires. Toutefois il est indispensable d'appuyer sur la pédale d'embrayage (et donc de débrayer) lorsqu'on passée d'un rapport à un autre,quel qu'il soit!Le démarrage du tracteur pouvant intervenir indépendamment de la position du levier de vitesse, il est indispensable de bien vérifier que celui-ci est au point mort avant d'actionner la clef de contact et de démarrer le moteur.
REMARQUE!
Toujours stopper le tracteur avant de passer de la marche arrrière à un rapport de marche avant et inversement. Le passage entre les différents rapportes de marche avant ne doit jamais être effectué pendant le déplacement du tracteur. Ne jamais forcer sur le levier lors du passage d'un rapport dans un autre.
5. Commande d'embrayage et de débrayage du carter de coupe
Pousser le levier vers l'avant et le verrouiller pour embrayer le carter de coupe. Les courroies d'entrainment seront alors en tension et les lames commenceront à tourner. Ramener le levier vers l'arrière pour débrayer le carter de coupe, les lames seront alors freinées par le frottement des patins de frein sur les poulies d'entrainment.

6. Relevage et abaisissement du carter de coupe
Tirer sur le levier vers l'arrière (1) pour relever rapidement le carter de coupe lors du passage sur une surface accidentee. Pour le transport, le carter de coupe doit etre dans sa position la plus elevée (releve au maximum). Pour cela, tirer le levier vers l'arriere jusqu'à sa butee. Pour abaiser le carter de coupe, tirer légèrement le levier vers l'arrière (1) puis enfoncer le bouton poussoir (2) situé sur le dessus du levier, ramener ensuite le levier vers l'avant (3) en maintainant la pression sur le bouton poussoir.

(FR) 7. Clé de contact et de démarrage
La clé de contact possède trois positions :
OFF Le circuitélectrique est coupé (eteint)
ON Le circuitélectrique est fermé(allumé)
START Le démarreur du moteur est alimenté (Dés le démarrage du moteur, relâcher la clé qui revienda automatiquement sur la position "ON")
ATTENTION!
Lorsque la machine doit rester sans surveillance, même pour un court instant, toujours arrêté le moteur,mettre le levier de commande de vitesse au point mort (Neutre) et-retirer la clé de contact.
8. Frein de stationnement
Pour enclencher le frein de stationnement :
- Enfoncer à fond la pedale d'embrayage/frein.
- Relever vers le haut le levier du frein de stationnement et le maintainir dans cette position.
- Relâcher la pédale d'embrayage/frein. Relâcher le levier du frein de stationnement qui restera dans sa position verrouillée (en haut).
Pour desserrer le frein de parking, il suffit d'enconcer la pédale d'embrayage/frein pour que le levier du frein de parking soit déverrouillé et qu'il revienne automatiquement dans sa position de repos.

Lorsque le moteur est froid, tirer le bouton de commande du starter avant d'essayer de démarrer. Dès que le moteur a démarré et tourne régulièrement, repousser le bouton de commande.

9. Estrangulador
4. Avant de démarrer. 4. Antes del arranque.
Utiliser de l'essence pure (sans ajouter d'huile) sans plomb. Remplir le réserveur jusqu'au bord inférieur de l'orifice de replissage, jamais plus haut.
ATTENTION!
L'essence est un produit inflammable. Prendre les précautions nécessaires et faire le plein en extérieur. Ne jamais fumer lors du replissage du réservoir, ou à proximité, et ne pas refaire le plein tant que le moteur est encore chaud. Ne pas trop replir le réservoir, penser à l'expansion de l'essence à la chaleur ce qui risquerait d'entrainer le débordement du réservoir. Tout jours s'assurer, après le plein, que le bouchon du réservoir est correctement visse et serré. Conserver l'essence dans un écipient spécifique conçu à cet effet et dans un local frais et aéré. Vérifier régulièrement le réservoir et le circuit d'alimentation en carburant.
L'orifice de replissage avec son bouchon/jauge est accessible après basculement du capot moteur vers l'avant. Le niveau d'huile du moteur doit être contrôle avant chaque utilisation. S'assurer que le tracteur se trouve bien à plat, devisser le bouchon avec sa jauge, essuyer cette dernière. Remettre en place le bouchon/jauge et le revisser. Attendre quelques secondes etsterolerà nouveau la jauge. Contrcler le niveau de I'huile sur la jauge.

E5 Nivel de aceite
FR Pression de gonflage des pneus
Vérifier régulièrement la pression de gonflage des pneus. La pression de l'air dans les pneus doit être de 1 bar pour les roues avant et de 0,8 bar pour les roues arrirées.
S'assurer préalablement que le carter de coupe est en position de transport (c'est à dire : relevé au maximum) et que le levier d'embrayage et de débrayage du carter de coupe est en position "débrayée" (voir figure).

Arranque del motor
Enconcer complètement la pédale d'embrayage/frein.
S'assurer également que le levier de changement de vitesse est sur la position "Neutre" (point-mort).

Si le moteur est froid : Tirer la commande de starter.

(FR) Si le moteur est chaud : pousser la commande des gaz à mi-distance de sa position d'accelération maximale. "
FR Amener la clé de contact sur la position "Démarrage" ("START").
REMARQUE!
Ne pas laisser tourné le démarre plus de 5 secondes à chaque fois. Si le moteur ne démarre pas immédiatement, attendre une dizaine de secondes avant d'effectuer une nouvelle tentative.
FR Laisser ensuite la clé revenir sur sa position "On" lorsquel me moteur a démarré et repousser la commande de starter dés que le moteur tourne régulierement. Amener la commande des gaz à la position correspondante au régime moteur désiré. Pour la tonte, positionner cette manette dans l'encôche prévue pour obtenir le régime optimal pour la tonte (accelération maximale du moteur).
La machine est équipée d'un dispositif de sécurité qui arrête le moteur immédiatement, s'il est encore en fonctionnement, lorsque le conducteur quitte le siege. Le carter de coupe est également muni d'un dispositif de sécurité qui empêche l'embrayage des lames tant que le collecteur ou le déflecteur (en option) ne sont pas correctement mis en place à l'arrêt du tracteur.


NOTA!
Abaisser le carter de coupe en amenant le levier vers l'avant. Embrayer les lames. Choisir la vitesse d'avancement en fonction du terrain et de la qualite de tonte désirée (Généralement, la position optimale correspond à l'encôche prévue à cet effet au niveau de la commande des gaz). Relâcher doucement la pédale d'embrayage/frein.

Conducción
Conseils pour la tonte
- Retirer de la pelouse, les pierres et autres objets qui pouraient être propulsés par les lames et doivent ainsi des projectiles dangereux.
- Localiser et marquer les pierres et autres obstacles fixes afin d'eviter une éventuelle collision pendant la tonte.
- Commencer par couper assez haut, puis réduire progressivement cette hauteur de coupe jusqu'à obtention du résultat souhaïte.
- Le meilleur résultat de coupe sera obtenu avec un régime de rotation du moteur élevé (Les lames tournent très vite) et une vitesse d'avancement réduite (Le tracteur avance lentement). Si l'herbe n'est pas trop haute, ni trop dense, la vitesse d'avancement du tracteur peut être augmentée, enChoosingant le rapport de boîte de vitesse supérieure ou en réduisant le régime du moteur, sans affecter la qualité de la coupe.
- Les plus belles pelouses sont celles qui sont tondues souvent. La coupe est plus régulière et l'herbe est mistréux répartie sur la surface. Le temps passé pour effectuer la tonte ne sera pas nécessairement plus important, car la vitesse d'avancement pourra être plus élevée sans que l'aspect de la pelouse n'en soit affecté.
- Eviter de tandre une pelouse mouillée, car la qualité de la coupe ne pourrait être correcte du fait de l'enforcement des roues du tracteur dans le sol.
- Nettoyer le carter de coupe, et en particulier le fond, au jet ou au nettoyeur à haute pression, après chaque utilisation. Une raclette peut être utile pour décoller l'herbe fraîche du carter ou de la goulotte d'éjection.

FR Pour vider le bac:
Votre tracteur est équipé d'une alarme sonore qui vous avertit lorsque le bac est plein. Pour arrêter l'alarme, débrayer les lames.
- Amener le tracteur là ou vous souhaitez le décharger.
- Mettre le levier de boîte de vitesses au point mort et tirer le frein à main.
- Tirer le leiver de vidange du bac vers le haut puis vers l'avant afin d'ouvrir le bac et vider l'herbe coupée.
- Remetre ensuite le levier dans sa position initiale. Vérifier que le collecteur est bien reféré et qu'il se trouve dans la bonne position avant de réembrayer les lames.
Pour passer d'une fonction à une autre :
Les fonctions "broyage" et "éjection arrêtè" requirement la mise en place de dispositifs appropriés.
Pour broyer
- Placer le carter de coupe en position haute.
- Retirer le collecteur ou le déflecteur arrêté (en option).
- Décrocher les deux attaches élastiques et retarder la goulotte d'éjection.
- Mettre en place l'ensemble de l'insert de broyage avec sa poignée dans la trappe d'éjection du panneau arrêté et vérifier que l'insert obture bien le conduit du carter de coupe.
- Immobiliser les deux cotsés de la poignée de l'insert en fixant les crochets des deux attaches élastiques dans les trous d'ancrage prévus à cet effet de part et d'autre de la trappe d'éjection.
- Remetre en place le collecteur ou le déflecteur optionnel à l'arrière du tracteur. Ceci est indispensable pour tandre du fait du contacteur de sécurité situé au niveau du panneau arrière.
Pour ejecter à l'arrière
- Mettre le carter de coupe en position haute.
Déposer le collecteur ou l'insert broyeur. - Remetre en place la goulotte au travers de la trappe d'éjection sur le panneau arrêté du tracteur.
- Immobiliser la goulotte d'éjection en fixant les deux attaches élastiques dans les troups prévus à cet effet de part et d'autre de la trappe d'éjection.
- Mettre en place le déflecteur, en option, contre le panneau arrêté du tracteur en vissant les quatre vis papillons dans les inserts filetés correspondants qui se trouvent sur le panneau.
- Bien serrer les quatre vis papillons.
Pour ramasser
- Mettre le carter de coupe en position haute.
Déposer le déflecteur en option ou l'insert broyeur. - Remetre en place la goulotte au travers de la trappe d'éjection sur le panneau arrêté du tracteur.
- Immobiliser la goulotte d'éjection en fixant les deux attaches élastiques dans les troups prévus à cet effet de part et d'autre de la trappe d'éjection.

- Ne jamais utiliser un tracteur sur des pentes excédant 10^ . Les risques de renversement étant alors très importantes.
- Ne jamais rouler parallèment à la pente du fait des risques de renversement. Toujours rouler perpendicularément à la pente, aussi bien en montant, qu'en descendant.
- Ne jamais arrêté ou démarrer un tracteur en pente.

ADVERTENCIA!
(FR) Arrêt du moteur
Amener la commande des gaz vers le bas en position de ralenti "". Débrayer les lames en abaissant le levier de commande d'embrayage des lames. Relever le carter de coupe et amener la clé de contact sur la position "OFF". ÀpRES des travaux difficiles, laisser le moteur tourner au ralenti pendant 1 à 2 minutes pour qu'il refroidisse avant de l'arrêter.
ES Parada del motor
Ne jamais laisser la clé de contact sur la machine lorsqu'elle reste sans surveillance afin d'éviter que des enfants ou autres personnes non autorisées ne puissant démarrer le moteur.
ES ADVERTENCIA!
Avant toute intervention sur le moteur ou le carter de coupe suivre les instructions ci-dessous :
- Enconcer la pédale d'embrayage/frein pour verrouiller le frein de stationnement.
- Amener le levier de vitesse en position "Neutre" (point mort).
Débrayer les lames. - Arrête le moteur.
- Débrancher le cable d'allumage de la bougie.
ES ADVERTENCIA!
(1) Capot
(2) Connexion des phares

Relever le capot,
- Debrancher les phares,
- Àprouss s'être placé devant le tracteur, prendre le capot par les côtés, le faire basculer vers l'avant puis le soulever pour le libérer des encoches qui le retiennent au chassis.
Pour le remettre en place, repositionner les ergots du capot dans les encoches du chassin.
Rebrancher les phares et refermer le capot.

Cubierta del motor
REMARQUE: Le tracteur doit être entretenu régulièrement afin de maintainir ses performances.
ATTENTION! Toujours débrancher le fil de la bougie, afin d'eviter tout démarriage accidentel, lors d'une réparation, d'une inspection ou d'une opération de maintenance.
Avant chaque utilisation :
- Contrôler le niveau d'huile et lubrifier, si nécessaire, les points d'articulation,
- Vérifier que tous les boulons, écrous et épingle sont en place et solidement fixés,
- Contrôler la batterie, ses cosses et sa mise à l'air libre,
La recharger doucement à 6 ampères, si nécessaire,
Nettoyer la grille de ventilation du moteur,
Nettoyer le filtré à air, - Nettoyer le tracteur afin d'évacuer la poussière et les brindilles qui risqueraient d'endommager le moteur ou de provoquer un échauffement anormal.
Vérifier le fonctionnement du frein.
Nettoyage
N'utilisez pas de nettoyeur haute pression pour le lavage. L'eau pourrait s'infiltrer dans le moteur et abréger ainsi la durée de l'appareil.

Mantenimiento
Pour assurer l'entretien du moteur
Se référer au manuel d'utilisation du moteur.
Vidange de l'huile du moteur
Retirer le bouchon (1) et placer le tuyau de vidange (2).
Pour ouvrir la soupape de vidange, repousser légèrement la soupape en la faisant tourner dans le sens contraire des aiguilles d'une montre pour sortir du cran, puis tirer sur la soupape pour libérer l'huile.
Pour refermer la soupape de vidange, repousser la soupape et la faire tournier légèrement dans le sens des aiguilles d'une montre jusqu'au verrouillage du cran et relâcher la soupape.
Retirer le tuyau de vidange et replacer le bouchon.
- Bouchon
- Tuyau de vidange

Consigner les dates d'intervention après chaque opération d'entretien.
| Selon les besoins | Toutes les 8 H | Toutes les 25 H | Toutes les 50 H | Toutes les 100 H | Toutes les 200 H | |
| Vidange de l'huile moteur(sans filtré à huile) | ● | |||||
| Vidange de l'huile moteur(avec filtré à huile) | ● | |||||
| Graissage des articulations | ● | |||||
| Vérification des freins | ||||||
| Nettoyage de la grille d'aération | ● | |||||
| Nettoyage du filtré à air et du pré-filtre | ● | |||||
| Remplacement de la cartouche du filtré à air | ● | |||||
| Nettoyage des ailettes defroidissement moteur | ● | |||||
| Remplacement de la bougie | ● | |||||
| Vérification du gonflage des pneus | ● | |||||
| Remplacement du filtré à carburant | ● | |||||
| Nettoyage des cosses de la batterie et des connexions | ● | |||||
| Vérification du pot d'échévement | ● | |||||
| Graissage des joints | ● | |||||
| Réglage du parallélisme | ||||||
| Réglage du carburateur |

INFORME DE SERVICIO
GB 5-Star pattern blade w/ right hand threaded bolt
DE Messerbohrung mit füne-ckiger Aussparung, Gewin-debolzen mit Rechtsgewinde.
FRLame avec orifice de fixation central (etoile a cinq branches) avec pas de vis à droite
(ES) Filo cortador de orificio-estrella se cinco+puntas y un tornillo dextrogiro
Lama affettata con aperture stella cinque (5) punte e bollone filettato a destra
NL Mes met 5-hoeleige ster en rechtsgangig schroefdraad
GB 6-Star pattern blade w/ left hand threaded bolt
DE Messerbohrung mit sechseckiger Aussparung, Gewindebolzen mit Linksgewinde
FR Lame avec orifice de fixation central (étoile à 6 six branches) avec pas de vis à gauche
ES Filo cortador de orificioestrella de seks+puntas y un tornillo levogiro
Lama affettata con apertura stella a sei (6) punte e bollone filettato a sinistra
NL Mes met 6- hoeleige ster en linksgangig schroefdraad
(FR) Lames:
Les lames doivent être parfaitement affués pour obtenir une belle coupe. L'affutage peut être réalisé à l'aide d'une lime ou d'une meule.
REMARQUE: Il est très important d'affuter les deux extrémites de la lame de façon identique afin d'éviter tout déséquilibrage.
ES Cuchillas
ATTENTION: Les deux lames de la tondeuse sont différentes et chacune d'entre elles doit etreinstalleea sa place dans le carter de coupe. Il est vivement conseilé de travailler sur une lame à la fois pour s assurer du bon assemblage des composants.
FR1. Boulon de type hexagonal avec filtage à droite
- Circlips
- Rondelle plate
-
Lame
-
Orifice de fixation central (étoile) à cinq branches.
- Moyeu
- Volute
- Support de lame

FR Lame avec orifice de fixation central (étoil à cinq branches):
Cette lame est fixée au moyen par un boulon avec filtage à droite. On desserre le boulon en le faisant tourner dans le jeu inverse des aiguilles d'une montre et on le reisserre en le faisant tourner dans le sens des aiguilles d'une montre.

GB 6 Star pattern blade
F R Lame avec orifice de fixation central (etoile a six branches):
Cette lame est fixée au moyen par un boulon avec filetage à gauche. On déserre le boulon en le faisant tourner dans le sens des aiguilles d'une montre et on le resserre en le faisant tourner dans le sens inverse.

Pour avoir une bonne qualite de coupe, il est indispensable que les lames soient bien affuutes. Remplacer immediatement les lames endommagées ou tordues.
POUR REMPLACER LES LAMES :
- Relever le carter de coupe au maximum afin d'avoir accès aux lames.
- Devisser la vis à tête hexagonale avec la rondelle frein et la rondelle plate qui fixent la lame sur le moyeu.
- Mettre en place la nouvelle lame, ou la lame d'origine réaffutée, avec le tranchant tourné vers le haut comme indiqué.
ATTENTION : Pour que la lame soit bien montée, l'alésage central en forme d'étoile de la lame doit être parfaitement emboité sur l'étoile du moyeu.
- Revisser la vis à tête hexagonale avec sa rondelle frein et sa rondelle plate en respectant l'ordre prescrit.
- Serrer la vis avec un couple de serrage de 3,7 à 4,9 mkg.
ATTENTION : La vis de fixation de la lame a ete traitee thermiquement en classe 8, bien respecter le couple de serrage.
Le frein se trouve à l'avant de la roue arrrière côté droit. La roue doit être déposée pour obtenir une bonne accessibilité.
- Avant toute intervention, enforcer la pédale d'embrayage/frein et verrouiller le frein de parking.
ES Freno
FR 1. Mesurer la distance entre le levier de frein et l'écrou de réglage.
- La distance doit être de 38 mm.
-
Si nécessaire, ajuster la distance en commencerant par dévisser le contre écrou (2) puis en réglant la position de l'écrou (1).
-
Medir la separación entre la palanca de freno y la tuerca de ajuste.
-
La distancia ha de ser de 38mm.
-
En casonecessaryajustar la separacionquitando primero la contratuerca (2) y ajustando afterwards con la tuerca (1).
-
Misurare la distanza tra la leva del freno e il dato di regolazione.
-
La distance deve essere di 38mm.
- Se necessario regolare allentando il dato (2) e.agendo poi sul dato (1).
Ne pas oublier de desserrer le contre écrou (2) après avoir effectué le réglage.
ES ADVERTENCIA!
(FR) Depose du Carter de Coupe
Effectuer l'intervention à partir du côté droit du tracteur.
- Sortir la courroie d'entrainment de la gorge de la poulie motrice (1).
- Retirer les deux épingle fixant les bras de suspension arrrière et sortir les bras en tapotant sur leur axe à l'aide d'un marteau.
FR 3. Retirer les épingle (3), (4) et (5) et leur cheville respective.
- Tirer vers l'arrière le levier de commande de releavage du carter de coupe.
- Sortir le carter de coupe de sous le tracteur.
FR Mise en place du carter de coupe
- Pousser le carter de coupe sous le tracteur. Le déflecteur du canal d'éjection doit se trouver du côté droit.
La mise en place se fait dans l'ordre inverse de celui de la dépose.
FR Remplacement de la couroie d'entrainement du carter de coupe
- Déposer le carter de coupe (voir chapitre précédent).
- Sortir la couroie d'entrainment des gorges de poulie en commencerant par la poulie du côte gauche du carter de coupe, puis par les autres pouilies.
- Retirer ensuite entiement la courroie du carter de coupe.
- Pour la mise en place de la nouvelle courroie, précérer dans l'ordre inverse. Vérifier que la courroie est correctement positionnée devant tous les guides de courroie.
FR Réglage du carter de coupe A. Réglage latéral
- Vérifier que la pression, dans les quatre pneus, est correct.
- S'assurer que le tracteur est placé sur une surface plane.
- Relever au maximum le carter de coupe.
- Mesurer les distances A et B.
FR Pour obtenir la coupe la(Meilleure, le bord avant du carter de coupe (B) doit etre situé a 10 mm au-dessous du plan du bord arriere (A).Pour regler la position du bord arriere, proceder de la maniere suivante:
- Desserrer l'écrou (1) sur les biellettes de suspension avant, droite et gauche, du carter de coupe.
- Visser les écrous (2) exactement de la même façon sur les biellettes de suspension avant, droite et.gauche.
- Lorsque la distance (A) est correcte, verrouiller ce réglage en desserrant l'écrou (1).
Relever le carter de coupe au maximum.
- A partir du milieu de chaque extrémités latérales du carter de coupe, mesurer la distance du bord du carter par rapport au sol.
La distance (A) doit être la même des deux cots à 6 mm après.
Si un réglage est nécessaire, ne l'effectuer que d'un seul côte en se reférant à l'autre côte.
- Abaisser ou soulever un côte du carter de coupe en ajustant la position de l'écrou de réglage de ce côte.
REMARQUE: A trois tours complets de l'écrou de réglage correspond une variation de la hauteur au-dessus du sol, du carter de coupe, de 0,3 cm.
- Contrôler à nouveau la distance au sol après chaque opération de réglage.
FR Remplacement de la couroie d'entrainement
- Désaccoupler le carter de coupe du tracteur comme indiqué précédemment. (Chapitre 6.6).
- Démoner le limiteur de débutement de l'embrayage (1).
- Serrer le frein de stationnement et-retirer la courroie d'entrainement de la poulie de guidage (2),puis de la poulie de tension (3).
- A l'arrière, faire passer la couroie entre deux pales du ventilateur (4) et faire tourner à la main le ventilateur dans le sens inverse des aiguilles d'une montre pour dégager la couroie.
- Enfin, dégager la courroie de la poulie motrice (5).
(FR) 1. Levier de changement de vitesse
- Encoche de position neutre (point mort)
- Vis de réglage
GB TRANSAXLE GEAR SHIFT LEVER NEUTRAL ADJUSTMENT
La boîte de vitesse mécanique doit se trouver au point mort lorsque le levier de changement de vitesse se trouve dans l'encôche de position neutre (N). Le réglage de la position du levier est effectué en Usine ; toute fois, un nouveau réglage peut s'avérer nécessaire, procédé alors de la façon suivante:
Vérifier que la boîte de vitesse est au point mort.
REMARQUE: La boîte de vitesse est au point mort lorsque les roues arrirées du tracteur peuvent être manoeuvrées librement.
- Desserrer la vis de réglage (3) située à l'avant de la roue arrrière droite.
- Positionner le levier de changement de vitesse dans l'encôche de position neutre (N).
Resserer à fond la vis de réglage (3).
REMARQUE : Mettre le carter de coupe en position basse afin de dégager un peu plus d'espace pour effectuer ce réglage.

(FR)Le moteur ne démarre pas
- Manque de carburant dans le réservoir.
- Bougie d'allimage défectueuse.
- Le câblage de la bougie d'allumage défectueux.
- Il y a des impuretés dans le carburateur ou dans le circuit du carburant.
Le démarre n'entraîne pas le moteur
- La batterie est décharge.
- Mauvais contact entre les cosses des cables de batterie et les bornes de la batterie.
- Le levier de commande d'embrayage/débrayage n'est pas en bonne position.
- Le fusible principal est hors d'usage.
- Le contacteur de démarrage est endommagé.
- Le contacteur de sécurité sur la pédale d'embrayage/frein est défectueux ou endommagé.
- La pédale d'embrayage/frein n'est pas suffisamment enforcée.
Le moteur ne tourne pas régulièrement
- Un rapport de vitesse trop élevé est enclenché.
- La bougie est défectueuse.
- Le carburateur est mal régle.
- Le filtré à air est colmaté.
- La mise à l'air libre du réservoir est bouchée.
- Le réglage de l'allumage est incorrect.
- Il y a des impuretés dans le circuit de carburant.
Le moteur manque de puissance
- Le filtré à air est colmaté.
- La bougie d'allumage est defectueuse
- Il y a des impuretés dans le circuit de carburant.
- Le carburateur est mal régle.
Le moteur chauffe
- Le moteur est en surcharge.
- La prise d'air ou les ailettes de refroidissement sont colmatées.
- La turbine de refroidissement est endommagée.
- Le niveau d'huile est trop bas ou il n'y a pas d'huile dans le moteur.
- Le réglage de l'allumage est incorrect.
- La bougie d'allumage est defectueuse.
La batterie ne charge pas
- Le fusible est hors d'usage.
- Une ou plusieurs cellules sont endommagées.
- Mauvais contact entre les bornes de la batterie et les cosses des câbles de batterie.
L'éclairage ne fonctionne pas
- Les ampoules sont grillées.
- L'interrupteur de commande est defectueux.
- Il y a un court circuit dans le faisceau de raccordement.
Le tracteur vibre
- Les lames de coupe sont mal fixées ou mal positionnées.
- Le moteur est mal fixé.
- Undéséquilibre est apparue à la suite de l'endommagement d'une ou de plusieurs lames de coupe ou à la suite d'un mauvais affutage.
Coupe irrégulière
- Mauvais affutage des lames de coupe.
- Le carter de coupe n'est pas à l'horizontal.
- L'herbe est haute et humide.
- L'herbe est accumulée sous le carter de coupe.
- La pression de gonflage des pneumatiques n'est pas identique du cote croit et du cote gauche.
- Le rapport de vitesse enclenché est trop élevé.
- La courroie d'entrainment du carter de coupe patine.
ES El motor no arranca
Suivre la procédure suivant une fois la saison terminée:
En fin de saison, suivre la procédure suivante pour le remisage. N'utilise pas de nettoyeur haute pression pour le lavage. L'eau pourrait s'infiltrer dans le moteur et abréger ainsi la durée de l'appareil.
Nettoyer l'ensemble de la machine et plus particulièrement ment l'intérieur du carter de coupe.
Effectuer les retouches de peinture qui s'avereient nécessaires afin d'eviter la corrosion.
Vidanger le moteur.
Retirer la bougie d'allumage et verser une cuillere à soupe d'huile dans le moteur. Faire tournier le moteur à la main pour répartir l'huile et remettre la bougie en place.
Déposer la batterie et la remisée dans un endroit frais après l'avoir rechargée. La protéger des grands froids.
Remisser la machine à l'abri dans un endroit sec et protégé de la poussière.
ATTENTION!
Ne jamais utiliser d'essence pour effectuer le nettoyage. Utiliser un dédTangent du commerce et de l'eau chaude.
Entretien et réparations
Pour commander des pieces de rechange, indiquer le nom du modele, sa version, l'année d'achat, l'année de fabrication et le numero de série de la machine. Prendre contact avec le revendeur local pour les révisions sous garantie et pour les réparations. Toutjourssutiliserdes pieces de rechange d'origine.

Notice Facile