MODE D'EMPLOI 70 NAVIGON
Le symbole représentant une poubelle barrée sur roues signifie que dans l'Union Européenne, le produit doit faire l'objet d'une collecte sélective en fin de vie. Cette mesure s'applique non seulement à votre appareil mais également à tout autre accessoire caractérisé par ce symbole. Ne jetez pas ces produits dans les ordures ménagères non sujettes au tri sélectif.
NAVIGON AG
Les générées informations peuvent être modifiées à tout moment, sans publication ou avertissement préalable. Le présent manuel ou des extraits de celui-ci, quel que soit le but poursuivi, ne peuvent être produits qu'avec l'autorisation formelle de NAVIGON AG. Ils ne peuvent pas non plus être transmis sous forme électronique ou mécanique. Toutes les données techniques, illustrations etc sont soumises à la loi de protection des droits d'auteur.
© 2010, NAVIGON AG
Tous droits réservés.
1 Introduction. 8
1.1 À propos de ce manuel 8
1.1.1 Conventions 8 1.1.2 Icônes 8
1.2 Remarques juridiques 8
1.2.1 Garantie 8 1.2.2 Marques déposées 9
1.3 Questions concernant le produit 9
2 Avant de démarrer 9
2.1 Contenu de la livraison 9 2.2 Description de l'appareil de navigation 10 2.3 Remarques de sécurité importantes 10
2.3.1 Remarques de sécurité pour la navigation 10 2.3.2 Remarques de sécurité pour l'appareil de navigation 11 2.3.3 Remarques de sécurité pour la mise en service dans le véhicule 12
2.4 Mise en service du système de navigation 13
2.4.1 Carte SIM 13 2.4.2 Monter le système de navigation dans la voiture 13 2.4.3 Carte mémoire 15
2.5 Activer les services NAVIGON Live 16
2.6 Navigation avec GPS 16
3 Mettre en marche l'appareil de navigation. 17
3.1 Manuel 19
3.2 Options 20
4 Manipuler le système de navigation 20
4.1 Informations 20 4.2 Clavier virtuel 24
4.2.1 Touches spéciales 25 4.2.2 Entrer des données 26
4.3 Options 27
4.4 Menus 27
5 Commande vocale 27
5.1 Activer la commande vocale 27 5.2 Utiliser la commande vocale 28 5.3 Aide 28
5.4 Désactivation de la commande vocale 29
5.5 Configurer la commande vocale 29
6 Navigation 30
6.1 Démarrer l'application de navigation 30 6.2 Indiquer destination 31
6.2.1 Indiquer pays de destination 32 6.2.2 Indiquer la destination par commande vocale 33 6.2.3 Saisir l'adresse d'une destination 34 6.2.4 Entrer coordonnées 35 6.2.5 Adresse utile 37 6.2.6 Informations concernant la destination 41 6.2.7 Favoris 42 6.2.8 Destinations récentes 42 6.2.9 Adresses importées : De Outlook / d'Internet 43 6.2.10 Adresses importées de l'annuaire 44 6.2.11 Naviguer vers votre domicile 44 6.2.12 Définir destination sur la carte 45 6.2.13 Présentation d'itinéraire 46
6.3 Gestion de destinations 48
6.3.1 Enregistrer une destination 48 6.3.2 Effacer destination dans la liste Favoris 48 6.3.3 Définir l'adresse du domicile 48 6.3.4 Modifier le domicile 50
6.4 Tracks et itinéraires à étapes 50
6.4.1 Indiquer le point de départ 50 6.4.2 Indiquer des étapes 51 6.4.3 Éditer les étapes 51 6.4.4 Gestion d'itinéraires 52 6.4.5 Charger l'itinéraire ou le track 52 6.4.6 Calculer et afficher l'itinéraire 53 6.4.7 Simuler le trajet 53 6.4.8 Présentation d'itinéraire 54
8 Travailler avec la carte 59
8.1 Sélection de la carte de navigation 59 8.2 Barre de boutons 59
8.2.1 Barre de boutons statique 60 8.2.2 Barre de boutons dynamique 60
8.3 Déteceur de proximité 62 8.3.1 Configurer le détecteur de proximité 62 8.4 Carte au mode Standard 63 8.5 Carte au mode Présentation 64
8.6 Carte en mode Navigation 66
8.6.1 Navigation au mode Véhicule 66 8.6.2 Navigation au mode Piéton 70 8.6.3 Navigation au mode Trace GPS 72 8.6.4 Navigation au mode Hors-piste 73 8.6.5 Options de la carte au mode Navigation 73 8.6.6 Quitter la navigation 74
8.7 Carte en mode Rechercher destination 74
8.7.1 Travail au mode Rechercher destination 75
9 Fonctions utiles 76
9.1 Profils d'itinéraires 76
9.1.1 Réglages des profils d'itinéraires 76 9.1.2 Profils de base NAVIGON 77 9.1.3 Créer un nouveau profil d'itinéraire 77 9.1.4 Sélectionner les profils d'itinéraire 78 9.1.5 Administer les profils d'itinéraire 78
9.2 MyPOIs: Mes adresses utiles 79
9.2.1 Créer ses propres destinations 80 9.2.2 Icônes pour vos propres adresses utiles 81 9.2.3 POI-Import: transmette les propres adresses utiles à l'appareil de navigation 81
9.3 Captures d'écran 81
9.3.1 Permettre les captures d'écran 82 9.3.2 Créer des captures d'écran 82
9.4 Tracks 82 9.5 Se garer à proximité de la destination 83 9.6 À proximité 85
9.7 MyBest POI: Adresses utiles sur la route 85
9.7.1 Afficher les adresses utiles sur votre itinéraire 86 9.7.2 Naviguer vers une des destinations 87 9.7.3 Définir les catégories 87
9.8 NAVIGON Sightseeing 88 9.9 Itinéraires à visites 90 9.10 Aide d'urgence 91 9.11 État GPS, enregistrer la position actuelle 92 9.12 Bloquer 93 9.13 Description d'itinéraire 93 9.14 TMC (Informations routières) 95
9.14.1 Présentation TMC 95 9.14.2 Afficher Informations routières 97 9.14.3 Afficher en détail un message individuel 99
10.1 Connexion au téléphone mobile 103
10.1.1 Rechercher et jumeler les appareils bluetooth 103 10.1.2 Jumeler un appareil à partir du téléphone mobile 105 10.1.3 Connecter un appareil 105 10.1.4 Activer notre téléphone mobile 107 10.1.5 Supprimer un appareil 107 10.1.6 Importer annuaire 108 10.1.7 Importer liste d'appels 109
10.2Prendre une communication 110 10.3Recevoir des SMS 110 10.4 Appeler 111
10.4.1 Appeler par commande vocale 111 10.4.2 Sélectionner un numéro de téléphone 112 10.4.3 Sélectionner un numéro rapide 112 10.4.4 Appeler un numéro de l'annuaire téléphonique 112 10.4.5 Appeler un des derniers correspondants 113 10.4.6 Prendre une communication sur le téléphone mobile 113
10.5 Pendant une communication 114
10.5.1 Positionner l'application de navigation au premier plan.....114 10.5.2 Entrer les chiffres 114 10.5.3 Régler le microphone sur le mode muet 114 10.5.4 Reporter la communication sur le téléphone mobile 114 10.5.5 Terminer la communication 115
10.6 Fonctions utiles 115
10.6.1 Naviguer vers un contact de l'annuaire téléphonique 115 10.6.2 Ouvrir la boîte de réception 115
10.7 Configurer le module mains-libres 116
10.7.1 Numéro rapide 116 10.7.2 Configurations 117
11 Navigon live. 118
11.1.1 Coûts 119
11.2 Utiliser les services NAVIGON Live 119
11.2.1 Météo 119 11.2.2 Parking 121 11.2.3 Essence 121 11.2.4 Google Local Search 123 11.2.5 Événements 124 11.2.6 Informations routières 127
11.3 Configurer les services NAVIGON Live 127
11.4 Indiquer l'état 128
12 Configurer le système de navigation 129 13Annexe 131
13.1 Données techniques de l'appareil de navigation 131 13.2 Dispositions de licence NAVIGON 132 13.3 Déclaration de conformité 136
14 Solutions 136 15 Index 140
1.1.1 Conventions
Pour une meilleure lisibilité et compréhension, le manuel utilise les types d'écriture suivants :
Gras et italique : Désignations de produit
Majuscules : Noms des fenêtres et boîtes de dialogue
Gras : Mise en valeur de passages importantes de textes
Souligné : Désignations de boutons de commande, champs d'entrée et autres éléments de l'interface utilisateur
Souligné et italique : Désignation d'éléments de réglage de l'appareil de navigation
1.1.2 Icônes
Les icônes suivantes renvoient à certains passages de texte :

Remarques et conseils de manipulation du logiciel

Informations et explications complémentaires

Avertissements
1.2.1 Garantie
Nous nous réservons le droit de modifier les présentes informations à tout moment, sans publication ou avertissement préalable.
NAVIGON AG n'assume aucune responsabilité quant à la conformité du contenu ou pour les dommages résultant de l'utilisation du réseau manuel.
Nous sommes reconnaissants pour tout avertissement de défauts et pour toute proposition d'amélioration nous permettant d'augmenter encore l'avoir la performance de nos produits.
1.2.2 Marques déposées
Toutes marques mentionnées dans le présent manuel, et le cas échéant les marques déposées protégées par des tiers sont soumises sans réserve aux termes juridiques actuels et aux droits de leurs déposants. Tous noms de marque déposées, d'entreprise ou de produit mentionnés sont ou peuvent être des marques déposées appartenant à leurs déposants. Tous droits non accordés ici expressément sont réservés.
L'absence d'une caractérisation explicite des marques de produits utilisées dans ce manuel ne peut permettre de conclure qu'un nom de marque n'est pas soumis aux droits d'un tiers.
Microsoft, Outlook, Excel et Windows sont des marques déposées de Microsoft Corporation. NAVIGON est une marque déposée de NAVIGON AG.
Vous avez des questions concernant votre produit ? Rendez-nous visite sur notre site www~navigon.com et cliquez sur « Service Clients ». Vous y trouvez un domaine concernant les questions fréquemment posées (Foire aux questions) et vous y obtiendrez les coordonnées téléphoniques et notre adresse e-mail.
2.1 Contenu de la livraison
Veuillez vérifier que la livraison est complète. Si la livraison n'est pas complète, veuillez prendre immédiatement contact avec le commerçant auprès duquel vous avez acquis le produit.
Le produit que vous avez acquis comprend :
Appareil de navigation Support automobile design Cable de chargement de voiture (10-24V-unité d'alimentation pour allume-cigare) avec antenne TMC intégrée cable USB Instructions d'installation illustrées Seulement NAVIGON 70 Premium Live :
Un support de carte SIM. Le support de carte est collé dans le dépliant et peut être facilement détaché. La carte SIM est déjà séparée. Carte SIM (déjà insérée dans l'appareil de navigation)

Remarque: conservez précieusement le support de carte SIM! Vous avez besoin des données imprimées sur celui-ci au cas où vous devriez faire appel au Centre de Services de NAVIGON.
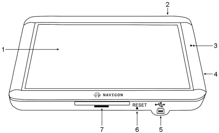
2.2 Description de l'appareil de navigation

1 écran tactile 2 Marche/Arrêt 3 microphone 4 fente pour carte mémoire microSD 5 mini-douille USB pour câble USB / unité d'alimentation 6 RESET remise à zéro 7 DEL
2.3 Remarques de sécurité importantes
Dans votre propre intérêt, veuillez lire soigneusement les remarques de sécurité et les avertissements suivants avant de mettre en service votre système de navigation.
2.3.1 Remarques de sécurité pour la navigation
L'utilisation du système de navigation s'effectue aux risques et périls de l'utilisateur.
| ! | Attention! Pour vous protégger ainsi que les autres usagers de la route des risques d'accidents, ne manipulez pas le système de navigation pendant la conduite! |
| ! | Attention! Ne regardez l'écran que dans le cas où la situation routière vous permit de le faire en toute sécurité! |
| ! | Attention! Le tracé de la circulation et les panneaux de signalisation sont absolument prioritaires aux instructions du système de navigation. |
| ! | Attention! Ne suivez les instructions du système de navigation que si les circonstances et le code de la route le permettent! Meme si vous给您 écartez de l'itinéraire prévu, le système de navigation vous mènera à destination. |
| ! | Attention! Avant de prendre la route, vérifiez à chaque fois la position et la fixation du support. |
| 2.3.2 | Remarques de sécurité pour l'appareil de navigation |
| ! | Attention! ProtégEZ l'appareil de l'humidité. Il n'est pas étanche et non protégé contre les aspersions. |
| ! | Attention! En aucun cas vous ne devez ouvrir le boîtier de l'appareil de navigation. |
| ! | Attention! N'exposez pas l'appareil de navigation à une chaleur ou un froid intensés. Il risquerait de subir un dommage et d'être entravé dans son fonctionnement. Vous pouvez procéder ici au calibrage de la boussole électronique. (Voir « Données techniques », page 131) |
| ! | Attention! Ne retirer jamais la fiche du raccord par le cordon. Cela risque d'endommager gravement l'appareil ou de le détruire. |
| ! | Attention! N'exposez pas votre apparéil de navigation à de brusques écarts de températures. Ceux-ci pourrait provoquer la formation d'eau condensée. |
| ! | Remarque: Ne pliez pas le cable. Veillez à ce qu'il ne puisse pas être endommagé par des objets coupants. |
| ! | Remarque : réalisé une copie de sauvégarde des données inclues à la mémoire interne de l'appareil de navigation.
Effectuez cette opérationcomfortablement à l'aide du logiciel NAVIGON Fresh que vous pouvez télécharger Gratisement sur le site www.navigon.com/fresh. |
| 2.3.3 | Remarques de sécurité pour la mise en service dans le vehicule |
| ! | Attention ! Installez le support de façon à ce que le conducteur puisse visualiser et manipuler l'appareil de navigation correctement. La visibilité du conducteur ne doit toutespas être entravée ! |
| ! | Attention ! N'installez pas le support dans le champ opérateire des airbags. |
| ! | Attention ! N'installez pas le support trop pris du volant ou d'autres éléments de service afin d'éviter une gène dans la manipulation du vehicule. |
| ! | Attention ! Lors de l'installation du support, veillez à ce que celui-ci ne constitue pas un facteur à risques en cas d'accident. |
| ! | Attention ! N'installez pas le cable près d'appareils importants pour la sécurité et de lignes d'alimentation. |
| ! | Attention ! Avant de prendre la route, vérifiez à chaque fois la position et la fixation du support. L'adhérence de la ventouse peut faibrir avec le temps. |
| ! | Attention !Après l'installation, veillez contrôle tous les dispositifs relatifs à la sécurité dans le vehicule. |
| ! | Attention ! Le cable de chargement en voiture ne doit être connecté qu'aux allume-cigares fonctionnant avec une tension de 10-24V. |
| ! | Attention !Débranchez le cable de chargement de voiture de l'allume-cigare, quand vous arrêtez le vehicule. L'unité d'alimentation intégrée dans l'allume-cigare consomme toujours une faisible quantité de courant et pourrait décharger la batterie. |
2.4.1 Carte SIM

Ce chapitre ne vous concerne que si votre appareil de navigation est un NAVIGON 70 Premium Live.
La carte SIM est à insérer au dos sous le couvercle au milieu de l'appareil.

- Mettez l'appareil de navigation à l'arrêt.
- introduisez un ongle dans l'encoche située en haut du couvercle.
- Dévissez le couvercle de l'appareil.
- Otez la carte SIM du support de carte SIM. Le support de carte SIM est collé dans le dépliant et peut être facilement détaché.
- Insérez la carte SIM comme le montre l'illustration.
- Adaptez d'abord les deux taquets inférieurs du couvercle.
- Appuyez alors sur la partie supérieure du couvercle pour que les deux taquets supérieurs s'enclenchant.
- Appuyez fermement le couvercle sur l'appareil jusqu'à ce qu'il s'enclenche sur tous les côtés.
Procédez de la même façon pour retirer la carte SIM.

Remarque : si le couvercle n'est pas correctement enclenché, il se peut que la connexion au serveur NAVIGON ne puisse être établie. Dans ce cas, les services NAVIGON Live ne sont pas disponibles.
2.4.2 Monter le système de navigation dans la voiture

Attention! Veuillez observer absolument toutes les remarques de sécurité au chapitre « Remarques de sécurité importantes », page 10.
Fixer le support

- Nettoyez la ventouse et l'endroit du pare-brise sur lequel vous désirez appliquer la fixation. Ils doivent être secs, propres et non gras.
- Écartez le levier de la ventouse le plus loin possible.
- Appliquez le support à l'aide de la ventouse sur le pare-brise.
- Appuyez sur le levier en direction du pare-brise.
Installer l'appareil dans le support

Au dos de l'appareil de navigation, un cercle à deux encoches est visible.
- Suspendez l'appareil de navigation par l'encoche supérieure dans le taquet du support (voir illustration).
- Appuyez-le alors dans le support jusqu'à ce qu'il s'enclenche.
Alimentation en courant de l'appareil de navigation
Le contenu de la livraison de l'appareil de navigation contient un câble de chargement de voiture vous permettant d'alimenter en courant l'appareil de navigation par l'allume-cigare de votre véhicule.
| Remarque : veuillez n'utiliser que le cable de chargement livre avec vosures appareil Navigon ou un modele de conception comparable de NAVIGON ! Au cas où vous utiliseriez un autre cable de chargement, les services NAVIGON Live risquent de ne pas etre disponibles. |
| Connectez le cable de chargement automobile à l'allume-cigare et à la mini-douille USB de l'appareil de navigation.Pendant le chargement, la DEL au-dessous de l'appareil de navigation est allumée (orange).Dés que l'accu est entirement rechargé, la DEL passe au vert. |
| Attention ! Le cable de chargement en voiture ne doit etre connecté qu'aux allume-cigares fonctionnant avec une tension de 10-24V. |
| Remarque : introduisez fermement la prise USB dans es douilles USB correspondantes ! |
| Attention ! Veuillez observer absolument toutes les remarques de sécurité au chapitre « Remarques de sécurité importantes » , page 10. |
| Remarque : Pour un accu décharge, la durée du chargement est de 3 heures env.La durée de service d'un accu charge est de 3 heures maximum, suivant la configuration d'appareil. |
Antenne TMC
Le système de navigation dispose d'un récepteur TMC intégré. L'antenne TMC est intégrée au câble de chargement de voiture. Dès que le câble de chargement de voiture est raccordé, l'appareil est prêt à recevoir des informations routières actuelles. En cas de besoin, il peut modifier l'itinéraire spontanément pour contourner un embouteillage, par ex.
2.4.3 Carte mémoire
Le fonctionnement du système de navigation ne nécessite pas de carte mémoire car toutes les données indispensables à la navigation sont enregistrées dans la mémoire interne de l'appareil.
Quand vous connectez votre système de navigation à votre ordinateur au moyen d'un câble USB, la mémoire interne est détectée en tant que lecteur 'NAVIIGON'. La fente d'insertion pour la carte mémoire est détectée en tant que lecteur 'NAVIIGON SD'.
Grâce au logiciel NAVIGON Fresh que vous pouvez télécharger gratuitement depuis le site web, vous effectuez la sauvegarde des données, la mise à jour de logiciel et les actualisations des cartes de navigation rapidement et aisément www.navigon.com/fresh.
Si vous faites l'acquisition de nouvelles cartes de navigation, mais que la mémoire interne de l'appareil de navigation ne dispose plus d'assez d'espace, il est possible aussi d'enregistrer ces cartes sur une carte mémoire que vous insérez dans l'appareil. Le système de navigation peut utiliser des cartes de navigation depuis les deux supports de mémoire.
2.5 Activer les services navigon live

Ce chapitre ne vous concerne que si votre appareil de navigation est un NAVIGON 70 Premium Live.
Les services NAVIGON Live doivent être activés avant la première utilisation. (Voir « Coûts », page 119)
Vous avez inséré la carte SIM.
Vous avez à portée de main le dépliant contenant le code d'activation du module NAVIGON Live.
- Mettez l'appareil de navigation en marche.
La fenêtre NAVIGATION s'ouvre.
- Tapez sur (NAVIGON Live).
Il vous est demandé si vous désirez activer les services NAVIGON Live.
- Tapez sur Oui.
- Entrez le code d'activation dans le PDA.
- Tapez sur Activer.
Les services NAVIGON Live sont actifs.
- Tapez sur OK.
Le message suivant s'affiche : « Vous transmettez anonymement à NAVIGON les dénommées 'Floating Car Data'. L'évaluation de ces données permet un calcul plus précis des heures d'arrivée ainsi qu'une détection plus rapide des embouteillages et un contournement plus fiable de ceux-ci. Les données restent parfaitement anonymes. Si vous n'êtes pas d'accord, réglez la configuration 'Optimiser la détection d'embouteillages' sur 'Non'. »
- Tapez sur OK.
La fenêtre NAVIGATION s'ouvre. À partir d'ici, vous avez accès à toutes les fonctions de votre appareil de navigation et à tous les services NAVIGON Live.
2.6 Navigation avec GPS
Le GPS est basé sur un minimum de 24 satellites au total qui gravitent autour de la terre et émettent constamment leur position et l'heure. Le
Le récepteur GPS capte ces données et calcule sa propre position géographique à partir des positions et indications d'heures les plus différentes.
Les données de trois satellites au moins sont nécessaires pour obtenir une détermination de position exacte. L'altitude au-dessus du niveau de la mer peut également être définie à l'aide des données de quatre satellites ou plus. La position est déterminée avec une précision allant jusqu'à trois mètres.
Quand le système de navigation a défini votre position, celle-ci peut servir de point de départ à un calcul d'itinéraire.
Les cartes de votre appareil de navigation renferment les coordonnées géographiques de toutes les adresses utiles, les rues/routes et les localités détectées en mode numérique. Le système de navigation peut alors calculer une route d'un point de départ donné jusqu'à un point de destination donné.
Le calcul de la position actuelle et sa représentation sur la carte s'effectue au rythme d'une fois par seconde environ. Vous pouvez ainsi suivre votre déplacement sur la carte.

Remarque : même après l'activation, les services locaux NAVIGON Live (Essence ou Événements à proximité, par ex.) ne fonctionnent que quand l'appareil de navigation reçoit les signaux GPS et peut déterminer sa position.
3 Mettre en marche l'appareil de navigation
- Appuyez sur la touche (Marché/Arrêt) jusqu'à ce que l'appareil se mette en marche.
La fenêtre NAVIGATION s'ouvre.

Remarque : le flash blanc scintillant rapidement sur l'écran vous indique que vous avez redémarré l'appareil.
Quand vous mettez le système de navigation en marche pour la première fois, il vous est demandé de choisir les configurations suivantes :
la langue dans laquelle vous désirez utiliser le logiciel l'unité de mesure de distance pour les données de distance le format des données d'heure le format des données de date

Remarque : quand vous démarrez l'application de navigation pour la première fois, la fenêtre de configuration MODE DE DÉMONSTRATION s'ouvre.
Le mode démonstration est donc seulement pour la présentation d'un produit quand une réception GPS est impossible.
Vous ne pouvez pas procéder à une navigation quand le mode démonstration est actif. Au mode démonstration, seule une navigation est simulée jusqu'au centre de la destination.
Assurez-vous que la configuration Démarrer au mode de démonstration est positionnée sur Non. Le cas échéant, tapez sur la commande (Modifier) pour passer de la configuration Oui à Non. Tapez sur OK.

Remarque : Pour désactiver le mode démonstration, consultez « Solutions », à la section « J'ai activé par erreur le mode démonstration », page 137.

Remarque : si vous n'avez pas utilisé pendant longtemps l'appareil de navigation, la batterie est probablement entièrement déchargée.
Quand vous raccordez l'appareil de navigation au câble de chargement de voiture inclus à la livraison, il peut être mis en marche immédiatement aussi, même avec un accu non rechargé. Si vous utilisez un autre câble de chargement ou si vous avez racordé un PC, l'appareil doit être rechargé quelques minutes évient. avant de pouvoir être mis en marche.
Des chargeurs et autres accessoires sont disponibles à la boutique NAVIGON sur le site www.navigon.com ou dans le commerce spécialisé.
Mettre l'appareil de navigation sur stand-by
Appuyez rapidement sur la touche (Marche/Arrêt (1 seconde max.)). Un message s'affiche indiquant que l'appareil va passer au mode Stand-by dans quelques secondes. Attendez que l'appareil passe au mode Stand-by ou tapez sur Veille.
Mode veille automatique
Vous pouvez configurer l'appareil de navigation de façon à ce qu'il passe automatiquement au mode Stand-by quand il n'est pas utilisé.
Dans la fenêtre NAVIGATION, tapez sur Options > Configurations > Généralités > Mode Veille automatique.
- Indiquez l'intervalle de temps après lequel l'appareil de navigation doit passer au mode Stand-by (Jamais, Au bout de 10 min., Au bout de 20 min., Au bout de 30 min.).
- Sélectionnez Pas de courant pour régler l'appareil sur le mode Stand-by quand l'alimentation externe en courant est interrompue. Dès que l'appareil est connecté à nouveau à l'alimentation externe en courant, il se remet en marche automatiquement.
Mettre en marche l'appareil de navigation
- Appuyez sur la touche (Marche/Arrêt) jusqu'à la mise à l'arrêt de l'appareil (10 secondes environ).
- ou -
- Appuyez rapidement sur la touche (Marché/Arrêt) (1 seconde max.).
Un message s'affiche indiquant que l'appareil va passer au mode Stand-by dans quelques secondes.
- Tapez sur Arrêt.

Remarque: si vous régalez l'appareil au mode Stand-by, il démarre très rapidement lors de la mise en marche suivante et avec la fenêtre identique à la fenêtre active lors de la mise à l'arrêt. Toutefois, au mode Stand-by, l'appareil consomme toujours une faible quantité d'énergie. Suivant l'état de charge de l'accu, il peut se couvrir décharge au bout de quelques jours ou au bout de quelques semaines.
Si vous mettez l'appareil à l'arrêt, il ne consomme pas d'énergie. Il peut se passer quelques mois avant que l'accu ne soit déchargé. La remise en marche a pour effet un nouveau démarrage de l'appareil et demande un certain temps (30 secondes env.). Vos configurations ainsi que les destinations et itinéraires enregistrés sont sauvegardés.
3.1 Manuel
Un extrait du manuel présentant les fonctions les plus importantes du logiciel est enregistré sur l'appareil de navigation.
Pour ouvrir le manuel :
- Dans la fenêtre NAVIGATION, tapez sur Options > Manuel. La fenêtre TABLE DES MATIÈRES s'ouvre.
- Tapez sur le nom du chapitre que vous souhaitez voir. Le contenu du chapitre s'affiche.
A l'aide des boutons de commande (Vers le haut) et

(Vers le bas), vous pouvez faire défiler la page d'écran vers le bas.
À l'aide des boutons de commande (A gauche) et (A droite), vous pouvez ouvrir le chapitre précédent ou suivant.
- Tapez sur le bouton de commande Table des matières pour ouvrir la fenêtre Table des matières.
- Tapez sur le bouton de commande (Fermer) pour refermer le manuel.
La fenêtre NAVIGATION s'ouvre.
3.2 Options
Certaines fenêtres renferment des options, au moyen desquelles vous pouvez accéder à d'autres fonctions.

Au chapitre « Options » à la page 56, vous trouverez une description de toutes les options disponibles.
Sur la barre supérieure de plusieurs fenêtres, différentes icônes affichent des informations.
GPS
L'icône GPS peut afficher les états suivants de réception GPS :
Pas de GPS (Pas de symbole) : le récepteur GPS intégré n'est pas prêt au service. Veuillez nous contacter au cas où le problème persiste.
Vous pouvez procéder ici au calibrage de la boussole électronique.
(Voir « Questions concernant le produit », page 9)

Pas de signal : seules les données de moins de trois satellites peuvent être captées. Impossible de déterminer la position.

GPS prêt : les données d'au moins trois satellites sont captées. La position peut être déterminée.

De plus amples informations concernant l'état GPS sont disponibles au chapitre « État GPS, enregistrer la position actuelle » à la page 92.
Boussole
L'icône Boussole indique la direction dans laquelle vous vous déplacez. Elle peut indiquer un des points cardinaux suivants : N, NE, E, SE, S, SO, O, NO.
Trace GPS
L'icône (Enregistrement trace GPS) indique qu'un track vient d'être représenté.

De plus amples informations concernant les tracks sont disponibles au chapitre « Tracks » à la page 82.
Énergie
L'icône Énergie peut afficher les états suivants de l'accu intégré :

L'appareil est alimenté par une source de courant externe. La batterie est entièrement chargée.
-OU-
L'accu ne peut pas être rechargé car sa température est trop basse ou trop élevée.

L'appareil est alimenté par une source de courant externe. La batterie est en chargement.

L'appareil est alimenté par sa batterie interne. L'état de charge de la batterie est suffisant.

L'appareil est alimenté par sa batterie interne. L'état de charge de la batterie est insuffisant.
Navigon live services

Ce paragraphe ne vous concerne que si votre appareil de navigation est un NAVIGON 70 Premium Live.
L'icône NAVIGON Live Services indique la disponibilité des services NAVIGON Live. Elle peut représenter les états suivants :
(Pas de symbole) Pas de services NAVIGON Live : les services NAVIGON Live sont désactivés. (Voir « Configurer les services NAVIGON Live », page 127)

La connexion est établie : la connexion au serveur NAVIGON Live n'est pas encore établie. Ceci peut entraîner les conséquences suivantes :
La connexion à la téléphonie mobile est interrompue. Le serveur NAVIGON Live ne répond pas.

(Gris clair) Services NAVIGON Live prêts : la connexion au serveur NAVIGON Live a été établie. Les services NAVIGON Live sont disponibles.
Le système de navigation est doté d'un récepteur TMC intégré, transmettant les informations routières actuelles. Ainsi, le système de navigation peut, en cas de besoin, modifier lui-même l'itinéraire pour, par ex., contourner un embouteillage.

Remarque : vous ne pouvez utiliser cette fonction que si dans le pays où vous voyagez, les informations routières sont envoyées via TMC. Ce n'est pas le cas dans tous les pays.

L'icône TMC peut représenter les états du récepteur TMC suivants :
Recherche de station (en rouge) : le récepteur TMC est prêt ne sont pas disponibles.

Recherche de station : le récepteur TMC est prê sont encore en attente. Ceci peut être le cas quand, par ex. vous traversez un tunnel à ce moment.

TMC prêt (en gris) : des informations routières peuvent être reçues.

Remarque : l'antenne TMC est intégrée au câble de chargement de voiture. L'icône Recherche de station peut alors apparaître aussi quand le câble de chargement de voiture n'est pas connecté à l'appareil de navigation.

Vous trouverez des informations détaillées sur la fonctionnalité TMC au chapitre « TMC (Informations routières) » à la page 95.

Ce paragraphe ne vous concerne que si votre appareil de navigation est un NAVIGON 70 Premium Live.
Vous pouvez obtenir des informations routières, soit par les services NAVIGON Live (Traffic Live) ou par les stations de radio (TMC). Vous pouvez procéder ici au calibrage de la boussole électronique. (Voir « Configurer les services NAVIGON Live », page 127)
L'icône Traffic Live s'affiche quand vous obtenez des informations par les services NAVIGON Live.
L'icône Traffic Live peut représenter les états suivants de la réception d'informations routières :

(Rouge) La connexion est établie : la première tentative visant à obtenir des informations routières du serveur de NAVIGON Live a échoué. Ceci peut être le cas quand, par ex. vous traversez un tunnel à ce moment. Mais il est possible que des informations ayant été obtenues soient disponibles.

(Gris clair) Traffic Live prêt : des informations routières ont pu être obtenues. Les messages en présence sont actuels.
Bluetooth / téléphone

Cette section ne vous concerne que si votre appareil de navigation compte parmi les appareils suivants :
NAVIGON 70 Premium NAVIGON 70 Premium Live
L'appareil de navigation dispose d'un module mains-libres Bluetooth intégré. Vous pouvez ainsi l'utiliser aussi pour deux téléphones portables compatibles à Bluetooth.
L'icône Téléphone peut représenter les états du module mains-libres suivants :
Pas de Bluetooth (Pas de symbole) : la fonction bluetooth est désactivée.

Non connecté (téléphone mobile rouge) : l'appareil de navigation ne dispose pas de connexion bluetooth vers un autre appareil.

Connecté (telephone mobile blanc) : l'appareil de navigation est connecté à un téléphone mobile et peut être utilisé en tant que dispositif mains-libres. Le numéro indique le téléphone momentarily activé.

Appel en cours (téléphone mobile vert) : le module mains-libres du système de navigation est en cours d'utilisation. Le numéro indique le téléphone utilisé momentanément pour l'entretien.

Casque bluetooth : un casque d'écoute est connecté. Toutes les instructions du système de navigation sont audibles via le casque. Les fonctions de téléphonie du module mains-libres ne sont pas disponibles.
Silencieux
L'icône Silencieux peut représenter les états suivants :
Pas de symbole : l'application de navigation n'est pas régée sur le mode muet.

Silencieux: L'application de navigation est régée sur le mode muet. Quand vous vous trouvez en cours de navigation, vous n'entendez pas d'instructions routières.

Remarque: Cette icône indique seulement le mode muet des instructions de navigation. Elle ne délivre pas d'indications concernant le volume sonore du dispositif mains-libres.
Carnet de route
L'icône Carnet de route peut représenter les états suivants :
Pas de symbole : le carnet de route est désactivé. Les trajets ne sont plus enregistrés.

Carnet de route : le carnet de route est désactivé. Avant chaque navigation, il vous est demandé de procéder aux indications nécessaires pour l'entrée dans le carnet de route (cause du déplacement, nombre de kilomètres,...). Vous pouvez toutefois masquer l'enregistrement du trajet.
4.2 Clavier virtuel
Un clavier virtuel se présente sur la partie inférieure de l'écran pour effectuer des saisies.
Sur le clavier virtuel, toutes les saisies peuvent être effectuées du doigt. Seules les majuscules peuvent être entrées.
Il n'est pas nécessaire d'entrée de caractères spéciaux ou d'accentuations pour saisir le nom d'une ville ou d'une rue de destination. Le système de navigation complète ces caractères automatiquement. Si par exemple, vous cherchez une ville nommée « Nîmes », tapez simplement « NIMES ». Les caractères spéciaux peuvent être toutefois utiles pour nommer une destination ou un itinéraire enregistrés.
4.2.1 Touches spéciales

ajoute un espace.

Efface le caractère à gauche du curseur.

ouvre le clavier à chiffres.
Caractères latins, cyrilliques, grecs
Ouvre le clavier à caractères latins.

Remarque : la disposition pour le clavier à caractères latins peut être configurée.
Dans la fenêtre NAVIGATION tapez sur Options > Configurations > Généralités > Disposition du clavier (Caractères latins). Indiquez la disposition de votre choix (QWERTZ, QWERTY, ABCDEF, AZERTY).
ouvre le clavier à caractères cyrilliques.
ouvre le clavier à caractères grecs.
Pour l'entrée d'adresses ou de désignations d'adresses utiles, le clavier s'ouvre en mode standard pour les caractères du pays concerné.
Si vous désirez enregistrer une destination dans les favoris, ou si vous indiquez une catégorie d'adresses utiles ou un pays, le clavier s'ouvre en mode standard pour la langue de l'interface utilisateur.
À partir du clavier cyrillique ou grec, vous pouvez passer au clavier latin. De nombreuses adresses aussi peuvent être translittérées ou entrées dans la langue de l'interface utilisatrice.
Exemple : la langue de l'interface utilisée est l'allemand. Vous désirez naviguer à Moscou. Les possibilités suivantes sont à votre disposition :
«Москва» (cyrillique) « Moskva » (translittéré) « Moscou » (français)

Remarque : les rues et noms de lieux ne peuvent être entrés dans la langue de l'interface utilisée que s'ils sont disponibles ainsi aussi dans la base de données de la carte.

Remarque: seuls 2 claviers sont disponibles au maximum.
Caractères spéciaux, accents, autres lettres
Pour chaque type d'écriture, un clavier supplémentaire à caractères spéciaux est disponible.
ouvre le clavier à caractères latins spéciaux.
ENb
ouvre le clavier à caractères cyrilliques spéciaux.
ouvre le clavier à caractères grecs spéciaux.
Dès que vous avez saisi un caractère spécial, le clavier présente à nouveau les caractères normaux.
4.2.2 Entrer des données
Des listes sont souvent disponibles à partir desquelles vous pouvez sélectionner une option. Ceci est le cas, par exemple quand vous entrez une localité.
Dès que vous avez saisi le premier caractère, la plus grande localité du pays indiqué commençant par cette lettre s'affiche.
Dès que vous entrez d'autres caractères, la première localité dont le nom commence par les caractères entrés s'affiche.
Quand la localité souhaitée s'affiche, tapez sur OK pour confirmer l'entrée de la localité.
Vous pouvez ouvrir une liste de tout moment contenant toutes les localités dont le nom commence par les caractères entrés précédemment ou contenant le texte dans leur nom. Plus vous entrez de caractères, plus la liste est courte.
Tapez sur (Ouvrir la liste) pour afficher cette liste.
Vous pouvez faire défiler la liste à l'aide des boutons de commande

(Vers le haut) et

(Vers le bas).
- Tapez simplement sur une option dans la liste pour intégrer l'option au champ d’entrée.
Dès que vous avez intégré une option, la liste se referme. L'entrée de la localité est réalisée.
Tapez sur

(Fermer la liste) pour fermer la liste sans intégrer
d'option.

Remarque : la liste s'ouvre automatiquement dès qu'elle ne contient plus que 4 options ou moins.
4.3 Options
Certaines fenêtres renferment des options, au moyen desquelles vous pouvez accéder à d'autres fonctions.

Au chapitre « Options » à la page 56, vous trouverez une description de toutes les options disponibles.
Certains boutons de commande renferment un menu, s'affichant lorsqu'ils sont actionnés.
- Tapez sur un point du menu pour exécuter sa fonction.
Si vous désirez fermer le menu sans exécuter une de ses fonctions, sélectionnez alors le bouton de commande au moyen duquel vous avez ouvert le menu.
5 Commande vocale

Cette section ne vous concerne que si votre appareil de navigation compte parmi les appareils suivants :
NAVIGON 70 Premium
NAVIGON 70 Premium Live

Remarque : la fonction Commande vocale n'est pas disponible dans chaque langue.
Dans les langues pour lesquelles cette fonction est disponible, le bouton de commande Commande vocale s'affiche dans la fenêtre NAVIGATION. Pour les langues non représentées, le bouton de commande Commande vocale est remplacé par le bouton Afficher carte.
Vous pouvez accéder facilement à de nombreuses fonctions de votre appareil de navigation par commande vocale.
5.1 Activer la commande vocale
Dans certaines fenêtres, la commande vocale est auto-activée. Ceci concerne toutes les fenêtres dans lesquelles une réponse de votre part est attendue, quand par ex. une nouvelle information routière concerne votre itinéraire.
Avec détecteur de proximité activé :
Quand le détecteur de proximité est activé, vous avez la possibilité d'activer aussi comme suit la commande vocale dans la fenêtre
NAVIGATION, dans la carte et le cas échéant dans la fenêtre MODULE MAINS-LIBRES :
NAVIGON 70 Premium : touchez brièvement le cadre de l'appareil de navigation. NAVIGON 70 Premium Live : approchez votre main de l'écran. Dès que vous éloignez votre main de l'écran, un son unique de validation se fait entendre et vous pouvez prononcer votre commande.
Avec détecteur de proximité désactivé :
Aux modes Standard et Navigation, la commande vocale est activée sur la carte quand vous affichez la barre de boutons :
Tapez sur un point quelconque de la carte.
Un son unique de validation se fait entendre et vous pouvez prononcer votre commande.

Vous trouverez de plus amples informations concernant le détecteur de proximité au chapitre « Détecteur de proximité », page 62.
5.2 Utiliser la commande vocale
Quand dans une fenêtre les fonctions peuvent être appelées par commande vocale, l'icône (Commande vocale active) s'affiche en haut à gauche de la fenêtre.
Un unique signal sonore et l'icône (Parler) signale que le système de navigation attend toute commande vocale.
Prononcez une commande.
Vous entendez le son positif de validation (deux sons aigus), et la fonction est exécutée.
Si le système de navigation n'a pas compris vos instructions, ou si vous ne parliez pas pendant un certain temps, le signal de validation (deux sons aiguus courts) se fait entendre.
Prononcez à nouveau la commande.
Si le système de navigation ne vous a toujours pas compris après plusieurs répétitions, la remarque « Dites Aide » s'affiche.

Remarque : les instructions de navigation et les avertissements sont réglés au mode muet au moment où le système attend vos commandes vocales.
5.3 Aide
Dites simplement « Aide » si vous désirez savoir quelles sont les commandes vocales momentanément possibles. Dans presque toutes
Les fenêtres soutenant la commande vocale, le système de navigation vous informe des commandes possibles dans la fenêtre ouverte.
5.4 Désactivation de la commande vocale
La commande vocale est désactivée dans les conditions suivantes :
Si vous manipulez l'appareil de navigation avec le doigt, lorsque le système attend une commande vocale de votre part. En cas d'appont et pendant un entretien téléphonique en cours quand l'appareil de navigation est utilisé en tant que dispositif mains-libres.
Vous pouvez configurer les tâches pour lesquelles vous désirez utiliser la commande vocale.
Dans la fenêtre NAVIGATION, tapez sur Options > Configurations > Généralités > Utiliser la commande vocale.
Indiquez les tâches pour lesquelles vous désirez utiliser la commande vocale :
- Complet : Vous pouvez utiliser la fonction complète de la commande vocale.
Réponses : Vous pouvez indiquer des adresses et répondre aux questions de l'appareil de navigation.
- Indiquer les adresses : Vous ne pouvez que indiquer des adresses par commande vocale.

Remarque : des informations détaillées concernant l'indication d'une destination de navigation par commande vocale sont disponibles au chapitre « Indiquer la destination par commande vocale », page 33.

Remarque : des informations détaillées concernant un appel téléphonique par commande vocale sont disponibles au chapitre « Appeler par commande vocale », page 111.
Le volume sonore de l'assistant de la commande vocale peut être réglé indépendamment du volume sonore des instructions de navigation. Vous soupiez alors entendre les consignes de saisie quand vous avez réglé les instructions de navigation sur le mode muet.
- Dans la fenêtre NAVIGATION, tapez sur Options > Configurations > Généralités > Volume sonore de l'assistant.
- Déterminez le volume sonore de l'assistant.

Remarque : Les informations concernant la configuration du système de navigation sont disponibles au chapitre « Configurer le système de navigation » à la page 129.
6 Navigation
L'utilisation du système de navigation s'effectue aux risques et périls de l'utilisateur.

Attention! Veuillez observer absolument toutes les remarques de sécurité au chapitre « Remarques de sécurité importantes », page 10.
Mauvaise réception GPS
Quand la réception GPS est mauvaise (quand vous vous trouvez dans un tunnel, par ex.), la navigation est interrompue. Le système de navigation calcule alors votre position présumée à partir des données d'itinéraire et de votre comportement de conduite. Dès que des signaux GPS sont captés à nouveau, la navigation se poursuit sur la base de données GPS réelles.
Arriver à destination
Quand vous avez atteint la destination indiquée, un message parlé vous le fait savoir.
La carte n'indique plus que votre position actuelle (flèche orange) ainsi que le point de destination (marqué par un petit drapeau).
6.1 Démarrer l'application de navigation
Vous avez mis en marche l'appareil de navigation.
Le message suivant s'affiche :
N'oubliez pas que les règles du code de la route sont prioritaires aux instructions du système de navigation. Ne manipulez pas l'appareil pendant la conduite.
Quand vous avez lu entièrement et compris le texte, tapez sur OK. Si vous ne voulez pas accepter la remarque, tapez alors sur Annuler, pour quitter à nouveau l'application de navigation.
La fenêtre NAVIGATION s'ouvre. À partir de cette fenêtre, vous avez accès à toutes les fonctions de l'application de navigation.
Initialisation du récepteur GPS

Remarque : pour une réception parfaite des données GPS, le récepteur GPS requiert une visibilité libre vers les satellites. Les tunnels, les rangées étroites d'habitations ou les réverbérations sur les façades de maisons peuvent limiter considérablement la réception GPS, voir la rendre impossible. Si le récepteur GPS ou l'appareil de navigation se trouve dans un véhicule, un pare-brise métallisé ou un chauffage de pare-brise peuvent être à l'origine d'une mauvaise réception GPS.
Dès que l'appareil de navigation est en marche, l'initialisation du récepteur GPS démarre.
La première initialisation du récepteur GPS intégré s'effectue après le premier démarrage de l'application de navigation. Elle peut demander jusqu'à 5 minutes.
Pour toutes les autres mises en marche de l'appareil de navigation, la réception GPS s'établit rapidement.
Lorsque l'appareil de navigation n'a pas été en marche pendant plus d'une semaine, l'initialisation suivante peut durer jusqu'à 5 minutes.

Remarque : juste après que l'icône GPS affiche l'état GPS prét, la précision de détermination de position peut être réduite encore pendant quelques minutes.
L'icône GPS apparaît dans le coin droit supérieur de l'écran. Dès que les données sont captées par trois satellites au moins, elle passe à (GPS prét).

Remarque : l'initialisation est plus rapide quand vous ne commencez pas le trajet avant la fin de l'initialisation.

De plus amples informations concernant l'icône GPS sont disponibles au chapitre « GPS » à la page 20.
Retour à la fenêtre navigation
La fenêtre NAVIGATION s'ouvre au démarrage de l'application de navigation.
Quand une autre fenêtre de l'application de navigation est ouverte, tapez sur (Précédent). Vous accédez alors à la fenêtre d'où vous êtes venu.
- Tapez autant de fois qu’il est nécessaire sur (Précédent), jusqu’à ce que la fenêtre NAVIGATION s’ouvre.
6.2 Indiquer destination
Sous Nouvelle destination, entrez des destinations vers lesquelles vous n'avez encore jamais navigué ou que vous n'avez pas encore enregistrées. Là, vous pouvez
indiquer l'adresse de la destination. (Voir « Saisir l'adresse d'une destination », page 34) indiquer les coordonnées de la destination. (Voir « Entreprises coordonnées », page 35) sélectionner une adresse utile (Voir « Adresse utile », page 37)
sélectionner une destination de l'accès direct. (Voir « Accès rapide aux adresses utiles », page 40)

Remarque : quand vous indiquez pour la première fois une nouvelle destination, il vous est demandé de sélectionner le pays de votre destination.
Sous Mes destinations, les listes de destinations ou les adresses suivantes sont disponibles au besoin :
FAVORIS : toutes les destinations entrées puis enregistrées. (Voir « Favoris », page 42)
Par ailleurs, dans la liste FAVORIS, trois destinations spéciales sont enregistrées.
Mon adresse : l'adresse du domicile enregistrée en tant qu'adresse. (Voir « Définir l'adresse du domicile », page 48)
Mon véhicule : la position actuelle de votre véhicule est enregistrée automatiquement quand vous utilisez la fonction Parking à proximité de la dest. (voir « Se garer à proximité de la destination », page 83)
Mon point de départ : le point de départ de la dernière navigation est enregistré automatiquement.
DESTINATIONS RÉCENTES : les destinations vers lesquelles vous avez déjà navigué. (Voir « Destinations récentes », page 42) ADRESSES IMPORTÉES : toutes les destinations importées depuis Microsoft Outlook ou d'autres sources de données. (Voir « Adresses importées : De Outlook / d'Internet », page 43 et « Adresses importées de l'annuaire », page 44)
6.2.1 Indiquer pays de destination
En haut à gauche dans les fenêtres ADRESSE, ADRESSE UTILE DANS UNE VILLE et ADRESSE UTILE AU Niveau NATIONAL, vous trouverez un bouton de commande Pays. Il présente le drapeau du pays pour lequel des destinations de navigation peuvent être entrées à ce moment.
Procédez comme suit si votre destination se situe dans un autre pays :
- Tapez sur le bouton de commande Pays.
- Saisissez le nom du pays de votre destination.
La configuration actuelle est affichée sur le bouton de commande.

Remarque : seuls les pays dont la carte se trouve disponible pour l'appareil de navigation sont offerts à la sélection.
6.2.2 Indiquer la destination par commande vocale
La commande vocale est particulièrement confortable pour indiquer une destination.
- Dans la fenêtre NAVIGATION, tapez sur Commande vocale.
La fenêtre COMMANDE VOCALE s'ouvre.
Indiquer une adresse
- Dites « Adresse »
Le pays pour lequel les adresses peuvent être indiquées s'affiche en haut.
- Tapez sur le pays quand votre adresse de destination se situe dans un autre pays. Suivez alors les instructions du programme.
Les données d'adresse seront demandées dans l'ordre Ville > Rue > N° de rue.
- Suivez les instructions du système de navigation.
Quand l'indication d'adresse est terminée, la carte s'ouvre au mode Présentation. La destination est reproduite sur la carte.
Indiquer une adresse utile à proximité
- Dites « Adresse utile à proximité »
- Dites la catégorie d'adresses utiles que vous souhaitez (« Hôtel », par ex.).
Une liste comprenant les hôtels à proximité s'affiche.
- Dites le numéro de l'hôtel vers lequel vous souhaitez naviguer.
Dites « Vers le haut » ou « Vers le bas » pour faire défiler la liste.
Quand vous avez sélectionné une destination, la carte s'ouvre au mode Présentation. La destination est reproduite sur la carte.
Indiquer un favori ou une adresse de l'annuaire
- Dites « Mes destinations »
- Une liste s'affiche. Elle comprend les destinations de la liste FAVORIS, les destinations importées depuis Outlook et les destinations de l'annuaire téléphonique d'un téléphone mobile connecté.
- Dites le numéro de la destination vers laquelle vous souhaitez naviguer.
Dites « Vers le haut » ou « Vers le bas » pour faire défiler la liste.
Quand vous avez sélectionné une destination, la carte s'ouvre au mode Présentation. La destination est reproduite sur la carte.

Des informations concernant le démarrage de la navigation sont disponibles au chapitre « Présentation d'itinéraire » à la page 46. Veuillez consulter ce chapitre.

Remarque : la fonction Commande vocale n'est pas disponible pour toutes les langues. Dans les langues pour lesquelles cette fonction n'est pas disponible, le bouton de commande Commande vocale est remplacé par le bouton Afficher carte.
6.2.3 Saisir l'adresse d'une destination
- Dans la fenêtre NAVIGATION, tapez sur Nouvelle destination > Saisir adresse.

Remarque : La description suivante suppose que vous avez sélectionné Ville d'abord en tant qu'ordre d'entrée des adresses.
Si l'appareil de navigation contient la carte d'un pays dans lequel la rue est normalement indiquée d'abord (Suède, Norvège,... par ex.), vous pouvez sélectionner aussi Rue d'abord en tant qu'ordre de saisie.
Dans la fenêtre NAVIGATION, vous pouvez déterminer l'ordre de saisie sous Options > Configurations > Généralités > Ordre d'entrée des données d'adresse.
Veuillez tenir compte du fait que l'ordre d'entrée Rue d'abord n'est pas valable pour tous les pays. Dans ce cas, il vous faut entrer d'abord la ville.
La fenêtre ADRESSE s'ouvre.
- Entrez le nom ou le code postal de la localité de destination.
- Entrez le nom de la rue de destination.
- Entrez le numéro de rue. Si vous ne connaissiez pas le n, laissez le champ libre.
Si vous ne connaissiez pas le numéro de rue, mais le nom d'une intersection proche, tapez alors dans le champ Intersection et entrez le nom à cet endroit. Le serveur de navigation calcule alors un itinéraire jusqu'au croisement des deux rues indiquées.
La fenêtre INDICATIONS DÉTAILLÉES CONCERNANT LA DESTINATION S'ouvre.
Le bouton de commande Activer MyRoutes indique le calcul de plusieurs propositions d'itinéraires (Oui) ou non (Non).
Tapez sur Activer MyRoutes pour modifier le réglage.

Remarque : le bouton Activer MyRoutes n'est disponible que si vous\
avez réalisé toutes les entrées d'adresses. Mais vous pouvez activer\
aussi cette configuration sous Options > Configurations > Navigation > Activer MyRoutes.
- Tapez sur Démarrer navigation pour naviguer vers l'adresse indiquée.
-0U-
Tapez sur Parking pour rechercher un parking à proximité de votre destination et naviguer vers celle-ci.
La destination ne peut pas toujours être déterminée précisément, quand, par exemple, la combinaison entre le nom de la ville et de la rue existe plusieurs fois.
Dans ce cas, une fenêtre s'ouvre affichant toutes les adresses correspondant à votre entrée avec des informations supplémentaires.
Tapez sur l'adresse vers laquelle vous désirez naviguer.
Si le numéro de rue indiqué n'est pas répertorié sur la carte, la fenêtre ne compte qu'une adresse avec le numéro de rue, le plus proche du numéro indiqué.
La carte s'affiche en mode Présentation. La destination est reproduite sur la carte.

Des informations concernant le démarrage de la navigation sont disponibles au chapitre « Présentation d'itinéraire » à la page 46. Veuillez consulter ce chapitre.

Remarque: Il n'est pas nécessaire de saisir toutes les données d'adresse. Vous pouvez taper aussi bien AAPARAVANT sur

(Démarrer navigation).
Si vous entrez seulement la ville, l'appareil de navigation calculera un itinéraire vers le centre-ville.
Si vous entrez seulement la ville et la rue, mais ni le numéro de rue, ni l'intersection, l'appareil de navigation calculera le meilleur itinéraire jusqu'à cette rue.
6.2.4 Entrer coordonnées
Vous pouvez saisir aussi les coordonnées géographiques de votre destination. Vous pouvez entrer les coordonnées aussi en degrés décimaux ou en degré, minutes et secondes.
- Dans la fenêtre NAVIGATION, tapez sur Nouvelle destination > Entrez coordonnées.
La fenêtre ENTRER COORDONNÉES s'ouvre.
Saisie en nombre décimal
- Saisissez la latitude.
Saisissez d'abord le signe moins si vous désirez entrer une latitude méridionale.
3. Saisissez la longitude.
Saisissez d'abord le signe moins, si vous désirez entrer une latitude occidentale.
2. Saisissez la latitude.
Pour la saisie des unités, utilisez les boutons de commande indiqués sur le clavier :

(degré),

(minutes),

(seconds).
Le bouton de commande (N S) parallèle au champ d'entrée indique qu'il s'agit d'une latitude septentrionale ou méridionale.
Tapez sur la commande pour modifier la configuration présente.
3. Saisissez la longitude.
Pour la saisie des unités, utilisez les boutons de commande indiqués sur le clavier :

(degré),

(minutes),

(seconds).
Le bouton de commande (E O) parallèle au champ de saisie indique qu'il s'agit d'une latitude orientale ou occidentale.
- Tapez sur la commande pour modifier la configuration présente.
La fenêtre INDICATIONS DÉTAILLÉES CONCERNANT LA DESTINATION s'ouvre.
Le bouton de commande Activer MyRoutes indique le calcul de plusieurs propositions d'itinéraire (Oui) ou non (Non).
Tapez sur Activer MyRoutes pour modifier le réglage.
- Tapez sur Démarrer navigation pour naviguer vers l'adresse indiquée.
-0U-
Tapez sur Parking pour rechercher un parking à proximité de votre destination et naviguer vers celle-ci.

Remarque : si la destination dont vous entrez les données ne se situe pas sur un des réseaux routiers couverts par la carte, la navigation est réalisée jusqu'au point de rue le plus proche, dans le mode défini par le profil d'itinéraire sélectionné. À partir de ce point, le système de navigation passe automatiquement au mode Hors-piste. Vous pouvez procéder ici au calibrage de la boussole électronique. (Voir « Navigation au mode Hors-piste », page 73)
6.2.5 Adresse utile
Les adresses utiles, nommées aussi POI (Point Of Interest), sont des adresses pratiques classées selon certains critères.
Les aéroports, ports de ferry, restaurants, hôtels, stations-service, bâtiments publics, médecins, hôpitaux, centres commerciaux et autres font partie des destinations spéciales.
Les adresses utiles peuvent être représentées par une icône sur la carte. Dans la fenêtre NAVIGATION, tapez sur Options > Configurations Représentation de carte > Catégories affichées pour configurer les catégories à représenter sur la carte.

Remarque : si vous avez enregistré vos propres adresses utiles, celles-ci sont disponibles dans la catégorie MyPOIs. Pour la création de vos propres adresses utiles, de plus amples informations sont disponibles au chapitre « MyPOIs : Mes adresses utiles », page 79.
Adresse utile à proximité
Les adresses utiles à proximité sont des destinations spéciales situées dans un certain rayon autour de votre position actuelle. De cette façon, il vous est toujours possible de trouver facilement la prochaine station-service, où que vous soyez.

Remarque : la qualité de la réception GPS doit être suffisante pour le calcul de position. On reconnaît une réception GPS suffisante à l'icône

(GPS pret)
Si la réception GPS est insuffisante, le système procède à la recherche d'adresses utiles. S'il n'existe pas de position récente connue, la fonction Adresse utile à proximité n'est pas disponible.
De plus amples informations sont disponibles au chapitre « Initialisation du récepteur GPS » à la page 30.

Remarque : 3 catégories d'adresses utiles des environnements actuels sont disponibles par l'accès rapide ; celles-ci peuvent être trouvées rapidement et sans autres entrées d'indications.
De plus amples informations sont disponibles au chapitre « Accès rapide aux adresses utiles » à la page 40.
- Dans la fenêtre NAVIGATION, tapez sur Nouvelle destination > Adresse utile > à proximité.
La fenêtre ADRESSE UTILE À PROXIMATE s'ouvre.
- Indiquez la catégorie dans laquelle vous désirez trouver une adresse utile. Vous ne pouvez pas indiquer de catégories ne contenant pas de destinations situées à proximité.
S'il existe des sous-catégories pour la catégorie sélectionnée, la liste Sous-catégorie s'ouvre.
- Indiquez la sous-catégorie dans laquelle vous désirez trouver une adresse utile.
La liste Destination s'affiche. Elle contient les adresses utiles les plus proches pour la catégorie indiquée, classées selon l'éloignement.
- Si la liste est très longue :
Tapez sur (Fermer la liste).
Le clavier apparaît.
Entrez quelques caractères de la destination. Tapez sur (Ouvrir la liste).
La liste ne contient plus que les destinations commençant par les caractères entrés.
- Tapez sur le nom de la destination.
La fenêtre INDICATIONS DÉTAILLÉES CONCERNANT LA DESTINATION s'ouvre.
Le bouton de commande Activer MyRoutes indique le calcul de plusieurs propositions d'itinéraire (Oui) ou non (Non).
Tapez sur Activer MyRoutes pour modifier le réglage.
- Tapez sur Démarrer navigation.
-0U-
Tapez sur Parking pour rechercher un parking à proximité de votre destination et naviguer vers celle-ci.
La carte s'affiche au mode Présentation. La destination est repérative sur la carte.

Des informations concernant le démarrage de la navigation sont disponibles au chapitre « Présentation d'itinéraire » à la page 46. Veuillez consulter ce chapitre.
Adresse utile au niveau national
Les adresses utiles au niveau national sont représentées par les aéroports, curiosités et monuments d'importance nationale, les grands ports et autres. Vous pouvez ainsi couvrir des curiosités même si vous ne savez pas où elles se situent exactement.
- Dans la fenêtre NAVIGATION, tapez sur Nouvelle destination > Adresse utile > au niveau national.
La fenêtre ADRESSE UTILE AU NIVEAU NATIONAL s'ouvre.
- Indique la catégorie dans laquelle vous désirez trouver une adresse utile.
La liste Destination s'affiche. Les adresses utiles de la catégorie indiquée sont listées en ordre alphabétique.
- Si la liste est très longue :
Tapez sur (Fermer la liste).
Le clavier apparait. - Entrez quelques caractères de la destination. Tapez sur (Ouvrir la liste).
La liste ne contient plus que les destinations commençant par les caractères entrés ou contenant ces caractères.
- Tapez sur le nom de la destination.
La fenêtre INDICATIONS DÉTAILLÉES CONCERNANT LA DESTINATION s'ouvre.
Le bouton de commande Activer MyRoutes indique le calcul de plusieurs propositions d'itinéraires (Oui) ou non (Non).
Tapez sur Activer MyRoutes pour modifier le réglage.
- Tapez sur Démarrer navigation.
-0U-
Tapez sur Parking pour rechercher un parking à proximité de votre destination et naviguer vers celle-ci.
La carte s'affiche au mode Présentation. La destination est reproduite sur la carte.

Des informations concernant le démarrage de la navigation sont disponibles au chapitre « Présentation d'itinéraire » à la page 46. Veuillez consulter ce chapitre.
Adresse utile dans une ville
Les adresses utiles d'une certaine localité peuvent être utiles à la navigation dans une ville inconnue.
- Dans la fenêtre NAVIGATION, tapez sur Nouvelle destination > Adresse utile > dans une ville.
La fenêtre ADRESSE UTILE DANS UNE VILLE s'ouvre.
- Entrez le nom ou le code postal de la localité de destination.
- Indiquez la catégorie dans laquelle vous désirez trouver une adresse utile. Vous ne pouvez pas indiquer les catégories pour lesquelles la ville indiquée ne comprend pas d'adresse utile.
S'il existe des sous-catégories pour la catégorie sélectionnée, la liste Sous-catégorie s'ouvre.
- Indiquez la sous-catégorie dans laquelle vous désirez trouver une adresse utile.
La liste Destination s'affiche. Elle contient les adresses utiles pour la catégorie indiquée, classées par ordre alphabétique.
- Si la liste est très longue :
Tapez sur (Fermer la liste). Le clavier apparaît. Entrez quelques caractères de la destination. Tapez sur (Ouvrir la liste).
La liste ne contient plus que les destinations commençant par les caractères entrés ou contenant ces caractères.
- Tapez sur le nom de la destination.
La fenêtre INDICATIONS DÉTAILLÉES CONCERNANT LA DESTINATION s'ouvre.
Le bouton de commande Activer MyRoutes indique le calcul de plusieurs propositions d'itinéraires (Oui) ou non (Non).
Tapez sur Activer MyRoutes pour modifier le réglage. Il est parfois difficile de déterminer précisément la destination dans le cas par exemple, où la ville indiquée comporte plusieurs restaurants du même nom. Dans ce cas, une fenêtre s'ouvre dans laquelle toutes les destinations correspondant à votre entrée sont affichées. Tapez sur la destination vers laquelle vous désirez naviguer.
- Tapez sur Démarrer navigation.
-OU-
Tapez sur Parking pour rechercher un parking à proximité de votre destination et naviguer vers celle-ci.
La carte s'affiche au mode Présentation. La destination est reproduite sur la carte.

Des informations concernant le démarrage de la navigation sont disponibles au chapitre « Présentation d'itinéraire » à la page 46. Veuillez consulter ce chapitre.
Accès rapide aux adresses utiles
3 catégories d'adresses utiles sont accessibles rapidement. Vous pouvez lister rapidement et sans indication supplémentaire les destinations situées à proximité et correspondant à une de ces catégories.
Dans la fenêtre NAVIGATION, tapez sur Options > Configurations > Généralités pour configurer les catégories ou les sous-catégories disponibles en accès direct.

Remarque : la qualité de la réception GPS doit être suffisante pour le calcul de position. On reconnaît une réception GPS suffisante à l'icône

(GPS prêt).
Si la réception GPS est insuffisante, le système procède à la recherche d'adresses utiles. S'il n'existe pas de position récente connue, la fonction Accès direct n'est pas disponible.
De plus amples informations sont disponibles au chapitre « Initialisation du récepteur GPS » à la page 30.
- Dans la fenêtre NAVIGATION, tapez sur Nouvelle destination.
Le menu NOUVELLE DESTINATION s'affiche.
Le domaine Accès direct représente les icônes des catégories dont les adresses utiles sont disponibles.
- Tapez sur la catégorie dans laquelle vous désirez trouver une adresse utile.
Une liste s'affiche. Elle contient les adresses utiles les plus proches pour la catégorie indiquée, classées selon l'emplacement.
- Tapez sur le nom de la destination pour démarrer la navigation vers ce point.
La carte s'affiche en mode Présentation. La destination est reproduite sur la carte.

Des informations concernant le démarrage de la navigation sont disponibles au chapitre « Présentation d'itinéraire » à la page 46. Veuillez consulter ce chapitre.
Pour de nombreuses destinations indiquées, des informations supplémentaires sont enregistrées dans la base de données du système de navigation.
Pour de nombreux restaurants, par exemple, un numéro de téléphone est enregistré. Vous pouvez appeler et faire réserver une table, par exemple.
Une des fenêtres décrites plus haut, concernant l'entrée de destination, est ouverte.
- Tapez sur Options > Info.
La fenêtre INFORMATION SURE LA DESTINATION s'ouvre. Elle renferme toutes les informations prsentes dans la base de données du système de navigation et concernant la destination indiquée.
Tapez sur la commande Fermer pour refermer la fenêtre INFORMATIONS SUR LA DESTINATION.
Tapez sur la carte

(Afficher sur la carte) pour visualiser la destination
Tapez sur destination

(Enregistrer destination) pour enregistrer la FAVORIS.
6.2.7 Favoris
Vous avez la possibilité de sauvegarder dans la liste FAVORIS les destinations vers lesquelles vous désirez vous rendre régulièrement. La liste FAVORIS peut enregistrer jusqu'à 500 destinations.

Des informations concernant la sauvegarde d'une destination sont disponibles au chapitre « Enregistrer une destination » à la page 48.
- Dans la fenêtre NAVIGATION, tapez sur Mes destinations > Favoris.
- Tapez sur la destination vers laquelle vous désirez naviguer. La fenêtre Indications Détailées Concernant la Destination s'ouvre.
Le bouton de commande Activer MyRoutes indique le calcul de plusieurs propositions d'itinéraires (Oui) ou non (Non).
Tapez sur Activer MyRoutes pour modifier le réglage.
- Tapez sur Démarrer navigation.
-0U-
Tapez sur Parking pour rechercher un parking à proximité de votre destination et naviguer vers celle-ci.
La carte s'affiche au mode Présentation. La destination est repérative sur la carte.

Des informations concernant le démarrage de la navigation sont disponibles au chapitre « Présentation d'itinéraire » à la page 46. Veuillez consulter ce chapitre.

Remarque : les favoris sont représentés sur la carte par un petit drapeau indiquant le nom.
6.2.8 Destinations récentes
Le système de navigation sauvegarde les 12 dernières destinations pour lesquelles vous avez démarré une navigation, dans la liste DESTINATIONS RÉCENTES.
- Dans la fenêtre NAVIGATION, tapez sur Mes destinations > Destinations récentes.
- Tapez sur la destination vers laquelle vous désirez naviguer.
La fenêtre INDICATIONS DÉTAILLÉES CONCERNANT LA DESTINATION s'ouvre.
Le bouton de commande Activer MyRoutes indique le calcul de plusieurs propositions d'itinéraires (Oui) ou non (Non).
Tapez sur Activer MyRoutes pour modifier le réglage.
- Tapez sur Démarrer navigation.
-0U-
Tapez sur Parking pour rechercher un parking à proximité de votre destination et naviguer vers celle-ci.
La carte s'affiche au mode Présentation. La destination est reproduite sur la carte.

Des informations concernant le démarrage de la navigation sont disponibles au chapitre « Présentation d'itinéraire » à la page 46. Veuillez consulter ce chapitre.
6.2.9 Adresses importées : de outlook / d'internet
Avec le logiciel NAVIGON Sync, vous pouvez exporter vers votre système de navigation des adresses enregistrées dans Microsoft Outlook de votre ordinateur.
De plus, à partir de nombreux programmes de calcul d’itinéraire sur Internet, vous pouvez copier directement dans votre système de navigation l’adresse de destination entrée. Cette fonction est toujours nettement visible sur le site Internet correspondant au cas où ce site propose cette fonction.

Remarque : NAVIGON Sync vous pouvez télécharger gratuitement depuis notre site Internet www.navigon.com.
Les contacts pour lesquels plusieurs adresses sont enregistrées apparaissent dans la liste ADRESSES IMPORTÉES, avec une adresse à chaque fois.
- Dans la fenêtre NAVIGATION, tapez sur Mes destinations > Adresses importées > De Outlook / d'Internet.
- Tapez sur l'adresse vers laquelle vous désirez naviguer.
La fenêtre INDICATIONS DÉTAILLÉES CONCERNANT LA DESTINATION s'ouvre.
Le bouton de commande Activer MyRoutes indique le calcul de plusieurs propositions d'itinéraires (Oui) ou non (Non).
Tapez sur Activer MyRoutes pour modifier le réglage.
- Tapez sur Démarrer navigation.
-0U-

Tapez sur Parking pour rechercher un parking à proximité de votre destination et naviguer vers celle-ci.
La carte s'affiche au mode Présentation. La destination est repérative sur la carte.
Des informations concernant le démarrage de la navigation sont disponibles au chapitre « Présentation d'itinéraire » à la page 46. Veuillez consulter ce chapitre.
6.2.10 Adresses importées de l'annulaire

Cette section ne vous concerne que si votre appareil de navigation compte parmi les appareils suivants :
NAVIGON 70 Premium NAVIGON 70 Premium Live
Vous pouvez copier et importer l'annuaire téléphonique d'un téléphone mobile connecté via bluetooth dans l'appareil de navigation. Les adresses de l'annuaire téléphonique sont disponibles dans la liste ADRESSES IMPORTÉES DE L'ANNUAIRE.
- Dans la fenêtre NAVIGATION, tapez sur Mes destinations > Adresses importées > De l'annuaire.
- Sélectionnez le contact désiré à partir de l'annuaire téléphonique.
- Tapez sur l'adresse vers laquelle vous désirez naviguer.
La fenêtre INDICATIONS DÉTAILLÉES CONCERNANT LA DESTINATION s'ouvre.
Le bouton de commande Activer MyRoutes indique le calcul de plusieurs propositions d'itinéraire (Oui) ou non (Non).
Tapez sur Activer MyRoutes pour modifier le réglage.
- Tapez sur Démarrer navigation.
-OU-
Tapez sur Parking pour rechercher un parking à proximité de votre destination.
La carte s'affiche au mode Présentation. La destination est représentative sur la carte.

Des informations concernant le démarrage de la navigation sont disponibles au chapitre « Présentation d'itinéraire » à la page 46. Veuillez consulter ce chapitre.
6.2.11 Naviguer vers votre domicile
Vous pouvez auveg garder cette adresse en tant qu'adresse de domicile. Il est possible alors à tout moment de lancer la navigation vers votre domicile par simple pression d'un seul bouton de commande.

De plus amples informations concernant l'enregistrement de l'adresse du domicile sont disponibles au chapitre « Définir l'adresse du domicile » à la page 48.
Dans la fenêtre NAVIGATION, tapez sur Rentre à la maison.
Si vous n'avez pas encore entré votre adresse, une boîte de dialogue vous le signale.
La navigation démarre. Il s'agit du même profil d'itinéraire que pour la première navigation.
6.2.12 Définir destination sur la carte
Vous pouvez définir une destination directement sur la carte. Outre des localités et des rues, vous pouvez sélectionner rapidement aussi des adresses utiles.
- Dans la fenêtre NAVIGATION, tapez sur Afficher carte.
-0U-
Quand la commande vocale est disponible sur votre appareil de navigation et pour votre langue :
Dans la fenêtre NAVIGATION, tapez sur Options > Afficher carte.
- Tapez sur (Rechercher destination).
La carte s'affiche en mode Rechercher destination.
- Tapez sur le point vers lequel vous désirez naviguer.

Remarque : pour modifier la section de carte indiquée de façon à ce que votre destination y soit bien visible, consultez le chapitre « Carte au mode Rechercher destination » à la page 74.
Le point de destination sur lequel vous avez tapé apparait sous le réticule.
Dans le champ du tiers inférieur de l'écran, les coordonnées géographiques du point d'été et de l'adresse correspondante sont affichées.
- Tapez sur (OK).
La fenêtre DESTINATION SUR LA CARTE s'ouvre. Les données d'adresses détaillées du point de destination sélectionné sont indiquées dans le coin supérieur gauche.
- Tapez sur Naviguer vers ce point.
La carte s'affiche en mode Présentation. La destination est reproduite sur la carte.

Des informations concernant le démarrage de la navigation sont disponibles au chapitre « Présentation d'itinéraire » à la page 46. Veuillez consulter ce chapitre.
6.2.13 Présentation d'itinéraire
La carte est ouverte au mode Présentation.
La destination de navigation est caractérisée par un petit drapeau.

Des informations détaillées sont disponibles au chapitre « Carte au mode Présentation » à la page 64.
Profil d'itinéraire
Le calcul de l'itinéraire s'appuie sur un dénommé profil d'itinéraire. Le profil d'itinéraire actuel est indiqué sur le bord de la carte en haut à droite.
Les profils d'itinéraire tiennent compte des caractéristiques et particularités des différents types de locomotion. Un profil d'itinéraire pour les vélos, par ex., ne tiendra pas compte des autoroutes mais des routes interdites à d'autres véhicules. De plus, les horaires d'arrivée pour un vélo sont calculés différemment de ceux pour une moto, par ex.

Remarque: si vous sélectionnez un profil de piéton, un trace d'itinéraire spécifique développé pour les piétons est lancé. Vous pouvez procéder ici au calibrage de la boussole électronique. (Voir « Navigation au mode Piéton », page 70)
- Tapez sur le bouton de commande Profil d'itinéraire si vous souhaitez sélectionner un autre profil d'itinéraire.

Des informations concernant la conception et la sélection de l'itinéraire sont disponibles au chapitre « Profils d'itinéraires » à la page 76.
Description d'itinéraire
Si vous souhaitez visualiser une description d'itinéraire détaillée, tapez sur Options > Description d'itinéraire.

Des informations concernant les fonctionnalités de la fenêtre DESCRIPTION D'ITINÉRAIRE sont disponibles au chapitre « Description d'itinéraire » à la page 93.
Si la fonction MyRoutes est activée, le système de navigation calcule la navigation pour jusqu'à trois itinéraires sur la base du profil d'itinéraire actuellement configuré et présente ceux-ci sur la carte en couleurs différentes (orange, vert, bleu) et avec un numéro. À chaque itinéraire correspond un bouton de commande important le même numéro et un symbole de la même couleur.
Lors du calcul de l'heure d'arrivée ou de la durée du trajet, le système de navigation tient compte d'autres facteurs tels que le jour de la semaine et l'heure, mais votre style de conduite avant tout.
L'itinéraire correspondant le mieux au profil d'itinéraire est caractérisé par « MyRoute »

Remarque : même si la fonction MyRoutes est activée, le système ne peut pas calculer d'itinéraire supplémentaire ou seul un itinéraire en plus. Le bouton de commande correspondant indique alors Pas d'autre proposition.
Démarrer navigation
- Tapez sur le bouton de commande de l'itinéraire que vous désirez utiliser pour la navigation.
Si vous sélectionnez un itinéraire pour lequel des perturbations de circulation sont annoncées, il est très probable qu'avant le démarrage de la navigation la fenêtre PRÉSENTATION TMC s'ouvre. Vous pouvez procéder ici au calibrage de la boussole électronique. (Voir « Présentation TMC », page 95)
Définissez votre choix d'utilisation de l'itinéraire (Itinéraire actuel) ou d'une déviation (Itinéraire alternatif).
Pas de réception GPS
Si la réception GPS est insuffisante ou perturbée, un message vous en informera : « Attente du signal GPS... »
Les possibilités suivantes sont à votre disposition :
Attendez. Dès que la qualité de la réception GPS est suffisante pour le calcul de position, l'itinéraire est calculé et la navigation commence. - Tapez sur Annuler. La fenêtre dans laquelle vous avez indiqué votre destination s'ouvre à nouveau. Notre destination est sauvegardée dans la liste DESTINATIONS RÉCENTES. - Tapez sur Démonstration. L'itinéraire est calculé sur la base du centre-ville du lieu de destination en tant que point de départ. Puis, la navigation est simulée sur cet itinéraire.
Tapez sur (Précédent) pour quitter la démonstration.

Remarque: si vous aviez sélectionné la destination sur la carte, le bouton de commande Démonstration n'est pas disponible.
6.3 Gestion de destinations
Toute destination que vous indiquez et les destinations de la liste DESTINATIONS RÉCENTES et ADRESSES IMPORTÉES peuvent être ajoutées à la liste FAVORIS. Ceci est particulièrement avantageux quand vous rendez-vous vers cette destination.

Remarque : les favoris sont représentés sur la carte par un petit drapeau indiquant le nom.
6.3.1 Enregistrer une destination
- Indiquez votre destination. (Voir « Saisir l'adresse d'une destination », page 34 ou « Adresse utile », page 37). Ne tapez pas sur le bouton de commande Démarrer navigation!
- Tapez sur Options > Enregistrer destination. - ou -
- Sélectionnez une destination dans la liste DESTINATIONS RÉCENTES ou dans la liste ADRESSES IMPORTÉES. (Voir « Destinations récentes », page 42 ou « Adresses importées : De Outlook / d'Internet », page 43). Ne tapez pas sur le bouton de commande Démarrer navigation!
- Tapez sur Options > Sauvegarder en tant que favori.
- Entrez un nom de destination.
- Tapez sur Enregistrer.
6.3.2 Effacer destination dans la liste favoris
- Dans la fenêtre NAVIGATION, tapez sur Mes destinations > Favoris. La liste FAVORIS s'affiche.
- Sélectionnez la destination que vous désirez supprimer. La fenêtre INDICATIONS DÉTAILLÉES CONCERNANT LA DESTINATION s'ouvre.
- Tapez sur Options > Supprimer destination.
6.3.3 Définir l'adresse du domicile
Vous pouvez toujours très rapidement la navigation vers votre adresse de domicile en tapant sur Rentrée à la maison dans la fenêtre NAVIGATION.
Vous pouvez définir exactement une destination en tant qu'adresse de domicile. Vous pouvez entrer l'adresse manuellement ou la sélectionner de la liste FAVORIS.
L'adresse du domicile est enregistrée dans la liste FAVORIS et y est caractérisée par une petite maison.

Remarque : l'adresse du domicile est représentée aussi par une petite maison sur la carte.
Entrer l'adresse du domicile
- Dans la fenêtre NAVIGATION, tapez sur Rentrer à la maison.
Une fenêtre contenant la remarque suivante s'ouvre :
Désirez-vous saisir l'adresse maintenant ?
Si vous avez déjà enregistré des favors, le message s'énonce comme suit :
Préférez-vous saisir l'adresse ou la sélectionner parmi les favors ?
La valeur momentanément valide est marquée en blanc.
Si Saisir adresse n'est PAS marqué, tapez sur (Modifier). 2. Tapez sur OK.
La fenêtre ADRESSE s'ouvre.
- Entrez votre adresse de domicile. (Voir aussi « Saisir l'adresse d'une destination », page 34)
- Tapez sur (Domicile) pour enregistrer l'adresse indiquée en tant qu'adresse de domicile.
Sélectionner l'adresse du domicile dans les favoris
- Dans la fenêtre NAVIGATION, tapez sur Rentrer à la maison.
Une fenêtre contenant la remarque suivante s'ouvre :
« Préférez-vous saisir l'adresse ou la sélectionner parmi les favoris ? »
Si vous n'avez pas encore enregistré de favoris, le message s'énonce comme suit :
« Désirez-vous saisir l'adresse maintenant ? »
Dans ce cas, vous devez entrer manuellement l'adresse. du domicile (Voir « Entrer l'adresse du domicile », page 49)
Si Favoris n'est PAS marqué, tapez sur (Modifier). 2. Tapez sur OK.
La liste FAVORIS s'affiche.
- Sélectionnez la destination que vous désirez définir en tant qu'adresse de domicile. (Voir aussi « FAVORIS », page 42)
La fenêtre INDICATIONS DÉTAILLÉES CONCERNANT LA DESTINATION s'ouvre.
- Tapez sur (Domicile) pour enregistrer l'adresse indiquée en tant qu'adresse de domicile.
6.3.4 Modifier le domicile
Vous pouvez définir à tout moment une adresse différente en tant qu'adresse de domicile.
Procédez comme suit :
- Supprimez votre adresse de domicile dans la liste FAVORIS. (Voir « Effacer destination dans la liste Favoris », page 48)
- Entrez la nouvelle adresse de domicile. (Voir « Définir l'adresse du domicile », page 48)
6.4 Tracks et itinéraires à étapes
Même sans réception GPS, il est possible d'établir un itinéraire en toute tranquillité à la maison. Vous pouvez enregistrer les itinéraires planifiés et prévoir ainsi tous les itinéraires que vous désirez pour les vacances, par exemple.
- Dans la fenêtre NAVIGATION, tapez sur Options. La liste des options s'affiche.
- Tapez sur l'option Linéaires et traces GPS. La fenêtre ITINÉRAIRES ET TRACES GPS s'ouvre.
6.4.1 Indiquer le point de départ
Le point de départ d'un itinéraire est le point à partir duquel vous désirez prendre le départ. Cela n'est pas toujours la position actuelle : si à la maison, vous prévoyez l'itinéraire d'une excursion sur votre lieu de vacances, votre hôtel peut être le point de départ de l'itinéraire d'exercice.
Le point de départ ne joue un rôle que si vous désirez visualiser sur la carte un itinéraire prévu, mais ne captez pas de signaux GPS ou si vous ne vous trouvez pas au point de départ prévu. Par conséquent, votre point de départ indiqué est always représenté par un « 0 »
Dès que vous démarrez une navigation, votre position actuelle est utilisée en tant que point de départ.
La première étape représente donc le trajet vers le point d'itinéraire « 1 »
- Tapez sur le champ Définir point de départ.
Le menu POINT DE DÉPART s'affiche.
Si vous désirez indiquer votre position actuelle en tant que point de départ :
- Tapez sur le point de menu Position actuelle.
Si vous désirez indiquer un autre point de départ :
- Tapez sur la commande correspondante.
- Indiquez le point de départ. (Voir la section correspondante du chapitre « Indiquer destination », page 31.)
- Tapez sur (Point de départ).
Le point de menu sélectionné s'affiche alors à côté de la commande (Point de départ).
Modifier le point de départ
Tapez sur le point de départ (bouton de commande 0).
Le menu POINT DE DÉPART s'affiche. Entrez alors un autre point de départ. Procédez comme décrit ci-dessus.
6.4.2 Indiquer des étapes
Les points d'étape d'un itinéraire sont les destinations vers lesquelles vous désirez naviguer.
À chaque point d'étape correspond un numéro courant figurant sur un bouton de commande.
- Tapez sur le champ Ajouter une étape. Le menu ÉTAPE s'affiche.
- Tapez sur le bouton de commande correspondant au type souhaité d'indication de destination.
- Indiquez l'étape. (Voir la section correspondante du chapitre « Indiquer destination », page 31.)
- Tapez sur (Ajouter).
Le point d'itinéraire sélectionné est alors indiqué à côté de son numéro.
Répétez la procédure pour toutes les destinations que vous souhaitez ajouter à l'itinéraire.
6.4.3 Éditer les étapes
Des étapes peuvent être effacées d'un itinéraire. Leur ordre peut être modifié selon besoin.

Remarque : vous ne pouvez ni déplacer, ni supprimer le point de départ (numéro « 0 »). Mais vous pouvez désigner une étape différente en tant que point de départ si vous n'avez pas sélectionné Position actuelle comme point de départ.
Tapez sur l'étape que vous désirez éditer. Le menu de contexte comporte les boutons de commande suivants:

Point d'itinéraire en avant : place à l'avant l'étape sélectionnée. (Exemple : l'étape 2 devient l'étape 1)

Point d'itinéraire en arrière : place à l'arrière l'étape sélectionnée. (Exemple : l'étape 2 devient l'étape 3)

Supprimer : supprime l'étape sélectionnée. Une boîte de dialogue vous demande de confirmer la suppression.
6.4.4 Gestion d'itinéraires
Tout itinéraire établi peut être enregistré sous une désignation particulière.

Remarque : seuls sont enregistrés le point de départ et les étapes, et non l'itinéraire calculé. Si vous chargez un itinéraire enregistré, il doit être recalculé avant la navigation.
Les itinéraires enregistrés peuvent être chargés, renommés ou supprimés.
Enregistrer l'itinéraire
La fenêtre ITINÉRAIRES ET TRACES GPS est ouverte. Vous avez entre le point de départ et au moins une étape.
- Tapez sur Options > Enregistrer itinéraire.
- Saisissez le nom de l'itinéraire.
- Tapez sur

(Enregisterr).
La destination est introduite à la liste ITINÉRAIRES ET TRACES GPS ENREGISTRÉS. La boîte de dialogue se réfère.
6.4.5 Charger l'itinéraire ou le track
- Tapez sur Options > Itinéraires et traces GPS enregistrés. La liste ITINÉRAIRES ET TRACES GPS ENREGISTRÉS s'affiche. Elle présente tous les itinéraires et tracks enregistrés en ordre alphabétique.
Une icône devant le nom indique qu'il s'agit d'un itinéraire ( ) ou d'un track ( ).
Si vous désirez charger un itinéraire :
- Tapez sur l'itinéraire que vous désirez charger.
- Tapez sur (Charger itinéraire).
La fenêtre ITINÉRAIRES ET TRACES GPS s'ouvre. Le point de départ et les étapes de l'itinéraire chargé sont entrés. Lors du calcul de l'itinéraire, le point de départ est remplacé par la position actuelle. La navigation mène alors vers le premier point d'itinéraire.
Si vous désirez charger un track :
- Tapez sur le track que vous désirez charger.
- Tapez sur Charger trace GPS.
La fenêtre ITINÉRAIRES ET TRACES GPS s'ouvre. Le point de départ est indiqué en tant que position actuelle. Le track chargé est indiqué en tant qu'étape 1. La navigation conduit d'abord vers le point de départ du track.

Des informations concernant la navigation pour les tracks enregistrés sont disponibles au chapitre « Navigation en mode Trace GPS » à la page 72.
6.4.6 Calculator et afficher l'itinéraire
Un itinéraire peut être calculé et affiché sur la carte même sans la réception des signaux GPS pour vous donner un aperçu du trajet.
La fenêtre ITINÉRAIRES ET TRACES GPS est ouverte. Vous avez entre un point de départ et au moins une étape.
Tapez sur Indiquer itinéraire.
La carte s'affiche en mode Présentation.
Le point de départ et les étapes sont caractérisés par de petits drapeaux. La distance et la durée présumée du trajet sont indiquées pour chaque étape.
6.4.7 Simuler le trajet
Vous pouvez également simuler seulement une navigation sur un itinéraire prévu.

Remarque : pour une simulation, il n'est pas nécessaire de capturer les signaux GPS.
Si vous avez planifié un itinéraire à plusieurs étapes, seule la première étape est simulée.
Vous avez cessé au calcul et à l'affichage de l'itinéraire.
- Tapez sur Options > Simulation.
Si vous avez établi un itinéraire comptant seulement une étape, et que la fonction MyRoutes est activée, il vous sera demandé de sélectionner un itinéraire de simulation.
L'itinéraire est recalculé pour la simulation.
- Tapez sur le bouton de commande de l'itinéraire sur lequel vous désirez réaliser une simulation.

D'autres informations concernant la fonction MyRoutes sont disponibles au chapitre « MyRoutes » à la page 47.
Quitter la simulation
Vous pouvez terminer la simulation à tout moment.
Tapez sur (Précédent).
La fenêtre ITINÉRAIRES ET TRACES GPS s'ouvre.
6.4.8 Présentation d'itinéraire
Vous avez procédé au calcul et à l'affichage de l'itinéraire. La carte est ouverte au mode Présentation.
Profil d'itinéraire
Les profils d'itinéraire tiennent compte des caractéristiques et particularités des différents types de locomotion. Un profil d'itinéraire pour les vélos, par ex., ne tiendra pas compte des autoroutes mais des routes interdites à d'autres véhicules. De plus, les horaires d'arrivée pour un vélo sont calculés différemment de ceux pour une moto, par ex.

Remarque: si vous sélectionnez un profil de piéton, un trace d'itinéraire spécialément développé pour les piétons est lancé. Vous pouvez procéder ici au calibrage de la boussole électronique. (Voir « Navigation au mode Piéton », page 70)
- Tapez sur le bouton de commande Profil d'itinéraire si vous souhaitez sélectionner un autre profil d'itinéraire.

Des informations concernant la conception et la sélection de l'itinéraire sont disponibles au chapitre « Profils d'itinéraires » à la page 76.

Remarque : quand vous chargez des itinéraires provenant de fournisseurs autres que NAVIGON, il est possible que le profil d'itinéraire de cet itinéraire ne puisse pas être modifié.
Description d'itinéraire
Si vous souhaitez visualiser une description d'itinéraire détaillée, tapez sur Options > Description d'itinéraire.

Des informations concernant les fonctionnalités de la fenêtre DESCRIPTION D'ITINÉRAIRE sont disponibles au chapitre « Description d'itinéraire » à la page 93.
Si la fonction MyRoutes est activée, le système de navigation calcule la navigation pour jusqu'à trois itinéraires sur la base du profil d'itinéraire actuellement configuré et présente ceux-ci sur la carte en couleurs différentes (orange, vert, bleu) et avec un numéro. À chaque itinéraire correspond un bouton de commande important le même numéro et un symbole de la même couleur.
Lors du calcul de l'heure d'arrivée ou de la durée du trajet, le système de navigation tient compte d'autres facteurs tels que le jour de la semaine et l'heure, mais votre style de conduite avant tout.
L'itinéraire correspondant le mieux au profil d'itinéraire est caractérisé par « MyRoute »

Remarque : la fonction MyRoutes ne peut être utilisée que pour les itinéraires ne comptant qu'une seule étape. Pour les itinéraires comptant deux points d'étape ou plus, seul un itinéraire est calculé et indiqué, que vous ayez activé la fonction ou non.

Remarque : même si la fonction MyRoutes est activée, le système ne peut pas calculer d'itinéraire supplémentaire ou seul un itinéraire en plus. Le bouton de commande correspondant indique alors Pas d'autre proposition.
Démarrer navigation
- Tapez sur le bouton de commande de l'itinéraire que vous déssez utiliser pour la navigation.
Si vous sélectionnez un itinéraire pour lequel des perturbations de circulation sont annoncées, il est très probable qu'avant le démarrage de la navigation la fenêtre PRÉSENTATION TMC s'ouvre. Vous pouvez procéder ici au calibrage de la boussole électronique. (Voir « Présentation TMC », page 95)
Définissez votre choix d'utilisation de l'itinéraire (Itinéraire actuel) ou d'une déviation (Itinéraire alternatif).
Pas de réception GPS
Si la réception GPS est insuffisante ou perturbée, un message vous en informera : « Attente du signal GPS... »
Les possibilités suivantes sont à votre disposition :
Attendez. Dès que la qualité de la réception GPS est suffisante pour le calcul de position, l'itinéraire est calculé et la navigation commence. Tapez sur Annuler. La carte s'affiche au mode Présentation.
7 Options
Certaines fenêtres renferment des options, au moyen desquelles vous pouvez accéder à d'autres fonctions.
Ouvrez le menu Options. (Voir « Barre de boutons », page 59) - Tapez sur Options pour ouvrir la liste des options. Tapez sur l'option que vous désirez exécuter. Si vous désirez fermer la liste des options sans exécuter d'options, tapez alors à nouveau sur Options.
2D/3D : commute les modes 2D et 3D. L'icône représenté le mode momentanément réglé.
Adr. utiles sur la route : affiche une liste comportant des adresses utiles se trouvant sur votre itinéraire. Vous pouvez sélectionner une destination indiquée ici en tant que destination intermédiaire et naviguer vers ce point. (Voir « MyBest POI: Adr. utiles sur la route », page 85)
Afficher sur la carte : affiche l'adresse indiquée sur la carte.
Afficher sur la carte : affiche l'adresse indiquée sur la carte.
Aide d'urgence : ouvre une fenêtre vous permettant de tracer rapidement et simplement des adresses et numéros de téléphone dans les environs proches pouvant être utiles en cas d'urgence.
Ajouter à l'itinéraire : Affiche l'itinéraire. L'adresse indiquée est ajoutée en tant qu'étape. Vous pouvez procéder ici au calibrage de la boussole électronique. (Voir « Tracks et itinéraires à étapes », page 50)
Bloquer : ouvre une fenêtre dans laquelle vous pouvez à tout moment bloquer un tronçon situé sur votre itinéraire, c'est-à-dire faire calculer un itinéraire contournant ce tronçon, ayant appris par la radio la présence par ex. d'un embouteillage sur ce tronçon. Vous pouvez procéder ici au calibrage de la boussole électronique. (Voir « Bloquer », page 93)
Circulation : ouvre la fenêtre INFORMATIONS ROUTIÈRES, présentant une liste des messages actuels. Vous pouvez procéder ici au calibrage de la boussole électronique. (Voir « TMC (Informations routières) », page 95)
Configurations : ouvre la fenêtre CONFIGURATIONS. Dans cette fenêtre, vous pouvez configurer le système de navigation. Vous pouvez procéder ici au calibrage de la boussole électronique. (Voir « Configurer le système de navigation », page 129)
Démarrer l'enregistrement, Arrêter l'enregistrement : démarre ou termine l'enregistrement d'un track. Vous pouvez procéder ici au calibrage de la boussole électronique. (Voir « Tracks », page 82)
Description d'itinéraire : présente une description détaillée de l'itinéraire affichant tous les points auxquels vous devez tourner. Vous pouvez procéder ici au calibrage de la boussole électronique. (Voir « Description d'itinéraire », page 93)
Destination intermédiaire : indique le point sélectionné en tant qu'étape intermédiaire. La navigation vous conduit d'abord à cette étape intermédiaire. Vous pouvez ensuite poursuivre la navigation vers sa destination initiale.
Domicile: sauvegarde l'adresse sélectionnée en tant qu'adresse de votre domicile. Vous pouvez alors démarrer toujours très rapidement la navigation vers cette destination en tapant sur NAVIGATION dans la fenêtre Rentrer à la maison.
Enregistrer destination: sauvegarde l'adresse indiquée dans la liste FAVORIS. Vous pouvez procéder au calibrage de la boussole électronique. (Voir « Enregistrer une destination », page 48)
Enregistrer itinéraire : ouvre une fenêtre dans laquelle vous pouvez enregistrer l'itinéraire établi sous une certaine désignation. Vous pouvez procéder ici au calibrage de la boussole électronique. (Voir « Enregistrer l'itinéraire », page 52)
Enregistrer position : ouvre la fenêtre ENREGISTRER DESTINATION SOUS. Vous pouvez y enregistrer votre situation actuelle avec un nom particulier dans la liste FAVORIS.
État GPS : ouvre la fenêtre ÉTAT GPS. Vous pouvez y consulter des détails concernant la réception GPS. Vous pouvez également enregistrer les données de position actuelle. Vous pouvez procéder ici au calibrage de la boussole électronique. (Voir « État GPS, enregistrer la position actuelle », page 92)
Ignore la destination suivante : tapez sur le bouton de commande pour ignorer le point d'itinéraire suivant. Ce bouton de commande n'est actif que si deux étapes au moins se trouvent devant vous. Vous pouvez procéder ici au calibrage de la boussole électronique. (Voir « Tracks et itinéraires à étapes », page 50)
Informations sur le produit : affiche les numéros de version et les informations de copyright pour le matériel et le logiciel.
Itinéraires à visites : ouvre la fenêtre ITINÉRAIRES À VISITES. Là, vous pouvez sélectionner un circuit touristique et démarrer la navigation sur un itinéraire. Vous pouvez procéder ici au calibrage de la boussole électronique. (Voir « Itinéraires à visites », page 90)
Itinéraires et traces GPS enregistrés : ouvre une fenêtre dans laquelle vous pouvez charger un itinéraire sauvegardé ou un track.
Itinéraires et traces GPS : ouvre la fenêtre ITINÉRAIRES ET TRACES GPS. Vous pouvez y établir des itinéraires, gérer des itinéraires établis, et démarrer la navigation sur un itinéraire établi. Vous pouvez procéder ici au calibrage de la boussole électronique. (Voir « Tracks et itinéraires à étapes », page 50)
Jour/Nuit : commute les modes écran « Jour » et « Nuit ». L'icône représentée le mode momentanément réglé.
Manuel : ouvre le manuel sur l'appareil de navigation. Vous pouvez calibrer la boussole électronique. (Voir « Manuel », page 19)
MyReport: ouvre la fenêtre MYREPORT. Vous pouvez y signaler des modifications concernant des installations de contrôle routier et la conduite de circulation auprès de NAVIGON.
MyRoutes : Ouvre la carte au mode Présentation. Vous obtenez jusqu'à trois propositions différentes pour la poursuite de votre itinéraire. Sélectionnez l'un des itinéraires proposés.
Nouvel itinéraire : efface le point de départ et tous les points d'itinéraire de la fenêtre ITINÉRAIRES ET TRACES GPS, de façon à ce que vous puissiez établir un autre itinéraire. Sauvegardez le cas échéant l'itinéraire précédent !
Parking : lance la recherche de parkings à proximité de la destination. Quand vous avez choisi un parking, vous pouvez y naviguer directement.
Profil d'itinéraire : ouvre la fenêtre PROFIL D'ITINÉRAIRE. Dans cette fenêtre, vous pouvez consulter les options pour le calcul d'itinéraire et les modifier, le cas échéant.
Réglages usine : remet toutes les configurations en l'état de la livraison. Les itinéraires et destinations enregistrés sont supprimés. Le logiciel est redémarré et fonctionne comme au premier démarrage après l'achat (voir « Mettre en marche l'appareil de navigation », page 17).
Renommer : ouvre une fenêtre dans laquelle vous pouvez modifier le nom de la destination ou de l'itinéraire sélectionnés.
Sauvegarde en tant que favoris : sauvegarde la destination indiquée dans la liste FAVORIS. Vous pouvez procéder ici au calibrage de la boussole électronique. (Voir « Enregistrer une destination », page 48)
Simulation : simule une navigation sur l'itinéraire indiqué. Cette simulation peut être réalisée aussi sans réception GPS. Pour les itinéraires à plusieurs étapes, seule la première étape est simulée.
Supprimer destination: supprime la destination selectionnée dans la liste (DESTINATIONS RÉCENTES ou FAVORIS, suivant où vous aviez ouvert les options). Une boîte de dialogue vous demande de valider la suppression.
Supprimer tous : supprime toutes les destinations de la liste (DESTINATIONS RÉCENTES ou FAVORIS, suivant où vous aviez ouvert les options). La liste est alors vide. Une boîte de dialogue vous demande de confirmer la suppression.
8.1 Sélection de la carte de navigation
Chaque pays dispose d'une propre carte de navigation. Une navigation peut être réalisée sans interruption au-delà de plusieurs pays d'un continent quand un itinéraire continu peut être calculé sur les cartes enregistrées.
Même , il ne peut toujours travailler qu'avec les cartes d'un même continent.
Dans la fenêtre NAVIGATION, tapez sur Options > Configurations > Représentation de carte pour visualiser les cartes utilisées momentanément. Vous pouvez sélectionner à cet endroit aussi un autre continent .
8.2 Barre de boutons
Pour la manipulation de la carte, une barre de boutons vous permet d'accéder à toutes les fonctions disponibles.
8.2.1 Barre de boutons statique
La barre de boutons statique est disponible sur la carte aux modes Présentation et Rechercheur destination.
La barre de boutons statique est visible sur le bord inférieur de l'écran.

Précédent : terme la navigation. (Voir « Quitter la navigation », page 74)
Options : ce bouton de commande vous donne accès à de nombreuses fonctions supplémentaires pendant la navigation. (Voir « Options de la carte au mode Navigation », page 73)
Téléphone : ouvre le module mains-libres (seulement NAVIGON 70 Premium | 70 Premium Live). (Voir « Module mains-libres », page 101)
Volume sonore : ouvre le réglage de volume sonore. (Voir « Volume sonore », page 69)
Rechercher destination : ouvre la carte au mode Rechercher destination. (Voir « Carte au mode Rechercher destination », page 74)
8.2.2 Barre de boutons dynamique
Aux modes Standard et Navigation sur la carte, la barre de boutons est masquée. L'écran présente une surface plus dégagée et bien ordonnée.

Avec détecteur de proximité activé :
Approchez votre main de l'écran.
Avec détecteur de proximité désactivé :
Tapez sur un point quelconque de la carte.

Vous trouverez de plus amples informations concernant le détecteur de proximité au chapitre « Détecteur de proximité », page 62.
Sur le bord inférieur de l'écran, la barre de boutons dynamique s'affiche à la place des noms de rues.
Si vous êtes en cours de navigation, la barre Adr. utiles sur la route s'affiche en haut de l'écran. (Voir « Adr. utiles sur la route », page 85)


Précédent : termine la navigation. (Voir « Quitter la navigation », page 74)

Options: Ce bouton de commande vous donne accès à de nombreuses fonctions supplémentaires pendant la navigation. (Voir « Options de la carte en mode Navigation », page 73)

Téléphone: ouvre le module mains-libres (seulement NAVIGON 70 Premium | 70 Premium Live). (Voir « Module mains-libres », page 101)

Volume sonore : ouvre le réglage de volume sonore. (Voir « Volume sonore », page 69)

Rechercher destination : ouvre la carte au mode Rechercher destination. (Voir « Carte au mode Rechercher destination », page 74)
8.3 Détecteur de proximité
Le détector de proximité permet une manipulation de l'appareil de navigation encore plus simple et plus confortable : la barre de boutons n'est affichée que si vous approchez votre main de l'appareil de navigation. Quand vous retirez votre main, la barre s'efface à nouveau au bout de quelques secondes.
Si votre appareil de navigation est un NAVIGON 70 Premium, vous pouvez activer la commande vocale dans la fenêtre NAVIGATION, dans la carte et dans la fenêtre MODULE MAINS-LIBRES par simple toucher du cadre du bouton.
Les impulsions de réaction du détecteur de proximité peuvent être configurées.
Dans la fenêtre NAVIGATION, tapez sur Options > Configurations > Généralités > Utiliser le détecteur de proximité. Réglez la valeur sur Oui. Dans la fenêtre NAVIGATION, tapez sur Options > Configurations > Généralités > Rayon de réaction pour déterminer le rayon à l'intérieur duquel le détecteur doit réagir aux mouvements. Dans la fenêtre NAVIGATION, tapez sur Options > Configurations > Généralités > Vitesse de réaction pour déterminer la vitesse (lenteur) de réaction du détecteur de proximité à l'intérieur de son rayon de réaction.

Des informations concernant les problèmes liés au détecteur de proximité et leurs causes probables sont disponibles dans « Solutions », page 136.
8.4 Carte au mode standard
La carte se trouve toujours en mode Standard quand vous ne naviguez pas, que vous n'avez pas calculé d'itinéraire et ne recherchez pas de destination sur la carte.
Dans les conditions suivantes, la carte passe automatiquement au mode Standard :
- Vous commencez un trajet quand la fenêtre NAVIGATION est ouverte. Le changement s'effectue peu de temps après. Vous avez une destination de navigation au mode Vehicule.
Pour ouvrir la carte : Dans la fenêtre NAVIGATION, tapez sur Afficher carte.

Remarque : si la réception GPS ne suffit pas pour définir votre position actuelle, la carte s'ouvre au mode Rechercher destination.

Cette visualisation présente les caractéristiques typiques suivantes :
Dans le milieu du troisième tiers, votre position actuelle est représentée (flèche orange). La section de carte représentée accompagne votre déplacement de sorte que votre position est toujours visible à l'écran. L'échelle de la carte se modifie suivant votre vitesse.
Options de la carte au mode standard
- Affichez la barre de boutons. (Voir « Barre de boutons dynamique », page 60)
2. Tapez sur

Une fenêtre à plusieurs boutons de commande s'ouvre.
Les fonctions les plus importantes pour la navigation sont accessibles par les boutons de commande à icônes.
Vous trouverez de plus amples fonctions en tapant sur l'un des boutons de commande Destination, Itinéraire, Services ou Généralités.

Au chapitre « Options » à la page 56, vous trouverez une description de toutes les options disponibles.
8.5 Carte au mode présentation
Vous avez entre une destination et tapez sur Démarrer navigation.
-0U-
VoiesétabliouchargeunitinéraireetapesurIndiqueritinéraire.
La carte s'affiche en mode Présentation.

1 Quand la fonction MyRoutes est activée, la carte affiche jusqu'à trois itinéraires numérotés en couleurs différentes (orange, vert, bleu).
Seul un itinéraire est affiché dans les cas suivants :
La fonction MyRoutes est désactivée. Vous avez prévu un itinéraire comportant plus d'une étape. Un profil d'itinéraire avec le profil de vitesse Piéton est activé. L'itinéraire comprend un track.
2 La destination est marquée par un petit drapeau.
Quand vous affichez un itinéraire établi ou chargé, le point de départ et chaque point d'étape sont caractérisés par un petit drapeau.
Lors d'un itinéraire à plusieurs étapes, le trajet ainsi que sa durée présumée sont affichés.
Le bouton de commande (Profil d'itinéraire) affiche le profil d'itinéraire actuel. L'icône symbolise le mode de déplacement correspondant au profil. (Voir « Profils d'itinéraires », page 76)
Tapez sur le symbole pour sélectionner un autre profil d'itinéraire.
La position actuelle est affichée (flèche orange).
Quand vous affichez un itinéraire établi ou chargé, et que le point de départ indiqué n'est pas votre position actuelle, il est possible que votre position actuelle ne soit pas indiquée dans la présentation.
A chaque itinéraire (orange, vert, bleu) correspond un bouton de commande comptant le même numéro et un symbole de la même couleur. Sur chaque bouton de commande, l'heure d'arrivée présumée, le trajet complet et la durée présumée du trajet sont indiqués pour chaque itinéraire.
Quand des informations routières sont disponibles pour un itinéraire, un petit panneau routier affiche alors le nombre des messages sur le bouton de commande. Les perturbations annoncées sont représentées aussi sur l'itinéraire.
L'itinéraire correspondant le mieux au profil d'itinéraire est caractérisé par l'inscription « MyRoute »
Quand la fonction MyRoutes n'est pas activée, seul un itinéraire est alors affiché.
Dès que vous tapez sur un bouton de commande, la navigation démarre sur l'itinéraire correspondant.
Tapez sur le bouton de commande (Profil d'itinéraire) (voir illustr., point 3) pour sélectionner un autre profil d'itinéraire. Pour démarrer la navigation, tapez sur le bouton de commande de l'itinéraire (voir illustr., point 5) que vous désirez utiliser pour la navigation.
Quand vous affichez un itinéraire établi ou chargé, l'itinéraire est éventuellement recalculé. Votre position actuelle est prise en compte comme point de départ. La navigation vous conduit d'abord vers le premier point d'étape indiqué.
- Tapez sur Options > Description d'itinéraire pour visualiser une description détaillée d'itinéraire. Vous pouvez procéder ici au calibrage de la boussole électronique (Voir « Description d'itinéraire », page 93)
- Tapez sur (Rechercheur destination) pour visualiser la carte au mode Rechercheur destination. Vous pouvez procéder ici au calibrage de la boussole électronique (Voir « Carte au mode Rechercheur destination », page 74)
8.6 Carte en mode navigation
La façon dont vous êtes guidé à destination dépend de différents facteurs (profil d'itinéraire sélectionné, position momentanée, type d'itinéraire, etc.). Notre système de navigation sélectionne automatiquement le mode optimal de conduite d'itinéraire.
8.6.1 Navigation au mode véhicule
Après la visualisation de l'itinéraire sur la carte au mode Présentation, la navigation a été démarrée.
La carte s'affiche en mode Navigation.

Quand des informations concernant l'itinéraire à suivre sont disponibles, celui-ci s'affiche sur le bord supérieur de l'écran.
Tapez sur l'affichage pour masquer l'itinéraire.
2 Ouvre la barre Adr. utiles sur la route (voir « Adr. utiles sur la route », page 85). Quand un itinéraire est affiché (voir point 1), ce bouton de commande n'est pas visible.

Une description de la fonction Adr. utiles sur la route est disponible au chapitre « Adr. utiles sur la route » à la page 85.
3 Des limites de vitesse sont indiquées à cet endroit. 4 L'itinéraire est caractérisé en orange.
5 Quand des manœuvres doivent être exécutées rapidement et successivement, le petit champ flèche vous indique la manœuvre à exécuter après la prochaine manœuvre. 6 Le grand champ flèche, affiche une représentation schématique du prochain croisement où vous devez tourner. Au-dessous, la distance jusqu'à ce croisement est indiquée.
Quand vous vous rapprochez du croisement, une représentation en pointillés apparaît en plus de l'indication de distance :



Plus vous vous rapprochez du croisement, plus le nombre de pointillés jaunes augmente.
Si vous n'avez pas à tourner pendant un certain temps, seule une flèche apparait indiquant la distance vous restant à parcourir dans cette direction.
- Tapez sur le grand champ flèche, pour entendre une instruction routière.
Quand une perturbation routière est signalée sur votre itinéraire, le champ Informations routières apparaît.
Quand une indication de distance est affichée dans le champ Informations routières, un itinéraire d'évitement de la perturbation routière n'a pas encore été calculé.
Tapez dans le champ Informations routières pour ouvrir la fenetre PRESENTATION TMC. Elle presente une section de carte avec le tronçon de trajet concerné par l'information.
Si la distance n'est pas indiquée, tous les obstacles signalés sur votre itinéraire et entraînant une perte de temps seront contournés.
Tapez dans le champ Informations routières pour ouvrir la fenêtre INFORMATIONS ROUTIÈRES. Vous pouvez procéder ici au calibrage de la boussole électronique. (Voir « Afficher Informations routières », page 97)

Remarque: le calcul d'itinéraires de contournement d'obstacles routiers signalés peut être réalisé automatiquement. Vous pouvez procéder ici au calibrage de la boussole électronique (Voir « Configurations TMC », page 99)
Quand vous approchez de votre destination, l'écran affiche le bouton de commande Parking.
Quand vous tapez dans le champ Parking, deux possibilités s'offrent à vous :
- Vous pouvez sélectionner un parking depuis lequel vous souhaitez continuer à pied.

Si vous avez déjà garé votre véhicule, vous pouvez enregistrer leur position actuelle et poursuivre la navigation à pied.
Une description de la fonction Parking est disponible au chapitre « Se garer à proximité de la destination » à la page 83.
Quand vous approchez d’un site touristique NAVIGON Sightseeing, le bouton de commande NAVIGON Sightseeing est affiché au lieu de l’altitude au-dessus du niveau de la mer et de la vitesse (point 12). La distance affichée indique la distance à laquelle se trouve le point touristique (à vol d'oiseau).
Quand vous tapez sur NAVIGON Sightseeing, la fenêtre INFORMATIONS SUR LA DESTINATION s'ouvre (voir « Afficher des informations concernant un site touristique NAVIGON Sightseeing », page 89).

Une description de la fonction NAVIGON Sightseeing est disponible au chapitre « NAVIGON Sightseeing » à la page 88.
Avant de nombreux croisements, les informations des points 12 et 13 sont supprimées. À la place, les voies à emprunter vers votre destination sont affichées.
- Tapez sur le champ pour masquer l'information concernant les voies de circulation.
Votre position actuelle est visible sur la carte (flèche orange). Une section de carte en mouvement constant veille à ce que la position actuelle soit toujours représentée sur la carte.
L'altitude au-dessus du niveau de la mer et la vitesse actuelle sont indiquées ici.
Dans le champ Total, vous visualisez la distance restante jusqu'à destination et l'heure d'arrivée présumée.
Tapez sur l'heure d'arrivée si vous désirez visualiser à la place la durée présumée du trajet. Tapez encore sur la boîte infos si vous désirez visualiser à nouveau l'heure d'arrivée présumée.
Si vous naviguez sur un itinéraire comptant plusieurs étapes, la distance restant jusqu'à la destination intermédiaire suivante ainsi que l'heure d'arrivée présumée sont visibles dans le champ Étape.
Tapez sur l'heure d'arrivée si vous désirez visualiser à la place la durée présumée du trajet. Tapez encore sur la boîte_infos si vous désirez visualiser à nouveau l'heure d'arrivée présumée.
Le prochain tronçon de trajet à parcourir est désigné dans le champ supérieur.
Le tronçon de trajet sur lequel vous vous trouvez actuellement est désigné dans le champ de rues inférieur.

Remarque : il est possible de configurer l'affichage de plusieurs des domaines cités ci-dessus en passant par Options > Configurations > Navigation. Certains affichages ne fonctionnent que quand les informations correspondantes sont disponibles dans les cartes.

Remarque : quand vous tapez sur le grand champ flèche, l'instruction routière actuellement valide se répète.

Remarque : quand vous quittez le réseau, la navigation passe au mode Hors-piste. Vous pouvez procéder ici au calibrage de la boussole électronique. (Voir « Navigation au mode Hors-piste », page 73)
- Tapez sur Options > Itinéraire > Description d'itinéraire pour visualiser une description détaillée d'itinéraire. Vous pouvez procéder ici au calibrage de la boussole électronique. (Voir « Description d'itinéraire », page 93)
- Tapez sur (Rechercheur destination) pour visualiser la carte au mode Rechercheur destination. Vous pouvez procéder ici au calibrage de la boussole électronique. (Voir « Carte au mode Rechercheur destination », page 74)
Volume sonore
Le volume sonore des instructions de route vocales peut être réglé pendant la navigation.
- Tapez sur (Volume sonore).
La barre de volume sonore s'affiche. Elle comporte trois boutons de commande pour le réglage du volume sonore :

(Plusfort),

(Moins fort),

(Son Marche/Arrêt).
- Tapez à nouveau sur (Volume sonore) ou attendez quelques secondes.
La barre de volume sonore se referme.
La carteonneu mode Reality View quand pendant le trajet sur une autoroute, vous vous rapprochez d'un des points suivants :
un échangeur d'autoroutes un échangeur à trois branches la sortie à laquelle vous devez quitter l'autoroute

Le mode Reality View affiche très précisément la direction à suivre et les voies à emprunter.
Cet affichage reste inchangé jusqu'à ce que vous ayez dépassé l'endroit indiqué. La carte repasse ensuite au mode Navigation.
- Tapez sur un point quelconque de la carte pour retourner au mode Navigation.

Remarque: le mode Reality View n'est pas disponible pour tous les échangeurs d'autoroutes et échangeurs à trois branches. La disponibilité dépend du matériel cartographique.
8.6.2 Navigation au mode piéton
Ce mode est activé quand vous avez sélectionné un profil d'itinéraire piétons pour la navigation. Vous reconnaissez ces profils au symbole

(Piéton).
Après la visualisation de l'itinéraire sur la carte au mode Présentation, la navigation a été démarrée.
Vous recevez une proposition d'itinéraire calculée sur la base du réseau routier numérique. De plus, la direction de votre destination est indiquée. Si vous quittez l'itinéraire proposé, pour emprunter un chemin agréable à travers un parc, par ex., vous visualisez toutefois la direction dans laquelle se situe votre destination.
Remarquez :
- vous n'obtenez pas d'indications de navigation. Mais un message vous est transmis indiquant que vous approchez de votre destination. La section de carte représentée accompagne votre déplacement, ainsi votre position est toujours visible sur l'écran.
Quand vous quitterez l'itinéraire calculé, le système ne calcule pas automatiquement un nouvel itinéraire. Quand vous naviguez sur un itinéraire et que vous suivez aussi d'autres étapes, la navigation vers l'étape suivante est démarrée immédiatement après votre indication. Les informations routières ne sont pas prises en compte.

Remarque : au mode piéton, veillez à tenir l'appareil dans la main de façon à ce que la partie supérieure de l'appareil reste dégagée. Le récepteur GPS se trouvant à cet endroit, la réception GPS pourrait sinon être gênée.

1 Vous voyez l'échelle de la section de carte représentée. La longueur de la règle de mesure correspond à la distance indiquée. 2 L'itinéraire calculé sur la base du réseau routier numérique est caractérisé en orange. 3 La position actuelle est affichée (flèche orange). Vous visualisez la direction dans laquelle vous vous déplacez. 4 Le trajet que vous avez déjà parcouru est caractérisé en vert. 5 La boussole indique le nord. 6 La direction dans laquelle votre destination se situe est affichée (triangle rouge). 7 Vous visualisez dans ce champ la distance restante jusqu'à destination (distance à vol d'oiseau).
Manipuler la carte

Éloigner : la section de carte représentée est plus vaste, mais elle compte moins de détails.

Zoomer : la section de carte représentée est plus réduite, mais elle compte plus de détails.

Centrer la position : Pendant la navigation piéton, vous pouvez déplacer la section de carte représentée pour visualiser l'environnement de la carte. Il se peut alors que votre position actuelle ne soit plus visible sur la section de carte représentée.
- Tapez sur le bouton de commande Centrer la position, si votre position actuelle n'est plus visible sur la section de carte représentée.
Votre position actuelle est à nouveau indiquée sur la carte.

Recalculer la route : procède à un nouveau calcul d'itinéraire. Utilisez cette fonction quand vous vous êtes beaucoup éloigné de l'itinéraire calculé et que vous désirez obtenir une nouvelle proposition d'itinéraire.
8.6.3 Navigation au mode trace GPS
Ce mode est actif quand vous avez planifié un itinéraire avec track pour la navigation. Vous pouvez procéder ici au calibrage de la boussole électronique. (Voir « Tracks et itinéraires à étapes », page 50)
Après la visualisation de l'itinéraire sur la carte au mode Présentation, la navigation a été démarrée.
La navigation vous conduit d'abord de la position actuelle jusqu'au début du track chargé. Cette navigation correspond à la navigation du profil d'itinéraire sélectionné. (Voir « Navigation au mode Véhicule », page 66, et « Navigation au mode Piéton », page 70)
Dès que le premier point enregistré du track est atteint, la navigation passe au mode Trace GPS.
La navigation au mode Trace GPS fonctionne tout comme la navigation au mode Piéton. Vous pouvez procéder ici au calibrage de la boussole électronique. (Voir « Navigation au mode Piéton », page 70)
Il n'est que quelques différences :
La fonction Recalculer la route n'est pas disponible. Au cas où d'autres étapes suivent, la navigation repasse au mode sélectionné initialement.
8.6.4 Navigation au mode hors-piste

Remarque : ce mode n'est pas actif quand vous avez sélectionné un profil d'itinéraire piétons pour la navigation. Vous reconnaîtrez ces
profil au symbole (Piéton).
Il n'est pas actif non plus quand vous naviguez le long d'un track. Vous pouvez procéder ici au calibrage de la boussole électronique. (Voir « Navigation au mode Trace GPS », page 72)
Si vous indiquez une destination Véhicule jusqu'au point du réseau routier numérique situé le plus près de la destination. À partir de là, la navigation se poursuit au mode Hors-piste.
Si au début de la navigation, la position actuelle est Hors-piste jusqu'au point situé le plus près du réseau routier numérique. Elle se poursuit ensuite au mode Véhicule.
La navigation au mode Hors-piste fonctionne tout comme la navigation au mode Piéton. Vous pouvez procéder ici au calibrage de la boussole électronique. (Voir « Navigation au mode Piéton », page 70)
Il n'existe que quelques différences :
Le chemin parcouru n'est pas représenté. La fonction Recalculer la route n'est pas disponible.
8.6.5 Options de la carte au mode navigation
- Affichez la barre de boutons. (Voir « Barre de boutons dynamique », page 60)

Une fenêtre à plusieurs boutons de commande s'ouvre.
Les fonctions les plus importantes pour la navigation sont accessibles par les boutons de commande à icônes.
Vous trouverez de plus amples fonctions en tapant sur l'un des boutons de commande Destination, Itinéraire, Services ou Généralités.

Au chapitre « Options » à la page 56, vous trouverez une description de toutes les options disponibles.
8.6.6 Quitter la navigation
La navigation se termine de la même façon dans tous les modes :
Tapez sur (Précédent) pour quitter la navigation. Une boîte de dialogue vous demande de valider.
8.7 Carte au mode rechercher destination
La carte se trouve toujours au mode Rechercher destination, quand un réticule y figure. Dans le champ d'adresses, vous trouvez les coordonnées et le cas échéant le nom de la rue au-dessous du réticule.
Pendant la conduite, la carte ne se modifie pas. Elle est toujours orientée pour indiquer le nord en haut.


Éloigner : la section de carte représentée est plus vaste, mais elle compte moins de détails.

Zoomer : la section de carte représentée est plus réduite, mais elle compte plus de détails.

Dimensionner : quand ce bouton de commande est activé, vous pouvez dessiner une section de carte à l'aide d'un crayon ou du doigt.
Dessinez la section de carte d'en haut à gauche à droite en bas, puis elle sera zoomée à la dimension de l'écran.
Dessinez la section de carte d'en bas à droite à gauche en haut, puis elle sera zoomée plus grand.

Déplacer : quand ce bouton de commande est activé, la section de carte représentée peut être modifiée à l'aide du doigt. Déplacez simplement la carte dans la direction souhaitée.

Tout l'itinéraire : zoomez la carte de façon à ce que l'itinéraire soit visible entièrement.

Position actuelle : sélectionne la section de carte représentée de façon à ce que la position actuelle soit située au centre.
8.7.1 Travail au mode rechercher destination
- Tapez sur le point vers lequel vous désirez naviguer.
Le point de destination sur lequel vous avez tapé apparait sous le réticule.
Dans le champ du tiers inférieur de l'écran, les coordonnées géographiques du point d'été et de l'adresse correspondante sont affichées.
- Tapez sur (OK).
Des boutons de commandes à plusieurs fonctions s'affichent.
Naviguer vers ce point : démarre la navigation vers le point sélectionné. Si vous vous trouvez en cours de navigation, celle-ci est annulée.
MYReport : ouvre la fenêtre MYREPORT. Vous pouvez y signaler des modifications concernant des installations de contrôle routier et la conduite de circulation auprès de NAVIGON.
Destination intermédiaire : indique le point sélectionné en tant qu'étape intermédiaire. La navigation vous conduit d'abord à cette étape intermédiaire. Vous pouvez ensuite poursuivre la navigation vers sa destination initiale.
Cette fonction n'est disponible que si vous vous trouvez en cours de navigation.
Ajouter à l'itinéraire : ajoute le point sélectionné en tant que dernière étape de l'itinéraire, de sorte que la conduite vers ce point d'étape se base sur la destination d'origine ou sur les autres étapes.
Enregistrer : ouvre la fenêtre ENREGISTRER DESTINATION SOUS. Vous pouvez entrer une désignation sous laquelle le point indiqué est sauvegardé dans la liste FAVORIS. Vous pouvez procéder ici au calibrage de la boussole électronique. (Voir « Enregistrer une destination », page 48)
Dans les environ : ouvre la fenetre ADRESSE UTILE À PROXIMATE. Vous pouvez rechercher dans celle-ci des destinations situées à proximé du point indiqué. Vous pouvez procéder ici au calibrage de la boussole électronique. (Voir « Adresse utile à proximé », page 37)
- Tapez sur (Précédent) pour quitter le mode Rechercher destination. Vous retrouverez alors la fenêtre à partir de laquelle vous avez démarré ce mode.
9.1 Profils d'itinéraires
Les profils routiers définissent les caractéristiques et particularités des différents types de locomotion à prendre en compte lors du calcul d'itinéraires. Un profil d'itinéraire pour les vélos, par ex., ne tiendra pas compte des autoroutes mais des routes interdites à d'autres véhicules. De plus, les heures d'arrivée pour un vélo différent de ceux pour une moto, par ex.
9.1.1 Réglages des profils d'itinéraires
Un profil d'itinéraire comprend différents règles :
Profil de vitesse : définit le mode de locomotion (Vélo, Piéton, Voiture,... par ex.). Type d'itinéraire : définit le type d'itinéraire à calculer (l'itinéraire court, l'itinéraire rapide,... par ex.). - Prendre en compte les informations routières : définit la prise en considération ou non d'informations routières lors du calcul de l'itinéraire. Autoroutes, Ferries, Voies réservées aux riverains : définit l'utilisation ou non de ce type de voie de circulation. Emprunt de routes à péages : définit l'utilisation ou non de voies de circulation à vignettes ou à péage lors du calcul de l'itinéraire.
Tapez sur la commande

(Modifier).
La fenêtre Emprunt de routes à péages s'ouvre.
Adaptez les différentes options à vos besoins (Oui, Non, Demander à chaque fois). (Voir aussi « Configurer le système de navigation », page 129).
Quand vous activez la configuration Demander à chaque fois, il vous est demandé à chaque fois de définir la/les configuration(s) correspondante(s) quand votre itinéraire peut vous conduire via une route à vignette obligatoire ou à péage.
À chaque configuration correspond un bouton de commande

(Aide). Tapez sur celui-ci pour obtenir une explication de la configuration correspondante.
Le nombre des configurations possibles dépend du profil de vitesse sélectionné. Pour le profil Piéton, les configurations Autoroutes et Emprunt de routes à péages n'existent évidemment pas.
9.1.2 Profils de base NAVIGON
Pour tout profil de vitesse, un profil de base est déjà défini.

Vélo

Pieton

Camion

Moto

Voiture
Le profil de vitesse d'un profil de base ne peut être modifié. Vous pouvez par contre adapter les autres configurations à vos besoins.
Il n'est possible, ni d'attribuer un nouveau nom à un profil de base, ni de le supprimer.
Vous sousezerez vos propres profils d'itinéraires à la fin disposer de différents profils pour plusieurs camions, par ex.
9.1.3 Créer un nouveau profil d'itinéraire
Vous pouvez créer vos propres profils d'itinéraire. Ceci présente un intérêt quand vous possédez deux camions, par exemple, et que seul un des deux est doté d'une vignette pour les autoroutes étrangères.
- Tapez sur Options > Configurations.
Quand la carte est ouverte au mode Standard, tapez alors sur Options > Généralités > Configurations.
- Tapez sur le bouton de commande (Profil d'itinéraire actuel). Sur ce bouton de commande, un autre symbole peut se couvrir représenté aussi.
- Tapez sur le nom du profil d'itinéraire devant vous servir de base pour le nouveau profil.
- Tapez sur Options > Copier.
- Entrez un nom pour le profil d'itinéraire.
- Tapez sur Enregistrer.
- Adaptez le profil d'itinéraire à vos besoins.
- Tapez sur OK.
Le nouveau profil d'itinéraire est affiché dans la liste PROFILS D'ITINÉRAIRES.
9.1.4 Sélectionner les profils d'itinéraire
- Tapez sur Options > Configurations > (Profil d'itinéraire actuel). Quand la carte est ouverte au mode Standard, tapez alors sur Options > Itinéraire > Profil d'itinéraire actuel :
- Tapez sur le nom du profil d'itinéraire que vous désirez utiliser.
- Tapez sur (Précédent).
9.1.5 Administrer les profils d'itinéraire
Les profils d'itinéraire peuvent être modifiés, supprimés et un nouveau nom peut leur être attribué.
Modifier le profil d'itinéraire
- Tapez sur Options > Configurations.
Quand la carte est ouverte au mode Standard, tapez alors sur Options > Généralités > Configurations.
- Tapez sur le bouton de commande
Sur ce bouton de commande, un autre symbole peut être représenté aussi.

(Profil d'itinéraire actuel).
- Tapez sur le bouton de commande
bouton de commande que vous désirez modifier.
(Modifier), à côté du profil
- Déterminez les options de route.
- Tapez sur OK.
La configuration Emprunt de routes à péages comprend différentes options. Pour chaque pays à autoroutes à vignette obligatoire, vous pouvez définir l'utilisation ou non de ces voies de circulation, par exemple.
- Tapez sur ce bouton de commande

Modifier à côté du
réglage Emprunt de routes à péages.
La fenêtre EMPRUNT DE ROUTES À PÉAGES s'ouvre.
- Adaptez les différentes options à vos besoins (Oui, Non, Demander à chaque fois).
Quand vous activez l'option Demander à chaque fois, il vous sera demandé - à chaque fois que la présentation d'itinéraire sélectionne une route à péage - si vous désirez utiliser le type correspondant de routes à péage. Vous pouvez définir cette option aussi pour des futurs trajets.
Renommer un profil d'itinéraire
- Tapez sur Options > Configurations.
Quand la carte est ouverte au mode Standard, tapez alors sur Options > Généralités > Configurations.
- Tapez sur le bouton de commande (Profil d'itinéraire actuel). Sur ce bouton de commande, un autre symbole peut se cacher et être représenté aussi.
- Tapez sur le nom du profil d'itinéraire que vous désirez renommer.
- Tapez sur Options > Renommer.
- Saisissez la nouvelle désignation pour le profil d'itinéraire.
- Tapez sur Enregistrer.

Remarque : il n'est pas possible d'attribuer un nouveau nom à un profil de base.
Supprimer le profil d'itinéraire
- Tapez sur Options > Configurations.
Quand la carte est ouverte au mode Standard, tapez alors sur Options > Généralités > Configurations.
- Tapez sur le bouton de commande (Profil d'itinéraire actuel). Sur ce bouton de commande, un autre symbole peut se couvrir représenté aussi.
- Tapez sur le nom du profil d'itinéraire que vous désirez supprimer.
- Tapez sur Options > Supprimer.
- Une boîte de dialogue vous demande de confirmer la suppression.
- Tapez sur Oui.

Remarque : les profils de base ne peuvent être supprimés.
9.2 Mypois : mes adresses utiles
Vous pouvez créer des fichiers contenant vos propres adresses utiles. Ces fichiers doivent être disponibles à votre système de navigation dans un dossier défini.
Si vous désirez sélectionner vos propres adresses utiles pour la navigation, vous trouvez celles-ci dans les adresses utiles de la catégorie MyPOIs. Tout fichier contenant des propres adresses utiles est listé en tant que sous-catégorie. Toute sous-catégorie peut être caractérisée par une icône de votre création permettant de représenter vos destinations sur la carte.
Navigon 70 premium, navigon 70 premium live:
L'appareil de navigation peut enregistrer 10 000 adresses utiles au maximum. Ces destinations doivent être réparties en 40 sous-catégories au maximum.
Navigon 70 plus:
L'appareil de navigation peut enregistrer 1 000 adresses utiles au maximum. Ces destinations doivent être réparties en 40 sous-catégories au maximum.
9.2.1 Créer ses propres destinations
- Ouvrez un document vierge dans un éditeur pouvant enregistrer les fichiers codés UTF8 (MS Notepad, Microsoft Word, par ex.).

Remarque : la description suivante est basée sur l'utilisation de MS Notepad en tant qu'éditeur. En cas d'utilisation d'un autre éditeur, l'enregistrement et la codification UTF-8 du fichier (point 4-9) peuvent varier par rapport à cette description.
- Créez pour chaque destination une phrase de données (une ligne) sous la forme suivante :
- Longitude. Saisissez d'abord le signe moins, si vous désirez entrer une longitude occidentale. La longitude doit être r une latitude méridionale. La latitude doit être indiquée en tant que nombre decimal, le caractère de séparation decimal doit être un point. Virgule (en tant que caractère de séparation de liste)
- Nom de la destination. Le nom est de libre choix mais ne doit pas contenir de virgule. Au cas où une virgule ne pourrait être évitée, placez un slash ('/') avant la virgule. Virgule (en tant que caractère de séparation de liste) PHONENUMBER= Un numéro de téléphone. Cette donnée n'est pas obligatoire. Signe de répétition
- Une information supplémentaire. Cette donnée n'est pas obligatoire. Enter (pour commencer une nouvelle phrase de données)
La phrase de données ne doit pas obligatoirement contenir l'adresse. Elle est affichée automatiquement quand vous sélectionnez cette destination pour la navigation.
Example :
9.94302,49.79906, NAVIGON AG, PHONENUMBER = +49 931~Best Navigation Devices
- Répétez l'étape 2 pour chaque destination que vous désirez enregistrer dans ce fichier.
- Cliquez sur Fichier > Enregistrer.
- Sélectionnez le dossier dans lequel vous désirez enregistrer le fichier.
- Dans le champ Type de fichier, sélectionnez l'option Tous les fichiers.
- Dans le champ Nom de fichier, entrez un nom de votre choix, suivi de '. csv', 'XYZ. csv', par ex. Remarquez que le nom du fichier apparait en tant que sous-catégorie dans le système de navigation! Si vous enregistrez un fichier sous le nom 'XYZ. csv', les destinations de ce fichier apparaisent alors dans le fichier de la sous-catégorie XYZ.
- Dans le champ Codage, sélectionnez l'option UTF-8.
- Tapez sur Enregistrer.
9.2.2 Icônes pour vos propres adresses utiles
Pour toute sous-catégorie de vos propres adresses utiles, vous pouvez créer une icône permettant de représenter les destinations de cette sous-catégorie sur la carte.
Ces icônes doivent être des fichiers graphiques possédant les caractéristiques suivantes :
Format de fichier bmp (Bitmap) ou png (Portable Network Graphic) Taille max. 40x25 pixels
Les fichiers graphiques doivent être enregistrés dans le même dossier que les fichiers comptant les adresses utiles.
Le nom du fichier doit être le même que celui de la catégorie.
Example :
Les destinations de la sous-catégorie XYZ sont enregistrées dans le fichier 'XYZ.csv'. Ils sont représentés sur la carte par l'icône 'XYZ.bmp'.
9.2.3 PoI-import : transmette les propres adresses utiles à l'appareil de navigation
Les fichiers créés par vous, comptant vos propres adresses utiles ainsi que les icônes correspondantes doivent être encore transmises à l'appareil de navigation. Effectuez cette opération confortablement à l'aide du logiciel NAVIGON Fresh que vous pouvez télécharger gratuitement sur le site www~-~.
9.3 Captures d'écran
Vouvez la possibilité de créer et enregistrer des captures d’écran de tout contenu d’écran représenté.
9.3.1 Permettre les captures d'écran
- Dans la fenêtre NAVIGATION, tapez sur Options > Configurations > Généralités > Permettre les captures d'écran.
- Sélectionnez la possibilité de captures d'écran (Oui) ou (Non).
Le bouton de commande (Captures d'écran) apparaît en bas à droite de l'écran.
9.3.2 Créer des captures d'écran
Tapez sur le bouton de commande (Captures d'écran).
L'écran est enregistré en tant que graphique. Le bouton de commande (Captures d'écran) n'est pas représenté sur l'illustration.
Les captures d'écran sont enregistrées dans le dossier \ScreenShots. On trouve ce dossier soit dans la mémoire interne de l'appareil de navigation sur la carte mémoire insérée ou dans les deux mémoires.
Tout trajet effectué, quel qu'il soit, peut être enregistré, même s'il se trouve hors du réseau routier numérique.
Vous pouvez enregistrer une randonnée à vélo, par ex. et effectuer à nouveau ce trajet une autre fois.
Les tracks sont enregistrés au format KML. KML est un format de données très répandu. Vous pouvez afficher vos tracks aussi dans Google Earth sur votre PC, par ex.
Enregistrer un track
Vous pouvez enregistrer un track quand la carte est ouverte au mode Navigation ou au mode Standard.
- Tapez sur Options > Services > Démarrer l'enregistrement. La fenêtre DEMARRER L'ENREGISTREMENT s'ouvre.
- Entrez un nom pour l'enregistrement prévu.

Remarque : pour la désignation de tracks, seize lettres latines sont disponibles. 3. Tapez sur Démarrer l'enregistrement.
À partir de votre position actuelle, l'appareil de navigation enregistre alors entièrement le trajet effectué.
Pendant l'enregistrement, l'icône (Enregistrement trace GPS) est visible en haut à droite de l'écran.
Le trajet enregistré est sauvegardé dans la liste ITINÉRAIRES ET TRACES GPS ENREGISTRÉS au format de données KML. Depuis cette liste, il peut être chargé à tout moment ultérieurement.
Quitter un enregistrement
- Tapez sur Options > Services > Arrêter l'enregistrement.
L'enregistrement se termine. Le trajet se trouve enregistré dans la liste ITINÉRAIRES ET TRACES GPS ENREGISTRÉS au format de données KML. À partir de cette liste, il peut être chargé une nouvelle fois à tout moment.

Remarque: l'enregistrement d'un track est seulement interrompu par la mise à l'arrêt de l'appareil de navigation. Si vous désirez stopper l'enregistrement, vous devez obligatoirement procéder comme décrit ci-dessus.
Utiliser un track pour la navigation
Il est possible de charger les tracks dans le cadre d'une planification d'itinéraire. Vous pouvez procéder ici au calibrage de la boussole électronique. (Voir « Charger l'itinéraire ou le track », page 52)

Remarque : tous les tracks enregistrés dans le format KML peuvent être intégrés à un itinéraire. Utilisez NAVIGON Fresh pour charger sur votre système de navigation les tracks d'autres fournisseurs.

Remarque : les messages TMC entrants quand vous naviguez le long d'un track enregistré ne sont pas contrôlés pour savoir s'ils concernent le track.
9.5 Se garer à proximité de la destination
Quand vous approchez de votre destination, l'écran affiche le bouton de
commande (Parking). Ce bouton de commande reste visible même après que vous ayez atteint votre destination, tant que vous vous trouvez à proximité de la destination et que la carte n'est pas fermée.
Les situations suivantes sont prévisibles :
Poursuivre à pied
Vous trouvez un parking, garez-vous véhicule et désirez continuer à pied en direction de votre destination.
- Tapez sur le bouton de commande (Parking).
- Tapez sur Mode piéton.
Le message suivant s'affiche : « Notre position actuelle a été enregistrée. Vous trouvez celle-ci dans la liste des 'Favoris' sous 'Mon véhicule'. Ceci vous permet de retrouver toujours facilement votre véhicule. »
- Tapez sur OK.
Sur la carte, la position actuelle de votre véhicule est caractérisée par un petit drapeau avec une étoile.
La navigation se poursuit en mode Piéton jusqu'à destination.
Vous désirez être conduit à un parking à proximité de votre destination. À partir de là, vous choisissez de continuer à pied jusqu'à destination.
- Tapez sur le bouton de commande (Parking).
- Tapez sur Parking à proximité de la destination.
Une liste s'affiche. Elle contient les parkings possibles classés selon l'éloignement par rapport à votre destination.
- Tapez sur le parking sur lequel vous souhaitez garer votre véhicule. D'autres informations concernant ce parking sont affichées.
- Tapez sur Ajouter.
- La navigation vous guide alors jusqu'au parking dans le mode correspondant au profil d'itinéraire sélectionné. Quand vous êtes arrivé, le message suivant : « Votre position actuelle a été enregistrée. Vous trouverez celle-ci dans la liste des 'Favoris' sous 'Mon véhicule'. Ceci vous permet de retrouver tous les jours facilement votre véhicule. » s'affiche.
- Tapez sur OK.
Sur la carte, la position actuelle de votre véhicule est caractérisée par un petit drapeau avec une étoile.
La navigation se poursuit en mode Piéton jusqu'à destination.
Retour à destination
Vous avez atteint votre destination. La navigation est terminée. Pour une raison ou une autre, vous avez toutefois poursuivi la route car vous n'avez pas trouvé d'endroit où vous arrêter, par ex.. Vous souhaitez maintenant être reconduit à destination.
- Tapez sur le bouton de commande (Parking).
- Tapez sur Dernière destination.
La navigation vous guide alors à la destination initiale dans le mode correspondant au profil d'itinéraire sélectionné.
Certains parkings sont caractérisés par une petite astérisque (par ex.
D'autres informations sont disponibles pour ces parkings, comme par exemple, les heures d'ouverture, ou le nombre de places de parking pour personnes handicapées et pour femmes.
Ces informations sont disponibles pour des possibilités de parking de plus en plus nombreuses. Vous pouvez obtenir facilement des mises à jour régulières de ces informations au moyen du logiciel
NAVIGON Fresh. Vous pouvez télécharger NAVIGON Fresh depuis le site web www.navigon.com/fresh.
9.6 À Proximité
Pendant la navigation ou si vous avez ouvert la carte au-dessus du bouton de commande Afficher carte, vous pouvez afficher une liste des adresses utiles, des favoris et informations routières pour la section de carte visible.

Remarque : cette fonction n'est pas disponible quand la carte est ouverte à un des modes Rechercher destination, Présentation, ou Reality View.
- Tapez sur une icône de la carte représentant une adresse utile, un favori ou une information routière. La liste À PROXIMATE s'affiche. Elle contient toutes les adresses utiles, tous les favors ou toutes les informations routières situés dans un rayon proche du point sur lequel vous avez tape.
- Tapez sur une option de la liste pour obtenir de plus amples informations.
Les possibilités suivantes sont à votre disposition :
Tapez sur Destination intermédiaire pour définir le point sélectionné comme destination intermédiaire. La navigation vous conduit d'abord à cette étape intermédiaire. Vous pouvez ensuite poursuivre la navigation vers votre destination initiale. Le bouton de commande Destination intermédiaire n'est disponible que pendant une navigation. Tapez sur Démarrer navigation pour naviguer vers le point désiré. Tapez sur Annuler pour retourner la liste.
9.7 MyBest POI: adresses utiles sur la route

Remarque : cette fonction n'est disponible qu'au cours d'une navigation en mode Véhicule (voir « Navigation en mode Véhicule », page 66).
Vous pouvez définir 3 catégories d'adresses utiles pour la fonction Adr. utiles sur la route. Au cours de la navigation, vous pouvez indiquer rapidement et sélectionner en tant que destination intermédiaire les adresses utiles situées sur votre itinéraire et correspondant à une de ces catégories.
9.7.1 Afficher les adresses utiles sur votre itinéraire
- Tapez sur le bouton de commande (Adr. utiles sur la route) indiqué en haut à gauche dans la carte (voir point 2 dans «Navigation au mode Véhicule», page 66).
La barre Adr. utiles sur la route apparait.

Elle présente les icônes des 3 catégories d'adresses utiles indiquées. Pour chaque catégorie, la distance jusqu'à l'adresse utile suivante est indiquée. De plus, la signalisation sur l'itinéraire indique la situation de l'adresse utile dans le sens de la marche à droite ( ) ou à gauche ( ).

Remarque : la barre Adr. utiles sur la route se referme au bout de quelques secondes.
Si la barre doit rester ouverte, tapez sur le bouton de commande (Fixer). Le bouton de commande se modifie en (Fixé).
- Tapez sur une des catégories pour afficher une liste d'autres adresses utiles de cette catégorie. La liste ADR. UTILES SUR LA ROUTE s'affiche.

Le bord supérieur de l'écran affiche des icônes de la catégorie dont les adresses utiles sont disponibles. L'icône de la catégorie sélectionnée du moment est mise en valeur.
- Tapez sur l'icône de la catégorie dont vous souhaitez afficher les adresses utiles. 2 La liste contient les 5 adresses utiles suivantes de votre itinéraire dans la catégorie indiquée et classées en ordre décroissant selon la distance (à vol d'oiseau). L'adresse utile suivante se trouve donc en dernière option de la liste. 3 Commande vocale: Ouvre la fenêtre COMMANDE VOCALE dans laquelle vous pouvez lancer la recherche d'adresses utiles par commande vocale, (voir aussi « Commande vocale », page 27).

Remarque: si la commande vocale n'est pas disponible dans la langue de l'interface utilisateur, le bouton de commande vocale est désactivé.
4 Pour chaque adresse utile de la liste, de plus amples informations peuvent être affichées.
- Tapez sur le bouton de commande i (Info) situé à droite de l'adresse utile (voir aussi « Informations concernant la destination », page 41). Sur le bord gauche de l'écran, l'itinéraire et votre position actuelle sont représentés schématiquement. Les signalisations sur l'itinéraire indiquent la distance des destinations listées par rapport à votre position. Les signalisations rouges indiquent la position dans le sens de la marche à droite ( ) ou à gauche ( ) de la destination concernée.
9.7.2 Naviguer vers une des destinations
Dans la liste, tapez sur l'adresse utile vers laquelle vous désirez naviguer.
La destination sélectionnée est ajoutée en tant que destination intermédiaire. Le système calcule l'itinéraire à nouveau. APRÈS que l'on a atteint la destination intermédiaire, la navigation est poursuivie vers la destination initiale.
9.7.3 Définir les catégories
Vous pouvez configurer les 3 catégories ou sous-catégories devant être disponibles pour les adresses utiles sur l'itinéraire.
- Dans la liste ADR. UTILES SUR LA ROUTE, tapez sur Configurations. La fenêtre CONFIGURATIONS : ADR. UTILES SUR LA ROUTE s'ouvre.
- Tapez sur le bouton de commande (Leste) situé après la catégorie que vous désirez modifier.
La liste des catégories d'adresses utiles s'affiche.
Quand il existe des sous-catégories pour une catégorie, le bouton de commande (Liste) s'affiche à nouveau à gauche de cette-ci. Tapez sur le bouton de commande pour afficher les sous-catégories.
- Sélectionnez une catégorie.
- Tapez sur OK. La fenêtre CONFIGURATIONS : ADR. UTILES SUR LA ROUTE s'ouvre.
- Tapez sur OK.
- La liste ADRESSES UTILES SUR LA ROUTE s'affiche. Si pour la catégorie nouvellement sélectionnée, des adresses utiles existent sur l'itinéraire, celles-ci sont déjà affichées dans la liste.
- Tapez sur (Précédent) pour refermer la liste. La carte s'affiche.
9.8 Navigon sightseeing
Les sites touristiques NAVIGON Sightseeing représentent une catégorie spéciale d'adresses utiles. Vous pouvez vous faire indiquer ces sites touristiques quand vous vous en approchez.

Remarque : les remarques ne sont possibles que lors d'une navigation ou quand la carte est ouverte au mode Standard.
Activer les remarques sur les sites touristiques navigon sightseeing
Vous pouvez configurer un signalement ou non de sites touristiques NAVIGON Sightseeing et, le cas échéant, le mode de celui-ci.
- Dans la fenêtre NAVIGATION, tapez sur Options > Configurations > Navigation > Info concernant les destinations 'NAVIGON Sightseeing'.
- Sélectionnez l'une des configurations suivantes :
Non: les sites touristiques NAVIGON Sightseeing ne vous seront pas signalés. Seulement à l'écran : quand vous vous approchez d'un site touristique NAVIGON Sightseeing, le bouton de commande 222 m (NAVIGON Sightseeing) s'affiche sur la carte, vous permettant d'ouvrir la fenêtre INFORMATIONS SUR LA DESTINATION.
Info vocale pour les destinations importantes : pour les sites touristiques de rayonnement suprarégional, une description est
| lue dés que le bouton de commande 222m (NAVIGON Sightseeing) apparait.
• Info vocale pour toutes les destinations : pour tous les sites touristiques de la catégorie, une description est lue dés que le bouton de commande 222m (NAVIGON Sightseeing) apparait. |
| Remarque : vous pouvez obtenir facilement des informations particulièrement détaillées pour tout site touristique NAVIGON Sightseeing au moyen du logiciel NAVIGON Fresh. Vous pouze télécharger NAVIGON Fresh depuis le site web www.navigon.com/fresh. |
| Remarque : les descriptions ne peuvent pas été lues dans toutes les langues. Dans ce cas, les deux configurationsInfo vocale pour les destinations importantes et Info vocale pour toutes les destinations ne sont pas disponibles. |
| Remarque : pendant une navigation au mode Piéton, vous n'obtenez un signalement que si votre destination est une destination NAVIGON Sightseeing et que vous vous approchiez de cette destination. |
- Vous avez configuré le système afin d'être informé des sites touristiques par NAVIGON Sightseeing (voir « Activer les remarques sur les sites touristiques NAVIGON Sightseeing », page 88). La carte est ouverte au mode Navigation ou au mode Standard.
Quand vous approchez d'un site touristique NAVIGON Sightseeing, le
bouton de commande 222 m (NAVIGON Sightseeing) apparait sur la carte. Il indique la distance jusqu'à la destination (à vol d'oiseau). Suivant la configuration, une description de la destination est lue.
▶ Tapez sur le bouton de commande 222 m (NAVIGON Sightseeing).
La fenêtre INFORMATION SURE LA DESTINATION s'ouvre. En plus d'une description, elle renferme aussi des informations supplémentaires telles, adresse, numero de téléphone ou horaires d'ouverture, par ex. Les possibilités suivantes sont à votre disposition :
Tapez sur la commande i (Info vocale) pour démarrer ou stopper la lecture de la description. Tapez sur le bouton de commande (Afficher sur la carte) pour afficher le site touristique sur la carte. Tapez sur le bouton de commande (Enregistrer destination) pour enregistrer le site touristique dans la liste FAVORIS. - Tapez sur la représentation du site touristique pour afficher l'image au mode plein écran.
Tapez à nouveau sur l'image pour referer le mode plein écran.
Au cours d'une navigation : tapez sur Destination intermédiaire pour ajouter le site touristique en tant que destination intermédiaire. Quand une navigation n'est pas en cours : tapez sur Démarrer navigation pour démarrer la navigation vers cette destination. - Tapez sur Fermer pour refermer la fenêtre INFORMATIONS SUR LA DESTINATION et retourner à la visualisation de carte.
9.9 Itinéraires à visites
Itinéraires à visites sont des itinéraires prédéfinis incluant des destinations d'excursions aux paysages intéressants ou à caractère culturel ou touristique, classés selon différentes catégories.

Remarque : le logiciel de navigation ne compte qu'un nombre limite de visites de sites touristiques. Vous pouvez acquérir une mise à jour de plus de 100 visites de sites touristiques via NAVIGON Fresh. Vous pouvez télécharger gratuitement le logiciel NAVIGON Fresh à partir du site web www.navigon.com/fresh.
- Dans la fenêtre NAVIGATION, tapez sur Options > Itinéraires à visites.
La fenêtre ITINERAIRES A VISITES s'ouvre.
- Indiquez le pays dans lequel vous désirez rechercher des circuits touristiques (voir « Indiquer pays de destination », page 32).
- Indiquez la catégorie dans laquelle vous désirez trouver un itinéraire.
La liste NOM s'affiche. Elle contient par ordre alphabétique les itinéraires pour la catégorie indiquée.
- Tapez sur le nom de l'itinéraire.
La fenêtre INDICATIONS DÉTAILLÉES RELATIVES À L'ITINÉRAIRE s'ouvre.
Elle affiche le nom de l'itinéraire, la longueur de l'itinéraire, la durée présumée du trajet ainsi qu'une courte description de l'itinéraire.
- Tapez sur Info pour obtenir une description détaillée de l'itinéraire.
Tapez sur Fermer pour ouvrir à nouveau la fenêtre Indications DétailLées Relatives à l'Itinéraire.
Sur le bouton de commande Commencer par..., il est indiqué le point d'itinéraire auquel l'itinéraire commence.
Le premier : Depuis votre position actuelle vous êtes guidé vers le point de départ prévu du circuit touristique. Puis, la navigation commence sur le circuit sélectionné. Le + proche : depuis votre position actuelle, vous êtes guidé vers le point de départ le mieux adapté au circuit touristique sélectionné. Là, la navigation commence sur le circuit sélectionné.
Le point de départ le mieux adapté est représenté par
pour un circuit touristique, l'étape la plus proche. pour un type de voyage, le point d'arrivée le plus proche (départ ou arrivée) de l'itinéraire.
- Tapez sur Commencer par... pour sélectionner l'autre configuration correspondante.
- Tapez sur Planifier un itinéraire.
La fenêtre ITINÉRAIRES ET TRACES GPS s'ouvre (voir aussi « Tracks et itinéraires à étapes », page 50).
Là, vous pouvez obtenir un aperçu des différentes étapes sur le circuit sélectionné ainsi que de l'ordre de visite des étapes sur le parcours.

Remarque : le listing des points d'itinéraire dans la fenêtre ITINÉRAIRES ET TRACES GPS n'a qu'un but d'orientation. Là, vous ne pouvez ni modifier l'ordre des points d'itinéraire, ni effacer ou ajouter de nouveaux points d'itinéraire.
Tapez sur Indiquer itinéraire.
La carte s'ouvre au mode Présentation et vous pouvez démarrer la navigation sur l'itinéraire.

Remarque : des informations détaillées concernant le démarrage de la navigation et la carte au mode Présentation sont disponibles au chapitre « Carte au mode Présentation », page 64.
9.10 Aide d'urgence
Quand vous arriverez sur les lieux d'un accident ou que vous avez une panne, il est souvent nécessaire d'appeler vite à l'aide et de pouvoir communiquer la position actuelle à votre interlocuteur.
Dans la fenêtre NAVIGATION, tapez sur Options > Aide d'urgence.
Si vous êtes en cours de navigation :
Tapez sur Options > Services > Aide d'urgence.
La fenêtre AIDE D'URGENCE s'ouvre.
Dès que la réception GPS est suffisante pour le calcul de position, l'adresse et les coordonnées géographiques de votre position actuelle momentanée sont affichées.

- Tapez sur (Afficher sur la carte) si vous désirez visualiser cette position actuelle sur la carte.
Les boutons de commande pour 4 catégories : station-service, commissariat de police, hôpital, pharmacie sont situés dans la partie inférieure de la fenêtre.
Tapez sur la commande correspondante.
Le service d'assistance de la catégorie sélectionnée le plus proche est affiché. Le nom, l'adresse, le numéro de téléphone (le cas échéant), la distance et la direction dans laquelle le poste d'assistance se situe vous sont communiqués.
Les possibilités suivantes sont à votre disposition :
- Tapez sur le bouton de commande Carte pour visualiser la destination sur la carte. Vous pouvez ainsi à tout moment obtenir un aperçu du trajet.
- Tapez sur Démarrer navigation. Vous serez alors conduit directement vers le service d'assistance indiqué. À l'aide des boutons de commande (Vers le haut) et (Vers le bas), vous pouvez sélectionner d'autres pos d'assistance de la catégorie sélectionnée.
Les postes d'assistance sont classés suivant l'éloignement par rapport à votre position momentanée.
En passant par le bouton de commande (Précédent), vous retournez à la fenêtre AIDE D'URGENCE.

Remarque : seuls sont indiqués les postes d'assistance situés dans un rayon de 50 km ajusté de votre position actuelle.
9.11 État GPS, enregistrer la position actuelle
Dans la fenêtre ÉTAT GPS, vous trouvez un aperçu des données que le système de navigation a calculées à partir des signaux GPS captés. Il est possible d'accéder à l'objet GPS par les options de différentes fenêtres.
Tapez sur Options > État GPS. La position actuelle peut être enregistrée dans la liste FAVORIS.
- Tapez sur Enregistrer position. La boîte de dialogue ENREGISTRER DESTINATION SOUS s'ouvre.
- Entrez un nom de destination.
- Tapez sur Enregistrer.
9.12 Bloquer
Pendant la navigation, vous pouvez à tout moment bloquer un tronçon situé sur votre itinéraire, c'est-à-dire faire calculer un itinéraire contournant ce tronçon, ayant appris par la radio par ex., la présence d'un embouteillage sur ce tronçon.

Remarque : le blocage n'est valide que pour la navigation en cours. Lors d'une nouvelle navigation, il n'est plus en fonction.
Vous êtes en cours de navigation. La carte est ouverte au mode Navigation.
- Tapez sur Options. Des boutons de commandes à plusieurs fonctions s'affichent.
- Tapez sur Bloquer. Le menu BLOUER s'affiche. Il renferme des boutons de commande avec différentes indications de distances.
- Indiquez la distance que vous désirez bloquer.

Remarque : si vous vous trouvez momentanément sur une autoroute, l'itinéraire d'évitement commence à la prochaine sortie. Les boutons de commande indiquent le point de jonction jusqu'à quel le blocage est valable.
Le système calcule l'itinéraire à nouveau. Le tronçon bloqué est contourné. Il est caractérisé sur la carte (en rouge).
Débloquer
Tapez sur Options > Débloquer.
Le blocage est éliminé. Le système calcule l'itinéraire à nouveau. Le tronçon dont le blocage a été éliminé peut à nouveau être intégré aux calculs.
9.13 Description d'itinéraire
Avant de démarrer la navigation, ou à tout moment en cours de navigation, vous pouvez afficher une description détaillée de l'itinéraire calculé. Dans cette liste, toutes les instructions de conduite sont représentées sous forme de tableau.
La carte est ouverte au mode Présentation :
Tapez sur Options > Description d'itinéraire.
La carte est ouverte au mode Navigation ou au mode Reality View :
Tapez sur Options > Itinéraire > Description d'itinéraire.
La fenêtre DESCRIPTION D'ITINÉRAIRE s'ouvre.

1 Représentation schématique du prochain carrefour où vous devez tourner. 2 Distance jusqu'à ce carrefour. 3 Instruction de conduite et le cas échéant nom de la rue dans laquelle vous devez tourner. 4 Indique votre choix d'emprunter ou non le tronçon d'itinéraire correspondant.
(Autoriser) : la section correspondante peut être incluse dans l'itinéraire.
(Interdire) : l'itinéraire ne doit pas inclure ce tronçon.
Bloquer tronçons d'itinéraire
- Tapez sur les sections d'itinéraire par lesquelles vous ne désirez pas passer pour faire apparaître près de celles-ci l'icône

(Interdire).
- Tapez sur (Modifier l'itinéraire).
Le système de navigation calcule un itinéraire de contournement des tronçons d'itinéraire. La fenêtre DESCRIPTION D'ITINÉRAIRE affiche les nouvelles instructions de conduite.
- Tapez sur (Précédent) pour refermer la fenêtre DESCRIPTION D'ITINÉRAIRE.
Débloquer et utiliser l'itinéraire d'origine
Il est possible à tout moment de débloquer des tronçons.
Dans la fenêtre DESCRIPTION D'ITINÉRAIRE, tapez sur Options > Calculateur l'itinéraire initial.
Grâce à son récepteur TMC intégré, votre système de navigation dispose d'informations routières actuelles. Il peut, en cas de besoin, modifier lui-même l'itinéraire pour, par ex., contourer un embouteillage.

Remarque : dans de nombreux pays d'Europe, TMC est disponible gratuitement. Dans quelques pays, Premium TMC payé est proposé (exclusivement ou en supplément) et promet une plus grande rapidité et une meilleure actualité.
Vous pouvez contracter un abonnement aux services Premium TMC par le biais de notre site www.~.com.
9.14.1 Présentation TMC
Quand pendant la navigation, une nouvelle information routière apparait concernant votre itinéraire, un bouton de commande Informations routières s'affiche à droite de votre écran.
Nouveau calcul : automatiquement
Si pour la configuration Nouveau calcul vous avez sélectionné Automatiquement, alors le bouton de commande ne contient pas d'indication de distance. La perturbation routière sera automatiquement contournée si, impliquant une difficulté limite, elle permet d'obtenir un gain de temps. Autrement, elle sera ignorée.
Nouveau calcul: sur demande
Si vous avez sélectionné Sur demande, alors la distance jusqu'à l'obstacle routier signalé est indiquée sur le bouton de commande. Le bouton de commande est rouge quand la distance est inférieure à 50 km.
Tapez sur le bouton de commande 19 km (Informations routières).
La fenêtre PRÉSENTATION TMC s'ouvre. Elle affiche une section de carte complétant une partie du trajet concerné par l'information. Si l'information laisse supposer une perte de temps considérable, une possibilité de contournement est alors indiquée.


Éloigner : la section de carte représentée est plus vaste, mais elle compte moins de détails.

Zoomer : la section de carte représentée est plus réduite, mais elle compte plus de détails.

Section de carte initiale : la section de carte initiale est représentée à nouveau.
Tapez sur le bouton de commande de l'itinéraire que vous désirez suivre. -OU- Tapez sur le bouton de commande Détails.
La fenêtre INFORMATIONS ROUTIÈRES s'ouvre. Vous pouvez procéder ici au calibrage de la boussole électronique. (Voir « Afficher Informations routières », page 97)

Remarque : quand vous tapez sur un symbole routier (sur l'illustration :
(4) dans la section de carte de la fenêtre PRÉSENTATION TMC, une fenêtre s'ouvre renfermant des informations détaillées relatives à cette information. Vous pouvez procéder ici au calibrage de la boussole électronique. (Voir « Afficher en détail un message individuel », page 99)
Nouveau calcul: sur demande
Quand vous avez sélectionné le point Sur demande, alors le bouton de commande peut apparaître aussi en couleur verte. Dans ce cas, il n'existe plus d'obstacle routier à contourner.
- Tapez sur le bouton de commande (Informations routières).
La fenêtre PRÉSENTATION TMC s'ouvre (voir ci-dessus). Vous pouvez vous faire reconduire sur l'itinéraire initial ou continuer sur l'itinéraire de déviation.
Les informations routières en vigueur momentanément sont accessibles par les options de plusieurs fenêtres.
Dans la fenêtre NAVIGATION, tapez sur Options > Circulation.
La fenêtre INFORMATIONS ROUTIÈRES s'ouvre.
A l'aide des boutons de commande (Vers le haut) et (Vers le bas), vous pouvez feuilleter la liste des messages. - Tapez sur (Précédent) pour refermer la fenêtre INFORMATIONS ROUTIÈRES.

1 A l'icône TMC, vous pouvez reconnaître que les messages listed proviennent des stations de radios. Si vous receivez les informations routières par les services NAVIGON Live, l'icône Traffic Live s'affiche à cet endroit. (Voir « Informations routières », page 22)
2 Le bouton de commande Informations routières indique le type d'informations routières listées et le nombre d'informations de ce type disponibles.
- Tapez sur Informations routières pour déterminer les informations routières devant être affichées.
Cette marque indique que le message concerné provient d'un fournisseur TMC Premium.
Une marque semblable s'affiche aussi quand le message en question provient des services NAVIGON Live.
Vous visualisez ici l'ampleur de la perturbation :
Rouge : le tronçon concerné n'est pas accessible ou une perte considérable de temps doit être prise en compte (plus de 30 minutes). Ceci peut être le cas lors du barragage de plusieurs voies à la suite d'un accident, par ex.
Jaune : le tronçon n'est pas inaccessible en raison de la perturbation, mais il faut s'attendre à des retards (10-30 minutes). Ceci peut être le cas, lors de la circulation ralentie, par ex.
Pas de couleur : l'obstacle est classé parmi les perturbations secondaires. Ceci peut être le cas, quand une circulation ralentie est signalée sur un court tronçon, quand des postes d'appels d'urgence se trouvent hors service ou quand l'accès à certains parkings est bloqué.
5 Vous visualisez ici la distance à laquelle vous vous trouvez de cette perturbation. Si la perturbation n'est pas située sur votre itinéraire ou si un itinéraire de contournement a déjà été calculé pour cette perturbation, seule la distance à vol d'oiseau est indiquée. 6 Vous visualisez ici le pays dans lequel la perturbation a lieu.

Remarque : la plupart des stations de radio signalent uniquement les perturbations routières à l'intérieur de leur pays.
7 La perturbation signalée est représentée en tant que panneau routier. 8 Vous visualisez ici la section de trajet sur lequel la perturbation apparaît.
9 Le système de navigation peut Contourner ( ) ou Ignorer ( ) des perturbations sur l'itinéraire. Le bouton de commande indique le statut correspondant. Tapez sur le bouton de commande pour sélectionner l'autre configuration.
La route concernée s'affiche ici.

(Afficher sur la carte) : ce bouton n'est disponible que lorsqu'un message affiché concerne votre itinéraire. Tapez sur ce bouton commande pour ouvrir la fenêtre PRÉSENTATION TMC. Vous pouvez coder ici au calibrage de la boussole électronique. (Voir presentation TMC, page 95)
9.14.3 Afficher en détail un message individuel
Tapez sur un message pour obtenir qu'il soit affiché en détaill.

Le système de navigation lit l'information routière correspondante quand la fenêtre de détail s'ouvre. La lecture à haute voix n'est toutefois pas disponible dans toutes les langues.

Remarque : il est possible de configurer la lecture vocale. Tapez sur Options > Configurations > Généralités > Lire les informations routières et définissez une lecture vocale ou non des messages TMC (Oui ou Non).
Tapez sur le bouton de commande pour visualiser la section concernée sur

(Afficher sur la carte) pour
- Dans la fenêtre INFORMATIONS ROUTIÈRES, tapez sur Configurations. Dans la fenêtre CONFIGURATIONSTMC, vous pouvez programmer et configurer l'émetteur TMC pour définir l'influence ou non sur votre itinétaire d'une information routière concernant votre itinétaire.
Mode tuning
Tapez sur Mode tuning et déterminez la configuration de l'émetteur destiné à recevoir les informations routières.
Automatique: à l'aide des boutons de commande à flèches dans le domaine de l'émetteur, vous pouvez programmer un autre émetteur. Le système cherche un autre émetteur quand la réception se détériore. Garder station : à l'aide des boutons de commande à flèches dans le domaine de l'émetteur, vous pouvez programmer un autre émetteur. Le système cherche le même émetteur sur une autre fréquence quand la réception se détériore. Garder fréquence : à l'aide des boutons à flèches dans le domaine de l'émetteur, vous pouvez régler une autre fréquence. L'émetteur ne cherche pas d'autre émetteur quand la réception se détériore.
Nouveau calcul
Tapez sur Nouveau calcul et définissez la manière dont les nouvelles informations routières concernant votre itinéraire doivent être prises en considération.
Automatique : un itinéraire de contournement est calculé automatiquement. Vous serez informé du nouveau calcul d'itinéraire. Sur demande : un message parlé de l'appareil de navigation vous signale une information concernant votre itinéraire. Sur l'écran, le
champ Informations routières indique la distance jusqu'à la perturbation annoncée.
Tapez sur le champ Informations routières. Vous pouvez définir alors le calcul d'un itinéraire de déviation.
9.15 Carnet de route
Vous pouvez demander à votre appareil de navigation de tenir un carnet de route. Le carnet de route est enregistré dans le fichier « Logbook.xls ». Il peut être ouvert via Microsoft Excel. Dans ce fichier, tout itinéraire enregistré est reporté en tant que nouvelle option en fin de tableau.
Le fichier « Logbook.xls » est créé dans le répertoire « NAVIGON\Logbook », lors du premier enregistrement d'un itinéraire. Si vous supprimez ou déplacez ce fichier, un nouveau fichier sera généré lors du prochain enregistrement d'un itinéraire.
Faire enregistrer les trajets
Vous pouvez faire enregistrer automatiquement tous les trajets.
- Dans la fenêtre NAVIGATION, tapez sur Options > Configurations > Navigation.
- Configurez Carnet de route sur Oui.
- Tapez sur OK.
À partir de maintenant, tout trajet sera enregistré jusqu'à ce que vous configuriez à nouveau Carnet de route sur Non. Vous pouvez toutefois exclure certains trajets de l'enregistrement.

Le système de navigation enregistre aussi des trajets quand vous ne naviguez pas. La condition en est bien sûr que le système de navigation soit en marche et qu'il reçoive les signaux GPS.
Avant de prendre la route
Si vos trajets sont enregistrés dans le carnet de route, une fenêtre s'ouvre avant le départ, vous permettant d'entrer les indications nécessaires concernant ce trajet. Mais vous pouvez décider aussi de ne pas enregistrer ce trajet et configurer le réglage en conséquence.
Si vous ne souhaitez pas enregistrer ce déplacement, tapez sur

-0U-
- Dans le champ Motif du déplacement, tapez une des raisons possibles du voyage.
- Dans le champ Entrée dans le carnet, entrez un nom pour cette option, par ex. « Visite au client X »
- Tapez sur Kilométrage au compteur
- Entrez le kilométrage de votre véhicule.
- Tapez sur Démarrer.
Ce chapitre ne vous concerne que si votre appareil de navigation compte parmi les appareils suivants :
NAVIGON 70 Premium NAVIGON 70 Premium Live
L'appareil de navigation dispose d'un module mains-libres soutenant les connexions Bluetooth vers les téléphones mobiles adaptés à Bluetooth et les casques d'écoute. Il peut être connecté en même temps à deux téléphones mobiles ou être relié à un casque d'écoute.
Quand vous avez établi une liaison avec un téléphone mobile, vous pouvez utiliser l'appareil de navigation en tant que dispositif mains-libres pour votre téléphone mobile.
Quand vous avez établi une liaison avec un casque d'écoute Bluetooth, les commandes vocales du logiciel de navigation vous sont transmises par le casque. Ceci est utile, si vous vous déplacez en moto, par exemple. Toutes les autres fonctions décrites dans ce chapitre ne sont pas disponibles lors d'une connexion avec un casque.

Une liste de compatibilité de tous les téléphones mobiles supportés est disponible sur notre site web www.navigon.com.
Ouvrir le module mains-libres
Dans l'application de navigation, tapez sur (Téléphone). La fenêtre MODULE MAINS-LIBRES s'ouvre.
Quand vous démarrez le module mains-libres pour la première fois, une fenêtre s'ouvre dans laquelle vous pouvez lancer la recherche d'appareils adaptés à bluetooth.
- Tapez sur Oui si vous lancez maintenant la recherche et désirez établir une connexion avec votre téléphone mobile ou votre casque. Dès que l'appareil de navigation a détecté votre appareil bluetooth, vous pouvez établir la liaison (voir « Jumeler un appareil », page 104).
- Tapez sur Non si vous désirez établir la liaison à un moment ultérieur. (Voir chapitre « Rechercher et jumeler les appareils bluetooth », page 103)
Éléments du module mains-libres
Toutes les fonctions sont accessibles à partir de la fenêtre MODULE MAINS-LIBRES.

1 Affichage d'état du module mains-libres. Cet affichage d'état est visible aussi dans le logiciel de navigation. (Voir « Bluetooth / Téléphone », page 23) 2 Les boutons de commande Téléphone 1 et Téléphone 2 servent à la sélection du téléphone activé. (Voir « Activer votre téléphone mobile », page 107)
Le bouton de commande du téléphone momentanément activé est représenté de façon enfoncée (ici: Téléphone 1). Le nom du téléphone activé apparaît à côté des boutons de commande.
Ces boutons de commande peuvent avoir plusieurs couleurs :
- Vert, quand un téléphone mobile est connecté en tant que « Téléphone 1 » ou en tant que « Téléphone 2 ». Orange, quand aucun téléphone mobile n'est connecté.
Quand le module mains-libres est connecté à un casque, le bouton de commande (Casque bluetooth) apparait.
3 Boutons de commande sélection rapide (voir « Numéro rapide », page 116). 4 Retourne à la fenêtre ouverte en dernier. Quand vous appuyez sur ces commandes, vous retournez à l'application de navigation. 5 Ouvre la fenêtre APPAREILS BLUETOOTH FIABLES. Vous pouvez configurer dans celle-ci les appareils connectés au module mains-libres. (Voir « Connecter un appareil », page 105) 6 Positionne l'application de navigation au premier plan.
De plus, les boutons de commandes à inscription suivants sont visibles :
Clavier : ouvre le clavier sur lequel vous pouvez composer les numéros de téléphone. (Voir « Sélectionner un numéro de téléphone », page 112)
Annuaire : ouvre l'annuaire du téléphone activé. (Voir « Appeler un numéro de l'annuaire téléphonique », page 112, et « Naviguer vers un contact de l'annuaire téléphonique », page 115)
Liste d'appels: ouvre la liste d'appels du téléphone activé.(Voir « Appeler un des derniers correspondants », page 113)
Commande vocale: ouvre la fenêtre COMMANDE VOCALE dans laquelle vous pouvez réaliser un appel par commande vocale. (Voir « Appeler par commande vocale », page 111)

Remarque : Quand aucune connexion Bluetooth n'est établie vers un téléphone mobile, ou si la commande vocale pour la langue de l'utilisateur n'est pas disponible, le bouton de commande Configurations est affiché au lieu du bouton de commande Commande vocale.
10.1 Connexion au téléphone mobile
Afin de pouvoir utiliser le module mains-libres de l'appareil de navigation, celui-ci doit être connecté à un appareil bluetooth au moins.

Remarque : aussi bien l'appareil de navigation que le téléphone mobile doivent être configurés de façon à ce qu'une connexion bluetooth puisse être établie entre les deux appareils. Les casques sont configurés de façon adaptée à l'usine.
Des informations concernant la configuration de l'appareil de navigation sont disponibles au chapitre « Configurations » à la page 117.
Des informations concernant la configuration du téléphone mobile ou du casque sont disponibles dans le manuel correspondant du fabricant.
10.1.1 Rechercher et jumeler les appareils bluetooth
Le jumelage désigne le procédé par lequel deux appareils bluetooth établissent une connexion codée. À cet effet, les deux appareils doivent se transmettre réciproquement le même code. Le code et les données de connexion sont enregistrés sur les deux appareils de sorte que l'on ne doit partager au jumelage qu'une fois lors de la première connexion. Les appareils jumelés sont enregistrés dans la liste APPAREILS BLUETOOTH FIABLES.
L'appareil de navigation peut se connecter automatiquement avec l'appareil connecté en dernier lieu dès qu'il se trouve dans le champ d'accès.
Le module mains-libres de l'appareil de navigation peut enregistrer et administrer les données de connexion de 4 téléphones mobiles jumelés et d'un casque. Pour chaque téléphone mobile jumelé, l'annuaire
L'annuaire alphabétique et la liste d'appels peuvent être importés et enregistrés avec les données de connexion.

Remarque: l'annuaire téléphonique et la liste d'appels ne sont disponibles que si le téléphone correspondant est connecté. Des informations concernant l'import de l'annuaire téléphonique et de la liste d'appels sont disponibles aux chapitres « Importer annuaire », page 108 et « Importer liste d'appels », page 109.
Rechercher les appareils
- Assurez-vous que bluetooth est activé aussi bien sur le téléphone mobile que sur l'appareil de navigation. Si vous désirez établir une connexion avec un casque, il doit être mis en marche. De plus amples informations sont disponibles dans le manuel du casque.
- Dans la fenêtre MODULE MAINS-LIBRES, tapez sur (Appareils bluetooth fiables).
La fenêtre APPAREILS BLUETOOTH FIABLES s'ouvre.
- Tapez sur Options > Rechercher les appareils.
L'appareil de navigation lance la recherche d'appareils bluetooth et liste tous les appareils détectés dans la fenêtre APPAREILSDETECTES. L'icône à gauche du nom de l'appareil indique que l'appareil est un téléphone mobile ou un casque.
Jumeler un appareil
- Dans la fenêtre APPARELS DETECTÉS, tapez sur le bouton de commande ou sur le nom de l'appareil vers lequel vous désirez étabir une connexion.
Si un jumelage a déjà été réalisé avec 4 téléphones mobiles ou un casque, il vous est demandé alors de supprimer un appareil de la liste APPAREILS BLUETOOTH FIABLES. (Voir « Supprimer un appareil », page 107) 5. L'appareil de navigation vous demande d'entrer un code. Quand vous établissez une connexion avec un téléphone mobile, entrez alors un code (1 à 16 chiffres) dans le champ Code et tapez sur (OK). Entrez alors le même code dans le téléphone mobile. Quand vous établissez une connexion avec un téléphone mobile, entrez alors le code du casque. Ce code et d'autres informations concernant le jumelage sont disponibles dans le manuel du casque. Le jumelage est réalisé et les deux appareils se connectent. L'appareil connecté s'affiche dans la liste APPAREILS BLUETOOTH FIABLES. (Symbole vert)
10.1.2 Jumeler un appareil à partir du téléphone mobile

Remarque: si vous n'êtes pas sûr de la façon de procéder aux étapes suivantes, veuillez consulter le manuel du téléphone mobile.
- Assurez-vous que Bluetooth est activé aussi bien sur le téléphone mobile que sur l'appareil de navigation. Pour que le jumelage puisse être réalisé à partir du téléphone mobile, les fonctions Visible pour les autres et D'autres peuvent se connecter doivent être activées aussi sur l'appareil de navigation.
Vous pouvez procéder ici au calibrage de la boussole électronique (Voir « Configurer le module mains-libres », page 116)
- Sur votre téléphone mobile, procédez à la recherche d'autres appareils Bluetooth.
L'appareil de navigation est détecté en tant que NAVIGON.
- Établissez une connexion vers l'appareil détecté NAVIGON.
Le téléphone mobile vous demande d'entrer un code.
- Entrez un code (1 à 16 chiffres).
L'appareil de navigation vous demande d'entrer un code.
- Dans le champ Code, entrez le même code que sur le téléphone mobile et tapez sur (OK).
Le jumelage est réalisé et les deux appareils se connectent.
L'appareil connecté s'affiche dans la liste APPAREILS BLUETOOTH FIABLES.
Si le nouvel appareil est un casque, le symbole s'affiche en vert à droite de son nom. Le cas échéant, la connexion vers le téléphone mobile est coupée. Si le nouvel appareil est un téléphone mobile, un des deux symboles apparaît en vert à droite de son nom, suivant qu'il est connecté en tant que Téléphone 1 ou Téléphone 2.
10.1.3 Connecter un appareil
« Connecter » désigne toute connexion établie après la première connexion entre des appareils bluetooth. Dans ce cas, il n'est pas nécessaire d'entrer un code.
- Assurez-vous que bluetooth est activé sur votre appareil de navigation.
Si vous désirez vous connecter avec un téléphone mobile, assurez-vous que bluetooth est activé sur le téléphone mobile et que les configurations « Visible pour les autres » et « D'autres peuvent se connecter » sont activées.

Remarque : la dénomination exacte de ces configurations peut varier d'un fabricant à l'autre. De plus amples informations sont disponibles dans le manuel de votre téléphone mobile.
Si vous désirez vous connecter avec un casque, assurez-vous que celui-ci est en marche.
Quand une connexion bluetooth est en cours avec un appareil, il n'est pas nécessaire de supprimer d'abord cette connexion avant d'établir une connexion avec un autre appareil. La connexion en cours sera coupée automatiquement dès que vous engagerez une connexion vers un autre appareil.
- Dans la fenêtre MODULE MAINS-LIBRES, tapez sur (Appareils bluetooth fiables).
La fenêtre APPAREILS BLUETOOTH FIABLES s'ouvre. Les appareils connectés momentanément sont caractérisés par un symbole vert situé à droite de leur nom. Les appareils non connectés sont caractérisés par des symboles oranges.
- Etablissez la connexion Bluetooth :
- Tapez sur le symbole (Connector) pour établi . La connexion vers un casque ou vers un appareil déjà connecté en tant que « Téléphone 1 » est coupée. Tapez sur le symbole 2 (Connector) pour connecter le téléphone mobile correspondant en tant que « Téléphone 2 ». La connexion vers un casque ou vers un appareil déjà connecté en tant que « Téléphone 2 » est coupée.
Le symbole correspondant passe au vert. L'appareil de navigation établit la connexion avec l'appareil sélectionné.
- Tapez sur (Précédent) pour retourner à la fenêtre MODULE MAINS-LIBRES.
Si le téléphone que vous désirez connecter n'est pas dans la liste, il est possible de lancer une recherche d'appareils Bluetooth. (Voir « Rechercher et jumeler les appareils Bluetooth », page 103)

Remarque : l'appareil de navigation doit être enregistré dans les configurations bluetooth de votre téléphone mobile en tant que « autorisé » ou « appareil autorisé » afin de permettre une connexion automatique (le terme exact peut varier d'un fabricant à l'autre). De plus amples informations sont disponibles dans le manuel de votre téléphone mobile.
Quand l'appareil avec lequel vous désirez établir une connexion se trouve être l'un des deux appareils de la connexion précédente, et que la configuration Rétablir la dernière connexion est activée, alors la connexion sera établie automatiquement lorsque l'appareil se trouvera dans le champ de connexion.
10.1.4 Activer votre téléphone mobile
Quand le module mains-libres est connecté à deux téléphones mobiles, vous pouvez sélectionner dans la fenêtre MODULE MAINS-LIBRES le téléphone devant être activé.
Si vous souhaitez faire un appel, celui-ci sera réalisé via le téléphone activé. Les appels entrants et les SMS du téléphone inactif seront toutefois signalés et peuvent être réceptionnés.
La liste d'appels et l'annuaire du téléphone inactif ne sont pas disponibles.
Vous ne pouvez activer qu'un téléphone connecté.
Tapez sur le bouton de commande 1 (Téléphone 1) ou 2 (Téléphone 2) pour activer le téléphone mobile correspondant.
Le bouton de commande du téléphone momentanément activé est représenté de façon enfoncée. Le nom du téléphone activé apparait à droite des boutons de commande.
Quand un téléphone mobile n'est pas encore connecté en tant que « Téléphone 1 » ou « Téléphone 2 », alors le symbole apparait en orange sur le bouton de commande correspondant. Quand vous tapez dessus, la fenêtre APPAREILS BLUETOOTH FIABLES s'ouvre. Elle vous permet de connecter un téléphone mobile avec un module mains-libres. (Voir « Connecter un appareil », page 105)
10.1.5 Supprimer un appareil
Vous pouvez supprimer les données de connexion d'appareils jumelés. L'appareil ne s'affiche alors plus dans la liste APPAREILS BLUETOOTH FIABLES. Si vous aviez importé un annuaire téléphonique et/ou une liste
d'appels à partir de cet appareil, ces données seront supprimées de l'appareil de navigation.
- Dans la fenêtre MODULE MAINS-LIBRES, tapez sur (Appareils bluetooth fiables).
La fenêtre APPAREILS BLUETOOTH FIABLES s'ouvre.
- Tapez sur Options > Supprimer un appareil.
La fenêtre SUPPRIMER UN APPAREIL s'ouvre.
- Tapez sur le bouton de commande (Supprimer un appareil), à droite de l'appareil que vous désirez supprimer.
Il vous est demandé de valider la suppression.
- Tapez sur Supprimer.
L'appareil est supprimé de la liste APPAREILS BLUETOOTH FIABLES.
10.1.6 Importer annuaire
Pour tout téléphone mobile jumelé de la liste APPAREILS BLUETOOTH FIABLES, son annuaire téléphonique peut être importé aussi et enregistré avec les données de connexion. On ne peut avoir accès à l'annuaire téléphonique d'un téléphone mobile que si l'appareil de navigation est connecté avec le téléphone mobile à partir duquel il a été importé. Dès que vous vous connectez avec un autre téléphone ou que vous coupez la connexion, l'annuaire n'est plus disponible dans le module mains-libres.
- Dans la fenêtre MODULE MAINS-LIBRES, activez le téléphone mobile dont vous désirez importer l'annuaire. (Voir « Activer votre téléphone mobile », page 107)
- Dans la fenêtre MODULE MAINS-LIBRES, tapez sur Annuaire.
L'import de l'annuaire téléphonique est lancé. Selon la taille de l'annuaire, cela peut demander un certain temps. Quand l'import est terminé, l'annuaire s'ouvre.

Remarque : le système importe 1000 articles maximum depuis l'annuaire du téléphone mobile.

Remarque: suivant la taille de l'annuaire, l'importation de celui-ci peut demander un certain temps. Pendant ce temps, vous pouvez placer l'application bluetooth en arrêté-plan pour afficher la carte pendant une navigation, par ex. pour afficher une carte pendant la navigation. Tapez sur En arrêté-plan dans la fenêtre qui est affichée pendant l'importation pour permettre la navigation en avant-plan.
Modifier et actualiser l'annuaire téléphonique
L'annuaire ne peut pas être modifié dans le module mains-libres. Si vous désirez modifier ou supprimer une option dans votre annuaire, vous devez effectuer les modifications sur votre téléphone mobile, puis actualiser l'annuaire dans le module mains-libres. Lors de l'actualisation, l'annuaire est importé à nouveau.
- Dans la fenêtre MODULE MAINS-LIBRES, activez le téléphone mobile dont vous désirez importer l'annuaire. (Voir « Activer votre téléphone mobile », page 107)
- Dans la fenêtre MODULE MAINS-LIBRES, tapez sur Annuaire. L'annuaire téléphonique du téléphone mobile activé s'ouvre.
- Tapez sur Options > Actualiser. L'import de l'annuaire téléphonique est lancé.

Remarque : il n'est possible de supprimer entièrement l'annuaire téléphonique qu'en supprimant aussi le téléphone mobile de la liste APPAREILS BLUETOOTH FIABLES, (voir « Supprimer un appareil », page 107). Au cours de cette opération, toutes les données de connexion, l'annuaire téléphonique et la liste d'appels sont supprimés de sorte que vous devez procéder à un nouveau jumelage après la suppression pour pouvoir établir une connexion avec l'appareil.

D'autres informations concernant l'annuaire téléphonique sont disponibles au chapitre « Appeler un numéro de l'annuaire téléphonique » à la page 112.
10.1.7 Importer liste d'appels
Toute liste d'appels de tout téléphone mobile de la liste APPAREILS BLUETOOTH FIABLES peut être importée et enregistrée avec les données de connexion. On ne peut avoir accès à l'annuaire téléphonique d'un téléphone mobile que si l'appareil de navigation est connecté avec le téléphone mobile à partir duquel il a été importé. Dès que vous vous connectez avec un autre téléphone ou que vous coupez la connexion, la liste d'appels sur le module mains-libres n'est plus disponible.

Remarque : le système importe 20 articles maximum depuis la liste d'appels du téléphone mobile.
- Dans la fenêtre MODULE MAINS-LIBRES, activez le téléphone mobile dont vous désirez importer la liste d'appels. (Voir « Activer votre téléphone mobile », page 107).
- Dans la fenêtre MODULE MAINS-LIBRES, tapez sur Liste d'appels. L'import de la liste d'appels est lancé. Quand l'import est terminé, la liste d'appels s'affiche.
10.2 Prendre une communication
Quand un appel est signalé, la fenêtre ENTRÉE D'APPEL s'ouvre.
L'affiche du titre indique le téléphone connecté sur lequel l'appel arrive.
Si les informations correspondantes sont disponibles, le nom et le numéro du correspondant s'affichent. (Si le numéro du correspondant s'affiche mais qu'il n'est pas enregistré dans l'annuaire téléphonique, à la place du nom, l'indication Correspondant inconnu s'affiche. Si le numéro de téléphone est masqué, l'indication Correspondant anonyme s'affiche).
Tapez sur Accepter si vous souhaitez prendre la communication.
La fenêtre APPEL EN COURS s'ouvre.
Tapez sur Ignorer si vous ne souhaitez pas prendre la
communication.

Remarque : les instructions de navigation pendant un entretien sont régées sur le mode muet.
10.3 Recevoir des SMS
Le module mains-libres peut signaler l'entrée de courts messages (SMS).
Quand un SMS est signalé, un signal sonore se déclenche et la fenêtre NOUVEL SMS s'ouvre. La ligne de titre indique le téléphone connecté sur lequel se trouve le message.
Si les informations correspondantes sont disponibles, le nom et le numéro du correspondant s'affichent. (Si le numéro de l'expéditeur s'affiche mais que celui-ci n'est pas enregistré dans l'annuaire téléphonique, à la place du nom, l'indication Correspondant inconnu s'affiche. Si le numéro de téléphone est masqué, l'indication
Correspondant anonyme s'affiche.)
Tapez sur Lire, si vous désirez lire le SMS maintenant.
La fenêtre SMS s'ouvre. Le texte du message peut être lu.

Remarque : le système de navigation lit aussi le message à haute voix si la fenêtre correspondante est ouverte. La lecture à haute voix n'est toutefois pas disponible dans toutes les langues.
Tapez sur Annuler, si vous désirez lire le SMS ultérieurement.

Remarque : vous pouvez définir aussi le non-signalement immédiat d'un SMS. (Voir « Configurations », page 117)
Mais il est possible à tout moment d’ouvrir la liste des SMS entrés et vérifier l’entrée de nouveaux SMS. (Voir « Ouvrir la boîte de réception », page 115)
10.4 Appeler
Avec le module mains-libres, il est possible de réaliser un appel de plusieurs façons.
10.4.1 Appeler par commande vocale
La commande vocale est particulièrement confortable pour réaliser un appel par commande vocale.
- Dans la fenêtre MODULE MAINS-LIBRES, activez le téléphone mobile sur lequel vous désirez réaliser un appel. (Voir « Activer votre téléphone mobile », page 107)
- Dans la fenêtre MODULE MAINS-LIBRES, tapez sur Commande vocale.
-0U-
Dans la fenêtre NAVIGATION, dans la carte et le cas échéant dans la fenêtre MODULE MAINS-LIBRES, agitez brièvement la main près de l'écran de l'appareil de navigation. Dès que vous éloignez votre main de l'écran, un son de validité se fait entendre une fois.
Dites alors « Appeler »
La fenêtre COMMANDE VOCALE s'ouvre.
Entrer un numéro d'appel
- Dites « Numéro d'appel »
Prononcez le numéro que vous désirez appeler.

Remarque : vous devez entrer les numérios séparément, pouvez toutefois indiquer plusieurs numérios dans un bloc. Dites, par ex. « neuf-quatre-trois-trois », si vous désirez entrer le bloc de numérios 9433.
- Attendez l'apparition des numéros entrés.
Répétez les étapes 3 à 4 jusqu'à ce que le nombre d'appel complet soit indiqué à l'écran. Dites « Correction », quand la première entrée n'a pas été comprise.
- Dites « Appeler »
Le numéro indiqué est composé.
Appeler un numéro de l'annuaire
- Dites « Annuaire »
- Dites le nom du contact que vous souhaitez appeler.
Quand plusieurs options ont été détectées comme correspondant à ce nom, une liste présentant ces options s'affiche.
Dites le chiffre précédent le contact que vous désirez appeler.
| Si plusieurs numérios de téléphone sont enregistrées pour ce contact, une liste s'affiche相对较ient tous ces numérios.
► Dites le chiffre précédant le numéro de téléphone que vous désirez appeler.
La communication téléphonique s'établit. |
| 10.4.2 | Remarque: la fonction Commande vocale n'est pas disponible pour toutes les langues. Quand elle n'est pas disponible, le bouton de commande Configurations et non le bouton de commande Commande vocale apparait dans la fenêtre MODULE MAINS-LIBRES. |
| 10.4.3 | Sélectionner un numéro de téléphone
1. Dans la fenêtre MODULE MAINS-LIBRES, activez le téléphone mobile sur lequel vous désirez réaliser un appel. (Voir « Activer votre téléphone mobile », page 107)
2. Dans la fenêtre MODULE MAINS-LIBRES, tapez sur Clavier.
La fenêtre NUMERO D'APPEL s'ouvre.
3. Entrez le numéro de téléphone désiré.
4. Tapez sur le bouton de commande Appeler. |
| Sélectionner un numéro rapide
4 boutons de commande Numéro rapide sont disponibles. Ces boutons de commande peuvent être configurés séparément pour chaque téléphone mobile connecté.
1. Dans la fenêtre MODULE MAINS-LIBRES, activez le téléphone mobile sur lequel vous désirez réaliser un appel. (Voir « Activer votre téléphone mobile », page 107)
2. Dans la fenêtre MODULE MAINS-LIBRES, tapez sur la commande à numéro rapide correspondante. |
| 10.4.4 | Remarque: si le bouton de commande numéro rapide n'a pas encore été configuré, il ne présente que trois points (...) Quand vous tapez dessus, la fenêtre MODIFIER NUMERO RAPIDE s'ouvre. (Voir « Numéro rapide », page 116) |
| Appeler un numéro de l'annuaire téléphonique
Vous pouvez composer des numérios depuis l'annuaire téléphonique du téléphone mobile activé.
1. Dans la fenêtre MODULE MAINS-LIBRES, activez le téléphone mobile sur lequel vous désirez réaliser un appel. (Voir « Activer votre téléphone mobile », page 107)
2. Dans la fenêtre MODULE MAINS-LIBRES, tapez sur Annuaire. |
Si l'annuaire téléphonique du téléphone activé n'a pas encore été importé, l'import est alors démarré. (Voir « Importer annuaire », page 108)
- Sélectionnez le contact que vous désirez appeler à partir de l'annuaire.
La fenêtre OPTION SELECTIONNEE DE L'ANNUAIRE TÉLÉPHONIQUE s'ouvre. Tous les numérios de téléphone et adresses enregistrés pour le contact sélectionné y sont indiqués.
- Tapez sur le bouton de commande (Appeler) situé à côté du numéro de téléphone que vous désirez composer.
10.4.5 Appeler un des derniers correspondants
La liste D'APPELS contient les appels sortants, reçus, et non réceptionnés du téléphone activé.

Remarque : Les appels entrants et non réceptionnés ne peuvent être sélectionnés que si le numéro d'appel de votre correspondant a été transmis.
- Dans la fenêtre MODULE MAINS-LIBRES, tapez sur Liste d'appels.
Si la liste d'appels du téléphone activé n'a pas encore été importée, l'import est alors lancé, voir « Importer liste d'appels », page 109.
La liste d'appels s'affiche. Les options sont classées par ordre chronologique, les symboles à droite de l'option indiquent le type d'appel :

(Appels non réceptionnés) (orange)

(Appels entrants) (blanc)

(Appels sortants)
- Tapez sur l'option désirée.

Remarque : la liste LISTE D'APPELS n'est disponible pour le module mains-libres que tant que celui-ci est connecté au téléphone mobile. Elle est actualisée automatiquement à chaque fois qu'elle est ouverte.
L'appareil de navigation prend les communications en cours automatiquement depuis le téléphone mobile, dès qu'une connexion bluetooth est établie entre les deux appareils.
10.5 Pendant une communication
Vous en train de téléphoner avec le module mains-libres. La fenêtre APPEL EN COURS est ouverte.
10.5.1 Positionner l'application de navigation au premier plan
Vous pouvez placer à tout moment l'application de navigation au premier plan. Quand l'application de navigation réalise momentanément une navigation, vous pouvez ainsi visualiser la carte avec les indications de navigation pendant la communication.
Tapez sur (Navigation). Pendant une communication téléphonique, l'icône (Appel en cours) apparaît dans le coin droit supérieur de l'écran. Le numéro indique le téléphone connecté utilisé momentarily pour l'entretien (ici : « Téléphone 1 »). - Tapez sur (Téléphone) pour ouvrir à nouveau la fenêtre APPEL EN COURS.
10.5.2 Entrer les chiffres
Vous sous-poucez saisir des chiffres pendant une communication. Cela peut être utile au cas où une installation téléphonique désire vous connecter.
- Tapez sur Clavier.
- Entrez les chiffres désirés.
- Tapez sur (Précédent) pour ouvrir à nouveau la fenêtre APPEL EN COURS.
10.5.3 Réglage du microphone sur le mode muet
Vous souhaitez régler le microphone sur le mode muet pendant une communication, pour poser une question par ex., sans que votre correspondant ne l'entende.
Dans la fenêtre APPEL EN COURS, tapez sur (Silencieux) pour mettre le microphone en arrêt. Votre correspondant ne vous entend plus maintenant. L'icône modifiée du bouton de commande vous l'indique. Tapez sur (Silencieux) pour réactiver le microphone.
10.5.4 Reporter la communication sur le téléphone mobile
Dans la fenêtre APPEL EN COURS, tapez sur Options > Utiliser mobile.
Vous pouvez poursuivre alors l'entretien sur le téléphone mobile.
10.5.5 Terminer la communication
Dans la fenêtre APPEL EN COURS, tapez sur la commande Raccrocher pour quitter la communication.
Vous sous-pouces utiliserez aussi l'adresse d'un contact de l'annuaire du téléphone activé en tant que destination de navigation.
- Dans la fenêtre MODULE MAINS-LIBRES, tapez sur Annuaire.
- Sélectionnez dans l'annuaire le contact vers lequel vous désirez naviguer.
La fenêtre OPTION SELECTIONNEE DE L'ANNUAIRE TÉLÉPHONIQUE s'ouvre. Celle-ci affiche jusqu'à deux adresses et quatre numéros de téléphone enregistrés pour le contact sélectionné.
- Tapez sur Démarrer navigation.
Quand plus d'une adresse est disponible pour le contact sélectionné, toutes les adresses sont indiquées.
Tapez sur l'adresse vers laquelle vous désirez naviguer.

Dans le logiciel de navigation, vous pouvez sélectionner aussi des adresses en tant que destination à partir de l'annuaire. De plus amples informations sont disponibles au chapitre « Adresses importées de l'annuaire » à la page 44.
10.6.2 Ouvrir la boîte de réception
Vous souspèze lire des SMS depuis la boîte de réception du téléphone activé.

Remarque: le système importe 15 SMS maximum depuis la boîte de réception du téléphone mobile.
- Dans la fenêtre MODULE MAINS-LIBRES, tapez sur Options > Entrée de SMS.
La liste ENTRÉE DE SMS s'affiche. Les entrées sont classées par ordre chronologique. L'icône à droite de chaque entrée indique que le SMS a déjà été ouvert ou non :

(SMS non lus)

(SMS lus)
- Tapez sur l'option désirée.

Remarque : la liste ENTREE DE SMS n'est disponible pour le module mains-libres que tant que celui-ci est connecté au téléphone mobile. Elle est actualisée automatiquement à chaque fois qu'elle est ouverte.
10.7 Configurer le module mains-libres
Le module mains-libres contient quelques configurations que vous pouvez adapter individuellement.
10.7.1 Numéro rapide
Le module mains-libres de l'appareil de navigation contient quatre boutons de commande à numéro rapide auxquels vous pouvez attribuer une tâche particulière.
- Dans la fenêtre MODULE MAINS-LIBRES, tapez sur Options > Modifier numéro rapide.
La fenêtre NUMERO RAPIDE s'ouvre.
- Tapez sur le bouton de commande (Modifier) situé à droite du numéro rapide que vous désirez définir.
La fenêtre MODIFIER NUMERO RAPIDE S'ouvre.
Entrer un nouveau numéro rapide ou modifier
- Tapez sur le bouton de commande (Modifier).
- Saisissez le nom et le numéro pour la sélection rapide ou modifiez celle-ci.
- Tapez sur OK.
Sélectionner un numéro de l'annuaire téléphonique du téléphone mobile
- Tapez sur le bouton de commande (Annuaire). Si aucune connexion n'est établie vers un téléphone mobile, cette commande est désactivée.
- Sélectionnez le contact que vous désirez utiliser avec le numéro rapide.
La fenêtre SéLECTIONNER NUMERO DE TÉLÉPHONE S'ouvre. Elle affiche tous les numérores de téléphone enregistrés pour le contact sélectionné.
- Tapez sur le numéro d’appel que vous désirez utiliser en tant que numéro rapide.
Supprimer un numéro rapide
- Tapez sur le bouton de commande (Supprimer).
- Confirmez la suppression du numéro rapide.
La fenêtre NUMERO RAPIDE s'ouvre à nouveau. Le numéro rapide sélectionné n'indique plus de numéro de téléphone, ni de nombres.
10.7.2 Configurations
Dans la fenêtre CONFIGURATIONS, vous pouvez entendre des configurations pour les fonctions de téléphone du module mains-libres.
Dans la fenêtre MODULE MAINS-LIBRES, tapez sur Options > Configurations.
La fenêtre CONFIGURATIONS s'ouvre.
Volume sonore de la communication TEL: le volume sonore de l'entretien peut être réglé indépendamment du volume sonore de l'application de navigation.
Volume sonore de la sonnerie : Le volume sonore de la sonnerie peut être réglé indépendamment du volume sonore de l'application de navigation.
Information lors de nouveau SMS : définissez le signalement ou non des SMS entrants (Oui ou Non).
Fonction bluetooth : définissez l'activation ou non de la fonction bluetooth (Oui ou Non).
Sans activation de bluetooth, le module mains-libres ne peut pas se connecter à un téléphone mobile ou à un casque.
D'autres peuvent se connecter : Définissez une connexion ou non à partir d'autres appareils (Oui ou Non).
Visible pour les autres : définissez la détection ou non de l'appareil de navigation par d'autres appareils adaptés à bluetooth (téléphones mobiles en particulier) (Oui ou Non).
Rétablit la dernière connexion : déterminez la connexion automatique ou non vers le dernier téléphone mobile connecté lorsque il se trouve à nouveau dans le champ de réception (Oui ou Non).
Classement de l'annuaire téléphonique selon : définissez la colonne dans laquelle l'annuaire doit être classé (Le prénom ou Le nom). Cette configuration ne concerne que l'affichage de l'annuaire téléphonique dans l'appareil de navigation.

Des informations concernant la manipulation des fenêtres de réglage sont disponibles sous « Configurer le système de navigation », page 129.

Remarque : afin de pouvoir rétablir la dernière connexion sans procédure particulière, l'appareil de navigation doit être enregistré dans votre téléphone mobile en tant que « autorisé » ou « appareil autorisé » (le terme précis peut varier d'un fabricant à l'autre).

Remarque : les configurations Visible pour les autres et D'autres peuvent se connecter n'ont d'effet que si la fonction bluetooth est activée.
Une connexion bluetooth ne peut être établie à partir du téléphone mobile que si les deux configurations ont été réglées sur Oui.
11 Navigon live
Le module NAVIGON Live vous permet à tout moment d'accéder aux services en ligne actuels de NAVIGON Live Services :
Méteo Live : vous recevez des informations actuelles pour chaque point du réseau routier des cartes navigation disponibles. Vous obtenez de plus des prévisions pour les jours suivants. - CleverParking Live: Si vous désirez par ex. naviguer vers un parking à étages, vous pouvez vous recevoir des informations avant le démarrage de la navigation concernant les disponibilités. Vous obtenez même des prévisions vous indiquant l'évolution de la situation des places pour ce parking.
Les informations que vous recevez dépendent des informations que l'exploitant du parking met à disposition.
Essence Live : quand vous devez de l'essence, les stations-services à proximité sont listées. Vous obtenez des indications concernant le prix du type de carburant de votre véhicule aux stations-services en question et permettant de savoir s'il s'agit d'une station-service à prix élevés ou modérés.
La disponibilité d'informations de prix et la fiabilité de ces informations dépend de l'exploitant de la station-service.
Events Live: si vous désirez assister à un concert, un salon-expo ou autre manifestation, vous trouverez ici, non seulement l'adresse du lieu de la manifestation, mais aussi des informations concernant la manifestation en elle-même. Vous pouvez appeler pour faire réserver des billets d'entrée, et bien sûr, vous pouvez naviguer vers cette destination.
Le listing d'une manifestation particulière, et les informations la concernant, dépendent de l'organisateur ou de l'exploitant du lieu de la manifestation.
Google Local Search : si vous recherchez un certain type de destination, un restaurant thaïlandais par exemple, vous pouvez utiliser la recherche locale Google. Vous avez ainsi accès aux recommandations et appréciations de millions d'utilisateurs dans le monde entier.
Traffic Live : vous pouvez obtenir maintenant des informations routières à partir du serveur NAVIGON Live. Là, entre autres, les Floating Car Data des nombreux utilisateurs des services NAVIGON Live anonymement prélevées sont évaluées. Ainsi, les embouteillages peuvent être détectés et contournés plus rapidement et fiablement. L'évaluation des Floating Car Data permet aussi un calcul plus précis de l'heure d'arrivée présumée.
La connexion des données est établie par téléphonie mobile. La carte SIM nécessaire à cet effet est insérée dans l'appareil de navigation (voir « Carte SIM », page 13). Elle ne peut être utilisée que pour les services NAVIGON Live et est bloquée pour tous les autres services (téléphone, SMS, MMS etc.).
11.1.1 Coûts
L'utilisation des services NAVIGON Live est gratuite pour une période déterminée à partir du jour de la première activation. Vous n'avez ni frais de téléphonie, ni de circulation de données. Vous pouvez ensuite vous abandonner aux services. De plus amples informations sont disponibles sur notre site www.navigon.com/live.
Pour l'utilisation des services NAVIGON Live dans des pays d'Europe autres que votre pays de résidence, vous n'avez pas à payer de coûts supplémentaires. Veuillez remarquer que des informations concernant les parkings et la disponibilité, par ex, ne sont pas toujours accessibles dans tous les pays.

De plus amples informations concernant la disponibilité et l'ampleur des services NAVIGON Live dans différents pays ainsi que les abonnements sont disponibles sous www.navigon.com/live.
11.2 Utiliser les services navigon live
Les services NAVIGON Live sont entièrement intégrés au logiciel de navigation. De nombreux services sont utilisés automatiquement sans que la manipulation de l'appareil de navigation diffère de la version sans les services NAVIGON Live. Rien n'est modifié en ce qui concerne le déroulement du programme, quand un embouteillage est signalé, par ex. Les informations routières des services NAVIGON Live sont toutefois plus précises et plus actuelles que les messages des stations de radio.
11.2.1 Météo
Le service Météo Live offre des informations météos actuelles pour chaque point du réseau routier des cartes navigation disponibles. Vous obtenez de plus des prévisions pour les jours suivants.
Infos météo pour la position actuelle
Cette fonction est intéressante surtout si l'on désire obtenir des prévisions pour les jours suivants.
Dans la fenêtre NAVIGATION, tapez sur (NAVIGON Live) > Météo.
La fenêtre MÉTÉO s'ouvre. Une section de carte s'affiche représentant votre position actuelle. Vous trouvez à côté des données météo actuelles ainsi que des prévisions pour les jours suivants.
Infos météo pour la destination
Il est possible à tout moment pendant la navigation d'afficher les données météo pour la destination.
Tapez sur Options > Services > Météo.
La fenêtre Météo s'ouvre. Une section de carte s'affiche, représentant la destination de navigation. Vous trouvez à côté les données météo actuelles ainsi que des prévisions pour les jours suivants.

Remarque: si vous avez planifié un itinéraire à plusieurs étapes, les données météo pour la destination de navigation seront indiquées, mais non pour la destination d'étape suivante.
Données météo pour un autre lieu
Vous pouvez accéder à des données météo pour chaque point sur la carte pouvant être indiqué en tant que destination de navigation.
A part Rentrer à la maison et Afficher carte > Rechercheur destination, vous pouvez utiliser presque toutes les possibilités d'entrée, par ex. Saisir adresse, Destinations récentes ou Adresse utile.
Quand vous entrez une adresse, il suffit d'indiquer le lieu. Mais vous pouvez aussi indiquer la rue et le numéro de rue.

Des informations concernant l'entrée de destinations de navigation sont disponibles au chapitre « Indiquer destination », page 31.
- Entrez le lieu pour lequel vous souhaitez des données météo de la même façon que pour les destinations de navigation. Ne tapez pas

(Démarrer navigation)!
Quand une navigation est en cours, tapez alors sur Options > Destination > Insérer une étape et entrez le lieu pour lequel vous souhaitez des données météo. Ne tapez pas sur

(Démarrer navigation)!
- Tapez sur Options > Météo.
La fenêtre MÉTÉO s'ouvre. Une section de carte s'affiche représentant le lieu indiqué. Vous trouverez à côté des données météo actuelles ainsi que des prévisions pour les jours suivants.
11.2.2 Parking
Le service CleverParking Live offre des indications détaillées concernant de nombreuses possibilités de parking. Ces données contiennent entre autres des prix, des heures d'ouverture, le nombre de parkings disponibles, les prévisions de disponibilité, la disponibilité de parkings pour femmes et handicapés, le type de paiement, le type de surveillance,...

Remarque: le service CleverParking Live ne peut donner que les informations mises à disposition par l'exploitant du parking. Ce n'est pas toujours le cas lors d'informations concernant l'évolution des disponibilités ou les prix.
- Dans la fenêtre NAVIGATION, tapez sur (NAVIGON Live) > Parking, quand vous recherchez un parking à proximité de votre position momentanée. - ou - À l'aide d'une des méthodes décrites dans le présent manuel, recherchez un parking à proximité de votre destination. Une liste s'affiche. Elle contient les parkings possibles classés selon l'éloignement par rapport à votre destination. Des informations en ligne sont disponibles pour certains parkings comme par ex., le nombre des places momentanément disponibles, le prix momentanément appliqué ou l'évolution des disponibilités. Certains parkings sont caractérisés par une petite astérisque (par ex. 9). D'autres informations sont disponibles pour ces parkings, comme par ex., les heures d'ouverture, ou le nombre de parkings pour handicapés et pour femmes.
- Sélectionnez un parking. La fenêtre INFORMATIONIS SUR LA DESTINATION s'ouvre. Elle renferme des adresses et autres informations, si disponibles.
- Tapez sur Démarrer navigation pour naviguer vers le parking sélectionné.
11.2.3 Essence
Le service Essence Live recherche des stations-services et vous informe des prix du type de carburant sélectionné dans les configurations.

Remarque : la qualité de la réception GPS doit être suffisante pour le calcul de position. On reconnaît une réception GPS suffisante à l'icône

(GPS prét).
Si la réception GPS est insuffisante, le système procède à la recherche de stations-services situées à proximité de la dernière position connue. S'il n'existe pas de position récente connue, la fonction Essence n'est pas disponible.
De plus amples informations sont disponibles au chapitre « Initialisation du récepteur GPS » à la page 30.

Remarque : le service Essence Live ne peut communiquer que les informations mises à disposition par l'exploitant du parking. Ce n'est pas toujours le cas pour les informations concernant les heures d'ouverture, en particulier. Les informations concernant les prix ne sont pas non plus toujours disponibles ou à jour.

Vous trouverez des informations pour la configuration du type de carburant au chapitre « Configurer les services NAVIGON Live » à la page 127
- Dans la fenêtre NAVIGATION, tapez sur (NAVIGON Live) > Essence, quand vous recherchez une station-service à proximité de votre position momentanée.
Une liste s'affiche. Elle renferme toutes les stations-services situées à proximité dont les exploitants ne mettent pas en ligne d'informations à disposition. Elle renferme aussi les stations-services situées à proximité, dont les exploitants mettent en ligne des informations à disposition.
Quand il existe des informations en ligne, vous voyagez
- le prix du type de carburant que vous avez sélectionné dans les configurations. Quand l'information concernant le prix n'est plus à jour, elle n'est pas affichée. Un symbole en couleur indiquant qu'il s'agit d'une station-service de prix modéré ou élevé (vert, jaune, rouge).
- la date à laquelle l'information concernant le prix a été mise à jour la dernière fois.
- Sélectionnez une station-service.
La fenêtre INFORMATION SURE LA DESTINATION s'ouvre. Elle renferme des adresses et autres informations, si disponibles.
- Tapez sur Démarrer navigation pour naviguer vers la station-service sélectionnée.
Lors de la recherche d'adresses utiles, le service Google Local Search offre des résultats que vous pouvez broquer aussi lors d'une recherche avec Google Maps.
Pour de nombreuses adresses utiles de la liste de résultats, les utilisateurs de Google Maps ont formulé des appréciations variant sur une échelle de 1 étoile à 5 étoiles.
Seule l'appréciation moyenne est affichée. Pas d'étoile signifie qu'aucune appréciation n'a été délivrée.

Remarque : Google n'autorise l'utilisation du service Google Local Search que dans le respect de ses conditions d'utilisation que vous pouvez consulter sous www.google.com/accounts/TOS.
- Dans la fenêtre NAVIGATION, tapez sur (NAVIGON Live) > Google Local Search.
-0U-
Dans la fenêtre NAVIGATION, tapez sur Nouvelle destination > Adresse utile > Google Local Search.
La fenêtre GOOGLE LOCAL SEARCH s'ouvre.
- Entrez le nom du lieu de destination.
Nous ne devons procéder à aucune entrée si vous recherchez une adresse utile à proximité de votre position actuelle.
Si la destination se situe à l'étranger, il est possible d'entrer en même temps le nom du pays, « Paris France », par ex.
Remarquez que vous pouvez procéder à toute entrée de votre choix. Si vous faites une erreur de frappe, vous n'obtiendrez pas les résultats attendus.
Tapez sur parmi les 30 op
(Ouvrir la liste) pour sélectionner une option de lieu.
- Tapez sur OK).
- Entrez un mot-clé.
Vous êtes tout à fait libre d'entrer le mot-clé de votre choix; toutefois, le nombre de résultats dépend largement du type de mot-clé entré.
Tapez sur (Ouvrir la liste) pour sélectionner un mot-clé parmi les 30 options entrées.
- Tapez sur (OK).
La liste RÉSULTATS s'affiche. Elle compte toutes les adresses utiles trouvées. L'appréciation moyenne est affichée à côté de chaque adresse utile, (1 étoile à 5 étoiles). Pas d'étoile signifie qu'aucune appréciation n'a été délivrée.
- Tapez sur le nom de la destination vers laquelle vous désirez naviguer.
La fenêtre INFORMATIONS SUR LA DESTINATION s'ouvre. Elle comporte l'appréciation moyenne, le numéro de téléphone et les entrées d'adresse pour la destination sélectionnée.
Tapez sur i (Info) si vous désirez consulter les appréciations pour cette destination ou visualiser la destination sur la carte. Tapez sur (Parking) si vous désirez naviguer vers un parking à proximité de votre destination. Tapez sur (Appeler) pour appeler le numéro indiqué.

Remarque : la fonction Appeler n'est disponible que quand l'appareil de navigation est connecté via bluetooth à un téléphone mobile.
La possibilité et la façon d’établir une connexion bluetooth sont décrites au chapitre « Connexion au téléphone mobile », page 103.
- Tapez sur Démarrer navigation.
-OU-
Tapez sur Parking pour rechercher un parking à proximité de votre destination et naviguer vers celle-ci.
La carte s'affiche au mode Présentation. La destination est reproduite sur la carte.

Des informations concernant le démarrage de la navigation sont disponibles au chapitre « Présentation d'itinéraire » à la page 46.
11.2.5 Événements
Pour la recherche de manifestations, le service Events Live offre non seulement des indications d'adresses concernant le lieu de la manifestation (telles que l'adresse, le numéro de téléphone,...), mais aussi des informations détaillées concernant la manifestation en elle-même.

Remarque : le listing d'une manifestation particulière, et les informations la concernant dépendent de l'organisateur ou de l'exploitant du lieu de la manifestation.
Vous pouvez procéder à une recherche de manifestations situées à proximité de votre position actuelle, mais aussi de manifestations situées en un lieu déterminé.
Événements à proximité

Remarque : la qualité de la réception GPS doit être suffisante pour le calcul de position. On reconnaît une réception GPS suffisante à l'icône

(GPS prêt).
Si la réception GPS est insuffisante, le système procède à la recherche de manifestations situées à proximité de la dernière position connue. S'il n'existe pas de position récente connue, la fonction Événements à proximité n'est pas disponible.
De plus amples informations sont disponibles au chapitre « Initialisation du récepteur GPS » à la page 30.
- Dans la fenêtre NAVIGATION, tapez sur (NAVIGON Live) > Événements à proximité.
La fenêtre EVENEMENTS À PROXIMATE S'ouvre.
- Sélectionnez la catégorie dans laquelle vous désirez trouver des manifestations. Les catégories dans lesquelles aucune manifestation située à proximité n'est annoncée, ne sont pas sélectionnables.
S'il existe des sous-catégories pour la catégorie sélectionnée, la liste Sous-catégorie s'ouvre.
- Sélectionnez la sous-catégorie dans laquelle vous désirez trouver des manifestations.
La liste Destination s'affiche. Elle renferme les manifestations de la catégorie indiquée, classées selon l'éloignement du lieu de la manifestation.
- Tapez sur le titre de la manifestation de votre choix.
La fenêtre INFORMATIONS SUR LA DESTINATION s'ouvre. En plus du titre de la manifestation, elle renferme aussi le numéro de téléphone et l'adresse du site de la manifestation.
Tapez sur

(Info) si vous désirez consulter des
informations détaillées concernant la manifestation ou visualiser le lieu de la manifestation sur la carte.

Tapez sur (Parking) si vous désirez naviguer vers un parking situé à proximité de votre destination. Tapez sur (Appeler) pour appeler le numéro indiqué.
Remarque : la fonction Appeler n'est disponible que quand l'appareil de navigation est connecté via bluetooth à un téléphone mobile.
La possibilité et la façon d’établir une connexion bluetooth sont décrites au chapitre « Connexion au téléphone mobile » à la page 103.
- Tapez sur Démarrer navigation.
La carte s'affiche en mode Présentation. La destination est reproduite sur la carte.

Des informations concernant le démarrage de la navigation sont disponibles au chapitre « Présentation d'itinéraire » à la page 46. Veuillez consulter ce chapitre.
Événements dans une ville
- Dans la fenêtre NAVIGATION, tapez sur (NAVIGON Live) > Événements dans une ville.
La fenêtre ÉVÉNEMENTS DANS UNE VILLE s'ouvre.
- Entrez le nom ou le code postal de la localité de destination.
- Sélectionnez la catégorie dans laquelle vous désirez trouver des manifestations. Les catégories dans lesquelles aucune manifestation n'est annoncée pour le lieu indiqué ne sont pas sélectionnables.
S'il existe des sous-catégories pour la catégorie sélectionnée, la liste Sous-catégorie s'ouvre.
- Sélectionnez la sous-catégorie dans laquelle vous désirez trouver des manifestations.
La liste Destination s'affiche. Elle renferme les manifestations de la catégorie indiquée, classées selon l'éloignement du lieu de la manifestation.
- Tapez sur le titre de la manifestation de votre choix.
La fenêtre INFORMATIONS SUR LA DESTINATION s'ouvre. En plus du titre de la manifestation, elle renferme aussi le numéro de téléphone et l'adresse du site de la manifestation.
Tapez sur (Info) si vous désirez consulter des informations détaillées concernant la manifestation ou visualiser le lieu de la manifestation sur la carte.

Tapez sur (Parking) si vous désirez naviguer vers un parking situé à proximité de votre destination. Tapez sur (Appeler) pour appeler le numéro indiqué.
Remarque : la fonction Appeler n'est disponible que quand l'appareil de navigation est connecté via bluetooth à un téléphone mobile.
La possibilité et la façon d’établir une connexion bluetooth sont décrites au chapitre « Connexion au téléphone mobile » à la page 103.
- Tapez sur Démarrer navigation.
La carte s'affiche en mode Présentation. La destination est reproduite sur la carte.

Des informations concernant le démarrage de la navigation sont disponibles au chapitre « Présentation d'itinéraire » à la page 46. Veuillez consulter ce chapitre.
Le service Traffic Live évalue entre autres anonymement aussi les Floating Car Data des nombreux utilisateurs du service. Ceci offre les avantages suivants :
Les perturbations routières entraînant un ralentissement de la circulation peuvent être détectées et contournées plus rapidement et fiablement. - Une perturbation de circulation supprimée est détectée plus rapidement et fiablement. Des détours inutiles peuvent être alors évités. Les heures d'arrivée peuvent être calculées plus précisément.
Le service Traffic Live ne modifie nullement la manipulation de l'appareil de navigation, seule diffère la source de mise à disposition des informations routières.

Vous trouverez des informations détaillées sur la fonctionnalité TMC au chapitre « TMC (Informations routières) » à la page 95.
Dans la fenêtre CONFIGURATIONS, vous pouvez entendre les configurations pour les services de NAVIGON Live.
Dans la fenêtre NAVIGATION, tapez sur (NAVIGON Live) > Options > Configurations. La fenêtre CONFIGURATIONS s'ouvre.
Utiliser les services NAVIGON Live : définissez la disponibilité ou non des services NAVIGON Live (Oui ou Non).
Recevoir des informations routières : déterminez la source depuis laquelle vous désirez obtenir les informations routières (à partir des services NAVIGON Live ou à partir de stations de radio). Les services NAVIGON Live reçoivent aussi les Floating Car Data de nombreux véhicules dans l'analyse de la situation routière. C'est pourquoi ils offrent souvent un plus grand nombre d'informations et plus actuelles.
Type de carburant : sélectionnez le type de carburant de votre véhicule. Le service Essence Live indique les prix seulement pour le type de carburant sélectionné.
Optimiser la détection d'embouteillages : l'appareil de navigation retransmet des Floating Car Data anonymisées au serveur NAVIGON Live. Plus le nombre d'utilisateurs mettant des Floating Car Data anonymement à disposition est élevé, mieux il est possible de détecter les embouteillages et de les contourner fiablement.. De plus, les heures d'arrivées peuvent être évaluées plus précisément. Définissez la retransmission ou non de données Floating Car Data (Oui ou Non). Les Floating Car Data ne divulguent aucun renseignement concernant votre personne.

Des informations concernant la manipulation de la fenêtre CONFIGURATIONS sont disponibles au chapitre « Configurer le système de navigation », page 129.
11.4 Indiquer l'état
Vous trouvrez toutes les données importantes concernant le module NAVIGON Live -et la validité de l'abonnement aux services NAVIGON Live dans la fenêtre ETAT NAVIGON LIVE.
Dans la fenêtre NAVIGATION, tapez sur (NAVISION Live) > Options > État NAVIGON Live. La fenêtre ÉTAT NAVIGON LIVE s'ouvre. Elle renferme les informations suivantes : La date à laquelle/depuis laquelle l'abonnement pour les services NAVIGON Live arrive/est arrivée à expiration, Le numero de la carte SIM dans le module NAVIGON Live, le plus recent code d'activation entree sur l'appareil de navigation.
La fenêtre CONFIGURATIONS constitue le point de départ de toutes les programmations à l'aide desquelles vous réglez le système de navigation à votre convenance.
Les configurations sont accessibles par les options de la fenêtre NAVIGATION et par les options de nombreuses fenêtres de l'application de navigation.
Tapez sur Options > Configurations.
La fenêtre CONFIGURATIONS de l'application de navigation comporte plusieurs boutons de commande :
Navigation, Profil d'itinéraire actuel :, Représentation de carte et Généralités.
Tapez sur un bouton de commande pour ouvrir la fenêtre correspondante.

Des informations détaillées concernant la sélection et la configuration d'un profil d'itinéraire sont disponibles au chapitre « Profils d'itinéraires », page 76.
Les configurations des différentes fenêtres sont réparties sur plusieurs pages d'écran. À l'aide des boutons de commande

Vous pouvez feuilleter (A gauche) et

(A droite).
Certaines configurations ne peuvent accepter que deux valeurs différentes. Vous reconnaissez ces configurations au bouton de
commande (Modifier). Toutes les valeurs possibles sont visibles. La valeur momentanément valide est marquée en blanc.
Tapez sur (Modifier) pour passer entre les valeurs possibles.
Certaines configurations peuvent accepter de nombreuses valeurs différentes. Vous reconnaîtrez ces configurations au bouton de commande (Liste). La valeur momentanément valide est visible.
- Tapez sur (Liste). Une liste représentant les valeurs possibles s'affiche. La valeur momentanément valable est marquée.
- Tapez sur la valeur désirée. Elle est alors marquée.
- Tapez sur OK.
La liste se referme. La nouvelle valeur s'affiche.
À chaque configuration correspond un bouton de commande

(Aide). Tapez sur celui-ci pour obtenir une explication de la figuration correspondante.
Les fenêtres de réglage peuvent être refermées de deux façons :
Tapez sur OK.
Vos modifications sont acceptées.
Tapez sur Annuler.
Vos modifications ne sont pas acceptées.
13.1 Données techniques de l'appareil de navigation
| Dimensions | 137 x 83 x 15,3 mm
NAVIGON 70 Premium Live:
137 x 83 x 15,9 mm |
| Poids | NAVIGON 70 Plus: 190 g
NAVIGON 70 Premium: 190 g
NAVIGON 70 Premium Live: 203 g |
| Conditions de service | Température de service | -10°C à 70°C (14°F à 158°F) |
| Température de stockage | -30°C à 80°C (-22°F à 176°F) |
| Humidité relative | 0% à 90%, non condensant |
| CPU | STM Cartesio 2064 (520MHz) |
| Système d'exploitation | Microsoft Windows CE |
| Ecran | Ecran couleur LCD 5" avec tableau résistif à touches 300 cd/m², 300:1 480 x 272 pixels (WQVGA) |
| Mémoire | RAM | NAVIGON 70 Plus : 64 Mo.
NAVIGON 70 Premium : 128 Mo.
NAVIGON 70 Premium Live : 128 Mo. |
| Flash | 4 Go |
| GPS | oui (STM STA5630, ST-AGPS)
Antenne intégrée |
| TMC | oui |
| Détector de proximité | oui |
| Touches d'appareil | 1 (Marche/Arrêt) |
| I/O | Clavier | Clavier virtuel |
| Haut-parleurs | oui |
| Carte mémoire | microSD |
| USB | 1 x USB 2.0 |
| Bluetooth | (Seulement NAVIGON 70 Premium et NAVIGON 70 Premium Live)
intégré à suppression d'echo |
| Alimentation en courant | via la douille USB |
| Accu | type | LilonPo / Lilon, 1400 mAh |
| chargement | électronique | intégré |
| Câble de chargeant automobile | entée | 10-24V = (tension continue, DC) |
| sortie | 5V/1,5A = (tension continue, DC) |
§ 1 Étendue des dispositions
Cet accord régit la relation entre l'utilisateur et la société NAVIGON AG, Schottmuellerstrasse 20 A, 20251 Hamburg, conceptrice et titulaire des droits d'exploitation exclusifs du logiciel NAVIGON (« logiciel ») décrit dans la commande. L'objet de cet accord sont les intérêts de droit de la propriété intellectuelle.
§ 2 Étendue de l'exploitation
NAVIGON octroi à l'utilisateur le simple droit, non exclusif, illimité dans le temps et l'espace d'exploiter le logiciel dans le volume d'exploitation définis dans la commande. La concession de licence comprend le droit d'inclure et d'exploiter le logiciel conformément à la documentation et aux présentes dispositions. NAVIGON indique explicitement à l'utilisateur qu'une exploitation complète du logiciel n'est possible qu'après qu'il a procédé à un enregistrement correspondant. L'utilisateur devra s'assurer que les restrictions d'exploitation susmentionnées sont respectées. Toute exploitation dépassant le cadre défini par le contrat requiert une autorisation écrite de NAVIGON. Si l'exploitation se fait sans ce consentement, NAVIGON facturera le montant à devoir pour l'exploitation dépassant le cadre initial suivant la liste de prix actuelle. Le droit de faire valoir un autre droit à l'indemnité est réservé à NAVIGON. La preuve d'un dommage moindre est réservée à l'utilisateur. Tous les droits d'exploitation susmentionnés ne seront transférés à l'utilisateur qu'après le paiement intégral du montant de la licence.
§ 3 Droit de propriété intellectuelle et droits de protection
(1) L'utilisateur reconnaît les droits de propriété intellectuelle de NAVIGON et par conséquent les droits de jouissance et d'exploitation exclusifs du logiciel. Les droits de jouissance et d'exploitation exclusifs s'appliquent également aux extensions et modifications du logiciel que NAVIGON a élaborées pour l'utilisateur conformément à la commande reçue.
(2) Toute reproduction intégrale ou partielle du logiciel non autorisée expressément, toute transmission du logiciel non autorisée expressément et toute élaboration d'un logiciel semblable ou de parties du logiciel ou toute utilisation en tant que modèle du logiciel faisant l'objet du contrat sont interdites au regard de la loi et du contrat. (3) L'utilisateur reconnaît les droits sur la marque, les droits des marques déposées, les droits relatifs à la protection du nom et les droits en matière de brevets de NAVIGON sur le logiciel et la documentation correspondante. Il lui est interdit d'enlever les indications de droits de protection intellectuelle ou les indications portant sur les droits de protection existants, de les modifier ou de les rendre méconnaissables de quelconque manière.
§ 4 Transmission du calculi
L'utilisateur a le droit de vendre ou offrir à long terme le logiciel, y compris le manuel d'utilisation et autre matériel d'accompagnement, à un tiers à condition que le tiers acquéreur déclare être d'accord avec le maintien de la validité des conditions présentes du contrat même à son égard. En cas de transmission, l'utilisateur doit remettre au nouvel utilisateur toutes les copies de programme, y compris les copies de sécurité éventuelles existantes, ou détruire les copies non transmises. À la suite de la transmission, le droit d'exploitation du programme de l'utilisateur précédent s'éteint. L'utilisateur a le droit de vendre ou offrir le logiciel, y compris le manuel d'utilisation et autre matériel d'accompagnement, à un tiers pour une période déterminée à condition que cela ne se produise pas sur la base d'une location à des fins commerciales ou de leasing et que le tiers déclare être d'accord avec le maintien de la validité des conditions générales du contrat même à son égard. L'utilisateur cédant doit transmettre toutes les copies de programme, y compris les copies de sécurité éventuelles existantes, ou détruire les copies non transmises. Durant la période de cession du logiciel au tiers, l'utilisateur cédant n'a aucun droit d'exploitation individuelle du programme. La location à des fins commerciales ou le leasing ne sont pas permis. L'utilisateur n'a pas le droit de transmettre le logiciel à un tiers s'il soupçonne que le tiers enfreindra les conditions contractuelles et effectuera notamment des reproductions non autorisées.
§ 5 Droits de reproduction et protection d'accès
L'utilisateur est autorisé à reproduire le logiciel si la reproduction s'avère indispensable à l'exploitation du logiciel. Les reproductions nécessaires comprennent l'installation du programme du support de données original sur la mémoire de masse du matériel employé ainsi que le chargement du programme dans la mémoire vive. L'utilisateur peut également procéder à une copie à des fins de sauvegarde. Toutefois, seule une copie unique est autorisée à la reproduction et à la sauvegarde. Cette copie de sauvegarde doit être caractérisée comme suit. Si pour des raisons d'intégrité de données ou de garantie d'une remise en service rapide du système informatique après une panne totale, la sauvegarde en alternance de tout l'ensemble des données y compris du programme informatique intégré est indispensable, l'utilisateur est autorisé à effectuer le nombre de copies de sauvegarde impérativement nécessaire. Les supports de données concernés doivent être caractérisés conformément. Les copies de sauvegarde ne doivent être utilisées qu'à des fins de pur archivage. L'utilisateur n'est pas autorisé à procéder à d'autres reproductions incluant la sortie du code de programme sur imprimante ainsi que la photocopie du manuel. Les manuels supplémentaires éventuellement nécessaires pour les collaborateurs seront fournis par NAVIGON.
§ 6 Utilisations multiples et utilisation en réseau
L'utilisateur est autorisé à utiliser le logiciel sur tout matériel dont il dispose. Si l'utilisateur change toutefois de matériel, il doit supprimer le logiciel installé sur le matériel précédent. Il est interdit de procéder à un enregistrement parallèle, de stocker ou utiliser le logiciel sur plus d'une unité de matériel. L'emploi du logiciel cédé au sein d'un réseau ou d'un autre système informatique à stations multiples est interdit si cela crée la possibilité d'une utilisation multiple isochrone du logiciel. Si l'utilisateur souhaite employer le logiciel au sein d'un réseau ou d'un autre système informatique à stations multiples, il doit interdire une utilisation multiple isochrone par un mécanisme de protection d'accès ou s'acquitter d'une redevance de licence de réseau particulière à NAVIGON dont le montant est déterminé en fonction du nombre des utilisateurs connectés au système informatique. NAVIGON communiquera sans tarder à l'utilisateur le montant de la redevance de licence de réseau à acquitter au cas par cas aussitôt que ce dernier aura fait connaître par écrit à NAVIGON l'utilisation en réseau prévue y compris le nombre des utilisateurs connectés.
§ 7 Logiciel de tiers
Le logiciel comprend des produits logiciels de tiers intégrés au logiciel, objet du contrat ou livrés avec celui-ci. NAVIGON ne transmet de principe que les droits nécessaires à l'utilisation générale de ce programme en tant que parties intégrantes du logiciel objet du contrat et que NAVIGON est en droit d'octroyer. Un droit de remaniement ou de retraitemment n'y est pas compris.
§ 8 Décompilation et modification de programme
La retranscription du code de programme cédé dans d'autres formes de codes (décompilation) ainsi que tout autre type de réexploitation des différentes étapes de réalisation du logiciel (Reverse Engineering) y compris la modification de programme sont interdites à l'utilisateur à moins qu'elles soient à l'élimination de fautes graves, notamment de celles qui ne peuvent pas être traitées avec les moyens organisationnels ou autres moyens justifiables. Il n'est pas permis d'ôter ou modifier les notes d'auteur, les numéros de série ainsi que toute autre caractéristique doit à l'identification du programme. Le retrait d'une protection de copie ou de toute autre routine de protection n'est pas autorisé sans l'avis ou la participation de NAVIGON.
(1) Si une disposition des présentes règlements était caduque ou le devenait, il n'en est pas dérogé à l'efficacité des règlementations restantes. Tout règlement invalide doit être remplacé par un règlement se rapprochant le plus possible du but économique du règlement caduc, sur la base de l'interprétation complétive du contrat. (2) Toutes les modifications ou les compléments de ces dispositions nécessitent la forme écrite et doivent être expressément caractérisés comme tels. Les stipulations annexes verbales sont inefficaces. Il n'est possible de renoncer à cette exigence de la forme écrite que par un accord écrit. (3) Les parties conviennent dans le cadre légal d'appliquer le Droit de la République Fédérale d'Allemagne à l'exclusion de la Convention des Nations Unies en ce qui concerne toutes les relations de droits issues du contrat. (4) Si l'utilisateur est un commerçant au sens du Code de Commerce allemand, une personne morale de droit public ou un établissement public, il est convenu qu'Hamburg sera la juridiction compétente pour tous les litiges apparaisant dans le cadre du déroulement du présent contrat.
NAVIGON AG déclare par la présente que les appareils décrits dans le manuel sont conformes aux exigences fondamentales et autres stipulations principales de la directive UE 1999/5/CE et de la directive R&TTE.
La déclaration de conformité peut être consultée sur le site Internet www.navigon.com/ce-erklaerung.
14 Solutions
Ce chapitre propose des solutions aux problèmes que vous pouvez rencontrer lors de l'utilisation du système de navigation.
Cette liste n'est pas exhaustive. Vous trouverez des réponses à de nombreuses autres questions sur les pages Internet de NAVIGON. Vous pouvez procéder ici au calibrage de la boussole électronique. (Voir « Questions concernant le produit », page 9)
J'ai raccordé un chargeur à l'appareil de navigation. L'écran indique une connexion vers un ordinateur.
-0U-
J'ai raccordé l'appareil de navigation à l'ordinateur mais il n'est pas détecté en tant que support de données amovible.
La clé USB du chargeur n'est pas bien introduite dans le boîtier.
-0U-
La clé USB n'est pas bien connectée.
- Retirez la clé.
L'appareil de navigation procède à un nouveau démarrage. Attendez que le logiciel de navigation soit chargé à nouveau.
- Introduisez rapidement et le plus profondément possible la clé USB du chargeur dans la douille correspondante de l'appareil de navigation. (Voir « Description de l'appareil de navigation », page 10)
Mon appareil de navigation ne réagit plus, l'écran est statique.
Procédez à une remise à zéro.
- À l'aide d'un objet pointu, appuyez sur la touche Reset. (Voir « Description de l'appareil de navigation », page 10) Le logiciel démarre à nouveau. Vos configurations ainsi que les destinations et itinéraires enregistrés sont sauvegardés.
Certaines configurations peuvent être régées de façon à minimiser la consommation d'énergie.
- Dans la fenêtre NAVIGATION, tapez sur Options > Configurations > Généralités.
- Réglez les valeurs de Luminosité le jour et Luminosité la nuit à un niveau inférieur si possible.
- Tapez sur OK.
- Tapez sur (Précedent).
La fenêtre NAVIGATION est alors ouverte à nouveau.
J'ai activé par erreur le mode démonstration.
Si lors de la première application de navigation, vous avez activé par erreur le mode de démonstration, il est possible de le mettre à l'arrêt de la façon suivante :
- Dans la fenêtre NAVIGATION, tapez sur Options > Configurations. La fenêtre CONFIGURATIONS s'ouvre.
- Tapez sur Options > Terminer mode de démonstration.
Il vous est demandé de valider la remise en état des configurations définies au moment de la livraison.
- Tapez sur le bouton de commande Oui.
Le logiciel est démarré à nouveau et fonctionne comme au premier démarrage après l'achat (voir « Mettre en marche l'appareil de navigation », page 17)
Démarrez le logiciel de navigation et réglez la configuration. Démarrer au mode de démonstration sur Non. Vous pouvez procéder ici au calibrage de la boussole électronique. (Voir « Démarrer l'application de navigation », page 30)
Dans les conditions suivantes, le rayon de réaction du détecteur de proximité peut diminuer :
L'appareil de navigation n'est pas raccordé à une alimentation externe en courant. - « Vous utilisez un câble de chargement qui n'est pas explicitement prévu par NAVIGON pour votre système de navigation. Vous tenez l'appareil de navigation dans la main. Vous utilisez un support autre que le support original. L'appareil de navigation n'est pas installé sur le pare-brise.

- Vous utilisez des accessoires non explicitement prévus par NAVIGON pour votre système de navigation.
Des informations concernant une installation correcte du système de navigation sont disponibles au chapitre « Monter le système de navigation dans la voiture », page 13.
Le détecteur de proximité réagit non seulement quand je souhaite manipuler le système de navigation, mais aussi quand je tourne le volant ou manipule la boîte de vitesses.
Le volant et/ou le levier de vitesses se trouvent dans le rayon de réaction du détecteur de proximité.
Montez le support automobile à plus grande distance du volant et/ou de la boîte de vitesses. -0U- Dans la fenêtre NAVIGATION, tapez sur Options > Configurations > Généralités > Rayon de réaction et réduisez la portée du rayon à l'intérieur de laquelle le détecteur réagit aux mouvements.
Le détecteur de proximité ne réagit pas seulement au mouvement de ma main, mais aussi au mouvement des essuie-glaces.
Essayez la démarche suivante :
- Dans la fenêtre NAVIGATION, tapez sur Options > Configurations > Généralités > Vitesse de réaction.
- Réduisez la valeur de la vitesse de réaction de façon à ce que le détecteur ne réagisse plus aux essuie-glaces.
Si cette mesure s'avère insuffisante, réduisez en plus le rayon de réaction.
Dans la fenêtre NAVIGATION, tapez sur Options > Configurations > Généralités > Rayon de réaction et réduisez le rayon à l'intérieur duquel le détecteur réagit aux mouvements. Si aucune de ces mesures ne permet de résoudre le problème, il est possible aussi de désactiver le détecteur de proximité. Dans la fenêtre NAVIGATION, tapez sur Options > Configurations > Généralités > Utiliser le détecteur de proximité. Réglez la valeur sur Non.
Je ne peux utiliser les services NAVIGON Live bien que la carte SIM soit insérée.
Ceci peut entraîner les conséquences suivantes :
- vous n'avez momentanément pas de connexion au réseau de téléphonie mobile.
vous pouvez être dans un endroit non couvert par le réseau.
- Le couvercle au-dessus de la carte SIM n'est pas correctement installé.
Réinstallez le couvercle. Veillez à ce qu'il soit bien adapté sur tous les côtés ! (Voir « Carte SIM », page 13)
- vous utilisez un câble de chargement qui n'est pas explicitement prévu par NAVIGON pour votre système de navigation.
Veuillez n'utiliser que le câble de chargement livré avec votre appareil Navigon ou un modèle de conception comparable de NAVIGON! (Voir « Alimentation en courant de l'appareil de navigation », page 14).
la carte SIM est endommagée ou non valide.

Remarque : n'utilisez que des accessoires explicitement prévus par NAVIGON pour votre système de navigation. NAVIGON AG n'est pas responsable des erreurs ou dommages causés par l'utilisation d'autres accessoires.
Des accessoires adaptations sont disponibles sur www.navigon.com ou dans le commerce spécialisé.
15 Index
Aproximé 85
Abonnement 119
Activer 16, 107
Adresses utiles sur la route 85
Adresse utile approchée 37
Accès direct 40
Adresses utiles sur la route 85
au niveau national 38
Dans une ville 39
NAVIGON Sightseeing 88
Adresses importées de l'annulaire 44
De Outlook / d'Internet 43
Aide d'urgence 91
Annuaire Actualiser 109
Importer annuaire 108
Annuaire 112
Appel en cours. Afficher carte. 114
Entrer les chiffres 114
Raccrocher 115
Silencieux 114
Utiliser mains-libres 113
Utiliser mobile 114
Appeler l'annuaire 112
Commande vocale 111
Composer 112
Liste d'appels 113
Numéro rapide 112
Barbottes. 59
Bloquer 93, 94
Bluetooth Activer 107
Connector 105
Jumelage 103
Bluetooth : voir Module mains-libres
Boussole 21
Captures d'écran 81
Carte Barre de boutons 59
Hors-piste 73
Pieton 70
Présentation 64
Réalité View 69
Rechercher destination. 74
Standard 63
Trace GPS 72
Vehicule 66
Carte mémoire 15
Clavier 24
Clavier de logiciel 24
CleverParking Live Parking 121
Commande vocale 27,33,111
Configuration NAVIGON Live 127
Configuration 129
Configurations Configuration 129
Module mains-libres 117
NAVIGON Live 127
Volume sonore 69
Configurations du module mains-libres : Connexion au téléphone mobile. 103
Numéro rapide 116
Supprimer un appareil 107
Configurations TMC Informations routières 99
Mode tuning 99
Nouveau calcul 99
TMC 99
Connector. 105
Connexion au téléphone mobile.... 103
Contenu de la livraison 9
Conventions du manuel 8
Couts 119
Débloquer. 93
Description d'itinéraire Afficher. 46,55,93
Bloquer 94
Destination d'accès direct 40
Adresse utile 37 approximée 37
Accès direct. 40
Au niveau national 38
Dans une ville 39
Adresses importées de l'annulaire 44, 115
De Outlook / d'Internet 43
Commande vocale 33
De la carte 45
De l'annuaire 115
Démarrer navigation 46
Description d'itinéraire 46
Destinations récentes 42
Domicile 44, 48
Enregistrer 48
Entrer coordonnées 35
Evènements 124
aproximé 125
Dans une ville 126
Favoris 42
Google Local Search 123
Mes destinations 32
Nouvelle destination 31
Retourner à la maison 44,48
Destinations récentes 42, 48
Détecteur de proximity 59,62
Domicile - Modifier 50
Domicile 44, 48
Données techniques 131
Energie 14,21,137
Entrée de SMS 115
Entrer coordonnées 35
Essence 121
Essence Live. 121
Étapes
Ajouter 51
Ordre 52
Point de départ 51
Supprimer 52
État
NAVIGON Live 128
Etat GPS 92
Evenements
aproximé 125
Dans une ville 126
Favoris 42, 48
Garantie 8
Google Local Search 123
GPS
Mauvaise réception 30
Remise à zéro 30
Signaux. 16
Symboles 20
Informations routières
Afficher 97
Mode tuning. 99
Nouveau calcul 99
Présentation TMC. 95
Symboles 22
Traffic Live 127
Itinéaire 50
Itinéaires
Administrateur 52
Afficher 53
Charger. 52
Démarrer navigation 54
Description d'itinéraire 55
Enregistrer 52
Étapes 51
Point de départ 50
Profil d'itinéraire 54
Itinéaires
Simulation 53
Itinéraires à visites. 90
Itinéraires et traces GPS
Charger. 52
Planification 50
Itinéraires et traces GPS 50
Jumelage. 103
Ligne d'appels 9
Listedappels
Importer la liste des appels. 109
Listedappels
Logiciel de navigation
Demarrer 30
Manuel
Conventions 8
Symboles 8
Manuel. 19
Marque déposée 9
Menu 27
Mes adresses utiles 79
Mes destinations 32
Méteo
Méteo Live 119
Méteo Live
Méteo 119
Mode tuning. 99
Module mains-libres
Activer 107
Afficher carte 114
Annuaire 112
Appel en cours. 114
Appeler 111
Commande vocale 111
Composer 112
Configurations 116, 117
Connector 105
Module mains-libres
Connexion au téléphone mobile. 103
Entrée d'appel 110
Entrée de SMS 115
Entrer les chiffres 114
Importer annuaire 108
Importer la liste des appels. 109
Jumelage 103
Liste d'appels 113
Nouveau SMS. 110
Numéro rapide 112, 116
Ouvrir 101
Raccrocher 115
Silencieux 114
Supprimer un appareil 107
Symboles 23
Utiliser mains-libres 113
Utiliser mobile 114
MyPOIs 79
MyRoutes 47,55
Navigation
Bloquer 93, 94
Debloquer 93
Demarrer 46,54
Démarrer navigation 47, 55
Description d'itinéraire 46, 55
MyRoutes 47,55
Pas de GPS 47, 55
Profil d'itinéraire 46,54
NAVIGON Live
Abonnement 119
Activer 16
Configuration 127
Configurations 127
Couts 119
Etat 128
Symboles 21
NAVIGON Sightseeing. 88
Nouveau calcul 99
Nouvelle destination 31
Numéro rapide 116
Options : 20, 27, 56
Parking
CleverParking Live. 121 Dernière destination. 84 Mode piéton 83 Parking à proximité de la destination. 84
POI
a proximité 37 Accès direct 40 Adresses utiles sur la route 85 au niveau national 38 dans une ville 39 NAVIGON Sightseeing 88
Position actuelle Enregistrer 92 Présentation TMC 95 Profil d'itinéraire. 46, 54, 76
Réglage de la vue. 69 Remarques de sécurité 10 Retourner à la maison 44, 48
Saisie de données 26 Saisir les données 26 Service 9 Silencieux 24 Simulation
Démarrer 53 Quitter 54
Symboles du manuel. 8
Système de navigation
Carte mémoire 15 Contenu de la livraison 9 Démarrer 17 Description 10 Données techniques 13 Énergie 14 Installation 13 Pas de TMC 15
Téléphone..... voir Module mains-libres
TMC
Afficher 97 Mode tuning 99 Nouveau calcul 99 Présentation TMC 95 Symboles 22
Trace GPS
Charger 52 Enregistrement trace GPS.....21,82
Traffic Live
Informations routières 127 Symboles 22
Utiliser la commande vocale 27
Volume sonore 69