RMC275 PVS - INSTALLATION INSTRUCTION - Four micro-ondes encastrable BAUKNECHT - Notice d'utilisation et mode d'emploi gratuit
Retrouvez gratuitement la notice de l'appareil RMC275 PVS - INSTALLATION INSTRUCTION BAUKNECHT au format PDF.
| Intitulé | Description |
|---|---|
| Type de produit | Four micro-ondes combiné |
| Caractéristiques techniques principales | Fonction micro-ondes, grill et convection |
| Alimentation électrique | 230 V, 50 Hz |
| Dimensions approximatives | Largeur : 59.5 cm, Hauteur : 38.2 cm, Profondeur : 40.5 cm |
| Poids | Environ 25 kg |
| Compatibilités | Compatible avec les plats allant au micro-ondes |
| Type de batterie | Non applicable |
| Tension | 230 V |
| Puissance | 900 W (micro-ondes), 1000 W (grill), 2500 W (convection) |
| Fonctions principales | Réchauffage, cuisson, décongélation, grillade |
| Entretien et nettoyage | Nettoyage intérieur avec un chiffon humide, ne pas utiliser de produits abrasifs |
| Pièces détachées et réparabilité | Disponibilité des pièces détachées à vérifier auprès du fabricant |
| Sécurité | Protection contre la surchauffe, verrouillage de sécurité pour enfants |
| Informations générales utiles | Consulter le manuel d'utilisation pour des instructions détaillées et des conseils d'utilisation |
FOIRE AUX QUESTIONS - RMC275 PVS - INSTALLATION INSTRUCTION BAUKNECHT
Téléchargez la notice de votre Four micro-ondes encastrable au format PDF gratuitement ! Retrouvez votre notice RMC275 PVS - INSTALLATION INSTRUCTION - BAUKNECHT et reprennez votre appareil électronique en main. Sur cette page sont publiés tous les documents nécessaires à l'utilisation de votre appareil RMC275 PVS - INSTALLATION INSTRUCTION de la marque BAUKNECHT.
MODE D'EMPLOI RMC275 PVS - INSTALLATION INSTRUCTION BAUKNECHT
Outillage et pieces 7
Exigences d'emplacement de l'ensemble four à
micro-ondes et four conventionnel encastrés 7
Specifications electrodes. 8
INSTRUCTIONS D'INSTALLATION 9
Preparation de l'ensemble four à micro-ondes et
four conventionnel encastrés 9
Dépose de la porte du four 9
Dépose de la garniture du four 9
Raccordementélectrique 10
Installation du four 11
Achever l'installation 12
BUILT-IN MICROWAVE/OVEN COMBINATION SAFETY
À conserver pour consultation par l'inspecteur local des installations électriques.
INSTALLATION REQUIREMENTS
Tools and Parts
Votre sécurité et celle des autres est très importante.
Nous donnons de nombreux messages de sécurité importants dans ce manuel et sur votre apparil ménager. Assurez-vous de plusieurs lors tous les messages de sécurité et de vous y conformer.

Voici le symbole d'alerte de sécurité.
Ce symbole d'alerte de sécurité vous signale les dangers potentiels de décès et de blessures graves à vous et à d'autres.
Tous les messages de sécurité suivront le symbole d'alerte de sécurité et le mot "DANGER" ou "AVERTISSEMENT". Ces mots signifient :
DANGER
AVERAGEMENT
Risque possible de décès ou de blessure grave si vous ne suivez pas immédiatement les instructions.
Risque possible de décès ou de blessure grave si vous ne suivez pas les instructions.
Tous les messages de sécurité vous diront quel est le danger potentiel et vous disent comment réduire le risque de blessure et ce qui peut se produit en cas de non-respect des instructions.
EXIGENCES D'INSTALLATION
Outillage et pieces
Rassembler les outils et pièces nécessaires avant de commencer l'installation. Lire et suivre les instructions fournies avec les outils indiqués ici.
Outillage nécessaire
Tournevis Phillips
Metre ruban
Perceuse manuelle ou électrique (pour l'installation dans un placard mural)
Foret de 1" (25 mm) (pour l'installation dans un placard mural)
Niveau
Pièces nécessaires
Connecteur de conduit (homologation UL ou CSA)
Connecteurs de fils (homologation UL)
Pèces fournies
Vis n^8 - 14 de 1'' - four simple (2), four double (4)
Évent du fond (fourni sur certains modèles)
- Deux vis n° 8-18 de %" - évent du fond (fourni sur certains modèles)
Garniture latérale
Consulter les codes locaux. Vérifier l'alimentation électrique existante. Voir "Spcifications électriques".
Il est recommandé de faire réaliser tous les raccordements électriques par un electricien qualifié/agree.
Exigences d'emplACEMENT de l'ensemble four à micro-ondes et four conventionnel encastrés
IMPORTANT : Observer les dispositions de tous les codes et règlements en vigueur.
Respecter les dimensions individues pour la cavité d'installation entre les placards. Ces dimensions prennent en compte les dégagements de séparation nécessaires.
L'espace d'installation doit permettre la formation d'une enceinte complète autour de la partie encastrée du four.
Une source d'électricité avec liaison à la terre est nécessaire. Voir la section "Spcifications électriques".
Le boîtier de raccordement doit être situé au maximum à 3'' (7,6 cm) au-dessous de la surface de support lorsque le four est installé dans un placard mural. Un trou de diamètre 1'' (2,5 cm) ou plus doit avoir été percé dans l'angle arrêtée gauche ou droit de la surface de support pour le passage du cable d'alimentation de l'appareil jusqu'àu boîtier de connexion.
La surface de support du four doit être robuste, horizontally et en affleurement avec le bas de l'ouverture découvert dans le placard. Le plancher doit être capable de supporter un poids total (four à micro-ondes et four encastré) de 238 lb (108 kg).
IMPORTANT : Afin d'éviter tout dommage aux placards, consulter le constructeur de la maison ou le fabricant des placards afin de déterminer si les matériaux utilisés pourraient subir un changement de couleur, une déstratification ou d'autres dommages. Ce four a été concu conformément aux exigences des normes UL et CSA International et respecte les températures maximales autorisées de 194^ (90^) pour les placards en bois.
Fours de 27" (68,6 cm) et 30" (76,2 cm)

Modèle de 27" (68,6 cm)
A. Largeur de l'encastrement 25% (64,3 cm)
B. Hauteur hors-tout 423 ‰ '' (107,6 cm)
C. Largeur hors-tout 263 / 4'' (67,9 cm)
D. Profondeur de l'encastrement 23" (58,4 cm) max.
E. Hauteur de l'encastrement 41" (104,1 cm)
Modèle de 30" (76,2 cm)
A. Largeur de I'encastrement 28 16 " (71,9 cm)
B. Hauteur hors-tout 423 ‰ "(107,6 cm)
C. Largeur hors-tout 29 34'' (75,6 cm)
D. Profondeur de l'encastrement 23" (58,4 cm) max.
E. Hauteur de l'encastrement 41" (104,1 cm)
Dimensions du placard
Fours de 27" (68,6 cm) et 30" (76,2 cm)

Modèle de 27" (68,6 cm)
A. Largeur du placard 27^th (68,6 cm) min.
B. 1" (2,5 cm) entre le sommet de l'ouverture et le bas de la portedu placard supérieur
C. 1914 " (48,9 cm) entre le bas de l'ouverture et le plancher
D. Largeur de l'ouverture 25½" (64,8 cm)
E. 112 " (3,8 cm) min. entre le bas de l'ouverture et le haut de la porte du placard
F. Hauteur de l'ouverture 4114 (104,8 cm)
Modèle de 30" (76,2 cm)
A. Largeur du placard 30^th (76,2 cm) min.
B. 1" (2,5 cm) entre le sommet de l'ouverture et le bas de la porte du placard supérieur
C. 19 14 " (48,9 cm) entre le bas de l'ouverture et le plancher
D. Largeur de l'ouverture 28 12 " (72,4 cm)
E. 112 " (3,8 cm) min. entre le bas de l'ouverture et le haut de la porte du placard
F. Hauteur de l'ouverture 41¼" (104,8 cm)
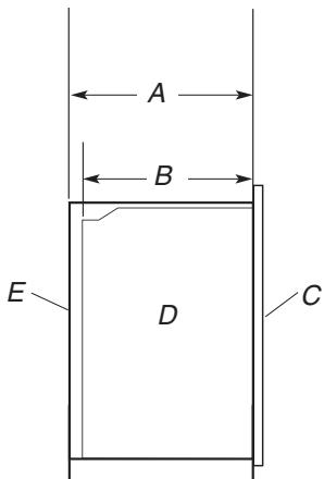
Vue latérale du placard

A. Profondeur de l'ouverture 2314 (59,1 cm) min.
B. Profondeur du four encastre 23" (58,4 cm)
C. Façade du four
D. Four encastré
E. Placard
Specifications électriques
Si on utilise un conducteur distinct de liaison à la terre lorsque les codes le permettent, il est recommendé qu'un électricien qualifié vérifie que la liaison à la terre et le calibre pour fils sont conformes aux codes locaux.
En cas de doute quant à la qualité de la liaison à la terre du four, consulter un électricien qualifié.
Ce four doit être raccordé à un système permanent, métallique de câblage relié à la terre.
S'assurer que la connexion électric et le calibre des fils sont appropriés et conformes au National Electrical Code, aux normes ANSI/NFPA 70 - dernière édition, ou aux normes CSA C22.1-94, au Code canadien de l'électricité, Partie 1 et C22.2 N° O-M91 - dernière édition, et à tous les codes et règlements locaux.
Pour obtenir un exemplaire de la norme des codes ci-dessus, contacter :
Raccordement électrique
Pour installer le four correctement, il faut étabir le type de raccords électriques que l'on utilisera et suivre les instructions indiquées ici.
Le four doit être alimenté par une source d'électricité appropriée (caracteristiques de tension et fréquence spécifiées sur la plaque signalétique). La plaque signalétique est située en bas de la glissière de droite. Voir l'illustration ci-dessous.

A. Plaque signalétique
- Un modele de 7,3 à 9,6 kW/240 volts (5,5 à 7,2 kW/208 volts) doit être alimenté par un circuit indépendant de 40 A. Un modele de 7,2 kW ou moins à 240 volts (5,4 kW ou moins à 208 volts) doit être alimenté par un circuit indépendant de 30 A.
On recommende d'utiliser un disjoncteur temporisé.
Raccorder l'appareil directement au tableau de distribution (fusible ou disjoncteur) par un cable à conducteur de cuivre à gaine flexible et blindage métallique ou à gaine non métallique (avec conducteur de liaison à la terre). Voir la section "Raccordement électrique".
Le cable flexible du four doit être connecté directement au boîtier de connexion.
Ne pas couper le conduit. La longueur du conduit fournie est destinée à faciliter l'entretien du four.
L'installateur doit fournir un connecteur de conduit (homologation UL ou CSA).
Si le domicile est équipé d'un câblage en aluminium, suivre les instructions suivantes :
- Connecter une section de cable en cuivre massif aux conducteurs en queue de cochon.
- Connecter le câblage en aluminium à la section ajoutée de câblage en cuivre en utilisant des connecteurs et/ou des outils spécifique conçus et homologues UL pour fixer le cuivre à l'aluminium.
Applique la procEDURE recommendée par le fabricant des connecteurs. La connexion aluminium/cuivre doit être conforme aux codes locaux et aux pratiques de câblage acceptées par l'industrie.
INSTRUCTIONS D'INSTALLATION
Préparation de l'ensemble four à micro-ondes et four conventionnel encastrés
- Choiser l'emplacement final pour l'installation du four. Repérer le câblage existant pour éviter de leincer ou de l'endommager lors de l'installation.
AVERAGEMENT
Risque du poids excessif
Utiliser deux ou plus de personnes pour déplacer et installer le four.
Le non-respect de cette instruction peut cause une blessure au dos ou d'autre blessure.
- Pour éviter d'endommager le plancher, placer le four sur une feuille de carton avant l'installation. Lors des opérations de levage, ne pas prendre prise sur la poignée ou sur une autre partie du chassis avant.
- Enlever les matériaux d'emballage et les rubans adhésifs du four.
- Enlever le matériel à l'intérieur du sachet de documentation.
- Enlever et conserver à part les grilles et autres composants qu'on trouve à l'intérieur du four.
- Approcher le four et le carton de l'emplacement final du four.
Dépose de la porte du four
IMPORTANT : Employer les deux mains pour enlever la/les portes) du four.
- Ouvrir la portedu four.
- Identifier les charnières de la porte du four dans les deux angles de la porte; faire pivoter les charnières vers l'avant jusqu'à la position de déverrouillage.

A. Porte du four - position de verrouillage

B. Porte du four - position de déverrouillage
- Saisir les bords de la porte du four avec les deux mains et effectuer une manoeuvre de fermeture de la porte du four, jusqu'à la position où la fermeture de la porte n'est plus possible. Soulever et tirer la porte du four vers soi et enlever la porte. Conserver la/les portes) du four à part sur une surface de travail couverte.

Dépose de la garniture du four
- Les garnitures latérales se situent sur le côté droit du four.
Couper l'attache de fixation etsteroler les garnitures latérales. - Retirer l'attache de fixation du cote du four.
REMARQUE : Les vis servant à fixer les garnitures latérales (après avoir installé le four dans le placard) sont fournies dans le sachet de vis à l'intérieur du sachet de documentation.
AVERAGEMENT

Risque de chocolélectrique
Déconnecter la source de courant électrique avant l'entretien.
Utiliser du fil en cuivre rigide de calibre 8.
Relier le four à la terre.
Le non-respect de ces instructions peut causeur un décès, un incendie ou un choc électrique.
Le câblage d'alimentation de ce four compte un conducteur neutre (blanc) et un conducteur vert (ou nu) de liaison à la terre connecté à la caisse; ces deux conducteurs sont torsadés.
- Déconnecter la source de courant électrique.
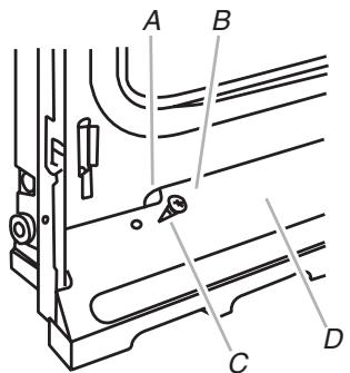
- Faire passer le conduit de cable flexible depuis le four à travers l'ouverture dans le placard.
- Le cas échéant, enlever le couvercle du boitier de connexion.
- Installer un connecteur de conduit (homologation UL ou CSA) sur le boîtier de connexion.

A. Connecteur de conduit (homologation UL ou CSA)
- Acheminer le conduit de cable flexible depuis le four jusqu'au boîtier de connexion - utiliser un connecteur de conduit (homologation UL ou CSA).
- Serrer les vis sur le connecteur de conduit.
- Voir "Tableau des options de raccordement électrique" pour terminer l'installation correspondant à votre type de raccordement électrique.
Tableau des options de raccordement électrique
Câble à 4 conducteurs depuis le point de distribution du domicile
| Câblage de la maison : | Voir la section : |
| 4 conducteurs | Câble à 4 conducteurs depuis le point de distribution du domicile |
| 3 conducteurs | Câble à 3 conducteurs depuis le point de distribution du domicile |
IMPORTANT : Utiliser le cable à 4 conducteurs provenant du point de distribution du domicile aux États-Unis lorsque les codes ne permettent pas la mise à la terre par l'intermédiaire du conducteur neutre, en cas de nouvelle installation avec alimentation par un circuit secondaire (1996 NEC), dans les résidences mobiles et les vehicules récréatifs, dans les nouvelles constructions, et au Canada.

A. Câble depuis le point de distribution du domicile
B. Conducteurs noirs
C. Conducteurs rouges
D. Câble flexible à 4 conducteurs depuis le four
E. Boitier de connexion
F. Conducteurs blancs
G. Connecteurs de fils (homologation UL)
H. Conducteurs verts (ou nus) de liaison à la terre
I. Connecteur de conduit (homologation UL ou CSA)
- Connecter ensemble les 2 conducteurs noirs (B) avec un connecteur de fils (homologation UL).
- Connecter ensemble les 2 conducteurs rouges (C) avec un connecteur de fils (homologation UL).
- Detorsader le conducteur blanc du conducteur vert (ou nu) de liaison à la terre provenant du four.
- Connecter ensemble les 2 conducteurs blancs (F) avec un connecteur de fils (homologation UL).
- Connecter le conducteur vert (ou nu) de liaison à la terre (H) du cable du four au conducteur vert (ou nu) de liaison à la terre dans le boîtier de connexion - utiliser un connecteur de fils (homologation UL).
- Installer le couvercle du boitier de connexion.
Câble à 3 conducteurs depuis le point de distribution du domicile - É.-U. seulement
IMPORTANT : Utiliser le cable à 3 conducteurs depuis le point de distribution du domicile lorsque les codes locaux autorisent un tel raccordement.

A. Câble depuis le point de distribution du domicile
B. Boitier de connexion
C. Conducteurs noirs
D. Conducteurs blancs
E. Conducteur vert (ou nu) de liaison à la terre (depuis le four)
F. Câble flexible à 4
conducteurs depuis le four
G. Conducteurs rouges
H. Connecteurs de fils (homologation UL)
I. Connecteur de conduit (homologation UL ou CSA)
- Connecter ensemble les 2 conducteurs noirs (C) avec un connecteur de fils (homologation UL).
- Connecter les 2 conducteurs blancs (D) et le conducteur vert (ou nu) de liaison à la terre (du cable du four) avec un connecteur de fils (homologation UL).
- Connecter ensemble les 2 conducteurs rouges (G) avec un connecteur de fils (homologation UL).
- Installer le couvercle du boitier de connexion.
Installation du four
AVERAGEMENT
Risque du poids excessif
Utiliser deux ou plus de personnes pour déplacer et installer le four.
Le non-respect de cette instruction peut cause une blessure au dos ou d'autre blessure.
- À l'aide de deux personnes ou plus, soulever le four pour l'introduire partiellement dans l'ouverture d'installation dans le placard; utiliser l'ouverture du four comme zone de prise.
REMARQUE : Pousser contre la zone du joint du four sur le châssis avant pour introduire le four dans le placard. Ne pas pousser contre les bords externes.

- Pousser contre la zone du joint du chassin avant pour introduire complètement le four dans le placard et centerer le four dans l'ouverture.

- Sur les modèles avec pieds installés pour l'expédition, utiliser un tournevis Phillips pour oter les vis fixant les pieds installés pour l'expédition.
- Pousser complètement le four dans le placard; centrer le four dans la cavité du placard.
- Fixer solidement le four sur les éléments du placard avec les vis fournies n°8-14 de 1" (2 pour un four simple, 4 pour un four double). Insérer les vis à travers les trous des rails de montage. Ne pas serrer excessivement les vis.

A.Rail de montage
B. Insérer la vis
- Sur certains modèles, l'évent du four est fixé au côté du four avec du ruban adhésif. Voir les instructions suivantes pour l'installation.
■ nsérer les onglets de l'objet (B) dans les ouvertures (A) du chassin du four.
Fixer solidement l'event au four en utilisant une vis (C) n° 8-18 de 3/8" pour chaque côté de l'objet.

A. Ouverture du chassin du four
B. Onglet de I'event
C. Vis n^ 8 - 18 de 3 / 8"
D. Évent du four
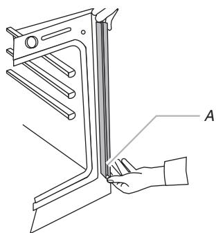
- Faire glisser l'extrémité supérieure de chaque tringle de garniture, vers le haut, dans les rails latéraux du four.

- Appuyer pour insérer chaque tringle de garniture et la mettre en place à l'extrémité inférieure.

A. Appuyer pour la mise en place de la tringle de garniture et réinstaller la vis.
- Utiliser les vis à tête plate n^ 8 - 18 × 3% fournies dans le sachet de vis, pour fixer chaque piece de garniture sur le four.
- Réinstaller les grilles du four.
- Réinstaller la porte du four - insérer les extrémités des charnières dans les ouvertures destinées à les recevoir, sur le chassin du four.
- Enconcer les charnières aussi loin qu'elles peuvent aller et ouvrir la porte du four. On doit percevoir le mouvement de mise en place de la porte du four.
- Faire pivoter les deux charnières jusqu'à la position de verrouillage.
- Effectuer quelques manœuvres de fermeture/ouverture de la porte du four pour vérifier le bon fonctionnement. En cas d'impossibilité d'ouverture ou fermeture parfaite de la porte, repeter le processus de dépose et de réinstallation de la porte. Voir la section "Préparation du four encastré".
- Répéter ceci pour la porte du four inférieur.
- Reconnecter la source de courant électrique.
- Le tableau d'affichage s'allumera brievement et "PF" devrait s'afficher.
- Si le tableau d'affichage ne s'allume pas, consulter la section "Assistance ou service" du Guide d'utilisation et d'entretien ou contacter le marchand qui vous a vendu le four.
Achever l'installation
- Vérifier que toutes les pieces sont maintainant installées. S'il reste une piece, passer en revue les différentes étapes pour découvertra laquelle aurait été oubliee.
- Vérifier la présence de tous les outils.
- Jeter ou recycler tous les matériaux d'emballage.
- Pour l'utilisation et le nettoyage du four, lore le Guide d'utilisation et d'entretien.
Vérification du fonctionnement du four inférieur
- Mettre l'appareil sous tension. L'affichage devrait indiquer "PF".
- Appuyer sur BROIL (cuisson au gril). "BROIL" apparait sur l'affichage.
- Appuyer sur START (mise en marche). S'assurer que la port du four est fermée et que le témoin lumineux "ON" (marche) est allumé sur l'affichage.
Si le(s) four(s) ne fonctionne(nt) pas, contrôler ce qui suit :
Les fusibles du domicile sont intacts et serrés; le disjoncteur n'est pas déclenché.
La prise de courant est correctement alimentée.
Voir la section "Dépannage" dans le Guide d'utilisation et d'entretien.
- ÀpRES 5 minutes de fonctionnement du four, évaluer l'échauffement au toucher.
Si aucune chaleur n'est dessentie ou si un "F" apparait sur l'affichage, eteindre le four et contacter un technician qualifie.
- Appuyer sur LOWER OFF/CANCEL (arrêt/annulation du four inférieur).
Pour le réglage de l'horloge et d'autres fonctions du four, voir le Guide d'utilisation et d'entretien.
Vérification du fonctionnement du four à micro-ondes
- Remplir un contenant adapté aux micro-ondes avec 1 tasse (250 mL) d'eau et placer le contenant dans le four à micro-ondes. Bien fermer la porte.
- Régler le four à micro-ondes pour une durée de cuisson de "2:00" minutes.
- Appuyer sur START (mise en marche). La lumière interieure du four à micro-ondes devrait être allumée et la durée de cuisson restante devrait s'afficher.
Lorsque l'affichage indique "1:00" minute, ouvrir la porte du four à micro-ondes. La cuisson par les micro-ondes devrait cesser. Bien fermer la porte. La lumière interieure du four à micro-ondes devrait s'eteindre.
Notice Facile