VK230110 - Cuiseur vapeur GAGGENAU - Notice d'utilisation et mode d'emploi gratuit
Retrouvez gratuitement la notice de l'appareil VK230110 GAGGENAU au format PDF.
| Type d'appareil | Cuiseur vapeur |
| Capacité | Non précisé |
| Matériau du récipient | Non précisé |
| Nombre de niveaux | Non précisé |
| Puissance | Non précisé |
| Type de commande | Manuelle et digitale |
| Affichage | Écran digital |
| Minuterie | Oui |
| Fonction maintien au chaud | Oui |
| Sécurité | Protection contre la surchauffe |
| Dimensions | Non précisé |
| Poids | Non précisé |
| Accessoires inclus | Non précisé |
| Nettoyage | Facile, compatible lave-vaisselle |
| Alimentation | Électrique |
| Couleur | Blanc |
FOIRE AUX QUESTIONS - VK230110 GAGGENAU
Questions des utilisateurs sur VK230110 GAGGENAU
0 question sur cet appareil. Repondez a celles que vous connaissez ou posez la votre.
Poser une nouvelle question sur cet appareil
Téléchargez la notice de votre Cuiseur vapeur au format PDF gratuitement ! Retrouvez votre notice VK230110 - GAGGENAU et reprennez votre appareil électronique en main. Sur cette page sont publiés tous les documents nécessaires à l'utilisation de votre appareil VK230110 de la marque GAGGENAU.
MODE D'EMPLOI VK230110 GAGGENAU
Notice d'utilisation et de pose
VK 230
Cuiseur à vapeur

Ppréambule
- Instructions importantes page 3-4
1.1 Sécurité page 3
1.2 Première mise en service page 3
1.3 Utilisation page 4
2.Description et principe de fonctionnement page 5-6
2.1 Description de l'appareil page 5
2.2 Accessoires de série et optionnels page 5
2.3 Principe de fonctionnement page 6
-
Utilisation page 7-10
-
Étalandnage du point d'ébullition page 7
- Mise en marche / arrêt page 7
- Utilisation avec minuterie page 8
-Mise en place de la poignee speciale page 8 - Fonctionnement de la sécurité enfants page 9
- Sécurité en cas d'absence page 9
- Vidange du liquide de cuisson page 10
4.Nettoyage et entretien page 11
5. Maintenance page 12
6. Conseils pratiques page 13-17
6.1 Domaines d'utilisation de l'appareil page 13
6.2 Tableau de cuisson page 14-15
6.3 Recettes page 16
6.4 Trucs et astuces page 17

Grçá à votre cuiseur à vapeur, vous prendrez encore plus de plaisir à cuisiner.
L'appareil vous offre les avantages suivants :
-cuisson sans pression,
-programmation de l'heure d'arrêt,
- installation très facile, grâce au nouveau système de pose !
Pour que vous puissiez profiter de toutes les fonctions de l'appareil, lisez attentivement la notice d'utilisation et de pose avant la première mise en service. Cette brochure contient des instructions importantes concernant l'utilisation, l'st installation et la maintenance de l'appareil.
Vous trouvrez en page suivante des instructions importantes concernant la sécurité et l'utilisation. Elles ont pour but d'assurer votre protection personnelle et de préserver la durée de vie de votre apparéil.
En page 3, se trouvent des instructions à observer avant la première mise en service.
Les chapitres « Description et principe de fonctionnement » et « Utilisation » vous montrent tout ce que peut faire votre plaque de cuisson et comment procéder pour en tirer le maximum.
Le chapitre « Nettoyage et entretien » vous indique comment faire pour préserver l'esthétique de votre apparéil.
Si vous ne parvenez pas à activer une fonction, consultez le chapitre « Conseils pratiques ». Si ces conseils ne sont pas suffisants, adressez-vous à votre service après-vente Gaggenau.
Bonnes recettes!
1. Instructions importantes
1.1 Sécurité
Ne faites pas fonctionner l'appareil s'il est endommagé.
L'appareil doit être raccordé uniquement par un technicien agréé, en conformité avec toutes les règles des entreprises de distribution d'électricité et les réglementations sur la construction.
Respectez les instructions de montage!
Si des apparèils électriques sont branchés à proximé de l'appareil, faites en sorte que les cordons électriques ne soient pas en contact avec des surfaces très chaudes!
L'utilisateur est responsable du bon usage et du parfait etat de l'appareil
Ne laissez pas fonctionner l'appareil sans surveillance.
Ne faites pas fonctionner l'appareil a vide!
Attention risque d'incendie! Ne laisserez pas des objets inflammables dans l'appareil. Seuls les éléments interieurs effectivement nécessaires peuvent rester dans l'enceinte de cuisson pendant la marche.
Attention! L'appareil chauffe pendant la marche.
Maintenez les enfants à distance!
Ne nettoyez pas l'appareil avec un nettoyeur à vapeur ou à pression d'eau : risque de court-circuit !
A chaque opération de maintenance, il faut isoler l'appareil du secteur, soit en débranchant la fiche d'alimentation, soit en désactivant le fusible concerné.
Afin que la sécurité électricque soit garantie, les réparations doivent être confiées à des techniciens agréés.
Aucune garantie ne peut etre assumee pour les dommages generes par le non-respect de la presente notice.
Sous réserve de modifications techniques!
1.2 Première mise en service
Avant demettre pour la première fois l'appareil en marche, respectez les consignes suivantes :
- Faites poser et brancher l'appareil par un technicien.
- Lisez soigneusement et intégralement les instructions d'utilisation et de pose.
- Sortez l'appareil de l'emballage et éliminez ce dernier de manière conforme.
Remarque : des accessoires se trouvent au fond de l'emballage !
Ne laissez pas les enfants jouer avec l'emballage.
- Avant la première utilisation sortez tous les éléments amovibles de l'appareil.
- Avant la première utilisation, nettoyez soigneusement l'appareil et ses accessoires afin d'éliminer les évientuelles odeurs de neuf et les salissures d'emballage (voir chapitre Nettoyage et entretien).
- Avant mise en service, assurez-vous que le branchement électrique est en ordre.
- La plaquette d'identification de l'appareil est fournie sur un feuillet séparé de la notice.
Conservez-la au même endroit que votre notice d'utilisation et de pose !
Étalonnage du point d'ébullition :
Lors de la première mise en service et après un changement d'emplacement, il faut proceder à l'étalonnage du point d'ébullition (voir chapitre Utilisation).
Cet étalonnage est impératif, car le point d'ébullition de l'eau dépend de l'altitude du lieu par rapport au niveau de la mer. Si l'étalonnage n'est pas fait, l'appareil risque deprésenter des dysfonctionnements.
1.3 Utilisation
- L'appareil est concu exclusivement pour un usage domestique et toute autre utilisation est interdite.
Utilisez l'appareil uniquement pour faire cuire et préparer des alimentes. Le cuiser à vapeur n'est pas conscience pour chauffer la pierce! - Le cuiseur à vapeur est concu pour être utilisé seulement avec de l'eau. Il ne faut pas l'utiliser pour faire de la friture.
- Ne laisserez pas d'objets inflammables dans l'appareil. Seuls les objets doivent nécessaires peuvent rester dans le cuisseur à vapeurpendant la marche.
- N'utilisez que les bacs prévus à cet effet. Attention! Risque de brûlure! Pour insérer et extraire les bacs, utilisez la poignée spéciale.
- Le symbole (Cuisson) s'eteint dans le bandeau de commande d'es que la température programmée est atteinte.
- Àpres cuisson, ramenez le bouton «température » en position « 0 »!
- Nettoyez régulièrement l'appareil, autant que possible après chaque utilisation.
- Une protection de température intégrée empêche la surchauffe de l'appareil. Ne pasmettre l'appareil en marches s'il est vide (uniquement avec du liquide de cuisson, jamais d'huîle ou similaire!). Si le cuiseur à vapeur est vide, il se coupe automatiquement et le symbole (limiter) apparait sur l'afficheur. Dans ce cas, mettez le bouton « Température » en position 0. Attendez que l'appareil ait refroidi. Mettez du liquide de cuisson dans l'appareil, puis attendez qu'il ait refroidi afin que le symbole (limiter) n'apparaisse plus sur l'afficheur lors de l'allumage suivant.
Remarque : l' apparition du symbole (×) (limiter) sur l'afficheur peut avoir plusieurs causes (voir chapitre « Description et principe de fonctionnement »). - L'appareil est doté d'une « sécurité vacances ». L'appareil est systématiquelement
arrêté après 4 heures si dans ce décai, vous n'avez pas touché au bouton «température». Des tirets sont visibles sur l'afficheur.
- Dès que le niveau n'atteint plus le minimum (repère inférieur), rajoutez du liquide de cuisson.
Le niveau d'eau doit atteindre au moins la marque inférieure et ne pas dépasser le rebord. Attention : risque d'incendie si le niveau mini n'est pas atteint ! - Attention à ce que la sortie de vapeur ne soit pas obturée pendant la marche.
- Attention!
Ne posez pas le couvercle en verre chaud sur un plan de travail froid et humide, et ne le refroidissez pas sous l'eau courante froide. Le couvercle risquerait d'éclater. Tout couvercle endommagé doit être remplace sans déliai. Si des éclats de verre tombent dans la cuve de cuisson, ne consommez pas les aliments préparés dans le cuiseur! Le couvercle doit toujours être bien en place sur l'appareil! - N'utilisez pas le couvercle en verre comme desserte.
- Soyez très prudent lorsque vous vidangez l'eau chaude sans disposer d'un raccordement d'évacuation fixe. Risque de brûture! Utilisez pour ce faire un récipient résistant à la température et offrant une capacité suffisante (seau de 10 litres par exemple). Servez-vous du kit d'évacuation (voir instructions de pose).
- Si vous n'avez pas d'évacuation fixe et si vous avez des enfants en bas âge, verrouillez les portes de l'élement bas, de façon à réduire les risques de brûlure.
- L'évacuation fixe doit être faite en conformité avec les directives en viqueur!
- En cas d'anomalie de fonctionnement, vérifie si la sécurité enfants n'est pas activée (voir page 9). Ensuite, vérifie les fusibles du logement. Si l'alimentation électrique est en ordre alors que votre apparéil ne fonctionne pas, avertissez le service après-vente Gaggenau le plus proche.
2. Description et principe de fonctionnement
2.1 Description de l'appareil


2.2 Accessoires de série et optionnels

1 Afficheur
2 Couvercle en verre
3 Orifice de sortie de vapeur
4 Bord antidébordement
5 Cuve de cuisson
6 Bouton « minuteur » (plage de réglage 1 à 90 minutes) et fonction « vidange »
7 Bouton «température» avec fonction « cuisson vapeur » et « vidange »
Bandeau de commande :
afficheur pour les fonctions suivantes:
symbole (cuisson)
indication de la température programmee
indication de la durée programmee (en minutes)
symbole limiteur
symbole cuisson vapeur
symbole robinet de vidange ouvert
L'appareil est livré en série avec les accessoires suivants (fig. 4):
- couvercle en verre avec bouton
- GE 020-010 : bac non perforé
- GE 020-020 : bac perforé
- poignée pour les bacs
Vous pouvez commander les accessoires optionnels suivants :
- VD 201-010 : couvercle
- VV 200-000 : profilé de jonction pour montage avec d'autres appareils
- FK 023-000 : panier à pâtes (1)
- GE 020-010: bac non perforé (2)
- GE 020-020 : bac perforé (3)
- AG 060-000 : kit d'évacuation pour vidange de l'eau
- AG 050-000 : kit d'évacuation pour branchement fixe
2.3 Principé de fonctionnement
La cuisson à l'étouffée consiste à cuire dans un courant de vapeur d'eau dont la température est d'environ 100^ .
C'est la vapeur qui transmet la chaleur. Les alimentents convenant à ce mode de cuisson sont, par exemple, les légumes, les pommes de terre, le poisson, les boulettes à la levure de boulanger.
Le cuisseur à vapeur est un apparéil multifonction qui permet plusieurs modes de cisson et de préparation : vapeur, étouffée, cisson traditionnelle, pochage, blanchiment.
La vapeur entoure le mets et évite les pertes de substances nutritives. Le mets préparé conserve sa forme, sa couleur et son arôme typique ; il ne brunit pas.
L'appareil vous permet de cuir à la vapeur sans pression, dans un ou deux bacs.
Avec les bacs perforés, la vapeur peut entraire de tous les cots en contact avec le mets, ce qui garantit une cuisson régulière, même si la quantité d'aliment est importante.
Vous pouvez faire varier la température du liquide de cuisson par paliers de 5^ entre 45 et 95^ . Cette précision de réglage vous permet par exemple de préparer du chocolat à napper, de pocher de la viande ou de faire cuire des nouilles.
Étalonnage du point d'ébullition :
lors de la première mise en service et en cas de changement d'emplacement, il faut procéder à l'étalonnage (voir chapitre Utilisation).
Remarque :
en cas de non-respect de l'étalonnage du point d'ébullition, des dysfonctionnements peuvent se produit sur votre cuiseur à vapeur; en particulier, il peut produit trop ou pas assez de vapeur.
3. Utilisation
Étalandage du point d'ébullition

Mise en marche
Attention! L'appareil devient très chaud !

Important! Ne mettez jamais le cuiseur en marche à vide.

Arrêt

Avant la première mise en service, et lors d'un changement d'emplacement, il faut proceder à l'étaconnage du point d'ébullition.
Procedez de la maniere suivante:
- Remplissez d'eau la cuve du cuiseur jusqu'à la marque minimale et posez le couvercle en verre.
- Mettez le bouton «température» en position 95^ .
- Dans les 5 secondes qui suivent :
- Faites faire 2 allers et retours au bouton, entre la position (cuisson vapeur) et la position 95^ , puis laissez-le en position (cuisson vapeur) (fig. 5).
Remarque : pendant l'étalonnage automatique du point d'ébullition, le symbole (cuisson) clignote. Dès que le symbole (cuisson) ne clignote plus, l'étalonnage est terminé et l'appareil est prét à fonctionner.
La durée de l'étalonnage dépend de la quantité d'eau et de sa température ; elle se situe entre 3 et 7 minutes.
Mise en marche :
- Remplissez la cuve d'eau ou d'un autre liquide de cuisson (quantités : voir tableau de cuisson et livre de recettes). La cuve doit être remplie au moins jusqu'à la marque « mini » et ne doit pas être remplie au-delà du bord (fig. 6).
- Placez le bouton «température» sur la valeur souhaitée ou sur la position «cuisson vapeur» (fig. 7).
- La température programme (entre 45 et 95^ ) ou le symbole (cuisson vapeur) apparaiscent sur l'afficheur.
Tant que l'appareil chauffe, le symbole (cuisson) est visible sur l'afficheur.
Arrêt :
ramenez le bouton «température» en position 0 (fig.8).

Important! Le bouton « température » (bouton droit) ne doit pas se couver sur la position « vidange ».

Utilisation avec minuterie:
- Tournez le bouton «température» sur la valeur ou sur le niveau de cuisson souhaités avant de régler la minuterie. Sinon, cette dernière fonctionnera sans la fonction d'arrêt.
- Placez le bouton « minuterie » en position + ou -, jusqu'à ce qu'apparaisse la durée souhaitée (fig. 9). Dès que le bouton se retrouve en position zéro, la durée programmée commence à s'écouler.
Après le temps programme, l'appareil s'arrête automatiquement et un signal sonore se fait entendre.
Si vous arrêtez l'appareil plus tôt, la minuterie continue à marcher sans la fonction d'arrêt.
Après expiration de la durée programmée, un signal sonore retentit. Pour l'arrêter, tournez un des boutons.
Remarque : le minuteur est utilisable même lorsqué l'appareil est arrêté.
Mise en place de la poignée spéciale dans les bacs :
L 'insertion et l'extraction des bacs n'est possible qu'avac la poignee spéciale foumie. La poignee spéciale n'est pas conque pour returner les bacs, par exemple pour en verser le contenu.
Remarque:
La poignée spéciale permet de protégger les mains contre les brûlures pouvant se produit pendant l'utilisation.
Procedez de la maniere suivante:
- Introduisez la poignée spéciale dans l'évidement prévu à cet effet.
Rabattez l'arceau vers l'arrière. - Relevez la poignée vers le haut (voir fig. 10).

Fonctionnement de la sécurité enfants
Activation
- Tournez le bouton « minuteur » vers la gauche, jusqu'à la position moins et maintenez-le dans cette position.
- Toumez le bouton «température» vers la droite, sur une température quelconque.
- Ramenez le bouton « température » en position 0.
- Ramenez le bouton « minuteur » en position 0. Sur l'afficheur, l'indication Ⓞ (sécurité enfants) clignote (fig. 11). Vous pouvez maintainant tourner le bouton température dans une position quelconque sans que l'appareil chauffe.

Désactivation
- Tournez le bouton « minuteur » vers la gauche, en position moins et maintenez-le dans cette position.
- Toumez le bouton «température» vers la droite, sur une température quelconque.
- Tournez le bouton « minuteur » en positon 0.
- Tournez le bouton « température » en position 0. Le symbole sécurité enfants apparaît sur l'afficheur (fig. 12).
L 'appareil peut maintainant fonctionner.

Sécurité en cas d'absence
L'appareil est doté d'une protection garantissant la sécurité en cas d'absence. En effet, au bout de 4 heures sans intervention, toute opération de chauffe commencée est arrêtée automatiquement. Dans ce cas, des tirets clignotent sur l'afficheur (fig. 13). Àpres avoir remis les deux boutons en position 0, vous pourrez réutiliser l'appareil de manière normale.


Remarque :
Avant la vidange, laissez l'eau ou le liquide cuisson refroidir de façon à éviter la formation de vapeur dans l'élement bas et à empêcher les brûlures.
Si l'eau est très calcaire, faites un détartrage régulier afin d'éviter les décolorations et les accumulations thermiques.
Vidange du liquide de cuisson se trouvant dans la cuve :
Procedez de la maniere suivante :
- Placez un récipient collecteur (seau de 10 l par exemple) sous le robinet de vidange du kit d'évacuation optionnel AG 060-000 si vous ne disposez pas d'une évacuation fixe.
- Tournez le bouton « température » vers la gauche, jusqu'à la position (robinet de vidange).
Tournez le bouton « minuteur » vers la gauche en position et maintenez le bouton dans cette position (fig. 14).
- Un signal acoustique se fait entendre. Quelques secondes plus tard, le symbole (robinet de vidange) clignote. Le robinet de vidange s'ouvre.
Lorsque le robinet de vidange s'ouvre, le symbole 山 ^ 山 (robinet de vidange) est allumé en continu sur l'afficheur.
Fermeture du robinet de vidange :
- Toumez le bouton «température».
vers la gauche, jusqu'à la position (robinet de vidange).
-
Tournez le bouton « minuteur » vers la droite jusqu'à la position + et maintainez-le dans cette position (fig. 15).
-
Un signal sonore retentit. Quelques secondes plus tard, le symbole (robinet de vidange) clignote sur l'afficheur.
Le robinet de vidange se ferme.
Dès que le robinet est fermé, le symbole (robinet de vidange) s'eteint.
Remarque: si le robinet de vidange n'est pas complètement ouvert ou fermé, le symbole (robinet de vidange) clignote sur l'afficheur.
Si vous ne disposez pas d'une évacuation fixe, il faut placer sous le robinet de vidange un écipient résistant à la température et offrant une capacité appropriée (10 l minimum), et installer le kit d'évacuation AG 060-000.
4. Nettoyage et entretien
Pour le nettoyage, n'utilisez pas de produits agressifs ou de produits qui rayent (produits à récycler ou polissants nitrés). Utilisé des produits pour casseroles ou une Brosse à vaisse lè douce et un produit à vaisse lè normal. N'utilissez pas non plus d'éponges à gratter.
Avant la première mise en service, nettoyez soigneusement l'appareil et ses accessoires. Effectuez l'étalonnage et allumez l'appareil en mode «cuisson vapeur» pendant 30 minutes afin d'éliminer les évventuelles odeur de neuf. Videz l'eau.
Nettoyez la cuve à l'eau de vaisselette douce.
Ne pas la Traitser avec un produit d'entretien pour inox, car ces produits ne sont pas homologues pour une utilisation alimentaire.
Vous pouvez nettoyer le couvercle en verre et les bacs de cuisson au lave-vaisse.
Nettoyez le bandeau de commande uniquement avec un chiffon doux. N'utilisez pas de nettoyants à inox du commerce, car ils peuvent attaquer l'impression.
Nettoyez les organes de commande et surfaces vitrées avec un chiffon humide et un peu de produit à vaisselle, puis essuyez avec un chiffon sec doux.
Dans la mesure du possible, nettoyez les accessoires uniquement à l'eau chaude et avec un peu de produit à vaisselle.
Après chaque utilisation, nettoyez l'appareil :
- Videz et nettoyez la cuve.
- Les dépôts de salissures, de sel et de tartre peuvent provoquer de la corrosion!
Sortez le filtrer à résidus. Nettoyez les bacs et le filtrer au lave-vaisselle ou à l'eau savonneuse. La poignée doit être nettoyée uniquement à la main. - Essuyez la cuve avec un chiffon et replacez le filtré. Tant que la cuve est humide, ne posez pas le couvercle en verre dessus.
- Si l'eau est très calcaire, il peut se former un dépôt blanc dans la cuve. Dans ce cas, essuyez la cuve à l'eau vinaigrée ou avec un détartrant alimentaire, puis rincez soigneusement à l'eau claire.
- Polissez la cuve avec un chiffon doux et une goutte d'huile alimentaire.
Remarque : après quelques heures d'utilisation, les contours de chauffe sont visibles sur le fond de la cuve. Cela n'attective en rien le fonctionnement et la qualite de l'appareil.
Après nettoyage et séchage, vous pouvez conserver dans la cuve les bacs nettoyés et la poignée. Pour que le couvercle de l'appareil (option) repose bien sur la table, il faut returner le couvercle en verre.
En cas d'anomalie de fonctionnement, commencez par vérifier les fusibles du logement. Si l'alimentation électrique est en ordre alors que votre apparéil ne fonctionne pas, avertissez le service après-venture Gaggenau le plus proche.
Afin que la sécurité soit garantie, les réparations doivent être confiées à des techniciens agréés.
Les interventions non conformes, la pose ou le branchement incorrents entraînant la perte de la garantie. Avant toute réparation, il faut isoler l'appareil du secteur. Veuillez utiliser seulement des pièces de rechange d'origine.
Avant toute réparation, isolez l'appareil du secteur électric (en débranchant la fiche d'alimentation ou en retardant le fusible).
6.1 Domaines d'utilisation de l'appareil
Cuisson à la vapeur
- Remplissez le cuiseur jusqu'au repère mini.
- Placez dans l'appareil le bac de cuisson contenant le mets.
- Mettez le bouton «température» en position « cuisson vapeur »
- Posez le couvercle en verre.
Vous peuvent relever le goût des aliments en remplaçant l'eau par un liquide convenant mistréux au mets (exemples : bouillon de légumes, fonds de viande, fumets de poisson).
Maintien au chaud
- Remplissez le cuiseur jusqu'au repère mini.
- Placez dans l'appareil le bac de cuisson contenant le mets.
- Mettez le bouton « température » sur la valeur souhaïée.
- Posez le couvercle en verre.
Vous pouvez maintainir chauds les mets dans les bacs de cuisson pendant une période prolongée, sans qu'ils ne s'alterent, se desschent et perdent leur goût.
Régénération
Grâce au cuiseur à vapeur, vous pouvez régénérer (réchauffer) les mets déjà préparés.
- Remplissez le cuiseur jusqu'au repère mini.
- Mettez le mets dans le bac et placez le bouton « température » en position « cuisson vapeur ». Posez le couvercle en verre.
Dès que le symbole « cuisson » est étéint, ramenez le bouton sur la température voulue (85-95°C).
Pochage, cuisson
- Remplissez la cuve d'eau ou d'un autre liquide (ja妻is d'huile !) jusqu'au bord antidébordement.
- Placez le bouton « température » sur une valeur de température comprise entre 45 et 95^ .
- Nous vous recommendons de poser le couvercle en verre!
Utilisez le panier à pâtes (accessoire ref. FK 023-000).
Cuisson dans l'eau frémissante
- Remplissez le cuiseur à vapeur jusqu'àu bord antidébordement.
- Mettez le bouton «température» en position « cuisson vapeur »
- Ne posez pas le couvercle. Utilisez la aussi le panier à pâtes (accessoire ref. FK 023-000).
Extraction du jus
- Remplissez le cuiseur jusqu'au repère mini.
- Mettez les fruits dans le bac perforé.
- Placez d'abord le bac non perforé dans l'appareil, puis le bac perforé.
- Faites cuire à la vapeur jusqu'à ce que le jus ne soit plus.
Sterilisation
- Remplissez le cuiseur jusqu'au repère mini.
- Placez les bocaux dans le bac perforé de façon qu'ils ne se touchent pas.
- Mettez le bouton «température» en position « cuisson vapeur »
- Arrétez l'appareil dés que des perles montent dans le bocal.
- Ne sortez les bocaux de l'appareil que lorsqu'ils sont complètement refroidis.
Blanchiment
- Remplissez le cuiseur jusqu'au repère mini.
- Faites préchauffer en position cuisson vapeur.
- Mettez les légumes dans le bac non perforé.
- ÀpRES 1 à 2 minutes, trempez les légumes dans l'eau glacée pour les refroidir rapidement, puis faites-les bien égoutter.
6.2 Tableau de cuisson
Vapeur / traditionnelle
Réglage : niveau de cuisson vapeur
| Aliments | Quantité d'eau (1) | Choix du bac de cuisson | Quantité d'aliment | Préparation | Temps de cuisson* (minutes) |
| Viande | |||||
| Boulettes de viande | 1 | perforé | 500 g | 15 - 20 | |
| Filet de boeuf | 1 | non perforé | 400 g | mettre dans la cuve du sel et des herbes, par exemple 1/2 c. à café de thym | 15 - 20 |
| Escalopes de poulet farcies | 1 | non perforé fond beurré | 500 g | 20 - 25 | |
| Escalopes de dinde | 1 | non perforé fond beurré | 300 g | bouillon de légumes | 15 |
| Rôti de porc fumé et saumuré | 1 | non perforé | 1 kg | 60 | |
| Boeuf | 1 | non perforé | 1 kg | avec légumes | 85 - 90 |
| Poisson | |||||
| Filet de saumon | 1 | perforé | 600 g | 10 | |
| Truite au bleu | 1 | perforé | 2 truites | bouillon de légumes au vinaigre, dans la cuve | 8 - 10 |
| Truite au bouillon | 1 | non perforé | 2 pièces | 10 -15 | |
| Dames de cabillaud au vin | 1 | non perforé | 2 dames de cabillaud | éventuellesment: dans lit de légumes avec eau + vin | 20 |
| Filet de bar | 1 | non perforé | 3 filets | 10 - 12 | |
| Filet de sandre | 1 | non perforé | 1 kg + 0,5 l d'eau et ingrédients | 15 - 20 | |
| Moules | 1 | perforé, non perforé | dans bac perforé avec bouillon | 10 - 15 | |
| Légumes | |||||
| Chou-fleur | 1 | perforé | 1 tête | en bouquets | 20 - 30 |
| Chou-fleur et carottes | 1 | non perforé perforé | 1 kg1 kg | en bouquets en tranches | 35 - 40 |
| Brocolis | 1 | perforé | 1 tête | en bouquets | 8 - 12 |
| Haricots verts | 1 | perforé | 800 - 1000 g | 20 - 25 | |
| Chou-rave | 1 | perforé | 800 g | en tranches | 30 - 35 |
| Carottes | 1 | perforé | 1 kg | en tranches | 20 - 25 |
| Pommes de terre en robe des champes | 1 | perforé | 1 kg | 35 - 40 | |
| Pommes de terre à l'anglaise | 1 | perforé | 1 kg | coupées en deux | 20 - 25 |
| Pommes de terre à l'anglaise et chou-fleur | 1 | perforé non perforé | 1 kg1 kg | coupées en deux en bouquets | 25 - 30 |
| Asperges | 1 | perforé non perforé | 2 kg | entières | 25 - 40 |
| Courgettes, aubergines | 1 | non perforé | 500 g | en tranches | 5 - 8 |
| Épinards | 1 | non perforé | 250 g | 4 | |
| Fenouil | 1 | perforé | 4 pièces | entier | 30 - 40 |
| Garnitures | |||||
| Riz nature | 1 | non perforé | 250 g 0,5 l d'eau | 40 - 45 | |
| Riz parboiled | 1 | non perforé | 250 g 0,5 l d'eau | 20 | |
| Pâtes | 4 | panier à nouilles | 500 g | selon indication du fabricant | |
| Spätzle, pâtes (fraîches) | 4 | panier à nouilles | 500 g | 2 - 5 | |
| Garmenture aux oeufs | 1 | non perforé fond beurré | 1 litre | 10 - 15 | |
| Desserts | |||||
| Pudding au bain-marie | 1 | perforé | quantité pour moule d'1,5 l | selon indications de la recette | |
| Compote | 1 | non perforé | 1 kg, 1/4 l d'eau | 10 - 20 | |
| Boulettes à la levure de boulanger | 1 | non perforé | 8 boulettes 1/8 l de lait, beurre et sucre | 15 - 20 | |
| Riz au lait | 1 | non perforé | 250 g, 0,8 l de lait | 25 - 30 | |
| * Remarque : les temps de cuisson mentionnés ici sont indicatifs. Nous vous recommendons de toujours préchauffer le cuisseur à vapeur. Si l'appareil n'a pas été préchauffé, il faut allonger le temps de cuisson d'environ 5 minutes. | |||||
Tableau de cuisson
Pochage
Réglage : niveau de températe
| Aliments | Quantité d'eau (1) | Choix du bac de cuisson | Quantité d'aliment | Température | Temps de cuisson* (minutes) |
| Saucisses | 4 | sans | 4 - 8 paires | 75 - 85°C | 10 - 20 |
| Boulettes de viande | 4 (bouillon de viande) | sans | suivant taille | 90 - 95°C | 20 - 30 |
| Boulettes / nouilles | 4 | sans | 4 - 6 | 90 - 95°C | 20 - 30 |
| Vin chaud | - | sans | au moins 1 litre | 80 - 90°C | - |
| * Remarque : les temps de cuisson mentionnés ici sont indicatifs. | |||||
6.3 Recettes
Darnes de flétan avec jeunes carottes
menu complet, dans deux bacs de cuisson)
Pour 4 personnes :
Ingrédients
500 g de jeunes carottes
4 dames de flétan (200 g chacune)
1 citrone
Poivre
1/2 bouquet de persil
1/2 bouquet de basilic ou d'aneth
30 g de beurre
100 ml bouillon de légumes
Sel
Preparation
Remplir le cuiseur d'eau jusqu'au repere mini.
Préchauffer au niveau « cisson vapeur »
Couper les queues des carottes en en conservant 2 cm. Laver et peler les carottes. Les faire cuire entières à la vapeur dans le bac perforé pendant 12 minutes.
Rincer rapidement les darnes de poisson et bien les sécher. Les assaisonner de poivre et de jus de citron et les placer dans le bac non perforé. Poser ce dernier au-dessus des carottes et faire cuire le toutpendant 12 minutes.
Pendant ce temps, laver les herbes, les essuyer et hacher finement. Faire fondre le beurre dans une grande poèle. Retirer les carottes du cuiseur vapeur, maintainir le poisson à 70^ dans le cuiseur. Les lier au beurre.
Parsemer des herbes hachées. Mouiller de bouillon de légumes et rectifier l'assaisonnement des carottes avec du sel et du poivre. Saler les darnes de flétan et les servir avec les carottes aux herbes.
Escalopes de poulets en robe de poireau
Pour 4 personnes :
Ingredients :
4 escalopes de poulets (120 g chacune)
2c.àcaféderaifort(enbocal)
1 poireau (envviron 200 g)
1 1 de bouillon de poule
400 g de carottes l oignon
1/2 bouquet de persil l.c. à café de moutarde sel, poivre l.c. à soupe de crème fraîche
quelques gouttes de jus de citron
Rincer les filets, les éponger et les couper en deux dans le sens de la longueur. Les enduire de raifort de tous les côtés.
Nettoyer le poireau et le couper en deux dans le sens de la longueur. Detacher les feuilles une a une et les couper dans le sens de la longueur en lanières d'environ 2 cm de large.
Préparer le bouillon de poule et faire blanchir pendant 2 minutes les lanières de poireau, puis les sortir et les laisser refroidir.
Eplucher et laver les carottes, puis les détailler en juilienne à l'aide d'un couteau économique.
Éplucher les oignons et les détailler. Rincer le persil, hacher la moitié des feuilles.
Mélanger les carottes avec l'oignon et les feuilles de persil, etmettre le tout dans le bac perforé.
Superposer les morceaux de viande 2 par 2, et les entourer de lanières de poireau en leur milieu.
Poser les paquets sur les carottes, saler et poivre légèrement.
Placer le bac perforé au-dessus du bouillon. Porter le bouillon à ébullition et, après avoir couvert les paquets et les légumes, faire cuire à la vapeur pendant 25 - 30 minutes à chaleur modérée.
Sortir le bac perforé de la casserole, en laissant couvert. Prélever 150 ml du bouillon et les verser dans une casserole. Mélanger avec de la moutarde et de la crème fraîche, donner un gros bouillon.
Rectifier l'assaisonnement de la sauce avec du sel, du poivre et du jus de citron, ajouter le persil haché. Servir avec une purée de pommes de terre ou du pain.
6.4 Trucs et astuces
Le cuiseur à vapeur peut receiveoir jusqu'à deux bacs de cuisson en même temps.
- Si vous utiliser des bacs, vous pouze soit les placer en même temps dans la cuise, soit les ajouter pendant la cuisson. Si vous utiliser cette méthode, faites en sorte demettre d'abord dans la cuise le mets ayant le temps de cuisson le plus long. Veillez à placer le bac perforé sous le bac non perforé. Placez le deuxième bac dans la cuise lorsqué le temps résiduel pour le deuxième mets a été atteint, de façon à finir en même temps les alimentés ayant des temps de cuisson différents.
- Les mets cuits à la vapeur on un goût propre plus marqué que les alimentents cuits de manière habituelle. Vous pouvez donc vous passer d'épices, ce qui rend l'appareil utilisable en cas de régime.
- Les substances nutritives ainsi que les vitamines et les minéraux sont conservés, de même que le goût initial, la forme et la couleur des alimentés. La cuisson s'effectue sans:graisse!
- A chaque fois que cela est possible, mettez le couvercle en verre. Bien en place, le couvercle évite et empêche les pertes de vapeur et d'énergie.
- L'aliment à cuire n'entre pas en contact avec l'eau en ébullition ; il est entièrement entouré de vapeur et l'eau n'entraine pas de substances nutritives.
- La cuisson à la vapeur est un mode de préparation qui économise l'énergie.
- Faites toujours préchauffer le cuiseur à vapeur afin de réduire le temps de cuisson et de minimiser les pertes de substances nutritives.
Si le symbole 山 _ 山 (limiteur) apparait sur l'afficheur, les causes peuvent en etre les suivantes:
-
fonctionnement à sec :
-
l'appareil a été mis en marche sans eau
-
l'appareil ne contient plus d'eau
-
accumulation de chaleur:
-
les dépôts de calcaire peuvent provoquer une accumulation de chaleur entrainant une surchauffe.
Important!
- Mettez le bouton «température» en position 0 et laissez refroidir l'appareil complètement avant de le remettre en marche. Remplissez-le de liquide de cuisson.
- Si le symbole (limueur) ne s'esteint pas après quelques minutes, avertissez le service après-venture Gaggenau le plus proche.
7. Instructions de montage
7.1 Caracteristiques importantes
Puissance raccardée totale : 2,3 kW
Fusible : 10 ampères
Dimensions de l'appareil : L 288 x P 490 x
H 190/260 mm
Respecter les indications de la plaquette d'identification. L 'appareil peut etre raccordé par une fiche amovible ou par un branchement fixe.
7.2 Instructions importantes
L'installateur est responsable du parfait fonctionnement de l'appareil sur le lieu où il est monté. Il doit en expliquer le fonctionnement à l'utilisateur, à l'aide de la notice d'utilisation, et lui dire comment l'appareil peut être isolé du secteur électrique.
L'appareil doit être raccordé uniquement par un électricien agréé, en conformité avec toutes les règles des entreprises de distribution d'électricité et les réglementations nationales.
La distance minimale entre le fond de la cuve et les pieces sensibles à la chaleur les plus proches est de 10 mm.
La distance latérale avec les éléments en bois doit être d'au moins 200 mm.
Lors de la pose, il faut veiller à respecter une distance minimale de 35 mm avec la bande de liaison avec le mur ou de 50 mm avec le mur (mesure prise depuis le bord de la découpe de l'appareil).
Remarque : n'installez pas l'appareil juste a cotoé d'une friteuse !
Aucune garantie ne peut etre assumee pour les dommages generes par le non-respect de la presente notice.
Type de branchement Y : si le cordon d'alimentation électrique est endommagé, il faut le remplacer par un cable spécifique que celui le fabricant ou son service après-vente sont autorisés à raccarder.
TYPE: HLVK 230
VK 230-...
230-240 V AC 50/60Hz
2300 W
10 A
Le cordon d'alimentation électrique doit être au moins du type H 05 VV-F.
Si le cuiseur à vapeur est posé sous des éléments hauts, il faut prévoir une hotte aspirante, car la vapeur pourrait abîmer les meubles.
La pose du cuiseur à vapeur dans des cuisines intégrées en bois ou autre matériel inexplorable similaire est possible sans dispositions additionnelles.
Lisez les « Instructions importantes » (chapitre 1).
Sous réserve de modifications techniques.
Branchementélectrique
L'appareil doit être raccordé uniquement par un électricien/agréé, dans le respect de toutes les réglementations en vigueur.
Nous conseillons de poser à environ 70 cm audressus du sol, derrière l'appareil, une prise de courant 10 A avec terre ou bien une boîte de connexion fixe, qui restent accessibles après installation de l'appareil.
Si après installation, l'appareil ne peut pas etre isolé de tous les pôles du secteur au moyen d'une fiche, il faut prévoir sur l'installation électrique un dispositif de sectionnement (fusible par exemple) dont les contacts sont écarts d'au moins 3 mm.
7.3 Pose



- RÉalissez la découpe dans votre plan de travail pour un ou plusieurs-appareils Vario. Pour ce faire, basez-vous sur le schéma de pose et le tableau des cotes. Ce dernier indique l'encombrement de la barrette de jonction entre les appareils. Important! L'angle entre la surface de coupe et le plan de travail doit être de 90^ (fig. 16).
- Repérez avec précision le milieu de la découpe. Fixez le rail de fixation des deux côtés dans la découpe. Vérifiez que les ergots du rail de fixation reposent sur le plan de travail et que la marque du milieu du rail coincide exactement
Fixez le couvercle sur l'appareil avant deposer l'ensemble (voir Instructions de montage VD 201-010).
avec la marque du milieu du plan de travail (fig. 17).
- Placez l'appareil dans le plan de travail en faisant attention à ce que les ergots de l'appareil reposent exactement sur les ressorts de blocage. Enoncez fermement l'appareil dans le plan de travail : les ergots se verrouillent dans les ressorts (fig. 18).
Remarque: En cas de pose dans un plan de travail en granit ou en marbre, faire réaliser les troughs par un spécialiste ou coller les rails de fixation avec une colle à 2 composantes (métal sur pierre) résistant à la température.
Remarque : Il est possible d'encastrer plusieurs apparéils dans des découvertes individuelles, en respectant une distance latérale minimale de 40 mm entre les apparéils.
7.4 Evacuation

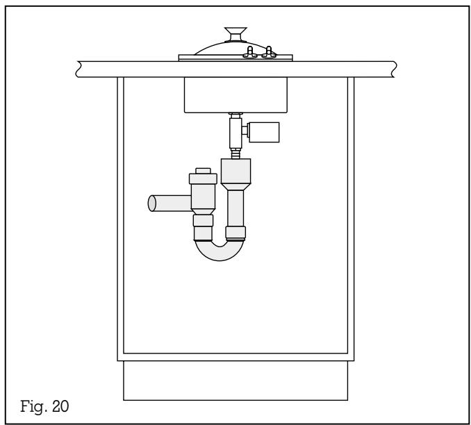
Nous conseillons de poser un branchement d'évacuation fixe, au moyen de notre kit d'évacuation (AG 050-000). Pour ce faire, il faut qu'une sortie se trouve dans l'élément bas et il faut de plus installer un clapet antiretour. Le branchement peut être fixe (fig. 19) ou gravitaire (fig. 20).


Fig. 21
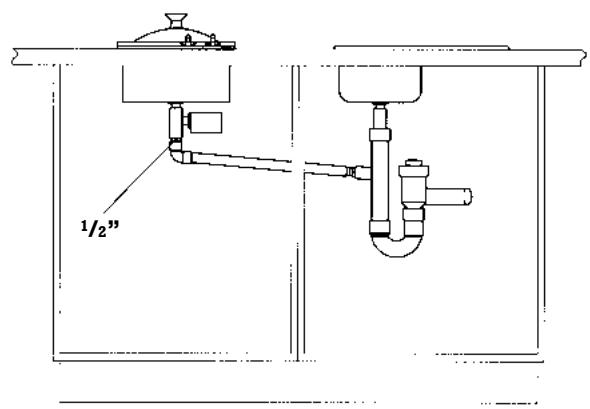
Si le raccord d'évacuation se trouve dans un élément bas voisin, il est possible de faire le branchement avec un tuyau de jonctionouple ou rigide (fig. 21), à la condition d'installer un clapet antiretour. Bien faire attention à ce que ce tuyau de jonction présente une pente continue.

Fig. 22
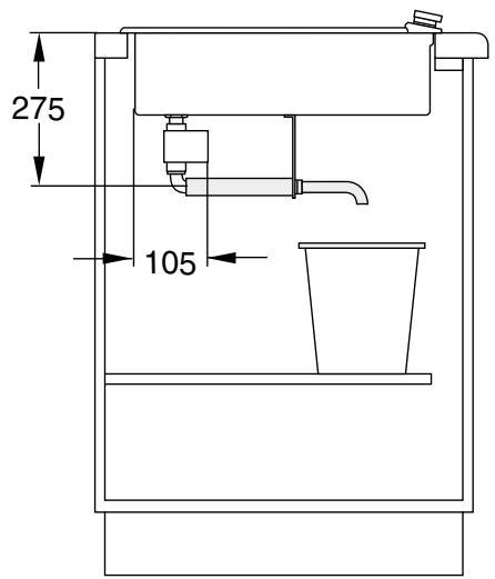
Si aucune sortie d'évacuation n'est prévue, le kit d'évacuation (AG 060-000) permet de vidanger le liquide dans un recipient approprié (seau de 10 l par exemple, fig. 22).
GAGGENAU
GAGGENAU HAUSGERATE GMBH
P.O. BOX 10 02 50 · D-80076 MUNCHEN
(089)45 90-03
FAX (089) 45 90-23 47
www.gaggenau.com
Notice Facile