TOURELLE CENTRIFUGE MAXTEMP CTHB-T - Ventilation industrielle UNELVENT - Notice d'utilisation et mode d'emploi gratuit
Retrouvez gratuitement la notice de l'appareil TOURELLE CENTRIFUGE MAXTEMP CTHB-T UNELVENT au format PDF.
| Type de produit | Tourelle centrifuge |
| Modèle | MAXTEMP CTHB-T |
| Débit d'air | Variable selon le modèle |
| Pression acoustique | Faible niveau sonore |
| Température de fonctionnement | Jusqu'à 120°C |
| Alimentation électrique | 230 V / 50 Hz |
| Dimensions approximatives | Variable selon le modèle |
| Poids | Variable selon le modèle |
| Matériaux de construction | Acier galvanisé |
| Utilisation | Ventilation de locaux industriels et commerciaux |
| Entretien et nettoyage | Vérification régulière des filtres et nettoyage des pales |
| Pièces détachées et réparabilité | Disponibilité des pièces de rechange |
| Sécurité | Conforme aux normes de sécurité en vigueur |
| Garantie | 2 ans |
| Informations générales | Produit adapté aux environnements exigeants |
FOIRE AUX QUESTIONS - TOURELLE CENTRIFUGE MAXTEMP CTHB-T UNELVENT
Questions des utilisateurs sur TOURELLE CENTRIFUGE MAXTEMP CTHB-T UNELVENT
0 question sur cet appareil. Repondez a celles que vous connaissez ou posez la votre.
Poser une nouvelle question sur cet appareil
Téléchargez la notice de votre Ventilation industrielle au format PDF gratuitement ! Retrouvez votre notice TOURELLE CENTRIFUGE MAXTEMP CTHB-T - UNELVENT et reprennez votre appareil électronique en main. Sur cette page sont publiés tous les documents nécessaires à l'utilisation de votre appareil TOURELLE CENTRIFUGE MAXTEMP CTHB-T de la marque UNELVENT.
MODE D'EMPLOI TOURELLE CENTRIFUGE MAXTEMP CTHB-T UNELVENT
Série MAXTEMP CTHB/T et CTVB/T

Les plus
- Agreées F400-120 (400°C/2h)
- Température de flux d'air: 120^ en continu
- Marquage CE
- Construction entièrement métallique
- Faible niveau sonore
- Nombreux accessoires de mise en oeuvre
Applications

- Ventilation générale,
- Ventilation industrielle
- Désenfumage pour ERP, IGH, VMC
- Grandes cuisines professionnelles
Cuisines
Gamme
16 modèles monophasés 230 V
42 modèles triphasés 400V
- Débits de 1300 à 21000 m3/h
- Moteurs 4, 6, 8, 4/8 ou 6/12 pôles

ERP et IGH

Locaux
tertiaire

Parkings
\section*{Caracteristiques générales}
- Agréées F400-120 (400°C-2h)
PVCE n^ 0370-CPD-0347 - Platine en acier galvanisé
- Capot en aluminium
- Roue centrifuge à réaction en tôle d'acier galvanisé
- rejet horizontal (CTHB / CTHT) ou rejet vertical (CTVB/CTVT)
- Moteurs 230V ou 400 V - 50 Hz IP 55 Classe F
Vitesses variables en tension jusqu'à la taille 400

CONTINU

Turbine à réaction

Moteur auto-refroidi
version horizontal

Moteur auto-refroidi
version verticalcale
Caracteristiques techniques - Rejet horizontal
| Référence | Code | Puisance absorbée maxi (W) | Intensité maximum (A) | Débit maximum (m3/h) | Niveau de pression sonore 2/3 Qmax (dB(A)) | Poids (kg) | ||
| 230 V | 400 V | Aspiration (3m) | Soufflage (6m) | |||||
| Monophasé | ||||||||
| CTHB/4-225 | 200 778 | 170 | 0,90 | - | 2100 | 52 | 47 | 17 |
| CTHB/4-250 | 203 626 | 280 | 1,40 | - | 3100 | 55 | 50 | 28 |
| CTHB/4-315 | 200 789 | 590 | 2,70 | - | 4900 | 59 | 54 | 32 |
| CTHB/4-400 | 203 665 | 1100 | 5,30 | - | 7000 | 66 | 61 | 42,5 |
| CTHB/6-225 | 200 862 | 90 | 0,40 | - | 1400 | 42 | 36 | 17 |
| CTHB/6-250 | 203 687 | 100 | 0,57 | - | 2000 | 45 | 40 | 28 |
| CTHB/6-315 | 200 801 | 170 | 0,81 | - | 3200 | 49 | 43 | 32 |
| CTHB/6-400 | 203 763 | 350 | 1,60 | - | 4500 | 56 | 50 | 42,5 |
| Triphase | ||||||||
| CTHT/4-225 | 200 794 | 170 | - | 0,50 | 2100 | 52 | 47 | 17 |
| CTHT/4-250 | 203 624 | 300 | - | 0,80 | 3100 | 55 | 50 | 28 |
| CTHT/4-315 | 200 790 | 620 | - | 1,50 | 4900 | 59 | 54 | 32 |
| CTHT/4-400 | 203 625 | 920 | - | 1,80 | 7000 | 66 | 61 | 42,5 |
| CTHT/4-450 | 203 692 | 2000 | - | 4,6 | 10200 | 69 | 64 | 67 |
| CTHT/6-315 | 200 802 | 180 | - | 0,50 | 3200 | 49 | 43 | 32 |
| CTHT/6-400 | 203 767 | 350 | - | 1,00 | 4500 | 56 | 50 | 42,5 |
| CTHT/6-450 | 203 783 | 850 | - | 3,50 | 6900 | 59 | 54 | 67 |
| CTHT/6-500 | 200 908 | 1400 | - | 4,30 | 10500 | 63 | 57 | 104 |
| CTHT/6-560 | 203 666 | 2400 | - | 5,30 | 16000 | 66 | 61 | 118 |
| CTHT/6-630 | 203 793 | 3700 | - | 8,3 | 21000 | 70 | 64 | 156 |
| CTHT/6-710 | 200 401 | 6800 | - | 13,8 | 28900 | 75 | 74 | 217 |
| CTHT/8-450 | 204 362 | 700 | - | 2,1 | 5000 | 54 | 49 | 67 |
| CTHT/8-500 | 204 007 | 770 | - | 2,40 | 7500 | 55 | 50 | 104 |
| CTHT/8-560 | 204 008 | 1100 | - | 3,60 | 11500 | 58 | 53 | 118 |
| CTHT/8-630 | 204 009 | 1650 | - | 4,90 | 15000 | 62 | 57 | 156 |
| CTHT/8-710 | 200 402 | 2900 | - | 7,2 | 21700 | 68 | 67 | 226 |
| Triphase 2 vitesses dahlander | ||||||||
| CTHT/4/8-315 | 204 162 | 370/230 | - | 1,1/0,9 | 4900/2400 | 59/44 | 54/39 | 33 |
| CTHT/4/8-400 | 204 163 | 560/260 | - | 1,3/1,0 | 7000/3500 | 66/51 | 61/46 | 44 |
| CTHT/4/8-450 | 204 140 | 2400/600 | - | 6,1/2,5 | 10200/5100 | 69/54 | 64/49 | 69 |
| CTHT/6/12-450 | 204 164 | 500/190 | - | 2/1 | 6300/3400 | 59/44 | 54/39 | 72 |
| CTHT/6/12-500 | 204 165 | 1520/430 | - | 4,5/2,2 | 10000/5000 | 63/48 | 57/42 | 109 |
| CTHT/6/12-560 | 200 403 | 2400/640 | - | 5,6/2,2 | 16000/7000 | 66/51 | 61/46 | 124 |
| CTHT/6/12-630 | 204 166 | 4100/730 | - | 8,1/2,6 | 21000/10500 | 70/55 | 64/49 | 161 |
| CTHT/6/12-710 | 200 404 | 6700/850 | - | 14,1/5,4 | 28900/15000 | 75/60 | 74/59 | 226 |
TOURELLES CENTRIFUGES F400-120 (400°C/2h) (€
Série MAXTEMP CTHB/T et CTVB/T
- Caracteristiques techniques - Rejet vertical
| Référence | Code | Puisance absorbée | Intensité maximum (A) | Débit maximum (m3/h) | Niveau de pression sonore 2/3 Qmax (dB(A)) | Poids (kg) | ||
| 230 V | 400 V | Aspiration (3m) | Soufflage (6m) | |||||
| Monophasé | ||||||||
| CTVB/4-225 | 200 850 | 130 | 0,71 | - | 1900 | 49 | 44 | 19,8 |
| CTVB/4-250 | 203 627 | 250 | 1,20 | - | 2800 | 53 | 48 | 35 |
| CTVB/4-315 | 200 886 | 570 | 2,70 | - | 4200 | 56 | 52 | 39 |
| CTVB/4-400 | 203 802 | 1100 | 5,30 | - | 6250 | 63 | 58 | 50 |
| CTVB/6-225 | 200 861 | 90 | 0,40 | - | 1300 | 39 | 33 | 19,8 |
| CTVB/6-250 | 203 714 | 100 | 0,57 | - | 1850 | 42 | 37 | 35 |
| CTVB/6-315 | 200 884 | 160 | 0,80 | - | 2800 | 46 | 41 | 39 |
| CTVB/6-400 | 203 858 | 340 | 1,60 | - | 4300 | 53 | 47 | 50 |
| Triphasé | ||||||||
| CTVT/4-225 | 200 864 | 180 | - | 0,47 | 1900 | 49 | 44 | 19,8 |
| CTVT/4-250 | 203 677 | 300 | - | 0,80 | 2800 | 53 | 48 | 35 |
| CTVT/4-315 | 200 843 | 400 | - | 1,40 | 4200 | 56 | 52 | 39 |
| CTVT/4-400 | 203 660 | 1000 | - | 1,80 | 6250 | 63 | 58 | 50 |
| CTVT/4-450 | 203 774 | 2100 | - | 4,30 | 9850 | 66 | 62 | 75 |
| CTVT/6-315 | 203 857 | 160 | - | 0,44 | 2800 | 46 | 41 | 39 |
| CTVT/6-400 | 203 901 | 350 | - | 1,00 | 4300 | 53 | 47 | 50 |
| CTVT/6-450 | 203 952 | 800 | - | 3,50 | 5900 | 55 | 51 | 75 |
| CTVT/6-500 | 203 676 | 1500 | - | 3,70 | 9500 | 60 | 54 | 115 |
| CTVT/6-560 | 203 768 | 2400 | - | 5,50 | 13000 | 63 | 58 | 129 |
| CTVT/6-630 | 204 003 | 3900 | - | 8,30 | 19500 | 67 | 62 | 168 |
| CTVT/6-710 | - | 7250 | - | 13,6 | 25200 | 74 | 72 | 229 |
| CTVT/8-450 | 204 011 | 700 | - | 1,50 | 4800 | 51 | 47 | 75 |
| CTVT/8-500 | 204 012 | 770 | - | 2,40 | 7100 | 52 | 46 | 115 |
| CTVT/8-560 | 204 013 | 1100 | - | 3,30 | 10000 | 55 | 50 | 129 |
| CTVT/8-630 | 204 102 | 1650 | - | 4,90 | 13500 | 59 | 54 | 168 |
| CTVT/8-710 | - | 3160 | - | 7,10 | 19100 | 67 | 64 | 238 |
| Triphasé 2 vitesses dahlander | ||||||||
| CTVT/4/8-315 | 204 515 | 370/230 | - | 1,1/0,9 | 4200/2100 | 56/41 | 52/36 | 40 |
| CTVT/4/8-400 | 204 516 | 560/260 | - | 1,3/1,0 | 6250/3200 | 63/48 | 58/43 | 52 |
| CTVT/4/8-450 | 204 517 | 2400/600 | - | 6,1/2,5 | 9850/4500 | 66/51 | 62/47 | 77 |
| CTVT/6/12-450 | 204 317 | 500/190 | - | 2/1 | 5900/2800 | 55/41 | 51/36 | 80 |
| CTVT/6/12-500 | 204 225 | 1520/430 | - | 4,5/2,2 | 9500/4800 | 60/45 | 54/39 | 134 |
| CTVT/6/12-560 | 200 400 | 2400/640 | - | 5,6/2,2 | 13000/6400 | 63/48 | 58/43 | 134 |
| CTVT/6/12-630 | 204 194 | 4100/730 | - | 8,1/2,6 | 19500/9500 | 67/52 | 62/47 | 173 |
| CTVT/6/12-710 | 200 387 | 7300/435 | - | 14/5,4 | 25200/12700 | 74/60 | 72/57 | 238 |

Dimensions (mm)

| Type | Ø AH | Ø AV | BH | BV | ØC | Ø D* | Ø E | Ø F |
| 225 | 561 | 570 | 383 | 452 | 435 | 250 | 330 | 12 |
| 250 | 762 | 750 | 425 | 522 | 560 | 355 | 450 | 12 |
| 315 | 762 | 750 | 469 | 564 | 560 | 355 | 450 | 12 |
| 400 | 850 | 850 | 532 | 608 | 630 | 400 | 535 | 12 |
| 450 | 962 | 950 | 713 | 741 | 710 | 500 | 590 | 14 |
| 500 | 1214 | 1216 | 824 | 832 | 905 | 630 | 750 | 14 |
| 560 | 1214 | 1216 | 874 | 832 | 905 | 630 | 750 | 14 |
| 630 | 1336 | 1327 | 1029 | 1053 | 1100 | 710 | 840 | 14 |
| 710 | 1336 | 1485 | 1127 | 1161 | 1100 | 710 | 840 | 14 |
- diamètre nominal des accessoires
TOURELLES CENTRIFUGES F400-120 (400°C/2h)
Série MAXTEMP CTHB/T et CTVB/T
Accessoires, mise en oeuvre




| Type de Tourelle | 1 | 2 | 3 | 4 | 5 | 6 | 7 | 8 |
| Base Support acoustique | Cadre de scellement | Base support isolée | Plaque d'adaptation | Clapet anti-retour | Bride de raccordement | Manchette couple | Adaptation conduits circulaires | |
| 225 | JAA-435 | JMS-435 | JBS-435 | JPA-435 | JCA-435 | JBR-435 | JAE-435 | JCC-435 |
| 250 315 | JAA-560 | JMS-560 | JBS-560 | JPA-560 | JCA-560 | JBR-560 | JAE-560 | JCC-560 |
| 400 | JAA-630 | JMS-630 | JBS-630 | JPA-630 | JCA-630 | JBR-630 | JAE-630 | JCC-630 |
| 450 | JAA-710 | JMS-710 | JBS-710 | JPA 710 | JCA-710 | JBR-710 | JAE-710 | |
| 500 560 | JAA-905 | JMS-905 | JBS-905 | JPA-905 | JCA-905 | JBR-905 | JAE-905 | |
| 630 710 | JAA-1100 | JMS-1100 | JBS-1100 | JPA-1100 | JCA-1100 | JBR-1100 | JAE-1100 |
Accessoires de montage

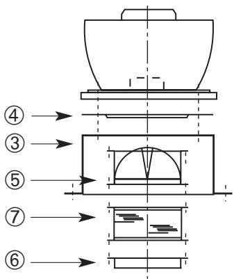
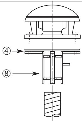
① Base support acoustique JAA
- Pour montage des tourelles et atténuation du niveau sonore vers l'intérieur du local.
-A monter sur toiture horizontally.
-Fourni avec joint d'etanchete et visserie.

| Type JAA | ☐A | ☐B | ☐E | øD (M) | H | ☐G |
| 300 | 470 | 290 | 245 | 13 (MI0) | 750 | 380 |
| 435 | 600 | 419 | 330 | 15 (MI2) | 750 | 510 |
| 560 | 725 | 545 | 450 | 15 (MI2) | 750 | 635 |
| 630 | 795 | 615 | 535 | 15 (MI2) | 750 | 705 |
| 710 | 875 | 695 | 590 | 18 (MI4) | 1000 | 785 |
| 905 | 1065 | 885 | 750 | 18 (MI4) | 1000 | 975 |
| 1100 | 1260 | 1080 | 840 | 18 (MI4) | 1000 | 1170 |
Attenuation en dB, par bande de fréquence
| Type | 125 | 250 | 500 | 1000 | 2000 | 4000 | 8000 |
| JAA-300 | 1 | 5 | 13 | 22 | 23 | 16 | 12 |
| JAA-435 | 1 | 7 | 16 | 23 | 25 | 18 | 13 |
| JAA-560 | 2 | 8 | 16 | 29 | 32 | 26 | 17 |
| JAA-630 | 2 | 8 | 14 | 24 | 27 | 19 | 13 |
| JAA-710 | 2 | 8 | 14 | 24 | 28 | 16 | 11 |
| JAA-905 | 2 | 7 | 14 | 26 | 30 | 19 | 12 |
| JAA-1100 | 2 | 7 | 16 | 27 | 32 | 20 | 13 |
Examples d'installation de la base JAA

Montage standard

Montage inversé
TOURELLES CENTRIFUGES F400-120 (400°C/2h) (€
Série MAXTEMP CTHB/T et CTVB/T
Accessoires de montage (suite)

② Cadre de scellement JMS
- Pour montage de la tourelle sur une souche maconnée
- Fourni avec joint d'étanchéité et visserie
- Pour montage des tourelles quand aucune souche maçonnée n'est prévue
- A monter sur toit horizontal
- Isolation interne pour éviter la condensation
- Fourni avec joint d'étanchéité et visserie

| Type JMS | ☐ A | ☐ B | ☐ C | E | F |
| 300 | 470 | 290 | 245 | 50 | 70 |
| 435 | 600 | 420 | 330 | 50 | 70 |
| 560 | 725 | 545 | 450 | 50 | 70 |
| 630 | 795 | 615 | 535 | 50 | 70 |
| 710 | 875 | 695 | 590 | 50 | 70 |
| 905 | 1065 | 885 | 750 | 60 | 70 |
| 1100 | 1260 | 1080 | 840 | 60 | 70 |

| Type JBS | \( \square \) A | \( \square \) B | \( \square \) C | E | \( \square \) G |
| 300 | 470 | 289 | 245 | 300 | 380 |
| 435 | 600 | 419 | 330 | 300 | 510 |
| 560 | 725 | 544 | 450 | 300 | 635 |
| 630 | 795 | 614 | 535 | 300 | 705 |
| 710 | 875 | 694 | 590 | 300 | 785 |
| 905 | 1065 | 884 | 750 | 400 | 975 |
| 1100 | 1260 | 1079 | 840 | 400 | 1170 |

④ Plaque d'adaptation JPA
- Utilisée pour le montage des accessoires (JCA, JBR, JAE) sur la tourelle
- Elle permet de démonter la tourelle de son support sans qu'il soit nécessaire de démonter le conduit quand il est raccordé à la tourelle

| Type JPA | Ø B | Ø C | Ø D | nxt | Ø H |
| 300 | 289 | 245 | 182 | 4xM6 | 205 |
| 435 | 419 | 330 | 252 | 4xM8 | 280 |
| 560 | 544 | 450 | 358 | 8xM8 | 395 |
| 630 | 614 | 535 | 403 | 8xM10 | 450 |
| 710 | 694 | 590 | 503 | 12xM10 | 560 |
| 905 | 884 | 750 | 633 | 12xM10 | 690 |
| 1100 | 1079 | 840 | 713 | 16xM10 | 770 |
- Evite toute circulation d'air quand la tourelle est arrêtée
- A monter à l'aspiration de la tourelle avec la plaque d'adaptation JPA ou à fixer directement sur l'embase (rivets ou vis)
- Perte de charge d'environ 30 Pa

| Type JCA | Ø D | E | F | Ø H | Ø J |
| 300 | 182 | 100 | 124 | 205 | 219 |
| 435 | 252 | 145 | 174 | 280 | 300 |
| 560-N | 358 | 210 | 227 | 395 | 415 |
| 630-N | 403 | 240 | 250 | 450 | 474 |
| 710-N | 503 | 285 | 300 | 560 | 581 |
| 905-N | 633 | 345 | 365 | 690 | 714 |
| 1100-N | 713 | 390 | 410 | 770 | 806 |

⑥ Bride de raccordement JBR
- A utiliser quand le conduit circulaire est raccordé directement à la tourelle
- A monter à l'aspiration de la tourelle avec la plaque d'adaptation JPA ou à fixer directement sur l'embase (rivets ou vis)

| Type JBR | Ø D | E | Ø H | Ø J |
| 200/180 | 197 | 135 | 205 | 220 |
| 300 | 182 | 55 | 205 | 219 |
| 435 | 252 | 55 | 280 | 300 |
| 560 | 358 | 55 | 395 | 415 |
| 630 | 403 | 63 | 450 | 474 |
| 710 | 503 | 69 | 560 | 581 |
| 905 | 633 | 69 | 690 | 714 |
| 1100 | 713 | 69 | 770 | 797 |

⑦ Manchette couple JAE
- Límite la transmissions de vibrations quand le conduit est raccordé directement à la tourelle
- A monter à l'aspiration de la tourelle avec la plaque d-adaptation JPA ou à fixer directement sur l'embase (rivets ou vis)

| Type JAE | Ø D | E | Ø H | Ø J |
| 300 | 182 | 254 | 205 | 219 |
| 435 | 252 | 254 | 280 | 300 |
| 560 | 358 | 254 | 395 | 415 |
| 630 | 403 | 254 | 450 | 474 |
| 710 | 503 | 254 | 560 | 581 |
| 905 | 633 | 254 | 690 | 714 |
| 1100 | 713 | 254 | 770 | 794 |

⑧ Adaptation pour conduits circulaires JCC
- Pour monter les tourelles 140 à 400 directement sur un conduit spiralé

| Type JCC | Ø B | Ø C | Ø D | E | L |
| 300 | 290 | 245 | 180 | 45 | 350 |
| 435 | 390 | 330 | 250 | 60 | 350 |
| 560 | 520 | 450 | 355 | 70 | 350 |
| 630 | 605 | 535 | 400 | 70 | 350 |
TOURELLES CENTRIFUGES F400-120 (400°C/2h) (€
Série MAXTEMP CTHB/T et CTVB/T
Accessoires - Codification - Prix HT

- ① Base support acoustique
| Référence | Code |
| JAA-300 | 964 167 |
| JAA-435 | 964 168 |
| JAA-560 | 964 169 |
| JAA-630 | 964 170 |
| JAA-710 | 964 171 |
| JAA-905 | 964 172 |
| JAA-1100 | 964 173 |

- ② Cadre de scellement
| Référence | Code |
| JMS-300 | 960 783 |
| JMS-435 | 960 792 |
| JMS-560 | 960 808 |
| JMS-630 | 963 628 |
| JMS-710 | 963 629 |
| JMS-905 | 963 630 |
| JMS-1100 | 963 631 |

Adaptation conduits circulaires
| Référence | Code |
| JCC-300 | 963 775 |
| JCC-435 | 963 786 |
| JCC-560 | 963 787 |
| JCC-630 | 963 773 |
TOURELLES CENTRIFUGES F400-120 (400°C/2h) (€
Série MAXTEMP CTHB/T et CTVB/T
Accessoires électriques - Tableau de sélection
| Type | Inter deproximé | Variateur *électronique | Auto *transformateur | Commandeet protectionmoteur | ||
| rejethorizontal | rejetvertical | standard | Cuisineccontact auxiliaire | |||
| Monophasé | ||||||
| CTHB/4-225 | CTVB/4-225 | INTER PROX 16A/1V | REB 2,5N | REBA 3 | RMB 1,5 | DEMA 1 |
| CTHB/4-250 | CTVB/4-250 | INTER PROX 16A/1V | REB 2,5N | REBA 3 | RMB 3,5 | DEMA 1,6 |
| CTHB/4-315 | CTVB/4-315 | INTER PROX 16A/1V | REB 5 | REBA 6 | RMB 3,5 | DEMA 4 |
| CTHB/4-400 | CTVB/4-400 | INTER PROX 16A/1V | REBA 6 | RMB 8 | DEMA 6 | |
| CTHB/6-225 | CTVB/6-225 | INTER PROX 16A/1V | REB 1N | REBA 3 | RMB 1,5 | DEMA 0,40 |
| CTHB/6-250 | CTVB/6-250 | INTER PROX 16A/1V | REB 1N | REBA 3 | RMB 1,5 | DEMA 0,63 |
| CTHB/6-315 | CTVB/6-315 | INTER PROX 16A/1V | REB 1N | REBA 3 | RMB 1,5 | DEMA 1 |
| CTHB/6-400 | CTVB/6-400 | INTER PROX 16A/1V | REB 2,5N | REBA 3 | RMB 3,5 | DEMA 1,6 |
| Triphasé | ||||||
| CTHT/4-225 | CTVT/4-225 | INTER PROX 16A/1V | RMT 1,5 | DEMA 0,63 | ||
| CTHT/4-250 | CTVT/4-250 | INTER PROX 16A/1V | RMT 1,5 | DEMA 1 | ||
| CTHT/4-315 | CTVT/4-315 | INTER PROX 16A/1V | RMT 3,5 | DEMA 1,6 | ||
| CTHT/4-400 | CTVT/4-400 | INTER PROX 16A/1V | RMT 3,5 | DEMA 2,5 | ||
| CTHT/4-450 | CTVT/4-450 | INTER PROX 16A/1V | DEMA 6 | |||
| CTHT/6-225 | CTVT/6-225 | INTER PROX 16A/1V | RMT 1,5 | DEMA 0,25 | ||
| CTHT/6-250 | CTVT/6-250 | INTER PROX 16A/1V | RMT 1,5 | DEMA 0,63 | ||
| CTHT/6-315 | CTVT/6-315 | INTER PROX 16A/1V | RMT 1,5 | DEMA 0,63 | ||
| CTHT/6-400 | CTVT/6-400 | INTER PROX 16A/1V | RMT 1,5 | DEMA 1 | ||
| CTHT/6-450 | CTVT/6-450 | INTER PROX 16A/1V | DEMA 4 | |||
| CTHT/6-500 | CTVT/6-500 | INTER PROX 16A/1V | DEMA 6 | |||
| CTHT/6-560 | CTVT/6-560 | INTER PROX 16A/1V | DEMA 6 | |||
| CTHT/6-630 | CTVT/6-630 | INTER PROX 16A/1V | DEMA 9 | |||
| CTHT/6-710 | CTVT/6-710 | INTER PROX 16A/1V | DEMA 16 | |||
| CTHT/8-450 | CTVT/8-450 | INTER PROX 16A/1V | DEMA 2,5 | |||
| CTHT/8-500 | CTVT/8-500 | INTER PROX 16A/1V | DEMA 2,5 | |||
| CTHT/8-560 | CTVT/8-560 | INTER PROX 16A/1V | DEMA 4 | |||
| CTHT/8-630 | CTVT/8-630 | INTER PROX 16A/1V | DEMA 6 | |||
| Triphasé 2 vitesses dahlander | ||||||
| CTHT/4/8-315 | CTVT/4/8-315 | INTER PROX 16A/2V | DEMA 1/1,4 DH | |||
| CTHT/4/8-400 | CTVT/4/8-400 | INTER PROX 16A/2V | DEMA 1/2,4 DH | |||
| CTHT/4/8-450 | CTVT/4/8-450 | INTER PROX 16A/2V | DEMA 3,1/6,5 DH | |||
| CTHT/6/12-450 | CTVT/6/12-450 | INTER PROX 16A/2V | DEMA 1/2,4 DH | |||
| CTHT/6/12-500 | CTVT/6/12-500 | INTER PROX 16A/2V | DEMA 2,4/6,5 DH | |||
| CTHT/6/12-560 | CTVT/6/12-550 | INTER PROX 16A/2V | DEMA 2,4/6,5 DH | |||
| CTHT/6/12-630 | CTVT/6/12-630 | INTER PROX 16A/2V | DEMA 3,1/8,5 DH | |||
| CTHT/6/12-710 | CTVT/6/12-710 | INTER PROX 16A/2V | DEMA 6,5/17 DH | |||
- Variateur et autotransformateur équipés contact auxiliaire de commande électrovanne gaz
Accessoires électriques - Codification - Prix HT
- Variateur monophasé
| Référence | Code |
| REB-1N | 704 149 |
| REB 2,5N | 704 177 |
| REBA 3 | 708 708 |
| REBA 6 | 707 864 |
- Autotransformateur monophasé
| Référence | Code |
| RMB-1,5 | 700 554 |
| RMB-3,5 | 700 555 |
| RMB-8 | 700 556 |
| RMBA 2,5 | 707 866 |
- Autotransformateur triphasé
| Référence | Code |
| RMT-1,5 | 700 578 |
| RMT-2,5 | 700 579 |
Commande moteur 1 vitesse
| Référence | Code |
| DEMA 0,25 | 709 953 |
| DEMA 0,40 | 709 954 |
| DEMA 0,63 | 707 871 |
| DEMA 1 | 707 872 |
| DEMA 1,6 | 707 873 |
| DEMA 2,5 | 707 874 |
| DEMA 4 | 707 875 |
| DEMA 6 | 707 876 |
| DEMA 9 | 707 877 |
- Coffret de relayage
voir page 194
Commande moteur 2 vitesses
| Référence | Code |
| DEMA 1/1,4 DH | 707 882 |
| DEMA 1/1,8 DH | 707 883 |
| DEMA 1/2,4 DH | 709 921 |
| DEMA 2,4/6,5/DH | 707 886 |
| DEMA 3,1/6,5 DH | 707 887 |
| DEMA 3,1/8,5 DH | 709 948 |
- Variateur de fréquence
voir page 345
TOURELLES CENTRIFUGES F400-120 (400°C/2h) (€
Série MAXTEMP CTHB/T et CTVB/T
Courbes caractéristiques
- Q = Débit en m^3/h et m^3/s - Pst = Pressure statique en Pa
Air sec normal à 20^ et 760 mmHg
Essais en accord avec BS 848, PART 1, AMCA 210-85 et ASHRAE 51-1985
Niveau de pression acoustique mesure en champ libre hémisphérique :
- sur une surface réfléchissante
- le micro(place à 6 m de la source sonore. Aspiration raccordée
- Lp en dB(A)
Niveau de puissance acoustique rayonnée dans le conduit amont; Lw en dB(A).






TOURELLES CENTRIFUGES F400-120 (400°C/2h) (€
Série MAXTEMP CTHB/T et CTVB/T
Courbes caractéristiques
- Q = Débit en m³/h et m³/s - Pst = Pression statique en Pa
Air sec normal à 20^ et 760 mmHg
Essais en accord avec BS 848, PART 1, AMCA 210-85 et ASHRAE 51-1985
Niveau de pression acoustique mesure en champ libre hemisphérique :
- sur une surface réfléchissant
- le micro(place à 6 m de la source sonore. Aspiration raccordée
- Lp en dB(A)
□ Niveau de puissance acoustique rayonnée dans le conduit amont; Lw en dB(A).






Notice Facile