KDTA - KDTR - Ventilation industrielle UNELVENT - Notice d'utilisation et mode d'emploi gratuit
Retrouvez gratuitement la notice de l'appareil KDTA - KDTR UNELVENT au format PDF.
| Intitulé | Description |
|---|---|
| Type de produit | Ventilateur de désenfumage UNELVENT KDTA - KDTR |
| Caractéristiques techniques principales | Ventilateur axial, conçu pour l'évacuation de fumées et de chaleur |
| Alimentation électrique | 230 V / 50 Hz |
| Dimensions approximatives | Variable selon le modèle, généralement entre 300 mm et 800 mm de diamètre |
| Poids | Environ 10 à 50 kg selon le modèle |
| Compatibilités | Compatible avec les systèmes de désenfumage et de ventilation |
| Tension | 230 V |
| Puissance | De 0,25 kW à 2,2 kW selon le modèle |
| Fonctions principales | Évacuation des fumées, ventilation, refroidissement |
| Entretien et nettoyage | Vérification régulière des pales et du moteur, nettoyage des filtres |
| Pièces détachées et réparabilité | Disponibilité de pièces de rechange, facilité de réparation |
| Sécurité | Conforme aux normes de sécurité en vigueur, protection contre les surcharges |
| Informations générales | Idéal pour les bâtiments publics, les parkings, et les industries |
FOIRE AUX QUESTIONS - KDTA - KDTR UNELVENT
Questions des utilisateurs sur KDTA - KDTR UNELVENT
0 question sur cet appareil. Repondez a celles que vous connaissez ou posez la votre.
Poser une nouvelle question sur cet appareil
Téléchargez la notice de votre Ventilation industrielle au format PDF gratuitement ! Retrouvez votre notice KDTA - KDTR - UNELVENT et reprennez votre appareil électronique en main. Sur cette page sont publiés tous les documents nécessaires à l'utilisation de votre appareil KDTA - KDTR de la marque UNELVENT.
MODE D'EMPLOI KDTA - KDTR UNELVENT
CAISSONS DE VENTILATION ET DE DESENFUMAGE F400-120 (400°C/2h) (€ Série KDTA - KDTR à transmission

Les plus
Agreés F400-120 (400°C 2/h) avec marquage CE
- Ventilateur à action et à réaction
Hautes performances
- Construction monobloc avec moteur et transmission protégés
- Solution complète avec accessoires électriques montés
Gamme
2 modes
- Débits de 1000 à 55000 m3/h
10 tailles de 200 à 710 mm

Applications
Desenfumage ERP et IGH
- Locaux tertiaires, cuisines professionnelles, locaux industriels

ERP et IGH

Cuisines professionnelles

Locaux tertiaire

Usine

KDTAF400:
Turbine double ouïes à action, en acier galvanisé équilibrée dynamiquement
- Confort: 1000 à 50000 m3/h
- Désenfumage: 1000 à 70000 m3/h
- Pression : 120 à 1500 Pa

KDTR F400 :
Turbine double ouïes à réaction, en acier galvanisé peint équilibrée dynamiquement
- Confort: 1000 à 40000 m3/h
- Désenfumage : 1000 à 55000 m3/h
- Pression : 240 à 3000 Pa
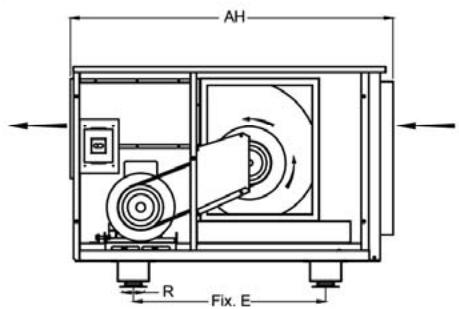
- Caracteristiques generales
Construction
Caisson monobloc en tole d'acier galvanise, entierement demontable
- Panneaux lateraux démontables des 2 cots pour un accès ainsi
- Moto-turbine montée sur un chassis longitudinal plie de forte épaisseur
- Raccordement par brides lisses rectangulaires à l'aspiration et au refoulement
- Aspiration et refoulement en ligne (horizontal) ou refoulement sur le dessus (vertical)
- 2 omégas transversaux assurent la rigidity de l'ensemble et permettent le passage d'élingues pour le levage
Transmission
- Ensemble transmission-moteur monté à l'intérieur du caisson
- Entrainement par courroies trapezoidales et poules à 1 - 2 ou 3 gorges (suivant la puissance du moteur)
- Accès moteur standard à gauche dans le sens de l'air, à droite sur demande
Motorisation
- Moteur hors flux d'air monté sur plateau glissière pour réglage tension courroie

Omégas de levage

Moteur hors flux d'air
CAISSONS DE VENTILATION ET DE DESENFUMAGE F400-120 (400°C/2h) Cé Série KDTA - KDTR à transmission
Dimensions (mm)

Configuration horizontal


- Caracteristiques acoustiques
-
Les données acoustiques affichées sur les courbes sont exprimées en Niveau de pression Global Lp (A) rayonné, micro placé à 6 m en champ libre hemisphérique.
-
Les valeurs des tableaux de correction sont à additionner au niveau global Lp (A) pour obtenir :
-
Lp (A) en dB (A) spectral - Caisson standard
- Lp (A) en dB (A) spectral - Caisson isolé
Lw en dB spectral du ventilateur
| Spectre acoustique KDTA | Bande de fréquence Hz | |||||||
| 63 | 125 | 250 | 500 | 1000 | 2000 | 4000 | 8000 | |
| Correction Lp (A) Global > Lp (A) Spectral en dB (A) | -15 | -7 | -7 | -6 | -8 | -11 | -15 | -26 |
| Correction Lp (A) Global Caisson standard > Lp (A) Spectral Caisson isolé en dB (A) | -18 | -12 | -11 | -11 | -13 | -15 | -20 | -31 |
| Correction Lp (A) Global > Lw Spectral en dB | +35 | +34 | +31 | +29 | +28 | +26 | +22 | +18 |
| Spectre acoustique KDTR | Bande de fréquence Hz | |||||||
| 63 | 125 | 250 | 500 | 1000 | 2000 | 4000 | 8000 | |
| Correction Lp (A) Global > Lp (A) Spectral en dB (A) | -15 | -8 | -6 | -5 | -8 | -13 | -17 | -28 |
| Correction Lp (A) Global Caisson standard > Lp (A) Spectral Caisson isolé en dB (A) | -18 | -13 | -10 | -10 | -13 | -17 | -22 | -33 |
| Correction Lp (A) Global > Lw Spectral en dB | +35 | +33 | +32 | +30 | +28 | +24 | +20 | +16 |
| Exemple : KDTA - Lp (A) Global = 50 dB (A) | Bande de fréquence Hz | |||||||
| 63 | 125 | 250 | 500 | 1000 | 2000 | 4000 | 8000 | |
| Lp (A) Spectral Caisson standard en dB (A) | 35 | 43 | 43 | 44 | 42 | 39 | 35 | 24 |
| Lp (A) Spectral Caisson isolé en dB (A) | 32 | 38 | 39 | 39 | 37 | 35 | 30 | 19 |
| Lw Spectral en dB | 85 | 84 | 81 | 79 | 78 | 76 | 72 | 68 |
Notice Facile