ATTIX 963 ED XC - Aspirateur professionnel NILFISK - Notice d'utilisation et mode d'emploi gratuit
Retrouvez gratuitement la notice de l'appareil ATTIX 963 ED XC NILFISK au format PDF.
| Intitulé | Valeur / Description |
|---|---|
| Type de produit | Aspiration industrielle |
| Modèle | NILFISK ATTIX 963 ED XC |
| Alimentation électrique | 230 V / 50 Hz |
| Puissance | 1 400 W |
| Dépression maximale | 250 mbar |
| Débit d'air maximal | 74 l/s |
| Capacité du réservoir | 100 litres |
| Dimensions approximatives | 700 x 600 x 1 200 mm |
| Poids | 40 kg |
| Type de filtre | Filtre HEPA H13 |
| Fonctions principales | Aspiration de poussières, liquides et déchets solides |
| Entretien et nettoyage | Filtre lavable, nettoyage automatique du filtre |
| Pièces détachées et réparabilité | Disponibilité de pièces de rechange, manuel de réparation disponible |
| Sécurité | Système de sécurité pour éviter les débordements, protection contre les surcharges |
| Compatibilités | Accessoires compatibles avec la gamme NILFISK |
| Informations générales | Idéal pour les professionnels du bâtiment et de l'industrie |
FOIRE AUX QUESTIONS - ATTIX 963 ED XC NILFISK
Téléchargez la notice de votre Aspirateur professionnel au format PDF gratuitement ! Retrouvez votre notice ATTIX 963 ED XC - NILFISK et reprennez votre appareil électronique en main. Sur cette page sont publiés tous les documents nécessaires à l'utilisation de votre appareil ATTIX 963 ED XC de la marque NILFISK.
MODE D'EMPLOI ATTIX 963 ED XC NILFISK
1 Consignes de sécurité importantes 2
2 Description 2.1 Elements de commande.. 6
2.2 Tableau de commande 7
3 Avant la mise en 3.1 Assemblage de l'appareil .8
service 3.1.1 D'éballage des accessoires (ATTIX 961-01, ATTIX 963-21 ED XC) 8
3.1.2 Fixation du support du tuyau d'aspiration sur le tuyau 1) (ATTIX 963-21 ED XC, ATTIX 965-21 SD XC)............8
3.1.3 Mise en place du sac filtré (ATTIX 961-01) 9
3.1.4 Mise en place du sac d'évacuation (ATTIX 965-21 SD XC) 10
3.1.5 Mise en place du sac d'évacuation (ATTIX 963-21 ED XC) 11
4 Commande / 4.1 Connexions 12
Fonctionnement 4.1.1 Raccordement du tuyau flexible d'aspiration 12
4.1.2 Branchement électrique 12
4.2 Mise en marche de I'aspirateur 12
4.2.1 Commutateur « I-0-II » 1)
4.2.2 Commutateur « auto-0-I » 1)
4.2.3 Réglage de la puissance d'aspiration 1) 13
4.2.4 Service Auto-On/Off - Position du commutateur « auto » 1).13
4.3 Dépoussierage de l'élément filtrant 14
4.3.1 Dépoussiérage de l'élement filtrant "Push & Clean" (ATTIX 961-01) 14
4.3.2 Dépoussiérage de l'élement filtrant " XtremeClean" (ATTIX 963-21 ED XC, ATTIX 965-21 SD XC) 14
5 Domaines d'utilisation 5.1 Techniques de travail 15
et méthodes de travail 5.1.1 Aspiration de substances sèches 15
5.1.2 Aspiration de liquides 15
6Apres le travail 6.1 Arret et rangement de l'aspirateur.. 16
7 Maintenance 7.1 Plan de maintenance 17
7.2 Travaux de maintenance 18
7.2.1 Vidage de la cuve a saletes (ATTIX 961-01) 18
7.2.2 Vidage de la cuve a saletes (ATTIX 965-21 SD XC) 19
7.2.3 Remplacement du sac filtré (ATTIX 961-01) 20
7.2.4 Remplacement du sac d'évacuation (ATTIX 965-21 SD XC) 21
7.2.5 Remplacement du sac d'évacuation (ATTIX 963-21 ED XC) 22
7.2.6 Remplacement de I'elément filtrant 23
Suppression de dérangements 24
9 Divers 9.1 Affection de la machine au recyclage.. 25
9.2 Garantie 25
9.3 Contrôles et homologations 25
9.4 DeclaratiOn de conformite CE 25
9.5 Caracteristiques techniques 26
9.6 Accessoires optionnel 26
FR 1 Consignes de sécurité importantes
Symboles de mise en garde

Avant demettre l'appareil en service, lisez absolutment ce document et conserveze-le a portee de la main.

DANGER
Danger susceptible d'entrainer directement des blessures graves et irréversibles ou la mort

AVERTISSEMENT
Danger susceptible d'entrainer des blessures graves ou la mort.

ATTENTION
Danger susceptible d'entrainer des blessures légères ou des dommages matériels.
L'appareil ne doit
- être utilisé que par des personnes qui ont été initielles à son maniement et expressément chargées de son utilisation
- être exploité que sous surveillance
-
pas être utilisé par des enfants
-
S'abstenir de toute méthode de travail douteuse quant à la sécurité.
- N'aspirez jamais sans filtrre.
-
Dans les situations suivantes, arrêtez l'appareil et débranchez la fiche de secteur :
-
avant le nettoyage et la maintenance.
- avant le remplacement d'éléments.
- en cas de formation de mousse ou d'échéppement de liquide.
Le fonctionnement de l'appareil est soumis aux dispositions nationales en vigueur.
Outre la notice d'utilisation et les règlements obligatoires de prévention des accidents en vigueur dans le pays d'utilisation, il convient d'observer les règles techniques reconnues pour des travaux effectués en toute sécurité et selon les règles de l'art.
Affectation
L'appareil convient à l'aspiration de poussières sèches, non inflammables, et de liquides.
Il n'est pas permetis d'aspirer des liquides avec l'ATTIX 963-21 ED XC.
L'appareil convient à l'utilisation industriel, p. ex. dans hôtels, écoles, hopitaux, usines, magasins, bureaux, agences de location.
Toute utilisation allant au-delà est considérée comme non conforme à la destination. Le fabricant decline toute responsabilité pour les dommages qui en résultataisent.
L'utilisation conforme à la destination implique aussi le respect des conditions de service, de maintenance et d'entretien prescrites par le fabricant. Endommagement de revêtements de sol fragiles. Voir notice d'utilisation.

Transport
- Avant le transport, refermez tous les verrouillages de la cuve à saletés.
- Ne basculez pas l'appareil si la cuve à saletés contient encore du liquide.
- Ne soulevez pas l'appareil avec des crochets de grue.
Entreposage
- Entreposez l'appareil au sec et à l'abri du gel.
Raccordement électrique
- Il est recommandé de raccorder l'appareil au moyen d'un disjoncteur de protection contre le courant de défaut.
- Choisissez l'agencement des composants qui conduisent le courant (prises, fiches et accoulements) et posez la rallonge de telle manière que la classe de protection soit conservée.
- Les fiches et accoulements des cordons de branchement au secteur et des rallonges doivent être étanches.
Câble de rallonge
- Utilisez comme cable de rallonge uniquement le modele indiqué par le fabricant ou un modele supérieur.Voir notice d'utilisation.
- Veillez à ce que le cable ait la section minimale requise :
| Longueur du câble m | Section | |
| < 16 A | < 25 A | |
| jusqu'à 20 m | 1,5 mm² | 2,5 mm² |
| 20 à 50 m | 2,5 mm² | 4,0 mm² |
Garantie
La garantie et la caution sont reglementées par nos Conditions commerciales générales.
Toute modification arbitraire sur l'appareil, l'utilisation de pieces de rechange et accessoires inadéquats ainsi que l'utilisation non conforme à la destination excluent une responsabilité du fabricant pour les dommages qui en résultataisent.
Contrôles
Des contrôleés electrotechniques doivent être effectuels conformément aux règlements de prévention des accidents («BGV A3») et à DIN VDE 0701, parties 1 et 3. La norme DIN VDE 0702 impose ces contrôleés à intervalles réguliers et après une réparation ou une modification.

Sources de danger
Electricité

DANGER
Décharge électrique due à un cordon défectueux de rac-cordement au secteur.
Le contact avec un cordon défectueux de raccordement au secteur peut entraîner des blessures graves ou mortelles.
- Ne pas endommager le cable d'alimentation électrique (p. ex. en l'écrasant, en le tirant ou en le serrant).
- S'assurer régulierement que le cable d'alimentation électrique ne présente ni détiériorations ni signes d'usage.
- Avant de continuer à vous servir de l'appareil, faites replacer le cordon défectueux de raccordement au secteur par le service après-vente de Nilfisk-Alto ou par un électricien.

DANGER
Eléments conduisant la tension dans la partie supérieure de l'aspirateur.
Le contact avec des éléments conduitant la tension entre des blessures graves ou mortelles.
- Ne pulveriséz jamais de l'eau sur la partie supérieure de l'aspirateur.

ATTENTION
Prise intégrée dans l'appareil 1)
La prise intégrée dans l'appareil n'est dimensionnée que pour les buts indiqués dans la notice d'utilisation. Le raccordement d'autres apparèils peut entraîner des dommages matériels.
- Avant de brancher un apparéil, arrêtez l'aspirateur et l' apparéil à raccorder.
- Lisez la notice d'utilisation de l'appareil à raccarder et observer les consignes de sécurité qu'elle contient.

ATTENTION
Endommagement du à une tension secteur inadéquate.
L'appareil peut être endommagé s'il est raccordé à une tension secteur inadéquate.
- S'assurer que la tension indiquée sur la plaque signalétique concorde avec celle du réseau local.
Aspiration de liquides
|  | ATTENTION |
| Aspiration de liquides. ATTIX 965-21 SD XC : En raison de leur construction, les appeareils dotés d'une cuve déposable (SD) ne possèdent pas de surveillance automatique du niveau de replissa- ge. Il y a un risque de détérioration de l'appareil due au surremplissage ou de dommages causés par l'écoulement du liquide aspiré. 1. N'aspirez jamais plus de 40 litres à la fois. 2. Arrêtez l'aspirateur et videz la cuve à saletés. |

Matériaux dangereux
| AVERTISSEMENT |
| Matériaux dangereux. |
| L'aspiration de matériaux dangereux peut entraîner des blessures graves ou mortelles. |
| 1. Il est interdit d'aspirer les matières suivantes: |
| - poussières insalubres |
| - matières brûlantes (cigarettes incandescentes, cendres chaudes etc.) |
| - liquides inflammables, explosifs, agressifs (p. ex. essen- ce, solvants, acides, bases etc.) |
| - poussières inflammables, explosives (p. ex. poussière de magnésium, d'aluminium etc.) |
Pièces de rechange et accessoires
| ! | ATTENTION |
| Pièces de rechange et accessoires. L'utilisation de pièces de rechange et d'accessoires qui ne sont pas d'origine peut comprometer la sécurité de l'ap-pareil. 1. N'utilise que les brosses fournies avec l'appareil ou spécifiées dans la notice d'utilisation. 2. Employez uniquement des pièces de rechange et accessoires de Nilfisk-Alto. |
Vidage de la cuve à saletés
| ATTENTION Matériaux aspirés dangereux pour l'environnement. Des matériaux aspirés peuventprésenter un danger pour l'environnement. 1. Eliminez les matières aspirées conformément aux dis-positions légales. |

2 Description

2.1 Éléments de commande
1 Guidon
2 Prise integree 1)
3 Commutateur de l'appareil "I-0-II" 1)
4 Commutateur de l'appareil avec réglage de la puissance d'aspiration 'auto-0-1" 1)
5 Fixation pour le cordon
6 Raccord d'admission
7 Cuve à saletés
8 Galet de guidage avec frein
9 Arceau inclinable pour la dépose de la cuve à saletés 1)
10 Creux pour saisir et vider la cuve 1)
11 Poignée pour l'enlèvement de la cuve à saletés 1)
12 Crochet de fermeture
13 Support du tuyau flexible d'aspiration 1)
14 Support pour la buse de sol 1)
15 Fixation pour accessoires
16 Arrêts et charnière basculante pour la cuve à saletés 1)
17 Bouton d'actionnement pour le dépoussierage de filtre 1)
18 Orifice d'aspiration d'air frais
19 Orifice de soufflage de l'air d'échéppement
20 Sac d'évacuation
2.2 Tableau de commande


FR 3 Avant la mise en service
3.1 Assemblage de l'appareil
3.1.1 Déballage des accessoires (ATTIX 961-01, ATTIX 963-21 ED XC)

- Deballez l'appareil et ses accessoires.
- La fiche secteur ne doit pas encore être branchée dans une prise de courant.
- Serrez les freins d'immobilisation (A) sur les deux galets de direction.


- Ouvrez les crochets de fermeture (B) et retirez la partie supérieure de l'aspirateur.
- Extrayez les accessoires 1) de la cuve à saletés et déballez-les.
3.1.2 Fixation du support du tuyau d'aspiration sur le tuyau 1)
(ATTIX 963-21 ED XC, ATTIX 965-21 SD XC)

- Fixez le support du tuyau d'aspiration sur le tuyau.
| AccessoireDiamètremm | Distance (x)par rapport àl'articulationtournante dela buse delsol cm |
| 38 | 52 |
| 50 | 47 |

3.1.3 Mise en place du sac filtré (ATTIX 961-01)




- La fiche secteur ne doit pas encore être branchée dans une prise de courant.
-
Serrez les freins d'immobilisation (A) sur les deux galets de direction.
-
Ouvrez les crochets de fermeture (B) et retirez la partie supérieure de l'aspirateur.
-
Extrayez les accessoires 1) de la cuve a saletés et deballez-les.
-
Introduisez le sac filtré (C) dans la cuve à saletés.
-
Remettez la partie supérieure de l'aspirateur.
- Fermez les crochets de fermeture (B) en veillant à leur position correcte.

3.1.4 Mise en place du sac d'évacuation (ATTIX 965-21 SD XC)




- La fiche secteur ne doit pas encore être branchée dans une prise de courant.
-
Serrez les freins d'immobilisation (A) sur les deux galets de direction.
-
Relevez l'arceau (B) en haut.
-
Extrayez la cuve à saletés hors du chassis par la poignée (C).
-
Introduisez le sac d'évacuation (D) dans la cuve à saletés.
-
Rabattez la cordure supérieure du sac d'évacuation sur le bord de la cuve à saletés.
-
Poussez la cuve à saletés dans le chassin jusqu'à la butée.
- Abaissez l'arceau (B) en bas sans forcer.
3.1.5 Mise en place du sac d'évacuation (ATTIX 963-21 ED XC)




- La fiche secteur ne doit pas encore être branchée dans une prise de courant.
- Serrez les freins d'immobilisation (A) sur les deux galets de direction.
-
Ouvrir labandedeserrage(B).
-
Introduisez le sac d'évacuation (C) dans la bande de serrage.
-
Rabattez la cordure supérieure du sac d'évacuation sur le bord de la bande de serrage.
-
Glisser le nouveau sac d'évacuation (C) sur le recipient à sac (D).
-
Fermer la bande de serrage (B).
FR 4 Commande / Fonctionnement
4.1 Connexions
4.1.1 Raccordement du tuyau flexible d'aspiration

4.1.2 Branchement électrique
La tension de service indiquée sur la plaque signalétique doit coïncider avec la tension du réseau de distribution.

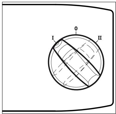
4.2 Mise en marche de l'aspirateur
4.2.1 Commutateur « I-0-II » 1)

-
Raccordez le tuyau flexible d'aspiration.
-
Veillez à ce que l'aspirateur soit arrêté.
- Branchez la fiche du cordon dans une prise de courant de sécurité installée de façon réglementaire.
| Position du commutateur | Fonction |
| I | régime réduit |
| 0 | arrêt |
| II | régimemaximum |
4.2.2 Commutateur « auto-0-I » 1)

| Position du commutateur | Fonction |
| I | régime maximum |
4.2.3 Réglage de la puissance d'aspiration 1)

| Position du com-mutateur | Fonction |
| Le réglage de la puissance d'aspiration permit d'adapter avec précision le régime aux différents travaux. |

4.2.4 Service Auto-On/ Off - Position du commutateur « auto » 1)
L'aspirateur est mis en marche et arrêté avec l'outil électrique raccordé. La saleté est absorbée directement à la source de poussière.
Conformément à la destination, il est permis de raccorder uniquement des apparciels produitant de la poussière qui ont été contrôlés au point de vue de la technologie des poussières.
Puisance absorbée maximale de l'appareil électrique à raccarder : voir paragraphe 9.5 « Caracteristiques techniques »
Avant de tournier le commutateur sur la position « auto», voirlez à ce que l'appareil électrique raccordé soit arrêté.



- Arrêtez l'aspirateur.
- Arrêtez l'outil électrique.
- Reliez l'utilélectrique et l'aspirateur avec le tuyau flexible d'aspiration.
- Branchez la fiche de l'outil électrique dans la prise de l'appareil située sur le tableau de commande de l'aspirateur.
- Mettez l'aspirateur en marche, position du commutateur « auto »
- Mettez l'outil électrique en marche. Le moteur d'aspiration démarre lors de la mise en marche de l'outil électrique raccordé.
Après l'arrêt de l'appareil électrique, l'aspirateur marche encore un court instant pour refouler dans le sac filtre la poussière qui se trouve dans le tuyau flexible d'aspiration.

4.3 Dépoussiérage de l'élement filtrant
4.3.1 Dépoussiérage de l' éléments filtrant "Push & Clean" (ATTIX 961-01)
Uniquement lors de l'aspiration sans sac filtré et sans filtré à insérer en toile.

Si la puissance d'aspiration diminue:
- Mettez le commutateur dans la position « II » (régime maximum).
- Fermez l'orifice de la buse ou du tuyau flexible d'aspiration avec la paume de la main.
- Appuyez trois fois sur le bouton d'actionnement du dépoussiérage du filtré. Le courant d'air ainsi engendré entraine la poussière qui s'est déposée sur les lamelles de l'élement filtrant.
4.3.2 Dépoussiérage de l'élement filtrant " XtremeClean " (ATTIX 963-21 ED XC, ATTIX 965-21 SD XC)
Uniquement lors de l'aspiration sans filtré à insérer en toile.

Pour garantir une puissance d'aspiration elevée et régulière, l'élement filtrant est dépousséré automatiquement pendant le service. S'il est très colmaté, nous recommendons un dépoussierage intégral.
- Arrêtez l'aspirateur.
- Bouchez l'orifice de la buse ou du tuyau flexible d'aspiration avec la paume de la main.
- Tournez le commutateur sur la position « I » et laissez marcher l'aspirateur env. 10 secondes avec l'orifice du tuyau flexible bouchée.
5 Domaines d'utilisation et méthodes de travail

5.1 Techniques de travail
Lorsqu'ils sont utilisés correctement, les accessoires complémentaires, les buses d'aspiration et les tuyaux flexibles peuvent renforcer l'effet du nettoyage et diminuer l'effort.
Vous obtiennent un nettoyage efficace en observant quelques directives et en faisant appel à votre propre expérience dans des domaines spéciaux.
Vous trouverez iciquelquesindications fondamentales.
5.1.1 Aspiration de substances sèches
PRUDENCE! N'aspirez pas de matieres inflammables.
Avant d'aspirer des matieres sèches, il est conseilé de toujours introduire le sac d'élimination des poussières dans la cuve (voir n^ de commande au paragraphe 9.6 "Accessoires"). La matière aspirée peut ainsi être evacuée facilement et de façon hygienique.
Après l'aspiration de liquides, la cartouche filtrante est humide. Une cartouche humide s'encrasse plus facilement lorsque vous aspirez des matières sèches. C'est pourquoit il faut aparavant rincer la cartouche et la laisser sécher ou la replacer par une cartouche sèche.
5.1.2 Aspiration de liquides
Il n'est pas permitted d'aspirer des liquides avec l'ATTIX 963-21 ED XC.
PRUDENCE! N'aspirez pas de liquides inflammables.
Avant d'aspirer des liquides, il faut-retirer systématiquement le sac filtré ou le sac d'évacuation.
Il est conseilé d'utiliser un élément filtrant séparé ou un tamis de filtration.
Si de la mousse se forme, arrêtez immédiatement le travail et videz la cuve.
Pour réduire la formation de mousse, employez le produit antimousse Alto Foam Stop (voir n° de commande au paragraph 9.6 « Accessoires »).
FR 6 Avec le travail
6.1 Arrêt et rangement de l'aspirateur

- Arrêtez l'appareil et débranche la fiche secteur de la prise de courant.
- Enroulez le cordon sur la poignée (A). Commencez l'enroulement du côté du chassin et non par l'extrémité munie de la fiche afin que le cordon ne se torde pas sur lui-même.
- Videz la cuve à saletés, nettoyez l'aspirateur.
- ÀpRES l'aspiration de liquides: posez séparément la partie supérieure de l'aspirateur afin que l'élement filtrant puisse sécher.
- Accrochez le tuyau d'aspiration avec la buse de sol (B) dans les supports et rangez l'accessoire (C).
- Rangez l'aspirateur dans un local sec et protéguez-le contre l'utilisation par des personnes non autorisées.
7 Maintenance
7.1 Plan de maintenance
ATTIX 961-01:
| Après le travail | Au besoin | ||
| 7.2.1 | Vidage de la cuve à saletés | ● | |
| 7.2.3 | Remplacement du sac filtre | ● | |
| 7.2.6 | Remplacement de l'élement filtrant | ● |
ATTIX 965-21 SD XC:
| Après le travail | Au besoin | ||
| 7.2.2 | Schmutzbehälter Vidence de la cuve à saletés | ● | |
| 7.2.4 | Remplacement du sac d'évacuation | ● | |
| 7.2.6 | Remplacement de l'élement filtrant | ● |
ATTIX 963-21 ED XC:
| Après le travail | Au besoin | ||
| 7.2.5 | Remplacement du sac d'évacuation | ● | |
| 7.2.6 | Remplacement de l'élement filtrant | ● |

7.2 Travaux de maintenance
7.2.1 Vidage de la cuve à saletés (ATTIX 961-01)
Après le vidaig: nettoyez le bord de la cuve et les joints de l'anneau intermediaire et de la partie supérieure de l'aspirateur avant de remettre ceux-ci.
Un joint ou une rainure encrassés ou endommages diminuent la puissance d'aspiration.
Avant d'emboiter de nouveau le tuyau flexible d'aspiration : nettoyez le raccord d'admission et le manchon du tuyau flexible.


- La fiche secteur ne doit pas encore être branchée dans une prise de courant.
-
Serrez les freins d'immobilisation (A) sur les deux galets de direction.
-
Ouvrez les crochets de fermeture (B) et retirez la partie supérieure de l'aspirateur.




Basculement de la cuve à saletés :
- Tirez le levier dans la poignée (C) vers le haut et basculez la cuve.
-
- Deversez la matière aspi-ree.
- Eliminez la matière aspirée conformément aux dispositions legales.
ou
enlèvement de la cuve à saletés :
- Ouvrez les fixations de la cuve (D).
- Retirez la cuve du chariot en tirant sur les poignées (E).
- Déversez la matière aspirée.
- Eliminez la matière aspirée conformément aux dispositions legales.
- Installez la cuve vide dans le chariot et verrouillez les fixations (4).
- Remettez la partie supérieure de l'aspirateur.
10.Fermez les crochets de fermeture (B) en veillant à leur position correcte.
7.2.2 Vidage de la
cuve à saletés
(ATTIX 965-21 SD XC)




- La fiche secteur ne doit pas encore être branchée dans une prise de courant.
- Serrez les freins d'immobilisation (A) sur les deux galets de direction.
FR
Enlèvement de la cuve à saletés :
- Relevez l'arceau (B) en haut.
- Extrayez la cuve à saletés hors du chassis par la poignée (C).
- Videage des matieres aspi-rees :
AVERTISSEMENT!
Après avoir aspiéré des matières lourdes, ne souveze jamais la cuve à saletés tout seul. Utilisez le FORKLIFT (D) disponible comme accessoire.
- Positionnez le FORKLIFT au-dessus de la cuve à saletés à l'aide d'un dispositif de grue ou d'un gerbeur.
- Suspendez la cuve dans le dispositif.
- Eliminez la matière aspirée conformément aux dispositions legales.
Mise en place de la cuve à saletés :
-
Nettoyez la cuve a saletés.
-
Contrôlez les joints (E) entre la cuve et la partie supérieure de l'aspirateur.
- Poussez la cuve à saletés dans le chassin jusqu'à la butée.
12.Abaissez l'arceau (B) en bas sans forcer.

7.2.3 Remplacement du sac filtré (ATTIX 961-01)

Enlevez le sac filtré contenant des matières lourdes en basculant la cuve, voir chapitre 7.2.1.




- La fiche secteur ne doit pas encore être branchée dans une prise de courant.
-
Serrez les freins d'immobilisation (A) sur les deux galets de direction.
-
Ouvrez les crochets de fermeture (B) et retirez la partie supérieure de l'aspirateur.
Enlèvement du sac filtré :
- Deboitez avec précaution le manchon du sac filtré sur le raccord d'admission (C).
- Fermez le manchon du sac filtré avec le couvercle rabattant (D).
- Eliminez le sac filtré conformément aux dispositions lé-gales.
Mise en place du sac filtre :
- Nettoyez la cuve à saletés.
- Introduisez un sac filtrre neuf dans la cuve à saletés.
-
Emboîtez vigoureusement le manchon du sac filtré neuf sur le raccord d'admission (C).
-
Remettez la partie supérieure de l'aspirateur.
11.Fermez les crochets de fermeture (B) en veillant à leur position correcte.
7.2.4 Remplacement du sac d'évacuation (ATTIX 965-21 SD XC)

- La fiche secteur ne doit pas encore être branchée dans une prise de courant.
- Serrez les freins d'immobilisation (A) sur les deux galets de direction.





Enlèvement du sac d'évacuation :
- Relevez l'arceau (B) en haut.
- Extrayez la cuve à saletés hors du chassin par la poignée (C).
- Fermez le sac d'évacuation avec le cordon (D) et extrayez-le de la cuve à saletés.
AVERTISSEMENT!
Après avoir aspiéré des matières lourdes, ne souveze jamais la cuve à saletés tout seul. Utilisez le FORKLIFT (E) disponible comme accessoire.
- Positionnez le FORKLIFT (E) au-dessus de la cuve à saletés à l'aide d'un dispositif de grue ou d'un gerbeur.
- Suspendez la cuve dans le dispositif.
- Eliminez la matière aspirée conformément aux dispositions legales.
Mise en place du sac d'évacuation :
-
Nettoyez la cuve à saletés.
-
Contrôlez les joints (F) entre la cuve et la partie supérieure de l'aspirateur.
11.Introduisez le sac d'évacuation (G) dans la cuve à saletés.
12.Rabattez la bordure supereure du sac d'évacuation sur le bord de la cuve à saletés.
13.Poussez la cuve à saletés dans le chassin jusqu'à la butée.
14.Abaissez l'arceau (B) en bas sans forcer.

7.2.5 Remplacement du sac d'évacuation (ATTIX 963-21 ED XC)

- La fiche secteur ne doit pas encore être branchée dans une prise de courant.
- Serrez les freins d'immobilisation (A) sur les deux galets de direction.


Enlèvement du sac d'évacuation :
- Desserrer la bande de serrage (B).
- Retirer et refermer le sac d'évacuation du recipient à sac (C).
- Eliminer la matière aspirée conformément aux dispositions legales.


Mise en place du sac d'évacuation :
- Introduisez le sac d'évacuation (C) dans la bande de serrage.
- Rabattez la cordure supérieure du sac d'évacuation sur le bord de la bande de serrage.
- Glisser le nouveau sac d'évacuation (C) sur le recipient à sac (D).
- Fermer la bande de serrage (B).

7.2.6 Remplacement de l'élément filtrant
N'aspirez jamais sans filtré!


- La fiche secteur ne doit pas encore être branchée dans une prise de courant.
-
Serrez les freins d'immobilisation (A) sur les deux galets de direction.
-
Ouvrez les crochets de fermeture (B) et retirez la partie supérieure de l'aspirateur.



Retrait de l'objet filtrant :
- Déposez par le haut la partie supérieure de l'aspirateur avec l'élement filtrant.
- Ouvrez la poignée à étrier (C) et déposez l'étrier.
- Enlevez le disque de serrage du filtre (D).
- Extrayez la cartouche filtrante (E) avec précaution.
- Eliminez la cartouche filtrante usagée conformément aux dispositions legales.
Mise en place de l'élément filtrant :
- Nettoyez le joint du filtré (F), vérifie qu'il n'est pas endommagé, remplacez-le si nécessaire.
- Contrôlez que la tige antistatique (G) n'est pas endommagée. Faites-la replacer par le service après-vented'Alto si nécessaire.
11.Emboitez l'element filtrant neuf (E) sur la corbeille de soutien du contrôle. - Posez le disque de serrage du contrôle (D).
13.Mettez la poignee a etrier (C) en place et fermez. - Remettez la partie supérieure de l'aspirateur.
15.Fermez les crochets de fermeture (B) en veillant à leur position correcte.



8 Suppression de dérangements
| Dérangement | Cause | Suppression |
| ‡ Le moteur ne marche pas. | > Le fusible de la prise de raccordement au secteur a claqué. > La protection contre la surcharge a réagi. > Moteur défectueux. | Réarmer le fusible secteur Arrêtier l'aspirateur et le liaisser refroidir env. 5 minutes. S'il ne peut pas être remis en marche, faire appel au service clients d'Alto. Faire replacer le moteur par le service après-vente d'Nilfisk-Alto. |
| ‡ Le moteur ne marche pas en service automatique 1) | > Outil électrique défectueux ou mal branché > Puisance absorbée par l'outil électrique trop faible | Contrôler le fonctionnement de l'outil électrique ou brancher fermement sa fiche. Tenir compte de la puissance absorbée minimale de P>40 W. |
| ‡ Puissance d'aspiration réduite | > Réglage de la puissance d'aspiration1) régle sur une valeur trop BASSE > Tuyau flexible d'aspiration bouché/buse obstruée > Cuve, sac d'évacuation ou sac filtre pleins. > Elément filtrant colmaté > Joint entre la cuve et la partie supérieure de l'aspirateur défectueux ou absent > Mécanisme de dépoussérique défectueux | Régler la puissance d'aspiration conformément au paragraphe « Réglage de la puissance d'aspiration ». Nettoyer le tuyau flexible d'aspiration/la buse. Voir paragraphe « Vidage de la cuve » ou « Remplacement du sac d'évacuation, du sac filtre ». Voir paragraphes « Dépoussiérage de l'élement filtrant » et « Remplacement de l'élement filtrant ». Changer le joint. Avertir le service après-vente d'Nilfisk-Alto. |
| ‡ L'aspirateur s'accêté pendant l'aspiration de liquides (ATTIX 961-01) | > Cuve pleine | Arrêtier l'appareil et vider la cuve. |
| ‡ Fluctuations de tension | > Impédance trop élevé de la tension d'alimentation | Raccorder l'appareil dans une autre prise de courant situation plus près du coffret de fusibles. Il ne faut pas s'attendre à des fluctuations de tension de plus de 7% si l'impédance au point de transmission est ≤ 0.15 Ω. |
9 Divers
9.1 Affectation de la machine au recyclage

- Rendez immédiatement inutilisable l'appareil qui ne sert plus.
- Débranche la fiche secteur et sectionnez le cordon.
- Ne jetez pas les apparèils électriques dans les ordures menagères!
D'après la directive europeenne 2002/96/CE sur les déchets d'équipements électriques et Electroniques usés, les apparciels électriques doivent faire l'objet d'une collecte sélective et d'un recyclage écologique.
Pour toutes questions, veuillez vous adresser à l'administration de votre commune ou au revendeur le plus proche.
9.2 Garantie
La garantie et les prestations couvertes sont régies par nos Conditions générales. Des modifications impliquées par des innovations techniques sont réservées.
9.3 Contrôles et homologations
Des contrôleés électrotechniques doivent être effectuels conformément aux règlements de prévention des accidents («VBG4») et à DIN VDE 0701, parties 1 et 3. La norme DIN VDE 0702 impose ces contrôleés à intervalles réguliers et après une réparation ou une modification.
L'aspirateur est homologué conformément à IEC/EN 60335-2-69.
9.4 Déclaration de conformité CE

Déclaration de conformité CE
NILFISK-ADVANCE A/S
Sognevej 25
DK-2605 Brondby
Produit :
Aspirateur pour liquides et poussières
Type:
ATTIX 961-01
ATTIX 963-21 ED XC
ATTIX 965-21 SD XC
Description :
110V/230V\~,50Hz
La construction de l'appareil
Directive CE « Machines » 98/37/CE
est conforme aux dispositions
Directive CE « Basse tension » 73/23/CE
affreentes suivantes:
Directive CE « CEM » 89/336/CE
Normes harmonisées appliquées:
EN 12100-1, EN 12100-2
EN 60335-1
EN 60335-2-69
EN 55014-1, EN 55014-2, EN 61000-3-2
Normes nationales et specifications DIN E
DIN EN 60335-1
techniques appliquées:
DIN EN 60335-2-69

Anton Sorensen
| ATTIX | ||||
| 961-01 | 965-21 SD XC | 963-21 ED XC | ||
| Tension | V | 230 (EU,CH,GB)110 (GB) | 230 (DK,EU) | 230 (DK,EU)110 (GB) |
| Fréquence du secteur | Hz | 50/60 | ||
| Protection par fusible | A | 10 (CH)13 (GB 230V)16 (EU)32 (GB 110 V) | 10 (DK)16 (EU) | 10 (DK)16 (EU)32 (GB 110 V) |
| Puisance absorbéeIEC | W | 2x1200 (EU,GB)2x1000(CH, GB110V) | 2x1200 (EU)2x1000(DK) | 2x1200 (EU)2x1000(DK,GB) |
| Puisance connectée pour la prise intégrée | W | 1200 (EU)300 (DK) | 1200 (EU)300 (DK)750 (GB) | |
| Puisance connectée totale | W | 2400 (EU,GB)2000 (CH,GB110V) | 3600 (EU)2300 (DK) | 3600 (EU)2300 (DK)2750 (GB) |
| Débit volumétrique (Air) | l/min | 2x3600 (EU,GB)2x2900 (CH,GB110V) | 2x3600 (EU)2x2900 (DK) | 2x3600 (EU)2x2900 (DK,GB) |
| Dépression (max.) | mbar/kPa | 230/23 (EU,GB)210/21 (DK,CH,GB 110V) | ||
| Niveau sonore de la surface de référence mesuré à une distance de 1 m, EN 60704-1 | dB(A) | 70 ± 2 | ||
| Bruit de travail | dB(A) | 67 ± 2 | ||
| Cordon longueur | m | 10 | ||
| Cordon type | H07RN-F3G1,0 mm2(CH,DK)H07RN-F3G1,5 mm2(EU, GB 230 V)H07BQ-F3G2,5 mm2(GB 110 V) | |||
| Classe de protection | I | |||
| Type de protection | IP X4 | |||
| Antiparasitage | EN 55014-1 | |||
| Volume de la cuve | I | 70 | 50 | 30 |
| Largeur | mm | 610 | 640 | 620 |
| Profondeur | mm | 645 | 725 | 605 |
| Hauteur | mm | 985 | 1020 | 1200 |
| Poids | kg | 36 | 42 | 30 |
9.6 Accessoires optionnel
| Désignation | N° de commande |
| Sac filtré (5 sacs) | 302002892 |
| Sac d'évacuation (5 sacs) ATTIX 965-21 SD XC | 302001480 |
| Sac d'évacuation (24 sacs) ATTIX 963-21 ED XC | 302003723 |
| Elément filtrant | 107400562 |
| Filtre à insérer en toile | 302002894 |
| Alto-Foam-Stop (6 x 1 l) | 8469 |

http://www.nilfisk-advance.com
HEAD QUARTER
DENMARK
Nilfisk-Advance Group
Sognevej 25
DK-2605 Brondby
Tel.: (+45) 4323 8100
E-mail: mail.com@nilfisk-advance.com
SALES COMPANIES
ARGENTINA
Nilfisk-Advance srl.
Edificio Central Park
Herrera 1855, Office 604
Bâtiment C3/C4 Gebouw
Bruxelles 1070
Tel.: (+32) 2467 60 50
E-mail: info.be@nilfisk-advance.com
CANADA
Nilfisk-Advance
240 Superior Boulevard
Mississauga, Ontario L5T 2L2
26 Avenue de la Baltique
Villebon sur Yvette
91944 Courtabouef Cedex
Tel.: (+33) 169598700
E-mail: info.fr @nilfisk-advance.com
GERMANY
Nilfisk-ALTO
Notice Facile