GALEO 4710 - Téléphone FRANCE TELECOM - Notice d'utilisation et mode d'emploi gratuit
Retrouvez gratuitement la notice de l'appareil GALEO 4710 FRANCE TELECOM au format PDF.
| Type d'appareil | Téléphone avec fax et répondeur |
| Fonctions principales | Téléphone, Fax, Répondeur enregistreur |
| Affichage | Écran LCD |
| Clavier | Clavier numérique et touches fonctionnelles |
| Répondeur | Intégré |
| Fax | Intégré |
| Connectivité | Filaires |
| Alimentation | Sur secteur |
| Répertoire téléphonique | Non précisé |
| Vitesse de transmission fax | Non précisé |
| Capacité mémoire répondeur | Non précisé |
| Langues disponibles | Non précisé |
| Dimensions | Non précisé |
| Poids | Non précisé |
| Couleur | Gris foncé |
| Marque | Non précisé |
FOIRE AUX QUESTIONS - GALEO 4710 FRANCE TELECOM
Questions des utilisateurs sur GALEO 4710 FRANCE TELECOM
0 question sur cet appareil. Repondez a celles que vous connaissez ou posez la votre.
Poser une nouvelle question sur cet appareil
Téléchargez la notice de votre Téléphone au format PDF gratuitement ! Retrouvez votre notice GALEO 4710 - FRANCE TELECOM et reprennez votre appareil électronique en main. Sur cette page sont publiés tous les documents nécessaires à l'utilisation de votre appareil GALEO 4710 de la marque FRANCE TELECOM.
MODE D'EMPLOI GALEO 4710 FRANCE TELECOM
Téléphone - Fax - Répondeur enregistreur


Vous venez d'acquérir le Téléphone-Fax-Répondeur GALEO 4710 et nous vous en remercions.
Intégrant les plus récentes innovations technologiques, cet appareil vous permet de disposer à la fois d’un téléphone, d’un répondeur enregistreur, d’un fax, d’un copieur d’appoint, d’une imprimante Minitel, d’une imprimante PC et d’un combiné sans fil (options).
Afin d'utiliser votre GALEO 4710 efficacement et dans les meilleures conditions, nous vous conseillons de lire très attentivement cette notice qui a été rédigée spécialement à votre intention en tenant compte des suggestions et des remarques exprimées par les utilisateurs.
Votre GALEO 4710 bénéficie d'une garantie d'un an.
Pour toute information supplémentaire sur les produits et services FRANCETELECOM, adressez-vous à l'accueil professionnel de votre Agence Commerciale (N° vert consultable sur 3614-FT).


Sommaire
UTILISER VOTRE GALEO 4710
PAGE 1
METTRE EN SERVICE GALEO 4710
PAGE 5
UTILISER LE TELEPHONE
PAGE 27
UTILISER LES

PAGE 41
UTILISER LE REPONDEUR ENREGISTREUR
PAGE 49
UTILISER LE TELECOPIEUR
PAGE 73
UN PROBLEM ? VERIFIER …
PAGE 127
PARAMETRES TECHNIQUES
PAGE 130
Emettre des APPELS
- Quel que soit l'état des icônes (Téléphone), (Fax) et (Répondeur) affichées ou absentes, vous pouvez utiliser GALEO 4710 pour téléphoner ou envoyer une télécopie.
Recevoir des APPELS en mode MANUEL
Pour sélectionner le mode de réception manuelle, appuyez sur la touche TEL FAX REP de façon à ce que l'icône soit affichée. GALEO 4710 se comporte alors comme un poste téléphonique : lorsqu'il sonne, vous décrochez pour parler à votre correspondant.
L'icône est affichée et les icônes sont absentes.
Si vous percevez un signal télé-copie (bips intermittents), appuyez sur la touche ENVOI/COPIE ou attendez que l'afficheur indique "RECEPTION" et raccrochez (voir chapitre RECEVOIR UNE TELECOPIE, Mode téléphone (Manuel)).
Recevoir des APPELS en mode automatique
En mode de réception automatique, votre appareil est capable de désigner les appels téléphoniques des appels télécopie sans intervention de votre part.
En mode reception automatique - -:
Pour sélectionner ce mode, appuyez sur la touche TEL FAX REP de façon que les icônes ≈ et ↓ soient allumées. En mode - le répondeur est inactif, vos appels sont aiguillés automatiquement entre le téléphone et le télécopieur.
Les icônes ≈ et ↓ doivent être affichées. L'icône est éteinte.
En cas d'appel télécopie : Votre appareil reçoit la télécopie en silence (pas de sonneries).
En cas d'appel téléphonique : Notre appareil émet un message d'accueil pré-enregistré destiné à faire patienter votre correspondant : "Bonjour, vous êtes connecté à un téléphone-fax, veuillez patienter". Il attend ensuite pendant 30 secondes pour vous laisser le temps de décrocher si vous le souhaitez. Au-delà de ces 30 secondes, l'appareil passe en mode télécopie (ou en répondeur si une annonce a été enregistrée).
Si, lorsque vous décrochez le combiné, aucun correspondant ne vous répond, appuyez alors sur ENVOI/COPIE. Il peut s'agir d'une télécopie sans identification d'appel.
EN MODE RECEPTION AUTOMATIQUE
Pour sélectionner ce mode, appuyez sur la touche TEL FAX REP de façon que les icônes et soient allumées.


En mode TEL - FAX - REP, le répondeur est actif, vos appels sont aiguillés automatiquement entre le télécopieur et le répondeur.
En cas d'appoint télécopie : Notre appareil sonne et reçoit la télécopie.
En cas d'appoint téléphonique : Votre appareil sonne, émet une annonce d'accueil et enregistre le message de votre correspondant.
Remarque 1: en mode - - , vous avez la possibilité de modifier le nombre de sonneries (de 2 à 5) précédant le décroché de l'appareil (voir le § : réglage du nombre de sonneries). Vous pouvez également supprimer cette sonnerie pour ne pas être dérangé par la réception des télécopies (Fonction "27-MELODIE").
Remarque 2 : le décroché automatique n'est pas possible lorsque GALEO 4710 imprime.
Remarque 3 , vous pouvez commander la réception de fax à distance à partir de ce téléphone en composant # puis la touche 7. GALEO 4710 passera alors en mode réception télécopie. Ce téléphone doit être réglé en numération à fréquence musicale.
Remarque 4 et qu'il s'agit d'un appel vocal, vous pouvez arrêter la diffusion du message d'accueil pré-enregistré (mode - ) ou la diffusion de l'annonce (mode - - ) à partir de ce téléphone en composant la touche # puis la touche 0. Ce téléphone doit être réglé en numérotation à fréquence musicale.
METTRE En service GALEO 4710
INSTALLER GALEO 4710
INSTALLER LE RUBAN ENCREUR ET LA JAUGE RUBAN
PAGE 6
PAGE 8
INSTALLER LE PAPIER D'IMPRESSION
PAGE 11
INITIALISER LA DATE ET L'HEURE
PAGE 13
ADAPTER L'APPAREIL À LA LIGNE
PAGE 14
PERSONALISER GALEO 4710
PAGE 16
ENREGISTRER ET IMPRIMER LE REPERTOIRE
PAGE 19
GALEO 4710 doit être placé à l'écart de toute zone de chaleur excessive (radiateur, soleil, ou endroits trop chauds et secs), et d'installation d'air conditionné. Il doit être protégé contre les vibrations, la poussière, l'humidité, les projections d'eau ou de produits, le rayonnement électromagnétique (proximité d'un téléviseur par exemple), et son accès doit être aisé (espace libre d'environ 10 cm tout autour de l'appareil).
La prise téléphonique doit se trouver à 1,50 m maximum, la prise électrique standard monophasée 220-240 V, 50-60 Hz à 2 m maximum.
En cas de coupure secteur, les fonctions téléphoniques de votre appareil sont indisponibles.
En cas d'orage important, il est recommandé de débrancher temporairement votre appareil.

1 Tournez votre appareil de façon à voir sa face gauche.
La face gauche regroupe les connecteurs nécessaires à la mise en service de l'ordinateur.

2 Branchez le cordon du combiné téléphonique au connecteur (A).
3 Branchez le cordon de ligne téléphonique au connecteur (B), d'un côté, et dans la prise téléphonique murale, de l'autre.

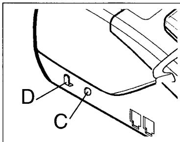
4 Insérez la petite fiche du bloc alimentation dans le connecteur (C) : ouvrez le capot avant et le capot arrière. La petite fiche étant branchée sur le connecteur (C), faites passer le cordon derrière le passe-fil en plastique (D). Refermez les capots arrière et avant. 5 Branchez la fiche du cordon secteur du bloc alimentation dans une prise de courant murale aisément accessible.
Votre appareil est sous tension. L'écran affiche VERIFIER LA DATE si le ruban est installé. Vérifiez que ce soit bien le cas au démarrage.
JAUGE RUBAN
Le ruban encreur permet l'impression (télécopies, copies, rapports, journaux) sur du papier normal.
La jauge ruban permet d'afficher sur l'écran, après une impression, le pourcentage de ruban encreur encore disponible.
Remarque 1: la mise en place (ou le retrait) d'un ruban encreur doit avoir lieu en même temps que la mise en place (ou le retrait) de la carte jauge ruban livre avec le ruban encreur.
Remarque 2: Utilisez uniquement le ruban encreur fourni par votre Agence FRANCE TELECOM. L'utilisation d'autres types de ruban encreur pourrait endommager l'appareil et annuler la garantie.
Les documents imprimés par votre appareil peuvent être lisibles par transparence sur le ruban encreur. Usage : au cas où des documents présenteraient un caractère confidentiel, pensez à effacer le ruban encreur si vous vous séparez de votre appareil.
RUBAN encreur

1 Ouvrez le capot avant, en le faisant basculer vers l'avant jusqu'au verrouillage.

2 Ouvrez le capot arrière : en déverrouillant ses 2 loquets latéraux (A) puis en le basculant vers l'arrière.

3 Présentez l'ensemble ruban encreur au-dessus de son logement, vers l'arrière de l'appareil. 4 Mettez-le dans son logement, sans ôter le ruban adhésif (C) : présentez l'extrémité droite du gros rouleau sur l'axe ressort (A), puis l'autre extrémité du gros rouleau sur l'axe gauche (B). 5 L'ensemble ruban en place, tirez et ôtez le ruban adhésif (C).

6 Amenez le petit rouleau de l'ensemble transfert dans son logement : placez l'axe (D) dans l'encoche (E) et l'axe du pignon (F) dans l'encoche (G). 7 Fermez le capot arrière en appuyant simultanément des 2 côtés, puis fermez le capot avant.
Remarque: le ruban encreur fourni avec le GALEO 4710 est une amorce permettant l'impression d'environ 50 pages (format 210 × 297 mm). Les consommables en vente dans les agences France Telecom ont une autonomie d'environ 230 pages.
JAUGE RUBAN

1 Otez le cache du logement jauge (H):
- faites glisser le cache vers l'arrière,
- soulevez alors la partie avant du cache pour l'extraire de l'appareil.

2 Détachez la jauge (pré-découpée) (I) de la carte jauge ruban (J).

3 Insérez la jauge (I) dans la fente (K) du logement de jauge en veillant à son orientation ; la puce doit être dirigée vers vous et le coin coupé en haut à droite.
4 Remettez en place le cache (H).

5 Fermez le capot arrière. Appuyez simultanément sur les 2 côtés du capot (L) jusqu'au verrouillage des 2 loquets (A).

Si la jauge n'est pas installée, ou mal mise en place, l'appareil affiche :
JAUGE ABSENTE
D'impression
La mise en place du papier d'impression est nécessaire pour pouvoir imprimer les télécopies, les copies, les rapports de communication et les journaux. En revanche, la mise en place du papier d'impression n'est pas indispensable pour recevoir des télécopies car l'appareil enregistre automatiquement dans sa mémoire les télécopies reçues.

1 Ouvrez vers l'arrière la porte d'accès télécopie (A) en la soulevant par l'encoche (B).

2 Relevez le bras support (C) et présentez une liasse de papier normal (30 feuilles maximum) entre les guides (D).
Ajustez si nécessaire le guide gauche à la largeur du papier, en le poussant latéralement.

3 Poussez la pince (E) afin d'insérer la liasse de papier dans la réserve papier de l'appareil. 4 Relevez le bras support de document (F) qui facilitera l'empilage des feuilles de papier imprimé.
Remarque : nous vous conseillons un papier analogue à celui de l'échantillon joint au produit et satisfaisant les caractéristiques suivantes : format A4, grammage de 80 g/m², aspect lisse.
Retrait du PAPIER d'impression
Si vous désirez retirer le papier d'impression (feuilles A4 vierges) de votre appareil, vous ne devez pas tirer dessus directement:
1 Retirez, si tel est le cas, le papier imprimé (copies, fax reçus, rapports,...) resté dans l'appareil.

2 Abaissez le bras support de documents analysés (A).

3 Poussez la pince (B) et tirez la liasse de papier vierge (C) vers le haut, afin de l'enlever.

4 Abaissez le bras support papier (D) et refermez la porte d'accès télécopie (E).
L'heure
À la première mise sous tension, votre appareil vous demande de régler la date et l'heure. Après avoir saisi ces données, la date et l'heure d'émission seront transmises automatiquement à votre destinataire lorsque vous émettrez une télécopie. La date et l'heure de réception d'un fax seront également notées dans le journal de réception.

L'écran affiche, par exemple : DATE/HEURE 01-01-98 00-00
Entrez la date et l'heure correctes, à l'aide du clavier numérique.
Exemple : pour le 4 décembre 1998 à 9h15, entrez : 0412980915
Appuyez sur la touche ENVOI/COPIE pour valider.
La date et l'heure sont enregistrées.
Adapter l'appareil à la ligne
Votre GALEO 4710 doit être adapté au type de réseau et au mode de numérotation correspondant à votre ligne.
Selection du type de RESEAU
- Si vous êtes raccordé directement au réseau public (cas d'un particulier) vous n'avez aucune manipulation à effectuer car, à la livraison, votre appareil est positionné sur RESEAU PUBLIC.
- Si vous n'êtes pas raccordé directement au réseau public (cas d'une entreprise, la plupart du temps) vous devez désigner le mode RESEAU PRIVE.
Réseau privé :
Appuyez sur la touche Validation sur ② ④ et ①. Fonction
L'écran affiche : 241 > PRIVE
2 Appuyez sur la touche ENVOL/COPIE.
Réseau public :
Appuyez sur la touche Validation sur ② ④ et ②. Fonction
L'écran affiche : 242 > PUBLIC
2 Appuyez sur la touche ENVOL/COPIE pour valider votre sélection.
Selection du type
Votre GALEO 4710 est programmé en usine pour fonctionner en numérotation à fréquences vocales (également appelée numérorotation musicale). En appelant un correspondant, si la communication ne peut s'établir, vous devez passer en numérorotation décimale (DC).
Numéro rotation musicale :
1. Appuyez sur la touche Validation, puis sur ② ⑤ et ①. Fonction
L'écran affiche : 251 > MUSICALE
2. Appuyez sur la touche ENVOI/COPIE.
Numérorotation décimale :
1 Appuyez sur la touche Validation, puis sur ② ⑤ et ②. Fonction
L'écran affiche : 252 > DECIMALE
2 Appuyez sur la touche ENVOI/COPIE pour valider votre sélection.
GALEO 4710
Cette opération permet de transmettre à vos correspondants votre numéro de téléphone ainsi que votre nom. Ces informations figureront dans l'en-tête des télécopies que vous émettrez et permettront à vos correspondants de vous identifier.
Enregisterr son NUMERO de telephone
Validation 1 : Appuyez sur la touche, puis 2 : Fonction. Times sur la touche ②, puis sur. Fonction
L'écran affiche NUMERO
2 Entrez votre numéro de téléphone à l'aide du clavier numérique. - Appuyez sur la touche pour créer un espace, sur la touche pour effacer le dernier caractère, sur la touche (+) du clavier algabétique pour insérer le signe +. 3 Lorsque le numéro est correct, appuyez sur la touche ENVOI/COPIE pour le valider.
Le nombre que vous entrez s'affiche à l'écran (20 chiffres maximum).
Enregisterer son nom
Vous pouvez, pour cette opération, obtenir toutes les lettres de l'alphabet en utilisant le clavier alphabétique.
1. Appuyez sur la touche Validation, puis sur ②, puis sur ③ et Fonction.
L'écran affiche : NOM
Entrez votre nom à l'aide du clavier alphabétique.
Entrez votre nom à l'aide du clavier alphabétique.
Lorsque votre nom est correct, appuyez sur la touche ENVOI/COPIE pour valider.
Selectionner la melodie d'appel ou supprimer la sonnerie
Lorsqu'un correspondant vous appelle, votre appareil émet une mélodie. Vous pouvez désirer la mélodie et régler son niveau sonore.
Appuyez sur la touche Validation sur ②, puis sur ⑦. Fonction
L'écran affiche : 27>MELODIE
2. Appuyez sur la touche ENVOI/COPIE pour valider.
Votre appareil émet la mélodie programmée et affiche son numéro.
Sélectionnez la mélodie désirée à l'aide des touches ∇ et, parmi les 5 options proposées.
L'écran affiche : MELODIE N°1, N°2, N°3 ou N°4, ou SANS SONNERIE, selon votre besoin.
Réglez éventuellement le niveau sonore à l'aide des touches (+) et ().
Quatre niveaux sonores sont possibles.
Lorsque la mélodie et son niveau sonore vous conviennent, appuyez sur la touche ENVOI/COPIE pour valider votre choix.
Remarque: si vous avez sélectionné la position "SANS SONNERIE", l'odometre clignote (sauf en réception -).
Enregistrer et imprimer le repertoire
Le répertoire vous permet de mémoriser 50 correspondants (téléphone ou télécopie) qui peuvent être appelés de manière abrégée, par leur numéro d'enregistrement (de 00 à 49), ou par leur touche alphabétique associée (pour les 26 premiers numéros abrégés de 00 à 25).
Enregisterer un correspondant
1 Appuyez sur les touches
Valid
Fonction

Fonction
L'écran affiche : NOM
2 Entrez le nom de votre correspondant à l'aide du clavier alphabétique
que et validez par
Fonction
L'écran affiche : TEL
Utilisez la touche ↓ pour corriger, si nécessaire.
3 Entrez le numéro (téléphone ou fax) de votre correspondant : - Sur certains PABX, n'oubliez pas d'insérer une pause de tonalité intermédiaire avec la touche du clavier alphabétique après le préfixe 0 par exemple. (Cette touche, signalée par un "/" sur l'affichage, permet de marquer une pause avant l'envoi des chiffres suivants). Utilisez la touche ↓ pour corriger, si nécessaire. 4 Valider en appuyant sur la touche
Validation

Fonction
Le numéro s'affiche à l'écran (30 chiffres maximum).
L'écran affiche :
1 MEMO VOCAL
2>SANS MEMO
L'appareil vous propose alors d'associer une annonce vocale qui sera restituée lorsque vous appellerez ce correspondant à partir du répertoire.
Si vous ne désirez pas enregistrer de mémo vocal, appuyez sur

Fonction
et STOP : votre premier
correspondant a été enregistré.
Pour enregistrer les autres correspondants, recommencez les opérations depuis le début.
5 Si vous désirez associer un mémo vocal : appuyez sur les touches ▲ et Validation Fonction 6 Décrochez votre combiné et enregistrez votre message ; par exemple "DUPONT" et raccrochez. Appuyez sur STOP
L'écran affiche : DECROCHER SVPANNONCE
Votre correspondant est enregistré dans le répertoire.
Modifier ou consulter un correspondant du repertoire
1 Appuyez sur
Validation, 1, 3 et Validation Fonction
2 Tapez les premières lettres du nom du correspondant ; par exemple pour MARTIN, tapez M, A... ou parcourez le réseau à l'aide des touches▼ et ▲ pour afficher le correspondant désiré (ordre alphabétique), et validez par Validation. 3 Modifiez le nom à l'aide du clavier et validez par Validation Fonction 4 Modifiez le numéro et validez par
Validation Fonction
L'écran affiche : MODIFIER >DUPONT
L'écran affiche : MODIFIER MA > MARTIN
L'écran affiche : TEL 1234567899
L'écran affiche : NUMERO ATTR 1
5 Modifiez éventuellement le numéro d'enregistrement attribué et validez par Validation Fonction 6 Vous pouvez aussi modifier ou supprimer le mémo vocal. 7 Validez votre modification par Validation et appuyez sur STOP
Supprimer un correspondant du repertoire
Validation 1 Appuyez sur Fonction ①, ④ et Validation 2 Tapez les premières lettres du nom du correspondant ; par exemple pour MARTIN, tapez M, A... ou parcourez le répertoire à l'aide des touches et pour afficher le correspondant désiré (ordre alphabétique), et validez par Validation Fonction 3 Confirmez la suppression en appuyant sur ENVOL/COPIE.
L'écran affiche : 1 MEMO VOCAL 2>SANS MEMO
L'écran affiche :
SUPPRIMER
DUPONT
L'écran affiche :
CONFIRMER
VALIDER
Imprimer le repertoire
Le répertoire contient les numéros des correspondants que vous avez déjà enregistrés. Il comprend, pour chaque correspondant enregistré : le nom par ordre alphabétique, le numéro complet du correspondant, son numéro abrégé 2 chiffres et la touche alphabétique qui lui est associée (touche alphabétique associée automatiquement aux 26 premiers numéros abrégés (00 à 25)).
Le répertoire peut désigner jusqu'à 50 correspondants, les numéros abrégés allant de 00 à 49. Chaque numéro de correspondant enregistré peut être soit un numéro de téléphone, soit un numéro de télécopie.
1 Appuyez sur les touches Validation ①, ② et ENVOI/COPIE.
L'écran affiche : IMPRESSION REPERTOIRE
Le répertoire s'imprime
Pensez à installer du papier d'impression dans votre appareil avant de lancer l'impression du répertoire.
Le guide définit les accès aux fonctions programmées de votre appareil. Il s'agit d'une synthèse de toutes les fonctions programmées de votre GALEO 4710.
Il précise pour chaque fonction : le numéro associé à la fonction, l'affichage généré sur l'écran, l'opération réalisée par la fonction.
1 Installez du papier d'impression (voir le § : installer le papier d'impression). 2 Appuyez sur la touche Validation, puis sur 1 et appuyez sur la touche ENVOI/COPIE pour valider la commande.
L'écran affiche : 51>GUIDE
L'écran affiche : IMPRESSION GUIDE
Le guide s'imprime.
Imprimer les reglages
La liste des réglages est l'ensemble des réglages que vous avez programmés ou non. Ces réglages définissent le mode de fonctionnement de l'appareil à l'instant présente et peuvent être modifiés s'ils ne vous conviennent pas.
Appuyez sur les touches Validation
5, 4 et ENVIOI/COPIE.
L'écran affiche : IMPRESSION REGLAGES
Votre appareil imprime la liste des réglages programmes.
Utiliser le telephone
TELEPHONER AVEC LE COMBINE
PAGE 28
TELEPHONER EN "MAINS LIBRES"
PAGE 31
TELEPHONER A PARTIR DU REPERTOIRE
PAGE 32
RAPPELER LES DERNIERS NUMEROS COMPOSES
PAGE 34
RECORD A UN APPEL
PAGE 36
TRANSFERER LA CONVERSATION
PAGE 37
TOUCHES SPECIALES RETARD*
PAGE 38
UTILISER UN TELEPHONE SANS FIL (OPTION)
PAGE 39



Telephoner avec le combine
1 Décolchez le combiné. 2 Composez le numéro de votre correspondant. - Vous pouvez également utiliser le répertoire si vous avez déjà enregistré le numéro de votre correspondant (voir le § : téléphoner à partir du répertoire).
L'écran affiche : EN LIGNE
L'écran affiche le nombre que vous composez, puis le chronomètre se déclenche après 10 s.
Utiliser le haut-parleur
En cours de communication, vous pouvez activer le haut-parleur pour permettre à votre entourage d'entendre votre correspondant.
1 La communication avec votre correspondant étant établie, appuyez sur la touche pour activer l'écoute amplifiée. 2 Réglez, si nécessaire, le niveau sonore du haut-parleur avec les touches (+) et (-). 3 Coupez, si nécessaire, le haut-parleur en appuyant à nouveau sur la touche
Mode SECRET
En cours de communication (avec le combiné ou en "mains libres"), vous pouvez communiquer avec votre entourage sans que le correspondant ne vous entende. Pour cela, vous devez activer le mode SECRET:
L'écran affiche : SECRET
1. Appuyez sur la touche STOP. Pour reprendre la conversation avec votre correspondant, appuyez à nouveau sur la touche STOP.
PASSER en "MAINS LIBRES
En cours de communication, combiné décroché, vous pouvez passer en "mains libres":
1. Appuyez et maintenez appuyée la touche. 2. Raccrochez le combiné. 3. Relâchez la touche (1). 4. Appuyez sur la touche pour raccrocher.
L'écran affiche : MAINS LIBRES pendant quelques instants.
Vous pouvez poursuivre la conversation en "mains libres".
La date et l'heure s'affichent.
DUREE De communication
Certaines professions ont besoin de mesurer leur temps de communication. Il ne s'agit donc pas ici d'un temps Télécom correspondant à des unités téléphoniques facturées par FRANCE TELECOM, mais d'un temps d'activité téléphonique personnel.
Lorsque vous passez un appel, le chronomètre se déclenche et le temps s'affiche automatiquement quelques secondes après avoir composé le numéro de votre correspondant.
Lorsque vous recevez un appel, le chronomètre se déclenche et le temps s'affiche automatiquement quand vous prenez l'appel.
MAINS LIBRES
GALEO 4710 vous permet de converser avec vos correspondants sans décrocher le combiné : vous êtes libre de vos gestes, vous pouvez faire participer votre entourage à la conversation.
Vous appelez
1 Appuyez sur la touche jusqu'à l'obtention de la tonalité.
L'icône Ligne clignote, L'écran affiche : MAINS LIBRES
2. Composez le numéro de votre correspondant.
L'écran affiche successivement le numéro puis le chronomètre après 10 s.
Parler sans décrocher à la réponse de votre correspondant.
Appuyez sur les touches et - pour régler le niveau sonore.
Appuyez sur la touche pour raccrocher.
La date et l'heure s'affichent.
Vous recevez un APPEL
Appuyez sur la touche
L'écran affiche : MAINS LIBRES suivi du chronomètre.
Telephoner a PARTIR du repertoire
Pour appeler un correspondant à partir du réseau, vous devez d'abord enregistrer son numéro dans le réseau. Après enregistrement, vous pouvez, soit l'appeler par son numéro abrégé, par son nom, par la touche alphétique associée, soit le rechercher dans le réseau.
Recherche d'un correspondant dans le repertoire
1 Entrez au clavier alphanumérique les premières lettres du nom recherché. - Les touches et permettent d'affiner la recherche à partir des premières lettres entrées. 2 Pour appeler le correspondant affiché, appuyez sur la touche 3 Lorsque vous entendez votre correspondant, décrochez le combiné ou parlez en mains libres.
Vous entendez le message vocal (que vous avez éventuellement enregistré), puis le haut-parleur est activé et le numéro du correspondant se compose.
APPEL d'un correspondant par TOUCHE alphabetique associee
1 Appuyez sur la touche (MEM) et sur la touchelette associée. 2 Appuyez sur la touche ou décrochez votre combiné.


APPEL D'un correspondant par son NUMERO ABREGE
1 Appuyez sur la touche (MEM) et composez le numéro abrégé de votre correspondant (exemple : (MEM)(0)(1)). 2 Décolchez le combiné ou appuyez sur la touche

Vous pouvez, si vous le désirez, imprimer le réseau afin de connaître son contenu. Pour cela, installez du papier d'impression (voir le chapitre : INSTALLER LE PAPIER D'IMPRESSION), appuyez ensuite sur la touche
Validation

Fonction
ENVOL/COPIE
Puis sur ⑤, puis sur ③, et lancez l'impression avec la touche.
RAPPEL Du dernier NUMERO compose
1 Décrochez le combiné ou appuyez sur la touche 2 Appuyez sur la touche (BIS).
L'écran affiche : EN LIGNE ou MAINS LIBRES
Le dernier numéro composé s'affiche,
Si le dernier numéro composé comporte un préfixe, cette opération peut ne pas fonctionner correctement sur certains centraux téléphoniques. Dans ce cas, composez de préférence le préfixe puis attendez la tonalité intermédiaire, avant d'appuyer sur la touche (BIS).
Remarque : vous avez la possibilité d'effacer toute trace des numéros des correspondants qui vous ont appelé ou que vous avez appelés en appuyant successivement sur les
touches
ANNULE

BIS
RAPPEL D'un des DIX derniers numeros composes
1 Appuyez sur la touche (BIS). 2 Consultez la liste des dix derniers numéros composés à l'aide des touches et ou en appuyant de manière répétée sur la touche (BIS) jusqu'à l'obtention du numéro désiré. 3 Décrochez le combiné ou appuyez sur la touche
Le numéro désiré s'affiche.
Recordre
1 Notre appareil sonne.
L'écran affiche :
APPEL ENTRANT
2 Décrochez votre combiné ou appuyez sur la touche ( ) et parlez avec votre correspondant.
L'écran affiche :
EN LIGNE ou
MAINS LIBRES
- Vous pouvez, à tout moment, utiliser l'écoute amplifiée (en appuyant sur la touche ()) ou le mode secret (touche STOP), si vous le désirez.
Lorsque la conversation se termine, raccrochez le combiné ou appuyez sur la touche
Transferer la conversation
En cours de communication, vous pouvez à tout moment interrompre votre conversation et la poursuivre sur un autre poste installé, par exemple, dans une autre pièce et raccordé à la même ligne téléphonique.
Prévenez votre correspondant.
Votre correspondant ne vous entendra plus, le temps pour vous de rejoindre l'autre téléphone.
2. Appuyez sur la touche
L'écran affiche : EN LIGNE
3. Raccrochez le combiné.
Votre appareil «garde» la ligne au lieu de la libérer immédiatement.
Décrochez l'autre poste téléphonique, puis poursuivez votre conversation.
Après appui sur la touche , si vous ne raccrochez pas avant 8 secondes, l'appui sur la touche est sans effet. Après avoir raccroché le premier poste, si vous mettez plus de 30 secondes pour décrocher le second poste, la communication est coupée.
Communication avec unserveur
Si votre appareil fonctionne en numérotation décimale (DC), vous pouvez, en cours de communication, passer en numérotation musicale (appelée aussi fréquence vocale, FV) en appuyant sur la touche . Il vous est alors possible d'envoyer une série en fréquence vocale vers un serveur ou vers un appareil interrogable à distance (par exemple, un répondeur).
Transfer d'appel sur RESEAU PRIVE
Si votre appareil est raccordé à un réseau privé (cas d'une entreprise la plupart du temps), la touche () permet généralement d'effectuer un transfert d'appel (reportez-vous, si nécessaire, à la documentation de l'autocommutateur auquel vous avez relié).
Utiliser un telephone sans FIL (OPTION)
Votre GALEO 4710 peut être utilisé avec un téléphone sans fil.
Pour cela, vous devez vous procurer dans toute agence France Télécom le kit téléphone sans fil (option).
UTILISER LES


FRANCE TELECOM
PAGE 42
LA PRESENTATION DU NUMERO
PAGE 43

FRANCE TELECOM met à votre disposition les services suivants, accessibles par abonnement :
La Présentation du Nombre Le Signal d'Appel Le Transfert d'Appel La Conversation à Trois
POUR BENEFICIER DE CES SERVICES : ADRESSEZ-VOUS A VOTRE AGENCE FRANCE TELECOM ( N° vert qui figure sur votre facture France Télécom ou 3614, code France Telecom).
La presentation du NUMERO
Ce service vous permet de voir affiché sur votre GALEO 4710 le numéro de la ligne à partir de laquelle votre correspondant vous appelle.
Recevoir un APPEL
L'écran indique l'appel lorsque votre appareil sonne, si vous n'êtes pas abonné au service Présentation du Numéro.
L'écran affiche : APPEL ENTRANT
Si vous êtes abonné au service Présentation du Numéro.
L'écran indique le numéro de votre correspondant ou son nom s'il est enregistré dans le réseau, à l'exception des 2 cas suivants :
L'écran affiche : APPEL ENTRANT 0231030200 ou APPEL ENTRANT DUPONT
- Si votre correspondant ne souhaite pas vous communiquer son numéro de téléphone :
L'écran affiche : APPEL ENTRANT *
- Si le numéro de votre correspondant n'est pas connu du central téléphonique (appels provenant de certains pays étrangers, par exemple)
L'écran affiche : APPEL ENTRANT
Votre correspondant peut être abonné au service Présentation du Numéro. Si vous ne souhaitez pas que votre numéro de téléphone lui soit communiqué, vous disposez d’une commande Secret Appel par Appel qui vous assure que votre numéro ne sera pas transmis.
Avant de numéroter ou d'appeler un numéro de votre réseau, vous pouvez demander le secret en composant le 3651 au clavier ; ce service est gratuit.
Remarque : Si vous êtes raccordé à un PABX permettant l'accès au Service Présentation du numéro, vous devez alors initialiser le paramètre préfixe pour bénéficier de la totalité des fonctions offertes par le service (voir § Raccordement derrière un PABX).
Consulter et rappeler vos correspondants
Si vous êtes abonné au Service Présentation du Numéro, vous pouvez consulter et rappeler les 10 derniers numéros de correspondants auxquels vous n'avez pas répondu.
L'écran affiche le message VOIR APPELS signalant que des correspondants ont essayé de vous joindre.
- Consulter les appareils
Appuyez successivement sur les touches et .
Parcourez la liste à l'aide des touches et (le premier numéro ou nom affiché est celui du dernier correspondant ayant cherché à vous appeler).
Rappeler un correspondant
Si vous désirez appeler le correspondant affiché, appuyez simplement sur ou décrochez le combiné.
L'écran affiche le numéro (ou le nom s'il est enregistré dans le répertoire) ainsi que la date et l'heure de l'appel. Exemple : 4 NOV 10-35
0231030200
Le nombre du correspondant à rappeler se compose automatiquement.
Effacer un correspondant
Si vous désirez effacer un numéro de la liste, faites-le apparaitre à l'écran, puis appuyez sur ANNULE.
Le numéro effacé n'apparaîtra plus dans la liste des correspondants
Remarque : vous avez la possibilité d’effacer toute trace des numéros des correspondants qui vous ont appelé ou que vous avez appelés en appuyant successivement sur les touches ANNULE et BIS.
Utiliser le repondeur
Votre appareil a reçu et enregistré des appels vocaux. Vous procédez alors à l'écoute des messages.
Au début de chaque message, si vous êtes abonné au Service Présentation du Numéro, l'appareil vous indique le numéro du message, la date, l'heure d'appel et le numéro (ou le nom) de votre correspondant.
Si vous désirez rappeler votre correspondant :
L'écran affiche par exemple :
1 31 DEC 23-57 0130322330
1 Revenez au début du message.
1 31 DEC 23-57 0130322330
2 Appuyez sur la touche ou décrochez votre combiné.
Le nombre de votre correspondant est rappelé automatiquement.
Raccordement derriere un PABX
Si vous êtes abonné au service Présentation du Numéro et si vous êtes raccordé à un PABX permettant l'accès à ce service, vous devez initialiser le paramètre Préfixe ; ainsi, pour accéder au réseau téléphonique, vous n'aurez plus besoin de numéroter le préfixe du PABX (préfixe 0 en général).
1. Appuyez sur les touches Validation sur 8, 4 et Fonction. 2. Sélectionnez l'option AVEC à l'aide des touches haut et bas et validez avec la touche. 3. Entrez le numéro utilisé par votre PABX pour accéder au réseau téléphonique (par exemple 0) suivi d'un / et validez avec la touche ENVOI/COPIE.
L'écran affiche :
1 > SANS
2 AVEC
L'écran affiche : SAISIE PrÉfixe.
L'écran affiche : LONGUEUR NUMERO 10
Entrezi si nécessaire la longueur des numéros de téléphone à partir de laquelle l'ajout du préfixe doit être automatiquement réalisé (dans la plupart des cas, la valeur est 10) et validez avec la touche ENVOI/COPIE
5 Puis appuyez sur la touche STOP
Remarque : Vérifiez que les numéros de votre réseau ne sont pas mémorisés avec le préfixe d'accès au réseau téléphonique.
Mise à l'heure automatique
Si vous êtes abonné au Service Présentation du Numéro, ce service vous permet de voir affichées une heure et une date exactes à tout moment.
En effet, lors de chaque communication, le central téléphonique procédera au recalage automatique de l'heure et de la date.
Utiliser le repondeur enregistreur
| UTILISER LE REPONDEUR | PAGE 50 |
| CHOISIR LE MODE DU REPONDEUR | PAGE 51 |
| ACTIVER LE REPONDEUR ENREGISTREUR | PAGE 53 |
| ENREGISTRER LES ANNONCES | PAGE 54 |
| ECOUTER LES MESSAGES | PAGE 57 |
| ENREGISTRER UN CODE D'APPEL PRIVILEGIE | PAGE 60 |
| ACTIVER LE CODE D'APPEL PRIVILEGIE | PAGE 61 |
| REPONDRE UNIQUÉMENT A DES APPELS PRIVILEGIES | PAGE 62 |
| FILTRER SES COMMUNICATIONS | PAGE 63 |
| ENREGISTRER UNE CONVERSATION TELEPHONIQUE | PAGE 65 |
| DEPOT D'UNMESSAGE LOCAL (MEMO) | PAGE 66 |
| ENREGISTRER UN CODE D'INTERROGATION | PAGE 67 |
| ECOUTER LES MESSAGES A DISTANCE | PAGE 69 |
| MODIFIER L'ANNANCE D'ACCUEIL A DISTANCE | PAGE 71 |
| METTRE EN SERVICE VÔTURE REPONDEUR A DISTANCE | PAGE 72 |


Enregistreur
Icône REP fixe affichée : répondeur en service
Taux de remplissage de la mémoire
Retour rapide en écoute des messages vocaux
Avance rapide en écoute des messages vocaux
Signalisation de la présence de messages vocaux enregistrés

FIN PHOTO
ANNULE
TEL FAX REP





















MESSAGE FAX






MESSAGEVOC






dé réception Répondeur
Ecoute des messages
Vocaux
Effacement des
messages vocaux
Repondeur
Le répondeur enregistreur du GALEO 4710 bénéficie d'une mémoire statique d'une capacité de 20 minutes d'enregistrement. Il n'a donc pas besoin de cassette.
Effacez régulièrement les messages reçus pour ne pas saturer la mémoire de votre répondeur (vos messages sont systématiquement sauvegardés) sinon il ne pourrait plus enregistrer de nouveaux messages.
En cas de saturation de la mémoire du répondeur, l'appareil est dans l'état suivant :
- L'icône clignote,
- le message "MEMOIRE PLEINE" s'affiche,
- Le voyant "Alarme" est allumé.
Pour utiliser le répondeur, vous devrez au préalable avoir enregistré vos announcements d'accueil.
Remarque : La mémoire de votre GALEO 4710 est également utilisée pour l'enregistrement des mémos et annonces vocales (annonces répondeur, mémos vocaux, annonces vocales associées aux noms du réseau) ainsi que pour l'enregistrement des télécopies reçues.
Choisir le mode du repondeur
Vous pouvez choisir votre mode répondeur :
- Enregistrreur : pour enregistrer les messages vocaux de vos correspondants.
- Simple : pour donner une information à vos correspondants (vous ne pouvez pas enregistrer de messages vocaux).
Mode repondeur enregistreur
1. Appuyez sur les touches
(4), (5).
L'écran affiche : 45>TYPE REPOND
Appuyez sur la touche ENVOI/COPIE
L'écran affiche : 451>ENREGISTREUR 452 REP SIMPLE
3 Choisissez ENREGISTREUR (à l'aide des touches ou) et appuyez sur ENVOI/COPIE.
Si l'annonce ENREGISTREUR n'est pas enregistrée, l'appareil émet 3 bips et l'écran affiche : PAS D'ANNONCE
Mode repondeur SIMPLE
1 Appuyez sur les touches Validation 4,5. Fonction 2 Appuyez sur la touche ENVOI/COPIE. 3 Choisissez REP SIMPLE (à l'aide des touches ∇ ou ) et appuyez sur ENVOI/COPIE.
L'écran affiche : 45>TYPE REPOND
L'écran affiche : 451>ENREGISTREUR 452 REP SIMPLE
Si l'annonce SIMPLE n'est pas enregistrée, l'appareil émet 3 bips et l'écran affiche : PAS D'ANNONCE
Mise en service
1 Appuyez sur la touche TEL FAX REP (une ou plusieurs fois) afin d'afficher l'icône
L'icône clignote s'il n'y a pas d'annonce correspondante au mode répondeur besoin précédemment.
Mise hors service
1 Appuyez sur la touche TEL FAX REP.
L'icône disparaît.
Enregisterler les annonces
Le répondeur fonctionne selon 2 modes :
- répondeur enregistrleur,
- répondeur simple (pas d'enregistrement de messages). À chacun de ces modes correspond une annonce.
Enregistrement de l'annonce repondeur enregistreur
1 Vérifiez que le mode ENREGISTREUR a été sélectionné (voir le chapitre : CHOISIR LE MODE DU REPONDEUR). 2 Appuyez sur les touches Validation 4,1,1, ENVOI/COPIE. 3 Décrochez le combiné et parlez d'une voix claire et audible.
L'écran affiche : DECROCHER SVP
L'écran affiche : ENREGISTRER suivi de la durée d'enregistrement.
Exemple d'annonce : bonjour, vous êtes bien chez Monsieur et/ou Madame X, vous pouvez laisser un message après le bip sonore ou envoyer une télécopie à ce même numéro, merci.
4 Raccrochez, votre annonce est diffusée automatiquement. Pour ré-écouter votre annonce, appuyez sur les touches Validation Fonction 4,2,1, ENVOI/COPIE. Pour modifier votre annonce, recommencez depuis 2.
Enregistrement de l'annonce repondeur SIMPLE
1 Vérifiez que le mode SIMPLE a été sélectionné (voir le chapitre : CHOISIR LE MODE DU REPONDDEUR). 2 Appuyez sur les touches Validation 4,1,2, ENVOI/COPIE. 3 Décochez le combiné et parlez d'une voix claire et audible.
L'écran affiche : DECROCHER SVP
L'écran affiche : ENREGISTRER suivi de la durée d'enregistrement.
Exemple d'annonce : bonjour, vous êtes bien en contact avec la société Y, nos bureaux sont ouverts de 10h à 17h sans interruption.
4 Raccrochez, votre annonce est diffusée automatiquement. Pour ré-écouter votre annonce, appuyez sur les touches Validation Fonction 4,2,2, ENVOI/COPIE. Pour modifier votre annonce, recommencez depuis 2.
Effacement de l'annonce
- Procédez comme pour l'enregistrement d'une annonce en raccrochant sans enregistrer une nouvelle annonce.
L'annonce correspondant au mode de répondeur besoin précédemment est effacée (voir le chapitre : CHOISIR LE MODE DU REPONDEUR).
GALEO 4710 permet à vos correspondants de vous laisser des messages d'une durée maximum de 90 secondes. Passé ce délai, la communication sera interrompue.
Vous AVEZ RECU des messages
Vous avez reçu des messages lorsque le témoin lumineux MESSAGES VOC. clignote.
Appuyez sur la touche [MESSAGES VOC.] pour les écouter.
Lors de l'appui sur la touche [MESSAGES VOC], le nombre de messages reçus s'affiche, puis pour chaque message, pendant son écoute, s'affichent la date et l'heure de son arrivée.
Suspendre l'ecoute des messages
Appuyez à nouveau sur la touche MESSAGES VOC. pour suspendre ou relancer l'écoute.
L'écran affiche : PAUSE. Vous disposez de 30 seconds pour relancer l'écoute.
- REECOUTER LEMESSAGE EN COURS
Appuyez sur la touche
- REECOUTER LEMESSAGE PRECEDENT
Appuyez 2 fois sur la touche
PASSER AUMESSAGE SUIVANT
Appuyez sur la touche
Appuyez sur la touche [MESSAGES VOC].
EFFACER UNMESSAGE
Appuyez sur la touche ANNULE pendant l'écoute du message.
ARRETER L'ECOUTE DES MESSAGES
Appuyez sur la touche STOP
Rappeler automatiquement votre correspondant
Si vous êtes abonné au Service Présentation du Numéro, vous pouvez rappeler automatiquement le correspondant qui vous a laissé un message (voir chapitre Service Présentation du Numéro).
Effacer tous les messages (si tous les messages ont été écoutés)
Appuyez sur la touche ANNULER, puis sur la touche MESSAGES VOC.
La sauvegarde est automatique.
Tous les messages écoutés et non effacés sont sauvegardés : le voyant ©MESSAGES VOC. est allumé fixe.
Saturation de la memoire de reception
Lorsqu'il y a trop de messages vocaux enregistrés, l'appareil est saturé et ne peut plus enregistrer de messages vocaux supplémentaires. Il faut alors écouter et effacer les messages vocaux et/ou imprimer les télécopies reçues pour vider la mémoire.
L'icône clignote et l'écran affiche : MEMOIRE PLEINE
Le voyant "Alarme" est allumé.
Enregisterr un code d'appel privilegie
Si vous ne souhaitez répondre qu'à certains appels (la nuit par exemple), GALEO 4710 ne sonnera que pour les appels des correspondants auxquels vous aurez donné le code d'appel privilégié. Les autres correspondants pourront vous laisser un message sur votre répondeur sans que vous soyez dérangé ni par la sonnerie, ni par le haut-parleur lors de l'enregistrement du message.
Vous devrez au préalable avoir enregistré et activé ce code et avoir activé le répondeur (l'icône est allumée).

L'écran affiche : CODE PRIVIL
L'écran affiche : CODE 0000 ou l'ancien code
CHANGER LE CODE
2 Appuyez sur la touche ENVOI/COPIE. 3 Composez un code à 4 chiffres différent du code d'interrogation. 4 Appuyez sur la touche ENVOL/COPIE.
Réfaites les séquences 1 à 4 en composant votre nouveau code.
Mise en service
1. Appuyez sur les touches Validation 4,8. Fonction 2. Appuyez sur la touche ENVOI/COPIE, la valeur actuelle du paramètre s'affiche. Appuyez éventuellement sur la touche pour désir AVEC. 3. Validatez votre choix par ENVOI/COPIE.
L'écran affiche : 48>ACCES PRIVIL
L'écran affiche : 481 AVEC 482>SANS
L'icône clignote.
Mise hors service
1 Voiture appareil étant au repos, refaites les séquences 1 et 2. La valeur actuelle du paramètre s'affiche. Appuyez eventuellement sur la touche ↓ pour désigner SANS. 2 Validez votre choix par ENVOI/COPIE.
L'écran affiche : 481> AVEC 482 SANS
Recordre uniquement a des APPELS privileges
Vous devez au préalable avoir enregistré et activé un code d'appel privilégié (l'icône clignote), l'avoir transmis à vos correspondants et avoir activé le répondeur (l'icône est allumée).
Recevoir un APPEL privilegie
1 Votre correspondant doit d'abord composer votre numéro de téléphone. 2 Dès le décroché de votre appareil, il doit appuyer sur la touche (*) de son clavier et composer votre code d'accès privilégié. - Quand vous entendez la sonnerie d'appel privilégié, vous disposez de 30 secondes pour décrocher.
Pour que l'accès privilégie fonctionne, votre correspondant doit appeler à partir d'un téléphone configuré en mode de numération spécifique vocales.
Au-delà, l'annonce d'accueil sera rediffusée, invitant votre correspondant à laisser un message ou vous envoyer une télécopie.
Remarque: si votre correspondant ne compose pas votre code d'appoint privilégié, il pourra vous laisser un message sur le répondeur sans que vous soyez dérangé ni par la sonnerie ni par le haut-parleur lors de l'enregistrement du message.
Communications
En position mode répondeur enregistrueur, vous écoutez sur le haut-parleur les messages que votre répondeur est en train d'enregistrer.
Pour PARLER à votre correspondant
Décrochez le combiné ou appuyez sur la touche haut-parleur.
Pour interrompre la communication, raccrochez le combiné ou appuyez sur la touche haut-parleur.
Activer le filtrage
1 Vous souhaitez entendre les messages. Notre appareil étant au repos, appuyez successivement
Validation sur les touches, puis 4, Fonction 6,1
L'écran affiche : 46>FILTRAGE
2 Appuyez sur la touche ENVOL/COPIE.
L'écran affiche : 461> AVEC 462 SANS
- Desactiver le filtrage
Vous ne souhaitez pas entendre les messages en cours d'enregistrement.
1. Appuyez successivement sur les touches Validation, puis 4, 6, 2. Fonction 2 : Validez par ENVOL/COPIE.
L'écran affiche :
461 AVEC
462>SANS
Remarque 1 : durant l'enregistrement du message, sans filtrage, l'appui sur la touche
vous permet d'entendre le message. Que vous soyez avec ou sans filtrage, les touches + et - vous permettent de régler le volume sonore.
Remarque 2 : si le code d'appel privilégié est activé, il n'y a plus de filtrage : il faut alors
Appuyez sur la touche (+ pour écouter le message en cours d'enregistrement.
Telephonique
Vous êtes en communication téléphonique au combiné téléphonique; vous pouvez enregistrer sur votre répondeur tout ou partie de votre conversation.
Appuyez successivement sur la
Validation touche, puis sur la touche Fonction
MESSAGEVOC
Votre communication est enregistrée.
POUR ARRETER L'ENREGISTREMENT
Appuyez sur la touche STOP
Remarque : L'enregistrement de la conversation n'est pas possible en mode de conversation mains libres.
DEPOT
Un mémo est un message que vous enregistrez en local sur votre répondeur. Ce message peut être destiné à vos proches ou vos collaborateurs. Il peut également faire office de "pense-bête".
Pour enregistrer cemessage
1 Appuyez successivement sur la
Validation
touche
(), puis sur la touche
Fonction
MESSAGES VOC.
L'écran affiche :
DECROCHER SVP
MEMO
2 Décrochez le combiné et parlez.
L'écran affiche :
ENREGISTERER et
la durée d'enregistre
ment restante en
seconds.
3 Raccrochez votre combiné pour
arrête l'enregistrement.
Le code d'interrogation vous permet :
- d'introger à distance votre répondeur (consultation à distance des messages vocaux), (voir chapitre : UTILISER LE REPONDEUR ENREGISTREUR, § : écouter les messages à distance),
- d'introger à distance votre répondeur-fax (consultation à distance des messages fax reçus en mémoire), (voir chapitre : UTILISER LE TELECOPIEUR, § : imprimer les messages fax à distance).
À la livraison, le code d'interrogation est 0000. Pour permettre l'interrogation à distance, vous devez entrer un code d'interrogation différent de 0000.
Appuyez sur les touches Validation 2, 8. Fonction
L'écran affiche : 28>CODE INTERRO
2. Appuyez sur la touche ENVOI/COPIE.
Les 4 chiffres s'inscrivent sur l'afficheur.
Composez un code à 4 chiffres avec les touches du clavier.
Le code est enregistré.
Appuyez sur la touche ENVOI/COPIE.
Vous ne pouvez plus utiliser l'interrogation à distance.
Supprimer le code
Faites les séquences de 1 à 4 en entrant 0000.
Réfaites les séquences 1 à 4.
Ecouter les messages à distance
Vous avez au préalable enregistré une annonce répondeur enregistrure et le code d'interrogation. Pour interroger GALEO 4710 à distance, vous devrez utiliser le clavier d'un poste téléphonique à fréquences musicales (des bips musicaux se font entendre).
1. Composez votre numéro de téléphone. 2. Appuyez sur la touche () après l'émission de l'annonce. 3. Composez les 4 chiffres de votre code d'interrogation à distance : Le code est incorrect, refaites les séquences 2 et 3. Le code est correct, un bip est émis, GALEO 4710 diffuse les messages.
- Reecouter lemessage en COURS
Appuyez sur la touche ④.
Il vous reste 2 essais avant que GALEO 4710 ne raccroche. Vous devrez alors recommencer depuis 1.
"Succèsion de bips", pas de messages. Raccrochez ou CHOISISSEZ une autre fonction.
Équivaut à la touche
- REECOUTER LEMESSAGE PRECEDENT Appuyez 2 fois sur la touche (
- REECOUTER TOUS LES NEWS
Appuyez sur la touche ⑤ pendant la succession de bips de fin de message.
ARRETER MOMENTANEMENT L'ECOUTE
Appuyez sur la touche ⑤.
- REPRENDRE L'ECOUTE DUMESSAGE ARRETE
Appuyez 1 fois sur la touche (5).
PASSERAUMMESSAGE SUVANT
Appuyez sur la touche ⑥.
EFFACER TOUS LES MESSAGES
Pendant la succession de bips de fin de messages, appuyez sur la touche ①, puis sur la touche ⑤.
RELECTURE DE L'ANNONCE
Appuyez sur la touche ③ pendant la succession de bips de fin de messages.
Équivaut à la touche MESSAGES VOC.
Vous disposez de 30 secondes pour relancer l'écoute.
Équivaut à la touche MESSAGES VOC.
Équivaut à la touche
Pendant la succession de bips de fin de messages, raccrochez pour conserver vos messages.
Pour arrêter l'écoute des messages, raccrochez.
Modifier l'annonce d'accueil à distance
1 Composez votre numéro de téléphone. 2 Appuyez sur la touche après l'émission de l'annonce. 3 Composez les 4 chiffres de votre code d'interrogation à distance. Le code est incorrect, refaites les séquences 2 et 3.
Il vous reste 2 essais avant que GALEO 4710 ne raccroche. Vous devrez alors recommencer depuis 1.
Le code est correct. Après l'écoute des messages et pendant la succession de bips de fin de messages, appuyez sur la touche ⑧, puis ③, puis dictez votre nouvelle annonce.
Après le bip de validation, vous disposez de 8 secondes pour commencer à enregistrer votre annonce.
5. Appuyez sur la touche ③ pour arrêter l'enregistrement.
L'annonce est automatiquement rediffusée.
Si la nouvelle annonce vous convient, raccrochez, sinon, attendez la succession de bips de fin de messages et recommencez depuis 4.
Elle sera enregistrée quand vous aurez raccroché.
METTRE En service votre repondeur a distance
Votre appareil est resté en mode ou - Pour activer à distance le mode répondeur ( --), procédez de la façon suivante :
1. Composez votre numéro de téléphone. 2. Appuyez sur la touche après l'émission du message d'accueil préenregistré ( -) ou de l'annonce répondeur (). 3. Composez les 4 chiffres de votre code d'interrogation à distance. Le code est correct, GALEO 4710 diffuse les messages. Pour permettre en service vreterepondeur, appuyez sur la touche ⑦ pendant la succession de bips (bips de fin de messages ou bips d'absence de messages). Pour permettre hors service vreterepondeur, appuyez comme précédemment sur la touche ⑨ pour passer en mode ou sur la touche ⑧ puis ⑨ pour passer en mode-
Laissez sonner jusqu'à ce qu'il décroche.
Si le code est incorrect, refaites les séquences 2 et 3.
1 bip de validation est émis.
1 bip de validation est émis.
Utiliser le telecopieur
TRANSMETTRE UNE TELECOPIE
RECEVOIR UNE TELECOPIE
DEPOSER ET RELEVER UN DOCUMENT
FONCTION FILE D'ATTENTE
ENREGISTERER UN CODE D'INTERROGATION
IMPRIMER LES MESSAGES FAX À DISTANCE
IMPRIMER ET COMPRENDRE LE JOURNAL DE "BORD"
COPIER UN DOCUMENT
BOITES AUX LETTRES (BAL)
REDIFFUSION
ECONOMIE DE PAPIER A L'IMPRESSION
REVEIL
IMPRIMER UN ECRAN MINITEL
APPEL DE SERVEURS TELECOPIE
Imprimer un document
À PARTIR DE VOTRE PC (OPTION)
PAGE 75
PAGE 90
PAGE 97
PAGE 100
PAGE 105
PAGE 107
PAGE 108
PAGE 110
PAGE 111
PAGE 117
PAGE 121
PAGE 122
PAGE 123
PAGE 125
PAGE 126


Attention
- des trombones, des agrafes,
- des épinges, des collages,
- du ruban adhésif,
- du correcteur liquide,
- de l'encre non sèche,
- des photographies.
Utiliser des documents :
- au format A4 (21 x 29,7 cm),
- d'une épaisseur moyenne (du type papier photocopieuse),
- non transparents, - non déchirés, froissés ou gondolés.
Si vous GALEO 4710 est en réception automatique (icône FAX affichée) : lorsqu'un correspondant vous envoie un Fax, votre appareil le reçoit automatiquement. Si vous GALEO 4710 est en réception manuelle (icône FAX absente) : lors d'un appel, décrochez. Vous obtenez soit votre correspondant, soit un signal Fax (bips intermittents). Si c'est un signal Fax (le message RECEPTION est affiché), raccrochez alors votre combiné (la communication Fax est reçue automatiquement). Pour arrêter une transmission Fax en cours, appuyez 2 fois sur la touche STOP Pour faire une copie : mettez du papier dans le chargeur de papier, insérez votre document à copier dans le chargeur de document, puis appuyez sur la touche ENVOI/COPIE
Une telecopie
Votre GALEO 4710 est doté d'un chargeur automatique permettant l'émission d'un document composé d'une liasse de 10 feuilles non reliées. Après insertion d'un document, vous pouvez, soit l'émettre immédiatement, soit effectuer une émission différée (émission à une heure).
1 Préparez votre document : 10 pages au maximum, au format A4.

2 Relevez la porte d'accès télécopie (A), puis relevez le bras support document (B).

3 Insérez le document face imprimée vers le bras support document et en tête vers le bas. 4 Ajustez, si besoin est, le guide mobile (C) à la largeur du document inséré. La dernière page de la liasse sera émise en premier.
L'écran affiche : DOCUMENT PRET
Emission immediate
1 Insérez votre document (voir le paragraphe précédent).
L'écran affiche : DOCUMENT PRET
2. Composez le numéro de fax de votre correspondant.
Le nombre s'affiche à l'écran.
N'oubliez pas d'insérer, si nécessaire (derrière certains PABX), une pause de tonalité intermédiaire avec la touche ( 1 ) du clavier alphabétique (cette touche, signalée par un "/ " sur l'affichage, permet de marquer une pause avant l'envoi des chiffres suivants).
Lorsque vous composez le numéro de votre correspondant, si vous vous trompez, vous pouvez effacer le dernier caractère à l'aide de la touche .
Appuyez sur la touche ENVOI/COPIE lorsque le numéro est correct.
Le document entre en mémoire et l'écran affiche : APPEL EN COURS
En cas d'échec (correspondant occupé, par exemple) l'appareil réitérera l'appel après quelques minutes d'attente (5 réitérations). Vous pouvez, si vous le désirez, écouter cette attente et tenter immédiatement un autre appel en appuyant sur les touches Validation Fonction 61 (voir le § : exécuter immédiatement une opération en attente).
Choisir le mode de resolution du telecopieur
Votre GALEO 4710 vous permet d'émettre vos télécopies selon 3 modes de résolution : le mode normal, le mode fin et le mode photo.
Le mode normal est utilisé lorsque le document à émettre est de bonne qualité et qu'il ne compte pas de petits détails.
Le mode fin doit être utilisé lorsque le document comporte des petits caractères, des dessins détaillés, etc.
Le mode photo doit être utilisé lorsque le document comporte des photographies.
Le mode de résolution sélectionné est visualisé par l'affichage ou non des icônes et : ces icônes sont absentes en mode normal.


Il est préférible de ne pas utiliser le mode fin si ce n'est pas nécessaire car ce mode allonge la durée de communication.




Emission par recherche dans le repertoire par ORDRE alphabetique
Pour transmettre une télécopie à un correspondant déjà enregistré dans le réseau, vous pouvez consulter le réseau avant envoi, si vous ne vous souvenez que de son nom :
L'écran affiche : DOCUMENT PRET
1 Insérez le document à transmettre. 2 Entrez au clavier alphabétiques les premières lettres du nom recherche. - Les touches et permettent d'affiner la recherche des premièreslettres entrées. 3 Appuyez sur la touche ENVVOI/COPIE
Emission immediate partouche alphabetiqueassociee
1 Insérez le document à transmettre.
L'écran affiche : DOCUMENT PRET
2. Appuyez sur la touche (MEM) et sur la touchelette associée.
DUPONT
3 Appuyez sur la touche ENVOL/COPIE
Emission immediate a PARTIR du NUMERO ABREGE
Pour transmettre une télécopie, vous pouvez sélectionner votre correspondant dans le répertoire directement à partir de son numéro abrégé, si celui-ci a été enregistré au préalable.
1. Insérez le document à transmettre (voir le paragraphe correspondant).
L'écran affiche : DOCUMENT PRET
2 Appuyez sur (MEM), composez le numéro abrégé, puis appuyez sur ENVIO/COPIE.
Edition du rapport de la derniere communication
À la livraison, votre appareil n'est pas programmé pour imprimer automatiquement les rapports d'émission. Vous pouvez cependant, si vous le désirez, imprimer le rapport de la première communication effectuée.
1 Installez du papier dans votre téLécopieur (voir le chapitre : INSTALLER LE PAPIER D'IMPRESSION).
2 Appuyez sur les touches Validation 5,6. Fonction
L'écran affiche : 56>RAPPORT
3 Appuyez sur ENVIOI/COPIE
Vous pourriez fixer vous-même les conditions d'impression des rapports d'émission.
Après une émission différée depuis la mémoire ou une diffusion, les rapports d'émissions comportent l'image réduite de la première page (si l'option rapport d'émission a été paramétrée "AVEC", voir le § : conditions d'impression des rapports d'émission).
Emission differee
L'émission différée vous permet d'émettre automatiquement une télécopie à l'heure que vous choisissez. Cette fonction permet de bénéficier de la tarification réduite réservée à certaines tranches horaires ou de tenir compte des décalages horaires avec les pays lointains.
1. Insérez le document à transmettre (voir le paragraphe correspondant).
L'écran affiche : DOCUMENT PRET
2. Appuyez sur la touche , puis sur ③, puis sur ①. Fonction
L'écran affiche : 31>EMISSION
3. Appuyez sur la touche Fonction
L'écran affiche : DESTINATAIRE
4 Composez le numéro de Fax de votre correspondant.
Le numéro s'affiche à l'écran.
Vous pouvez également rechercher votre correspondant dans le répertoire, utiliser la touche associée ou le numéro abrégé.
Si vous désirez émettre immédiatement votre télécopie, appuyez sur la touche ENVVOI/COPIE; dans le cas contraire, poursuivez la procédure.
Appuyez sur la touche Validation Fonction
L'écran affiche : HEURE DE DEPART
Composez l'heure d’émission désirée, à l’aide du clavier numérique.
L'heure s'affiche à l'écran.
Appuyez sur la touche Validation Fonction
L'écran affiche alternativement : 1>DOC MEMOIRE. 2 DOC CHARGEUR
- Faites-vous à l'aide de la touche :
Chargeur : le document restera inséré dans la machine jusqu'à ce qu'il soit émis. - Mémoire : le document sera immédiatement analysé et enregistré en mémoire avant d'être émis.
Appuyez sur la touche. Fonction
L'écran affiche : NB PAGES
Indiquez, à l'aide du clavier numérique, le nombre de pages à transmettre.
L'écran affiche le numéro du correspondant, avec l'heure d'émission et la date courante.
11 Appuyez sur la touche ENVOL/COPIE pour valider : le document est en attente d'émission.
Si vous désirez émettre immédiatement votre télécopie, utilisez la procédure exécuter immédiatement une commande en attente.
Si vous désirez annuler l'émission différée :
- si le document est sur le chargeur, retirez le document,
- si le document est en mémoire, utilisez la procédure supprimer une commande en attente.
Emission vers plusieurs destinataires (diffusion)
Un document peut être émis vers plusieurs destinataires en émission immédiate ou différée.
Pour émettre un document vers plusieurs destinataires, il suffit, dans la procédure d'émission après la saisie du premier destinataire, d'appuyer sur la touche pour saisir un autre destinataire.
1. Insérez le document à transmettre.
L'écran affiche : DOCUMENT PRET
2. Appuyez sur la touche , puis sur ③, puis sur ①.
L'écran affiche : 31>EMISSION
3. Appuyez sur la touche Fonction
L'écran affiche : DESTINATAIRE
4 Composez le numéro de fax de votre premier correspondant ou effectuez une recherche dans le réseau.
Le numéro s'affiche à l'écran.
5 Appuyez sur la touche pour passer au destinataire suivant.
L'écran affiche : DESTINATAIRE 2
Composez le numéro de fax du deuxième destinataire, de la même manière que le premier destinataire.
Son numéro s'affiche à l'écran.
7 Renouvelez l'opération jusqu'à votre dernier destinataire (maximum 6 destinataires.)
Validation 8 Appuyez sur la touche Fonction pour passer à la rubrique suivante ou appuyez sur la touche ENVOI/COPIE pour émettre le document.
Emission avec page de GARDE
La page de garde est un document A4. Cette page de garde est la première émise lors de l'émission d'un document. Le document sera alors forcément émis depuis la mémoire (le choix "CHARGEUR" sera alors ignoré).
Présentation de la page de garde (exemple) :
Date :
10/05/97
PAGE DE GARDE
De :
Nom :
-B. DUPONT
Fax :
-0130737185
- C. DUVAL
Fax :
-0130737070
Nb. de pages : 3
MESSAGE
Réunion à 15H30
Elle peut être insérée à la demande de l'utilisateur lors de chaque émission depuis la mémoire.

L'écran affiche : DESTINATAIRE
L'écran affiche : 1 AVEC PG GARDE 2>SANS PG GARDE
L'écran affiche : ENTRER LE TEXTE
Enregistrez le numéro de votre correspondant, l'heure de départ, le type de doc (mémoire ou chargeur), le nombre de pages. 3. Déplacez l'indicateur sur AVEC à l'aide de la touche ▲. 4. Appuyez sur la touche Validation Fonction. 5. À l'aide du clavier alphabétique, entrez le message que vous pouvez faire figurer en bas de la page de garde (80 caractères maxi). Exemple: RÉUNION À 15H30. 6. Appuyez sur la touche ENVOL/COPIE pour valider.
Emission d'unmessage COURT SAISI au clavier
Vous pouvez émettre un fax sous forme de document court saisi directement sur le clavier alphabétique

L'écran affiche : DESTINATAIRE


L'écran affiche : 1>DOC MEMOIRE 2 DOC CHARGEUR

L'écran affiche : 2 DOC CHARGEUR 3>DOC CLAVIER

L'écran affiche : ENTRER LE TEXTE
En appuyant sur la touche Validation, on poursuit la demande d’émission (nb de pages, page de garde,...). Fonction
6 Entrez à l'aide du clavier alphabétique le message à émettre (limité à 80 caractères) et appuyez sur la touche ENVOI/COPIE.
Il est également possible de "déposer" un document court saisi au clavier (voir § DEPOSER UN DOCUMENT).
Appeler votre correspondant pendant la communication FAX
Vous pouvez, si vous le désirez, signaler à votre correspondant que vous désirez lui parler en fin de communication Fax.
1 En cours de transmission, appuyez sur la touche : dès que la page en cours est transmise, l'appareil de votre correspondant sonne (s'il est compatible).
L'écran affiche : TELEPHONE N° ou Nom.
Si votre correspondant décroche, votre appareil sonne : décrochez votre combiné et parlez-lui.
Si c'est votre correspondant qui vous appelle, décrochez lorsque votre appareil sonne afin de lui répondre.
Conditions d'impression des rapports d'emission
Les rapports d'émission vous permettent, lorsqu'ils sont imprimés, de savoir si la communication s'est correctement déroulée ou non, et d'en avoir une trace imprimée.
Vous avez le choix entre les 3 options suivantes :
- «SANS»: les émissions ne font pas l'objet de rapport d'émission (se reporter au journal d'émission pour conserver une trace des communications).
- «AVEC»: un rapport d'émission est imprimé après une transmission correcte ou après l'abandon définitif d'un essai d'émission.
- «SUR ECHEC»: un rapport d'émission est imprimé lorsque la transmission n'a pas pu se réaliser et après l'abandon définitif de l'essay de transmission.
Votre GALEO 4710 est programmé en usine pour imprimer automatiquement un rapport d'émission seulement SUR ECHEC de la communication. Vous pouvez cependant modifier cette programmation si vous le désirez.
Pour modifier la programmation de ce paramètre :
1 Appuyez sur les touches Validation ③, ④. Fonction 2 Appuyez sur ENVIOI/COPIE 3 Appuyez sur la touche jusqu'à l'affichage de l'option désirée. 4 Appuyez sur ENVIO/COPIE pour valider votrechoix.
L'écran affiche : 34>RAPPORT
L'écran affiche : 342 SANS 343>SUR ECHEC
Recevoir une telecopie
Votre appareil peut recevoir des télécopies de façon automatique (sans intervention de l'utilisateur), selon le mode de réception choisi :
- La réception automatique concerne 2 modes de fonctionnement, intitulés TELEPHONE-FAX et REPONDEUR. Dans ces 2 modes, votre appareil reçoit automatiquement des télécopies, sans que vous interveniez.
- La réception manuelle correspond au mode TELEPHONE. Dans ce mode, en cas d'appel, votre appareil sonne et ne prend pas la communication automatiquement. Vous devez décrocher le combiné pour permettre l'établissement de la transmission.
Votre GALEO 4710 regroupe 3 appareils en un seul : un téléphone, un fax et un répondeur. Les différents modes de réception proposés lui permettent de s'adapter aux besoins les plus courants (pour changer de mode de réception, voir le § : sélection du mode de réception).
Votre GALEO 4710 dispose également d'une mémoire de réception capable d'enregistrer vos fax :
- même si la porte d'accès télécopie est fermée (plus de papier pour imprimer),
- en toute confidentialité.
Remarque : la mémoire est commune à la réception de messages fax et de messages vocaux. Sa capacité maximum est de 20 minutes de messages vocaux ou de 40 pages de messages fax.
Impression des telecopies enregistrees
La présence de télécopies reçues en mémoire mais pas encore imprimées est signalée par le clignotement du voyant MESSAGES FAX.
Ouvrez la porte d'accès télécopie et installez du papier d'impression (voir le chapitre : INSTALLER LE PAPIER D'IMPRESSION). Appuyez sur la touche [MESSAGE FAX].
Les télécopies enregistrées dans la mémoire de réception s'impriment automatiquement.
À la livraison, votre appareil est programmé pour recevoir les télécopies systématiquement en mémoire. Celles-ci ne sont alors imprimées que sur demande de votre part par appui sur la touche (MESSAGE FAX).
Si vous désirez imprimer vos télécopies au fur et à mesure qu'elles sont reçues, vous devez programmer "SANS" réception des fax en mémoire :
1 Appuyez sur les touches Validation ③, ⑥. Fonction
L'écran affiche : 36>RECEPT MEM
Appuyez sur la touche Validation Fonction
L'écran affiche : 361> AVEC 362 SANS
3. Appuyez sur la touche ∇ pour sélectionner SANS.
L'écran affiche : 362>SANS
4 Appuyez sur la touche ENVOL/COPIE.
Les télécopies reçues sont imprimées automatiquement au fur et à mesure de leur arrivée.
Remarque : les télécopies reçues en mémoire peuvent également être imprimées à distance, voir le chapitre : imprimer les messages fax à distance.
Mode telephone-fax (automatique avec aiguillage des APPELS)
Ce mode automatique est prévu pour une ligne recevant des appeals Fax et des appeals téléphoniques. Notre appareil trie les appeals : il reçoit les télécopies automatiquement et de façon silencieuse, et sonne lorsque l'appel est téléphonique.
Ce mode est sélectionné quand les icônes et sont affichées.
Lors d'un appel, votre appareil décroche automatiquement (sans sonner) et transmet un message d'accueil pré-enregistré ("Bonjour, vous êtes en communication avec un téléphone-fax. Veuillez patienter"), invitant votre correspondant à patienter :
- Si c'est un appel Fax, il passe en réception télécopie.
- Si c'est un appel vocal, votre appareil sonnera pendant 30 secondes. Si vous ne répondez pas, après ce délai, il passera en réception télé-copie (ou en répondeur si une annonce a été enregistrée).
Ce mode de fonctionnement est prévu pour une ligne recevant peu de télécopies. Il est sélectionné quand l'icône seule est affichée.
Retirez tout document éventuellement inséré dans le chargeur de document, sinon en cas de communication Fax, c'est celui-ci qui sera émis.
1 Lorsque le téléphone sonne, décrochez le combiné.
L'appareil ne prend pas la ligne automatiquement et affiche : APPEL ENTRANT
2. Écoutez dans votre combiné :
Si c'est un appel vocal, vous pouvez dialoguer avec votre correspondant. Si celui-ci désire vous envoyer un Fax : lorsqu'il est prêt, appuyez sur ENVOI/COPIE puis raccrochez.
L'écran affiche : RECEPTION
Si c'est un appel Fax (bips intermittents), attendez que l'afficheur indique "RECEPTION", puis raccrochez votre combiné.
Votre appareil passe automatiquement en mode Fax et l'écran affiche : RECEPTION
Si vous n'entendez rien, l'appel est peut-être émis par un ancien modèle de télécopieur. Dans ce cas appuyez sur ENVOI/COPIE puis raccrochez.
Votre appareil recevra la télécopie.
Selection du mode de reception
Appuyez sur la touche (une fois ou plus) pour sélectionner le mode de réception désiré :
- MODE TELEPHONE: icône affichée.
- MODE TELEPHONE-FAX : icônes et affichées.
- MODE TELEPHONE-FAX-REPONDEUR: icônes, et affichées.
Reglage du NOMBRE desonneries avant decrochage automatique en
MODE
1 Appuyez sur les touches Validation ②, ⑥. Fonction L'écran affiche : 26>SONNERIES 2 Appuyez sur la touche ENVOI/COPIE. L'écran affiche : SONNERIES 3 Entrez le nouveau nombre de sonneries désiré (2 à 5). 4 Appuyez sur la touche ENVOI/COPIE pour valider.
Remarque : si vous prenez la communication à partir d'un second téléphone connecté sur une autre prise de la même ligne téléphonique, vous pouvez commander la réception de fax à distance à partir de ce téléphone en composant # puis 7. GALEO 4710 passera alors en mode de réception télécopie. Ce téléphone doit être réglé en numération à fréquence musicale.
Saturation de la memoire de reception
Lorsqu'il y a trop de télécopies reçues dans la mémoire, l'appareil est saturé et ne peut plus enregistrer de message fax supplémentaire. Il faut alors imprimer les télécopies reçues pour vider la mémoire.
Effacement des telecopies enregistres
- Les pages de documents fax s'effacent automatiquement de la mémoire dès qu'elles sont imprimées.
- Une impression suspendue par manque de papier sera reprise à la première page non imprimée. L'indication de présence d'un document s'efface lorsque toutes les pages ont été imprimées.
L'icône clignote et l'écran affiche : MEMOIRE PLEINE
Deposer un document
vous préparez un document (pas plus de 10 feuilles A4) et le mettez en place dans le télécopieur comme pour le faxer normalement. Notre correspondant pourra récupérer lui-même ce document à condition qu'il soit équipé d'un télécopieur doté de la fonction relève; il paiera la communication.
Votre correspondant pourra ainsi récupérer le document qui lui est destiné quand il le voudra, par exemple pendant votre absence.
Vérifiez que votre appareil est en mode de réception TELEPHONE-FAX ou TELEPHONE-FAX-REPONDEUR (voir le chapitre : RECEVOIR UNE TELE-COPIE).
Le document déposé sera relevé par un seul destinataire :
1 Insérez le document à déposer dans le chargeur de document.
L'écran affiche : DOCUMENT PRET
2. Appuyez sur les touches Validation ③, ③. Fonction
L'écran affiche : 33>DEPOT
3. Appuyez sur ENVOL/COPIE pour valider.
L'écran affiche : 1> DEPOT SIMPLE 2 DEPOT MULTIPLE
4 Appuyez sur ENVOI/COPIE, le document est analysé et mis en mémoire.
L'écran affiche : DOC EN DEPOT
Lorsque le télécopieur de votre correspondant procédera à la relève de votre document, celle-ci se fera automatiquement.
Pour annuler le dépôt simple, (voir : supprimer une commande en attente).
Le document déposé pourra être relevé par plusieurs destinataires :
1 Insérez le document à déposer dans le chargeur de document.
L'écran affiche : DOCUMENT PRET
2. Appuyez sur les touches Validation ③, ③. Fonction
L'écran affiche : 33> DEPOT
3 Appuyez sur ENVIOI/COPIE pour valider.
L'écran affiche : 1> DEPOT SIMPLE 2 DEPOT MULTIPLE
4 Appuyez sur la touche pour désir DESPOT MULTIPLE et sur la touche ENVOI/COPIE pour valider. Le document est analysé et mis en mémoire.
L'écran affiche : DOC EN DEPOT
Remarque : dans le cas d'un dépôt multiple, le document ne sera jamais effacé automatiquement de la mémoire, c'est à l'opérateur de le supprimer par la fonction 63.
- DEPOT D'un TEXTE entre au clavier
1. Appuyez sur les touches Validation ③, ③. Fonction
L'écran affiche : 33>DEPOT
2. Appuyez sur ENVOL/COPIE pour valider.
L'écran affiche : 1> DEPOT SIMPLE 2> DEPOT MULTIPLE
3. Choisissez DEPOT SIMPLE OU MULTIPLE en appuyant sur la touche.
L'écran affiche : 1> DOC MEMOIRE 2 DOC CHARGEUR 3 DOC CLAVIER
4 Appuyez sur la touche ∇ pour CHOISIR DOC CLAVIER et sur la touche ENVOI/COPIE pour valider.
L'écran affiche : ENTRER LE TEXTE
5 Entrez au clavier le texte de votre choix.
L'écran affiche le texte saisi :
6 Validatez par la touche ENVOI/COPIE
L'écran affiche : DOC EN DEPOT
Relever un document
Votre correspondant aura préparé son télécopieur en conséquence. Pour récapituler le document qui vous est destiné :
1 Appuyez sur les touches Validation ③, ②. Fonction
L'écran affiche : 32>RELEVE
2 Appuyez sur ENVOI/COPIE pour valider.
L'écran affiche : DESTINATAIRE
3 Composez le numéro de Fax de votre correspondant ou effectuez une recherche dans le réseau.
4 Appuyez sur la touche ENVOI/COPIE si vous désirez une relève immédiate, sinon :
L'écran affiche : HEURE DE DEPART, l'heure courante et l'heure de relève.
Appuyez sur la touche Validation Fonction
- Entrez l'heure de relève du fax.
L'écran affiche : l'heure courante et l'heure de relève.
- Appuyez sur la touche ENVOLI/COPIE.
L'écran affiche : le n° du télécopieur à relever, l'heure de relève, la date et l'heure courantes.
FILE d'attente
Cette fonction permet la gestion des commandes en attente d'exécution (émission différée, dépôt ou relève).
Après la programmation d'une commande à exécution différée, vous pouvez imprimer la liste des commandes en attente afin de repérer l'opération à traiter. Vous pouvez alors procéder à des modifications, demander l'exécution immédiate de la commande ou imprimer le document correspondant à la commande en attente.
Imprimer la LISTE des commandes en attente
1 Installez du papier d'impression (voir le chapitre : Installer le papier d'impression).
2. Appuyez sur les touches Validation 6,5
L'écran affiche : 65>IMP LISTE
3 Appuyez sur la touche ENVOL/COPIE
La liste des commandes s'imprime.
Supprimer une commande en attente
1. Appuyez sur les touches
Validation

⑥, ③.
L'écran affiche : 63>SUPPRIMER
2. Appuyez sur la touche ENVOI/COPIE. Les différents types de commandes en attente sont :
La première commande en attente s'affiche.
EMI: émission,
DEP: dépôt,
REL: relève.
Choisissez la commande à supprimer en utilisant la touche ∇ et appuyez sur ENVOI/COPIE.
L'écran affiche : CONFIRMER VALIDER
Appuyez sur la touche ENVOLI/COPIE.
Le document correspondant (s'il existe) est automatiquement effacé de la mémoire.
Executer immediatement une commanden attente
1. Appuyez sur les touches 6, 1.
L'écran affiche : 61>EXECUTER
2 Appuyez sur la touche ENVOL/COPIE. Les différents types de commandes en attente sont :
L'écran affiche la première commande en attente.
EMI: émission,
REL: relève.
3 Choisissez la commande à exécuter en utilisant la touche ∇ et appuyez sur la touche ENVOI/COPIE.
La commande choisie est exécutée.
Modification d'une commande en attente
1. Appuyez sur les touches
Validation
(6), (2).

Fonction
L'écran affiche : 62>MODIFIER
2 Appuyez sur la touche ENVOLI/COPIE. Les différents types de commandes en attente sont :
EMI: émission, REL: relève. 3 Choisissez la commande à modifier en utilisant la touche et appuyez sur la touche ENVVOI/COPIE. 4 Vous pouvez alors, selon votre besoin, modifier le numéro du destinataire et l'heure d'exécution de la commande : entrez le nouveau numéro (ou retapez l'ancien, si vous pouze seulement modifier l'heure de l'émission ou de la relève) et ap-
appuyez sur la touche
Validation

Fonction
5 Entrez la nouvelle heure (ou appuyez directement sur la touche ENVOI/COPIE, si vous voulez exécuter immédiatement la commande). 6 Appuyez sur la touche ENVOI/COPIE pour valider la modification.
La première commande en attente s'affiche sur l'écran.
L'écran affiche : DESTINATAIRE
L'écran affiche : HEURE DE DEPART
Imprimer un document en attente
1 Installez du papier d'impression (voir le chapitre : INSTALLER LE PAPIER D'IMPRESSION).
2 Appuyez sur les touches Validation 6,4. Fonction
L'écran affiche : 64>IMP DOCUMENT
3 Appuyez sur la touche ENVOI/COPIE. Les différents types de commandes auxquelles correspond un document en attente sont:
Le premier document en attente s'affiche sur l'écran.
- EMI : émission,
• DEP : dépôt.
4 Choisissez le document à imprimer en utilisant la touche ∇ et appuyez sur la touche ENVOI/COPIE.
Le document choisi s'imprime.
Le code d'interrogation vous permet :
- d'interroger à distance votre répondeur (consultation à distance des messages vocaux), (voir chapitre : UTILISER LE REPONDEUR ENREGISTREUR, § : écouter les messages à distance),
- d'introguer à distance votre répondeur-fax (consultation à distance des messages fax reçus en mémoire), (voir chapitre : UTILISER LE TELECOPIEUR, § : imprimer les messages fax à distance).
À la livraison, le code d'interrogation est 0000. Pour permettre l'interrogation à distance, vous devez entrer un code d'interrogation différent de 0000.
1. Appuyez sur les touches ②, ⑧.

L'écran affiche : 28> CODE INTERRO
2 Appuyez sur la touche ENVOI/COPIE. 3 Composez un code à 4 chiffres avec les touches du clavier. 4 Appuyez sur la touche ENVOI/COPIE.
Les 4 chiffres s'inscrivent sur l'afficheur.
Le code est enregistré
Supprimer le code
Faites les séquences de 1 à 4 en entrant 0000.
Vous ne pouvez plus utiliser l'interrogation à distance.
Réinitialiseséquences 1à4
Imprimer les messages FAX à distance
Si vous êtes éloigné de GALEO 4710 et que vous disposez localement d'un télécopieur, vous pouvez imprimer sur ce dernier les télécopies reçues en mémoire dans votre appareil.
Vous avez au préalable enregistré un code d'interrogation (voir § précédent).
1. Composez, depuis un télécopieur distant muni d'un téléphone, votre numéro d'appoint. 2. Tapez sur la touche pendant l'annonce, puis tapez les 4 chiffres de votre code d'interrogation.
Attendez la fin de la diffusion des messages vocaux.
3 Appuyez successivement sur les touches 8 et 0. 4 Activez le télécopieur. - Notre appareil va alors réémettre la totalité des télécopies reçues dans la mémoire.
Pour que l'appel à distance fonctionne, vous devez l'effectuer à partir d'un télécopieur muni d'un téléphone configuré en mode de numérotation fréquences vocales.
Vous entendez une série de bips sonores.
Vous entendez la tonalité télécopie.
Remarque 1: le code d'interrogation est utilisé pour accéder au répondeur vocal ou au répondeur fax. Vous pouvez donc, lors d'une même communication, écouter vos messages vocaux ou imprimer vos documents fax.
Remarque 2 : lorsque vous interrogez à distance votre répondeur fax, les télécopies réémises sont automatiquement effacées de la mémoire.
Imprimer et comprendre le journal de "BORD
Le journal de bord est en fait constitué de deux journaux mémorials de vos communications
- un journal d'émission,
- un journal de réception.
La présentation est identique pour les deux journaux et compte 7 colonnes :
Date / Heure
- Date et heure de la transaction.
Correspondant
• Numéro complet du correspondant.
Si vous correspondant l'a programmes sur son appareil.
Mode
• Résolution de l'image.
Pages
- Nombre de pages transmises ou reçues.
Durée
Durée totale de la communication.
Résultat
Résultat de l'émission ou de la réception.
Note
- Précise le résultat de l'émission ou de la réception ou s'il s'agit d'un message enregistré sur le répondeur.
Un CODE apparait si incident : il est expliqué page suivante.
Impression des journaux
1. Appuyez sur les touches
Validation
(5), (2).

Fonction
2. Appuyez sur la touche ENVOI/COPIE.
L'écran affiche : 52 > JOURNAUX
Les journaux s'impriment.
Code d'emission ou de reception
En cas d'incident, le résultat de la transmission correspond à un code dont la signification est donnée ci-après :
| CODE | SIGNIFICATION ET REMDE |
| 01 | Votre correspondant ne répond pas : rappelez ultérieurement. |
| 02 | Vérifiez le numéro de votre correspondant. |
| 03 | Vous avez appuyé sur STOP pendant la communication. |
| 04 | Vérifiez votre numéro abrégé. |
| 05 | Bourrage du document ou panne du chargeur pendant la communication. |
| 07 | Incident dans le fonctionnement du télécopieur de votre correspondant ou de la ligne : reconnendez la communication. |
| 08 | Le document que vous avez émis a peut-être été mal reçu; vérifie auprès de votre correspondant ou réémettez-le. |
| 0A | Votre correspondant a tenté d'effectuer une RELEVE du document qui lui était destiné, mais vous avez omis de le luiMETRE en DEPOT. |
| 0B | Différence entre le nombre de pages prévu à l'EMISSION et celui des pages EMISES: vérifie le nombre de pages. |
| 13 | Mémoire saturaée : écoutez et/ou imprimer vos messages. |
| 17 | Le N° de BAL que vous avez indiqué est erroné. |
COPIER un document
Votre GALEO 4710 peut être utilisé comme copieur d'appoint. Les copies sont réalisables à partir d'un document non relié.
1. Installez du papier d'impression (voir le chapitre : INSTALLER LE PAPIER D'IMPRESSION). 2. Insérez le document à photocopier dans le chargeur de document, comme pour émettre une télécopie. 3. Appuyez sur la touche ENVOI/COPIE pour lancer la photocopie.
L'écran affiche :* COPIE LOCALE *
Vous pouvez imprimer jusqu'à 99 copies d'un même document :
1. Installez du papier d'impression et insérez le document à photocopier dans le chargeur. 2. Appuyez sur les touches Validation 5,8. Fonction 3. Appuyez sur la touche ENVOI/COPIE. 4. Entrez le nombre de copies et validez par ENVOI/COPIE.
L'écran affiche : 58>MULTICOPYSE
L'écran affiche : NOMBRE COPIES
Le document est analysé, mis en mémoire et imprimé en plusieurs exemplaires
BOITES aux lettres (BAL)
Cette fonction ne peut être utilisée qu'avec des appareils compatibles avec le vôtre. Vous pouvez :
- émettre un document dans la "boîte aux lettres" de votre correspondant,
- relever un document déposé par votre correspondant dans sa "boîte aux lettres".
Creation d'une boite aux lettres
1. Appuyez sur les touches Validation 7, ① et ① et Fonction 2. Entrez au clavier un chiffre entre 1 et 5 et appuyez sur Validation. Fonction 3. Appuyez à nouveau sur et entrez un numéro de code d'accès à votre BAL.
L'écran affiche : NUMERO DE BAL
L'écran affiche : 711>CODE BAL
L'écran affiche : CODE BAL
Le code BAL (4 chiffres) vous permet d'interroger à distance et/ou de verrouiller la boîte aux lettres.
4 Appuyez sur la touche

L'écran affiche : 712> VERROU PRESS
5. Appuyez sur la touche ∇ afin de sélectionner l'option suivante.
L'écran affiche : 713>ANNONCE BAL
6. Appuyez sur la touche

L'écran affiche : DECROCHER SVP ANNONCE
7 Décrochez-vous le combiné et enregistrez l'annonce d'accueil par exemple "Boîte aux lettres de M. DUPONT" et raccrochez.
Cette année sera automatiquement émise lors d'un accès à votre boîte aux lettres
Suppression d'une boite aux lettres
1. Appuyez sur les touches
Validation

2 Entrez le numéro de BAL que vous pouvez supprimer et appuyez sur

L'écran affiche : NUMERO DE BAL
Appuyez sur la touche ENVOI/COPIE.
L'écran affiche :
CONFIRMER VALIDER
Emission vers une boite aux lettres
1 Insérez le document à transmettre.
L'écran affiche : DOCUMENT PRET
2. Appuyez sur les touches _Function ⑦, ③.
L'écran affiche : 73>EMISSION BAL
Appuyez sur la touche Fonction
L'écran affiche : DESTINATAIRE
4 Composez le numero de Fax de votre correspondant. Vous pouvez également rechercher votre correspondant dans le repertoire (voir : émission par recherche dans le repertoire dans Transmettre une télécopie du chapitre UTILISER LE TELECOPIEUR).
Le numéro s'affiche à l'écran.
5 Appuyez sur la touche

L'écran affiche : NUMERO BAL
6 Composez le numéro de boîtes aux lettres (BAL) de votre correspondant (#nóro utilise par votre correspondant pour initialiser sa BAL).
Le nombre de BAL s'affiche à l'écran.
7 Appuyez sur la touche ENVOI/COPIE.
Relevé d'une boite aux lettres
1 Appuyez sur les touches
⑦, ④.
Validation

Fonction
L'écran affiche : 74> RELEV BAL
2. Appuyez sur la touche
Validation

Fonction
L'écran affiche : DESTINATAIRE
3. Composez le numéro de Fax de votre correspondant.
Vous pouvez également rechercherVote correspondant (voir : émission par recherche dans lerépertoire dans Transmettre une télécopie du chapitre UTILISER LETELECOPIEUR).
Le numéro s'affiche à l'écran.
4 Appuyez sur la touche
Validation

Fonction
L'écran affiche : NUMERO BAL
Composez le numéro de boîte aux lettres (BAL) dans laquelle se trouve le document à relever.
Le nombre de BAL s'affiche à l'écran.
6 Appuyez sur la touche
Validation

Fonction
L'écran affiche : CODE ACCES
Composez le code secret associé à la BAL (4 chiffres).
Si vous désirez relever immédiatement la boîte aux lettres, appuyez sur la touche ENVOI/COPIE; dans le cas contraire, poursuivez la procédure.
Appuyez sur la touche

L'écran affiche : HEURE DE DEPART
9 Composez l'heure de la relève à l'aide du clavier numérique.
L'heure choisie s'affiche à l'écran.
Appuyez sur la touche ENVOI/COPIE.
L'écran affiche : le n° du télécopieur à relever, l'heure de relève, la date et l'heure courante.
Comment acceder a votre boite aux lettres
1 Si vous attendez un message vocal, appuyez sur la touche MESSAGES VOC.
L'écran affiche : NUMERO DE BAL
Si vous attendez un message fax, appuyez sur la touche [MESSAGE FAX].
Entrez le numéro (entre 1 et 5) de votre boîte aux lettres et appuyez sur la touche ENVOI/COPIE.
Remarque : Pour écouter un message vocal ou imprimer un message fax non déposé dans une boîte aux lettres particulière, il faut désigner la BAL 0.
Interrogation a distance de votre boite aux lettres
1. Composez, depuis un téléphone ou un télécopieur distant, votre numéro d'appoint. 2. Avec la diffusion du message d'accueil, appuyez sur les touches #, 1 et le numéro de votre boîte aux lettres (entre 1 et 5). 3. Entrez les 4 chiffres du code de votre boîte aux lettres. Si vous appelez depuis un télécopieur : après la diffusion des messages vocaux, appuyez sur les touches 8 et 0 du télécopieur pour prendre connaissance de vos messages fax éventuels.
Comment votre correspondant depose-t-il sonmessage dans votreboite aux lettres
1 Il compose votre numéro d'appel téléphonique. 2 Lorsqu'il entend l'annonce émise par votre appareil, il tape successivement sur les touches # et 1 de son clavier et il tape le numéro (entre 1 et 5) de votre Boîte aux lettres. 3 Il entend le message vocal émis par GALEO 4710. 4 A la fin du message vocal, il dépose son message vocal ou son message fax (en activant son télécopieur). Puis il raccroche.
Vous entendez l'annonce de votre répondeur vocal.
Vous écoutez les messages vocaux (éventuels) déposés dans notre boîte aux lettres.
Votre Galéo doit être en mode de réception TEL-FAX ou TEL-FAX-REP
Rediffusion
Si vous changez de lieu de résidence pour un temps assez long (si vous partez en vacances, par exemple), vous avez la possibilité de faire transférer automatiquement tous les messages (vocaux ou fax) reçus par votre appareil vers votre nouveau lieu de résidence.
Vous devez naturellement disposer sur ce nouveau lieu de résidence, d'un téléphone et/ou d'un télecopieur.
L'écran affiche : 1>SANS REDIFF 2>AVEC REDIFF
L'écran affiche : TEL
L'écran affiche : NOM
Remarque 1: Le nom et le numéro d'appel du destinataire final sont automatiquement enregistrés dans le réseau sous le numéro abrégé 49 (dernier numéro du réseau); il est ainsi aisé de modifier le numéro d'appel dans le réseau.
Remarque 2 : Lorsque la rediffusion est activée, le message "REDIF ACTIVE" est affiché à la place de la date et l'heure.
Entrez un nom pour désigner le destinataire final et validez avec la touche Validation Fonction
5 Sélectionnez l'option désirée à l'aide des touches ▽ ou.
REDIFF VOC/FAX : tous les messages vocaux et fax seront rediffusés vers le destinataire final. REDIFF FAX : seuls les messages fax seront rediffusés. REDIFF VOCAL : seuls les messages vocaux seront rediffusés.
6 Validez avec la touche Validation Fonction 7 Sélectionnez l'option désirée à l'aide des touches + et - et validez avec la touche Fonction
L'écran affiche : 2>REDIFF FAX 3>REDIFF VOC/FAX
L'écran affiche : 1>SANS ANNONCE 2>AVEC ANNONCE
Si vous avez besoin "AVEC ANNONCE", l'écran affiche : DECROCHER SVP ANNONCE
8 Décrochez le combiné : vous avez 5 secondes pour enregistrer une annonce. Raccrochez.
Après avoir écouté votre annonce,
9 Sélectionnez l'option désirée à l'aide des touches ∇ ou.
Appuyez sur la touche ENVOI/COPIE.
L'écran affiche : 1> SANS PROTECT 2 REDIF PROTEGEE
Remarque : La programmation de la rediffusion est signalée à l'écran par le message suivant : "REDIFF ACTIVE".
Rediffusion des messages vocaux
La rediffusion des messages vocaux ne sera active que si le code d'interrogation à distance est différent de 0000.
La rediffusion des messages vocaux est indépendante de la protection de rediffusion (AVEC ou SANS).
Le destinataire devra décrocher son téléphone et dès l'écoute de l'annonce de rediffusion, il devra entrer le code d'interrogation à distance sur l'appareil destinataire pour écouter les messages vocaux.
Rediffusion des messages fax
Si vous avez choisi "SANS PROTECT"
- Les messages fax seront automatiquement rediffusés vers le télécopieur destinataire (s'il s'agit d'un télécopieur).
Si vous avez besoin "REDIF PROTEGE"
- La rediffusion des messages fax ne sera active que si le code d'interrogation à distance est différent de 0000.
- Le destinataires devra décrocher son téléphone etès l'écoute de l'announce de rediffusion, il devra entre le code d'interrogation à distance sur l'appareil destinataires, puis taper "80" pour déclencher la procédure d'interrogation à distance fax. Lorsqu'il entendra la tonalité fax, il devra alors activer son télécopieur (appuyer sur l'équivalent de la touche ENVOI de son télécopieur) pour receivevoir les messages fax.
Economie de PAPIER a l'impression
Après réception en mémoire et afin d'économiser le papier et le ruban encreur à l'impression, vous avez la possibilité d'imprimer sur une seule page format A4, 2 pages A4 réduites de 50% dans le sens vertical.

Pour permettre en service cette fonction
1. Appuyez sur les touches Validation 5,7 2. Appuyez sur la touche Validation Fonction 3. Sélectionnez l'option souhaitée à l'aide des touches ou et appuyez sur la touche Validation pour confirmer votre choix. Fonction
L'écran affiche : 57>DOC RECUS
L'écran affiche : 1>AVEC ECO 2 SANS ECO
L'appareil imprime les documents reçus et affiche : IMPRESSION
REVEIL
La machine déclenche une alarme sonore au moment de votre choix. Vous pouvez utiliser cette alarme comme un réveil matin, un "pense bête" ou un rappel de rendez-vous.




MARCHE: activateur du réveil ARRET: désactivateur du réveil




Imprimer un ecran minitel
Lorsqu'un Minitel est relié à votre GALEO 4710, vous pouvez imprimer les affichages visualisés sur votre écran Minitel.
Raccordement du minitel
Branchez le cordon ligne téléphonique du Minitel sur la prise gigogne de votre appareil.

Impression d'ecrans minitel
Votre appareil vous permet d'imprimer 2 pages écran Minitel sur une page A4 (papier d'impression).
1 Installez du papier d'impression dans votre appareil (voir le chapitre : INSTALLER LE PAPIER D'IMPRESSION). 2 Etablissez votre communication Minitel. 3 Appuyez sur la touche MINITEL du GALEO 4710 pour imprimer. Si vous appuyez sur la touche STOP, la page est ejectée. - Si vous voulez imprimer un autre écran Minitel, visualisez le nouvel affichage sur le Minitel et appuyez sur la touche MINITEL.
L'écran du Minitel s'imprime.
Le deuxième écran Minitel s'imprime sur la même page A4.
Remarque : si vous ne commandez pas une seconde impression avant 1 minute et 30 secondes, la page en cours est éjectée. Vous pouvez imprimer votre écran Minitel en normal ou en inverse :
- Pour imprimer en mode normal, l'icone doit être absente (mode recommandé pour les textes) ; si nécessaire, appuyez sur la touche FIN PHOTO pour changer de mode.
- Pour imprimer en mode inverse, l'icone doit être affichée ; si nécessaire, appuyez sur la touche FIN PHOTO pour changer de mode. Si vous coupez directement le secteur sur votre Minitel, appuyez sur la touche STOP
En fonction du contenu de l'image Minitel imprimée, certains documents peuvent présenter des difficultés de lecture (en particulier des textes grisés sur un fond ASF). Dans ce cas, reconnaître l'impression en changeant le mode d'impression (normal ou inverse).
APPEL De serveurs telecopie
GALEO 4710 vous permet de vous connecter sur des serveurs audio-fax, comme Audiotel de France Télécom par exemple.
Connecté à un tel serveur, en utilisant le clavier numérique de votre GALEO 4710, vous pouvez recevoir une télécopie, puis revenir au mode vocal de manière interactive :
1 Sélectionner le document que vous recevrez immédiatement. Répéter l'opération (sélection et réception de document) plusieurs fois au cours de la même communication, lorsque le serveur vous offre ce choix (comme par exemple le service vocal de la Lette des services en ligne édité par France Télécom au 08 36 68 19 84).
Imprimer un document à PARTIR de votre PC (OPTION)
Votre GALEO 4710, lorsqu'il est connecté à un micro-ordinateur PC, permet d'imprimer des fichiers issus du PC.
Pour cela, vous devez vous procurer dans votre agence France Télécom le kit impression PC.
L'appareil sert alors d'imprimante d'appoint à votre micro-ordinateur.
| INCIDENTS | CAUSES | SOLUTIONS |
| L'appareil ne fonctionne pas et il n'y a pas d'affichage sur l'écran. | • Absence d'alimentation. | • Vérifiez les connexions secteur et alimentation. |
| Le central téléphonique ne reconnaît pas le nombre que vous avez appelé. | • Le cordon ligne est mal branché. • Voitre apparéil n'est pas adapté à votre central. | • Vérifiez la connexion ligne téléphonique. • Changez de type de numéro-tation (voir le § : sélection du type de numérorotation). |
| L'appareil neSONNE pas. | • L'icône clignote. | • Rétablissez la sonnerie (voir le § : sélectionner la melodie d'appl). |
| Vous n'entendez pas la tonalité. | GALEO 4710 n'est pas raccordé. | • Vérifier vos branchements poste/prises. |
| GALEO 4710 n'indique plus l'heure exacte. | Un changement d'heure est intervenu ou votre apparéil est resté hors tension. | • Remettez votre apparéil à l'heure (voir § : initialiser la date et l'heure). |
| Le répondeur enregistre un décroche pas et "çaonne"... | L'icône est peut-être absente. | • Appuyez sur la touche TEL FAX REP, l'icône s'affiche. |
| Les feuilles imprimées s'empi-lent mal ou s'enroulent. | • Le bras support n'est pas déplié. | • Dépliez le bras support (voir § : installer le papier d'impression). |
| Vous copiez un document et la page imprimée est blanche. | • Le document à copier est à l'envers dans le chargeur de document. | • Retournez les pages à copier. |
| Lorsqu'un correspondant vous envoie un Fax, après quelques sonneries l'appareil ne répond pas. | • Le mode de réception Fax n'est pas adapté. • Le nombre de sonneries sélectionné est trop grand. • Voitre apparemil n'est pas adapté à sa ligne. | • Modifiez le mode de réception Fax (voir le chapitre : RECE-VOIR UNE TELECOPIE). • Voir le § : réglage du nombre de sonneries avant décrochage. • Voir le chapitre : ADAPTER L'APPEARIL A LA LIGNE. |
| Présence d'un ou plusieurs traits noirs verticaux sur les documents copiés ou reçus chez votre correspondant | • Dispositif d'analyse encrassé. | • Ouvrez le capot avant et nettoyez le dispositif de lecture (analyse), situé en vis à vis du rouleau blanc, à l'aide d'un chiffon doux et non pelucheux imbibé d'alcool. ÀpRES le nettoyage, refermez le capot avant et faites une copie pour vous assurer de la disparition des traits. |
| Le voyant alarme s'allume et l'écran affiche : | ||
| «CAPOT IMPRIMANTE» | • Le capot arrêté est mal fermé. | • Refermez correctement le capot arrêté. |
| «BOURRAGE PAPIER» | • Une feuille est restée coincée dans le chemin papier. | • Ouvrez le capot arrêté, dégagez la feuille et refermez le capot arrêté. |
| «SURCHAUFFE IMP» | • Les documents imprimés comportent beaucoup de noir et l'imprimante chauffe. | • Attendeç quelques instantspour permettre le refroidissement de l'imprimante. |
| «CHANGER RUBAN» | • Le ruban encreur est fini. | • Voir le chapitre : INSTALLER LE RUBAN ENCREUR ET LA CARTE JAUGE |
| «JAUGE VIDE» | • Vous avez probablement omis de replacer la carte jauge en même temps que le ruban encreur. | • Voir chapitre INSTALLER LE RUBAN ENCREUR ET LA CARTE JAUGE. |
| «JAUGE ABSENTE» | • La jauge est absente ou mal installée dans son logement. | • Ouvrez le cache du logement de jauge et assurer vous de la présence et de la mise en place correcte de la jauge. |
| «RETIRER DOCUMENT» | • Il y a un problème dans le chemin document. | • Ouvrez le capot avant et vérifiez le cheminement du document. |
| «MEMOIRE PLEINE» | • La mémoire des messages fax est saturée. | • Ecoutez les messages vocaux et imprimez les fax reçus. |
| «METTRE DU PAPIER» | • Il n'y a plus de papier dans le chargeur papier d'impression. | • Voir le chapitre : INSTALLER LE PAPIER D'IMPRESSION. |
Parametres
Pour accéder aux paramètres techniques :




Les paramètres techniques sont présentés sous forme d'une liste dans laquelle l'utilisateur peut se déplacer à l'aide des touches de navigation et.
Remarque : pour imprimer la liste des paramètres techniques, appuyez successivement


Vite GALEO 4710 bénéficie d'une garantie d'un an correspondant à une utilisation annuelle n'excédant pas 5000 pages imprimées.
Pour connaître votre consommation, reportez-vous à la page précédente.
Attention
Utilisez uniquement le ruban encreur correspondant aux spécifications du constructeur. Vous pouvez vous procurer ces rubans dans notre agence France Télécom.
L'utilisation d'autres types de ruban encreur pourrait endommager l'appareil.
Les documents imprimés par votre appareil peuvent être lisibles par transparence sur le ruban encreur usage.
Au cas où des documents présenteraient un caractère confidentiel, pensez à勒 ruban encreur en service si vous devez vous séparer de votre appareil.
Service assistance france télécom
Aide aux utilisateurs de produits et services France Télécom

8 h à 20 h du lundi au samedi*
- hors jours fériés
Pour une qualité normale d'impression, nous vous conseillons d'utiliser un papier identique à celui de l'échantillon fourni avec l'ordinateur.
Pour toute information complémentaire, contacter votre agence FRANCE TELECOM.
- GALEO 4710 n'est pas connectable à un schéma d'alimentation IT.
- L'entrée secteur répond au niveau de sécurité tension excessive.
- L'entrée ligne téléphonique répond au niveau de sécurité TRT.
- La prise combinée téléphonique, la prise alimentation, la prise PC et la prise option radio (sur l'appareil) répondent au niveau de sécurité TBTS.
- Cet appareil porte le marquage CE en application des directives 73/23/CEE, 89/336/CEE, 93/68/CEE.
Marque déposée par France Télécom

Direction Clientèle Professionnelle
6, place d'Alleray 75505 Paris Cedex 15
23226036-8 A1

DOCUMENT NON CONTRACTUEL
Notice Facile