GALEO 4600 - Téléphone FRANCE TELECOM - Notice d'utilisation et mode d'emploi gratuit
Retrouvez gratuitement la notice de l'appareil GALEO 4600 FRANCE TELECOM au format PDF.
| Type d'appareil | Téléphone avec fax et répondeur |
| Fonctions principales | Téléphone, Fax, Répondeur enregistreur |
| Affichage | Écran LCD |
| Clavier | Clavier numérique avec touches fonction |
| Répondeur | Intégré, enregistreur |
| Connectivité | Filiaire |
| Alimentation | Sur ligne téléphonique |
| Dimensions | Non précisé |
| Poids | Non précisé |
| Marque | Non précisé |
| Modèle | Non précisé |
| Langues supportées | Non précisé |
| Type de fax | Fax standard |
| Capacité mémoire | Non précisé |
| Type de sonnerie | Polyphonique |
| Fonction mains libres | Non précisé |
| Garantie | Non précisé |
FOIRE AUX QUESTIONS - GALEO 4600 FRANCE TELECOM
Questions des utilisateurs sur GALEO 4600 FRANCE TELECOM
0 question sur cet appareil. Repondez a celles que vous connaissez ou posez la votre.
Poser une nouvelle question sur cet appareil
Téléchargez la notice de votre Téléphone au format PDF gratuitement ! Retrouvez votre notice GALEO 4600 - FRANCE TELECOM et reprennez votre appareil électronique en main. Sur cette page sont publiés tous les documents nécessaires à l'utilisation de votre appareil GALEO 4600 de la marque FRANCE TELECOM.
MODE D'EMPLOI GALEO 4600 FRANCE TELECOM
Téléphone - Fax - Répondeur enregistrure

Sommaire
UTILISER VOTRE GALEO 4600
PAGE 1
METTRE EN SERVICE GALEO 4600
PAGE 5
UTILISER LE TELEPHONE
PAGE 25
UTILISER LE REPONDEUR ENREGISTREUR
PAGE 39
UTILISER LE TELECOPIEUR
PAGE 65
UN PROBLEM? VERIFIER...
PAGE 109
PARAMETRES TECHNIQUES
PAGE 111
GALEO 4600


Vous venez d'acquérir le Téléphone-Fax-Répondeur GALEO 4600 et nous vous en remercions.
Intégrant les plus récentes innovations technologiques, cet appareil vous permet de disposer à la fois d’un téléphone, d’un répondeur enregistrable, d’un fax, d’un copieur d’appoint, d’une imprimante Minitel, d’une imprimante PC et d’un combiné sans fil (options).
Afin d'utiliser votre GALEO 4600 efficacement et dans les meilleures conditions, nous vous conseillons de lire très attentivement cette notice qui a été rédigée spécialement à your intention en tenant compte des suggestions et des remarques exprimées par les utilisateurs.
Votre GALEO 4600 bénéficie d'une garantie d'un an.
Pour toute information supplémentaire sur les produits et services FRANCE TELECOM, adressez-vous à l'accueil professionnel de votre Agence Commerciale (N° vert consultable sur 3614-FT).
Emettre des APPELS
- Quel que soit l'état des icônes _Tél., _Fax et _Rép. affichées ou absentes, vous pouvez utiliser GALEO 4600 pour téléphoner ou envoyer une télécopie.
Recevoir des APPELS en mode MANUEL
Pour sélectionner le mode de réception manuelle, appuyez sur la touche Auto de façon à ce que l'icône Tél. soit affichée et validez en appuyant sur la touche ENVOL/COPIE
GALEO 4600 se comporte alors comme un poste téléphonique : lorsqu'il sonne, vous décrochez pour parler à votre correspondant.
L'icône TEL. est affichée et les icônes FAX et REP. absentes.
Si vous percevez un signal télecopie (bips intermittents), appuyez sur la touche ENVOI/COPIE et raccrochez. Le document s'imprimera après quelques instants (voir chapitre RECEVOIR UNE Télécopie, Mode téléphone (Manuel)).
Recevoir des APPELS en mode automatique
En mode de réception automatique, votre appareil est capable de désigner les appels téléphoniques des appels télécopie sans intervention de votre part.
En mode reception automatique TEL. fax
Pour sélectionner ce mode, appuyez sur la touche Auto et validez par la touche ENVOI/COPIE de façon que les icônes Tél. et Fax soient allumées. En mode Tél.-Fax, le répondeur est inactif, vos appels sont aiguillés automatiquement entre le téléphone et le télécopieur.
Les icônes Tél. et Fax doivent être affichées. L'icône Rep. est éteinte.
En cas d'appel télécopie : Votre appareil reçoit la télécopie en silence (pas de sonneries).
En cas d'appel téléphonique : Votre appareil émet un message d'accueil pré-enregistré destiné à faire patienter votre correspondant : "Bonjour, vous êtes connecté à un téléphone-fax, veuillez patienter". Il sonne ensuite pendant 30 secondes pour vous laisser le temps de décrocher si vous le souhaitez. Au-delà de ces 30 secondes, l'appareil passe en mode télécopie.
Si, lorsque vous décrochez le combiné, aucun correspondant ne vous répond, appuyez alors sur ENVOI/COPIE. Il peut s'agir d'une télécopie sans identification d'appel.
En mode reception AUTOMA
TIQUE TEL. Fax Rep.
Pour selectionner ce mode, appuyez sur la touche Auto et validate par la touche ENVIOI/COPIE de façon que les icones TEL, Fax et Rep. soient allumées.
Les icônes Tél., Fax et Rép. sont affichées.
L'icône Rep. clignote s'il n'y a pas d'annonce enregistrée.
En mode _Tél. _Fax _Rép., le répondeur est actif, vos appels sont aiguillés automatiquement entre le télécopieur et le répondeur.
En cas d'appel télécopie : Votre appareil sonne et reçoit la télécopie.
En cas d'appel téléphonique : Votre appareil sonne, émet une annonce d'accueil et enregistre le message de votre correspondant.
Remarque 1: en mode _Tél. - _Fax. - _Rép., vous avez la possibilité de modifier le nombre de sonneries (de 2 à 5) précédant le décroché de l'appareil (voir p.84 le § : réglage du nombre de sonneries). Vous pouvez également supprimer cette sonnerie pour ne pas être dérangé par la réception des télécopies (Fonction "27-MELODIE").
Remarque 2: le décroché automatique n'est pas possible lorsqu. GALEO 4600 imprime.
Remarque 3 , vous pouvez commander la réception de fax à distance à partir de ce téléphone en composant # puis la touche 7. GALEO 4600 passera alors en mode réception télécopie. Ce téléphone doit être réglé en numération à fréquence musicale.
Remarque 4 et qu'il s'agit d'un appel vocal, vous pouvez arrêter la diffusion du message d'accueil pré-enregistré (mode _Tél.-Fax) ou la diffusion de l'annonce (mode _Tél.-Fax-Rep.) à partir de ce téléphone en composant la touche # puis la touche 0. Ce téléphone doit être réglé en numération à fréquence musicale.
METTRE En service GALEO 4600
INSTALLER GALEO 4600
PAGE 6
GALEO 4600 doit être placé à l'écart de toute zone de chaleur excessive (radiateur, soleil, ou endroits trop chauds et secs), et d'installation d'air conditionné. Il doit être protégé contre les vibrations, la poussière, l'humidité, les projections d'eau ou de produits, le rayonnement électromagnétique (proximité d'un téléviseur par exemple), et son accès doit être aisé (espace libre d'environ 10 cm tout autour de l'appareil).
La prise téléphonique doit se trouver à 1,50 m maximum, la prise électrique standard monophasée 220-240 V, 50-60 Hz à 2 m maximum.
En cas de coupure secteur, les fonctions téléphoniques de votre appareil sont indisponibles.
En cas d'orage important, il est recommandé de débrancher temporairement votre appareil.

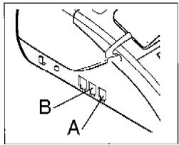
1 Tournez votre appareil de façon à voir sa face gauche.
La face gauche regroupe les connecteurs nécessaires à la mise en service de l'appareil.


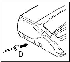
2 Branchez le cordon du combiné téléphonique au connecteur (A). 3 Branchez le cordon téléphonique au connecteur (B), d'un côté, et dans la prise téléphonique murale, de l'autre. 4 Insérez la petite fiche du bloc alimentation dans le connecteur (C) : ouvrez le capot avant et le capot arrière. La petite fiche étant branchée sur le connecteur (C), faites passer le cordon derrière le passe-fil en plastique (D). Refermez les capots arrière et avant. 5 Branchez la fiche du cordon secteur du bloc alimentation dans une prise de courant murale aisément accessible.
La pile à installer permet de sauvegarder les messages du répondeur et les fax en mémoire, la date et l'heure en cas de coupure de la tension secteur (à chaque interruption de l'alimentation secteur, la pile se décharge et, dans ce cas, doit être remplacée après une dizaine d'heures d'interruption). Vous devez pour cela disposer d'une pile alcaline de 9 volts type 6LR61.
Installer la PILE de sauvegarde


1 Ouvrez le capot avant en le faisant basculer vers l'avant jusqu'au verrouillage. 2 Ouvrez le capot arrière, en déverrouillant ses 2 loquets latéraux (A) puis en le basculant vers l'arrière. 3 Otez le cache (B) du logement de la pile : poussez le cache vers l'arrière puis soulevez sa partie avant pour l'extraire.
Important : lorsque la pile n'aura plus suffisamment d'énergie, vous en serez averti par l'affichage du message : "VERIFIER PILE". Nous vous conseillons alors de remplacer celle-ci et d'éditer le journal de réception afin de vous assurer que les derniers messages reçus ont été imprimés. Un message non imprimé compte en note "document perdu".

4. Branchez le connecteur de pile (C) sur la pile (D), insérez la pile dans son logement, puis remettez en place le cache (B).
- Si la pile n'est pas installée, l'appareil affiche "VERIFIER PILE".
Appuyez sur la touche STOP pour supprimer ce message.
- Si vous débranchez volontairement votre appareil, ôtez la pile pour éviter sa décharge.
Initialiser la DATE et l'heure
À la première mise sous tension, votre appareil vous demande de régler la date et l'heure. Après avoir renseigné ces données, la date et l'heure d'émission seront transmises automatiquement à votre destinataire lorsque vous émettrez une télécopie. La date et l'heure de réception d'un fax seront également notées dans le journal de réception.
1 Entrez la date et l'heure avec les touches du clavier numérique ; utilisez éventuellement les touches ou pour modifier une donnée. 2 Appuyez sur la touche ENVOI/COPIE.
Modifier la DATE et l'heure
La date et l'heure sont enregistrées et l'écran affiche ces paramètres.
1 Appuyez sur la touche Fonction, puis sur ②, puis sur ①. L'écran affiche : 21-DATE/HEURE >. 2 Appuyez sur la touche ENVOI/COPIE La date et l'heure courantes s'affichent. 3 Entrez la date et l'heure correctes. 4 Appuyez sur la touche ENVOI/COPIE pour valider les nouveaux paramètres.
Installler le RUBAN encreur
L'ensemble ruban encreur permet l'impression (télécopies, copies, rapports, journaux) sur du papier normal.
Remarque : utilisez uniquement le ruban encreur fourni par votre Agence FRANCE TELECOM. L'utilisation d'autres types de ruban encreur pourrait endommager l'appareil et annuler la garantie.
Les documents imprimés par votre appareil peuvent être lisibles par transparence sur le ruban encreur. Usage : au cas où des documents présenteraient un caractère confidentiel, pensez à retirer le ruban encreur si vous devez vous séparer de leur appareil.

1 Ouvrez le capot avant, en le faisant basculer vers l'avant.

2 Ouvrez le capot arrière : déverrouillez ses 2 loquets latéraux puis faites-le basculer vers l'arrière.

Présentez l'ensemble ruban encrur au-dessus de son logement, vers l'arrière de l'appareil.
Mettez-le dans son logement, sans ôter le ruban adhesif (C) : présentez l'extrémité droite du gros rouleau sur l'axe ressort (A), puis l'autre extrémité du gros rouleau sur l'axe gauche (B).
L'ensemble transfert en place, tirez et ôtez le ruban adhesif (C).

6 Amenez le petit rouleau de l'ensemble transfert dans son logement : placez l'axe (D) dans l'encoche (E) et l'axe du pignon (F) dans l'encoche (G).
7 Fermez le capot arrière et verrouillez en appuyant simultanément des 2 côtés, puis fermez le capot avant.
Installler le PAPIER d'impression
La mise en place du papier d'impression est nécessaire pour pouvoir imprimer les télécopies, les copies, les rapports de communication et les journaux. En revanche, la mise en place du papier d'impression n'est pas indispensable pour recevoir des télécopies car l'appareil enregistre automatiquement dans sa mémoire les télécopies reçues.

1 Ouvrez vers l'arrière la porte d'accès télécopie (A) en la soulevant par l'encoche (B).

2 Relevez le bras support (C) et présentez une liasse de papier normal (30 feuilles maximum) entre les guides (D).
Ajustez si nécessaire le guide gauche à la largeur du papier, en le poussant latéralement.

3 Poussez la pince (E) afin d'insérer la liasse de papier dans la réserve papier de l'appareil. 4 Relevez le bras support de document (F) qui facilitera l'empilage des feuilles de papier imprimé.
Remarque : nous vous conseillons un papier analogue à celui de l'échantillon joint au produit et satisfaisant les caractéristiques suivantes : format A4, grammage de 70 à 90 g/m², aspect lisse.
D'impression
Si vous désirez sortir le papier d'impression (feuilles A4 vierges) de votre appareil, vous ne devez pas tirer dessus directement:
Retirez, si tel est le cas, le papier imprimé (copies, fax reçus, rapports,...) resté dans l'appareil.

2 Abaissez le bras support de documents analysés (A).

3 Poussez la pince (B) et tirez la liasse de papier vierge (C) vers le haut, afin de l'enlever.

4 Abaissez le bras support papier (D) et refermez la porte d'accès télécopie (E).
Adapter l'appareil à la ligne
Votre GALEO 4600 doit être adapté au type de réseau et au mode de numérotation correspondant à votre ligne.
Selection du type de RESEAU
- Si vous êtes raccordé directement au réseau public (cas d'un particulier) vous n'avez aucune manipulation à effectuer car, à la livraison, votre appareil est positionné sur RESEAU PUBLIC.
- Si vous n'êtes pas raccordé directement au réseau public (cas d'une entreprise, la plupart du temps) vous devez désigner le mode RESEAU PRIVE.
1 Appuyez sur la touche Fonction puis sur 2, puis sur 4 2 Appuyez sur la touche ENVoi/CQPIE. 3 Si vous doivent changer le type de réseau affiché, appuyez sur la touche. 4 Appuyez sur la touche ENVOI/COPIE pour valider votre selection.
L'écran affiche : 24-RESEAU >.
Le type de réseau en cours s'affiche.
Selection du type de numerotation
Votre GALEO 4600 est programmé en usine pour fonctionner en numérotation musicale, également appelée "fréquences vocales" (FV). En appelant un correspondant, si la communication ne peut s'établir, vous devez passer en numérotation décimale (DC).
1 Appuyez sur la touche Fonction, puis sur ②, puis sur ⑤. L'écran affiche : 25-NUMEROTATION >. 2 Appuyez sur la touche ENVOLI/COPIE. Le type de numérota tion programme s'affiche. 3 Appuyez sur la touche l pour selectionner le type de numerotation desired. 4 Appuyez sur la touche ENVIOI/COPIE pour valider votre sélection.
GALEO 4600
Cette opération permet de transmettre à vos correspondants votre numéro de téléphone ainsi que votre nom. Ces informations figureront dans l'en-tête des télécopies que vous émettrez et permettront à vos correspondants de vous identifier.
Enregisterr son NUMERO de telephone
1. Appuyez sur la touche Fonction, puis 2 fois sur la touche ②.
L'écran affiche : 22-NUMERO >
2 Appuyez sur la touche ENVOI/COPIE pour valider.
Entrez votre numéro de téléphone à l'aide du clavier numérique.
- Appuyez sur la touche pour créer un espace, sur la touche pour effacer le dernier caractère, sur la touche (★) pour insérer le signe +.
Le nombre que vous rentrez s'affiche à l'écran (20 chiffres maximum).
Lorsque le numéro est correct, appuyez sur la touche ENVOI/COPIE pour le valider.
Enregistrer son nom
Vous pouvez, pour cette opération, obtenir toutes les lettres de l'alphabet en utilisant le clavier numérique. Lorsque vous appuyez plusieurs fois sur une touche, l'écran affiche successivement les caractères définis par cette touche. Dès que le caractère affiché convient, appuyez sur la touche pour enregistrer le caractère.
1 Appuyez sur la touche fonction, puis sur 2, puis sur 3. L'écran affiche : 23-NOM >. 2 Appuyez sur la touche ENVVOI/COPIE. 3 Entrez votre nom à l'aide du clavier numérique: - Appuyez successivement sur les touches pour obtenir les lettres désirées. Utilise la touche pour séparer 2 lettres consécutives définies par la même touche. 4 Lorsque votre nom est correct, appuyez sur la touche envoi/corice pour valider. ⑥ ⑥ 8
Par exemple : pour "DUPONT" appuyez successivement sur :
(20 caractères maximum).
Remarque : utilisez la touche ① pour insérer les signes ^+ et -.
Selectionner la melodie d'appel ou supprimer la sonnerie
Lorsqu'un correspondant vous appelle, votre appareil émet une mélodie. Vous pouvez désirer la mélodie et régler son niveau sonore.
1 Appuyez sur la touche F puis sur ②, puis sur ⑦.
L'écran affiche : 27-MELODIE >.
2 Appuyez sur la touche ENVOI/COPIC pour valider.
Votre appareil émet la mélopée programmée et affiche son numéro.
Sélectionnez la mélodie désirée à l'aide de la touche ▶, parmi les 5 options proposées.
L'écran affiche: MELODIE N°1, N°2, N°3 ou N°4, ou SANS SONNERIE, selon votre choix.
4 Réglez eventuellement le niveau sonore à l'aide des touches (+) et ().
Trois niveaux sonores sont possibles.
5 Lorsque la melodie et son niveau sonore vous convennent, appuyez sur la touche ENVVOI/COPIE pour valider votrechoix.
Remarque: si vous avez sélectionné la position "SANS SONNERIE", l'icône _el clignote (sauf en réception _el - _ax ).
Enregistrer et imprimer le repertoire
Le répertoire vous permet de mémoriser 40 correspondants (téléphone ou télécopie) qui peuvent être appelés de manière abrégée, par leur numéro d'enregistrement (de 00 à 39).
Enregisterer le NUMERO d'un correspondant
1 Appuyez sur la touche puis sur la touche (MEM). Entrez le numero abrégé besoin pour le correspondant que vous allez enregistrer (entre 00 et 39). 3 Appuyez sur la touche [ENVOL/COPIE] 4 Entre le nom ou le mnémonique de votre correspondant, à l'aide du clavier numérique : - Appuyez successivement sur les touches pour obtenir les lettres désirées.
L'écran affiche alternativement ENTRER MEMOIRE et 00, suivi éventuellement d'un nom déjà méorisé.
L'écran affiche : ENTRER NOM (20 caractères maximum) :
Utilise la touche pour séparer 2 lettres consécutives définies par la même touche. Utilisez la touche pour corriger, si nécessaire.
5 Appuyez sur la touche ENVOI/COPIG.
L'écran affiche : ENTRER NUMERO.
6 Entre le numéro (téléphone ou fax) de votre correspondant : Le numéro s'affiche à l'écran (30 chiffres maximum). N'oubliez pas d'insérer une pause de tonalité intermédiaire avec la touche (R) après les préfixes 16, 19, 0, etc. (Cette touche, signalée par un "/" sur l'affichage, permet de marquer une pause avant l'envoi des chiffres suivants). Utilisez la touche pour corriger, si nécessaire. 7 Valider en appuyant sur la touche ENVIO/COPIE.
Imprimer le repertoire
Le répertoire contient les numéros des correspondants que vous avez déjà enregistrés. Il comprend, pour chaque correspondant enregistré : le numéro abrégé, le nom ou le mnémonique, le numéro du correspondant.
Le répertoire peut désigner jusqu'à 40 correspondants, les numéros abré-gés allant de 00 à 39. Chaque numéro de correspondant enregistré peut être soit un numéro de téléphone, soit un numéro de télécopie.
1 Appuyez sur la touche Fonction puis sur ⑤, puis sur ③. 2 Appuyez sur la touche ENVIOI/COPIE pour valider.
L'écran affiche : 53-REPERTOIRE >.
Le répertoire s'imprime.
Pensez à installer du papier d'impression dans votre appareil avant de lancer l'impression du répertoire.
Le guide définit les accès aux fonctions programmées de votre appareil. Il s'agit d'une synthèse de toutes les fonctions programmées de votre GALEO 4600.
Il précise pour chaque fonction : le numéro associé à la fonction, l'affichage généré sur l'écran, l'opération réalisée par la fonction.
1 Installez du papier d'impression (voir p.13 le : installer le papier d'impression). 2 Appuyez sur la touche Aide ou Appuyez sur la touche Fonction puis sur 5, puis sur 1. 3 Appuyez sur la touche ENVODI/COPIE pour valider la commande.
L'écran affiche : IMPRESSION GUIDE.
L'écran affiche : GUIDE >.
Le guide s'imprime.
Imprimer les reglages
La liste des réglages est l'ensemble des réglages que vous avez programmés ou non. Ces réglages définissent le mode de fonctionnement de l'appareil à l'instant présent et peuvent être modifiés s'ils ne vous conviennent pas.
Appuyez sur la touche Function puis sur 5, puis sur 4.
L'écran affiche : 54-REGLAGES >.
2 Appuyez sur la touche ENVDI/COPIE pour valider l'impression.
Votre appareil imprime la liste des régages programmés.
Utiliser le telephone
TELEPHONER AVEC LE COMBINE
PAGE 26
TELEPHONER EN MAINS LIBRES
PAGE 29
TELEPHONER A PARTIR DU REPERTOIRE
PAGE 30
RAPPELER LES DERNIERS NUMEROS COMPOSES
PAGE 33
REPONDRE A UN APPEL
PAGE 35
TRANSFERER LA CONVERSATION
PAGE 36
1 Décolchez le combiné.
2 Composez le numéro de votre correspondant.
- Vous pouvez également utiliser le répertoire si vous avez déjà enregistré le numéro de votre correspondant (voir p. 30 le § : téléphoner à partir du répertoire).
Utiliser le haut-parleur
L'écran affiche : EN LIGNE.
L'écran affiche le nombre que vous composez, puis le chronomètre se déclenche.
En cours de communication, vous pouvez activer le haut-parleur pour permettre à votre entourage d'entendre votre correspondant.
La communication avec votre correspondant étant établie, appuyez sur la touche pour activer l'écoute amplifiée. 2 Réglez, si nécessaire, le niveau sonore du haut-parleur avec les touches (+) et (-). 3 Coupez, si nécessaire, le haut-parleur en appuyant à nouveau sur la touche

En cours de communication (avec le combiné ou en "mains libres"), vous pouvez communiquer avec votre entourage sans que le correspondant ne vous entende. Pour cela, vous devez activer le mode SECRET:
Appuyez sur la touche STOP. L'écran affiche : SECRET. Pour reprendre la conversation avec votre correspondant, appuyez à nouveau sur la touche STOP.
PASSER en "MAINS LIBRES
En cours de communication combinée décrochée, vous pouvez passer en "mains libres":
1. Appuyez et maintenez appuyée la touche
L'écran affiche : MAINS LIBRES pendant quelques instants.
2. Raccroche le combiné.
Vous pouvez poursuivre la conversation en "mains libres".
Relâchez la touche (m).
La date et l'heure s'affichent.
4 Appuyez sur la touche ( ) pour raccrocher.
DUREE De communication
Certaines professions ont besoin de mesurer leur temps de communication. Il ne s'agit donc pas ici d'un temps Télécom correspondant à des unités téléphoniques facturées par FRANCE TELECOM, mais d'un temps d'activité téléphonique personnel.
Lorsque vous passez un appel, le chronomètre se déclenche et le temps s'affiche automatiquement quelques secondes après avoir composé le numéro de votre correspondant.
Lorsque vous recevez un appel, le chronomètre se déclenche et le temps s'affiche automatiquement dès que vous prenez l'appel.
Telephoner en "MAINS LIBRES"
GALEO 4600 vous permet de converser avec vos correspondants sans décrocher le combiné : vous êtes libre de vos gestes, vous pouvez faire participer votre entourage à la conversation.
Vous appelez
1 Appuyez sur la touche jusqu'à l'obtention de la tonalité.
L'icône Ligne clignote, l'écran affiche : MAINS LIBRES.
Composez le numéro de votre correspondant.
L'écran affiche successivement le nombre puis le chronomètre.
Parler sans décrocher à la réponse de votre correspondant.
Appuyez sur les touches et - pour régler le niveau sonore.
Appuyez sur la touche ( ) pour raccrocher.
La date et l'heure s'affichent.
Vous receivez un APPEL
Appuyez sur la touche w
L'écran affiche : MAINS LIBRES suivi du chronomètre.
Telephonera PARTIR du repertoire
Pour appeler un correspondant à partir du répertoire, vous devez d'abord enregistrer son numéro dans le répertoire. Après enregistrement, vous pouvez, soit l'appeler par son numéro abrégé, soit le searcher dans le répertoire.
APPEL D'un correspondant par son NUMERO ABREGE
1 Décolchez le combiné ou appuyez sur la touche 2 Appuyez sur la touche (MEM) et composez le numéro abrégé de votre correspondant (exemple : (MEM)01).
L'écran affiche : EN LIGNE ou MAINS LIBRES.
Le numéro de téléphone du correspondant se compose automatiquement.
Vous pouvez, si vous le désirez, imprimer le réseau afin de connaître son contenu. Pour cela, installez du papier d'impression (voir p. 13 le chapitre : INSTALLER LE PAPIER D'IMPRESSION), appuyez ensuite sur la touche , puis sur (5), puis sur (3), et lancez l'impression avec la touche ENVOI/COPIE
Recherche d'un correspondant dans le repertoire par ORDRE numeroque
Si vous ne connaissiez pas le numéro abrégé attribué au correspondant que vous devez joindre (celui-ci étant enregistré dans le réseau), vous pouvez consulter le contenu du réseau en utilisant l'écran de l'appareil.
1 Appuyez sur la touche (MEM). 2 Consultez le répertoire à l'aide des touches et jusqu'à l'obtention du correspondant désiré. Pour appeler le correspondant affiché, appuyez sur la touche 4 Lorsque vous entendez votre correspondant, décrochez le combiné ou parlez en mains libres.
Le haut-parleur est activé et le numéro du correspondant se compose.
Recherche d'un correspondant dans le repertoire par ORDRE alphabetique
Si vous ne connaissiez que le nom de votre correspondant, vous pouvez rechercher son numéro abrégé en consultant le répertoire de la façon suivante :
1 Appuyez 2 fois sur la touche (MEM). 2 Consultez le répertoire à l'aide des touches et jusqu'à l'obtention du nom recherché.
Vous pouvez accéder directement au nom recherché en entrant au clavier la première lettre de son nom :
- Appuyez une ou plusieurs fois sur la touche numérique du clavier correspondante à la lettre à entrer. Les touches et permettent alors de commencer la recherche à partir de cette lettre.
Pour appeler le correspondant affiché, appuyez sur la touche (q). Lorsque vous entendez votre correspondant, décrochez le combiné ou parlez en mains libres.
Le haut-parleur est activé et le numéro du correspondant se compose.
RAPPEL Du dernier NUMERO compose
1 Décolchez le combiné ou appuyez sur la touche / 2 Appuyez sur la touche (BIS).
L'écran affiche : EN LIGNE ou MAINS LIBRES.
Le dernier numéro compose s'affiche.
Si le dernier numéro composé comporte un préfixe (16, 19 ou 0), cette opération peut ne pas fonctionner correctement sur certains centraux téléphoniques. Dans ce cas, composez de préférence le préfixe puis attendez la tonalité intermédiaire, avant d'appuyer sur la touche (BIS).
RAPPEL D'un des DIX derniers numeros composes
1 Appuyez sur la touche 2 Consultez la liste des dix derniers numéros composés à l'aide des touches et ou en appuyant de manière répétée sur la touche jusqu'à l'obtention du numéro désiré. 3 Décolchez le combiné ou appuyez sur la touche
Recordrea un APPEL
1 Notre appareil sonne.
L'écran affiche : APPEL ENTRANT.
2 Décrochez votre combiné ou appuyez sur la touche et parlez avec votre correspondant.
L'écran affiche : EN LIGNE ou MAINS LIBRES.
- Vous pouvez, à tout moment, utiliser l'écoute amplifiée (en appuyant sur la touche (m / j)) ou le mode secret (touche STOP), si vous le désirez.
Lorsque la conversation se termine, raccrochez le combiné ou appuyez sur la touche.
Transferer la conversation
En cours de communication, vous pouvez à tout moment interrompre votre conversation et la poursuivre sur un autre poste installé, par exemple, dans une autre pièce et raccordé à la même ligne téléphonique.
Prévenez votre correspondant.
Votre correspondant ne vous entendra plus, le temps pour vous de rejoindre l'autre téléphone.
2. Appuyez sur la touche
L'écran affiche : EN LIGNE.
3. Raccroche le combiné.
Votre appareil «garde» la ligne au lieu de la libérer immédiatement.
Décrochez l'autre poste téléphonique, puis poursuivez votre conversation.
Après appui sur la touche ( y), si vous ne raccrochez pas avant 4 secondes, l'appui sur la touche ( y) est sans effet.
Après avoir raccroché le premier poste, si vous mettez plus de 25 secondes pour décrocher le second poste, la communication est coupée.
Touches speciales
R, # ET *
FRANCE TELECOM met à la disposition de ses clients divers services CONFORT accessibles par abonnement. Les touches R, # et * permettent d'utiliser certains de ces services. Pour pouvoir en bénéficier, adressez-vous à votre agence France Télécom, qui vous donnera tous les renseignements utiles sur ces services (14, appel Gratisit, ou 3614- FT- sur votre Minitel).
Communication avec unserveur
Si votre appareil fonctionne en numérotation décimale (DC), vous pouvez, en cours de communication, passer en numérotation musicale (appelée aussi fréquence vocale, FV) en appuyant sur la touche (). Il vous est alors possible d'envoyer une série en fréquence vocale vers un serveur ou vers un appareil interrogable à distance (par exemple, un répondeur).
Transfert d'appel sur RESEAU PRIVE
Si votre appareil est raccordé à un réseau privé (cas d'une entreprise la plupart du temps), la touche permet généralement d'effectuer un transfert d'appel (reportez-vous, si nécessaire, à la documentation de l'autocommutateur auquel vous êtes relié).
Utiliser un telephone sans FIL (OPTION)
Votre GALEO 4600 peut être utilisé avec un téléphone sans fil.
Pour cela, vous devez vous procurer dans votre agence France Telecom le kit téléphone sans fil (option).
Utiliser le repondeur enregistreur
| UTILISER LE REPONDEUR | PAGE 40 |
| CHOISIR LE MODE DU REPONDEUR | PAGE 41 |
| ACTIVER LE REPONDEUR ENREGISTREUR | PAGE 43 |
| ENREGISTRER LES ANNONCES | PAGE 44 |
| ECOUTER LES MESSAGES | PAGE 47 |
| ENREGISTRER UN CODE D'APPEL PRIVILEGIE | PAGE 50 |
| ACTIVER LE CODE D'APPEL PRIVILEGIE | PAGE 51 |
| REPONDRE UNIQUEMENT A DES APPELS PRIVILEGIES | PAGE 52 |
| FILTRER SES COMMUNICATIONS | PAGE 53 |
| ENREGISTRER UNE CONVERSATION TELEPHONIQUE | PAGE 55 |
| DEPOT D'UNMESSAGE LOCAL (MEMO) | PAGE 56 |
| ENREGISTRER UN CODE D'INTERROGATION | PAGE 57 |
| ECOUTER LES MESSAGES A DISTANCE | PAGE 59 |
| MODIFIER L'ANNANCE D'ACCUEIL A DISTANCE | PAGE 61 |
| METTRE EN SERVICE VOTRE REPONDEUR A DISTANCE | PAGE 62 |
| REVEIL | PAGE 63 |
Utiliser le repondeur
Le répondeur enregistreur du GALEO 4600 bénéfice d'une mémoire statique d'une capacité de 23 minutes d'enregistrement. Il n'a donc pas besoin de cassette.
Effacez régulièrement les messages reçus pour ne pas saturer la mémoire de votre répondeur. Sinon, vos messages sont systématiquement sauvegardés et il ne pourrait plus enregistrer de nouveaux messages.
En cas de saturation de la mémoire du répondeur, l'appareil est dans l'état suivant :
- L'icône _Rép. clignote,
- le message "MEMOIRE PLEINE" s'affiche.
Pour utiliser le répondeur, vous devrez au préalable avoir enregistré vos messages d'accueil.

eessss
Enregistreur
Signalisation de la présence de messages vocaux enregistrés

Choisir le mode du repondeur
Vous pouvezCHOISIR VOIRE MODE répondeur:
- Enregistrer : pour enregistrer les messages vocaux de vos correspondants.
- Simple : pour donner une information à vos correspondants (vous ne pouvez pas enregistrer de messages vocaux).
Mode repondeur enregistreur
1. Appuyez sur la touche Fonction, puis 2 fois sur la touche 4.
L'écran affiche: 44-TYPE REPOND >
2 Appuyez sur la touche ENVOU/COPIE.
L'écran affiche : ENREGISTREUR ou REPONDRE SIMPLE >
3 Choisissez ENREGISTREUR (a l'aide de la touche ) et appuyez sur ENVIOI/COPIE
Si l'annonce ENREGISTREUR n'est pas enregistrée, l'appareil émet 3 bips et l'écran affiche: PAS D'ANNONCE
Mode repondeur SIMPLE
1 Appuyez sur la touche Π fonction, puis 2 fois sur la touche 4.
L'écran affiche : 44- TYPE RECORD >
2. Appuyez sur la touche ENVOI/COPIE.
L'écran affiche : ENREGISTREUR > ou REPOND SIMPLE >
Choisissez REPOND. SIMPLE (à l'aide de la touche ) et appuyez sur ENVOI/COPIE
Si l'annonce SIMPLE n'est pas enregistrée, l'appareil émet 3 bips et l'écran affiche: PAS D'ANNONCE
Mise en service
1. Appuyez sur la touche (une ou plusieurs fois) afin d'afficher l'icône Rep. 2. Appuyez sur la touche ENVOI/COPIE.
L'icône clignote s'il n'y a pas d'annonce correspondante au mode répondeur besoin précédemment.
Mise hors service
1. Appuyez sur la touche Auto. 2. Appuyez sur la touche ENVIO/COPIE.
L'icône _RBP. disparaît.
Enregisterles annonces
Le répondeur fonctionne selon 2 modes :
- répondeur enregistrueur,
- répondeur simple (pas d'enregistrement de messages). À chacun de ces modes correspond une annonce.
Enregistrement de l'annonce repondeur enregistreur
1 Vérifie que le mode ENREGISTREUR a été sélectionné (voir p.41 le chapitre : CHOISIR LE MODE DE REPONDEUR). 2 Appuyez sur la touche Fonction, puis sur la touche ANN. 3 Décrochez le combiné et parlez.
L'écran affiche alternativement : DECROCHER SVP et ANNONCE
L'écran affiche : ENREGISTREZ suivi de la durée d'enregistrement.
Exemple d'annonce : bonjour, vous êtes bien chez Monsieur et/ou Madame X, vous pouvez laisser un message après le bip sonore ou envoyer une télécopie à ce même numéro, merci.
Raccrochez, Votre annonce est diffusée automatique.
Pour ré-écouter votre annonce, appuyez sur la touche [ANN]. Pour modifier votre annonce, recommencez depuis 2
Enregistrement de l'annonce repondeur SIMPLE
1 Vérifiez que le mode SIMPLE a été sélectionné (voir p.41 le chapitre : CHOISIR LE MODE DE REPONDEUR). 2 Appuyez sur la touche Fonction, puis sur la touche ANN.
L'écran affiche alternativement :
DECROCHER SVP et ANNONCE
3 Décrochez le combiné et parlez.
L'écran affiche : ENREGISTREZ suivi de la durée d'enregistrement.
Exemple d'annexe : Bonjour, vous êtes bien en contact avec la société Y, nos bureaux sont ouverts de 10h à 17h sans interruption.
4 Raccrochez, Votre annonce est diffusée automatiquement. Pour ré-écouter votre annonce, appuyez sur la touche [ANN]. Pour modifier votre annonce, recommencez depuis 2.
Effacement de l'annonce
- Procédez comme pour l'enregistrement d'une annonce en raccrochant sans enregistrer une nouvelle annonce.
L'annonce correspondant au mode de répondeur besoini précédemment est effacée (voir p.41 le chapitre : CHOISIR LE MODE DE REPONDEUR).
GALEO 4600 permet à vos correspondants de vous laisser des messages d'une durée maximum de 90 secondes. Passé ce délai, la communication sera interrompue.
Vous AVEZ RECU des messages
Vous avez reçu des messages lorsqu'elle t'éclaire lumineux
MESS. VOC. clignote.
Appuyez sur la touche MESS. VOC. pour les écouter.
Suspendre l'ecoute des messages
Appuyez à nouveau sur la touche
MESS. VOC. pour suspendre ou relancer l'écoute.
Lors de l'appui sur la touche [MESS. VOC], le nombre de messages reçus s'affiche, puis pour chaque message, pendant son écoute, s'affichent la date et l'heure de son arrivée.
L'écran affiche :
PAUSE.
Vous disposez de 30 secondes pour relancer l'écoute.
- REECOUTER LEMESSAGE EN COURS
Appuyez sur la touche
- REECOUTER LEMESSAGE PRECEDENT
Appuyez 2 fois sur la touche
PASSER AUMESSAGE SUIVANT
Appuyez sur la touche
- REECOUTER TOUS LES MESSAGES
Appuyez sur la touche [MESS. VOC].
EFFACER UNMESSAGE
Appuyez sur la touche [EFF] pendant l'écoute du message.
ARRETER L'ECOUTE DES MESSAGES
Appuyez sur la touche STOP
EFFACER TOUS LES MESSAGES (si tous les messages ont été écoutés)
Appuyez sur la touche [EFF.], puis sur la touche [MESS. VOC.].
SAUVEGARDER TOUS LES MESSAGES
La sauvegarde est automatique.
Saturation de la memoire de reception
Lorsqu'il y a trop de messages vocaux enregistrés, l'appareil est saturé et ne peut plus enregistrer de messages vocaux supplémentaires. Il faut alors écouter et effacer les messages vocaux et/ou imprimer les télécopies reçues pour vider la mémoire.
Tous les messages écoutés et non effacés sont sauvegardés : le voyant MESS. VOC. est allumé fixe.
L'icône ▽ Rep. clignote et l'écran affiche : MEMOIRE PLEINE.
Enregisterer un code d'appel privilegesie
Si vous ne souhaitez répondre qu'à certains appels (la nuit par exemple), GALEO 4600 ne sonnera que pour les appels des correspondants auxquels vous aurez donné le code d'appel privilégié. Les autres correspondants pourront vous laisser un message sur votre répondeur sans que vous soyez dérangé ni par la sonnerie, ni par le haut-parleur lors de l'enregistrement du message.
Vous devrez au préalable avoir enregistré et activé ce code et avoir activé le répondeur (l'icône _Rép. est allumée).
1 Appuyez successivement sur les touches , puis 4, puis 7. L'écran affiche: 47-CODE PRIVIL. > 2 Appuyez sur la touche ENVOICOPIE. L'écran affiche : CODE 0000 ou l'ancien code. 3 Composez un code à 4 chiffres différent du code d'interrogation. 4 Appuyez sur la touche ENVIO/COPIE.
Refaites les séquences 1 à 4 en composant votre nouveau code.
Mise en service
1 Appuyez sur la touche Fonction, puis sur 4, puis sur 8. L'écran affiche: 48-ACCES PRIVIL >. 2 Appuyez sur la touche ENVVOI/COPIE, la valeur actuelle du paramètre s'affiche. Appuyez eventuellement sur la touche pour CHOISER AVEC. L'écran affiche : SANS > ou AVEC >. 3 Validatez votre choix par ENVOI/COPIE.
Mise hors service
1 Voiture appareil étant au repos, refaites les séquences 1 et 2. La valeur actuelle du paramètre s'affiche. Appuyez éventuellement sur la touche pour CHOISIR SANS.
L'écran affiche : AVEC > ou SANS >.
2 Validez votrechoix par ENVOUCOPIE.
Recordre uniquement a des APPELS privileges
Vous avez au préalable avoir enregistré et activé un code d'appel privilégié, l'avoir transmis à vos correspondants et avoir activé le répondeur (l'icone _Rep. est allumée).
Recevoir un APPEL privileges
1 Voiture correspondant doit d'abord composer votre numéro de téléphone. 2 Dès le décroché de votre appareil, il doit appuyer sur la touche (*) de son clavier et composer votre code d'appel privilégié. Quand vous entendez la sonnerie d'appel privilégié, vous disposez de 30 secondes pour décrocher.
Pour que l'accès privilégie fonctionne, votre correspondant doit appeler à partir d'un téléphone configuré en mode de numérotation fréquence vocale.
Au-delà, l'annonce d'accueil sera rediffusée, invitant notre correspondant à laisser un message ou vous envoyez une télecopie.
Remarque: si votre correspondant ne compose pas votre code d'appoint privilégié, il pourrait vous laisser un message sur le répondeur sans que vous soyez dérangé ni par la sonnerie ni par le haut-parleur lors de l'enregistrement du message.
Communications
En position mode répondeur enregistrur, vous écoutez sur le haut-parleur les messages que votre répondeur est en train d'enregistrer.
Pour PARLER à votre correspondant
Décrochez le combiné ou appuyez sur la touche.
Pour interrompre la communication, raccrochez le combiné ou appuyez sur la touche haut-parleur.
Activer le filtrage
1 Vous souhaitez entendre des messages. Votre appareil étant au repos, appuyez successivement sur les touches Fonction puis 4 puis 5.
L'écran affiche : 45-FILTRAGE >
Appuyez sur la touche ENVOI/COPIE. La valeur actuelle du paramètre s'affiche. Appuyez éventuellement sur la touche pour désir AVEC. Validez votre choix par ENVOI/COPIE.
L'écran affiche : SANS > ou AVEC >.
Desactiver le filtrage
Vous ne souhaitez pas entendre les messages en cours d'enregistrement.
Votre appareil étant au repos, refaites les séquences 1 et 2
La valeur actuelle du paramètre s'affiche. Appuyez sur la touche pour désir SANS.
L'écran affiche :
SANS >
AVEC
Validez votre choix par ENVIO/COPIE.
Remarque 1: durant l'enregistrement du message, sans filtrage, l'appui sur la touche (+) permet d'entendre le message. Que vous soyez avec ou sans filtrage, les touches + et - vous permettent de régler le volume sonore.
Remarque 2: si le code d'appel privilège est activé, il n'y a plus de filtrage : il faut alors appuyer sur la touche (+) pour écouter le message en cours d'enregistrement.
Telephonique
Vous êtes en communication téléphonique au combiné téléphonique ou en mains libres; vous pouvez enregistrer sur votre répondeur tout ou partie de votre conversation.
Appuyez successivement sur la touche Fonction, puis sur la touche
Votre conversation est enregistrée.
MESSAGE VOC.
Pour arreter l'enregistrement
Appuyez sur la touche STOP
DEPOT
Un mémo est un message que vous enregistrez en local sur votre répondeur. Ce message peut être destiné à vos proches ou vos collaborateurs. Il peut être également faire office de "pense-bête".
Pour enregistrer ce message
1 Appuyez successivement sur la touche Fonction, puis sur la touche Mess. Vac.
L'écran affiche alternativement : DECROCHER SVP et ENREGMESSAGE
2 Décrochez le combiné et parlez.
L'écran affiche : ENREGISTRER et la durée d'enregistrement restante en secondes.
3 Raccrochez votre combiné pour arrêter l'enregistrement.
Enregisterun coded'interrogation
Le code d'interrogation vous permet :
- d'interroger à distance votre répondeur (consultation à distance des messages vocaux), (voir chapitre : UTILISER LE REPONDEUR ENREGISTREUR, p.59 le § : écouter les messages à distance),
- d'introger à distance votre répondeur-fax (consultation à distance des messages fax reçus en mémoire), (voir chapitre : UTILISER LE TELECOPIEUR, p.96 le § : imprimer les messages fax à distance).
À la livraison, le code d'interrogation est 0000. Pour permettre l'interrogation à distance, vous devez entrer un code d'interrogation différent de 0000.
1 Appuyez sur la touche Fonction, puis sur 4, puis sur 6. 2 Appuyez sur la touche ENVVOI/COPIE 3 Composez un code à 4 chiffres avec les touches du clavier. 4 Appuyez sur la touche ENVIO/COPIE.
Faites les séquences de 1 à 4 en entrant 0000.
Reempler le code
Réinitialiseséquences1à4
L'écran affiche : 46-CODE INTERRO >.
Les 4 chiffres s'inscrivent sur l'afficheur.
Le code est enregistré.
Vous ne pouvez plus utiliser l'interrogation à distance.
Ecouter les messages à distance
Vous avez au préalable enregistré une annonce répondeur enregistrer et le code d'interrogation. Pour interroger GALEO 4600 à distance, vous devrez utiliser le clavier d'un poste téléphonique à fréquences musicales (des bips musicaux se font entendre).
1 Composez votre numéro de téléphone. 2 Appuyez sur la touche () après l'émission de l'annonce. 3 Composez les 4 chiffres de votre code d'interrogation à distance :
Le code est incorrect, refaites les séquences 2 et 3. Le code est correct, un bip est émis, GALEO 4600 diffuse les messages.
Il vous reste 2 essais avant que GALEO 4600 ne raccroche. Vous devrez alors recommencer depuis 1.
"Succèsion de bips", pas de messages. Raccrochez ou CHOISISSEZ une autre fonction.
- Reecouter lemessage en COURS
Appuyez sur la touche ④.
Équivaut à la touche

REECOUTER LEMESSAGE PRECEDENT
Appuyez 2 fois sur la touche (4).
- REECOUTER TOUS LES MESSAGES
Appuyez sur la touche ⑤ pendant la succession de bips de fin de message.
ARRETER MOMENTANEMENT L'ECOUTE
Appuyez sur la touche (5).
- REPRENDRE L'ECOUTE DUMESSAGE ARRETE
Appuyez sur la touche (5).
PASSER AUMESSAGE SUIVANT
Appuyez sur la touche 6
EFFACER TOUS LES MESSAGES
Pendant la succession de bips de fin de messages, appuyez sur la touche ①, puis sur la touche ⑤
RELECTURE DE L'ANNONCE
Appuyez sur la touche ③ pendant la succession de bips de fin de messages.
Équivaut à la touche MES. VOC.
Vous disposez de 30 seconds pour relancer l'écoute.
Equivaut à la touche MES. S. VOC.
Équivaut à la touche

Pendant la succession de bips de fin de messages, raccrochez pour conserver vos messages.
Modifier l'annonce d'accueil à distance
1 Composez votre numéro de téléphone. 2 Appuyez sur la touche après l'émission de l'annonce. 3 Composez les 4 chiffres de votre code d'interrogation à distance. Le code est incorrect, refaites les séquences 2 et 3.
Il vous reste 2 essais avant que GALEO 4600 ne raccroche. Vous devrez alors recommencer depuis 1.
Le code est correct. Avec l'écoute des messages et pendant la succession de bips de fin de messages, appuyez sur la touche ⑧, puis ③, puis dictez votre nouvelle annonce.
Après le bip de validation, vous disposez de 8 secondes pour commencer à enregistrer votre message.
5. Appuyez sur la touche ③ pour arrêter l'enregistrement.
L'annonce est automatiquement rediffusée.
6 Si la nouvelle annonce vous convient, raccrochez, sinon, attendez la succession de bips de fin de messages et recommencez depuis 4.
Elle sera mémorisée quand vous aurez raccroché.
METTRE En service votre repondeur a distance
Votre appareil est resté en mode ou _Tél. = _Tél. - Fax. Pour activer à distance le mode répondeur (_Tél. = _Tél. - Fax - _Rép.), procédez de la façon suivante:
1 Composez votre numéro de téléphone. 2 Appuyez sur la touche après l'émission du message d'accueil préenregistré (_Tél. - _Fax) ou de l'annonce répondeur (_Tél.). 3 Composez les 4 chiffres de votre code d'interrogation à distance. Le code est correct, GALEO 4600 diffuse les messages. Pour permettre en service votre répondeur, appuyez sur la touche 7 Pour permettre hors service votre répondeur, appuyez sur la touche 9 pour passer en mode TEL. ou sur la touche 8 puis 9 pour passer en mode TEL. Fax
Laissez sonner jusqu'à ce qu'il décroche.
Si le code est incorrect, refaites les séquences 2 et 3
1 bip de validation est émis.
1 bip de validation est émis.
REVEIL
GALEO 4600 peut déclencher une alarme sonore au moment de votre choix. Vous pouvez utiliser cette alarme comme un réveil matin, un "pense-bête" ou un rappel de rendez-vous.
METTRE En service le REVEIL
1. Appuyez sur la touche Fonction, puis sur ⑦, puis sur 1.
L'écran affiche : 71 - REVEIL >.
2 Appuyez sur la touche [ENVOI/GOPIE]
L'écran affiche : ARRET ou MARCHE.
Choisissez MARCHE en utilisant la touche et validez votre choix par la touche ENVOI/COPIE.
L'écran affiche alternativement : ENTRER HEURE, l'heure courante et l'heure de réveil.
Entrez au clavier l'heure de déclenchement de votre réveil.
L'heure à l'écran.
5 Appuyez sur la touche ENVIOI/COPIE.
L'écran affiche à côté de l'heure courante un pictogramme en forme de sablier.
Pour arrêter la sonnerie de l'alarme, appuyez sur la touche STOP
Le réveil s'arrête automatiquement sur ARRET au bout de 30 secondes.
Utiliser le telecopieur
TRANSMETTRE UNE TELECOPIE
RECEVOIR UNE TELECOPIE
DEPOSER ET RELEVER UN DOCUMENT
FONCTION FILE D'ATTENTE
ENREGISTRER UN CODE D'INTERROGATION
IMPRIMER LES MESSAGES FAX À DISTANCE
IMPRIMER ET COMPRENDRE LE JOURNAL DE "BORD"
COPIER UN DOCUMENT
BOITES AUX LETTRES (BAL)
ACCES PROTEGE
IMPRIMER UN ECRAN MINITEL
IMPRIMER UN DOCUMENT A PARTIR DE VOTRE PC (OPTION)
PAGE 67
PAGE 79
PAGE 86
PAGE 89
PAGE 94
PAGE 96
PAGE 97
PAGE 99
PAGE 100
PAGE 104
PAGE 106
PAGE 108

Attention
- des trombones, des agrafes, des épingle, des collages,
- du ruban adhésif,
- du correcteur liquide,
- de l'encre non s'échê,
- des photographies.
Utiliser des documents :
au format A4 (21 x 29,7 cm), - d'une épaisseur moyenne (du type papier photocopieuse), - non transparents, - non déchirés, froissés ou gondolés.
Si votre GALEO 4600 est en réception automatique (icône FAX affichée) : lorsqu'un correspondant vous envoie un Fax, votre appareil le reçoit automatiquement. Si votre GALEO 4600 est en réception manuelle (icône FAX absente) : lors d'un appel, décrochez. Vous obtenez soit votre correspondant, soit un signal Fax (bips intermittents). Si c'est un signal Fax (le message RECEPTION est affiché), raccrochez alors votre combiné (la communication Fax est reçue automatiquement). Pour arrêter une transmission Fax en cours, appuyez 2 fois sur la touche STOP. Pour faire une copie : mettez du papier dans le chargeur de papier, insérez votre document à copier dans le chargeur document, puis appuyez sur la touche ENVOL/COPIE.



Transmettre une telecopie
Votre GALEO 4600 est doté d'un chargeur automatique permettant l'émission d'un document composé d'une liasse de 10 feuilles non reliées. Après insertion d'un document, vous pouvez, soit l'émettre immédiatement, soit effectuer une émission différée (émission à une heure).
1 Préparez votre document : 10 pages au maximum, au format A4. 2 Relevez la porte d'accès télécopie (A), puis relevez le bras support document (B).

3 Insérez le document face imprimée vers le bras support document et en tête vers le bas. 4 Ajustez, si besoin est, le guidemobile (C) à la largeur du document inséré. La dernière page de la liasse sera émise en premier.
L'écran affiche: DOCUMENT PRET.
Emission immediate
1 Insérez votre document (voir le paragraphe précédent). 2 Composez le numéro de Fax de votre correspondant.
L'écran affiche: DOCUMENT PRET.
Le numéro s'affiche à l'écran.
N'oubliez pas d'insérer, si nécessaire, une pause de tonalité intermédiaire avec la touche (R) après les préfixes 16, 19 et 0 (cette touche, signalée par un "/" sur l'affichage, permet de marquer une pause avant l'envoi des chiffres suivants).
Lorsque vous composez le numéro de votre correspondant, si vous vous trompez, vous pouvez effacer le dernier caractère à l'aide de la touche
Appuyez sur la touche ENVOI/COPIE lorsque le numéro est correct.
L'écran affiche : EMISSION et votre apparéil transmet le document.
En cas d'échec (correspondant occupé, par exemple) l'appareil réitérera l'appel après quelques minutes d'attente. Vous pouvez, si vous le désirez, écouter cette attente et tenter immédiatement un autre appel en appuyant sur la touche ENVOI/COPIE
Vous pouvez également suivre l'établissement de la communication télécopie avec le haut-parleur (ce qui vous permet de vérifier que le numéro composé correspond bien à un numéro de télécopieur) : pour cela, appuyez sur la touche (w) avant de composer le numéro de votre correspondant. Dans ce cas, si vous correspondant décroche, prévenez-le de votre intention de lui transmettre une télécopie, afin qu'il active son télécopieur et qu'il raccroche ; attendez alors la tonalité continue et appuyez sur la touche ENVOU/COPIE
Choisir le mode de resolution du telecopieur
Votre GALEO 4600 vous permet d'émettre vos télécopies selon 3 modes de résolution : le mode normal, le mode fin et le mode photo.
Le mode normal est utilisé lorsque le document à émettre est de bonne qualité et qu'il ne compte pas de petits détails.
Le mode fin doit être utilisé lorsque le document comporte des petits caractères, des dessins détaillés, etc.
Le mode photo doit être utilisé lorsque le document comporte des photographies.
Le mode de résolution sélectionné est visualisé par l'affichage ou non des icônes _Fin et _Photo : ces icônes sont absentes en mode normal.
Pour passer du mode normal (icones et absentes) au mode fin, appuyez sur la touche Résolution
L'icône s'affiche.
Il est préférable de ne pas utiliser le mode fin si ce n'est pas nécessaire car ce mode allonge la durée de communication.
Pour passer du mode fin (icône ∇ Fin) au mode normal, appuyez 2 fois sur la touche Résolution
Pour passer du mode fin au mode photo, appuyez sur la touche L'icône s'affiche.
Emission immediate a PARTIR du repertoire
Pour transmettre une télécopie, vous pouvez sélectionner votre correspondant dans le répertoire directement à partir de son numéro abrégé, si celui-ci a été enregistré au préalable.
1 Insérez le document à transmettre (voir le paragraphe correspondant). L'écran affiche : DOCUMENT PRET. 2 Appuyez sur (MEM), composez le numero abrégé, puis appuyez sur ENVOL/COPIE.
Emission par recherche dans le repertoire par ORDRE numerique
Pour transmettre une télécopie à un correspondant déjà enregistré dans le répertoire, vous pouvez consulter le répertoire avant envoi, si vous ne vous souvenez plus de son nombre abrégé.
1 Appuyez sur la touche (MEM). 2 Utilisez les touches et pour consulter le répertoire, et arrêtez-vous sur le numéro de Fax de votre correspondant. 3 Insérez votre document (voir le paragraphe correspondant). 4 Appuyez sur la touche ENVOUCCIOPE
Emission par recherche dans le repertoire par ORDRE alphabetique
Pour transmettre une télécopie à un correspondant déjà enregistré dans le répertoire, vous pouvez consulter le répertoire avant envoi, si vous ne vous souvenez que de son nom :
1 Appuyez 2 fois sur la touche (MEM). 2 Utilisez les touches et pour consulter le répertoire et arrêtez-vous sur le nom de votre correspondant.
Vous pouvez accéder directement au nom recherché en entrant au clavier la première lettre de son nom :
- Appuyez une ou plusieurs fois sur la touche numérique du clavier correspondant à la lettre à entrer. Les touches et permettent alors de commencer la recherche à partir de cette lettre. 3 Insérez votre document. 4 Appuyez sur la touche ENVOI/COPIE
Edition du rapport de la derniere communication
À la livraison, votre appareil n'est pas programmé pour imprimer automatiquement les rapports d'émission. Vous pouvez cependant, si vous le désirez, imprimer le rapport de la dernière communication effectuée.
1 Installez du papier dans votre télécopieur (voir chapitre : METTRE EN SERVICE GALEO 4600). 2 Appuyez sur Fonction, puis 2 fois sur L'écran affiche : la touche ⑤. 55-RAPPORT >. 3 Appuyez sur ENVOI/COPIE.
Vous pouvez fixer vous-même les conditions d'impression des rapports d'émission.
Après une émission différée depuis la mémoire ou une diffusion, les rapports d'émissions comportent l'image réduite de la première page (si l'option rapport d'émission a été paramétrée "AVEC", voir p.77 le § : conditions d'impression des rapports d'émission).
Emission differee
L'émission différée vous permet d'émettre automatiquement une télécopie à l'heure que vous choisissez. Cette fonction permet de bénéficier de la taxation réduite réservée à certaines tranches horaires ou de tenir compte des décalages horaires avec les pays lointains.
1. Insérez le document à transmettre (voir le paragraphe correspondant).
L'écran affiche: DOCUMENT PRET.
2. Appuyez sur la touche Fonction, puis sur ③, puis sur ①.
L'écran affiche : 31-EMISSION >.
3. Appuyez sur la touche Fonction
L'écran affiche : ENTRER NUMERO.
Composez le numéro de fax de votre correspondant ou son numéro abrégé, s'il est déjà enregistré dans le réseau.
Le numéro s'affiche à l'écran.
Vous pouvez également rechercher\ votrecorrespondant dansle répertoirepar ordre numérique ou\ alphabétique(voir les séquences1 et2p.70 et 71des : émission\ par recherche dans le répertoire\ par ordre numérique et alphabétique).
Si vous désirez émettre immédiatement votre télécopie, appuyez sur la touche ENVOI/COPIE ; dans le cas contraire, poursuivez la procédure.
Appuyez sur la touche Fonction
L'écran affiche : ENTREZ L'HEURE.
Composez l'heure d'émission désirée, à l'aide du clavier numérique.
L'heure à l'écran.
Appuyez sur la touche Fonction.
L'écran affiche alternativement : CHARGEUR ou MEMOIRE.
Faites votre choix à l'aide de la touche
- Chargeur: le document restera inséré dans la machine jusqu'à ce qu'il soit émis.
- Mémoire : le document sera immédiatement analysé et enregistré en mémoire avant d'être émis.
9 Appuyez sur la touche Fonction.
L'écran affiche : NOMBRE PAGES.
Indiquez, à l'aide du clavier numérique, le nombre de pages à transmettre.
L'écran affiche alternativement le numéro du correspondant, avec l'heure d'émission et la date/heure courante.
Appuyez sur la touche ENVOI/COPIE pour valider : le document est en attente d'émission.
Si vous désirez émettre immédiatement votre télécopie, appuyez sur la touche ENVOI/COPIE Si vous désirez annuler l'émission différée :
- si le document est sur le chargeur, retirez le document,
- si le document est en mémoire, utilisez la procédure supprimer une opération en attente (voir p. 89 le chapitre : FONCTION FILE D'ATTENTE).
Emission vers plusieurs destinataires (diffusion)
Un document peut être émis vers plusieurs destinataires en émission immédiate ou différée.
Pour émettre un document vers plusieurs destinataires, il suffit, dans la procédure d'émission après la saisie du premier destinataire, d'appuyer sur la touche pour saisir un autre destinataire.
1. Insérez le document à transmettre.
L'écran affiche: DOCUMENT PRET.
2. Appuyez sur la touche , puis sur ③, puis sur ①.
L'écran affiche : 31-EMISSION >.
3. Appuyez sur la touche Fonction
L'écran affiche: ENTRER NUMERO.
4 Composez le numéro de Fax de votre premier correspondant ou son numéro abrégé, s'il est déjà enregistré dans le réseau ou effectuez une recherche par ordre numérique ou alphabétique dans le réseau.
Le numéro s'affiche à l'écran.
5. Appuyez sur la touche pour passer au destinataire suivant.
L'écran affiche : DESTINATAIRE 2 >.
Composez le numéro de fax du deuxième destinataire, de la même manière que le premier destinataire.
Son numéro s'affiche à l'écran.
7 Renouvelez l'opération jusqu'à votre dernier destinataire (maximum 5 destinataires.) 8 Appuyez sur la touche pour passer à la rubrique suivante ou appuyez sur la touche ENVVOI/COPIE pour émettre le document.
Appeler votre correspondant pendant la communication FAX
Vous pouvez, si vous le désirez, discuter avec votre correspondant alors qu'une communication Fax (émission ou réception) est en cours.
1 En cours de transmission, appuyez sur la touche : dès que la page en cours est transmise, l'appareil de votre correspondant sonne (s'il est compatible). Si vous correspondant décroche, votre appareil sonne : décrochez votre combiné et parlez-lui.
L'écran affiche : EMISSION ou RECEPTION, et TELEPHONE.
Si c'est votre correspondant qui vous appelle, décrochez lorsque votre appareil sonne afin de lui répondre.
Conditions d'impression des rapports d'emission
Les rapports d'émission vous permettent, lorsqu'ils sont imprimés, de savoir si la communication s'est correctement déroulée ou non, et d'en avoir une trace imprimée.
Votre GALEO 4600 est programmé en usine pour ne pas imprimer automatiquement les rapports d'émission. Vous pouvez cependant modifier cette programmation si vous le désirez. Vous avez le choix entre les 4 options suivantes :
- «SANS»: les émissions ne font pas l'objet de rapport d'émission (se reporter au journal d'émission pour conserver une trace des communications).
- «AVEC»: un rapport d'émission est imprimé après une transmission correcte ou après l'abandon définitif d'un essai d'émission.
- «SYSTEMATIQUE»: chaque tentative d'émission entraîne l'impression d'un rapport d'émission.
- «SI ECHEC»: un rapport d'émission est imprimé lorsque la transmission n'a pas pu se réaliser et après l'abandon définitif de l'essay de transmission.
Pour modifier la programmation de ce paramètre :
1. Appuyez sur Fonction, puis sur ②, puis sur ⑧.
L'écran affiche : 28 - RAPPORT >.
2 Appuyez sur ENVOI/COPIE.
L'écran affiche la dernière option programmée.
3 Appuyez sur la touche ▶ jusqu'à l'affichage de l'option désirée.
4 Appuyez sur ENVOL/COPIE pour valider cette option.
Recevoir une telecopie
Votre appareil peut recevoir des télécopies de façon automatique (sans intervention de l'utilisateur), selon le mode de réception choisi :
- La réception automatique concerne 2 modes de fonctionnement, intitulés TELEPHONE-FAX et REPONDEUR. Dans ces 2 modes, votre appareil reçoit automatiquement des télécopies, sans que vous interveniez.
- La réception manuelle correspond au mode TELEPHONE.
Dans ce mode, en cas d'appel, votre appareil sonne et ne prend pas la communication automatiquement. Vous devez décrocher le combiné pour permettre l'établissement de la transmission.
Votre GALEO 4600 regroupe 3 appareils en un seul : un téléphone, un fax et un répondeur. Les différents modes de réception proposés lui permettent de s'adapter aux besoins les plus courants (pour changer de mode de réception, voir p.84 le § : sélection du mode de réception).
Votre GALEO 4600 dispose également d'une mémoire de réception capable d'enregistrer vos fax :
- même si la porte d'accès télécopie est fermée (plus de papier pour imprimer),
- en toute confidentialité.
Impression des telecopies enregistrees
La présence de télécopies reçues en mémoire mais pas encore imprimées est signalée par le clignotement du voyant MESSAGES FAX.
Ouvrez la porte d'accès télécopie et installez du papier d'impression (voir p.13 le chapitre: INSTALLER LE PAPIER D'IMPRESSION). Appuyez sur la touche [MESSAGE FAX].
Les télécopies enregistrées dans la mémoire de réception s'impriment automatiquement.
Reception immediate
Pour recevoir immédiatement une télécopie (comme un fax ordinaire), procédez ainsi :
1 Mettez en place du papier dans le chargeur d'impression.
2 Appuyez sur la touche Fonction, puis sur la touche ③, puis sur la touche ⑦.
L'écran affiche : 37-RECEPT MEM >.
Appuyez sur la touche Fonction.
L'écran affiche : AVEC >.
Appuyez sur la touche
L'écran affiche : SANS >.
5 Appuyez sur la touche ENVOU/COPIE.
Les télécopies reçues sont imprimées immédiatement et ne sont plus enregistrées en mémoire.
Mode telephone-fax (automatique avec aiguilage des APPELS )
Ce mode automatique est prévu pour une ligne recevant des appeals Fax et des appeals téléphoniques. Notre appareil trie les appeals : il reçoit les télécopies automatiquement et de façon silencieuse, et sonne lorsque l'appel est téléphonique.
Ce mode est sélectionné quand les icônes et sont affichées.
Lors d'un appel, votre appareil décroche automatiquement (sans sonner) et transmet un message d'accueil pré-enregistré ("Bonjour, vous êtes en communication avec un téléphone-fax. Veuillez patienter"), invitant votre correspondant à patienter :
- Si c'est un appel Fax, il passe en réception télécopie.
- Si c'est un appel vocal, votre appareil sonne pendant 30 secondes. Si vous ne répondez pas, après ce délai, il passe en réception télé-copie (ou en répondeur si une annonce a été enregistrée).
Ce mode de fonctionnement est prévu pour une ligne recevant peu de télécopies. Il est sélectionné quand l'icône _Réel seule est affichée.
Retirez tout document éventuellement inséré dans le chargeur de document, sinon en cas de communication Fax, c'est celui-ci qui sera émis.
1 Lorsque le téléphone sonne, décrochez le combiné.
L'appareil ne prend pas la ligne automatiquement et affiche : APPEL ENTRANT.
2. Écoutez dans votre combiné :
Si c'est un appel vocal, vous pouvez dialoguer avec votre correspondant. Si celui-ci désire vous envoyer un Fax : lorsqu'il est prêt, appuyez sur ENVOI/COPIE puis raccrochez.
L'écran affiche : RECEPTION.
Si c'est un appel Fax (bips intermittents), attendez que l'afficheur indique "RECEPTION", puis raccrochez votre combiné.
Votre appareil passe automatiquement en mode Fax et l'écran affiche: RECEPTION
Si vous n'entendez rien, l'appel est peut-être émis par un ancien modèle de télécopieur. Dans ce cas appuyez sur ENVYOI/COPIE puis raccrochez.
Votre appareil recevra la télécopie.
Selection du mode de reception
Appuyez sur la touche (une fois ou plus) pour sélectionner le mode de réception désiré :
-MODE TELEPHONE: icone Tel. affichee. - MODE TELEPHONE-FAX : icones él. et affichées. - MODE TELEPHONE-FAX-REPONDEUR: icônes Tél., Fax et Rép. affichées.
Validate voschoix en appuyant sur la touche ENVOT/COPIE.
Reglage du NOME de sonneries avant decrochage automatique en mode TEL. fax rep.
1 Appuyez sur la touche Fonction, puis sur ②, puis sur 6 L'écran affiche : 26-SONNERIES >. 2 Appuyez sur la touche ENVOICOPIE. Le nombre de sonneriesprogramme s'affiche. 3 Entrez le nouveau nombre de sonneries désiré (2 à 5). 4 Appuyez sur la touche ENVVOI/COPIE pour valider.
Remarque : si vous prenez la communication à partir d'un second téléphone connecté sur une autre prise de la même ligne téléphonique, vous pouvez commander la réception de fax à distance à partir de ce téléphone en composant # puis 7. GALEO 4600 passera alors en mode de réception télécopie. Ce téléphone doit être réglé en numérotation à fréquence musicale.
Saturation de la memoire de reception
Lorsqu'il y a trop de télécopies reçues dans la mémoire, l'appareil est saturé et ne peut plus enregistrer de message fax supplémentaire. Il faut alors imprimer les télécopies reçues pour vider la mémoire.
Effacement des telecopies enregistrees
Les pages de documents fax s'effacent automatiquement de la mémoire dès qu'elles sont imprimées. - Une impression suspendue par manque de papier sera reprise à la première page non imprimée. L'indication de présence d'un document s'efface lorsque toutes les pages ont été imprimées.
L'icône ▽ Fax clignote et l'écran affiche: MEMOIRE PLEINE.
Deposer un document
Vous préparez un document (pas plus de 5 feuilles A4) et le mettez en place dans le télécopieur comme pour le faxer normalement. Notre correspondant pourra récupérer lui-même ce document à condition qu'il soit équipé d'un télécopieur doté de la fonction relève; il paiera la communication.
Votre correspondant pourra ainsi récupérer le document qui lui est destiné quand il le voudra, par exemple pendant votre absence.
- Vérifiez que votre apparéil est en mode de réception TELEPHONE-FAX ou TELEPHONE-FAX-REPONDEUR (voir p.79 le chapitre : RECEVOIR UNE TELECOPIE).
1. Insérez le document à déposer dans le chargeur de document.
L'écran affiche: DOCUMENT PRET.
Appuyez sur Fonction, faites sur ③, faites sur ②.
L'écran affiche : 32-DEPOT >.
Appuyez sur ENVIO/COPIE pour valider.
L'écran affiche : CHARGEUR > ou MEMOIRE >.
Lorsque le télécopieur de votre correspondant procédera à la relève de votre document, celle-ci se fera automatique. Pour annuler le dépôt, appuyez sur la touche STOP ou retirez le document du chargeur.
Vous pouvez déposer le document en mémoire ou le laisser sur le chargeur de document.
4 Appuyez sur la touche pourCHOISIR et appuyez sur la touche ENVOI/COPIE pour valider votre choix. Si vous avez besoin CHARGEUR, la procédure est terminée. Si vous avez besoin MEMOIRE, l'appareil vous propose un dépôt simple ou un dépôt multiple. 5 Appuyez sur la touche pourCHOISIR et sur la touche ENVOI/COPIE pour valider.
L'écran affiche : DEPOT SIMPLE > ou DEPOT MULTIPLE >.
Le document est analysé et mis en mémoire. L'écran affiche alternativement : DOC EN DEPOT et la date et l'heure.
Le dépôt multiple permet à plusieurs destinataires de relever le même document.
Remarque : dans le cas d'un dépôt multiple, le document ne sera jamais effacé automatiquement, c'est à l'opérateur de le supprimer par la fonction 63.
Relever un document
Votre correspondant aura préparé son télécopieur en conséquence.
Pour récapituler le document qui vous est destiné :
1. Appuyez sur , puis 2. Fais sur ③
L'écran affiche : 33-RELEVÉ >.
2 Appuyez sur ENVYOI/COPIE pour valider.
L'écran affiche alternativement : ENTRER NUMERO et un curseur.
3 Composez le numéro de Fax de votre correspondant ou son numéro abrégé s'il est déjà enregistré dans le répertoire, ou effectuez une recherche par ordre numérique ou alphabétique dans le répertoire.
Appuyez sur la touche ENVOI/COPIE si vous désirez une relève immédiate, sinon :
Appuyez sur la touche Fonction.
L'écran affiche alternativement : ENTRER HEURE, L'heure courante et L'heure de relève.
Entrez l'heure de relève du fax.
L'écran affiche : l'heure courante et l'heure de relève.
- Appuyez sur la touche [ENVOL/COPIE].
L'écran affiche alternativement : le n° du télécopieur à relever, l'heure de relève, la date et l'heure courantes.
Fonction FILE d'attente
Cette fonction permet la gestion des opérations en attente d'exécution (émission différée, dépôt ou relève).
Après la programmation d'une opération à exécution différée, vous pouvez imprimer l'opération en attente afin de la consulter. Vous pouvez alors eventuellement procéder à des modifications, demander l'exécution immédiate de l'opération ou imprimer le document correspondant à l'opération en attente.
Imprimer la LISTE des operations en attente
1 Installez du papier d'impression (voir p.13 le chapitre : INSTALLER LE PAPIER D'IMPRESSION). 2 Appuyez sur la touche , puis sur 6, puis sur5 3 Appuyez sur la touche ENVOU/COPIE.
L'écran affiche : 65-IMP LISTE >.
L'opération en attente s'imprime.
Supprimer une opération en attente
1 Appuyez sur la touche , puis sur 6, puis sur 3.
L'écran affiche : 63-SUPPRESSION >.
2 Appuyez sur la touche ENVIOI/COPIE. Les différents types d'opérations en attente sont :
La première opération en attente s'affiche.
EMI: émission,
3 Choisissez l'opération à supprimer en utilisant la touche et appuyez sur ENVQI/COPIE.
L'écran affiche : CONFIRMER SUPPR.
4 Appuyez sur la touche ENVVOICOPIE.
Le document correspondant (s'il existe) est automatiquement effacé de la mémoire.
Executer immediatement une operation en attente
1 Appuyez sur la touche ▽, puis sur 6, puis sur 1.
L'écran affiche: 61-EXECUTION >.
2 Appuyez sur la touche ENVVOI/COPIE. Les différents types d'opérations en attente sont :
L'écran affiche la première opération en attente.
EMI: émission,
REL: relève.
3 Choisissez l'opération à exécuter en utilisant la touche et appuyez sur la touche ENVVOI/COPIE.
L'opération chose est exécutée.
1. Appuyez sur la touche Fonction, puis sur 6, puis sur 2.
L'écran affiche : 62-MODIFICATION >.
2 Appuyez sur la touche ENVOI/COPIE. Les différents types d'opérations en attente sont :
La première opération en attente s'affiche sur l'écran.
EMI: émission,
REL: relève.
3 Choisissez l'opération à modifier en utilisant la touche et appuyez sur la touche ENVOU/COPIE.
4 Vous pouvez alors, selon votre besoin, modifier le numéro du destinataire et l'heure d'exécution de l'opération : entrez le nouveau numéro (ou retapez l'ancien, si vous voulez seulement modifier l'heure de l'émission ou de la relève) et appuyez sur la touche Fonction.
L'écran affiche : ENTRER NUMERO
5. Entrez la nouvelle heure (ou appuyez directement sur la touche ENVOI/COPIE, si vous voulez exécuter immédiatement l'opération).
L'écran affiche : ENTRER HEURE
6 Appuyez sur la touche CNVOI/COPIC pour valider la modification.
Imprimer un document en attente.
1 Installez du papier d'impression (voir p.13 le chapitre : INSTALLER LE PAPIER D'IMPRESSION). 2 Appuyez sur la touche , puis sur 6, puis sur 4. 3 Appuyez sur la touche ENVOLUCOIE. Les différences types d'opérations auxquelles correspond un document en attente sont :
EMI: émission, - DEP: dépôt. 4 Choisissez le document à imprimer en utilisant la touche et appuyez sur la touche ENVOU/COPIE.
L'écran affiche : 64-IMP DOCUMENT.
Le premier document en attente s'affiche sur l'écran.
Le document choisi s'imprime.

Le code d'interrogation vous permet :
- d'interroger à distance votre répondeur (consultation à distance des messages vocaux), (voir chapitre : UTILISER LE REPONDEUR ENREGISTREUR, p.59 le § : écouter les messages à distance),
- d'introger à distance votre répondeur-fax (consultation à distance des messages fax reçus en mémoire), (voir chapitre : UTILISER LE TELECOPIEUR, p.96 le § : imprimer les messages fax à distance).
À la livraison, le code d'interrogation est 0000. Pour permettre l'interrogation à distance, vous devez entrer un code d'interrogation différent de 0000.
1 Appuyez sur la touche Fonction, puis sur 4, puis sur 6. L'écran affiche: 46-CODE INTERRO >. 2 Appuyez sur la touche ENVVOI/COPIE. 3 Composez un code à 4 chiffres avec les touches du clavier. 4 Appuyez sur la touche ENVIO/COPIE.
Faites les séquences de 1 à 4 en entrant 0000.
Vous ne pouvez plus utiliser l'interrogation à distance.
Réfaites les séquences 1 à 4.
Imprimer les messages FAX à distance
Si vous êtes éloigné de GALEO 4600 et que vous disposez localement d'un télécopieur, vous pouvez imprimer sur ce dernier les télécopies reçues en mémoire dans votre appareil.
Vous avez au préalable enregistré un code d'interrogation (voir § précédent).
1 Composez, depuis un télécopieur distant muni d'un téléphone, votre numéro d'appel. 2 Tapez sur la touche pendant l'annonce, puis tapez les 4 chiffres de votre code d'interrogation. Attendez la fin de la diffusion des messages vocaux. 3 Appuyez successivement sur les touches 8 et 0. - Notre appareil va alors réémettre la totalité des télécopies reçues dans la mémoire. 4 Activez le télécopieur lorsque vous entendez la tonalité télécopie.
Pour que l'appareil à distance fonctionne, vous devez l'effectuer à partir d'un télécopieur muni d'un téléphone configuré en mode de numérotation fréquences vocales.
Vous entendez une série de bips sonores.
Remarque 1: le code d'interrogation est utilisé pour accéder au répondeur vocal ou au répondeur fax. Vous pouvez donc, lors d'une même communication, écouter vos messages vocaux ou imprimer vos documents fax.
Remarque 2 : lorsque vous interrogez à distance votre répondeur fax, les télécopies réémises sont automatiquement effacées de la mémoire.
Imprimer et comprendre le journal de "BORD
Le journal de bord est en fait constitué de deux journaux mémorials de vos communications :
- un journal d'émission,
- un journal de réception.
La présentation est identique pour les deux journaux et compte 7 colonnes :
Date/Heure
- Date et heure de la transaction.
Correspondant
• Numéro complet du correspondant.
Mode
• Résolution de l'image.
Pages
- Nombre de pages transmises ou reçues.
Durée
Durée totale de la communication.
Résultat
Résultat de l'émission ou de la réception.
Note
Précise le résultat de l'émission ou de la réception ou s'il s'agit d'un message enregistré sur le répondeur.
Si votre correspondant l'a programmé sur son appareil.
Un CODE apparait : il est expliqué page suivante.
Impression des journaux
1. Appuyez sur la touche _Fonction^, puis sur ⑤, puis sur ②. 2. Appuyez sur la touche ENVOL/COPIE.
L'écran affiche : 52-JOURNAUX >.
Les journaux s'impriment.
Code d'emission ou de reception
En cas d'incident, le résultat de la transmission correspond à un code dont la signification est donnée ci-après :
| CODE | SIGNIFICATION ET REMDE |
| 01 | Votre correspondant ne répond pas : rappelez ultérieurement. |
| 02 | Vérifiez le numéro de votre correspondant. |
| 03 | Vous avez appuyé sur STOP pendant la communication. |
| 04 | Vérifiez votre numéro abrégé. |
| 05 | Bourrage du document ou panne du chargeur pendant la communication. |
| 07 | Incident dans le fonctionnement du télécopieur de votre correspondant ou de la ligne : recommencez la communication. |
| 08 | Le document que vous avez émis a peut-être été mal reçu; vérifiez auprès de votre correspondant ou ré-emetteze-le. |
| 0A | Votre correspondant a tenté d'effectuer une RELEVE du document qui lui était destiné, mais vous avez omis de le lui mettre en DEPOT. |
| 0B | Différence entre le nombre de pages prévu à l'EMISSION et celui des pages EMISES: vérifiez le nombre de pages. |
COPIER un document
Votre GALEO 4600 peut être utilisé comme copieur d'appoint. Les copies sont réalisables à partir d'un document non relié.
1. Installez du papier d'impression (voir p. 13 le chapitre : INSTALLER LE PAPIER D'IMPRESSION). 2. Insérez le document à photocopier dans le chargeur de document, comme pour émettre une télécopie. 3. Appuyez sur la touche ENVOI/COPIE pour lancer la photocopie.
L'écran affiche : * COPIE LOCALE *
BOITES aux lettres (BAL)
Cette fonction ne peut être utilisée qu’avec des télercopieurs compatibles au+. Votre. Vous pouvez:
- émettre un document dans la "boîte aux lettres" de votre correspondant,
- relever un document déposé par votre correspondant dans sa "boîte aux lettres".
Emission vers une boite aux lettres
1 Insérez le document à transmettre. 2 Appuyez sur la touche , puis sur ③, puis sur ④. 3 Appuyez sur la touche Fonction. 4 Composez le numéro de boîtes aux lettres (BAL) de votre correspondant (Numéro utilisé par votre correspondant pour initialiser sa BAL). 5 Appuyez sur la touche Fonction.
L'écran affiche: DOCUMENT PRET.
L'écran affiche : 34-BAL>.
L'écran affiche : NUMERO DE BAL.
Le numéro de BAL s'affiche à l'écran.
L'écran affiche : ENTRER NUMERO.
6 Composez le numéro de Fax de votre correspondant ou son numéro abrégé.
Vous pouvez également rechercher\ votre correspondant dans le répertoire par ordre numérique ou alphabétique (voir les séquences 1 et 2 p.70 et 71 des § : émission par\ recherche dans le répertoire par ordre numérique et alphabétique).
Le numéro s'affiche à l'écran.
7. Appuyez sur la touche Fonction. 8. Choisissez le message "EMISSION BAL" en utilisant éventuellement la touche
L'écran affiche alternativement:
EMISSION BAL. ou RELEV BAL.
Si vous désirez émettre immédiatement dans la boîte aux lettres, appuyez sur la touche ENVU/COPIE; dans le cas contraire, poursuivez la procédure.
9 Appuyez sur la touche Fonction
L'écran affiche : ENTREZ HEURE.
Composez l'heure de l'émission, à l'aide du clavier numérique.
L'heure choisie s'affiche à l'écran.
Appuyez sur la touche Fonction. 12 Faites-vous à l'aide de la touche
Chargeur : le document restera inséré dans la machine jusqu'à ce qu'il soit émis. - Mémoire : le document sera immédiatement analysé et enregistré en mémoire avant d'être émis.
L'écran affiche alternativement : CHARGEUR ou MEMOIRE.
Appuyez sur la touche Fonction. Indiquez, à l'aide du clavier numérique, le nombre de pages à transmettre. Appuyez sur la touche ENVOI/COPIE pour valider : le document est en attente d'émission.
L'écran affiche : NOMBRE PAGES.
L'écran affiche alternatively le numéro du correspondant, avec l'heure d'émission et la date/heure courante.
Relevedune boite aux lettres
1 Appuyez sur la touche Fonction, puis sur ③, puis sur ④. 2 Appuyez sur la touche . 3 Composez le numéro de boîte aux lettres (BAL) dans laquelle se trouve le document à relever. 4 Appuyez sur la touche Fonction.
L'écran affiche : 34-BAL >.
L'écran affiche : NUMERO DE BAL.
Le numéro de BAL s'affiche à l'écran.
L'écran affiche : ENTRER NUMERO.
Composez le numéro de fax de votre correspondant ou son numéro abrégé. Vous pouvez également rechercher votre correspondant dans le réseau par ordre numérique ou alphabétique (voir les séquences 1 et 2 p.70 et 71 des § : émission par recherche dans le réseau par ordre numérique et alphabétique).
Le numéro s'affiche à l'écran.
6 Appuyez sur la touche τ Function.
L'écran affiche alternativement : EMISSION BAL. ou RELEV BAL.
Choisissez le message "RELEVETBAL" en utilisant éventuellement la touche
L'écran affiche : CODE BAL.
8 Appuyez sur la touche Fonction.
9 Composez le code secret associé à la BAL.
Si vous désirez relever immédiatement la boîte aux lettres, appuyez sur la touche ENVOI COPÉ; dans le cas contraire, poursuivez la procédure.
Appuyez sur la touche Fonction
L'écran affiche: ENTREHREURE.
Composez l'heure de la relève, à l'aide du clavier numérique.
L'heure choisie s'affiche à l'écran.
Appuyez sur la touche ENVIO/COPIE.
L'écran affiche alternativement : le n° du télecopieur à relever, l'heure de relève, la date et l'heure courante.
ACCES Protege
Un code d'accès protégé de 4 chiffres (différent de 0000) vous permet :
- De vous protégger contre la réception intempestive de télécopies non désirées. Seule est autorisée la réception de télécopies provenant d'appareils ayant le même code d'accès protégé. C'est la réception protégée.
- D’empêcher un appareil distant de relever vos documents s’il n’a pas le même code d’accès protégé. C’est le dépôt protégé.
- De relever des documents protégés par un code d'accès.
1 Appuyez sur la touche _Fonction^, puis sur ③, puis sur ⑤ 2 Appuyez sur la touche Fonction. 3 Entrez un code à 4 chiffres de votrechoix. 4 Appuyez sur la touche ENVIOV/COPIE.
L'écran affiche : 35-CODE D'ACCES >.
L'écran affiche : 0000
L'écran affiche par exemple : 1234
Votre code est enregistré.
Remarque 1 : pour annuler l'accès protégé, entrez le code 0000.
Remarque 2 : pour utiliser la fonction "réception protégée", il faut après avoir rentré le code d'accès, programmer le "type d'accès" (voir p. 105 le § : type d'accès).
Type d'acces
Le type d'accès permet de définir le fonctionnement de l'appareil en réception.
Appuyez sur la touche Fonction, puis sur 3, puis sur 6
L'écran affiche : 36-TYPE D'ACCES >.
2. Appuyez sur la touche Fonction.
L'écran affiche alternativement : ACCES LIBRE > ou ACCES PROTEGE >.
3 Choisissez le type d'accès en utilisant éventuellement la touche :
- "ACCES LIBRE": L'appareil peut recevoir des télécopies provenant de tous les télécopieurs.
"ACCES PROTEGE": L'appareil ne recevra que les télécopies provenant d'appareils ayant le même code d'accès protégé.
Appuyez sur la touche ENVOI/COPIE pour valider votre choix.
Votre type d'accès est enregistré.
Imprimer un ecran minitel
Lorsqu'un Minitel est relié à votre GALEO 4600, vous pouvez imprimer les affichages visualisés sur votre écran Minitel.
Raccordement au minitel

1 Branchez la fiche du cordon Minitel dans le connecteur (D) situé sur le côté gauche de l'appareil et sur le connecteur péri-informatique de votre Minitel.
Sur votre Minitel, le connecteur péri-informatique peut être masqué par une trappe coulissante ; reportez-vous à votre documentation Minitel.
2. Branchez le cordon ligne téléphonique du Minitel sur la prise téléphonique murale. 3. Branchez le cordon ligne téléphonique de votre appareil sur la prise gigogne du cordon ligne du Minitel ou sur la prise prévue à cet effet sur le Minitel, selon le cas.
Reportez-vous à votre documentation Minitel.
Remarque: si le cordon ligne de votre Minitel ne compte pas de prise "gigogne" et si votre Minitel ne possède pas de prise à l'arrêt, vous devez vous procurer une multiprise téléphonique.
Impression d'ecrans minitel
Votre appareil vous permet d'imprimer 2 pages écran Minitel sur une page A4 (papier d'impression).
1 Installez du papier d'impression dans votre appareil (voir p.13 le chapitre : INSTALLER LE PAPIER D'IMPRESSION). 2 Votre Minitel étant sous tension et connecté à votre appareil, appuyez sur la touche MINITEL du GALEO 4600. Si vous appuyez sur la touche STOP, la page est ejectée. Si vous voulez imprimer un autre écran Minitel, visualisez le nouvel affichage sur le Minitel et appuyez sur la touche MINITEL.
L'écran du Minitel s'imprime.
Le deuxième écran Minitel s'imprime sur la même page A4.
Remarque: si vous ne commandez pas une seconde impression avant 1 minute et 30 secondes, la page en cours est ejectée. Elle est également ejectée en fin de session Minitel. Vous pouvez imprimer votre écran Minitel en normal ou en inverse :
- Pour imprimer en mode normal, l'icône ∇Fin doit être absente (mode recommandé pour les textes) ; si nécessaire, appuyez sur la touche →Hésolution pour changer de mode.
- Pour imprimer en mode inverse, l'icone ∇ fin doit être affichée; si nécessaire, appuyez sur la touche Résolution pour changer de mode.
Si vous coupez directement le secteur sur votre Minitel, appuyez sur la touche STOP
En fonction du contenu de l'image Minitel imprimée, certains documents peuvent présenter des difficultés de lecture (en particulier des textes grisés sur un fond somewhere). Dans ce cas, recommencez l'impression en changeant le mode d'impression (normal ou inverse).
Imprimer un document à PARTIR de votre PC (OPTION)
Votre GALEO 4600, lorsqu'il est connecté à un micro-ordinateur PC, permet d'imprimer des fichiers issus du PC.
Pour cela vous devez vous procurer dans votre agence France Télécom le kit impression PC.
L'appareil sert alors d'imprimante d'appoint à votre micro-ordinateur.
Verifier...
| INCIDENTS | CAUSES | SOLUTIONS |
| L'appareil ne fonctionne pas et il n'y a pas d'affichage sur l'écran. | • Absence d'alimentation. | • Vérifiez les connexions secteur et alimentation. |
| Le central téléphonique ne reconnaît pas le numéro que vous avez appelé. | • Le cordon ligne est mal branché. • Voitre apparéil n'est pas adapté à votre central. | • Vérifiez la connexion ligne téléphonique. • Changez de type de numéro-tation (voir p.16 le § : sélection du type de numérorotation). |
| L'appareil ne sonne pas. | • L'icône ∇Tél. clignote. | • Rétablissez la sonnerie (voir p.19 le § : sélectionner la mélodie d'appe). |
| Vous n'entendez pas la tonality. | GALEO 4600 n'est pas raccordé. | • Vérifier vos branchements poste/prises. |
| GALEO 4600 n'indique plus l'heure exacte. | Un changement d'heure est intervenu ou votre apparéil est resté hors tension. | • Remettez votre apparéil à l'heure (voir p.10 § : modifier la date et l'heure). |
| Le répondeur enregistreur ne décroche pas et "ça sonne"... | L'icône ∇Rep. est peut-être absente. | • Appuyez sur la touche AUTO, l'icône s'affiche. |
| Vous copiez un document et la page imprimée est blanche. | • Le document à copier est à l'envers dans le chargeur de document. | • Retournez les pages à copier. |
| Lorsqu'un correspondant vous envoie un Fax, après quelques sonneries l'appareil ne répond pas. | • Le mode de réception Fax n'est pas adapté.• Le nombre de sonneries sélectionné est trop grand.• Voitre apparemil n'est pas adaptations à sa ligne. | • Modifiez le mode de réception Fax (voir p.79 le chapitre : RECEVOIR UNE TELECOPIE).• Voir p.84 le § : réglage du nombre de sonneries avant décrochage.• Voir p.15 le chapitre : ADAP-TER L'APPAREIL A LA LIGNE. |
| Le voyant alarme s'allume et l'écran affiche : | ||
| «VERIFIER PILE» | • La pile est débranchée ou usée. | • Voir p.8 le § : installer la pile. |
| «CAPOT IMPRIMANTE» | • Le capot arrêté est mal fermé. | • Refermez correctement le capot arrêté. |
| «BOURRAGE PAPIER» | • Une feuille est restée coincée dans le chemin papier. | • Ouvrez le capot arrêté, dégaze la feuille et reférerz le capot arrêté. |
| «SURCHAUFFE IMP.» | • Les documents imprimés comportent beaucoup de noir et l'imprimante chauffe. | • Attendeez quelques instantspour permettre le refroidissement de l'imprimante. |
| «CHANGER RUBAN» | • Le ruban encreur est fini. | • Voir p.11 le chapitre : INSTALLER LE RUBAN ENCREUR. |
| «RETIRER DOCUMENT» | • Il y a un problème dans le chemin document. | • Ouvrez le capot avant et vérifiez le cheminement du document. |
| «MEMOIRE PLEINE» | • La mémmoire des messages vocaux et/ ou fax est saturée. | • Ecoutez les messages vocaux et imprimez les fax reçus. |
| «METTRE DU PAPIER» | • Il n'y a plus de papier dans le chargeur papier d'impression. | • Voir p.13 le chapitre : INSTALLER LE PAPIER D'IMPRESSION. |
Parametres
Pour accéder aux paramètres techniques :
1. Appuyez sur , puis sur 9.
L'écran affiche: 9-PARAMETRES >.
2 Appuyez sur la touche [ENVOI/COPIE] pour valider.
L'écran affiche : IMP LISTE >.
Les paramètres techniques sont représentés sous forme d'une liste dans laquelle l'utilisateur peut se déplacer à l'aide des touches de navigation et.
Parametres compteur de PAGES
Ce paramètre vous permet de vérifier votre consommation de pages imprimées. Pour cela, procédez de la manière suivante:
1. Appuyez sur la touche Fonction, puis sur 9, puis sur 8. 2. Appuyez sur la touche ENVOI/COPIE pour valider.
L'écran affiche : COMPTEUR >.
L'écran affiche le nombre de pages imprimées depuis la mise en service de l'appareil.
Si vous désirez obtenir plus d'informations sur les autres paramètres techniques, téléphonez au 36.68.93.33.
Votre GALEO 4600 bénéficie d'une garantie d'un an correspondant à une utilisation annuelle n'excédant pas 5000 pages imprimées.
Pour connaître votre consommation, reportez-vous à la page précédente.
Pour toute question, téléphonez au :
36 68 93 33
8 h à 19 h (lundi au vendredi) - 9 h à 18 h (samedi)
(3 UT par minute, soit 2,23 F. TTC)*
Pour une qualité optimale d'impression, nous vous conseillons d'utiliser un papier identique à celui de l'échantillon fourni avec l'appareil.
Pour toute information complémentaire, contactez notre agence FRANCE TELECOM.
Remarques à l'attention des techniciens :
- GALEO 4600 n'est pas connectable à un schéma d'alimentation IT.
- L'entrée secteur répond au niveau de sécurité tension excessive.
- L'entrée ligne téléphonique répond au niveau de sécurité TRT.
- La prise combinée téléphonique, la prise alimentation, la prise Minitel, la prise PC et la prise option radio (sur l'appareil) répondent au niveau de sécurité TBTS.
- Cet appareil porte le marquage CE en application des directives 73/23/CEE, 89/336/CEE, 93/68/CEE.
Notice Facile