GALEO 4230 - Téléphone FRANCE TELECOM - Notice d'utilisation et mode d'emploi gratuit
Retrouvez gratuitement la notice de l'appareil GALEO 4230 FRANCE TELECOM au format PDF.
| Type d'appareil | Téléphone avec fax et répondeur |
| Fonctions principales | Téléphone, Fax, Répondeur |
| Type de fax | Fax standard |
| Affichage | Écran LCD |
| Clavier | Clavier numérique et touches fonction |
| Répondeur intégré | Oui |
| Capacité mémoire | Non précisé |
| Connectivité | Filiaire |
| Alimentation | Secteur |
| Dimensions | Non précisé |
| Poids | Non précisé |
| Langues supportées | Français |
| Marque | Non précisé |
| Modèle | Non précisé |
| Couleur | Blanc et noir |
| Garantie | Non précisé |
FOIRE AUX QUESTIONS - GALEO 4230 FRANCE TELECOM
Questions des utilisateurs sur GALEO 4230 FRANCE TELECOM
0 question sur cet appareil. Repondez a celles que vous connaissez ou posez la votre.
Poser une nouvelle question sur cet appareil
Téléchargez la notice de votre Téléphone au format PDF gratuitement ! Retrouvez votre notice GALEO 4230 - FRANCE TELECOM et reprennez votre appareil électronique en main. Sur cette page sont publiés tous les documents nécessaires à l'utilisation de votre appareil GALEO 4230 de la marque FRANCE TELECOM.
MODE D'EMPLOI GALEO 4230 FRANCE TELECOM
Vous venez d'acquérir le téléphone-Fax-Répondeur GALEO 4230 et nous vous en remercions.
Intégrant les plus récentes innovations technologiques, cet appareil vous permet de disposer à la fois d’un téléphone, d’un répondeur enregistrure, d’un fax, d’un copieur d’appoint, et d’un combiné sans fil (option).
Afin d'utiliser votre GALEO 4230 efficacement et dans les meilleures conditions, nous vous conseillons de lire très attentivement cette notice qui a été rédigée spécialement à votre intention en tenant compte des suggestions et des remarques exprimées par les utilisateurs.
Votre GALEO 4230 bénéficie d'une garantie d'un an.
Pour toute information supplémentaire sur les produits et services FRANCETELECOM, adressez-vous à l'accueil professionnel de votre Agence Commerciale (N° vert consultable sur 3614-FT).

Emettre des APPELS
- Quel que soit le mode de réception sélectionné, vous pouvez utiliser cette GALEO 4230 pour téléphoner ou envoyer une télécopie.
Recevoir des APPELS en mode MANUEL
Pour sélectionner le mode de réception manuelle, appuyez plusieurs fois sur la touche jusqu'à ce que TFI soit affiché seul et validez en appuyant sur la touche OK.
TEL est affiché et les affichages FAX, REP absents.
Remarque : l'activation du mode de réception manuelle est signalée par l'affichage d'un T à droite de l'écran.
- Notre GALEO 4230 se comporte alors comme un téléphone classique : lorsqu'il sonne, vous devez décrocher pour parler à votre correspondant.
Si vous percevez un signal tétécopie (bips intermittents), appuyez sur la touche ou attendez que l'afficheur indique "RECEPTION" et raccrochez.
Recevoir des APPELS en mode automatique
En mode de réception automatique, votre appareil est capable de distinguer les appels téléphoniques des appels télécopie sans intervention de votre part.
En mode reception automatique tel/fax:
Pour sélectionner ce mode, appuyez plusieurs fois sur la touche
TEL/FAX est affiché. REP est absent

de façon que TEL/FAX soit
affiché et validez par la touche OK. En mode TEL/FAX, le répondeur est inactif, vos appels sont aiguillés automatiquement entre le téléphone et le télécopieur.
Remarque: l'activation du mode de réception automatique TEL/FAX est signalée par l'affichage d'un F à droite de l'écran.
En cas d'appel télécopie : Votre appareil reçoit la télécopie en silence (pas de sonneries).
En cas d'appel téléphonique : Votre appareil émet un message d'accueil pré-enregistré destiné à faire patienter votre correspondant : "Bonjour, vous êtes connecté à un telephone-fax, veuillez patienter". Il sonne ensuite pendant 30 secondes pour vous laisser le temps de décrocher. Au-delà de ces 30 secondes, l'appareil passe en mode répondeur et délivre son ANNCE préenregistrée : «Vous êtes connecté à un téléphone-fax. Vous pouvez laisser votre message ou envoyer un fax après le bip sonore».
Si, lorsque vous décrochez le combiné, aucun correspondant ne vous répond, appuyez alors sur ① pour activer le passage de votre appareil en mode réception télécopie. (Il peut s'agir d'une télécopie sans identification d'appel).
En mode reception automatique avec repondeur tel/fax/rep
Pour sélectionner ce mode, appuyez plusieurs fois sur la touche

TEL/FAX/REP est affiché.
Remarque: l'activation du mode de réception automatique avec répondeur est signalée par l'affichage d'un R à droite de l'écran.
En mode TEL/FAX/REP, le répondeur est actif, vos appels sont aiguillés automatiquement entre le télécopieur et le répondeur.
En cas d'appel télécopie : Votre appareil sonne et reçoit la télécopie.
En cas d'appel téléphonique : Votre appareil sonne, émet une annonce d'accueil et enregistre le message de votre correspondant.
Remarque 1: en mode TEL/FAX/REP, vous avez la possibilité de modifier le nombre de sonneries (de 2 à 5) précédant le décroché de l'appareil (voir le § : réglage du nombre de sonneries). Vous pouvez également supprimer cette sonnerie pour ne pas être dérangé par la réception des télécopies (MENU 231>MELODIE).
Remarque 2: si vous recevez un appel alors que votre télécopieur est en train d'imprimer, le décroché automatique n'aura pas lieu tant que l'impression ne sera pas terminée.
Remarque 3 , vous pouvez commander le passage en réception de fax à distance à partir de ce téléphone (qui doit être réglé en numérorotation à fréquence musicale), en composant # puis 7. Notre GALEO 4230 passera alors en mode réception de télécopie.
Remarque 4 et qu'il s'agit d'un appel vocal, vous pouvez arrêter la diffusion du message d'accueil pré-enregistré (mode TEL/FAX) ou la diffusion de l'annonce (mode TEL/FAX/REP) à partir de ce téléphone (qui doit être réglé en numérotation à fréquence musicale), en composant # puis 0.
METTRE en service votre GALEO 4230
INSTALLER VOTRE GALEO 4230
PAGE 6
INSTALLER LE RUBAN ENCREUR ET LA JAUGE RUBAN
PAGE 8
INSTALLER LE PAPIER D'IMPRESSION
PAGE 11
INITIALISER LA DATE ET L'HEURE
PAGE 12
ADAPTER L'APPAREIL À LA LIGNE
PAGE 13
PERSONALISER VOTRE GALEO 4230
PAGE 14
REPERTOIRE
PAGE 19
REPERTOIRE DES SERVICES FRANCE TELECOM
PAGE 25
Votre GALEO 4230 doit être placé à l'écart de toute zone de chaleur excessive (radiateur, soleil, ou endroits trop chauds et secs), et d'installation d'air conditionné. Il doit être protégé contre les vibrations, la poussière, l'humidité, les projections d'eau ou de produits, le rayonnement électromagnétique (proximité d'un téléviseur par exemple), et son accès doit être aisé (espace libre d'environ 10 cm tout autour de l'appareil).
La fiche de prise de courant de l'appareil est le seul moyen de déconnexion du réseau électrique. Vérifier que la prise de courant sur laquelle vous allez brancher votre appareil est conforme aux indications portées sur l'étiquette apposée sous l'appareil.
Votre appareil doit être branché sur une prise de courant située à proximité et aisément accessible.
La prise téléphonique doit se trouver à 1,50 m maximum, la prise électrique standard monophasée 220-240 V, 50-60 Hz à 2 m maximum.
En cas de coupure secteur, les fonctions téléphoniques de votre appareil sont indisponibles.
En cas d'orage important, il est recommandé de débrancher temporairement votre appareil.

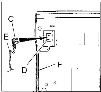
1 Tournez votre appareil de façon à voir sa face gauche.
La face gauche regroupe une partie des connecteurs nécessaires à la mise en service de l'appareil.

2 Branchez le cordon du combiné téléphonique au connecteur (A).
3 Branchez le cordon de ligne téléphonique au connecteur (B), d'un côté, et dans la prise téléphonique murale, de l'autre.

4 Retournez votre GALEO 4230. Branchez la prise (C) du cordon secteur sur le connecteur (D).

5 Insérez le cordon (E) dans le guide fil (F). Retournez votre GALEO 4230. 6 Branchez la prise de courant sur la prise secteur murale.
À la mise sous tension, votre appareil doit afficher VERIFIER LA DATE. La fiche de prise de courant est le seul moyen de déconnexion au secteur.
JAUGE RUBAN
Les consommables, ruban encreur et carte jauge ruban sont déjà installés dans votre GALEO 4230. Vous pourrez être amené à changer ces consommables lorsqu'ils seront usagés. Pour cela, reportez-vous aux instructions des paragraphs ci-dessous.
Remarque 1: la mise en place (ou le retrait) d'un ruban encreur doit avoir lieu en même temps que la mise en place (ou le retrait) de la carte jauge ruban livré avec le ruban encreur.
Remarque 2: Utilisez uniquement le ruban encreur fourni par votre Agence FRANCE TELECOM. L'utilisation d'autres types de ruban encreur pourrait endommager l'appareil et annuler la garantie.
Les documents imprimés par votre appareil peuvent être lisibles par transparence sur le ruban encreur. Usage : au cas où des documents présenteraient un caractère confidentiel, pensez à effacer le ruban encreur si vous deviez vous séparer de votre appareil.
RUBAN encreur
Le ruban encreur permet l'impression (télécopies, copies, rapports, journaux) sur du papier normal.


1 Décolchez le combiné et posez-le sur le côté. 2 Ouvrez le capot avant, en le faisant basculer vers l'avant jusqu'au verrouillage. 3 Ouvrez le capot arrière en déverrouillant ses 2 loquets latéraux (A) de couleur verte, puis en le basculant vers l'arrière.

4 Retirez le ruban encreur d'usage. 5 Présentez l'ensemble ruban encreur au-dessus de son logement, à l'arrière de l'appareil. 6 Mettez-le dans son logement, sans ôter le ruban adhesif (C) : présentez l'extrémité droite (blanche) du gros rouleau sur l'axe ressort (A), puis l'autre extrémité (verte) du gros rouleau sur l'axe gauche (B). 7 L'ensemble ruban en place, ôtez le ruban adhesif (C) en tirant sur la languette. 8 Insérez le petit rouleau dans son logement : pour cela placez l'axe (D) dans l'encoche (E) et l'axe du pignon (F) dans l'encoche (G). 9 Fermez le capot arrière en appuyant simultanément des deux côtés.
Remarque: le ruban encreur déjà installé dans le GALEO 4230 est une amorce permettant l'impression d'environ 50 pages (format 210 x 297 mm). Les consommables en vente dans les agences France Télecom ont une autonomie d'environ 230 pages.
JAUGE RUBAN
La jauge ruban permet d'afficher à l'écran, après une impression, le pourcentage de ruban encrer encore disponible.

Le capot avant étant ouvert, localisez le support (H) de la carte jauge.

2 Exercez une pression vers le bas sur le support carte jauge pour le déverrouiller, il s'ouvre alors automatiquement, vous donnant ainsi accès à la carte usagée afin de l'extraire de son support.

3 Détechez la jauge (pré-découpée) (I) de la carte jauge ruban (J).

4 Insérez la jauge (I) dans son support en veillant à son orientation, la puce doit être dirigée vers le haut et le coin coupé vers la gauche.

5 Refermez le support carte jauge en le faisant pivoter ; une fois en place, exercez une pression vers le haut pour le bloquer. Fermez le capot avant et raccrochez le combiné.
Installler le PAPIER d'impression
La mise en place du papier d'impression est nécessaire pour pouvoir imprimer les télécopies, les copies, les rapports de communication et les journaux. En revanche, la mise en place du papier d'impression n'est pas indispensable pour recevoir des télécopies car l'appareil enregistre automatiquement dans sa mémoire les télécopies reçues.



1 Ouvrez vers l'arrière la porte d'accès télécopie (A) en la soulevant par l'encoche (B). 2 Relevez le bras support (C) et présentez une liasse de papier normal (30 feuilles maximum) entre les guides (D). 3 Poussez la pince (E) afin d'insérer la liasse de papier dans la réserve papier de l'appareil. 4 Relevez le bras support de document (F) qui facilitera l'empilage des feuilles de papier imprimé.
Ajustez si nécessaire le guide gauche à la largeur du papier, en le poussant latéralement.
Remarque : nous vous conseillons un papier analogue à celui de l'échantillon joint au produit et satisfaisant les caractéristiques suivantes : format A4, grammage de 80 g/m², aspect lisse.
Initialiser la DATE et l'heure
À la première mise sous tension, votre appareil vous demande de régler la date et l'heure.
SAISIE de la DATE et de l'heure
1 Appuyez sur les touches (MENJ), ② et ①.
L'écran affiche : 21> DATE/HEURE
2 Appuyez sur la touche OK.
La date et l'heure courantes s'affichent.
3 Entrez la date et l'heure correctes à l'aide du clavier numérique (vous pouvez eventuellement utiliser les touches et pour modifier une valeur).
Appuyez sur la touche OK pour valider votre saisie.
La date et l'heure sont enregistrées.
Adapter l'appareil à la ligne
Votre GALEO 4230 doit être adapté au type de réseau et au mode de numération correspondant à votre ligne.
Selection du type de RESEAU
• Si vous êtes raccordé directement au réseau public (cas d'un particulier) vous n'avez aucune manipulation à effectuer car, à la livraison, votre appareil est positionné sur RESEAU PUBLIC. - Si vous n'êtes pas raccordé au réseau public (cas d'une entreprise, la plupart du temps) vous devez sélectionner le mode RESEAU PRIVE.
1 Appuyez sur les touches (MEN), 2, 4 et 1. L'écran affiche : 241>TYPE RESEAU 2 Appuyez sur la touche OK. Le type de réseau en cours s'affiche. 3 Si vous souhaitez changer de type de réseau, appuyez sur la touche 4 Appuyez sur la touche (1) pour valider votre sélection.
Le type de réseau sélectionné est enregistré.
GALEO 4230
Cette opération permet de transmettre à vos correspondants votre numéro de téléphone ainsi que votre nom. Ces informations figureront dans l'en-tête des télécopies que vous émettrez et permettront à vos correspondants de vous identifier.
Enregisterer son NUMERO de telephone et son nom
1 Appuyez sur la touche (MFNI), puis 2 fois sur la touche ②.
L'écran affiche : 22 >NUMERO/NOM
2. Appuyez sur la touche OK pour valider.
L'écran affiche : NUMERO
Entrez votre numéro de téléphone à l'aide du clavier alphanumérique.
Le nombre que vous entrez s'affiche à l'écran (20 chiffres maximum).
- Appuyez sur la touche pour insérer un espace ou vous déplacer vers la droite, sur la touche pour vous déplacer vers la gauche, sur la touche pour effacer le dernier caractère saisi. Effectuez un appui long sur la touche pour effacer l'ensemble
de la saisie ou sur la touche 0 pour insérer le signe + (saisie d'un numéro international par exemple).
4 Lorsque le numéro est correct, appuyez sur la touche OK pour le valider. 5 Entrez votre nom à l'aide du clavier alphanumérique : Pour saisir une lecture, appuyez plusieurs fois sur la touche alphanumérique correspondante jusqu'à l'affichage de la lecture désirée. Utilisez la touche pour séparer 2 lettres consécutives définies par la même touche. Utilisez les touches et pour vous déplacer dans le champ de saisie et la touche pour effacer le dernier caractère saisi. Effectuez un appui long sur la touche pour effacer l'ensemble de la saisie. Appuyez plusieurs fois sur la touche pour insérer les signes +, - ou un espace.
Lorsque votre nom est correct, appuyez sur la touche pour valider.
L'écran affiche : NOM
Par exemple : pour "DUPONT" appuyez successivement sur :
③⑧⑧⑦66668
SELECTIONNER LA MELodie D'APPEL
Selectionner la melodie d'appel et les BIPS touches
Lorsqu'un correspondant vous appelle, votre appareil émet une mélodie. Vous pouvez désirer la mélodie et régler son niveau sonore.
1. Appuyez sur la touche (MENU), puis sur les touches (2), (3) et (1).
L'écran affiche : 231>MELODIE
2. Appuyez sur la touche (OK) pour valider.
Votre appareil émet la mélodie programmée et affiche son numéro.
Sélectionnez la mélodie désirée à l'aide de la touche l, parmi les 5 options proposées.
L'écran affiche: MELODIE 1, 2, 3 ou 4, ou SANS, selon votrechoix.
4 Appuyez sur la touche OK pour valider.
La machine affiche : REGlage VOLUME
5 Réglez éventuellement le niveau sonore à l'aide des touches et
L'écran affiche : 232>BIPS
Lorsque la mélodie et son niveau sonore vous conviennent, appuyez sur la touche OK pour valider votre choix.
Vous pouvez avoir besoin d'associer ou non un bip sonore à chaque appui sur une touche.
8 Appuyez sur la touche OK puis choisissez en appuyant sur AVEC ou SANS et appuyez sur ① pour valider votre choix.
Mode NUIT
Cette fonction vous permet de couper la sonnerie de votre appareil pendant une période donnée (la nuit par exemple), tout en continuant de recevoir vos communications téléphoniques. L'appareil se met alors en mode de réception automatique avec répondeur (à désigner de la réception automatique sans répondeur) et décroche au bout de 5 sonneries.
Il reçoit automatiquement messages vocaux et télécopies. À la fin du mode NUIT, vous serez informé de la présence de ces messages ou télécopies par l'état des voyants (éteints, clignotants, fixes) et votre appareil se remettra dans le mode de réception courant.
Activation du mode NUIT
1 Appuyez sur la touche (PEN) puis sur les touches 2 et 5.
L'écran affiche : 25> MODE NUIT
2 Appuyez sur la touche OK.
3 Sélectionnez MARCHÉ à l'aide des touches haut et bas et validez par OK.
L'écran affiche alternativement : ENTRER HEURE DEBUT : 22:30
Entrez l'heure de début souhaitée pour le mode NUIT et validez par OK.
L'écran affiche alternativement : ENTRER HEURE FIN : 06:30
Entrez l'heure de fin souhaitée et validez par ①.
- Desactivation du mode NUIT
1. Appuyez sur la touche (MEN) puis sur les touches 2 et 5. L'écran affiche : 25>MODE NUIT 2. Appuyez sur la touche OK 3. Sélectionnez ARRET à l'aide des touches ou et validez par
Repertoire
Le répertoire vous permet de mémoriser 50 correspondants (téléphone ou télécopie) auxquels sera associé un numéro de (00 à 49) lors de leur enregistrement dans le répertoire.
Enregisterrele NUMERO d'un correspondant
1 Appuyez sur la touche (MEU) puis sur les touches ① et ①. 2 Appuyez sur la touche OK. 3 Entrez le nom ou le mnémonique de votre correspondant, à l'aide du clavier alphanumérique : - Appuyez plusieurs fois sur la touche correspondante jusqu'à obtention de la lettre désirée. Utilisez la touche pour séparer 2 lettres consécutives définies par la même touche. Utilisez les touches et pour vous déplacer dans le champ de saisie.
L'écran affiche :
11>AJOUTER
L'écran affiche :
NOM
(20 caractères maximum).
Utilisez la touche (c) pour effacer le dernier caractère. Effacez l'ensemble de la saisie en appuyant longuement sur la touche C. Appuyez plusieurs fois sur la touche ① pour insérer un espace ou pour accéder aux signes + et -.
Appuyez sur la touche OK. Entrez le numéro (téléphone ou fax) de votre correspondant : Sur certains PABX, n'oubliez pas d'insérer une pause de tonalité à l'aide de la touche R après le préfixe 0, par exemple (cette touche signalée par "/à l'affichage, permet de marquer une pause avant l'envoi en ligne des chiffres suivants). Utilisez les touches et pour vous déplacer dans le champ de saisie. Utilisez la touche (c) pour effacer le dernier caractère.
L'écran affiche : TEL
Le numéro s'affiche à l'écran (30 chiffres maximum).
Effectuez un appui long sur la touche C pour effacer l'ensemble de la saisie. Effectuez un appui long sur la touche (0) pour insérer le signe + (saisie d'un numéro international par exemple).
6 Appuyez sur la touche OK. L'écran affiche alternativement : NUMERO ATTR00 7 Entrez le numéro abrégé nécessaire pour le correspondant que vous allez enregistrer (entre 00 et 49). 8 Appuyez sur la touche
Modifier un nom ou un NUMERO du repertoire
1 Appuyez sur les touches (MENU), ① et ②. L'écran affiche : 12>MODIFIER 2 Appuyez sur la touche OK et à l'aide de la touche recherche le nom que vous désirez modifier. L'écran affiche les différents noms enregistrés dans le repertoire. 3 Une fois le nom désiré affiché, validez en appuyant sur OK. Vous pouvez alors, à l'aide des touches, vous déplacer dans le champ de saisie ou effacer des caractères à l'aide de la touche et apporter vos modifications à l'aide du clavier alphanumérique. 4 Appuyez sur OK une fois la modification effectuée. 5 Vous pouvez ensuite modifier le numéro de la même manière et valider en appuyant sur OK. 6 Vous pouvez enfin, si vous souhaitez, associer un autre numéro abrégé à votre correspondant à l'aide des touches, et du clavier numérique de votre télécopieur.
7 Validatez en appuyant sur la touche ①
Supprimer un nom du repertoire
1. Appuyez sur les touches (MENU), ① et ③.
L'écran affiche : 13 > SUPPRIMER
2 Appuyez sur la touche OK et cherchez à l'aide des touches ou le nom que vous désirez supprimer.
L'écran affiche les différents noms enregistrés dans le répertoire.
Une fois le nom désiré affiché, appuyez sur OK pour le sélectionner et à nouveau sur OK pour confirmer sa suppression.
L'écran affiche alternativement : CONFIRMER VALIDER
Imprimer le repertoire
Le répertoire contient les numéros des correspondants que vous avez déjà enregistrés. Il comprend, pour chaque correspondant enregistré : le numéro abrégé qui lui a été attribué, son nom ou mnémonique, son numéro.
Le répertoire peut contenir jusqu'à 50 correspondants, les numéros abré-gés allant de 00 à 49. Chaque numéro de correspondant enregistré peut être soit un numéro de téléphone, soit un numéro de télécopie.
1 Appuyez sur les touches (MEN), ① et ④.
L'écran affiche : 14 > IMPRIMER
2. Appuyez sur la touche OK pour valider.
Le répertoire s'imprime.
Vous avez accès directement à certains services téléphoniques France Télécom. Ces services sont mémorisés dans un répertoire accessible
directement à partir de la touche. Vous pouvez modifier ces nombres, de la même manière que des nombres de correspondants dans le répertoire mais en utilisant le menu 151. Le répertoire des services contient les nombres suivants :
| ServiceFrance Telecom | Numéroméorisé | Numérode la mémoire | Observations |
| Le 3000 | 3000 | 50 | Disponible d'ici fin 2000 |
| Top message | 3125 | 51 | |
| Le 31 31 | 31 31 | 52 | |
| Quidonc | 08 36 68 01 11 | 53 | |
| Le 3223 | 3223 | 54 | Disponible d'ici fin 2000 |
| Agence FT | 1016 | 55 | |
| Assistance FT | 08 00 33 11 22 | 56 | |
| SAV Prof. | 1015 | 57 | |
| Renseignements | 12 | 58 | |
| Rens. internat. | 3212 | 59 | Disponible d'ici fin 2000 |
Remarque : vous pouvez imprimer la liste des services du répertoire France Télécom en appuyant sur les touches (MEN), 1, 5 et 2 et en validant par OK.
Le guide définit les accès aux fonctions programmées de votre appareil. Il s'agit d'une synthèse de toutes les fonctions programmées de votre GALEO 4230.
Il précise pour chaque fonction : le numéro associé à la fonction, l'affichage généré sur l'écran, l'opération réalisée par la fonction.
1 Installez du papier dans votre télécopieur (voir le chapitre INSTALLER LE PAPIER D'IMPRESSION). 2 Appuyez sur la touche (GUIDE) ou Appuyez sur les touches (MENU), (5). L'écran affiche : 51>GUIDE et (1). 3 Appuyez sur la touche (O) pour Le guide s'imprime. valider la commande.
Imprimer les reglages
La liste des réglages répertorie l'ensemble des réglages disponibles sur votre GALEO 4230. Ces réglages définissent le mode de fonctionnement de l'appareil à l'instant présente et peuvent être modifiés selon votre convenance.
1 Appuyez sur les touches (FENU), 5 et 4.
L'écran affiche : 54>REGlAGES
Appuyez sur la touche OK pour valider l'impression.
Votre appareil imprime la liste des règles programmes.
Utiliser le telephone
TELEPHONER AVEC LE COMBINE
PAGE 30
TELEPHONER EN "MAINS LIBRES"
PAGE 33
TELEPHONER A PARTIR DU REPERTOIRE
PAGE 34
RAPPELER LES DERNIERS NUMEROS COMPOSES
PAGE 36
RECORDA UN APPEL
PAGE 38
TRANSFERER LA CONVERSATION
PAGE 39
TOUCHESPECIALE R
PAGE 40
UTILISER UN TELEPHONE SANS FIL (OPTION)
PAGE 41
Telephoner avec le combine
1 Décolchez le combiné. 2 Composez le numéro de votre correspondant. - Vous pouvez également utiliser le répertoire si vous avez déjà enregistré le numéro de votre correspondant (voir le § téléphoner à partir du répertoire, dans le présent chapitre).
L'écran affiche : EN LIGNE
L'écran affiche le nombre que vous composez, puis le chronomètre se déclenche.
Utiliser le haut-parleur
En cours de communication, vous pouvez activer le haut-parleur pour permettre à votre entourage d'entendre votre correspondant.
La communication avec votre correspondant étant établie, appuyez sur la touche pour activer l'écoute amplifiée. 2 Reglez, si nécessaire, le niveau sonore du haut-parleur avec les touches et Pour couper le haut-parleur, appuyez à nouveau sur la touche



Mode SECRET
En cours de communication (avec le combiné ou en "mains libres"), vous pouvez communiquer avec votre entourage sans que votre correspondant ne vous entende. Pour cela, vous devez activer le mode SECRET:
Appuyez sur la touche
L'écran affiche : SECRET
Pour reprendre la conversation avec votre correspondant, appuyez à nouveau sur la touche ⋅
PASSER en "MAINS LIBRES
En cours de communication combinée décrochée, vous pouvez passer en "mains libres". Pour cela :
1. Appuyez et maintenez appuyée la touche
L'écran affiche : MAINS LIBRES pendant quelques instants.
2. Raccrochez le combiné.
Vous pouvez poursuivre la conversation en "mains libres".
3 Relâchez la touche (d).
La date et l'heure s'affichent.
4 Appuyez sur la touche pour raccrocher.
DUREE De communication
Certaines professions ont besoin de mesurer leur temps de communication. Il ne s'agit donc pas ici d'un temps Télécom correspondant à des unités téléphoniques facturées par FRANCE TELECOM, mais d'un temps d'activité téléphonique personnel.
Lorsque vous passez un appel, le chronomètre se déclenche et le temps s'affiche automatiquement quelques secondes après avoir composé le numéro de votre correspondant.
Lorsque vous recevez un appel, le chronomètre se déclenche et le temps s'affiche automatiquement dès que vous prenez l'appel.
Telephoner en "MAINS LIBRES"
Votre GALEO 4230 vous permet de converser avec vos correspondants sans décrocher le combiné : vous êtes libre de vos gestes, vous pouvez faire participer votre entourage à la conversation.
Vous appelez
1 Appuyez sur la touche l jusqu'à l'obtention de la tonalité.
L'écran affiche : MAINS LIBRES
2. Composez le numéro de votre correspondant.
L'écran affiche successivement le numéro composé puis le chronomètre.
Parlez sans décrocher à la réponse de votre correspondant.
Appuyez sur les touches et pour régler le niveau sonore.
Appuyez sur la touche pour raccrocher.
La date et l'heure s'affichent.
VOUS RECEVEZ UN APPEL
1 Appuyez sur la touche
L'écran affiche : MAINS LIBRES suivi du chronomètre.
2 Appuyez sur la touche ( ) pour raccrocher.
Telephonera PARTIR du repertoire
Pour appeler un correspondant à partir du réseau, vous devez d'abord enregistrer ses coordonnées dans le réseau. Après enregistrement, vous pouvez, soit l'appeler à partir du numéro abrégé qui lui a été attribué, soit le searcher dans le réseau.
APPEL D'un correspondant par son NUMERO ABREGE
1 Appuyez 2 fois sur la touche et saisissez le numéro abrégé de votre correspondant, ou appuyez sur l'une des touches d'accès direct aux 10 premiers numéros abrégés du répertoire. 2 Décolchez le combiné ou appuyez sur la touche. 3 L'appareil compose automatiquement le numéro de téléphone de votre correspondant.
Le numéro abrégé et le nom correspondant s'affichent à l'écran.
Vous pouvez, si vous le désirez, imprimer le réseau afin de connaître son contenu. Pour cela, installez du papier d'impression (voir le chapitre : INSTALLER LE PAPIER D'IMPRESSION), appuyez ensuite sur les touches (MENU), ① et ④ et lancez l'impression en appuyant sur la touche OK.
Recherche d'un correspondant dans le repertoire par ORDRE alphabetique
Si vous ne connaissiez pas le numéro abrégé attribué au correspondant que vous pouvez joindre (celui-ci étant enregistré dans le répertoire), vous pouvez le rechercher en consultant le contenu du répertoire par ordre alphabétique.
Le premier correspondant du répertoire s'affiche.
1. Appuyez sur la touche . 2. Consultez le répertoire à l'aide des touches et jusqu'à l'obtention du correspondant désiré. Le répertoire défile dans l'ordre alphabétique. Pour appeler le correspondant affiché, appuyez sur la touche ou décrochez le combiné. 4. L'appareil compose automatiquement le numéro de votre correspondant.
RAPPEL Du dernier nu-mero compose
1 Décolchez le combiné ou appuyez sur la touche
L'écran affiche : EN LIGNE ou MAINS LIBRES
2 Appuyez sur la touche * Bis.
Le dernier numéro composé s'affiche.
L'appareil rappelle automatiquement le dernier numéro composé.
Si le dernier numéro composé comporte un préfixe (0 par exemple), cette opération peut ne pas fonctionner correctement sur certains centraux téléphoniques. Dans ce cas, composez de préférence le préfixe puis attendez la tonalité intermédiaire, avant d'appuyer sur la touche BIS
RAPPEL D'un des DIX derniers numeros composes
1 Appuyez sur la touche (*). 2 Consultez la liste des dix derniers numéros composés à l'aide des touches < et > ou en appuyant de manière répétée sur la touche jusqu'à l'obtention du numéro désiré. 3 Décolchez le combiné ou appuyez sur la touche. 4 L'appareil compose automatiquement le numéro affiché à l'écran.
Le dernier numéro composé s'affiche.
La liste des 10 derniers numéros appelés défile.
Recordrea un APPEL
1 Notre appareil sonne.
L'écran affiche : APPEL ENTRANT
2 Décrochez votre combiné ou appuyez sur la touche et parlez avec votre correspondant.
L'écran affiche : EN LIGNE ou MAINS LIBRES
- Vous pouvez, à tout moment, utiliser l'écoute amplifiée (en appuyant sur la touche) ou le mode secret (touche), si vous le désirez.
Lorsque la conversation se termine, raccrochez le combiné ou appuyez sur la touche.
Transferer la conversation
En cours de communication, vous pouvez à tout moment interrompre votre conversation et la poursuivre sur un autre poste installé, par exemple, dans une autre pièce et raccordé à la même ligne téléphonique.
Prévenez votre correspondant.
Votre correspondant ne vous entendra plus, le temps pour vous de rejoindre l'autre téléphone.
2. Appuyez sur les touches (MENU) et
L'écran affiche : EN LIGNE
3 Raccrochez le combiné.
Votre appareil «garde» la ligne au lieu de la libérer immédiatement.
4 Décrochez l'autre poste téléphonique, puis poursuivez votre conversation.
Après appui sur les touches (MENU) puis (1), si vous ne raccrochez pas avant 8 secondes, l'appui sur ces touches est sans effet.
Après avoir raccroché le premier poste, si vous mettez plus de 30 secondes pour décrocher le second poste, la communication est coupée.
Transfert d'appel sur RESEAU PRIVE
Si votre appareil est raccordé à un réseau privé (cas d'une entreprise la plupart du temps), la touche R permet généralement d'effectuer un transfert d'appel (reportez-vous, si nécessaire, à la documentation de l'autocommutateur auquel vous êtes relié).
Utiliser un telephone sans FIL (OPTION)
Votre GALEO 4230 peut être utilisé avec un téléphone sans fil.
Pour cela, vous devez vous procurer dans toute agence France Télécom le kit téléphone sans fil (option).
Vous bénéficierez ainsi d'une installation intégrant les fonctions téléphone, fax, téléphone sans fil, répondeur et copieur.
Les fonctions suivantes sont disponibles :
Enregistrer un téléphone sans fil
1 Appuyez sur les touches (MEN), 2, 7 et 1.
L'écran affiche : 271>ENREG COMBIN
2. Appuyez sur la touche OK.
L'écran affiche :
Sur le téléphone sans fil, appuyez sur la touche OK, puis sur 6.
Une fois le téléphone sans fil enregistré, l'écran affiche : 1
Effacer un téléphone sans fil
1 Appuyez sur les touches (MEN), 2, 7 et 2.
L'écran affiche : 272>EFF COMBINE
2. Appuyez sur la touche OK
L'écran affiche les numéros (1 chiffre) des combinés enregistrés.
3 Entrez au clavier numérique le chiffre correspondant au téléphone sans fil à effacer et appuyez sur la touche OK. Votre appareil émet une série de bips sonores confirmant l'effacement.
Code d'enregistrement de la base
Ce code permet de protéger votre base contre l'enregistrement de combinés sans fil qui ne vous appartiennent pas, mais qui seraient dans le même champ que votre base.
1 Appuyez sur les touches (MENU), 2, 7 et 3.
L'écran affiche : 273>CODE COMBINE
2. Appuyez sur la touche OK
L'écran affiche : ANCIEN CODE
3 Saisissez l'ancien code (0000 à la première utilisation).
L'écran affiche : NOUVEAU CODE
4. Saisissez un code à 4 chiffres.
Remarque : Éte GALEO 4230 peut gérer jusqu'à 4 combinés DECT.
UTILISER LES


FRANCE TELECOM
PAGE 44
LA PRESENTATION DU NUMERO
PAGE 45

FRANCE TELECOM met à votre disposition les services suivants, accessibles par abonnement :
La Présentation du Numéro Le Signal d'Appel Le Transfert d'Appel La Conversation à Trois
POUR BENEFICIER DE CES SERVICES : ADRESSEZ-VOUS A VOTRE AGENCE FRANCE TELECOM ( N° vert qui figure sur votre facture France Télécom ou 3614, code France Télécom).
La presentation du NUMERO
Ce service vous permet de voir affiché sur votre GALEO 4230 le numéro de la ligne à partir de laquelle votre correspondant vous appelle.
Recevoir un APPEL
Si vous n'êtes pas abonné au service Présentation du Numéro, votre télécommande vous signale la réception d'un appel. Si vous êtes abonné au service Présentation du Numéro.
L'écran affiche : APPEL ENTRANT
L'écran indique le numéro de votre correspondant ou son nom s'il est enregistré dans le répertoire, à l'exception des 2 cas suivants :
L'écran affiche : 0231030200 ou DUPONT
- Si votre correspondant ne souhaite pas vous communiquer son numéro de téléphone :
L'écran affiche:
Si le numéro de votre correspondant n'est pas connu du central téléphonique (appels provenant de certains pays étrangers, par exemple)
L'écran affiche : NUMERO NON REÇU
Votre correspondant peut être abonné au service Présentation du Numéro. Si vous ne souhaitez pas que votre numéro de téléphone lui soit communiqué, vous disposez d'une commande Secret Appel par Appel qui vous assure que votre numéro ne sera pas transmis.
Avant de numéroter ou d'appeler un numéro de votre réseau, vous pouvez demander le secret en composant le 3651 au clavier ; ce service est gratuit.
Remarque : Si vous êtes raccordé à un PABX permettant l'accès au Service Présentation du nombre, vous devez alors initialiser le paramètre préfixe pour bénéficier de la totalité des fonctions offertes par le service (voir § Raccordement derrière un PABX, dans le présent chapitre).
Consulter et rappeler vos correspondants
Si vous êtes abonné au Service Présentation du Numéro, vous pouvez consulter et rappeler les 10 derniers numéros de correspondants ayant cherché à vous joindre et auxquels vous n'avez pas répondu.
L'écran affiche le message VOIR APPELS signalant que des correspondants ont essayé de vous joindre.
- Consulter les appels
1 Appuyez sur la touche 2 Parcourez la liste à l'aide des touches et (le premier numéro ou nom affiché est celui du dernier correspondant ayant cherché à vous appeler). Rappeler un correspondant 3 Si vous désirez appeler le correspondant affiché, appuyez simplement sur ou décrochez le combiné.
L'écran affiche le numéro (ou le nom s'il est enregistré dans le répertoire) ainsi que la date et l'heure de l'appel. Exemple: 04 NOV 10-35 0231030200
Le numéro du correspondant à rappeler se compose automatiquement.
Si vous désirez effacer un numéro de la liste, faites-le apparaitre à l'écran, puis appuyez sur c.
Le numéro effacé n'apparaîtra plus dans la liste des correspondants.
Remarque : vous avez la possibilité d’effacer toute trace des numéros des correspondants qui vous ont appelé ou que vous avez appelés en appuyant successivement sur les touches C et BIS et en validant par OK.
Utiliser le repondeur
Votre appareil a reçu et enregistré des appels vocaux. Vous pouvez alors écouter les messages.
Au début de chaque message, si vous êtes abonné au Service Présentation du Numéro, l'appareil vous indique le numéro du message, la date, l'heure d'appel et le numéro (ou le nom) de votre correspondant. Si vous désirez rappeler votre correspondant:
L'écran affiche en alternance par exemple : 1 31 DEC 23-57 0130322330
Appuyez sur la touche ou décrochez votre combiné.
Le numéro de votre correspondant est rappelé automatiquement.
Raccordement derriere un PABX
Si vous êtes abonné au service Présentation du Numéro et si vous êtes raccordé à un PABX permettant l'accès à ce service, vous devez initialiser le paramètre Préfixe ; ainsi, pour accéder au réseau téléphonique, vous n'aurez plus besoin de numéroter le préfixe du PABX (préfixe 0 en général).
Appuyez sur les touches (MEN), ②, ④ et ②.
L'écran affiche : 242 > PREFIX
Appuyez sur la touche OK.
L'écran affiche : 1> SANS
Sélectionnez l'option AVEC à l'aide des touches ↑ et ↓ et validez avec la touche OK.
L'écran affiche alternativement : SAISIE Prefixe
Entrez le numéro utilisé par votre PABX pour accéder au réseau téléphonique (par exemple 0) suivi d'un / (accessible par la touche R) et validez avec la touche OK
L'écran affiche alternativement : LONGUEUR NUMERO 10
Entrez si nécessaire la longueur des numéros de téléphone à partir de laquelle l’ajout du préfixe doit être automatiquement réalisé (dans la plupart des cas, la valeur est 10) et validez avec la touche ()
Remarque : Vérifiez que les numéros de votre répertoire ne sont pas mémorisés avec le préfixe d'accès au réseau téléphonique.
Mise à l'heure automatique
Si vous êtes abonné au Service Présentation du Numéro, ce service vous permet de voir affichées une heure et une date exactes à tout moment.
En effet, lors de chaque communication, le central téléphonique procédera au recalage automatique de l'heure et de la date.
Utiliser le repondeur enregistreur
UTILISER LE REPONDEUR
CHOISIR LE MODE DU REPONDEUR
ACTIVER LE REPONDEUR ENREGISTREUR
ENREGISTER LES ANNONCES
ECOUTER LES MESSAGES
ENREGISTRER UN CODE D'ACCES PRIVILEGIE
ACTIVER LE CODE D'ACCES PRIVILIGIE
REPONDRE UNIQUEMENT A DES APPELS PRIVILEGES
Filtrer ses communications
ENREGISTRER UNE CONVERSATION TELEPHONIQUE
Le répondeur enregistreur de votre GALEO 4230 bénéficiait d'une mémoire statique d'une capacité de 10 minutes d'enregistrement. Il n'a donc pas besoin de cassette.
Effacez régulièrement les messages reçus pour ne pas saturer la mémoire de votre répondeur sinon il ne pourrait plus enregistrer de nouveaux messages (vos messages étant systématiquement sauvegardés).
En cas de saturation de la mémoire du répondeur, l'appareil affiche le message suivant : "MEMOIRE PLEINE".


Choisir le mode du repondeur
Vous pouvez choisir votre mode répondeur:
- Enregistrateur : pour enregistrer les messages vocaux de vos correspondants (votre GALEO 4230 dispose d'une annonce préenregistrée que vous pouvez supprimer en enregistrant une annonce personalisée).
- Simple : pour donner une information à vos correspondants sans que ceux-ci ne puissent vous laisser de messages.
Mode repondeur enregistreur
1 Appuyez sur les touches (MENU), 4, 5 et 1.
L'écran affiche : 451>ENREGISTREUR
2 Appuyez sur la touche <Q>
Mode repondeur SIMPLE
1 Appuyez sur les touches (MENU), 4,
(5) et (2).
L'écran affiche : 452>REP SIMPLE
2 Appuyez sur la touche
Si l'annonce SIMPLE n'est pas enregistrée, l'appareil émet 3 bips et l'écran affiche : PAS D'ANNONCE
Mise en service
1. Appuyez sur la touche (une ou plusieurs fois) afin d'afficher TEL/FAX/REP. 2. Appuyez sur la touche OK pour valider.
Mise hors service
1 Appuyez sur la touche (3 fois) afin d'afficher TEL/FAX. 2 Appuyez sur la touche OK pour valider.
TEL/FAX/REP est affiché
TEL/FAX est affiché REP est absent
Enregisterles annonces
Le répondeur fonctionne selon 2 modes :
- répondeur enregistrur,
- répondeur simple (pas d'enregistrement de messages).
Enregistrement de l'annonce repondeur enregistreur
1 Vérifie que le mode ENREGISTREUR a été sélectionné (voir le chapitre : CHOISIR LE MODE DU REPONDEUR). 2 Appuyez sur les touches (MENU), 4, ① et ①. 3 Appuyez sur la touche OK 4 Déconnectez le combiné et parlez d'une voix claire et audible.
L'écran affiche :
411>ANNONCE
L'écran affiche alternativement:
DECROCHEZ SVP et ANNONCE
L'écran affiche :
ENREGISTRER suivi de la durée d'enregistrement disponible.
Exemple d'annonce : bonjour, vous êtes bien chez Monsieur et/ou Madame X, vous pouvez laisser un message après le bip sonore ou envoyer une télécopie à ce même numéro, merci.
Raccrochez, Votre annonce est diffusée automatique.
Pour ré-écouter votre annonce, appuyez sur les touches (MEN), 4, 2, 1 et OK. Pour modifier votre annonce, recommencez depuis 2
Enregistrement de l'annonce repondeur SIMPLE
1 Vérifiez que le mode SIMPLE a été sélectionné (voir le chapitre : CHOISIR LE MODE DU REPONDDEUR). 2 Appuyez sur les touches (MENU), 4, ① et ②. 3 Appuyez sur la touche OK. 4 Décolchez le combiné et parlez d'une voix claire et audible.
L'écran affiche: 412>ANN SIMPLE
L'écran affiche alternativement: DECROCHER SVP et ANN SIMPLE
L'écran affiche: ENREGISTRER suivi de la durée d'enregistrement disponible.
Exemple d'annonce : Bonjour, vous êtes bien en contact avec la société Y, nos bureaux sont ouverts de 10h à 17h sans interruption.
Raccrochez, Votre annonce est diffusée automatique.
Pour ré-écouter votre annonce, appuyez sur les touches 4, 2 et 2 puis OK. Pour modifier votre annonce, recommencez depuis 2.
Effacement de l'annonce
- Procédez comme pour l'enregistrement d'une annonce en raccrochant sans enregistrer de nouvelle annonce ; (dans le cas de l'annonce répondeur enregistrée, l'annonce pré-enregistrée d'origine sera réactivée).
L'announce correspondant au mode de répondeur besoini précédement est effacée (voir le chapitre : CHOISIR LE MODE DU REPONDEUR).
Ecouter les messages
Votre GALEO 4230 permet à vos correspondants de vous laisser des messages d'une durée maximum de 90 secondes. Passé ce délai, l'enregistrement est interrompu.
Vous AVEZ RECU des messages
Lorsque vous avez reçu des messages, la touche © clignote.
Appuyez sur la touche (©) pour les écouter.
Le nombre de messages vocaux reçus est également signalé à l'écran.
Lors de l'appui sur la touche 0, le nombre de messages reçus s'affiche, puis pour chaque message, pendant son écoute, s'affichent la date et l'heure de son arrivée.
- Reecouter tous les messages
Appuyez sur la touche ()
Effacer unmessage
Appuyez sur la touche C pendant l'écoute du message et validez ce choix en appuyant sur OK.
L'écran affiche alternativement :
EFFACER MSG et VALIDER OK
Arreter l'ecoute des més-sages
Appuyez sur la touche O
Le message est effacé et la lecture du message suivant est enclenchée.
- EFFACER TOUS LES MESSAGES (si tous les messages ont été écoutés)
Appuyez sur les touches (MEN), 4, 4 et OK.
L'écran affiche : 44>EFFACER MSG puis le menu suivant est affiché une fois les messages effacés.
SAUVEGARDER TOUS LES MESSAGES
La sauvegarde est automatique.
Tous les messages écoute s et non effacés sont sauvegardés : la touche 0 est allumée fixe.
Saturation de la memoire de reception
Lorsqu'il y a trop de messages vocaux enregistrés, l'appareil est saturé et ne peut plus enregistrer de messages vocaux supplémentaires. Il faut alors écouter et effacer les messages vocaux et/ou imprimer les télécopies reçues pour vider la mémoire.
L'écran affiche: MEMOIRE PLEINE
Enregisterer un code d'acces privilegie
Si vous ne souhaitez répondre qu'à certains appels (la nuit par exemple), votre GALEO 4230 ne sonnera que pour les appels des correspondants auxquels vous aurez donné le code d'accès privilégié. Les autres correspondants pourront vous laisser un message sur votre répondeur sans que vous soyez dérangé ni par la sonnerie, ni par le haut-parleur lors de l'enregistrement du message.
Vous devrez au préalable avoir enregistré et activé ce code et avoir activé le répondeur.
1 Appuyez sur les touches (MEN), 4 et 8. L'écran affiche: 48> CODE PRIVIL 2 Appuyez sur la touche OK. L'écran affiche alternativement : CODE PRIVIL 0000 ou l'ancien code 3 Composez un code à 4 chiffres différent du code d'interrogation. 4 Appuyez sur la touche CHANGER LE CODE Refaites les séquences 1 à 4 en composant votre nouveau code.
Mise en service
1 Appuyez sur les touches (M3), 4 et (7). 2 Appuyez sur la touche OK 3 La valeur actuelle du paramètre s'affiche. Appuyez eventuellement sur la touche pour désir AVEC. 4 Validez votre choix par
L'écran affiche : 47>ACCES PRIVIL
L'écran affiche : 472>SANS
Mise hors service
1 Voiture appareil étant au repos, refaites les mêmes séquences en validant le choix SANS.
Recordre uniquement a des APPELS privileges
Vous devez au préalable avoir enregistré un code d'accès privilégié, l'avoir transmis à vos correspondants et avoir activé le répondeur et l'accès privilégié.
Recevoir un APPEL privileges
1 Voiture correspondant doit d'abord composer votre numéro de téléphone. 2 Dès le décroché de votre appareil, il doit appuyer sur la touche (*) de son clavier et composer votre code d'accès privilégié. Quand vous entendez la sonnerie, vous disposez alors de 30 secondes pour décrocher.
Pour que l'accès privilégie fonctionne, votre correspondant doit appeler à partir d'un téléphone configuré en mode de numérotation vocale.
Au-delà, l'annonce d'accueil sera rediffusée, invitant votre correspondant à laisser un message ou vous envoyez une télécopie.
Remarque: si votre correspondant ne compose pas votre code d'appel privilégié, il pourra vous laisser un message sur le répondeur sans que vous soyez dérangé ni par la sonnerie ni par le haut-parleur lors de l'enregistrement du message.
Communications
En position mode répondeur enregistrur, vous pouvez écouter sur le haut-parleur les messages que votre répondeur est en train d'enregistrer.
Activer le filtrage
1 Vous souhaitez entendre les messages en cours d'enregistrement. Votre appareil étant au repos, appuyez successivement sur les touches (MEND), 4 et 6.
L'écran affiche : 46>FILTRAGE
2 Appuyez sur la touche OK
3 La valeur actuelle du paramètre s'affiche. Appuyez éventuellement sur la touche pour désir AVEC.. Validez votre CHOIX par
L'écran affiche : 461>AVEC
POUR PARLER A VOTRE CORRESPONDANT
Décrochez le combiné ou appuyez sur la touche
desactiver le filtrage
Vous ne souhaitez pas entendre les messages en cours d'enregistrement.
Votre appareil étant au repos, refaites les mêmes séquences en validant le choix SANS.
Remarque 1: durant l'enregistrement du message, sans filtrage, l'appui sur la touche «» vous permet d'entendre le message. Que vous soyez avec ou sans filtrage, les touches «» et «» vous permettent de régler le volume sonore.
Remarque 2: si l'accès privilégié est activé, il n'y a plus de filtrage : il faut alors appuyer sur la touche pour pouvoir écouter le message en cours d'enregistrement.
Telephonique
Vous êtes en communication téléphonique au combiné ; vous pouvez enregistrer sur votre répondeur tout ou partie de votre conversation.
Appuyez successivement sur les
touches (MENU) et (O).
Votre conseil est enregistré.
POUR ARRETER L'ENREGISTREMENT
Appuyez sur la touche ⨀
POUR REECOUTER LA CONVERSATION
Appuyez sur la touche ().
Un mémo est un message que vous enregistrez en local sur votre répondeur. Ce message peut être destiné à vos proches ou vos collaborateurs. Il peut également faire office de "pense-bête".
Pour enregistrer ce message
1. Appuyez sur les touches (MENU), 4 et ③.
L'écran affiche : 43 > MENU
2. Appuyez sur la touche OK.
L'écran affiche alternativement : DECROCHER SVP et MEMO
3 Décrochez le combiné et parlez.
L'écran affiche : ENREGISTRER et la durée d'enregistrement restante.
4 Raccrochez votre combiné pour arrêter l'enregistrement.
Enregisterer un code d'interrogation a distance
Le code d'interrogation vous permet :
- d'interroger à distance votre répondeur (consultation à distance des messages vocaux), (voir chapitre : UTILISER LE REPONDEUR ENREGISTREUR, le § Ecouter les messages à distance),
- d'interroger à distance votre répondeur-fax (consultation à distance des messages fax reçus en mémoire), (voir chapitre : UTILISER LE TELECOPIEUR, le § Imprimer les messages fax à distance),
- de consulter localement les messages vocaux et les messages fax en toute confidentialité (voir chapitre : UTILISER LE TELECOPIEUR, § Se protégé contre la consultation indiscrite des messages).
À la livraison, le code d'interrogation est 0000. Pour permettre l'interrogation à distance, vous devez entrer un code d'interrogation différent de 0000.
1 Appuyez sur les touches (MENU), 2, 8 et 2. 2 Appuyez sur la touche OK 3 Composez un code à 4 chiffres avec les touches du clavier (différent du code privilégie). 4 Appuyez sur la touche OK
L'écran affiche : 282>CODE INTERRO
L'écran affiche alternativement : CODE INTERRO et 0000
Les 4 chiffres s'inscrivent sur l'afficheur.
Le code est enregistré.
Réfaites les séquences de 1 à 4 en entrant 0000.
Vous ne pouvez plus utiliser l'interrogation à distance.
Modifier le code
Réinitialiseséquences 1à4
Ecouter les messages à distance
Vous avez au préalable enregistré une annonce répondeur enregistreur et un code d'interrogation. Pour interroger votre GALEO 4230 à distance, vous devrez utiliser le clavier d'un poste téléphonique à fréquences musicales.
1 Composez votre numéro de téléphone. 2 Appuyez sur la touche pendant l'émission de l'annonce. 3 Composez les 4 chiffres de votre code d'interrogation à distance : Le code est incorrect, refaites les séquences 2 et 3. Le code est correct, un bip est émis, votre téLécopieur diffuse les messages.
- Reecouter lemessage en COURS
Appuyez sur la touche (4).
Il vous reste 2 essais avant que votre télecopieur ne raccroche. Vous devrez alors recommencer depuis 1
"Succèsion de bips", pas de messages. Raccrochez ou choisissez une autre fonction.
- REECOUTER LEMESSAGE PRECEDENT
Appuyez 2 fois sur la touche (4).
- REECOUTER TOUS LES MESSAGES
Appuyez sur la touche ⑤ pendant la succession de bips de fin de messages.
ARRETER MOMENTANEMENT L'ECOUTE
Appuyez sur la touche (5).
REPRENDRE L'ECOUTE
Appuyez sur la touche (5).
- PASSER AUMESSAGE SUIVANT
Appuyez sur la touche (6).
EFFACER TOUS LES MESSAGES Pendant la succession de bips de fin de messages, appuyez sur
la touche ①, puis sur la touche
RELECTURE DE L'ANNONCE
Appuyez sur la touche ③ pendant la succession de bips de fin de messages.
Pour arrêter l'écoute des messages, raccrochez.
Pendant la succession de bips de fin de messages, raccrochez pour conserver vos messages.
Modifier l'annonce d'accueil à distance
1 Composez votre numéro de téléphone. 2 Appuyez sur la touche pendant l'émission de l'annonce. 3 Composez les 4 chiffres de votre code d'interrogation à distance. Le code est incorrect, refaites les séquences 2 et 3. 4 Le code est correct. Avant l'écoute des messages et pendant la succession de bips de fin de messages, appuyez sur les touches 8 et 3, puis dictez votre nouvelle annonce. 5 Appuyez sur la touche ③ pour arrêter l'enregistrement. 6 Si la nouvelle annonce vous convient, raccrochez, sinon, attendez la succession de bips de fin de messages et recommencez depuis 4.
Il vous reste 2 essais avant que vous GALEO 4230 ne raccroche. Vous devrez alors recommencer depuis 1.
Après le bip de validation, vous disposez de 8 secondes pour commencer à enregistrer votre année.
L'annonce est automatiquement rediffusée.
Elserasemorisée quand vous aurez raccroché.
METTRE En service votre repondeur a distance
Votre appareil est resté en mode TEL ou TEL/FAX. Pour activer à distance le mode répondeur (TEL/FAX/REP), procédez de la façon suivante :
1. Composez votre numéro de téléphone. 2. Appuyez sur la touche après l'émission du message d'accueil préenregistré ou de l'annonce répondeur. 3. Composez les 4 chiffres de votre code d'interrogation à distance. Le code est correct, YOUR GALEO 4230 diffuse les messages. Pour mettre en service votre répondeur, appuyez sur la touche 7 pendant la succession de bips de fin de messages ou bips d'absence de messages. Pour mettre hors service votre répondeur, appuyez sur la touche 9 pour passer en mode TEL ou sur les touches 8 et 9 pour passer en mode TEL/FAX.
Laissez sonner jusqu'à ce qu'il décroche.
Si le code est incorrect, refaites les séquences 2 et 3.
1 bip de validation est émis.
1 bip de validation est émis.
REVEIL
Votre GALEO 4230 peut déclencher une alarme sonore au moment de votre choix. Vous pouvez utiliser cette alarme comme un réveil, un "pense-bête" ou un rappel de rendez-vous.
METTRE En service le REVEIL
1. Appuyez sur les touches (MENU), ②, ③, ③ et ①.
L'écran affiche : 2331 > MARCHE
2 Appuyez sur la touche OK.
3 Entrez au clavier l'heure de déclenchement de votre réveil.
L'heure choisie s'affiche à l'écran.
4 Appuyez sur la touche ⟨ ⟩
L'écran affiche à côté de l'heure courante un pictogramme en forme de cloche.
Pour arrêter la sonnerie de l'alarme, appuyez sur la touche ()
Le réveil passe automatiquement sur ARRET au bout de 30 secondes.
METTRE Le REVEIL hors service
1. Appuyez sur les touches (MEN), 2, 3, 3, 2 et ①.
Utiliser le telecopieur
TRANSMETTRE UNE TELECOPIE
RECEVOIR UNE TELECOPIE
DEPOSER ET RELEVER UN DOCUMENT
FONCTION FILE D'ATTENTE
ENREGISTRER UN CODE D'INTERROGATION
SE PROTEGER CONTRE LA CONSULTATION INDISCRETE DE MESSAGES
IMPRIMER LES MESSAGES FAX À DISTANCE
TRANSFERT
IMPRIMER ET COMPRENDRE LE JOURNAL DE "BORD"
Photocopier un document
PAGE 79
PAGE 90
PAGE 97
PAGE 100
PAGE 105
PAGE 107
PAGE 109
PAGE 110
PAGE 115
PAGE 117
NE PAS utiliser de documents comportant :
- des trombones, des agrafes,
- des épingles, des collages,
- du ruban adhésif,
- du correcteur liquide,
- de l'encre non sèche,
- des photographies.
Utiliser des documents :
- au format A4 (21 x 29,7 cm), -d'une épaisseur moyenne (du type papier photocopieuse), -non transparents, -non déchirés, froissés ou gondolés.
Si vous GALEO 4230 est en réception automatique (mode réception : TEL/FAX) : lorsqu'un correspondant vous envoie un Fax, votre appareil le reçoit automatiquement.
Si vous GALEO 4230 est en réception manuelle (mode TEL) : lors d'un appel, décrochez. Vous obtenez soit votre correspondant, soit un signal Fax (bps intermittents). Si c'est un signal Fax (le message RECEPTION est affiché), raccrochez alors votre combiné (la communication Fax est reçue automatiquement).
Pour arrêter une transmission Fax en cours, appuyez 2 fois sur la touche. Pour faire une copie : mettez du papier dans le chargeur de papier, insérez votre document à copier dans le chargeur document, puis appuyez sur la touche.



Transmettre une telecopie
Votre GALEO 4230 est doté d'un chargeur automatique permettant l'émission d'un document composé d'une liasse de 15 feuilles non reliées. Après insertion d'un document, vous pouvez, soit l'émettre immédiatement, soit effectuer une émission différée (émission à une heure).
1 Préparez votre document : 15 pages au maximum, au format A4.

2 Insérez le document face imprimée cachée dans le chargeur document et en-tête vers le bas. 3 Ajustez, si besoin est, le guide mobile (C) à la largeur du document inséré. La dernière page de la liasse sera émise en premier.
L'écran affiche : DOCUMENT PRET
Emission immediate
1 Insérez votre document (voir le paragraphe précédent). 2 Composez le numéro de fax de votre correspondant.
L'écran affiche : DOCUMENT PRET
Le numéro s'affiche à l'écran.
N’oubliez pas d’insérer, si nécessaire (derrière certains PABX), une pause de tonalité intermédiaire avec la touche (cette touche, signalée par un "/ " sur l’affichage, permet de marquer une pause avant l’envoi des chiffres suivants).
Lorsque vous composez le numéro de votre correspondant, si vous vous trompez, vous pouvez effacer le dernier caractère à l'aide de la touche (c).
Appuyez sur la touche ① lorsque le numéro est correct.
L'écran affiche : EMISSION et votre apparéil transmet le document.
En cas d'échec (correspondant occupé, par exemple), l'appareil réitérera l'appel après quelques minutes d'attente. Vous pouvez, si vous le désirez, écouter cette attente et tenter immédiatement un autre appel en appuyant sur les touches (MENU), 6, 1 (voir le § Exécuter immédiatement une opération en attente).
Vous pouvez également suivre l'établissement de la communication télécopie avec le haut-parleur (ce qui vous permet de vérifier que le numéro composé correspond bien à un numéro de télécopieur) : pour cela, appuyez sur la touche 1 avant de composer le numéro de votre correspondant. Dans ce cas, si votre correspondant décroche, prévenez-le de votre intention de lui transmettre une télécopie, afin qu'il active son télécopieur et qu'il raccroche ; attendez alors la tonalité continue et appuyez sur la touche 4.
Choisir le mode de resolution du telecopieur
Votre GALEO 4230 vous permet d'émettre vos télécopies selon 3 modes de résolution : le mode normal, le mode fin et le mode photo.
Le mode normal est utilisé lorsque le document à émettre est de bonne qualité et qu'il ne compte pas de petits détails.
Le mode fin doit être utilisé lorsque le document comporte des petits caractères, des dessins détaillés, etc.
Le mode photo doit être utilisé lorsque le document comporte des photographies.
Le mode de résolution sélectionné est visualisé par l'affichage du mode choisi.
Pour passer du mode normal au mode fin, appuyez sur la touche
FIN est affiché à l'écran

Il est préférable de ne pas utiliser le mode fin si ce n'est pas nécessaire car ce mode allonge la durée de communication.
Pour passer du mode fin au mode normal, appuyez 2 fois sur la
NORMAL est affiché à l'écran
touche

Pour passer du mode fin au mode
photo, appuyez sur la touche

PHOTO est affiché à l'écran
Emission immediate a PARTIR du repertoire
Pour transmettre une télécopie, vous pouvez sélectionner votre correspondant dans le répertoire directement à partir de son numéro abrégé, si celui-ci a été enregistré au préalable.
1. Insérez le document à transmettre (voir le paragraphe correspondant).
L'écran affiche : DOCUMENT PRET
2 Appuyez sur () puis () composez le numéro abrégé (ou utilisez l'une des touches à accès direct aux 10 premiers numéros abrégés du répertoire), puis appuyez sur la touche ()
Emission par recherche dans le repertoire par ORDRE alphabétique
Pour transmettre une télécopie à un correspondant déjà enregistré dans le répertoire, vous pouvez consulter le répertoire avant envoi, si vous ne vous souvenez plus de son nombre abrégé.
1 Appuyez sur la touche (). 2 Utilisez les touches pour consulter le répertoire, et arrêtez-vous sur le numéro de fax de votre correspondant. 3 Insérez votre document (voir le paragraphe correspondant). 4 Appuyez sur la touche ①.
Edition du rapport de la derniere communication
À la livraison, votre appareil est programmé pour imprimer les rapports d'émission uniquement en cas d'échec. Vous pouvez cependant, si vous désirez, imprimer le rapport de la première communication effectuée.
1 Installez du papier dans votre télécopieur (voir chapitre INSTALLER LE PAPIER D'IMPRESSION).
2 Appuyez sur les touches (MEN), 5, L'écran affiche : 5 et OK. 55 > RAPPORT
Vous pouvez fixer vous-même les conditions d'impression des rapports d'émission (voir le § Conditions d'impression des rapports d'émission dans le présent chapitre).
Après une émission différée depuis la mémoire ou une diffusion, les rapports d'émissions comportent l'image réduite de la première page.
Emission differee
L'émission différée vous permet d'émettre automatiquement une télécopie à l'heure que vous choisissez. Cette fonction permet de bénéficier de la taxation réduite réservée à certaines tranches horaires ou de tenir compte des décalages horaires avec les pays lointains.
1. Insérez le document à transmettre (voir le paragraphe correspondant).
L'écran affiche : DOCUMENT PRET
2. Appuyez sur les touches (MENU), ③, et ①.
L'écran affiche : 31>EMISSION
3 Appuyez sur la touche OK
L'écran affiche : DESTINATAIRE
4 Composez le numéro de fax de votre correspondant.
Le numéro s'affiche à l'écran.
Vous pouvez également sélectionner votre correspondant à partir du répertoire par son numéro abrégé, en appuyant auparavant sur la touche
Si vous désirez émettre immédiatement votre télécopie, appuyez sur la touche ①. Dans le cas contraire, poursuivez la procédure.
Appuyez deux fois sur la touche (CK).
L'écran affiche : ENTREZ L'HEURE
Composez l'heure d'émission désirée, à l'aide du clavier numérique.
L'heure choisie s'affiche à l'écran.
Appuyez sur la touche OK.
L'écran affiche : 1> DOC MEMOIRE
8 Faites-vous à l'aide de la touche si vous désirez procéder à une émission depuis le CHARGEUR :
- Chargeur : le document restera dans le chargeur jusqu'à ce qu'il soit émis.
- Mémoire : le document sera analysé et enregistré en mémoire.
9 Appuyez sur la touche OK
L'écran affiche : NB PAGES
Indiquez, à l'aide du clavier numérique, le nombre de pages à transmettre.
L'écran affiche alternativement le numéro du correspondant, avec l'heure d'émission et la date/heure courante.
11 Appuyez sur la touche OK pour valider : le document est en attente d'émission.
Si vous désirez annuler l'émission différée :
-si le document est sur le chargeur, retirez le document, - si le document est en mémoire, utilisez la procédure supprimer une opération en attente (voir le chapitre : FONCTION FILE D'ATTENTE).
Emission vers plusieurs destinataires (diffusion)
Un document peut être émis vers plusieurs destinataires en émission immédiate ou différée.
Pour émettre un document vers plusieurs destinataires, il suffit, dans la procédure d'émission après la saisie du premier destinataire, d'appuyer sur la touche OK pour saisir un autre destinataire.
1. Insérez le document à transmettre.
L'écran affiche : DOCUMENT PRET
2. Appuyez sur les touches (MENU), ③ et ①.
L'écran affiche : 31>EMISSION
3 Appuyez sur la touche OK
L'écran affiche : DESTINATAIRE
4 Composez le numéro de fax de votre premier correspondant ou sélectionnez-le à partir du répertoire.
Le numéro s'affiche à l'écran.
5 Appuyez sur la touche OK pour passer au destinataire suivant.
L'écran affiche : DESTINATAIRE 2
Composez le numéro de fax du deuxième destinataire.
Son numéro s'affiche à l'écran.
7 Renouvelez l'opération jusqu'à votre dernier destinataire (maximum 6 destinataires.) 8 Appuyez sur la touche OK après avoir composé le dernier numéro de fax pour passer à la rubrique suivante ou appuyez sur la touche pour émettre le document immédiatement.
Appeler votre correspondant pendant la communication FAX
Vous pouvez, si vous le désirez, discuter avec votre correspondant alors qu'une communication fax (émission ou réception) est en cours.
1 En cours d'émission (ou de réception), appuyez sur la touche : dès que la page en cours est transmise, l'appareil de votre correspondant sonne (s'il est compatible).
L'écran affiche: le n° composé en alternance avec TELEPHONE
Si votre correspondant décroche, leur appareil sonne : décrochez leur combiné et parlez-lui.
Si c'est votre correspondant qui vous appelle, décrochez lorsque votre appareil sonne afin de lui répondre.
Conditions d'impression des rapports d'emission
Les rapports d'émission vous permettent de savoir si la communication s'est correctement déroulée ou non, et d'en avoir une trace imprimée.
Votre GALEO 4230 est programmé en usine pour ne pas imprimer automatiquement les rapports d'émission. Vous pouvez cependant modifier cette programmation si vous le désirez. Vous avez le choix entre les 3 options suivantes:
- «AVEC»: un rapport d'émission est imprimé après une transmission correcte ou après l'abandon définitif d'un essai d'émission.
- «SANS»: les émissions ne font pas l'objet de rapport d'émission (se reporter au journal d'émission pour conserver une trace des communications).
- «SUR ECHEC»: un rapport d'émission est imprimé lorsque la transmission n'a pas pu se réaliser et après l'abandon définitif de l'essay de transmission.
Pour modifier la programmation de ce paramètre :
1 Appuyez sur les touches (MENU), 3 et 4. L'écran affiche : 34> RAPPORT 2 Appuyez sur OK. L'écran affiche la première option programmée. 3 Appuyez sur la touche ↓ jusqu'à l'affichage de l'option désirée. 4 Appuyez sur ( pour valider votre choix.
Recevoir une telecopie
Votre appareil peut recevoir des télécopies de façon automatique (sans intervention de l'utilisateur), selon le mode de réception choisi :
- La réception automatique concerne 2 modes de fonctionnement, intitulés TELEPHONE-FAX et REPONDEUR. Dans ces 2 modes, votre appareil reçoit automatiquement des télécopies, sans que vous interveniez.
- La réception manuelle correspond au mode TELEPHONE.
Dans ce mode, en cas d'appel, votre appareil sonne et ne prend pas la communication automatiquement. Vous devez décrocher le combiné pour permettre l'établissement de la transmission.
Votre GALEO 4230 regroupe 3 appareils en un seul : un téléphone, un fax et un répondeur. Les différents modes de réception proposés lui permettent de s'adapter aux besoins les plus courants (pour changer de mode de réception, voir le § : sélection du mode de réception).
Votre GALEO 4230 dispose également d'une mémoire de réception capable d'enregistrer vos fax, même lorsqu'il n'y a pas de papier dans le bac d'impression (en toute confidentialité).
Impression des telecopies enregistres
La présence de télécopies reçues en mémoire mais pas encore imprimées est signalée par le clignotement de la touche (1).
1 Installez du papier dans votre télécopieur (voir chapitre INSTALLER LE PAPIER D'IMPRESSION). 2 Appuyez sur la touche
Les télécopies enregistrées dans la mémoire de réception s'impriment automatiquement.
Visualisation JAUGE RUBAN
La jauge du ruban encreur donne (en pourcentage) la quantité de ruban encreur restant disponible ; pour visualiser ce pourcentage :
1. Appuyez sur les touches (MENU), 5 et 7. 2. Appuyez sur la touche OK.
L'écran affiche : 57>Jauge Ruban
Le pourcentage de ruban encreur disponible est affiché à l'écran.
À la livraison, votre appareil est programmé pour recevoir les télécopies systématiquement en mémoire. Celles-ci ne sont alors imprimées que sur demande de votre part par appui sur la touche
Si vous désirez imprimer vos télécopies au fur et à mesure qu'elles sont reçues, vous devez programmer votre télécopieur "SANS" réception des fax en mémoire :
1 Appuyez sur les touches (MEN), 3 et 6.
L'écran affiche : 36>RECEPT MEM
2 Appuyez sur la touche OK.
L'écran affiche : 361>AVEC
3 Appuyez sur la touche pour sélectionner SANS.
L'écran affiche : 362>SANS
4. Appuyez sur la touche (1)
Les télécopies reçues sont imprimées automatiquement au fur et à mesure de leur arrivée.
Remarque 1: s'il n'y a plus de papier, vos fax sont mis en mémoire.
Remarque 2: les télécopies reçues en mémoire peuvent également être imprimées à distance, voir le § Imprimer les messages fax à distance.
Mode telephone-fax (automatique avec aiguillage des APPELS)
Ce mode automatique est prévu pour une ligne recevant des appeals fax et des appeals téléphoniques. Votre appareil trie les appeals : il reçoit les télécopies automatiquement et de façon silencieuse, et sonne lorsqu'il s'agit d'un appel téléphonique.
L'activation de ce mode est signalée par l'affichage d'un F à droite de l'écran.
Lors d'un appel, votre appareil décroche automatiquement (sans sonner) et transmet un message d'accueil pré-enregistré ("Bonjour, vous êtes en communication avec un téléphone-fax. Veuillez patienter"), invitant votre correspondant à patienter :
- Si c'est un appel fax, il passe en réception télécopie.
- Si c'est un appel vocal, votre appareil sonnera pendant 30 secondes. Si vous ne répondez pas, après ce délai, il passera en réception télé-copie (ou en répondeur si une annonce a été enregistrée).
Ce mode de fonctionnement est prévu pour une ligne recevant peu de télécopies.
L'activation de ce mode est signalée par l'affichage d'un T à droite de l'écran.
Retirez tout document éventuellement inséré dans le chargeur de document, sinon en cas de communication fax, c'est celui-ci qui sera émis.
1 Lorsque le téléphone sonne, décrochez le combiné.
L'appareil ne prend pas la ligne automatiquement et affiche : APPEL ENTRANT
2. Écoutez dans votre combiné :
Si c'est un appel vocal, vous pouvez dialoguer avec votre correspondant. Si celui-ci désire vous envoyer un fax : lorsqu'il est prêt, appuyez sur ① puis raccrochez.
L'écran affiche : RECEPTION
Si c'est un appel fax (bips intermittents), attendez que l'afficheur indique "RECEPTION", puis raccrochez votre combiné.
Votre appareil passe automatiquement en mode fax et l'écran affiche : RECEPTION
Si vous n'entendez rien, l'appel est peut-être émis par un ancien modèle de télécopieur. Dans ce cas appuyez sur ① puis raccrochez.
Votre appareil recevra la télécopie.
Selection du mode de reception
Appuyez sur la touche mode de réception dés

une ou plusieurs fois pour sélectionner le
- MODE TELEPHONE: TEL affiché à l'écran.
- MODE TELEPHONE-FAX: TEL/FAX affiché à l'écran.
- MODE TELEPHONE-FAX-REPONDEUR: TEL/FAX/REP affiché à l'écran.
Validez votre choix en appuyant sur la touche OK
Reglage du NOMBRE de sonneries avant decrochage automatique en mode tel-fax-rep
1 Appuyez sur les touches (MEN), 2 et 6.
L'écran affiche : 26> SONNERIES
Le nombre de sonneries programme s'affiche.
2 Appuyez sur la touche OK. 3 Entrez le nouveau nombre de sonneries désiré (2 à 5). 4 Appuyez sur la touche ① pour valider.
Remarque : si vous prenez la communication à partir d'un second téléphone connecté sur une autre prise de la même ligne téléphonique, vous pouvez commander la réception de fax à distance à partir de ce téléphone en composant # puis 7. Votre GALEO 4230 passera alors en mode de réception télécopie. (Ce téléphone devant être réglé en numération à fréquence musicale).
Saturation de la memoire de reception
Lorsqu'il y a trop de télécopies reçues dans la mémoire, l'appareil est saturé et ne peut plus enregistrer de message fax supplémentaire. Il faut alors imprimer les télécopies reçues pour vider la mémoire.
Effacement des telecopies enregistres
- Les pages de documents fax s'effacent automatiquement de la mémoire dès qu'elles sont imprimées.
- Une impression suspendue par manque de papier sera reprise à la première page non imprimée. L'indication de présence d'un document s'efface lorsque toutes les pages constituant ce document ont été imprimées.
L'écran affiche : MEMOIRE PLEINE
Deposer un document
Le dépôt consiste à laisser un document dans votre télécopieur à la disposition d'un (ou de plusieurs) correspondants qui pourront le récupérer à condition qu'ils soient équipés d'un télécopieur doté de la fonction relève. (C'est donc les correspondants qui supporteront le coût de la communication).
Ils pourront ainsi récapituler le document qui leur est destiné quand ils le voudront, par exemple pendant votre absence.
- Vérifiez que votre apparéil est en mode de réception TELEPHONE-FAX ou TELEPHONE-FAX-REPONDEUR (voir le chapitre : RECEVOIR UNE TELECOPIE).
1. Insérez le document à déposer dans le chargeur de document.
L'écran affiche : DOCUMENT PRET
2. Appuyez sur les touches (MEN), 3 et ③.
L'écran affiche : 33>DEPOT
3. Appuyez sur OK pour valider.
L'écran affiche : 1>DEPOT SIMPLE
Lorsque le télécopieur du nombre correspondant procédera à la relève de la vente document, celle-ci se fera automatiquement.
4 Appuyez sur la touche pour CHOISIR le type de dépôt que vous souhaitez effectuer (simple ou multiple) et appuyez sur la touche OK pour valider votre choix.
Le dépôt multiple permet à plusieurs destinataires de relever le même document.
Si vous avez besoin MULTIPLE (le document est dans ce cas-là toujours déposé en mémoire), vous nevez alors saisir le nombre de pages qui constituent le document et valider par
L'écran affiche : NB PAGES
Si vous avez besoin simple, l'appareil vous propose de déposer le document en mémoire ou de le laisser dans le chargeur de document.
L'écran affiche : 1> DOC MEMOIRE
Appuyez sur la touche pour effectuer votre choix et sur la touche OK pour valider.
Le document est analysé et mis en mémoire. L'écran affiche alternativement : DOC EN DEPOT et la date et l'heure.
6 Saisissez le nombre de pages qui constituent le document et validez par ①.
Remarque : dans le cas d’un dépôt multiple, le document ne sera jamais effacé automatiquement, c’est à l’opérateur de le supprimer par la fonction 63 (voir le § : Supprimer une commande en attente).
Dans le cas du dépôt simple, celui-ci sera supprimé dès que le document aura été relevé une fois.
Relever un document
Votre correspondant aura préparé son télécopieur en conséquence. Pour récupérer le document qui vous est destiné:
1 Appuyez sur les touches (MEN), 3 et 2.
L'écran affiche : 32>RELEV
2. Appuyez sur OK pour valider.
L'écran affiche : DESTINATAIRE
3 Composez le numéro de fax de votre correspondant ou sélectionnez-le à partir du répertoire.
4 Appuyez sur la touche OK si vous désirez effectuer une relève immédiate, sinon :
- Appuyez deux fois sur la touche OK.
L'écran affiche alternativement : ENTRER HEURE et l'heure de relève.
Entrez l'heure de relève souhaitée.
Appuyez sur la touche (1).
L'écran affiche alternativement : le n° du télécopieur à relever, l'heure de relève, et la date et l'heure courantes.
Fonction FILE d'attente
Cette fonction permet la gestion des opérations en attente d'exécution (émission différée, dépôt ou relève).
Après la programmation d'une opération à exécution différée, vous pouvez imprimer la liste des opérations en attente afin de la consulter. Vous pouvez alors éventuellement procéder à des modifications, demander l'exécution immédiate d'une opération ou imprimer le document correspondant une opération en attente.
Imprimer la LISTE des operations en attente
1 Installez du papier dans votre télécopieur (voir chapitre INSTALLER LE PAPIER D'IMPRESSION). 2 Appuyez sur les touches (MEN), 6 et 5. 3 Appuyez sur la touche OK.
L'écran affiche : 65>IMP LISTE
La liste des opérations en attente s'imprime.
Remarque : votre GALEO 4230 peut avoir jusqu'à 6 commandes différées + 1 dépôt en attente.
Supprimer une opération en attente
1 Appuyez sur les touches (HENU), 6 et ③.
L'écran affiche : 63>SUPPRIMER
2 Appuyez sur la touche OK. Les différents types d'opérations en attente sont :
La première opération en attente s'affiche.
EMI: émission,
3 Choisissez l'opération à supprimer en utilisant la touche et appuyez sur OK.
L'écran affiche alternativement : CONFIRMER et VALIDER
4 Appuyez sur la touche OK pour confirmer.
Le document correspondant (s'il existe) est automatiquement effacé de la mémoire.
Executer immediatement une operation en attente
1 Appuyez sur les touches (MEN), 6 et 1.
L'écran affiche : 61>EXECUTER
2 Appuyez sur la touche OK. Les différents types d'opérations en attente sont :
L'écran affiche la première opération en attente.
EMI: émission,
REL: relève.
3 Choisissez l'opération à exécuter en utilisant la touche et appuyez sur la touche OK.
L'opération choisie est exécutée.
1 Appuyez sur les touches (MEN), 6 et 2.
L'écran affiche : 62>MODIFIER
2 Appuyez sur la touche OK. Les différents types d'opérations en attente sont :
La première opération en attente s'affiche sur l'écran.
EMI: émission,
REL: relève.
3 Choisissez l'opération à modifier en utilisant la touche et appuyez sur la touche OK.
4 Vospuvez alors, selon votre besoin, modifier le numéro du destinataire et/ou l'heure d'exécution de l'opération : entrez le nouveau numéro (ou validez par OK, si vous voulez seulement modifier l'heure de l'émission ou de la relève) et appuyez sur la touche OK.
L'écran affiche : DESTINATAIRE
5 Entrez la nouvelle heure (ou appuyez directement sur la touche OK, si vous ne souhaitez pas modifier l'heure d'émission ou de relève).
L'écran affiche : Entrer Heure
6. Appuyez sur la touche OK pour valider la modification.
Imprimer un document en attente
1. Appuyez sur les touches (MEN), 6 et 4.
L'écran affiche : 64 > IMP DOCUMENT
2. Appuyez sur la touche OK. Les différents types d'opérations auxquelles correspond un document en attente sont :
Le premier document en attente s'affiche sur l'écran.
EMI: émission,
• DEP: dépôt.
Choisissez le document à imprimer en utilisant la touche DEP et appuyez sur la touche OK
Le document choisi s'imprime.
Le code d'interrogation vous permet :
- d'intéroger à distance votre répondeur (consultation à distance des messages vocaux), (voir chapitre : UTILISER LE REPONDEUR ENREGISTREUR, § Ecouter les messages à distance),
- d'interroger à distance votre répondeur-fax (consultation à distance des messages fax reçus en mémoire), (voir chapitre : UTILISER LE TELECOPIEUR, § Imprimer les messages fax à distance),
- de consulter localement les messages vocaux et les messages fax en toute confidentialité (voir chapitre : UTILISER LE TELECOPIEUR, § Se protégé contre la consultation indiscritè des messages).
À la livraison, le code d'interrogation est 0000. Pour permettre l'interrogation à distance, vous devez entrer un code d'interrogation différent de 0000.
1 Appuyez sur les touches (MEN), ②, ⑧ et ②. 2 Appuyez sur la touche OK. 3 Composez un code à 4 chiffres avec les touches du clavier (code différent du code privilégie). 4 Appuyez sur la touche ①.
L'écran affiche : 282>CODE INTERRO
L'écran affiche alternativement : CODE INTERRO et 0000
Les 4 chiffres s'inscrivent sur l'afficheur.
Le code est enregistré.
SUPPRIMERLECODE
Réfaites les séquences de 1 à 4 en entrant 0000.
Vous ne pouvez alors plus utiliser l'interrogation à distance.
- REMPLACER LE CODE
Réfaites les séquences 1 à 4.
Se proteger CONTRE la consultation indiscrete de messages
Vous pouvez protégéur votre GALEO 4230 contre la consultation indiscrète de vos messages fax ou répondeur. Pour cela, vous devez, après avoir installé le code d'interrogation (voir chapitre : UTILISER LE TELECOPIEUR, § Enregistrer un code d'interrogation), mettre en place le verrou d'accès aux messages.
METTRE En PLACE le VERROU d'acces
1. Appuyez sur les touches (NE), 2, 8 et 1.
L'écran affiche : 281> VERROU PRESS
2. Appuyez sur la touche OK.
L'écran affiche : 2812 > SANS
3 Sélectionnez AVEC à l'aide des touches ou du navigateur.
Appuyez sur la touche pour valider votre choix.
SANS: l'accès local aux messages se fait sans entrer le code d'interrogation. AVEC: l'accès local aux messages n'est possible qu'après avoir entré le code d'interrogation.
Accéder aux messages verrouilles
1. Appuyez sur la touche (I) ou (O). 2. Entrez le code d'interrogation.
L'écran affiche : CODE
La lecture des messages vocaux ou l'impression des fax reçus (selon le cas) est lancée.
Imprimer les messages FAX à distance
Si vous êtes éloigné de votre GALEO 4230 et que vous disposez localement d'un télécopieur, vous pouvez imprimer sur ce dernier les télécopies reçues en mémoire dans votre APpeuil.
Vous devez au préalable enregistrer un code d'interrogation à distance.
1 Composez, depuis un télécopieur distant muni d'un téléphone, votre numéro d'appel. 2 Tapez sur la touche pendant l'annonce, puis tapez les 4 chiffres de votre code d'interrogation. Attendez la fin de la diffusion des messages vocaux. 3 Appuyez successivement sur les touches 8 et 0. 4 Activez alors le télécopieur (touché ①). - Notre appareil va alors réémettre la totalité des télécopies reçues dans sa mémoire.
Pour que l'appel à distance fonctionne, vous devez l'effectuer à partir d'un télécopieur muni d'un téléphone configuré en mode de numérotation à fréquences vocales.
Vous entendez une série de bips sonores.
Vous entendez la tonalité télécopie.
Remarque 1: le code d'interrogation est utilisé pour accéder au répondeur vocal et au répondeur fax. Vous pouvez donc, lors d'une même communication, écouter vos messages vocaux et imprimer vos documents fax.
Remarque 2 : lorsque vous interrogez à distance votre répondeur fax, les télécopies réémises sont automatiquement effacées de la mémoire.
Transfert
Si vous changez de lieu de résidence pour un temps assez long (si vous partez en vacances, par exemple), vous avez la possibilité de faire transférer automatiquement tous les messages (vocaux ou fax) reçus par votre appareil vers un autre téléphone et/ou télécopieur.
Vous devez naturellement disposer sur ce nouveau lieu de résidence, d'un téléphone et/ou d'un télécopieur.
Transfert vers un téléphone et/ou un télécopieur
1 Appuyez sur les touches (MEN), 7, 2 et 1.
L'écran affiche : 721>ACTIVER
2. Appuyez sur la touche OK.
L'écran affiche : TEL
3 Entrez le numéro d'appel du destinataire final et validez avec la touche OK.
L'écran affiche : 3>REDIFFUSION VOC/FAX
Remarque 1: le message REDIFFUSION et le numéro d'appoint du destinataire final sont automatiquement enregistrés dans le réseau sous le numéro abrégé 49 (dernier numéro du réseau).
Remarque 2 : lorsque la rediffusion est activée ; le message "REDIFF ACTIVE" est affiché à la place de la date et l'heure.
4 Sélectionnez le type de message à transférer à l'aide des touches ou
REDIFF VOCAL: seuls les messages vocaux seront rediffusés.
REDIFF FAX: seuls les messages fax seront rediffusés.
REDIFF VOC/FAX: tous les messages vocaux et fax seront rediffusés vers le destinataire final.
5 Validatez avec la touche OK 6 Entrez votre code d'interrogation à 4 chiffres et validez avec la touche OK. 7 Choisissez si vous pouvez protégerv ou non l'accès aux messages transférés à l'aide des touches ou 8 Appuyez sur la touche
L'écran affiche : CODE INTERRO en alternance avec le code d'interrogation actuellement (si déjà saisi) ou 0000
L'écran affiche : 1> SANS PROTECT
Rediffusion des messages vocaux
La rediffusion des messages vocaux ne sera active que si le code d'interrogation à distance est différent de 0000.
La rediffusion des messages vocaux est indépendante de la protection de la rediffusion (AVEC ou SANS).
Le destinataire devra décrocher son téléphone et dès qu'il entendra une série de bips, il devra entrer le code d'interrogation à distance sur l'appareil destinataire pour activer la retransmission des messages vocaux.
Rediffusion des messages fax
Si vous avez besoin "SANS PROTECT"
- Les messages fax seront automatiquement rediffusés vers le télécopieur destinataire.
Si vous avez besoin "REDIF PROTEGE"
-La rediffusion des messages fax ne sera active que si le code d'interrogation à distance est différent de 0000.
- Le destinataire devra décrocher son téléphone et dès qu'il entendra une série de bips, il devra entrer le code d'interrogation à distance sur l'appareil destinataire, puis taper "80" pour déclencher la procédure d'interrogation à distance fax. Lorsqu'il entendra la tonalité fax, il devra alors activer son télécopieur (appuyer sur l'équivalent de la touche DEBUT ou ENVOI de son télécopieur) pour activer la retransmission des messages fax.
Désactiver le transfert
1. Appuyez sur les touches (MENU), 7,
②et②.
Appuyez sur la touche OK.
L'écran affiche : 722>DESACTIVER
Le transfert n'est plus actif.
Modifier les paramètres du transfert
Ce menu vous permet, si vous avez déjà activé une fois le transfert, de modifier ses paramètres (numéro de téléphone/fax destinataire, type de messages à rediffuser, code d'interrogation à distance, rediffusion protégée...).
1 Appuyez sur les touches (MENU), ⑦, ② et ③.
L'écran affiche : 723>REGLAGES
2 Appuyez sur la touche OK puis reprenez des étapes 3 à 8 du S Transfert vers un téléphone et/ou un télécopieur.
Imprimer et comprendre le journal de "BORD
Le journal de bord est en fait constitué de deux journaux mémorials de vos communications :
- un journal d'émission,
- un journal de réception.
La présentation est identique pour les deux journaux et compte 7 colonnes :
| Date / Heure | ● Date et heures de la communication. | |
| Correspondant | ● Numéro complet du correspondant. | Si vous correspondant l'a programmé sur son apparéil. |
| Mode | ● Résolution utilisée lors de la com-munication. | |
| Pages | ● Nombre de pages transmises ou reçues. | |
| Durée | ● Durée totale de la communication. | |
| Résultat | ● Résultat de l'émission ou de la réception. | Un CODE peut apparaitre en cas d'erreur. Sa significa-tion est expliquée sur la page suivante. |
| Note | ● Précie le résultat de l'émission ou de la réception ou plus de journal répondeur. |
Impression des journaux
1. Appuyez sur les touches (MEN), 5 et ②. 2. Appuyez sur la touche OK.
L'écran affiche : 52 > JOURNAUX
Les journaux s'impriment.
Code d'erreur
En cas d'incident, le résultat de la transmission correspond à un code dont la signification est donnée ci-après :
| CODE | SIGNIFICATION ET REMDE |
| 01 | Votre correspondant ne répond pas : rappelez ultérieurement. |
| 02 | Vérifiez le numéro de votre correspondant. |
| 03 | Vous avez appuyé sur ⑦ pendant la communication. |
| 04 | Vérifiez votre numéro abrégé. |
| 05 | Bourrage du document ou panne du chargeur pendant la communication. |
| 07 | Incident dans le fonctionnement du télécopieur de votre correspondant ou de la ligne : reconnencez la communication. |
| 08 | Le document que vous avez émis a peut-être été mal reçu ; vérifiez auprès de votre correspondant ou réémetteze-le. |
| 0A | Votre correspondant a tenté d'effectuer une RELEVE alors qu'aucun document n'avait été mis en dépôt à son attention. |
| 0B | Différence entre le nombre de pages prévu à l'EMISSION et le nombre de pages EMISES : vérifiez le nombre de pages. |
Photocopier un document
Votre GALEO 4230 peut être utilisé comme copieur d'appoint. Les copies sont réalisables à partir d'un document non relié.
1. Installez du papier d'impression (voir le chapitre : INSTALLER LE PAPIER D'IMPRESSION). 2. Insérez le document à photocopier dans le chargeur de document, comme pour émettre une télécopie. 3. Appuyez sur la touche ① pour lancer la photocopie.
L'écran affiche :* COPIE LOCALE *
| INCIDENTS | CAUSES | SOLUTIONS |
| L'appareil ne fonctionne pas et il n'y a pas d'affichage sur l'écran. | • Absence d'alimentation. | • Vérifiez les connexions secteur. |
| Le central téléphonique ne reconnaît pas le numéro que vous avez appelé. | • Le cordon ligne est mal branché. | • Vérifiez la connexion ligne téléphonique. |
| L'appareil ne sonne pas. | • Rétablissez la sonnerie (voir le § Sélectionner la mélodie d'appl). | |
| Vous n'entendez pas la tonality. | Votre GALEO 4230 n'est pas raccordé. | • Vérifiez vos branchements poste/prises. |
| Votre GALEO 4230 n'indique plus l'heure exacte. | Un changement d'heure est intervenu ou votre apparéil est resté hors tension. | • Remettez votre apparéil à l'heure (voir le § Modifier la date et l'heure). |
| Le répondeur enregistre ne décroche pas et "ça sonne"... | Le mode REP est peut-être absent. | • Appuyez sur la touche , REP doit s'afficher à l'écran. |
| Vous copiez un document et la page imprimée est blanche. | • Le document à copier est à l'envers dans le chargeur de document. | • Introduisez le document face imprimée non visible. |
| Lorsqu'un correspondant vous envoie un fax, après quelques sonneries l' apparéil ne répond pas. | • Le mode de réception Fax n'est pas adapté. | • Modifiez le mode de réception fax (voir le chapitre : RECE-VOIR UNE TELECOPIE). |
| • Le nombre de sonneries sélectionné est trop grand. | • Voir le § Réglage du nombre de sonneries avant décrochage. | |
| • Vogue apparéil n'est pas adapté à sa ligne. | • Voir le chapitre : ADAPTER L'APPAREIL A LA LIGNE. | |
| Présence d'un ou plusieurs traits noirs verticaux sur les documents copiés ou reçus chez votre correspondant | • Dispositif d'analyse encrassé. | • Ouvrez le capot avant et nettoyez le dispositif de lecture (analyse),itué en vis à vis du rouleau blanc, à l'aide d'un chiffon doux et non pelucheurs imbibé d'alcool.Après le nettoyage, refermez le capot avant et faites une copie pour vous assurer de la disparition des traits. |
| L'écran affiche : | ||
| “CAPOT IMPRIMANTE” | • Le capot arrêté est mal fermé. | • Refermez correctement le capot arrêté. |
| “VERIFIER PAPIER” | • Une feuille est restée coincée dans le chemin papier. | • Ouvrez le capot arrêté,dégagez la feuille et refermez le capot arrêté. |
| “SURCHAUFFE IMP.” | • Les documents imprimés comportent beaucoup de noir et l'imprimante chauffe. | • Attendez quelques instantspour permettre le refroidissement de l'imprimante. |
| “CHANGER RUBAN” | • Le ruban encreur est fini. | • Voir le chapitre : INSTALLLERLE RUBAN ENCREUR. |
| “RETIRER DOCUMENT” | • Il y a un problème dans le chemin document. | • Ouvrez le capot avant et vérifiez le cheminement du document. |
| “MEMOIRE PLEINE” | • La mémoire des messages vocaux et/ ou fax est saturée. | • Ecoutez les messages vocauxet imprimez les fax reçus. |
| “METTRE DU PAPIER” | • Il n'y a plus de papier dans le chargeur papier d'impression. | • Voir le chapitre : MISE ENPLACE DU PAPIER D'IMP-PRESSION. |
| Mains libresSilences courts, échos ou conversations interrom-pues. | Il est possible que votre interlocuteur utilise un matériel de qualité inférieure au titre, ce qui expliquerait les problèmes rencontres. | Au début d'une communica-tion, il est conseilé que chaque personne parle chacune à leur tourpendant quelques instantes afin que votre GALEO 4230 s'adapte à son milieu. |
| Réception amortie ouétouffée | Une distance trop importante entre vous et votre apparéil peut provoquer une mauvaise réception chez votre interlocu-tein. | Rapprochez-vous davantage de votre GALEO 4230. |
| Bruit excessif | Tout apparéil bruyant tel que ordinateur ou ventilateur risque de rendre plus difficile la communication avec votre interlocuteur. | Il est conseilé d'éteindre tout matériel bruyant, situé dans l'environnement de votre GALEO 4230 pendant votre communication en main libres. |
Parametres
Pour accéder aux paramètres techniques :
1. Appuyez sur les touches (MENU), 7
et (9)
L'écran affiche : 79> TECHNIQUES
Appuyez sur la touche OK pour valider.
L'écran affiche : 02 EMI ENTETE
Les paramètres techniques sont représentés sous forme d'une liste dans laquelle l'utilisateur peut se déplacer à l'aide des touches de navigation et
Parametres compteur de PAGES
Ce paramètre vous permet de vérifier le nombre de pages imprimées depuis la première mise en service de votre télécopieur. Pour cela, procédez de la manière suivante :
1. Appuyez sur les touches 7 et 9.
L'écran affiche : 79>TECHNIQUES
Appuyez sur la touche OK.
L'écran affiche :02 EMI ENTETE
3 Sélectionnez le paramètre COMPTEUR à l'aide des touches et et validez par OK
L'écran affiche le nombre de pages imprimées depuis la mise en service de l'appareil.
Si vous désirez obtenir plus d'informations sur les autres paramètres techniques, téléphonez au N° vert inscrit à la fin de cette notice.
Votre GALEO 4230 bénéficie d'une garantie d'un an correspondant à une utilisation annuelle n'excedant pas 5000 pages imprimées.
Pour connaître votre consommation, reportez-vous à la page précédente.
Attention
Utilisez uniquement le ruban encreur correspondant aux spécifications du constructeur. Vous pouvez vous procurer ces rubans dans notre agence France Télécom.
L'utilisation d'autres types de ruban encreur pourrait endommager l'appareil.
Les documents imprimés par votre appareil peuvent être lisibles par transparence sur le ruban encreur usage.
Au cas où des documents présenteraient un caractère confidentiel, pensez à勒删除并替换为:er le ruban encreur en service si vous deviez vous séparer de votre appareil.
Aide aux utilisateurs de produits et services France Télécom

8 h à 20 h du lundi au samedi*
Pour une qualité normale d'impression, nous vous conseillons d'utiliser un papier identique à celui de l'échantillon fourni avec l'appareil. Pour toute information complémentaire, contacter votre agence FRANCE TELECOM.
- Notre GALEO 4230 n'est pas connectable à un schéma d'alimentation IT.
- L'entrée secteur répond au niveau de sécurité tension excessive.
- L'entrée ligne téléphonique répond au niveau de sécurité TRT.
- La prise combinée téléphonique, la prise alimentation et la prise option radio (sur l'appareil) répondent au niveau de sécurité TBTS.
- Cet appareil porte le marquage CE en application des directives 73/23/CEE, 89/336/CEE, 93/68/CEE.
Cet appareil a été approuvé par décision du Conseil européen n° 98/482/CE en vue de son raccordement sur terminal unique au réseau téléphonique public commuté (RTPC), et ce dans toute l'Europe.
En cas de problèmes, contactez notre revendeur.
Marque déposée par France Télécom

france telecom
Direction Clientèle Professionnelle
6, place d'Alleray 75505 Paris Cedex 15
LIVRET D'UTILISATION IND : B

DOCUMENT NON CONTRACTUEL (GC)
Notice Facile