AMARYS 285 DECT - Téléphone DECT FRANCE TELECOM - Notice d'utilisation et mode d'emploi gratuit
Retrouvez gratuitement la notice de l'appareil AMARYS 285 DECT FRANCE TELECOM au format PDF.
| Type de produit | Téléphone sans fil DECT |
| Caractéristiques techniques principales | Technologie DECT, portée jusqu'à 300 mètres en extérieur, jusqu'à 50 mètres en intérieur |
| Alimentation électrique | Adaptateur secteur inclus, batterie rechargeable |
| Dimensions approximatives | 150 x 50 x 30 mm |
| Poids | 150 g |
| Compatibilités | Compatible avec tous les appareils DECT |
| Type de batterie | Batterie NiMH rechargeable |
| Tension | 2.4 V |
| Puissance | 0.1 W |
| Fonctions principales | Appels mains libres, répertoire, identification de l'appelant |
| Entretien et nettoyage | Nettoyer avec un chiffon doux, éviter les produits abrasifs |
| Pièces détachées et réparabilité | Disponibilité de pièces détachées limitée, consulter le service après-vente |
| Sécurité | Cryptage des communications, conforme aux normes de sécurité DECT |
| Informations générales utiles | Garantie de 2 ans, support technique disponible |
FOIRE AUX QUESTIONS - AMARYS 285 DECT FRANCE TELECOM
Questions des utilisateurs sur AMARYS 285 DECT FRANCE TELECOM
0 question sur cet appareil. Repondez a celles que vous connaissez ou posez la votre.
Poser une nouvelle question sur cet appareil
Téléchargez la notice de votre Téléphone DECT au format PDF gratuitement ! Retrouvez votre notice AMARYS 285 DECT - FRANCE TELECOM et reprennez votre appareil électronique en main. Sur cette page sont publiés tous les documents nécessaires à l'utilisation de votre appareil AMARYS 285 DECT de la marque FRANCE TELECOM.
MODE D'EMPLOI AMARYS 285 DECT FRANCE TELECOM
Vous venez d'acquérir un MOBILE AMARYS et nous vous en remercions.
Ce MOBILE supplémentaire commun aux modèles AMARYS 275 et 285 DECT, vient compléter votre installation et vous permet de disposer de façon permanente d'un téléphone sans fil dans les pièces non équipées d'une prise téléphonique. Vous pouvez utiliser jusqu'à 5 MOBILES sur chacun des modèles AMARYS 275 et 285 DECT. Afin d'utiliser efficacement toutes les possibilités de votre MOBILE, nous vous conseillons de consulter la notice livrée avec la BASE et le MOBILE principal.
Ce MOBILE compatible G. A. P. (General Access Profile) peut fonctionner avec toute base G. A. P., même de marque différente. Dans ce cas, nous vous invitons à lire très attentivement cette notice qui a été rédigée spécialement à votre intention en tenant compte des suggestions et des remarques exprimées par les utilisateurs.
Pour toute information supplémentaire sur les produits et services France Telecom, contactez notre Agence Commerciale.
Sommaire general
TOUCHES DE FONCTION
PAGE 2
METTRE EN SERVICE LE MOBILE
PAGE 3
DECOUVRILMOBILE
PAGE 8
PERSONALISER VOTRE MOBILE
PAGE 10
TELEPHONER
PAGE 12
UTILISER L'INTERPHONIE
PAGE 14
ENTRETENIR VOTRE MOBILE
PAGE 15
UN PROBLEM? VERIFIEZ...
PAGE 16


METTRE en service le MOBILE
1 Sur le CHARGEUR, reliez le connecteur puis l'adaptateur de courant* comme décrit ci-dessous.

Le voyant de secteur vert s'allume. *Voir "Raccordement électrique", p.6. 2 Posez le MOBILE sur le CHARGEUR.

Le voyant de charge rouge s'allume.
Avant la première utilisation ou après une période prolongée hors du CHARGEUR, le MOBILE doit être chargé complètement pendant 24 heures. Après charge complète, vous devez effectuer la procédure d'ajout du MOBILE décrite ci-après (page 4).
Pour pouvoir fonctionner avec une BASE, vous devez au préalable effectuer la procédure d'ajout du MOBILE sur cette BASE. Chaque MOBILE peut être utilisé sur deux BASES différentes.
- 1 Sur le MOBILE Sélectionnez AJOUTER Mobile/Base avec puis appuyez sur 1.
Le curseur est positionné sur le dernier 0 du code secret.
Appuyez successivement sur EFFACE
Le curseur se positionne sur le premier chiffre à saisir.
3 Saisissez le code secret de la BASE, puis appuyez sur 1.
L'afficheur invite à appuyer sur la touche de la BASE,
Avant 1 mn, appuyez sur ^+ de la BASE et maintenez l'appui au moins 5 secondes.
La BASE émet des bips, puis l'afficheur présente le numéro du MOBILE en fonction des ajouts précédents sur cette BASE (chaque BASE AMARYS peut fonctionner avec 5 MOBILES). Vous pouvez également nommer votre MOBILE E (voir p. 15 de la notice principale).
En cas d'échec, recommencez la procédure depuis
Effectuez sur la BASE la procédure décrite par le constructeur (voir notice du constructeur de la BASE) puis sur le MOBILE suivez la procédure décrite ci-dessus de 1 à 3.
L'afficheur indique le nom du MOBILE 'Mobile F T".
Ce MOBILE supplémentaire qui vient compléter votre installation fonctionne de manière identique à celui livré avec votre BASE AMARYS 275 ou 285 DECT. Désormais votre installation multi-mobile vous permet :
- d'établir une conférence à trois,
- de rediriger une conversation,
- établit une communication avec l'extérieur pendant que deux autres
MOBILES sont en interphonie (si vous possédez au moins 3 MOBILES).
Consultez la notice principale.
Utiliser avec une autre BASE g.a.p.
La Specification G. A. P. (Generic Access Profile) garantit un fonctionnement minimum à tout mobile et à toute base de marques différentes qui s'enregistrent ensemble.
Votre MOBILE répond à cette Specification.
Lorsque votre MOBILE est déclaré sur une base de marque différente, les fonctions utilisables garanties sont : la prise de ligne, la réception d'appel, la numérotation et la fonction interphonie.
Afin d'utiliser votre MOBILE dans les meilleures conditions, nous vous conseillons de lire cette notice ainsi que celle du constructeur de la base.
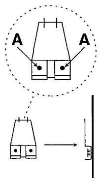
Accrocher le chargeur au MUR
1 Enlevez la pièce plastique située à l'arrière du socle puis retournez-la.

2 Percez les trous A, puis fixez cette pièce au mur à l'aide de 2 vis.

3 Engagez le socle sur la pièce plastique puis tirez vers le bas.

Le marquage CE atteste de la conformité des produits aux règlements techniques applicables à la date de l'agrément, conformément respectivement aux Directives et dispositions complémentaires 73/23/CEE pour la sécurité usagers et 89/336/CEE pour les perturbations électromagnétiques.
Raccordement électrique : alimentation sur réseau 230 V, courant alternatif monophasé à l'exclusion des installations à schéma IT définies dans la norme NF EN 60-950. ATTENTION, la tension du réseau est classée excessive selon les critères de la même norme. Ne pas installer le chargeur dans une pièce d'eau (salle de bain, buanderie...) ni dans une cuisine à moins de 1,50 m de l'évier. Température d'utilisation entre 5°C et 45°C.
Par précaution, en cas de danger, le bloc d'alimentation secteur sert de dispositif de sectionnement de l'alimentation 230 V. Il doit être installé à proximité du matériel et être aisément accessible.
- Elle est de 50 heures lorsque le MOBILE est hors de son CHARGEUR, et de 6 heures en communication.
- En cours de communication, lorsqu'il ne vous reste plus que 20 s. d'autonomie, des bips et le voyant de charge clignotant vous en avertissent. À l'expiration de ce délai, la communication sera automatiquement coupée. Pour entretenir la charge, posez régulièrement le MOBILE sur le CHARGEUR. Pour économiser la batterie, reportez-vous p. 15.
L'afficheur indique : "Batterie déchargee" ; vous devez recharger le MOBILE.
Recharge
- Reposez le MOBILE sur son CHARGEUR. 3 h de charge permettent 1 h de communication. La durée complète de recharge lorsque la batterie est vide est de 24 h.
PORTEE
La portée du MOBILE est d'environ 300 m en site dégagé.
- En cours de communication, la limite de portée étant atteinte, la conversation devient hachée. Dans ce cas, rapprochez-vous rapidement de la BASE, sinon la communication sera coupée.
L'afficheur indique "LIMITE DE PORTEE" et des bips sont émis.
Touches et VOYANT lumineux
La touche LIGNE permet de passer et de recevoir vos appels. Elle est allumée lorsque vous êtes en communication.
Elle clignote lorsque vous recevez un appel.
Elle est éteinte lorsque le poste est au repos.
- La touche interpermet d'entrée en interphonie avec la BASE ou le(s) MOBILE(s). Elle s'allume quand la conversation est établie.
Elle clignote en cours d'appel interphonie.
Le voyant lumineux de charge clignote lorsque le MOBILE est hors du CHARGEUR et que le niveau de charge devient insuffisant.
Le voyant rouge de charge du CHARGEUR est allumé quand le contact CHARGEUR-MOBILE est correct ; il indique que le circuit de charge fonctionne. Il reste allumé même lorsque la batterie est à pleine charge.
La touche permet d'activer ou de désactiver le haut-parleur de la BASE. Elle est allumée lorsque le haut-parleur est activé.
Elle est éteinte lorsque le haut-parleur est désactivé.
Principe général
À l'aide des touches (), choisissez une rubrique du menu (exemple : INSTALLER le Poste), puis confirmez votre choix avec la touche 1. Lorsque vous êtes dans la rubrique, l'appareil vous invite à :
- sélectionner une rubrique secondaire avec () ou (),
- puis confirmer cette sélection (exemple : REGLER Date et Heure) ou confirmer le choix affché (exemple : DESACTIVER bip touches) avec 1.
- Ensemble vous pouvez être amené à :
- effacer des informations que vous souhaitez modifier avec EFFACE et saisir nouvelles données au clavier (exemple : la date),
- saisir directement des informations au clavier,
- passer à une autre étape avec (exemple : modifier l'heure après avoir modifié la date) ou revenir en arrière avec (▲).
- faire défiler les diverses possibilités avec () ou () (exemple : les diverses sonneries).
- interrompre la fonction à tout moment en appuyant sur EXIT.
- Appuyez sur pour confirmer une salle ou un besoin ou activer une fonction.
2 bips : Commande acceptée ou information enregistrée. 4 bips : Commande refusée.
Regler les sonneries
Le MOBILE dispose de 5 sonneries (3 fortes et 2 faibles) et de la coupure.

Sélectionnez INSTALLER Le Poste avec

puis appuyez sur ⟨ ⟩

Sélectionnez REGLER Sonn du Mobile
avec , appuyez sur .
Vous entendez la sonnerie en cours et son numéro s'affiche.

Sélectionnez la sonnerie avec (▼) ou
avec
Vous entendez la sonnerie sélectionnée et son numéro s'affiche.
Pour couper la sonnerie, sélectionnez Sonnerie 0 Muette.

s'affiche.

Appuyez sur

L'afficheur indique : "Commande acceptée".
Votre choix est confirmé.
Pour rétablir la
cédure de
sponnerie, refaîtes la pro-
a, en sélectionnant
une mélodie en

Regler le contraste de l'afficheur
1 Sélectionnez INSTALLER Le Poste avec et appuyez sur 1. 2 Sélectionnez REGLER le Contraste avec et appuyez sur 1. 3 Sélectionnez le contraste souhaité avec @ ou @.
À chaque appui sur la touche, le contraste de l'afficheur s'ajuste. Le dernier contraste sélectionné est mémorisé.
Appuyez sur ⟨⟩
L'afficheur indique "Commande acceptée".
Supprimer les BIPS touches
Chaque appui sur une touche du MOBILE est signalé par un bip d'acquiescement. Vous pouvez supprimer ce bip.
1 Sélectionnez INSTALLER Le Poste avec puis appuyez sur 1. 2 Sélectionnez DESACTIVER Bip Touche avec
Si les bips touches sont déjà désactivés, l'afficheur propose : "ACTIVER Bip Touche".
Appuyez sur ⟨⟩
L'afficheur indique 'Commande acceptée'.
Pour appeler
Lorsque vousôtezle MDBILE du CHARGEUR, si l'afficheur indique "Recherche en cours...", attendez l'affichage de l'écran d'accueil,

Appuyez sur LIGNE pour prendre la ligne.
L'afficheur indique: "APPEL EN COURS". La touche (LIGNE) clignote puis se fixe.
- Remarque : l'afficheur indique “ligne prise” lorsqu'un autre MOBILE a déjà pris la ligne. Si l'afficheur indique “BASE inaccessible”, reportez-vous p. 1 2 Vérifiez la présence de la tonalité puis composez le numéro de votre correspondant. L'afficheur indique "App. en cours" suivi du numéro de votre correspondant A la réponse de votre correspondant, vous pouvez converser. UNIQUEMENT AVEC BASE AMARYS
En cours de communication, vous pouvez utiliser le haut-parleur, régler le volume de l'écouteur, consulter le réseau, afficher à nouveau le numéro du correspondant, enregistrer la conversation (AMARYS 285 DECT seulement). Nous vous conseillons de consulter la notice principale.
Vous passez ou recevez un appel, le chronomètre s'affiche et indique le temps écoulé.
Prepared votre NUMERO avant d'appeler
Si vous souhaitez pouvoir vérifier le numéro et eventuellement le corriger avant envoi.
Composez le numéro au clavier.
Le numéro s'affiche à l'écran.
Effacez éventuellement le dernier caractère avec EFFACE, en cas d'erreur. 2 Appuyez sur pour lancer l'appel.
Vous pouvez également appuyer sur (LIGNE).
La ligne est prise et le numéro est composé automatiquement.
RECORD A un APPEL
Le MOBILE sonne :
La touche (LIGNE) clignote au rythme de la sonnerie et l'afficheur indique "Appel de".
Appuyez sur LIGNE. Vous pouvez converser.
La touche (LIGNE) est allumée.
Raccrocher
EN MANUEL
Appuyez sur (LIGNE).
La touche (LIGNE) s'éteint.
ENAUTOMATIQUE
Posez simplement le MOBILE sur le CHARGEUR.
La ligne est raccrochée automatiquement. La touche (LIGNE) s'éteint.
Utiliser l'interphonie
Votre MOBILE vous permet d'établir une interphonie avec un autre MOBILE de l'installation.
Pour appeler :
- Appuyez sur INTER puis, saisissez le numéro du MOBILE à appeler.
Pour répondre :
- Appuyez sur INTER ou sur LIGNE.
Ce MOBILE supplémentaire vous permet d'accéder aux diverses possibilités offertes par votre AMARYS 275 ou 285 DECT :
- Rediriger une communication externe sur un autre MOBILE.
- Établit une conférence (un correspondant externe et deux intervenants internes).
- Établit une communication externe tandis que deux autres MOBILES sont en interphonie (si vous possédez au moins 3 MOBILES).
Consultez la notice principale.
Entretenir votre MOBILE
Pour entretenir votre MOBILE, utilisez un chiffon humidifié à l'eau légèrement savonnée, puis essuyez avec un chiffon sec.
N'utilisez ni solvant, ni produit ménager. Entretenez régulièrement votre appareil, il gardera ainsi son aspect neuf.
Important :
Évitez de placer l'appareil à un endroit qui pourrait entraîner sa chute.
Economiser la batterie
Afin de réduire la consommation du MOBILE hors du CHARGEUR et donc d'économiser la charge de la batterie, vous pouvez éteindre le MOBILE. Dans ce cas, le MOBILE ne reçoit plus les appeals. L'autonomie du MOBILE est de 7 jours.
Sélectionnez ETEINDRE le Mobile avec puis appuyez sur 1.
L'afficheur indique "Commande acceptée" puis s'éteint.
- Appuyez sur une touche du clavier numérique (0 à 9) ou sur LIGNE pour rallumer le MOBILE.
L'afficheur se rallume.
Vous recevez à nouveau les appels.
Verifiez...
| INCIDENTS | CAUSES | SOLUTIONS |
| Levoyant de se-teur ne s'allume pas. | Le courant n'arrive pas au CHARGEUR. | Vérifiez les bran-chements. |
| Levoyant de charge du CHARGEUR ne s'allume pas quand le MOBILE est reposé. | Mauvais contact avec les plots de charge.Les plots de charge sont encrassés. | Déplacez légère-ment le MOBILE.Nettoyez-les avec un chiffon imbibé d'alcool. |
| Pas de tonalité. | Pas d'alimentation.Le MOBILE n'est pas assez chargé.Vous étés trop éloi-gnéd de la BASE. | Vérifiez les bran-chements.Mettez en charge le MOBILE sur son CHARGEUR.Rapprochez-vous de la BASE. |
| Pas de sonnerie. | La sonnerie est cou-pée. | Voir le chapitre "SONNERIE" (p. 10). |
| Le MOBILE affiche : "BASE inaccess-sible", après avoir appuyé sur l'ouf. * | Le secteur est débranché.La procédure d'avout du MOBILE sur la BASE a échoué.Le MOBILE est trop éloigné de la BASE | Vérifiez les bran-chements.Reprenez la procédure d'avout d'un MOBILE sur la BASE (p. 4).Rapprochez-vous de la BASE. |
| Des parasites pertur-bent la communication. | Vous étés trop éloi-gnéd de la BASE. | Rapprochez-vous de la BASE. |
| Le MOBILE émet des renflements impor-tants à l'écoute. | Le bloc d'alimenta-tion secteur est trop proche de la BASE. | Eloignez la BASE du bloc d'alimenta-tion secteur. |
| L'afficheur du MOBI-LE est étéint bien que la batterie soit branchée et chargée. | Parasites importants lors de la dépose ou de la prise du MOBILE sur le CHARGEUR. | Reposez puis repre-nez à nouveau le MOBILE sur le CHARGEUR. |
1 Ouvrez la trappe du compartiment batterie du MOBILE en soulevant en 1.

2 Débranchez le connecteur de la batterie et enlevez la batterie en tirant sur les fils. 3 Mettez en place la nouvelle batterie, branchez le connecteur et refermez la trappe. 4 Reposez le MOBILE sur le CHARGEUR.
Le voyant de charge rouge du CHARGEUR s'allume.
Laissez en charge pendant 24 heures.
Attention : les batteries et piles usagées ne doivent pas être mises aux ordures ménagères.
Veillez les rapporter à votre distributeur ou les déposer dans un centre de récapitulation réservé à cet effet, sous peine de sanctions prévues par l'article 131-41 du code pénal, selon le décret 97-1328 du 30 décembre 1997, de protection de l'environnement.
Service assistance FRANCE telecom
L'aide aux utilisateurs de produits et services de France Télécom
NoVert 0800 33 11 22
de 8 h à 20 h du lundi au samedi*
- hors jours fériés

Notice Facile