P155107HRB - Tondeuse à gazon autoportée PARTNER - Notice d'utilisation et mode d'emploi gratuit
Retrouvez gratuitement la notice de l'appareil P155107HRB PARTNER au format PDF.
| Type d'appareil | Tondeuse autoportée |
| Mode de coupe | Rotatif |
| Largeur de coupe | Non précisé |
| Hauteur de coupe | Réglable, plusieurs positions |
| Capacité du bac de ramassage | Non précisé |
| Type de moteur | Essence |
| Puissance moteur | Non précisé |
| Transmission | Hydrostatique ou mécanique |
| Nombre de roues | 4 |
| Type de roues | Caoutchouc avec jantes métalliques |
| Direction | Volant |
| Siège | Confortable avec dossier |
| Poids | Non précisé |
| Dimensions | Non précisé |
| Accessoires inclus | Bac de ramassage |
| Normes | CE |
FOIRE AUX QUESTIONS - P155107HRB PARTNER
Questions des utilisateurs sur P155107HRB PARTNER
0 question sur cet appareil. Repondez a celles que vous connaissez ou posez la votre.
Poser une nouvelle question sur cet appareil
Téléchargez la notice de votre Tondeuse à gazon autoportée au format PDF gratuitement ! Retrouvez votre notice P155107HRB - PARTNER et reprennez votre appareil électronique en main. Sur cette page sont publiés tous les documents nécessaires à l'utilisation de votre appareil P155107HRB de la marque PARTNER.
MODE D'EMPLOI P155107HRB PARTNER
Manuel d'instructions
Merci de dire très attentivement le manuel d'instructions. Assurez-vous d'avoir tout compris avant d'utiliser ce tracteur.
Nos nous réservons le croit d'apporter des modifications sans avis préalable.
- Lisez toutes les instructions soignement. Familiarisez vous avec les commandes pour apprendre à utiliser efficacement cette machine.
- Ne jamais autoriser les enfants ou les personnes qui n'auraient pas lu ce manuel d'utilisation à utiliser ce tracteur de pelouse. La règlementation locale peut de plus interdire l'utilisation de telle machine au-dessous d'un certain âge.
- Ne jamais tondre à proximé de personnes, d'enfants ou d'animaux.
- Ne pas oublier que tout utiliseur ou proprieteire d'un tracteur de pelouse est responsable des accidents ou dommages causés à une personne ou a ses biens.
- Ne transportez pas de passagers.
-
Tous les utilisateurs doivent rechercher et obtenir une formation personnelle sérieuse et pratique qui devra insister :
-
sur la nécessité absolue d'être attentif et concentré lorsqu'on utilise un tracteur de pelouse,
- le fait qu'un tracteur de pelouse glissant sur une pente ne pourra pas etre arrete en appuyant simplement sur la pedale de frein.
Les raisons principales de cette perte de contrôle sont :
a) l'adherence insuffisante des pneus,
b) une conduite trop rapide,
c) un freinage insufficient,
d) un tracteur de pelouse inadaptee aux conditions d'utilisation,
e) une mauvaise appréciation des contraintes résultat de la nature du terrain à entretenir et, tout particulièrement de la présence de pentes sur ce terrain,
f) l'attelage incorrect d'une remorque et la mauvaise répartition des masses.
II. PREPARATION
Pour réduire le risque d'incendie - avant l'utilisation, lorsque vous faites le plein et chaque fois que vous cèsez de tondre - inspectez le tracteur et éliminez tous les débris accumulés sur le tracteur, la tondeuse et derrière les protections.
- Pendant la tonte, ne porter que des chaussures solides et des pantalons longs. Ne jamais tandre pieds nus ou chaussede sandales.
- Contrôlez systématiquement et soigneusement l'état de la surface à tondre etsteroler tous les objets susceptibles de devenir des projectiles lors du passage de la machine.
ATTENTION - Le carburant est très inflammable.
- Pour transporter ou stocker le carburant, n'utiliser exclusivement que des recipients concus et approuvés pour ces usages.
- Toujours replir le réservoir de carburant à l'air libre et ne pas fumer pendant le replissage.
- Remplir le réservoir de carburant avant de démarrer le moteur. Ne jamais retirer le bouchon du réservoir et ne jamais rajouter de carburant tant que le moteur est en foctionnement ou qu'il est encore chaud.
Si du carburant a eté renversé, ne pas tenter de dé-marrer le tracteur, mais le pousser hors de la zone où le carburant a eté renversé et éviter de creer une quelconque source de chaleur avant que les vapeurs de carburant ne se soient dissipées. -
Refermer avec précautions les bouchons des réservoirs ou des recipients contenant du carburant pour garantir la sécurité.
-
Remplacer les pots d'échéppement défectueux.
- Avant d'utiliser un tracteur de pelouse, toujours vérifier que les lames, les boulons de lame et le carter de coupe ne sont pas usés ou endommagés. Toujours replacer les lames et les boulons simultanément de façon à éviter tout problème d'équilibrage.
- Sur les tracteurs de pelouse multi-lames, ne pas oublier que la rotation d'une lame peut entraîner celle des autres.
III. UTILISATION
- Ne jamais demarrer un moteur à l'intérieur dans un espace confiné ou des émanations dangereuses de monoxyde de carbone pourraient s'accumulées.
Tondre uniquement à la lumière du jour ou avec une bonne luzière artificielle. - Avant de tenter de démarrer le moteur, s'assurer que les lames sont débrayées et que la boîte de vitesses est au point mort.
- Ne jamais utiliser un tracteur de pelouse sur des pentes supérieures à 15^ .
-
Se souvenir qu'il n'este pas de pente «sûre», Conduire sur des pentes herbeuses demande une attention particulière. Afin d'éviter tout risque de returnement du tracteur, appliquer avec soin les consignes suivantes :
-
ne pas s'arrête ou démarrer brusquement dans une pente,
- embrayer doucement et ne jamais arrêté le tracteur de pelouse dans une pente, et plus particulièrement dans le sens de la descente.
- conduire toujours lentement dans les pentes, tout comme dans les virages serrés,
- faire attention aux irrégularités du terrain,
-
ne jamais tONDRE en travers d'une pente, à moins que le tracteur de pelouse n'ait eté spécialement concu à cet effet.
-
Faire attention lors de la traction de charges ou lors de l'utilisation d'équipements lourds.
-
N'utiliser que des points d'attelage approuviés.
- Limiter les charges à celles qu'il est possible de contrôler avec sécurité.
- Ne pastourner trop brusquement. Rester très prudent lors des conduites en marche arrière.
-
Utiliser les masses de roues oules contrepoids lorsqu'ils sont conseillés dans ce manuel d'utilisation.
-
Faire attention à la circulation lorsque l'on doit utiliser le tracteur près d'une route ou lorsqu'on doit traverser une route.
- Toujours stoper la rotation des lames lorsqu'on doit traverser une surface autre que du gazon.
- Lors de l'utilisation d'accessoires, ne jamais les utiliser ou les déposer à proximité de celui qu'un.
- Ne jamais utiliser le tracteur à gazon avec un déflecteur ou protecteur défectueux, ou sans les dispositifs de protection en place.
-
Conserver le régime de rotation du moteur et ne jamais le faire fonctionner au dessus de son régime nominal car cela peut être dangereux.
Avant de quitter le siege: -
débrayer les lames et abaiser le carter de coupe,
-mettre le levier de vitesse au point mort et enclencher le frein de parking, -
arrête le moteur et prisoner les clés,
-
Débrayer les lames, arrêté le moteur, et débrancher le (s) fil (s) de (s) bougie (s) d'allumage ou retarder la cléf de contact :
-
avant de retirer l'insert broyeur ou avant de retirer la goulotte d'éjection pour la nettoyer.
- avant de contrôle, nettoyer ou travailler sur le carter de coupe,
- avant de retirer un objet coincide dans le tracteur de pelouse. Dans ce cas inspector aussitot la machine pour s'assurer qu'elle n'est pas endommagée et, si nécessaire, faire ou faire faire impérativement les réparations avant de la remettre en marche et de la faire fonctionner à nouveau.
-
si lam machine commence à fibrer anormalement. Dans ce cas vérifier immédiatement le carter de coupe.
-
Débrayer systématiquement les lames quand le tracteur n'est pas utilisé ou quand il doit être transporte.
Débrayer les lames puis arrêté le moteur : -
avant de faire le plein d'essence,
- avant d'enlever le collecteur,
- avant de régler la hauteur de coupe à moins que ce réglage ne puisse s'effectuer du poste de conduite.
Lorsque la tonte est terminée, réduire les gaz avant de couper le moteur et, si le tracteur de pelouse est équipée d'un robinet d'arrêt du carburant, fermer celui-ci.
IV. ENTRETIEN ET ENTREPOSAGE
- S'assurer que tous les écrous, boulons et vis sont bien serrés pour être certain que l'équipement est pré à fonctionner de nouveau, dans de bonnes conditions.
- Ne jamais entreposer le tracteur de pelouse avec du carburant dans le réservoir, dans un bâtiment où les vapeurs pourraient s'enflammer au contact d'une flamme ou d'une étincelle de l'allumage.
- Attendre le refroidissement du moteur avant d'entreposer la tondeuse autoportée dans un espace fermé.
Pour supprimer les risques d'incendie s'assurer que le moteur, le pot d'échéppement, le logement de la batterie et du réservoir de carburant ne sont pas encrassés par de l'herbe, des feuilles ou des surplus de graisse. - Vérifier souvent le bac ou le collecteur pour vous assurer qu'il est propre et qu'il n'est pas endommagé.
Pour plus de sécurité, remplacer systématiquement les pieces usées ou détiériorées. - Si le réservoir de carburant doit être vidangié, procéder à cette opération à l'extérieur.
- Sur les tracteur de pelouse multi-lames, ne pas oublier que la rotation d'une lame peut entraîner celle des autres.
- Quand le tracteur de pelouse est garé, entreposé ou tout simplement inutilisé, régler la hauteur de coupe dans sa position la plus)basse.

ATTENTION: Toujours débrancher le fil de la bougie d'allumage et le placer de telle sorte qu'il ne puisse, enaucun cas,enter en contact avec la bougie afin de prévenir les démarrages accidentels, lors du montage, du transport, des réglages ou des réparations.

I. INSTRUCCION
Consultez le manuel pour connaître
les Modes de fonctionnement sure
Risque d'incendie provoqué
par l'accumulation de débris.
AVERTISSEMENT : Veuillez dire le Manuel d'utilisation du moteur -
Risques d'incendie - Fumées ou gaz toxiques
PRUDENCE : Risque d'accrochage des doiguits ou de la main – courroie de transmission
FR Montage du volant de direction
Monter les composants du volant de direction en suivant l'ordre indiqué.
- S'assurer que les roues avant sont alignées et que la traverse mediane du volant est perpandiculaire a l'axe du tracteur.
(ES) Ajuste del volante
Retirer le bouton de réglage et la rondelle plate qui fixent le siège à l'emballage de carton, le conserver pour le montage du siège sur le tracteur.
Basculer le siège vers le haut et le sortir de l'emballage de carton. Se débarrasser ensuite de l'emballage.
Placer le siège sur son embase de façon que la tête de la vis à épaulement se place dans le trou à l'extrémité de la large fente de l'embase (1).
Pousser le siège vers le bas pour engager la vis à épaulement dans la fente puis repousser le siège vers l'arrière du tracteur.
La position du siège seul, par rapport à la position de la pédale de frein et d'embrayage, est régliable. Rechercher une position ASSISE correcte en déplacant le siège vers l'avant ou vers l'arrière. Serrer ensuite à fond la vis de réglage (2).
ES Asiento
Vérifier que le cable électrique est bien connecté sur le contacteur de sécurité (3) place sous l'embase du siège.
ES NOTA!
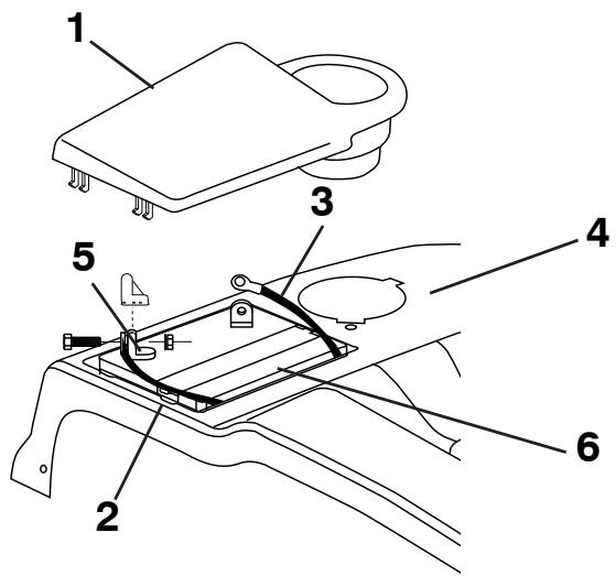
(FR) 1. Capotage de batterie
- Cable (+)
- Câble (-)
- Carrosserie
- Borne de la batterie
- Batterie
NL 1. Accudeksel
2. Kabel positieve (+)
3. Kabel negative (-)
4. Stootwand
5. Accuklem
6. Accu

GB Install battery
FR Mise en place de la batterie
REMARQUE: Si la batterie est mise en service au-delà de l'année et du mois indiqués sur l'étiquette, recharger la batterie, pendant une heures au moins, à 6-10 A.
ATTENTION: Avant de mettre en place la batterie, prendre la précaution de retarder gourmette, montre-bracelet, anneau, etc. Leur contact avec la batterie pouvant entraîner des brûlures.
- Retirer le capotage de la batterie
ATTENTION: Laborne positive doit être connectée la première fois, ainsi que les étincelles qui peuvent se produire à la suite d'une mise à la masse accidentelle.
Retirer les capuchons de protection des bornes et lesmettre de cote. Placer la batterie dans son logement, les bornes du cote extérieur. Raccorder en premier le cable rouge (+) à la borne positive de la batterie puis le cable noir (-) à la borne négative. Fixer les deux cables à l'aide des vis et des écrous fournis. Graisser les bornes de la batterie avec uneGRAISSERésistanté à l'humidité (vaseline) afin d'éviter la corrosion. Replacer le capotage de la batterie.

FR REGLAGE DES ROULETTEs DE JAUGE (le cas échéant)
Les roulettes de jauge sont correctement régles lorsqu'elles se trouvent légèrement au-dessus du sol pendant la tonte, le carter de coupe étant à la hauteur désirée pour la coupe.
- Régler les roulettes de jauge lorsque le tracteur se trouve sur un terrain plat.
- Régler le carter de coupe à la hauteur de coupe désirée.
Lorsque le carter de coupe est à la hauteur souhaitée, la roulette de jauge doit être placeé légèrement au dessus du sol. Fixer la roulette de jauge dans le trou approprié du supportitué sur le carter de coupe à l'aide de la boulon, de la rondelle plate et de l'écrou frein. Serrer à fond. - Répéter cette opération pour l'autre côté en plaçant la seconde roulette dans le trou correspondant à celui utilisé pour la première roulette de jauge.
Assemblage des composants du collecteur

- Goulotte d'éjection
- Ecrou 3/8
-
Rondelle plate
-
Retirer la goulotte d'éjection (1). Pour cela, libérer les deux attaches élastiques à l'arrière du tracteur et tirer la goulotte d'éjection hors du tracteur.
- Dévisser et-retirer les deux écrous ainsi que les deux rondelles plates des vis situées sur le panneau arrière du tracteur (Voir figure).

- Ecrou frein diam. 3.8
- Rondelle plate
-
Chássis porteur.
-
A l'aide des écrous et des rondelles plates qui ont été retirés précédement du panneau arrêté du tracteur, assembler le châssis porteur du collecteur sur le panneau arrêté comme indiqué sur la figure.

- Bras support supérieur
- Cheville de fixation 10x17mm
- Ecrou frein 3/8
- Vis H 3/8 x 63,5
- Rondelle plate diam. 10,3 mm (13/32")
-
Epingle
-
Positionner les deux bras supports supérieurs à travers le panneau arrêté du tracteur et puis insérer la chevelle 10 × 17 ~mm et la bloquer à l'aide de l'épingle.
- Assembler chacun des deux bras supports à la face extérieure des tubes verticaux du chassin porteur du collecteur à l'aide des deux vis à tête hexagonale 3/8 x 63,5 mm, des deux rondelles plates 13/32" et des deux écrous frein 3/8 contenus dans la pochette de pieces détachées. Serrer à fond.

- Crochet
- Goulotte d'éjection
-
Trous dans le panneau arrière du tracteur
-
Replacement la goulotte d'éjection dans son logement au travers de la trappe d'éjection du panneau arrêté. Immobiliser la goulotte avec les deux attaches élastiques (Voir figure).
NOTE: Les crochets des attaches élastiques doivent être accrochés uniquement aux trous prévus à cet effet dans la goulotte d'éjection (2) (Voir figure). Ne pas laisser les crochets pénétrer dans les trous du panneau arrêté du tracteur (3) (Voir figure). ce qui empêcherait la goulotte d'éjection de flotter avec le carter de coupe lorsque le tracteur se déplace sur un terrain irrégulier.
- Armature frontale
- Bande d'étanchéité en vinyle

- Entreposes
- Epingle
- Bande d'étanchéité en vinyle


- Levier de vidage du collecteur
- Cheville de fixation 10 × 44mm
- Epingle
-
Chapeau
-
Le capotage du collecteur doit etre aligné sur le capotage des ailes arrieres du tracteur
- Crochet régliable pour la fixation du collecteur
- Etrier de réglage de la position du collecteur
- Loquet de l'ensacheur

6MM (1 / 4^ ) -9MM (3 / 8^ )

Pour assembler le collecteur
Déplier le sac en faisant basculer complètement vers l'avant le tube antérieur de l'ensacheuse et en poussant la cordure inférieure en vinyle sur le tube.
- Dans le sac, placer les entreprises et les ressorts de retenue sur les goupilles des deux côtés du sac, de la façon illustrée.
- Enconcer les cordures en vinyle sur les deux cots du tube antérieur de l'ensacheuse.
- Insérer le levier de vidage du collecteur dans le trou prévu à cet effet sur le capotage supérieur du collecteur, puis insérer la cheville et la bloquer à l'aide de l'épingle.
- Poussez le chapeau au-dessus de l'extrémité de la poignée de décharge du sac.
REMARQUE : Ultérieurement la cheville et l'épingle pourront être retirees de façon à permettre l'utilisation du levier de vidage pour débourrer, si besoin est, le canal d'éjection du tracteur.
Positionnement du collecteur
Pour optimiser le fonctionnement du collecteur et son appar-. ence, il est nécessaire de le positionner correctement. Il doit y avoir un jeu de 6 à 9 mm entre le collecteur et la partie arrriere du tracteur. La surface supérieure du capotage du collecteur doit se situer exactement dans l'alignement de la surface supérieure du capotage des ailes arrieres du tracteur.
Réglage de la position horizontale
- Desserrer les écrous de fixation des crochets d'attelage du collecteur sur les étriers de réglage droit et gauche. Desserrer au minimum afin que les éléments gardent leur position mais puissant néanmoins être déplacés légèrement.
- Déplacer les crochets en avant ou en arrêté, juste de ce qu'il faut pour obtenir la bonne position du collecteur dans le plan horizontal. Bien presserrer les écrous.
Réglage de la position verticale
- Desserrer les écrous de fixation des étriers de réglage du collecteur permettant le réglage dans le plan vertical. Desserrer au minimum afin que les éléments gardent leur position mais puissant néanmoins être déplacés légèrement.
- Déplacer les étriers vers le haut ou vers le bas, juste de ce qu'il faut pour obtenir la bonne position du collecteur dans le plan vertical. Bien resserrer les écrous.
- Repositionner le collecteur sur ses crochets d'attelage afin d'en vérifier l'ajustement. Si le résultat n'est pas conforme aux instructions, repeter les opérations ci-dessus jusqu'à obtention d'un ajustage parfait.
Lorsque le réglage est correct, otez l'ensacheur du tracteur et montez le loquet de l'ensacheur (4) sur la plaque arrêté du tracteur de la façon illustrée. Serrez solidement. - Installez et baises prudemment l'ensacheuse pour actionner le loquet.
- Mesurez la distance entre l'ensacheuse et le loquet de la façon illustrée. Si la distance n'est pas égale à 10mm - 16mm, otez prudemment l'ensacheuse et répétez le réglage vertical.

Pour optimiser les fonctions ramassage, broyage ou éjection, se reporter au (chapitre 5) de ce manuel d'utilisation.

FR Pour assembler l'insert broyeur (si équipé)
Retirer I'epingle et I'axe de fixation.
- Insérer la tête de l'insert dans la poignée. Vérifier que les lettres A et B, moulées sur chacune des parties, se trouvent bien du même côté sur la tête et sur la poignée de l'insert, et si elles sont visibles du dessus lorsque l'insert est posé sur le sol.
- Insérer ensuite l'axe de fixation à travers les trouss prévus à cet effet dans les deux parties de l'insert et le bloquer à l'aide de l'épingle. Pourmettre en place l'insert (et pour passer de la fonction broyage à la fonction éjection arriere),se reporter au chapitre 5 de ce manuel.
GB1. Handle
- Retainer Spring
- Pin
- Plug
(ES) 1. Mango
- Resorte fijador
- Clavija
- Tapon o tapa
DE1. Handgriff
- Fixierfeder
- Stift
-
Stöpsel
-
Impugnatura
- Coppiglia
- Perno
- Kit Mulching
(FR) 1. Poignée de l'insert
- Epingle
- Axe de fixation
- Tête del insert
NL 1. Hendel
2. Sluitveer
3. Pen
4. Plug
3. Description du fonctionnement.
FR Emplacement des commandes
- Interrupteur de commande des phares.
- Commande des gaz (Accéléateur).
- Pedale d'embrayage et de frein.
- Levier de commande dela transmission hydrostatique.
- Embrayage/débrayage du carter de coupe.
- Relevage et abaisissement du carter de coupe.
- Clé de contact/démarrage.
- Frein de parking.
- Blocage/déblocage de la roue libre.
- Starter.
FR 2. Commande des gaz
La commande des gaz permet de faire varier le régime du moteur et donc la vitesse de rotation des lames.

ES 2. Accelerator
FR 3. Pédale d'embrayage et de frein
En appuyant sur cette pédale, la transmission se débraye et le frein entre en action simultanément.
ES 3. Pedal de freno y de embrague
4. Levier de commande de la transmission hydrostatique
Le levier peut etre place dans quatre positions differentes :
N = Position neutre
S = Vitesse lente
F = Vitesse rapide
R = Marche arrêté
Le levier peut être déplace progressivement de S à F afin d'obtenir la vitesse désirée.

5. Commande d'embrayage et de débrayage du carter de coupe
Pousser le levier vers l'avant et le verrouiller pour embrayer le carter de coupe. Les courroies d'entrainment seront alors en tension et les lames commenceront à tourner. Ramener le levier vers l'arrière pour débrayer le carter de coupe, les lames seront alors freinées par le frottement des patins de frein sur les poulies d'entrainment.

6. Relevage et abaisissement du carter de coupe
Tirer sur le levier vers l'arrière (1) pour relever rapidement le carter de coupe lors du passage sur une surface accidentee. Pour le transport, le carter de coupe doit etre dans sa position la plus elevée (releve au maximum). Pour cela, tirer le levier vers l'arriere jusqu'à sa butee. Pour abaiser le carter de coupe, tirer légèrement le levier vers l'arrière (1) puis enforcer le bouton poussoir (2) situé sur le dessus du levier, ramener ensuite le levier vers l'avant (3) en maintainant la pression sur le bouton poussoir.

FR 7. Clé de contact et de démarrage
La clé de contact possède trois positions :
OFF Le circuitélectrique est coupé (eteint)
ROS ON Sécurité Marche Arrière (ROS) branchée
ON Le circuitélectrique est fermé(allumé)
START Le démarreur du moteur est alimenté
Le dispositif de sécurité marche arrêté permet de faire fonctionner une fauchese ou tout autre équipement quand la marche arrêté est enclenchée (Voir Section 5 - "Conduite")
ATTENTION!
Lorsque la machine doit rester sans surveillance, même pour un court instant, toujours arrêté le moteur,mettre le levier de commande de vitesse au point mort (Neutre) etsterol la clé de contact.
8. Frein de stationnement
Pour enclencher le frein de stationnement :
- Enfoncer à fond la pédale d'embrayage/frein.
- Relever vers le haut le levier du frein de stationnement et le maintainir dans cette position.
- Relâcher la pédale d'embrayage/frein. Relâcher le levier du frein de stationnement qui restera dans sa position verrouillée (en haut).
Pour desserrer le frein de parking, il suffit d'enconcer la pédale d'embrayage/frein pour que le levier du frein de parking soit déverrouillé et qu'il revienne automatiquement dans sa position de repos.

FR 9. Blocage et déblocage de la roue libre
Pour remorquer ou déplacer le tracteur sans l'aide du moteur, la commande de roue libre, qui se trouvesur le tablier arrêté du châssis du tracteur, doit être tirée vers l'extérieur et bloquée dans cette position.
ES 9. Acoplamento y desacoplamento de rueda libre
Lorsque le moteur est froid, tirer le bouton de commande du starter avant d'essayer de démarrer. Dès que le moteur a démarré et tourne régulièrement, repousser le bouton de commande.
4. Avant de démarrer. 4. Antes del arranque.
Utiliser de l'essence pure (sans ajouter d'huile) sans plomb. Remplir le réservoir jusqu'au bord inférieur de l'orifice de replissage, jamais plus haut.
ATTENTION!
L'essence est un produit inflammable. Prendre les précautions nécessaires et faire le plein en extérieur. Ne jamais fumer lors du replissage du réservoir, ou à proximité, et ne pas refaire le plein tant que le moteur est encore chaud. Ne pas trop replir le réservoir, penser à l'expansion de l'essence à la chaleur ce qui risquerait d'entrainer le débordement du réservoir. Tout jours s'assurer, après le plein, que le bouchon du réservoir est correctement visse et serré. Conserver l'essence dans un recipient spécifique concu à cet effet et dans un local frais et aéré. Vérifier régulièrement le réservoir et le circuit d'alimentation en carburant.
L'orifice de replissage avec son bouchon/jauge est accessible après basculement du capot moteur vers l'avant. Le niveau d'huile du moteur doit être contrôle avant chaque utilisation. S'assurer que le tracteur se trouve bien à plat, dévisser le bouchon avec sa jauge, essayer cette dernière. Remettre en place le bouchon/jauge et le revisser. Attendre quelques secondes et-retirer à nouveau la jauge. Contrôler le niveau de l'huile sur la jauge.

FR Pression de gonflage des pneus
Vérifier régulièrement la pression de gonflage des pneus. La pression de l'air dans les pneus doit être de 1 bar pour les roues avant et de 0,8 bar pour les roues arrirées.
S'assurer préalablement, que le carter de coupe est en position de transport (c'est à dire : relevé au maximum) et que le levier d'embrayage et de débrayage du carter de coupe est en position "débrayée" (voir figure).

Arranque del motor
Enconcer complètement la pédale d'embrayage/frein.
S'assurer également que le levier de modification de la vitesse d'avancement est sur la position "Neutre" (point-mort).

Si le moteur est froid : Tirer la commande de starter.

Amener la clé de contact sur la position "Démarriage" (FR) ("START").
REMARQUE!
Ne pas laisser tourner le démarre plus de 5 secondes à chaque fois. Si le moteur ne démarre pas immédiatement, attendre une dizaine de secondes avant d'effectuer une nouvelle tentative.
Pour assurer un fonctionnement et un rendement corrects, il est recommandé de purger la transmission avant d'utiliser le tracteur pour la première fois. Cette opération supprimera l'air emprisonné à l'intérieur de la transmission pendant le transport du tracteur.
ATTENTION! SI LA TRANSMISSION A ETE DEPOSE POURSONENTRETIEN OUSON REMPLACEMENT,ELLE DEVRA ETRE PURGEE APRES SON REMONTAGE ET AVANT REUTILISATION DU TRACTEUR.
- Placer le tracteur sur une surface plane afin qu'il ne puisse pas rouler dans aucune direction. Le frein de stationnement doit être desserré pour effectuer les opérations suivantes.
Débrayer la transmission en plaçant la commande de roue libre sur sa position de marche en roue libre (Se référer à la section "TRANSPORT" de ce livre). - Demarrer le moteur etmettre la commande des gaz en position de ralenti. S'assurer que le frein de stationnement n'est pas serré.
- Déplacer à fond le levier de commande d'avancement en position de marche avant et le maintainir ainsi pendant 5 secondes. Déplacer ensuite à fond le levier en position de marche arrêté et le maintainir ainsi pendant 5 secondes. Répéter ces opérations 3 fois de suite.
- Déplacer le levier de commande d'avancement en position de point mort (N).
- Arrête le moteur du tracteur en amenant la clé de contact sur sa position d'arrêt (OFF).
- Embrayer à nouveau la transmission en replacant la commande de roue libre dans sa position "embrayée" (Voir section "TRANSPORT de ce manuel).
Redémarrer le moteur et placer la commande des gaz en position de ralenti. - Faire avancer le tracteur de 1 à 2 mètres en marche avant, puis de la même distance en marche arière. Répéter cette opération 3 fois de suite.
Le tracteur est maintainant prêt pour une utilisation normale.

PURGAR LA TRANSMISSION
La machine est équipée d'un dispositif de sécurité qui arrête le moteur immédiatement, s'il est encore en fonctionnement, lorsque le conducteur quitte le siege. Le carter de coupe est également muni d'un dispositif de sécurité qui empêche l'embrayage des lames tant que le collecteur ou le déflecteur (en option) ne sont pas correctement mis en place à l'arrêt du tracteur.

NOTA!
Abaisser le carter de coupe en amenant le levier vers l'avant. Relâcher doucement la pédale d'embrayage/frein. Embrayer les lames et placer la commande de vitesse d'avancement sur la vitesse d'avancement désirée. Choisir la vitesse d'avancement en fonction du terrain et de la qualité de toute désirée (Généralement, la position optimale correspond à l'encoche prévue à cet effet au niveau de la commande des gaz).

Conducción
Moteur "ON" (Fonctionnement normal)
Sécurité Marche Arrière (ROS)
Votre tracteur est équipé d'un dispositif de sécurité de fonctionnement en marche arrêté (ROS). Dès que l'opérateur essais d'enclencher la marche arrêté en actionnant l'embrayage de l'équipment, le moteur s'arrêté si la clé de contact n'est pas en position ROS "ON" (sécurities marche arrêté).
ATTENTION! Il est fortement déconseilé de faire marche arrirée avec l'embrayage de l'équipement enclenché. Mettre la sécurité ROS en position "ON" pour faire marche arrirée avec l'embrayage de l'équipement enclenché uniquement lorsque l'opérateur decide que cette opération est nécessaire pour repositionner le tracteur avec l'équipement enclenché.
N'utiliser la faucheuse en marche arrêté que si c'est absolument nécessaire.
UTILISATION DU DISPOSITIF DE SECURITE ROS
- Mettre le levier de contrôle sur la position neutre (N).
- Laisser tournier le moteur et tourner la clé de contact vers la gauche sur ROS "Marche" (ON).
- Regarder en bas et derrière avant de faire marche arriere.
- Déplacer lentement le levier de contrôle sur la position marche arrrière (R) pour faire reculer le tracteur.
- Quand les manoeuvres avec le dispositif ROS sont terminées, tourner la clé de contact vers la droite sur la position Moteur "Marche" (ON).

Conseils pour la tonte
- Retirer de la pelouse, les pierres et autres objets qui pouraient être propulsés par les lames et doivent ainsi des projectiles dangereux.
- Localiser et marquer les pierres et autres obstacles fixes afin d'eviter une éventuelle collision pendant la tonte.
- Commencer par couper assez haut, puis réduire progressivement cette hauteur de coupe jusqu'à obtention du résultat souhaité.
- Le meilleur résultat de coupe sera obtenu avec un régime de rotation du moteur élevé (Les lames tournent très vite) et une vitesse d'avancement réduite (Le tracteur avance lentement). Si l'herbe n'est pas trop longue, ni trop épaissé, vous pouze augmenter la vitesse en passant une vitesse supérieure ou en augmentant la vitesse du moteur, sans compromètement le résultat final.
- Les plus belles pelouses sont celles qui sont tondues souvent. La coupe est plus régulière et l'herbe est mieux répartie sur la surface. Le temps passé pour effectuer la tonte ne sera pas nécessairement plus important, car la vitesse d'avancement pourra être plus élevé sans que l'aspect de la pelouse n'en soit affecté.
- Eviter de tandre une pelouse mouillée, car la qualité de la coupe ne pourrait être correcte du fait de l'enforcement des roues du tracteur dans le sol.
- Nettoyer le carter de coupe, et en particulier le fond, au jet ou au nettoyeur à haute pression, après chaque utilisation. Une raclette peut être utile pour décoller l'herbe fraîche du carter ou de la goulotte d'éjection.

Votre tracteur est équipé d'une alarme sonore qui vous avertit lorsque le bac est plein. Pour arrêter l'alarme, débrayer les lames.
- Amener le tracteur la ou vous souhaitez le décharger.
- Vérifier que la boîte de vitesse est au point mort. Engagez le frein de stationnement.
- Tirer le leiver de vidange du bac vers le haut puis vers l'avant afin d'ouvrir le bac et vider l'herbe coupée.
- Remetre ensuite le levier dans sa position initiale. Vérifier que le collecteur est bien reféré et qu'il se trouve dans la bonne position avant de réembrayer les lames.

Pour passer d'une fonction à une autre :
Les fonctions "broyage" et "éjection arrêtée" requirement la mise en place de dispositifs appropriés.
Pour broyer
- Placer le carter de coupe en position haute.
- Retirer le collecteur ou le déflecteur arrêté (en option).
- Décrocher les deux attaches élastiques et retarder la goulotte d'éjection.
- Mettre en place l'ensemble de l'insert de broyage avec sa poignée dans la trappe d'éjection du panneau arrêté et vérifier que l'insert obture bien le conduit du carter de coupe.
- Immobiliser les deux cotsés de la poignée de l'insert en fixant les crochets des deux attaches élastiques dans les trous d'ancrage prévus à cet effet de part et d'autre de la trappe d'éjection.
- Remetre en place le collecteur ou le déflecteur optionnel à l'arrière du tracteur. Ceci est indispensable pour tandre du fait du contacteur de sécurité situé au niveau du panneau arrière.
Pour éjecter à l'arrière
- Mettre le carter de coupe en position haute.
Déposer le collecteur ou l'insert broyeur. - Remetre en place la goulotte au travers de la trappe d'éjection sur le panneau arrière du tracteur.
- Immobiliser la goulotte d'éjection en fixant les deux attaches élastiques dans les troups prévus à cet effet de part et d'autre de la trappe d'éjection.
- Mettre en place le déflecteur, en option, contre le panneau arrêté du tracteur en vissant les quatre vis papillons dans les inserts filetés correspondants qui se trouvent sur le panneau.
Bien serrer les quatre vis papillons.
Pour ramasser
- Mettre le carter de coupe en position haute.
Déposer le déflecteur en option ou l'insert broyeur. - Remetre en place la goulotte au travers de la trappe d'éjection sur le panneau arrière du tracteur.
- Immobiliser la goulotte d'éjection en fixant les deux attaches élastiques dans les troups prévus à cet effet de part et d'autre de la trappe d'éjection.
- Ne jamais utiliser un tracteur sur des pentes excédant 15^ . Les risques de renversement étant alors très importantes.
- Ne jamais rouler parallètement à la pente du fait des risques de renversement. Tout jours rouler perpendicularément à la pente, aussi bien en montant, qu'en descendant.
- Ne jamais arrêté ou démarrer un tracteur en pente.

ADVERTENCIA!
Ne jamais laisser la clé de contact sur la machine lorsqu'elle reste sans surveillance afin d'éviter que des enfants ou autres personnes non autorisées ne puissant démarrer le moteur.

Extinction du moteur
Déplacez la commande de débrayage pour libérer la position. Déplacez la commande des gaz à mi-chemin entre la mi-vitesse et la vitesse maximum (rapide). Levez la barre de coupe et faites tourner la clé de contact sur STOP.

Apagar el motor
Avant toute intervention sur le moteur ou le carter de coupe suivre les instructions ci-dessous:
- Enconcer la pédale d'embrayage/frein pour verrouiller le frein de stationnement.
- Déplacer le levier de commande d'avancement en position de point mort.
Débrayer les lames. - Arrête le moteur.
- Débrancher le cable d'allumage de la bougie.

ADVERTENCIA!
Relever le capot,
- Debrancher les phares,
- Àprous s'être placé devant le tracteur, prendre le capot par les côtés, le faire basculer vers l'avant puis le soulever pour le libérer des encoches qui le retiennent au chassis.
Pour le remettre en place, repositionner les ergots du capot dans les encoches du chassin.
Rebrancher les phares et refermer le capot.
REMARQUE: Le tracteur doit être entretenu régulièrement afin de maintainir ses performances.
ATTENTION! Toujours débrancher le fil de la bougie, afin d'eviter tout démarrage accidentel, lors d'une réparation, d'une inspection ou d'une opération de maintenance.
Avant chaque utilisation :
- Contrôler le niveau d'huile et lubrifier, si nécessaire, les points d'articulation,
- Vérifier que tous les boulons, écrous et épingle sont en place et solidement fixés,
- Contrôler la batterie, ses cosses et sa mise à l'air libre,
La recharger doucement à 6 ampères, si nécessaire,
Nettoyer la grille de ventilation du moteur,
Nettoyer le filtré à air, - Nettoyer le tracteur afin d'évacuer la poussière et les brindilles qui risqueraient d'endommager le moteur ou de provoquer un échauffement anomal.
Vérifier le fonctionnement du frein.
Nettoyage
N'utilisez pas de nettoyeur haute pression pour le lavage. L'eau pourrait s'infiltrer dans le moteur et abréger ainsi la durée de l'appareil.
E5 Mantenimiento
PRUDENCE: Si le moteur a tourné pendant une période prolongée juste avant la vidange de l'huile, l'huile sera chaude.
Glissez le bec de vidange sur le chassin, sous l'orifice de vidange.
- Placez un écipient sous le bec pour récapérer l'huile.
- Dévissez et enlevez le bouchon de vidange à l'aide d'une clé à douille de 1/2 pouce (12 points) (rallonge recommandée).
Vidangez l'huile a travers le bec de vidange.
- Refermez le bouchon de vidange d'huile
ATTENTION: Ne serrez pas excessivement(13 Ft. Lbs./18 Nm).
- Orifice de vidange d'huile
- Bec de vidange d'huile
- Bouchon de vidange d'huile

PARACAMBIAR EL ACEITE

Consigner les dates d'intervention après chaque opération d'entretien.
| Selon les besoins | Toutes les 8 H | Toutes les 25 H | Toutes les 50 H | Toutes les 100 H | Toutes les 200 H | |
| Vidange de l'huile moteur(sans filtré à huile) | • | |||||
| Vidange de l'huile moteur(avec filtré à huile) | • | |||||
| Graissage des articulations | • | |||||
| Vérification des freins | ||||||
| Nettoyage de la grille d'aération | • | |||||
| Nettoyage du filtré à air et du pré-filtre | • | |||||
| Remplacement de la cartouche du filtré à air | • | |||||
| Nettoyage des ailettes defréroidissement moteur | • | |||||
| Remplacement de la bougie | • | |||||
| Vérification du gonflage des pneus | • | |||||
| Remplacement du filtré à carburant | • | |||||
| Nettoyage des cosses de la batterie et des connexions | • | |||||
| Vérification du pot d'échéppement | • | |||||
| Graissage des joints | • | |||||
| Réglage du parallélisme | ||||||
| Réglage du carburateur |

INFORME DE SERVICIO
Système de détction opérateur et sécurité de marche arrière (ROS)
S'assurer que les dispositifs de sécurité (présence opérateur et marche arrrière) fonctionnement correctement. Si votre tracteur ne fonctionne pas comme il est décrit plus haut,.Remédier au problème immédiatement.
Le moteur ne devrait pas demarrer si la pedale du frein n'est pas complètement appuyée et si l'embrayage de l'équipement n'est pas relchéé.
VERIFIER LE CAPTEUR DE PRESENCE OPERATEUR :
- Le moteur s'arrêtechaque fois que l'opérateur se lève de son siège sans avoir d'abord enclenché le frein de stationnement.
Le moteur s'arrêtechaque fois que l'opérateur se levede son siège et que l'embrayage de l'équipement estenclenché. - L'embrayage de l'équipment ne devrait jamais être enclenché si l'opérateur n'est pas assist dans son siège.


VERIFIER LE DISPOSITIF DE SECURITE MARCHE ARRIERE (ROS):
Le moteur s'arrêtechaque fois que l'opérateur essaie d'enclencher la marche arrière quand la clé de contact est sur la position Moteur "Marche"(ON) et que l'embrayage de l'équipment est enclenché.
Le moteur s'arrêtechaque fois que l'opérateur essaie d'enclencher la marche arrière quand la clé de contact est en position ROS "Marche" (ON) et que l'embrayage de I'équipment est enclenché.

Les lames doivent être parfaitement affutés pour obtenir une belle coupe. L'affutage peut être réalisé à l'aide d'une lime ou d'une meule.
REMARQUE: Il est très important d'affuter les deux extrémites de la lame de façon identique afin d'eviter tout déséquilibrage.

2.
1.
GB 5-Star pattern blade w/ right hand threaded bolt
DE Messerbohrung mit fünfe-ckiger Aussparung, Gewin-debolzen mit Rechtsgewinde.
FR Lame avec orifice de fixation central (etoile a cinq branches) avec pas de vis à droite
ES Filo cortador de orificioestrella se cinco puntas y un tornillo dextrogiro
IT un tornillo dextrogiro Lama affettata con aperture stella cinque (5) punte e bollone filettato a destra
GB 6-Star pattern blade w/ left hand threaded bolt
DE Messerbohrung mit sechseckiger Aussparung, Gewindebolzen mit Linksgewinde
FR Lame avec orifice de fixation central (étoile à 6 six branches) avec pas de vis à gauche
(ES) Filo cortador de orificio-estrella de seis punyas y un tornillo levogiro
Lama affettata con aperture stella a sei (6) punte e bol-lone fillettato a sinistra
NL Mes met 6- hoeleige ster enlinksgangig schroefdraad
E5 Cuchillas
ATTENTION: Les deux lames de la tondeuse sont différentes et chacune d'entre elles doit etreinstalleea sa place dans le carter de coupe. Il est vivement conseilé de travailler sur une lame à la fois pour s'assurer du bon assemblage des composants.
(FR) 1. Boulon de type hexagonal avec filtage à droite
- Circlips
- Rondelle plate
-
Lame
-
Orificedefixationcentral (étoile)à cinq branches.
- Moyeu
- Volute
- Support de lame
(FR) 1. Boulon de type hexagonal avec filtage à gauche
- Circlips
- Rondelle plate
-
Lame
-
Orifice de fixation central (étoile) à six branches
- Moyeu
- Volute
- Support de lame.
GB 5 Star pattern blade
Lame avec orifice de fixation central (étoil à cinq branches):
Cette lame est fixée au moyen par un boulon avec filtage à droite. On desserre le boulon en le faisant tourner dans le jeu inverse des aiguilles d'une montre et on le reisserre en le faisant tourner dans le sens des aiguilles d'une montre.
GB 6 Star pattern blade
FR Lame avec orifice de fixation central (étoile à six branches):
Cette lame est fixée au moyen par un boulon avec filtaga à gauche. On déserre le boulon en le faisant tourner dans le sens des aiguilles d'une montre et on le resserre en le faisant tourner dans le sens inverse.


FR Pour avoir une bonne qualite de coupe, il est indispensable que les lames soient bien affuutes. Remplacer immediatement les lames endommagées ou tordues.
POUR REMPLACER LES LAMES:
- Relever le carter de coupe au maximum afin d'avoir accès aux lames.
- Devisser la vis à tête hexagonale avec la rondelle frein et la rondelle plate qui fixent la lame sur le moyeu.
- Mettre en place la nouvelle lame, ou la lame d'origine réaffutée, avec le tranchant tourné vers le haut comme indiqué.
ATTENTION: Pour que la lame soit bien montée, l'alésage central en forme d'étoile de la lame doit être parfaitement emboité sur l'étoile du moyeu.
- Revisser la vis à tête hexagonale avec sa rondelle frein et sa rondelle plate en respectant l'ordre prescrit.
- Serrer la vis avec un couple de serrage (37-47 Nm).
ATTENTION: La vis de fixation de la lame a été traitée thermément en classe 8, bien respecter le couple de serrage.
FR Pour Vérifier Le Frein
Le tracteur a besoin de plus de cinq (5) pieds pour s'arrête complètement lorsqu'il est lancé à pleine vitesse et que la vitesse supérieure est engagée, sur une surface en béton sec ou pavée, les freins ont donc besoin d'être entretenus.
Yououpezaussivériviezlefrein en:
- Stationnant le tracteur sur une surface plate, en béton sec ou pavée, en appuyant à fond sur la pédale de frein et en engageant le frein de stationnement.
- Libérrez la transmission en plaçant la commande roue libre dans la position « transmission débrayée ». Tirez la commande roue libre hors de et dans la fente et l'âchez de façon à ce qu'elle reste dans la position débrayée.
Les roues arrêtè doivent se verrouiller et patiner si vous essayez de pousser le tracteur à la main vers l'avant. Siles roues arrêtè tournent, le frein a besoin d'être révisé. Adressez-vous à un service après-vente ou à un mécanicien spécialisé.
ES Controller El Freno
(FR) Depose du Carter de Coupe
Effectuer l'intervention à partir du côté droit du tracteur.
- Sortir la courroie d'entrainment de la gorge de la poulie motrice (1).
- Retirer les deux épingle fixant les bras de suspension arrrière et sorting les bras en tapotant sur leur axe à l'aide d'un marteau.
- Retirer les épingle s (3), (4) et (5) et leur cheville respective.
- Tirer vers l'arrière le levier de commande de releavage du carter de coupe.
- Sortir le carter de coupe de sous le tracteur.
FR Mise en place du carter de coupe
- Pousser le carter de coupe sous le tracteur. Le déflecteur du canal d'éjection doit se trouver du côté droit.
La mise en place se fait dans l'ordre inverse de celui de la dépose.
Remplacement de la courroie d'entrainment du carter de coupe
- Déposer le carter de coupe (voir chapitre précédent).
- Sortir la courroie d'entrainment des gorges de poulie en commencerant par la poulie du côte gauche du carter de coupe, puis par les autres poulies.
- Retirer ensuite entiement la courroie du carter de coupe.
- Pour la mise en place de la nouvelle couroie, précérer dans l'ordre inverse. Vérifier que la couroie est correctement positionnée devant tous les guides de couroie.

FR Réglage du carter de coupe A. Réglage létéral
- Vérifier que la pression, dans les quatre pneus, est correct.
- S'assurer que le tracteur est placé sur une surface plane.
- Relever au maximum le carter de coupe.
- Mesurer les distances A et B.
FR Pour obtenir la coupe la(Meilleure, le bord avant du carter de coupe (B) doit etre situé a 10 mm au-dessous du plan du bord arriere (A).Pour regler la position du bord arriere, proceder de la maniere suivante:
- Desserrer l'écrou (1) sur les biellettes de suspension avant, droite et gauche, du carter de coupe.
- Visser les écrous (2) exactement de la même façon sur les biellettes de suspension avant, droite et.gauche.
- Lorsque la distance (A) est correcte, verrouiller ceréglage en desserrant l'écrou (1).
Relever le carter de coupe au maximum.
- A partir du milieu de chaque extrémités latérales du carter de coupe, mesurer la distance du bord du carter par rapport au sol.
La distance (A) doit être la même des deux cots à 6 mm après.
Si un réglage est nécessaire, ne l'effectuer que d'un seul cotoé en se reférant à l'autre cotoé.
- Abaisser ou soulever un côté du carter de coupe en ajustant la position de l'écrou de réglage de ce côté.
REMARQUE: A trois tours complets de l'écrou de réglage correspond une variation de la hauteur au-dessus du sol, du carter de coupe, de 0,3 cm.
- Contrôler à nouveau la distance au sol après chaque opération de réglage.
FR Remplacement de la courroie d'entrainement
- Désaccoupler le carter de coupe du tracteur comme indiqué précédemment. (Chapitre 6.6).
- Démoner le limiteur de débutement de l'embrayage (1).
- Serrer le frein de stationnement et-retirer la courroie d'entrainment de la poulie de guidage (2),puis de la poulie de tension (3).
- A l'arrière, faire passer la couroie entre deux pales du ventilateur (4) et faire tourner à la main le ventilateur dans le sens inverse des aiguilles d'une montre pour dégager la couroie.
- Enfin, dégager la courroie de la poulie motrice (5).
- Levier de la commande d'avancement
- Encoche de position neutre (N) (point mort)
- Vis de réglage

TRANSAXLE MOTION CONTROL LEVER ADJUSTMENT
Le levier de la commande d'avancement est régé en usine et ne nécessite donc pas d'autres réglages. Pour un réglage eventuel, procéser de la façon suivante :
- Desserrer la vis de réglage (3) située à l'avant de la roue arrrière droite, et la desserrer légèrement.
- Demarrer le moteur et manoeuvrer le levier de la commande d'avancement afin de tracer la position neutre où le tracteur n'avance plus et ne recule plus.
- Maintainir le levier dans cette position et arrêté le moteur.
- Tout en maintainant le levier en place, desserrer la vis de réglage.
- Amener le levier dans l'encôche de position neutre (N) (point mort).
- Serrer à fond la vis de réglage.
REMARQUE: Mettre le carter de coupe en position basse afin de dégager un peu plus d'espace pour effectuer ce réglage.
Après avoir effectué le réglage ci-dessus, si le tracteur peut encore rouler en avant ou en arrêt alors que le levier de la commande d'avancement est au point mort, effectuer les opérations ci-après :
- Desserrer la vis de réglage (3).
- Déplacer le levier de 1/4 à 1 / 2'' (de 5 à 15 mm) dans la direction du déplacement du tracteur.
- Resserer à fond la vis de réglage.
Faire demarrer le moteur et l'essayer. - Si le tracteur continue à rouler, repeter les opérations ci-dessus jusqu'à obtention du résultat souhaïte.

ES1. Palanca de Control Del Movimento
Le ventilateur et les ailettes de refroidissement du carter de transmission doivent être maintainus propres pour assurer un refroidissement correct.
Ne pas essayer de nettoyer le ventilateur ou la transmission tant que le moteur est en fonctionnement ou que la transmission est chaude.
- Vérifier le ventilateur de refroidissement afin de s'assurer que ses pales sont en bon état et propres.
- Vérifier l'état des ailettes de refroidissement du carter de transmission qui ne doivent pas être couvertes de poussière, de résidus de coupe ou d'autres matériaux. Afin d'éviter des fuites eventuelles au niveau des joints, ne pas utiliser d'air compré ou de nettoyeur à haute pression pour nettoyer les ailettes.
FLUIDE DE LA POMPE HYDRAULIQUE
La transmission est scelledée en usine et il n'est donc pas nécessaire de contrôler ou de parfaire le niveau du fluide. Dans le cas où la transmission présenteait une fuite ou nécessiterait une intervention, contacter un réparateur/agréed de la marque de la transmission.
FR Le moteur ne démarre pas
- Manque de carburant dans le réservoir.
- Bougie d'allumage defectueuse.
- Le câblage de la bougie d'allumage défectueux.
- Il y a des impuretés dans le carburateur ou dans le circuit du carburant.
Le démarre n'entraine pas le moteur
- La batterie est décharge.
- Mauvais contact entre les cosses des cables de batterie et les bornes de la batterie.
- Le levier de commande d'embrayage/debrayage n'est pas en bonne position.
- Le fusible principal est hors d'usage.
- Le contacteur de démarrage est endommagé.
- Le contacteur de sécurité sur la pédale d'embrayage/frein est défectueux ou endommagé.
- La pédale d'embrayage/frein n'est pas suffisamment enforcée.
Le moteur ne tourne pas régulierement
- Un rapport de vitesse trop élevé est enclenché.
- La bougie est défectueuse.
- Le carburateur est mal régle.
- Le filtré à air est colmaté.
- La mise à l'air libre du réservoir est bouchée.
- Le réglage de l'allumage est incorrect.
- Il y a des impuretés dans le circuit de carburant.
Le moteur manque de puissance
- Le filtré à air est colmaté.
- La bougie d'allumage est defectueuse
- Il y a des impuretés dans le circuit de carburant.
- Le carburateur est mal régle.
Le moteur chauffe
- Le moteur est en surcharge.
- La prise d'air ou les ailettes de refroidissement sont colmatées.
- La turbine de refroidissement est endommagée.
- Le niveau d'huile est trop bas ou il n'y a pas d'huile dans le moteur.
- Le réglage de l'allumage est incorrect.
- La bougie d'allumage est defectueuse.
La batterie ne charge pas
- Le fusible est hors d'usage.
- Une ou plusieurs cellules sont endommagées.
- Mauvais contact entre les bornes de la batterie et les cosses des cables de batterie.
L'éclairage ne fonctionne pas
- Les ampoules sont grillées.
- L'interrupteur de commande est defectueux.
- Il y a un court circuit dans le faisceau de raccordement.
Le tracteur vibre
- Les lames de coupe sont mal fixées ou mal positionnées.
- Le moteur est mal fixe.
- Undéséquilibre est apparue à la suite del'endommagement d'une ou de plusieurs lames de coupe ou à la suite d'un mauvais affutage.
Coupe irregulière
- Mauvais affutage des lames de coupe.
- Le carter de coupe n'est pas à l'horizontal.
- L'herbe est haute et humide.
- L'herbe est accumulée sous le carter de coupe.
- La pression de gonflage des pneumatiques n'est pas identique du cote croit et du cote gauche.
- Le rapport de vitesse enclenché est trop élevé.
- La couroie d'entrainement du carter de coupe patine.
ES El motor no arranca
FR Suivre la procEDURE suivante une fois la saison terminée:
En fin de saison, suivre la procédure suivante pour le remisage. N'utilisez pas de nettoyeur haute pression pour le lavage. L'eau pourrait s'infiltrer dans le moteur et abréger ainsi la durée de l'appareil.
Nettoyer l'ensemble de la machine et plus particulièrement ment l'intérieur du carter de coupe.
Effectuer les retouches de peinture qui s'avereient nécessaires afin d'eviter la corrosion.
Vidanger le moteur.
Retirer la bougie d'allumage et verser une cuillere à soupe d'huile dans le moteur. Faire tournier le moteur à la main pour répartir l'huile et remettre la bougie en place.
Déposer la batterie et la remisée dans un endroit frais après l'avoir rechargée. La protégé des grands froids.
Remisser la machine à l'abri dans un endroit sec et protégé de la poussière.
ATTENTION!
Ne jamais utiliser d'essence pour effectuer le nettoyage. Utiliser un détergent du commerce et de l'eau chaude.
Entretien et réparations
Pour commander des pieces de rechange, indiquer le nom du modele, sa version, l'année d'achat, l'année de fabrication et le numero de série de la machine. Prendre contact avec le revendeur local pour les révisions sous garantie et pour les réparations. Toutjours utiliser des pieces de rechange d'origine.
Notice Facile