FY760 - Machine à coudre YAMATA - Notice d'utilisation et mode d'emploi gratuit
Retrouvez gratuitement la notice de l'appareil FY760 YAMATA au format PDF.
| Type d'appareil | Machine à coudre |
| Utilisation | Conforme aux normes de sécurité |
| Fonction principale | Couture droite et zig-zag |
| Accessoires inclus | Canette, bobine, pied de biche |
| Alimentation | Électrique |
| Réglage de la tension du fil | Oui |
| Réglage de la longueur du point | Oui |
| Réglage du type de point | Oui |
| Fonction de surfilage | Oui |
| Fonction de couture invisible | Oui |
| Éclairage intégré | Oui |
| Tableau des aiguilles | Inclus |
| Changement du pied de biche | Facile |
| Protection électrique | Oui, contre les décharges |
| Poids | Non précisé |
| Dimensions | Non précisé |
FOIRE AUX QUESTIONS - FY760 YAMATA
Téléchargez la notice de votre Machine à coudre au format PDF gratuitement ! Retrouvez votre notice FY760 - YAMATA et reprennez votre appareil électronique en main. Sur cette page sont publiés tous les documents nécessaires à l'utilisation de votre appareil FY760 de la marque YAMATA.
MODE D'EMPLOI FY760 YAMATA
DÉSIGNATION DES PIEÇES 3
ACCESSOIRES 3
CONSIGNES DE SECURITE 5
Votremachineacoudresepresente. 5
Utilisation conforme. 5
Avant de commencer.... 6
Consignes de sécurité 6
Danger! Pour éviter des
décharges électriques 7
Attention! A titre de protection
contra les brûlures, les incendies,
les décharges électriques ou les
blessures de personnes 8
Protection de I'environnement. 10
Emballage 10
Evacuation de la machine à coudre. 10
COMMANDE 11 Mise en place et branchement 11
Preparation au fonctionnement 12 Fonctionnement de la pédale . . . 12 Plateau tiroir escamtable. . . . . . 12 Eclairage de la machine à coudre 13 Changement du pied de biche . . . 14 Changement des aiguilles . . . . . . 15 Tableau des aiguilles et des fils. . . 16 Utilisation des porte-bobines de fil 17
Enlèvement et mise en place de la capsule de la canette . . . . . . 18
Bobinage 19
Introduction du fil dans la capsule de la canette 20
Enfilagedu fil supérieur. 21 Remontagedu fil inférieur. 22
Réglage de la tension du fil supérieur 23
Bouton de réglage des modèles de point 24
Bouton de réglage de la longueur du point 24 Touche de marche en arrête. 25 Abaisissement de la griffe 26 Bouton d'adaptation de la pression du pied de biche. 27
Travaux de couture 28
Point droit 28
Changement de sens de couture 29
Utilisation des repères sur la plaque à aiguille 29
Couture en angle droit 30
Technique de couture 31 Point zig-zag. 31 Point de surfilage 32 Triple point zig-zag 32 Triple point droit 33 Pose de boutons (pied zig-zag). 34 Pose de boutons (pied pour couture de boutons) 35 Confection d'une boutonniere 37 Pose d'une fermetre a glissiere 39 Point invisible (Guide-droit) 40
TABLE DES MATIÈRES
Couture d'ourlets invisibles
(Pied pour couture invisible) . . . . 41
Confection d'ourlers. 43
Couture avec des aiguilles
jumeles 44
Pointsfantaisie. 45
Pointcocotte. 45
Point extensible 45
Point smock. 46
Point élastique à deux piquêres . . 47
Applications. 47
Point Overlock fermé 48
ENTRETIEN ET
MAINTENANCE 49
Enlèvement du crochet et de ses
composants. 49
Nettoyage de la griffe 50
Huilage des éléments sous le
recouvrement supérieur . . . . . 51
Elimination des dérangements. 53
CHARACTERISTIQUES
TECHNIQUES 59
A DÉSIGNATION DES PIEÇES
- Touche de marche arrière
- Bouton de réglage du modele de point
- Bouton de réglage de la longueur du point
- Dévidoir
- Bras porte-canette
- Porte-bobine de fil
- Bloc de tension de bobinage
- Levier prétendeur de fil
- Levier tendeur de fil
- Bouton tendeur de fil
- Recouvrement supérieur
-
Bouton de réglage de la pression du pied de biche
-
Crochet à fil
- Levier de maintain du pied de biche
- Plaque à aiguille
- Plateau tiroir escamtable (avec rangement pour accessoires)
- Poignée
- Volant
- Interrupteur à bascule
- Prise de pédale
- Pince-aiguille
- Bras libre
- Levier à pied de biche
B ACCESSORIES
- Canette (4)
- Guide-droit
- Aiguilles
- Pied pour couture invisible
- Pied zig-zag (pied standard)
- Pied ourleur
- Pied pour fermeture à glissière
- Pied pour couture de boutons
-
Découseur
-
Pinceau
- Tournevis (2)
- Burette à huile
- Double aiguille
- Pied pour boutonnière
- Câble secteur avec pédale (non représenté)
- Coffre (non représenté)
REMARQUE: Le pied zig-zag est monté sur le support du pied de bianche de la machine. Les petits accessoires sont rangés dans un compartment de rangement du plateau tiroir escamtable.
Contrôlez l'intégralité des accessoires.


B
CONSIGNES DE SÉCURITÉ
Votre machine à coudre se présente
Votre machine à coudre prima NM 902 est un produit moderne exceptionnel qui vous permettra d'effectuer de nombreux travaux de couture. En font entre autres partie:
24 programmes de couture différents
- la pose de fermétures à glissière à l'aide du pied pour fermeture à glissière
- la confection de boutonnières
- la fixation de boutons
- la confection d'ourlets avec le pied ouleur spécial
- la couture à bras libre
REMARQUE: Ce mode d'emploi décrit uniquement la commande de votre machine à coudre. Des connaissances en couture et les termes correspondants sont sous-entendus.
Les chiffres utilisés dans le texte se refèrent à la représentation principale de la machine sur le rabat avant. Des exceptions existent cependant. Dans ce cas, une remarque est alors faite dans le texte.
Utilisation conforme
Votre machine à coudre est uniquement destinée à l'exécution des fonctions décri-tes dans son mode d'emploi. Toute autre utilisation est considérée comme non conforme.
CONSIGNES DE SECURITÉ
Avant de commencer....
Avant d'utiliser votre machine à coudre électrique, veuillez observer les points suivants:
- Cet apparéil est exclusivement réservé à une'utilisation dans le secteur privé.
- Avant de mettre votre machine à coudre en marche pour la première fois, veuillage dire attentivement le mode d'emploi et observer plus particulièrement les consignes de sécurité du point suivant.
- Conserve le mode d'emploi si possible à portée de main et avec votre apparéil.
- Si vous confiez votre machine à d'autres personnes, remettez-leurs aussi le mode d'emploi.
- N'utilise que les accessoires recommendés par le fabricant dont la liste est dressée dans ce manuel.
Consignes de sécurité
Les symboles suivants sont employés dans ce mode d'emploi pour signaler des consignes de sécurité

Danger!
Ce symbole représenté les dangers susceptibles de provoquer de graves blessures.

Attention!
Ce symbole représenté les dangers susceptibles de provoquer des blessures et des dommages matériels.
CONSIGNES DE SÉCURITÉ
Les consignes de sécurité suivantes devraient absolument etre observees:

Danger! Pour éviter des décharges électriques
- La machine fonctionne avec une tension dangereuse. Ne faissez jamais votre machine à coudre sans contrôle lorsqu'elle est branchée.
- Àprous avoir utilisé votre machine à coudre et avant de la nettoyer, débranchez immédiatement la fiche secteur de la prise de courant.
- La machine ne doit pas entrairen contact avec des gouttes d'eau ou projections d'eau ou d'autres liquides.
- Ne branchez la machine qu'a une prise de courant de 230 V correctement installée et protégée par fusible.
- Evitez que du liquide ne s'infiltrre dans la machine. Si cela s'est cependant produit, débranchez immédiatement la fiche secteur et adressez-vous à notre centre de service; voir la carte de garantie.
- Avant de remplacer une ampoule, débranchez toujours la fiche secteur. N'utilise que des ampoules du même type (15 W).
- N'effectuez aucune modification sur la machine.


Attention! A titre de protection contre les brûlures, les incendies, les décharges électriques ou les blessures de personnes
A l'installation
- La machine à coudre ne doit pas être utilisée à l'air libre.
- La machine doit uniquement être posée sur une surface horizontale.
- La machine à coudre ne doit pas être utilisée là où des produits à gaz propulseur (sprays) ou oxygène sont employés.
- Ne pas utiliser la machine dans des zones humides. La machine doit être tenue à un écartement minimal d'un mètre par rapport à des sources d'humidité comme les lavabos, entre autres.
- La machine à coudre ne doit pas être exposée à une chaleur intense. Veillez également à ce qu'elle soit tenue à une distance suffisante des radiateurs, entre autres. Ceci s'applique également au cable secteur.
- Le cable secteur doit être complètement déroule pour utiliser la machine. Veillez à ce que le cable secteur ne constitue pas une source de trébuchement.
- Si vous utilisez une fiche intermédiaire ou une rallonge, veillez à ce que ces accessoires répondent aux exigences légales.
Au fonctionnement
- La machine à coudre n'est pas un jeu. Une précaution accrue s'impose notamment lorsqu'elle est utilisée par des enfants ou à proximé d'enfants.
CONSIGNES DE SECURITÉ
- Cette machine ne doit pas être employée si son cable ou sa fiche est endommagé, si elle ne fonctionne pas correctement, si elle est tombée, si elle a été endommagée ou si elle est entrée en contact de l'eau. Dans un tel cas, adressez-vous au fabricant, à notre service après-vente ou à un personnel qualifié. Adressez-vous évientuèlement à notre centre de service, voir carte de garantie.
- Lorsque vous utilisez votre machine à coudre, ne bloquez pas les fentes d'aération et tenez celles-ci ainsi que la pédale à l'écart de chenilles, poussières et restes d'étoffes.
- N'introduisez pas d'objets dans les ouvertures de la machine à coudre ou évitez de faire tomber de tels objets dans la machine.
- Pour arrêté la machine, amenez l'interrupteur principal sur „0" et débranchez la fiche secteur.
- Pour débrancher la machine, tirez toujours sur la fiche et non pas sur le cable.
- Tenir vos doigs à l'écart de toutes les pieces mobiles. Une précaution toute particulière s'impose au niveau des aiguilles. Faites toujours attention au mouvement de montée et de descente des aiguilles lorsque la machine est en marche.
- N'utilisez que les plaques à aiguille d'origine. Une fausse plaque à aiguille peut provoquer unerupture de l'aiguille. Des aiguilles tordues ne doivent pas être utilisées.
- Lorsque vous cousez, évitez de tirer ou de pousser l'étoffe. Ces mouvements risquent de casser l'aiguille.
- Arrêtez la machine à coudre pour effectuer des travaux au niveau des aiguilles comme l'enfilage, le remplacement de l'aiguille, la mise en place de la canette, le remplacement du pied ou autres activités.
- Ne posez pas d'objet sur la pédale pour éviter toute mise en marche incontrôlée de la machine à coudre. La pédale ou le moteur risque de claquer!
CONSIGNES DE SECURITÉ
A l'entretien
- Débranche toujours la fiche secteur de la prise de courant lorsque vous ouvrez le corps de la machine pour la nettoyer ou pour effectuer un réglage spécifique dans ce manuel.
- Servez-vous d'un savon ou d'un nettoyant neutre pour nettoyer le corps de la machine. L'essence, les diluants et la poudre à recuner risquent d'endommager le corps de la machine et la machine proprement dite et ne devraient donc pas été utilisés.
Protection de l'environnement
Emballage
Conservez l'emballage dans la mesure du possible. La machine est parfaitement bien protégée dans son emballage d'origine si son transport devait s'avérer nécessaire. Si vous souhaitez ne pas conserver l'emballage, remettez-le à une décharge.
Evacuation de la machine à coudre
Si vous ne pouvez plus utiliser cet apparéil, adressez-vous à votre association d'évacuation des déchets. Vous receivez alors des informations sur la façon d'éva-cuer votre machine sans nuire à l'environnement.
COMMANDE
Mise en place et branchement
- Placez votre machine à coudre sur une table stable et plane et qui vous offre suffisamment de liberté de mouvement pour vos jambes et pour la pédale. Si vous posez votre machine sur une surface laquée, prévoyez un support antidéraptant sous la machine.
(A) Fiche secteur
(B) Interrupteur à bascule
(C) Prise de courant
(D) Prise sur la machine à coudre
(E) Fiche du cable de la pédale


Attention! Risque d'incendie!
Contrôlez si la tension et la fréquence indiquées sur la plaquette signalétique correspondent à la tension et à la fréquence de votre secteur. La plaquette signalétique se trouve au dos de la machine à coudre.
- Introduisez la fiche du cable de la pédale (E) - la fiche entre la pédale et la fiche secteur - dans la douille correspondante (D) sur la machine.
- Branchez la fiche secteur (A) à une prise de courant (C).
- Actionnez l'interrupteur à bascule (B) pourmettre la lampe de couture en marché.
COMMANDE
Préparation au fonctionnement
Fonctionnement de la pédale
- La pédale vous permet de régler la vitesse de couture. Plus vous appuyez sur la pédale, plus la vitesse de couture augmente.
- La machine s'arrête des que vous relâchez la pédale.

REMARQUE: Habituez-vous à la pédale sans fil avant d'utiliser pour la première fois yours machine à coudre.
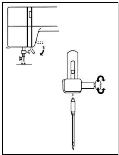
Plateau tiroir escamtable
Le plateau tiroir escamtable agrandit le champ de travail à l'utilisation de la machine et peut être retirez sans problème. L'utilisation du bras libre permet des travaux de couture en des endroits difficilement accessibles.
Enlèvement du plateau tiroir escamtable
- Retirez le plateau tiroir comme montré dans le croquis.
- Pour remonter le plateau tiroir, emboitez-le à nouveau sur la machine (piqûre avec tablette à ouvrage).

COMMANDE
Avantages et applications de la couture sur bras libre
- Exclusion d'une accumulation d'étoffe devant l'aiguille lors de la couture de poches, d'ourlets et la couture de manches, échécrures de taille et autres pieces rondes.
- Retouches d'endroits au niveau du genou et du coude ainsi que vêtements d'enfants.

Eclairage de la machine à coudre
L'éclairage de la machine à coudre se trouve sur l'extrémité du revêtement supérieur (10).

Attention! Risque de décharges!
Avant de remplacer l'ampoule, débranchez la machine de la prise de courant. Si la machine aAAParavant eteutilisee,l'ampoule est chaude. Il y a risque de brûlures. Attendez quelques minutes pour que I'ampoule ait le temps de refroidir.
- Retirez le couvercle à vis se trouvant sur le côté gauche de la machine à coudre.
- Dévissez la vis.
- Enlevez le recouvrement supérieur (11) ab.
- Dévissez l'ampoule en la tournant sur la gauche.
- Remettez en place l'ampoule neuve en la tournant sur la droite.
- Remettez en place le recouvrement et fixez-le avec la vis.

COMMANDE
Changement du pied de biche
- Débranchez la fiche secteur.
- Amenez l'aiguille dans la position la plus élevé en actionnant le volant (18).
- Soulevez le pied de biche à l'aide du levier à pied de biche (23).
- Débloquez le pied de biche en soulevant le levier de maintain du pied de biche (14) se trouvant à l'arrête du support de pied de biche.
- Posez le pied de biche souhaïte sur la plaque à aiguille de manière que la butée dupied de biche se trouve exactement sous le support du pied de biche.
- Appuyez sur le levier de maintain du pied de biche (14) et abaissez le levier à pied de biche (23). Le pied de biche est ainsi lié et fixé au support du pied de biche.

COMMANDE
Changement des aiguilles
- Débranchez la fiche secteur.
- Amenez l'aiguille dans la position la plus élevé en tournant le volant (18).
- Abaissez le pied de biche à l'aide du levier à pied de biche (23).
- Débloquez le pince-aiguille (21) en tournant la vis dans le sens contraire aux aiguilles d'une montre.
- Retirez l'aiguille usée du support.
- Placez la nouvelle aiguille de manière que sa face plate soit dirigée vers l'arrière. Lors de la mise en place, l'aiguille doit être introduite jusqu'à la butée dans le support.
- Serrez ensuite à fond la vis du pince-aiguille (21).


Attention! Risque de blessure!
Contrôlez régulièrement si l'iguille est encore droite et non émoussée. Une aiguille courbee peut se rompre et provoquer des blessures! Les noeuds et faux points sur le jersey, la soie ou les tissus à base de soie sont féquement provoqués par des aiguilles endommagées.
COMMANDE
Tableau des aiguilles et des fils
| No. de l'aiguille | Matériel | Spécification fil coton | Spécification fil soie |
| No. 60 (#7) | Soie à fine maille | 70-80 | 100-140 |
| No. 70 (#10) | Crège | ||
| No. 80 (#12) | Soie naturelle | 50-60 | 80-100 |
| No. 80-90 (#12-14) | Coton | 40-50 | 60-70 |
| No. 90-100 (#14-16) | Laine | 30-40 | 50-60 |
| No. 90-100 (#14-18) | Etoffes femmes et dures | 30 | 45-50 |
| Couture sur des tissus élast. No. 70 | Jersey | 70-80 | 100-140 |
COMMANDE
Utilisation des porte-bobines de fil
Les porte-bobines de fil (6) seront à receivevoir les bobines de fil.
- Dégagez le porte-bobine de fil (6) du corps de la machine avant de commencer des travaux de couture.
- Replacez le porte-bobine de fil (6) dans le corps de la machine avant de la referrer.
(A) Fil supérieur
(B) Ouverture dans le porte-bobine de fil
(C) Noeud



REMARQUE: Si le fil utilisé s'enroule ou forme féquement des noeuds autour du porte-bobine de fil, vous pouvez faire passer le fil par l'ouverture pratiquée dans le porte-bobine de fil (B) (voir illustration du haut). L'ouverture est ici dirigée vers la bobine de fil.
COMMANDE
Enlèvement et mise en place de la capsule de la canette
- Débranchez la fiche secteur.
- Ouvrez le clapet du bras libre (A).
-
Amenez l'aiguille dans la position la plus élevé en tournant le volant (18).
-
Saisissez l'élément de verrouillage de la capsule de la canette (B) et retirez la capsule de la canette du boîtier.


- Assurez-vous au moment de la remise en place que le levier articulé de la capsule de la canette (C) viennent correctement se mettre en place dans l'évidement dans le haut du boîtier.

COMMANDE
Bobinage
La numérotation qui apparaît sur l'illustration correspond aux travaux décrits ci-après:
- Dégagez le volant (18) vers l'extérieur pour interrompre le contact. L'aiguille ne bouge maintainant plus lorsque vous tourmez sur le volant.
- Introduisez le fil de la bobine de fil par le bloc de tension de bobinage (7).
- Introduisez l'extrémité du fil de l'intérieur par l'une des petites ouvertures de la canette et placez la canette sur le bras porte-canette (5).
- Appuyez sur la canette vers la droite contre le dévidoir (4).
- Maintenez fermement l'extrémité du fil et appuyez légèrement sur la pédale.
- Arrétez après que le fil se soit enroule plusieurs fois autour de la canette.
- Coupez l'extrémité du fil en saillie au ras de la canette.
- Appuyez à nouveau sur la pédale et bobi- nez le fil jusqu'à ce que la canette soit pleine. La machine s'arrête automatique- ment.
- Appuyez maintenant sur le bras portecanette (5) sur la gauche et coupez le fil.
- Poussez le volant (18) vers l'intérieur (sur sa position initiale) pour rétabir le contact.

COMMANDE
Introduction du fil dans la capsule de la canette
- Débranchez la fiche secteur.
- Retirez la capsule de la canette, voir page 18.
- Placez la canette dans la capsule à canette.
Assurez-vous que le fil est bien dirigé dans le sens de la pointe de la flèche (dans lesens des aiguilles d'une montre).
-
Tirez l'extrémité du fil dans la fente de la capsule à canette.
-
Tirez ensuite le fil à travers le ressort ten-deur de la canette en direction de l'ouverture de sortie. Laissez le fil pendre de la canette sur env. 10 cm.
- Remettez en place la capsule de la canette.



COMMANDE
Enfilage du fil supérieur
Débranchez la fiche secteur de la prise de courant.
Soulevez le pied de biche par le levier à pied de biche (23) et tournez le volant (18) pour amener le passé-fil (9) dans la position la plus elevée.
Placez une bobine de fil sur le porte-bobine de fil (6; Voir illustration).
Guidez le fil de la face arrière de la bobine de fil.
La numérotation sur l'illustration correspond aux opérations suivantes:
- Guidez le fil à travers le levier tendeur de fil (8).
- Tirez le fil par la droite autour du bouton tendeur de fil vers le haut.
- Tirez fermement sur le fil et guidez-le de la droite par l'orifice du passé-fil (9).
- Guidez le fil vers le bas puis à travers le crochet à fil (13).
- Dirigez encore le fil vers le bas et à travers le prochain crochet guide-fil.
- Enfilez le fil dans l'aiguille de l'avant vers l'arrière.




REMARQUE: Le guidage du fil est représenté par des chiffres sur la machine.
COMMANDE
Remontage du fil inférieur
- Soulevez le pied de biche à l'aide du levier à pied de biche (23) et tenez l'extrémité du fil supérieur légèrement avec la main gauche.
- Tourmez le volant (18) jusqu'à ce que le levier tendeur de fil (9) se trouve dans sa position la plus élevé. L'aiguille doit s'êtreAAParavant déplacée vers le bas.
-
Tirez sur le fil supérieur pour remonter le fil inférieur.
-
Dégagez les deux fils sur environ 5 cm et dirigez-les tous les deux vers l'arrière sous le pied de biche.



COMMANDE
Réglage de la tension du fil supérieur
En couture à point droit, le fil supérieur et le fil inférieur sont nouvelles entre eux entre les morceaux d'etoffe.
- Sélectionnez la tension appropriée au bloc tendeur de fil à l'aide du bouton tendeur de fil (10).
(A) Valeur nouvellement régée
Plus le chiffre est bas, plus la tension du fil supérieur l'est également.


Plus le chiffre est élevé, plus la tension du fil supérieur l'est également.


Tension du fil supérieur pour le point zig-zag:
Pour obtenir de bons résultats en couture au point zig-zag, la tension du fil supérieur devrait être inférieure à celle de la couture au point droit. Le fil supérieur devrait apparaitre au dos de l'ouvrage.
COMMANDE
Bouton de réglage des modèles de point
- Retirez l'aiguille de l'étoffe.
- Choisissez le point souhaité à l'aide du bouton (2).
- Dans le cas de points élastiques (rangée du bas), Sélectionnez le chiffre souhaité avec le bouton de réglage de modèles de points (2).
- Avec le bouton de réglage de la longueur du point (3; voir ci-dessous), réglez la rangée de points inférieure enCHOisis-sant la position 1-10.
Des boutonnieres sont cousues avec le symbole (A), voir page 37.

Bouton de réglage de la longueur du point
Indépendamment du pointChoisi, il est possible qu'il soit nécessaire de modifier la longueur du point pour obtenir un résultat optimal.
- Réglez la longueur de point souhaitée avec le bouton de réglage de la longueur de point (3).
Plus le chiffre est élevé, plus le point est long.
Le réglage compris entre 0 et 1 convient à la confection de boutonnières.
La plage comprise entre 0,5 et 4 convient au point zig-zag. Pour coudre au point élastique, le réglage 1-10 doit être choisi.

COMMANDE
Comment la qualité du point elastique peut-elle etre améliorée?
Si ce réglage pour la couture au point élastique ne donne pas de résultat satisfaisant, vous pouvez modifier la densité du point à l'aide du bouton de réglage de la longueur de point (3):
- " -" Points plus rapprochés
- " + " Points plus écartés.
REMARQUE: La longueur du point varie en continu lors d'un réglage du bouton entre 0 et 1 et devrait être可以选择 en conséquence.
Touché de marche en arrête
- Enoncez la touche de marche en arrête vers le bas pour ne coudre qu'en marche arrête.

COMMANDE
Abaisissement de la griffe
La numérotation sur l'illustration correspond aux opérations suivantes:
- Ouvrez le clapet à bras libre (A).
- Abaissez la griffe en,enfantant vers le bas le levier de la griffe (B) et en effectuant un mouvement dans le sens indiqué par la flèche sur l'illustration.
- Soulevez la griffe en abaissant vers le bas le levier de la griffe (B) et en effectuant le mouvement dans le sens de la flèche indiqué sur l'illustration.

REMARQUE: Pour tous les travaux de couture courants, la griffe devrait etre soulevée.
COMMANDE
Bouton d'adaptation de la pression du pied de biche
La pression du pied de biche est reglée sur le niveau 3 pour tous les travaux de couture courants.
- Réglez le bouton de réglage de la pression du pied de biche (12) sur le niveau 2 si vous souhaitez effectuer des applications et des broderies ou coudre un tissu filet.
- Réglez le bouton (12) sur le niveau 3 si vous souhaitez coudre du chiffon, de la dentelle, du fil ou d'autres tissus fins.
- Réglez le bouton (12) sur le niveau 1 pour coudre de la flanelle ou du stretch.

COMMANDE
Travaux de couture
Point droit
Utilisez pour cela les réglages suivants:
- Réglage du bouton de réglage du contrôle de point: 1 ou 2
- Longueur de point: 1,5-4
- Pied de biche pour ce travail: pied zig-zag
-
Réglage du bouton de réglage de la tension du fil: 2-6
-
Soulevez le pied de biche à l'aide du levier à pied de biche (23) et placez le tissu sous le pied de biche sur la plaque à aiguille (15) de manière que le bord du tissu corresponde à l'un des repères de la plaque à aiguille.
- Tournez le volant (18) de manière que l'aiguille descende dans le tissu.
- Abaissez le pied de biche et assurez-vous que le fil ait eté dirigé vers l'arrière.
- Actionnez la pédale. Le tissu est automatiquement transporte par la griffe le long du repère de la plaque à aiguille vers l'arrière.
- Actionnez la touche de marche arrêté (1) et piquez quelques points à marche arrêté pour fixer l'extrémité du fil.
- Continuez de coudre en marche avant jusqu'à ce que l'extrémité du fil soit atteinte.
- Soulevez le pied de biche et dégagez le tissu en dirigeant le fil supérieur et le fil inférieur vers l'arrière.
- Coupez les deux fils avec des ciseaux. Laissez des bouts de fil suffisamment longs pour préparer la machine à coudre au prochain ouvrage.

COMMANDE
Changement de sens de couture
- Arrêtez la machine à coudre et actionnez le volant (18) de manière que l'aiguille s'abaisse dans le tissu.
- Soulevez le pied de biche à l'aide du levier à pied de biche (23) puis tournez le tissu dans le sens souhaité en vous servant de l'aiguille comme point de rotation.
- Abaissez le pied de biche et poursuivez la couture.

Utilisation des repères sur la plaque à aiguille
Les repères de la plaque à aiguille sont particulièrement utiles pour conserver l'écartement de la couture par rapport à l'arête.
(A) Repères de la plaque à aiguille
(B) Repèéré d'angle
(C) Plaque à aiguille
(D) Trou de piqûre
(E) Ecartement de l'arête par rapport au chas de l'aiguille

Les indications suivantes se référènt à l'écartement entre l'aiguille et le repère de la plaque à aiguille:
| Chiffe sur la plaque à aiguille | 10 | 15 | 20 | 3/8 | 4/8 | 6/8 | 6/8 |
| Écartement en cm | 1,0 | 1,5 | 2,0 | 1,0 | 1,3 | 1,6 | 1,9 |
COMMANDE
Couture en angle droit
- Si vous souhaitez coudre en angle droit, veillez à respecter un écartement de 1,6 cm par rapport au bord du tissu.
- Arrêtez la machine à coudre lorsquè le bord du tissu se trouve à la même hauteur que le repère en coin sur la plaque à aiguille (15).
- Actionnez le volant (18) de manière que l'aiguille s'abaisse dans le tissu.
- Soulevez le pied de biche à l'aide du levier à pied de biche (23) et tournez le tissu dans la direction souhaitée jusqu'à ce que son bord corresponde au repère 1,6 cm de la plaque à aiguille.
- Abaissez le pied de biche puis poursuivez votre travail.
(A) Repère en coin

COMMANDE
Technique de couture
Le prochain point vous présente les différents points et techniques de couture.
Point zig-zag
Utilisez les réglages suivants:
- Bouton de réglage du modele de point: 3, 4 ou 5
- Longueur de point: 1-4
- Pied de biche: pied zig-zag
- Bouton de réglage de la tension de fil: 2-6
Le point zig-zag simple est souvent utilisé pour la confection d'ourlets, de boutonnieres et pour la pose de bandes élastiques.


COMMANDE
Point de surfilage
Utilisez les réglages suivants:
- Bouton de réglage du modele de point: 5
- Longueur de point: 1-2
- Pied de biche: pied zig-zag
- Bouton de réglage de la tension de fil: 4-6
Ce point est utilisé pour surfiler des bords de coupe. Le tissu ne risque ainsi pas de s'effilocher.



Triple point zig-zag
Utilisez les réglages suivants:
- Bouton de réglage du modele de point: 6
- Longueur de point: 1-2
- Pied de biche: pied zig-zag
- Bouton de réglage de la tension de fil: 4-6
Ce point convient à des travaux de couture sur des tissus synthétiques et autres matières qui ont tendance à former rapidement des pris. Il convient également comme point de surfilage pour éviter l'effilochage des tissus. Il peut aussi être utilisé pour la pose de bandes elastiques et pour des travaux de reprisage. Laissez un oulet d'une largeur de 1,5 cm que vous pourrez couper à la fin de votre travail.

COMMANDE
Triple point droit
Utilisez les réglages suivants:
- Bouton de réglage du modele de point: 1 ou 2
- Longueur de point: 1-10
- Pied de biche: pied zig-zag
- Bouton de réglage de la tension de fil: 4-6
Ce point permet d'obtenir une couture très solide puisque l'aiguille avance de deux points et recule d'un point. Ce type de point convient notamment aux soufflets. Piquez le tissu avec des épingles avant de coudre.


COMMANDE
Pose de boutons (pied zig-zag)
Utilisez les réglages suivants:
- Bouton de réglage du modele de point: 4 ou 5
- Longueur de point: selon la distance entre les trous du bouton
- Pied de biche: pied zig-zag
- Bouton de réglage de la tension de fil: 1-3
-
Abaissez la griffe (voir page 26).
-
Posez le bouton à l'endetroit souhaité sur le tissu.
- Orientez les deux trous du bouton le long de l'ouverture du pied de biche (voir illustration) et placez le trou gauche du bouton directement sous la pointe de l'aiguille.
- Abaissez le pied de biche.
- Contrôlez avec le volant (18) si la longueur de point est régée de manière que les trous du bouton soient exactement touchés.
- Au besoin, modifie la longueur de point avec le bouton de réglage de la longueur de point (3) ou avec le bouton de réglage du modele de point (2).
En raison d'une aiguille posée sur le pied de biche, une nervure se forme lors de la couture, laquelle facilitite plus tard le nouage des fils sous le bouton.
- Cousez environ cinq points puis relevez l'aiguille.
- Laissez une extrémité de fil d'env. 20 cm de longueur si vous souhaitez une fixation plus solide.




COMMANDE
- Enfilez le fil supérieur à travers un trou du bouton et enroulez le fil plusieurs autour du fil qui relié le bouton à l'ouvrage pour obtenir ainsi un point d'attache.
- Dégagez le fil sur la face inférieure du tissu et noucez-le.
REMARQUE: Soulevez à nouveau la griffe après avoir cousu le bouton.
Pose de boutons (pied pour couture de boutons)
Utilisez les réglages suivants:
- Bouton de réglage du modele de point: 4, 5
- Pied de biche: pied pour couture de boutons
- Longueur de point: 0
Le pied pour couture de boutons permet de coudre des boutons de taille moyenne maximum. On utilise ici un point zigzag. La largeur du zigzag correspond à la distance entre les trous du bouton.
- Monter le pied pour couture de boutons, cf. Point Changement du pied de biche, Page 14.
- Marquer à la craie de tailleur la position exacte du bouton sur le tissu.


COMMANDE
- Placer le bouton sur le repère et le bloquer en abaissant le pied pour couture de boutons.
- Tester avec le volant (18), avant de coudre, si la butée de l'aiguille est réglée de manière à ce que les trous du bouton soient piqués avec précision par l'aiguille. Si ce n'est pas le cas, modifier le réglage du sélecteur de point (2).
- Executer les premiers points avec le volant afin d'eviter d'abimer l'iguille.
- Exécuter à faible vitesse 6 à 7 points par trou.
- Couper les fils lorsqu'ils ont atteint une longueur d'environ 20 cm, tirer le fil d'aiguille sur l'envers de la pierce et nouer les fils ensemble.

REMARQUE: Lorsqu'il s'agit de boutons à 4 trous, on déplace le tissu avec le bouton et on execute 6 à 7 points dans les autres trous.
Pose de boutons à tige
On asoonertrecoursàdesboutona tige pourles matériaux lourds.
- Placer pour cela une aiguille ou une allumette sur le bouton avant de coudre, puis le bloquer en abaissant le pied presseur.
- Coudre le bouton de la maniere ci-dessus déscrit.
- Laisser le fil d'aiguille dépasser un peu lorsque la piece est retiree de la machine.
- Enfilier maintainant le fil d'aiguille à travers l'un des trous du bouton et l'enrouler autour des fils de couture de manière à obtenir une tige.
- Nouer ensuite le fil d'aiguille avec le fil de canette sur l'envers du tissu.
COMMANDE
Confection d'une boutonniere
Utilisez les réglages suivants:
- Bouton de réglage du modele de point:
- Longueur de point: llll (0,5-1)
- Pied de biche: pied pour boutonnière
-
Bouton de réglage de la tension de fil: 3-5
-
Réglez le bouton de réglage de la longueur du point (3) sur 0 si vous souhaitez des points rapprochés. Le point satineur convient à la pose de boutonniers sur des tissus fins.
- Réglez le bouton de réglage de la longueur du point (3) sur 1 si vous souhaitez des points moins rapprochés. Les points moins rapprochés convennent à la confection de boutonnières sur des tissus épais.


REMARQUE: Exercez-vous à la confection d'une boutonnière sur un petit morceau de tissu pour obtenir un résultat optimal.
COMMANDE
- Repérez la position de la boutonnière sur le tissu.
- Avancez le chariot du pied pour boutonnière (A) et faites coincider le repère sur le pied pour boutonnière (C) avec le repère sur le tissu (B).
- Abaissez le pied de biche.
REMARQUE: L'unité des repères sur le chariot est le centimètre.
- Réglez le bouton de réglage du modèle de point (2) sur 1 .
- Cousez en marche avant jusqu'à ce que vous atteignez le repère avant de la boutonnière. Arrêtez alors la machine à coudre. L'aiguille doit alors se trouver en haut à gauche.
- Réglez le bouton de réglage du modele de point (2) sur 4 . Cousez quatre à six points avant d'arrêter à nouveau la machine. L'aiguille doit alors se trouver en haut à droite.
- Réglez le bouton de réglage du modèle de point (2) sur a
- Cousez en marche après jusqu'à ce que vous atteignez le repère arrière de la boutonniere. Arrêtez alors la machine. L'aiguille doit alors se trouver en haut à droite.
- Réglez le bouton de réglage du modele de point (2) sur 1
- Cousez quatre à six points avant d'arrêté à nouveau la machine. L'aiguille doit alors se trouver en haut à gauche.
- Retirez le tissu lorsque la boutonniere est finie.

COMMANDE
- Placez une aiguille devant la barre arrière de la boutonniere afin d'eviter de la sectionner au moment de l'ouverture de la boutonniere.
- Ouvrez la boutonnière à l'aide du découseur.
Pose d'une fermetre à glissière
Utilisez les réglages suivants:
- Bouton de réglage du modele de point: 1
- Longueur de point: 1,5-4
- Pied de biche: pied pour fermeture à glissière
- Bouton de réglage de la tension de fil: 4-6
La fermeture à glissière peut être fixée en deux positions sur le pied. Une position à gauche et une position à droitte sont possibles. Celles-ci sont signalées par la nervure centrale du pied pour fermeture à glissière.
- Montez le pied pour fermeture à glissière tout d'abord en position gauche, , voir page 14. Dans cette position, l'aiguille pique à travers le chas d'aiguille gauche du pied.
- Posez la fermetre à glissière sur le tissu ou fixez-la avec des épingles.
- Placez l'ouvrage sous le pied de manière que l'aiguille passé le long de la fermeture éclaire sur le côté droit.
- Placez le fil à l'arrière et abaissez le pied.
- Piqué le côté droit de la fermeture à glissière le plus après possible des dents.


COMMANDE
- Piquez simultanément le tissu avec la fermeture à glissière.
- Avant que le pied atteigne le curseur de la fermeture à glissière, soulevez le pied et ouvre la fermeture à glissière!
- Pour coudre le côté gauche, montez maintainant le pied pour fermeture à glissière dans la position de droite.
- Piqué ce côté de la même manière que pour le côté croit.

Point invisible (Guide-droit)
Utilisez les réglages suivants:
- Bouton de réglage du modele de point: 6-7
- Longueur de point: 1-3
- Pied de biche: pied zig-zag, avec guide
- Bouton de réglage de la tension de fil: 4-6

- Pliez le tissu comme montré sur l'illustration.
(A) Envers du tissu,
(B) 0,4 - 0,7cm
2. Abaissez le pied de biche, débloquez la vis du pied de biche et fixez le guide entre la vis et la tige du pied de biche.
3. Resserrez la vis et assurez-vous que le guide se trouve au centre du pied de biche.
4. Soulevez le pied de bianche, placez le tissu sous le pied de bianche et orientez les pris du tissu le long du guide.
5. Abaissez le pied de biche et piquez lentement pour conserver un meilleur contrôle.
COMMANDE
- A la première piñure gauche de l'aiguille en point zig-zag, le pli est cousu très après le long du bord. Veillez à ce que le pli marche toujours régulièrement le long du guide en coupant.
- Les piçûres se distinguent à peine lorsque le côté croit supérieur du tissu a été repassé.
Couture d'ourlets invisibles (Pied pour couture invisible)
Utilisez les réglages suivants:
- Bouton de réglage du modele de point: 7
- Pied de biche: Pied pour couture invisible
- Longueur de point: 1-3
Bouton de réglage de la tension de fil: 4-6

- Monter le pied pour points invisibles, cf. Point Changement du pied de biche, Page 14.
- Plier le tissu à la largeur voulue ainsi que le montre le dessin. Ceci fait, il doit rester un bord de 4 mm environ sur la droite lorsque l'ourlet est rabattu.

COMMANDE
- Placer l'ourlet sous le pied pour points invisibles de manière à ce que le guidage dupied longe le bord de l'ourlet plié.

- Régler au moyen de la vis le guidage sur le pied pour points invisibles de manière à ce que l'aiguille ne touche que le bord de l'ourlet lors d'une surpique maximum. Un seul point du fil doit être visible de l'autre côté de l'ourlet.
- Retirer le tissu de la machine et le lisser. Le tissu étalé présente un ourlet invisible.

REMARQUE: Pour assurer un meilleur contrôle, n'executer cette couture que très lentement!
COMMANDE
Confection d'ourlers
Utilisez pour cela:
- Bouton de réglage du modele de point: 1
- Longueur de points: 1-4
- Pied de biche: pied ourleur
-
Bouton de réglage de la tension de fil: 4-6
-
Mettez en place le pied ourleur, voir Point Changement du pied de biche, Page 14.
- Pliez en deux le bord du tissu à ouler sur env. 3 mm.
- Cousez une cordure d'env. 5 mm pour sécuriser l'endetroit que vous venez de plier avant de faire votre ourlet.
- Arrêtez la machine et relevez l'aiguille.
- Tirez maintainant le bord plié dans le passage d'enroulement du pied ouleur et commencez alors lentement l'ourlet.
- Assurez-vous que le tissu ne passé pas sous la moitié droite du pied ouleur. Le bord à outler du tissu doit régulièrement avancer dans le passage d'enroulement du pied ouleur.
- Pendant la confection de l'ourlet, lissez légèrement le tissu vers la gauche et laisserz passer une largeur suffisamment grande du bord du tissu dans le pied ourleur.




COMMANDE
Couture avec des aiguilles jumelées
Il est possible en cousinant avec des aiguilles jumelées d'obtenir un motif bicolore grâce à l'utilisation de fils de deux couleurs différentes.
Utilisez les réglages suivants:
- Pied de biche: pied pour zigzag
- Bouton de réglage du modele de point: 1
- Longueur de points: 2-3
-
Bouton de réglage de la tension de fil: 4-6
-
Monter l'aiguille jumelée comme s'il s'agissait d'une aiguille normale, cf. Point Changement des aiguilles, Page 15.
- Soulever les deux broches porte-bobine enforcées (6) et placer deux bobines identiquement garnies.
- Enfilier les deux fils à travers le guide-fil comme pour le fil d'aiguille, cf. Point Enfilage du fil supérieur, Page 21.
- Enfiler un fil dans chacune des aiguilles.
ATTENTION! Retirer l'aiguille jumelée du tissu avant de changer le sens de la couture. Sinon, il est possible que les aiguilles se cassent.

COMMANDE
Points fantaisie
Point cocotte
Utilisez les réglages suivants:
- Bouton de réglage du modele de point: 9
- Longueur de point: 2
- Pied de biche: pied zig-zag
- Bouton de réglage de la tension du fil: 6-8
Ce point produit un bel effet notamment lors du piquage d'un tissu coupé en biais.


Point extensible
Utilisez les réglages suivants:
- Bouton de réglage du modele de point: 1- 10
- Longueur de point: 1-10
- Pied de biche: pied zig-zag
- Bouton de réglage de la tension de fil: 2-6

Voussupportezvarierla longueurdespointsàvolontéaveclesreglagessuivantsdboutondereglage de la longueur du point (3),
Réglage sur "+" pour les points larges.
Réglage sur “-” pour les points rapprochés.
COMMANDE
Point smock
Utilisez les réglages suivants:
- Bouton de réglage du modele de point: 6
- Longueur de point: 1-10
- Pied de biche: pied zig-zag
-
Bouton de réglage de la tension de fil: 4-6
-
Couseze le tissu avec plusieurs rangées de points droits écartées de 1 cm.
- Choisissez le réglage 4 pour la longueur de point.
- Nouez respectivement le fil supérieur et le fil inférieur sur une face.
- Faites coulisser sur l'autre face le fil inférieur de manière à obtenir des fronces à des intervalles réguliers.
- Fixez les fils sur l'autre face.
- Cousez au point smock un dessin décorat à travers le fronçage.
- Retirez ensuite avec précaution les fils qui vous ont servi à confectionner des fronces.
REMARQUE: Une tension de fil supérieur diminuée facilité la confection de lisérés.


COMMANDE
Pointélastiqueàdeuxpiques
Utilisez les réglages suivants:
- Bouton de réglage du modele de point: 10
- Longueur de point: 1
- Pied de biche: pied zig-zag
- Bouton de réglage de la tension de fil: 4-6
Ce point convient particulièrement au piquage de bandes élastiques d'une largeur supérieure à 3 cm. Ces bandes élastiques sont par exemple cousues aux manches des vêtements pour enfants.
- Cousez la bande élastique à la fin du travail.

Ce type de point convient plus particulièrement à l'assemblage de tissus lourds.
2. Placez les deux étoffes l'une au-dessus de l'autre sans oulet et piquez-les pour les assembler.
Applications
Utilisez les réglages suivants:
- Bouton de réglage du modèle de point: 5
- Longueur de point: 0,5-1
- Pied de biche: pied zig-zag
- Bouton de réglage de la tension de fil: 1-4
- Pression du pied de biche: 2

COMMANDE
- Agrafez le motif sur le tissu ou repassez-le.
- Cousez soigneusement le motif le long de l'arête de coupe.
- Abaissez l'aiguille dans le tissu si vous nevez modifier le sens de la couture.
- Soulevez le pied de biche et tournez le tissu à droite ou à gauche.
- Coupez le tissu éventuelles en excédent à l'extérieur de la couture.
REMARQUE: Réglez à nouveau la pression du pied de biche sur 3 après la couture.
Point Overlock fermé
Utilisez les réglages suivants:
- Bouton de réglage du modele de point: 10
- Longueur de point: 1-2
- Pied de biche: pied zig-zag
-
Bouton de réglage de la tension de fil: 4-6
-
Roulez les deux bords du tissu sur env. 1,5 cm et lissez les bords au fer à repasser.
- Fixez sur un support en non-tissé les morceaux d'étoffe avec leur face rabattue vers le bas en respectant un écâtement de 0,3 cm entre elles.
- Piquez lentement et assurez-vous que chaque piêre de l'aiguilleatteigne bien le bord du tissu.



ENTRETIEN ET MAINTENANCE
Enlèvement du crochet et de ses composants

Attention! Risque de blessures provoquées par des pieces mobiles!
Eteignez l'éclairage de la machine à coudre et débranchez la fiche secteur de la prise de courant.
- Pour-retirer le crochet, amenez l'aiguille dans sa position la plus elevée puis ouvre le clapet à bras libre.
- Retirez la capsule à canette de la machine à coudre, voir page 18.
- Tournez les deux leviers ressorts (B) puis retirez le couvercle circulaire (C).
(A) Capsule à canette
(B) Levier ressort
(C) Couvercle circulaire
(D) Crochet
(E) Enveloppe du crochet
(F) Mandrin du couvercle circulaire
(G) Encoche dans l'enveloppe du crochet
- Saisissez le crochet (D) au niveau de son tenon central puis retirez-le.
- Retirez les particules de salissures et les restes de fibres de la voie du crochet ainsi que du crochet (D) et du couvercle circulaire (C).


REMARQUE: N'utilise que de l'huile pour machine à coudre pour votre machine!
ENTRETIEN ET MAINTENANCE
- Huilez les éléments avec un chiffon ne formant pas de peluches et imbibé légèrement d'huile.
- Déposez de l'huile sur le point marquéd'une flèche de l'enveloppe du crochet (E).
- Remontez tous les éléments. Saisissez pour cela le crochet (D) au niveau de son tenon central puis placez-le dans l'orientation comme montré sur l'illustration.
- Tenez le couvercle circulaire (C) de maniere que le mandrin (F) soit dirigé vers le bas et remettez-le avec précaution dans l'enveloppe du crochet (F).
- Fixez le couvercle circulaire (C) et assurez-vous que le mandrin du couvercle (F) est correctement en place dans l'évidement (G) prévu à cette fin dans l'enveloppe du crochet.
- Fixez le couvercle circulaire (C) en ramenant le levier ressort (A) dans sa position initiale.
- Remettez en place la capsule avec sa canette.

Nettoyage de la griffe

Attention! Risque de blessures provoquées par des pieces mobiles!
Eteignez l'éclairage de la machine à coudre et débranchez la fiche secteur de la prise de courant avant de commencer le nettoyage.
- Retirez l'aiguille (voir page 15) et le pied de biche (voir page 14).
- Débloquez les vis sur la plaque à aiguille (15) à l'aide d'un tournevis.
- Retirez la plaque a aiguille (15).

ENTRETIEN ET MAINTENANCE
- Nettoyez la griffe à l'aide d'une Brosse à poils fins et remettez en place la plaque à aiguille.
- Revissez la plaque a aiguille (15).
- Fixez le pied de biche et l'aiguille. La machine est à nouveau prête à fonctionner.
REMARQUE: Si vous utilisez fréquèment votre machine à coudre, il est recommandé de la nettoyer régulièrement pour obtenir des résultats optimaux.
Huilage des éléments sous le recouvrement supérieur

Attention! Risque de blessures provoquées par des pieces mobiles!
Eteignez l'éclairage de la machine et débranchez la fiche secteur de la prise de courant avant de commencer le huilage.

Attention! Endommagement de la machine!
Utilisez exclusivement une huile pour machine à coudre! Servez-vous uniquement d'une à deux gouttes d'huile pour machine pour le huilage; dans le cas contraire, vous risqueriez de salir vos ouvra- ges.
Le huilage de la machine à coudre devrait avoir lieu tous les 2 à 3 mois.
Si la machine ne fonctionne pas correctement après un temps de non-utilisation prolongé, utilisez quelques gouttes d'huile pour machine avant l'utilisation.
ENTRETIEN ET MAINTENANCE
- Retirez le recouvrement à vis (A), la vis (B) et le recouvrement supérieur (C).
(A) Recouvrement à vis
(B) Vis
(C) Recouvrement supérieur
- Nettoyez et huilez les points marqués d'une flèche, voir illustration.
- Refermez le recouvrement supérieur et fixez-le avec la vis.


REMARQUE: ÀpRES le huilage, déposez un morceau de tissu usage sous le pied de biche et faites fonctionner la machine pendant quelques minutes sans fil pour éliminer l'exçédent d'huile.
Elimination des dérangements
| Dérange-ment | Raison | Explication |
| Le fil supé-rieur se casse | 1. Le fil supérieur n'est pas correctement enfilé. | 1. Voir Point "Enfilage du fil supérieur, page 21". |
| 2. La tension du fil supérieur est trop élevé. | 2. Voir Point "Réglage de la tension du fil supérieur, page 23". | |
| 3. L'aiguille est tordue ou émoussée. | 3. Voir Point "Changement des aiguilles, page 15" | |
| 4. L'aiguille n'a pas cor-rectement été mise en place. | 4. Voir Point "Changement des aiguilles, page 15". | |
| 5. Le tissu n'avance pas au moment de la cou-ture. | 5. Voir Point "Abaissement de la griffe, page 26". | |
| 6. Le fil est soit trop épais, soit trop fin. | 6. Voir Point "Point droit, page 28". | |
| Le fil inférieur se casse | 1. Le guidage du fil inférieur n'est pas correct. | 1. Voir Point "Remontage du fil inférieur, page 22". |
| 2. Le levier articulé de la capsule de la canette est bloqué par des fibres fines. | 2. Nettoyez la capsule de la canette. | |
| 3. La capsule de la canette est endomma-gée et ne fonctionne pas correctement. | 3. Remplacez la capsule de la canette. |
ENTRETIEN ET MAINTENANCE
| Dérange-ment | Raison | Explication |
| L'aiguille se casse | 1. L'aiguille n'est pas cor-rectement mise en place. | 1. Voir Point "Changement des aiguilles, page 15". |
| 2. L'aiguille est tordue ou émoussée. | 2. Voir Point "Changement des aiguilles, page 15". | |
| 3. La vis du pince-aiguille est lâche. | 3. Voir Point "Changement des aiguilles, page 15". | |
| 4. La tension du fil supé-rieur est trop élevé. | 4. Voir Point "Réglage de la ten-sion du fil supérieur, page 23". | |
| 5. Le tissu n'avance pas au moment de la cou-ture. | 5. Voir Point "Abaissement de la griffe, page 26". | |
| 6. L'aiguille est trop fine pour le tissu. | 6. Voir Point "Tableau des aiguilles et des fils, page 16". | |
| 7. Le bouton de réglage du modele de point n'est pas correctement réglé. | 7. Voir Point "Bouton de réglage des modèles de point, page 24". |
ENTRETIEN ET MAINTENANCE
| Dérange-ment | Raison | Explication |
| Des points ont été sa-tés | 1. L'aiguille n'a pas cor-rectement été mise en place. | 1. Voir Point "Changement des aiguilles, page 15". |
| 2. L'aiguille est tordue ou émoussée. | 2. Voir Point "Changement des aiguilles, page 15". | |
| 3. L'aiguille ou le fil ne convient pas à l'ouvrage. | 3. Voir Point "Tableau des aiguilles et des fils, page 16". | |
| 4. Le fil supérieur n'est pas correctement enfilé. | 4. Voir Point "Enfilage du fil supérieur, page 21". | |
| Le tissu se gondole | 1. La tension du fil supé-rieur est trop élevé. | 1. Voir Point "Réglage de la ten-sion du fil supérieur, page 23". |
| 2. Le fil n'est pas correc-tement guidé. | 2. Voir Point "Enfilage du fil supérieur, page 21". | |
| 3. L'aiguille est trop'épaissse pour le tissu. | 3. Voir Point "Tableau des aiguilles et des fils, page 16". | |
| 4. La longueur de point est trop grande pour le tissu. | 4. Voir Point "Bouton de réglage de la longueur du point, page 24". | |
| La mise en place d'un non-tissu sous le tissu est nécessaire pour coudre des tissus très fins. |
ENTRETIEN ET MAINTENANCE
| Dérange-ment | Raison | Explication |
| Boucle dans la couture | 1. La tension du fil supérieur est trop faible.2. La combinaison taille de l'aiguille / épaisseur du fil / tissu n'est pas correcte. | 1. Voir Point "Réglage de la tension du fil supérieur, page 23".2. Voir Point "Tableau des aiguilles et des fils, page 16". |
| Le tissu n'est pas correc-tement trans-porté | 1. La griffe est bloquée par des fibres fines.2. La griffe n'est pas acti-vee (soulevée).3. Les points sont trop courts. | 1. Voir Point "Nettoyage de la griffe, page 50".2. Voir Point "Abaissement de la griffe, page 26".3. Voir Point "Bouton de réglage de la longueur du point, page 24". |
| La machine ne démarre pas | 1. L'interrupteur secteur est hors service.2. Le fil s'est pris dans le levier articulé de la capsule de la canette.3. Le volant se trouve en position de bobinage. | 1. Voir Point "Mise en place et branchement, page 11".2. Voir Point "Remontage du fil inférieur, page 22".3. Voir Point "Bobinage, page 19". |
ENTRETIEN ET MAINTENANCE
| Dérange-ment | Raison | Explication |
| La machine fait du bruit ou est lente | 1. Le fil s'est pris dans le levier articulé de la capsule de la canette. | 1. Voir Point "Introduction du fil dans la capsule de la canette, page 20". |
| 2. La griffe est bloquée par des fibres fines. | 2. Voir Point "Nettoyage de la griffe, page 50". | |
| 3. Graissage insuffisant. | 3. Voir Point "Huilage des éléments sous le recouvrement supérieur, page 51". |
CHARACTERISTIQUES TECHNIQUES
Machine à coudre YAMATA FY760/FY2300
Tension nominale 230V 50Hz , puissance nominale 85 W, moteur 70 W, TÜV-GS, CE,
classede protectionII(ouA)
Lampe
230 V~50 Hz, max. 15 W
Pédale MODELE HKT7
Tension nominale 200-240 V~50 Hz, 0,5 A, TÜV-GS, CE, classe de protection II (ou A)
Notice Facile