DA200ES - Système de stockage HITACHI - Notice d'utilisation et mode d'emploi gratuit
Retrouvez gratuitement la notice de l'appareil DA200ES HITACHI au format PDF.
| Intitulé | Description |
|---|---|
| Type de produit | Perceuse à percussion sans fil |
| Caractéristiques techniques principales | Vitesse variable, couple réglable, fonction percussion |
| Alimentation électrique | Batterie lithium-ion rechargeable |
| Dimensions approximatives | Longueur : 200 mm, Hauteur : 250 mm |
| Poids | 1,5 kg |
| Compatibilités | Accessoires de perceuse standard, mandrin de 13 mm |
| Type de batterie | Batterie lithium-ion |
| Tension | 18 V |
| Puissance | Max. 40 Nm de couple |
| Fonctions principales | Perçage, vissage, percussion |
| Entretien et nettoyage | Nettoyer régulièrement, vérifier l'état de la batterie |
| Pièces détachées et réparabilité | Disponibilité de pièces de rechange, service après-vente Hitachi |
| Sécurité | Utiliser des lunettes de protection, respecter les consignes de sécurité |
| Informations générales utiles | Garantie de 2 ans, manuel d'utilisation inclus |
FOIRE AUX QUESTIONS - DA200ES HITACHI
Questions des utilisateurs sur DA200ES HITACHI
0 question sur cet appareil. Repondez a celles que vous connaissez ou posez la votre.
Poser une nouvelle question sur cet appareil
Téléchargez la notice de votre Système de stockage au format PDF gratuitement ! Retrouvez votre notice DA200ES - HITACHI et reprennez votre appareil électronique en main. Sur cette page sont publiés tous les documents nécessaires à l'utilisation de votre appareil DA200ES de la marque HITACHI.
MODE D'EMPLOI DA200ES HITACHI
Lire attentivement le manuel avant d'utiliser la machine.

ATTENTION!
Les gaz d'échévement du moteur de cette machine contiennent des produits chimiques considérés comme pouvant causeurs des cancers, des malformations congenitales et autres troubles de la reproduction.


Il est essentiel que vous lisiez et comprendiez parfaitement les consignes de sécurités suivantes et autres averissements et que vous les observiez strictement. L'utilisation inattentive ou inadéquate de cette unité risque de provoquer des blessures graves ou fatales.

Lisez, comprende et suivez toutes les instructions et tous les avertissements disponibles dans ce manuel et sur la machine.

Utilisez toujours des lunettes de protection ainsi qu'une protection pour la tête et les oreilles lorsque vous utilisez cette machine.


Explique la position de l'étrangleur. La marque supérieure indique que l'étrangleur est fermé et la marque inférieure qu'il est complètement ouvert.

Ne touchez en aucun cas la mèche quand le moteur fonctionne.
Avant l'utilisation de votre nouvelle machine
- Lire attentivement le manuel d'utilisation.
- Verifier que l'équipment de coupe est monté et régle correctement.
- Demarrer la machine et vérifier le réglage du carburateur. Voir "Entretien".
Déclaration de conformité
Nous, sousignés, Nikko Tanaka Engineering Co., Ltd., 3-4-29 Tsudanuma, Narashino, Chiba, Japan
Déclarons sous notre seule responsabilité que le produit en question, DA200E (S) tarièmecanique modèle
à laquelle se rapporte la presente déclaration est conforme aux directives concernant les conditions de sécurité essentielles.
98/37/EC, 89/336/EEC, 2000/14/EC
Lesnormes suivantes ont ete prises en considération.
ISO 3864 (EN ISO 1200-1/2)
Fait à : Chiba, Japan
on the
05/01/2007
Signature :

Yoshio Osaka
No. de série à partir de
E570001
Function :
Direteur
Index
Description 4
Précautions et consignes de sécurité 5
Montage 6
Utilisation 6
Entretien 7
10
1. Description
Comme ce manuel se refère à plusieurs modèles, il se peut qu'il y ait de différences entre les images et votre apparéil. Suivez les instructions concernant votre modèle.
- Levider de support
- Capuchon de bougie
- Interrupteur marchearrêt
- Silencieux d'echappement
- Arbre de transmission
- Levier de l'acceléateur
- Demarreur a recul
- Boite d'emgrenages
- Bouchon de remplissage du carburant
- Reservoir de carburant
- Trou de lubrification
- Filtrera air

2. Précautions et consignes de sécurité
Sécurité de l'utilisateur
- Portez toujours une visière et des lunettes de protection.
- Portez toujours un pantalon, des chaussures et des gants de sécurité. Evitez les vêtements amples, les shorts, les sandales et les pieds nus. Veillez à ce que vos cheveux ne descendent pas au-dessous des épaules.
N'utilise cette machine que si vous etes en pleine possession de vos moyens physiques. Evitez strictement la consommation d'alcohol, de drogue ou de medicaments. - Ne jamais laisser un enfant ou une personne inexplémentée se servir de ces machines,
- Portez un dispositif de protection contre le bruit pour vos oreilles.
Ne mettez jamais le moteur en marche dans un local clos, les gaz d'échéppement étant toxiques.
Nettoyez les poignées de toute trace d'huile ou de carburant. - Ne pasapprocher les mains du dispositif de forage.
- Ne pas saisir ou tener l'unité par le dispositif de forage.
Lorsque I'on arrête I'unité, veiller à ce que le dispositif de forage soit complètement arrêté avant de poser l'unité.
Lors d'une utilisation prolongee, veillez a faire une pause periodiquement, afin d'eviter des troubles eventuels provoqués par les vibrations. - Est sur de vérifier tous fermоirs sur la machine pour s'assurer que rien ne peut se détendrependant l'opération.
- Étre sur que le secteur que vous projetez creuser est libre de n'importe quels obstacles et d'obstructions. Quelques articles peuvent être enterrés en dessous de la surface, l'installation électrique telle qu'électrique, les lignes de flottaison, etc. Si vous avez des doutes de leur emplacement - consulte vos experts d'utilité locaux.
- Cettevrille estconque pourennuyerpar la terre.Jamais la tentative pour ennuyer par les objets solides tels que bois,le rocher ou le métal.
- Ne Jamais changer ou remplaner l'épingle obtenant le morceau de vrille à la tête de pouvoir. L'utilisation n'importe quoi autrement que l'épingle originale peut avoir pour résultat à la blessure.
- Ce modele est concu pour accepter un morceau de vrille avec un diametre maximum de 8 pouces. Jamais la tentative pour utiliser un plus grand morceau avec cette machine.
- Avant commencer à est sur que les deux opérateurs sont dans une position fermement de saisir des poignées et peuvent gagner le fondation assure. Ne jamais fonctionner sur escarpé incline où le potentiel pour tomber est augmente.
- Les Trous créés par cette machine peuvent être dangereux aux autres. Ne jamais partir un trou indépendant où il peut creer un danger de sûreté.
Régles de sécurité concernant l'utilisation de la machine.
- Contrôlez entièrement votre machine avant chaque utilisation. Remplacez les pièces endommagées. Vérifiez l'absence de fuites de carburant et assurez-vous que tous les dispositifs de fixation sont en place et solidement fixés.
-
Remplacez les éléments de la machine qui doivent des fissures, des ébrechures ou toute autre avarie.
-
Ne laïsez personne s'approcher lorsque vous reglez le carburateur.
Utilisez uniquement les accessoires recommendés par le constructeur pour cette machine.
ATTENTION
Ne modifiez enaucun cas I'equilpement.Ne jamais utilisel r'outil de forage pour tout autre travail que celui auquel il est destiné.
d'accidents ou de blessures. Sécurité au niveau du carburant
Faites le melange et le plein à l'air libre, à distance de toute étincelle ou flamme
Utilisez pour l'essence un recipient agree.
- Ne fumez pas et ne laissiez personne fumer à proximé du carburant ou de la machine. Ni lorsque vous utilisez la machine.
- Essuyez soigneusement toutes les traces de carburant avant demettre le moteur en marche.
- Pour démarrer la tronconneuse, écartez vous d'au moins 3 mètres de l'endetroit où vous avez fait le plein.
- Arrêtez le moteur avant de dévisser les bouchons des réservoirs de carburant ou d'huile.
Vidangez le réservoir de carburant avant de remisser la machine il est en fait recommandé de le faire après chaque utilisation. Si le réservoir n'est pas vide, rangez alors la machine dans une position telle que le carburant ne risque pas de couler.
- Rangez la machine et le carburant dans un endroit où les vapeurs d'essence ne risquent pas d'entre en contact avec des étincelles ou une flamme en provenance d'un chauffe-eau, d'un moteur electrique, d'un commutateur, d'une chaudière, etc.
ATTENTION
Les systèmes anti-vibrations, aussi bon solent-ils, ne garantissant pas que vous ne pulsaissez pas souffrir de la maladle des dolgts blancs, ni du syndrome du canal carpien. Par consequenc, si vous vous servez de façon reguliere et continue de votre tronconenneuse, surveillez soligneusement I'etat de vos malns et de vos dolgts. Si I'un des symptomes ci-dessus venait a apparaître, il serait Indispensable de vous faire examiner Immediatement par votre medecin.
Consignes de sécurité concernant le forage
- Ne jamais forer de matérieliaux autres que ceux pour lesquels l'unité a été consue.
- In specter la zone à forer à chaque fois avant de commencer les opérations. Enlever tout ce qui risque d'être projeté ou de s'enmelier.
Pour la protection des voies respiratoires, porter un masque de protection contre les aérosols lorsqu'l'onForeune zone traitée avec des insecticides.
Veillez a ce que personne, enfants, animaux, spectateurs ou aides ne se tienne à l'intérieur de la zone de sécurité de 5 metres. Arrêtez immédiatement le moteur si celuiqu'un s'approche de vous.
Tenez vous bien en équilibre sur vos deux jambes. Ne travailliez jamais en porte-à-faux. - Maintenez fermement la machine des deux mains.
Demeurer toujours à une distance respectable du silencieux d'échévement et du dispositif de forage lorsque le moteur tourne.
Sécurité au niveau de l'entretien
- Entretenez votre machine selon les recommendations du constructeur,
- Debranche la boute avant toute intervention intervention d'entretien, à l'exception des opérations de réglages du carburateur.
-Ne laissez personne s'approcher de la machine lorsque vous procedezu reglage du carburateur.
N'utilise que les pièces de remplacement HITACHI d'origine comme recommendé par le fabricant.
Transport et rangement
- Portez la machine avec moteur arrêté et silencieux orienté vers l'extérieur.
Laissez le moteur refroidir, videz le réservoir de carburant et voirce a ce que la machine ne risque pas de tomber lorsquevous la rangez ou la chargez a bord d'un vehicule. - Vidangez le réserve de carburant avant de remisser la machine, Il est en fait recommandé de le faire après chaque utilisation. Si le réserve n'est pas vide, rangez alors votre tronconneuse dans une position telle que le carburant ne risque pas de couler.
- Remisez la machine hors de portée des enfants.
Nettoyer et entretenir l'outil soigneusement et le remiser dans un endroit sec.
Assurez you que le commutateur d'arret du moteur est bien sur la position "stop" lors du transport ou du remisage de la machine.
Lors du transport de I'equipement dans un vehicule, couvir l'outil tranchant avec le couvercle de protection ou une couverture.
Si vous rencontres une situation non prévue dans le manuel, utilisez votre jugement et votre bon sens. Communiquez avec un concessionnaire HITACHI pour toute assistance.
Dans les textes qui suivent, les passages particulièrement importants sont mis en évidence de trois manières différentes selon leur niveau de risque ou la gravité des dommages qui peuvent en résultat:
ATTENTIONI
Information de première importance pour éviter des dommages corporels graves ou mortels.
IMPORTANT!
Information importante afin déviter les dommages corporels ou matériels.
REMARQUE!
Information importante pour la compréhension d'une intervention, évitant ainsi des erreurs.
IMPORTANT!
Ne pas démonter le lanceur du moteur. On pourrait se blesser à cause du ressort de rappel.

Fig.1-1

Fig.2-1

Fig. 2-3

Fig. 2-2

Fig. 2-4
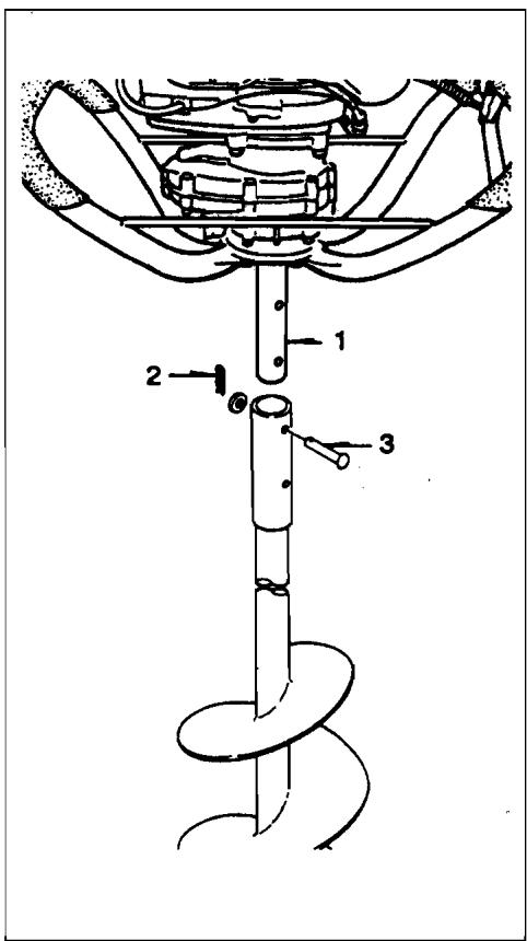
3. Procedés d'assemblage
Montage (Fig. 1-1)
Connector la mèche à l'arbre d'actionnement (1) à la tête d'alimentation du moteur et le fixer avec les goupilles à ressort (2) après avoir monté les goupilles de calage (3) et les rondelles (2 pieces chacune).
Sélection d'un trépan approprié
Selectionner un trépan de perçage approprié au matériel devant être percé.
Au cas où il s'agit d'un forage de glace, employer une mèche a glace. Lorsque le sol soit sondé, employer une mèche à sol.
4. Procedés de fonctionnement
Carburant (Fig. 2-1)
ATTENTION!
La tarière mécanique est équilpée d'un moteur à deux temps et doit toujours être allimentée en carburant avec un mélange essence/hülle.
Vellier à une bonne évaluation pendant l'opération de rempilssage du réservolr.
Essence
- Toujours utiliser de l'essence sans plomb avec un taux d'octane de 89.
Utilisez une huile pour moteur à deux temps ou un mélange variant de 25:1 à 50:1; veuillez consulter le contenant d'huile pour la proportion du mélange ou communique avec un concessionnaire HITACHI. - Et une proportion 50:1 pour l'Etat de la Californie uniquement.
- Si vous n'utilise pas une hulie d'origine, utilisez une hulie de qualite contenant un antioxydant recommandee pour etre utilisée avec un moteur a deux temps refroidi a l'air (HUILE JASO QUALITE FC OU ISO QUALITE EGC).
Ne jamais utiliser des huiles mélangées BIA ou TCW (pour les moteurs à essence 2 temps à refroidissement par eau).
- Ne jamais utiliser d'huile Multigrade (10W/30), ni d'huile usage.
- Effectuez toujours le mélange dans un recipient propre.
Toujours commencer par verser la moitié de l'essence à mélanger. Verser ensuite la totalité de l'huile. Mélanger en agitant le récipient. Enfin, verser le reste de l'essence, puls agiter le récipient afin de mélanger solgneusement le carburant avant de faire le plein.
Faire le plein
ATTENTIONI
- No jamais faître le plein lorsque le moteur est en fonctionnement.
- Desserrer lentement le bouchon du réservoir de carburant pour effectuer le rempillage aflin de laisser échapper une supression évientuelle.
- Serrer le bouchon solignement après avoir rempli le réservoir de carburant.
- Avant de redémarrer le moteur, toutes s'éloigner d'au moins trois métres de l'endroit ou vous avons fait le plein de carburant.
Pendant le replliassage respectez les règles de propre.
Essuyez autour du bouchon du réservoir afin d'éviter que des corps étrangers ne pénétre dans le réservoir. Les saletés qui se trouervaient dans le réservoir risquant d'occasionner des troubles de fonctionnement.
Veillez à ce que le mélange soit bien homogène en agitant à intervalle régulier le recipient avant et pendant le replissage.
Démarriage
- Placer l'interrupteur marche-arrêt (1) en position marche (ON). (Fig. 2-2)
*Presser la poir de la pompe d'amorçage (4) à plusieurs reprises pour que le carburant pulsse s'écouler par la poir ou par le tuyau de retour (5). (Si la machine en est munie.) (Fig. 2-3) - S'il y a un dispositif de blocage du régulateur (3), tirer dessus la gachette du régulateur (2) (accelerateur) et continuer à pousser le dispositif de blocage du régulateur (3) et, ensuite dégager lentement le levier à verrouiller. (Fig. 2-2)
- Régler la manette du starter sur la position fermée. (Fig. 2-3)
- Tirer vivement sur la corde du lanceur, en faisant attention de bien tener la polgnée sans la laisser se detacher brusquement. (Fig. 2-4)
- Lorsqu'on sent que le moteur va demarrer, repousser la manette de starter dans la position de fonctionnement (ouverte). Puis tirer à nouveau vivement sur le lanceur. (Fig. 2-3)
REMARQUE!
Si le moteur ne se met pas en marche, repeter la procEDURE a partir des points 2 à 5.
6. ÀpRES avoir mis en marche le moteur, le laisser s'échauffer pendant 2 à 3 minutes avant de le soumettre à une charge quelconque.

Fig. 2-5

Fig. 2-6

Fig. 3-1

Fig. 3-1B
Percage (Fig. 2-5)
ATTENTIONI
Ne touchez enaucun cas la miche quand le moteur fonctionne afin de prévenir un accident Imprevisble. Veiller à bien placer l'interrupteur marche-arrêt en position OFF avant de toucher la miche.
- Tenir fermement la poignee a deux mains pour ne pas etre basculé par l'appareil.
- Posers le bord de la mèche exactement à l'endetroit à creuser et, ensuite, faire fonctionner la mèche. C'est un travail facile grâce à l'embrayage centrifuge encastré.
- Arreter le moteur et inspecter l'appareil s'il y ait du bruit ou des vibrations anormaux.
- On peut se fatiguer en faisant fonctionner l'appareil pendant longtemps. Reposezvous de temps en temps.
Arrét (Fig. 2-6)
- Réduire le régime du moteur et pousser le commutateur d'arrêt sur la position "Stop". arrêté.
5. Entretlen
L'ENTRETIEN. LE REMPLACEMENT OU LA REPARATION DES DISPOSITIFS ET SYSTEMES DE CONTROLLE DE L'ECHAPPEMENT PEUVENT ETRE EFFECTUES PAR N'IMPORTE QUEL ATELIER DE RÉPARATION OU MÉCANICIEN DE MOTEUR NON AUTOMOBILE.
Réglage du carburateur (Fig. 3-1, 1B)
1 ATTENTIONI
Il se peut que le foret tournole pendant le réglage du carburateur.
ATTENTIONI
Ne jamais démarrer le moteur avant que le carter de protection d'embrayage et la boite d'engrenage solent parfaitement assemblées. Autrement le carter d'embrayage risquéralt de se détacher et de causeur un accident corporel.
Dans le carburateur, l'air est mélangé à l'essence. Le carburateur est réglé pendant les essais en usine. Ce réglage peut nécessiter des modifications selon les conditions climatiques et l'altitude. Le carburateur présente une possibilité de réglage.
T = Vis de réglage du ralenti
Réglage du ralent (T)
Verifier que le faitre a air est propre. Quand la vitesse de ralenti est correcte, la mèche ne doit pas tourner. Si un réglage est nécessaire, visser (dans le sens des aiguilles d'une montre) la vis en T, avec le moteur en marche, jusqu'à ce que la mèche commence à tourner. Dévisser (dans le sens inverse des aiguilles d'une montre) la vis jusqu'à ce que la mèche s'arrête. La vitesse de ralenti correcte a été atteinte lorsque le moteur fonctionne sans problème dans toutes les positions en-dessous.
de la vitesse de rotation (nombre de tours/minute) à laquelle la mèche commence à tourner. Si la mèche continue à tourner même après avoir effectué le réglage de la vitesse de ralentti, veuiller contacter votre atelier d'entretien.
REMARQUEI
Le nombre normal de tours par minute au ralenti est de 2500 - 3000 tr/mn.
REMARQUE
Quelques-uns modèlent vendu dans les secteurs avec les règlements d'émission d'échéppement stricts n'a pas haut ajustements et les ajustements bas de carburateur de vitesse. Tels ajustements peuvent permettre au moteur être fonctionné l'extérieur de leurs limites de conformité d'émission. Pour ces modèles, le seul ajustement de carburateur est la vitesse inoccupé.
Pour les modèles qui sont équipés avec le niveau bas et les ajustements rapides; les carburateurs sont réglent à l'avance à l'usine. Les ajustements mineurs peuvent optimiser l'exécution basée sur le climat, l'atitude, etc. Ne jamais tourner les vis d'ajustement dans les graduations plus grandes que 90 degrès, comme les dommages de moteur peuvent résultat la forme ajustement inexact. Si vous nétés pas familiar avec ce type d'ajustement-tcherche l'assistance de votre négociant de HITACHI.

ATTENTION!
Le lame doit être absolument Immobile avec le moteur tournant au ralentl.

Fig. 3-2

Fig. 3-2B

Fig. 3-3

Fig. 3-4
Filtre air (Fig. 3-2, 2B)
Nettoyer le filtre a air regulierement pour eviter :
- Les troubles de fonctionnement du carburateur.
- Les problèmes de démarrage.
- Les pertes de puissance.
L'usure prematurée des organes du moteur. - Une consommation anormalement elevée.
Nettoyer le filtré à air tour les jours, plus féquement en milieu poussièreux.
Nettoyage du litre
Démonter le carter du filtre à air et sortir le filtre.
Le laver dans de l'eau savonneuse chaude.
Veiller ensuite à ce qu'il soit bien sec avant de le remonter. Un filtré à air ayant servi longtemps ne peut être complètement nettoyé. Pour cette raison, le filtré doit être replacé régulièrement par un filtré neuf. Toutjours replacer un filtré endommagé.
Bougle (Fig. 3-3)
L'etat de la bougie est influencé par :
Un mauvais réglage du carburateur
- Un mélange incorrect (trop riche en huile)
- Un filtré à air sale
- Des conditions .d'utilisation difficiles (par temps froid par exemple)
Ces facteurs contribuient à la formation de dépôts sur les électrodes de la bougie et peuvent entraîner des troubles de fonctionnement et des difficultés de démarrage. Si le taillie-haies manque de puissance, si il démarre mal ou si son ralenti est irrégulier, toujours commencer par vérifier l'état de la bougie. Si la bougie est encrassée, la nettoyer et vérifier l'écartement des électrodes (0,6 mm). La bougie devra être remplaçaee après une centaine d'heures d'utilisation ou plus tout si les électrodes sont endommagées.
REMARQUE!
Dans certaines régions, la reglementation locale exige l'utilisation d'une bougle équipée d'une résistance d'antiparasitage afin d'éliminer les signaux d'allumage. Si cette machine était équipée à l'origine d'une bougle avec résistance d'antiparasitage, utiliser le même type de bougle lorsque vous la remplacez.
Transmission (Fig. 3-4)
Vérifier le niveau de graisse de la transmission et de l'embrayage après chaque période de 50 heures d'opération en retardant le bouchon de l'orifice de replissage de la graisse qui se trouve sur le cote de la boite de transmission. Si on ne peut pas voir de graisse sur les flans des engrenages,mplir la boite de transmission avec une graisse à usages multiples au lithium de bonne qualite jusqu'au 3/4. Ne pasmplir complètement la boite de transmission.

Fig. 3-5

Fig. 3-6

Fig. 3-7

Fig. 3-7B
Filtre a carburant (Fig. 3-5)
Purger tout le carburant qui se trouve dans le réservoir de carburant et retirer la durite du filtre à carburant du réservoir. Detacher la cartouche du filtre de l'ensemble et rincer la cartouche dans de l'eau chaude contenant un produit détersif. Rincer soignement jusqu'à ce que toutes traces de détergent aient été éliminées. Presser la cartouche sans la tordre afin d'éliminer l'excess d'eau et laisser celle-ci sécher à l'air libre.
REMARQUE!
Si le filtré a durci à cause des impuretés contenues dans le carburant, il convient de le replacer.
Nettoyage des ailettes du cylindre (Fig. 3-6) Si des copeaux de bois, sont coincés entre les ailettes du cylindre, le moteur risque de surchauffer, diminuant ainsi le rendement. Afin d'eviter une telle eventualité, maintainir en permanence les ailettes du cylindre et le carter du ventilateur dans un état de propre. Àpres cent heures d'opération, ou une fois par an (plus fréquemment si requis par les confictions d'opération), nettoyer les ailettes et la surface extérieure du moteur afin d'enlever la poussière, les saletés et les dépots d'huile qui risqueraient d'empêcher un refroidissement ajustat du moteur.
Nettoyage du silencieux (Fig. 3-7, 7B)
Démonter le silencieux et le pare-étincelles (si la machine est équipée d'un tel dispositif) et nettoyer régulièrement les résidus de carbone déposés au niveau de l'orifice d'échéppement et de l'entrée du silencieux toutes les 100 heures de service.
Lors d'un stockage prolongé
Vider le réservoir de carburant. Mettre en marche le moteur et le laisser tourner jusqu'à ce qu'il s'arrête de lui-même. Effectuer toutes les réparations nécessaires sur les pièces endommagées pendant l'utilisation. Nettoyer la machine en utilisant un chiffon propre ou à l'aide d'un jet d'air compré. Introduire quelques gouttes d'huile pour moteur deux temps par le trou de la bougie d'allumage et faire tourner plusieurs fois le moteur pour bien distribuer l'huile. Recouvrir la machine et la remiser dans un endroit à l'abri de l'humidité.
Pare-étincelles
Si vous unité est équipée d'un écran pare-étincelles et que la réglementation locale en vigueur impose l'utilisation d'un pare-étincelles en vue de prévenir les risques d'incendie, veuiller fixer l'écran pare-étincelles sur le silencieux après avoir retirer la protection du silencieux et les autres pieces eonnexes. (Le pare-étincelles est conforme à la réglementation et aux normes SAE J335-SEP90 et CSA CAN3-Z62, 1-M77)
Entretlen
Vous trouvrez ci-dessous quelques conseils d'entretien d'ordre général. Pour toute information complémentaire, contactez votre agent Tanaka.
Entretien quotidlen
Nettoyer exterieurement le taille-haies.
Vérifier que l'outil de forage est bien centré, affuté et qu'il ne présente pas de fissures. Un foret décentré provoque des susceptibles d'endommager l'unité.
- Vérifier que l'écrou de forage est suffisamment desseré.
- Vérifier le serrage de tous les écrous et vis, surtout les écrous fixant le filtre à air.
Entretien hebdomadale
- Contrcler le lanceur, sa corde et son ressort de rappel,
Nettoyer la bougie exterieurement, la démonter et contrôle l'écartement de ses électrodes, qui doit être de 0.6 mm.
La remplacer le cas échéant.
Nettoyer les ailettes de refroidissement du cylindre et vérifier que la prise d'air située au niveau du lanceur n'est pas obstruée. - Vérifier que la boîte d'engrenages ou la transmission est remplie aux 3/4 de lubrifiant.
Nettoyer le filtré à air.
Entretlen mensuel
Rincer le réservoir de carburant à l'essence.
Nettoyer extérieurement le carburateur et son logement.
Nettoyer le ventilateur et son logement.
6. Caractéristiques
MODELE
DA200E (S)

Taille du moteur (ml). 33 (2.00 cu. in.)

Bougie d'allumage CHAMPION CJ6Y or RCJ6Y ou équivalent

Contenance du réservoir. 0.70 (23.6 fl. oz) de carburant (1)

Conduire le Diametre d'Arbre (mm)... 25.0

Maximum La Talle de. 150(5.9 in)
morceau (mm) (pour la terre)

Niveau de pression sonore (dB(A)) ...94.5 (EN27917)

Niveau de puissance sonore. 116 (db(A))

Niveau de vibrations ( / ^2) (ISO 7916)
Manette droite 7.2
Manette gauche 6.3
Notice Facile