BARBECUE BAT L2 - Barbecue LISTO - Notice d'utilisation et mode d'emploi gratuit
Retrouvez gratuitement la notice de l'appareil BARBECUE BAT L2 LISTO au format PDF.
| Type de produit | Barbecue à gaz |
| Caractéristiques techniques principales | 2 brûleurs en inox, surface de cuisson en acier émaillé |
| Alimentation | Gaz propane ou butane |
| Dimensions approximatives | Largeur : 110 cm, Profondeur : 50 cm, Hauteur : 100 cm |
| Poids | 30 kg |
| Compatibilités | Compatible avec les bouteilles de gaz de 13 kg |
| Puissance | 5 kW |
| Fonctions principales | Griller, rôtir, cuire à feu direct ou indirect |
| Entretien et nettoyage | Grilles à nettoyer après chaque utilisation, cuve à vider régulièrement |
| Pièces détachées et réparabilité | Disponibilité de pièces de rechange sur demande |
| Sécurité | Vanne de sécurité, utilisation en extérieur uniquement |
| Informations générales | Garantie de 2 ans, manuel d'utilisation inclus |
FOIRE AUX QUESTIONS - BARBECUE BAT L2 LISTO
Questions des utilisateurs sur BARBECUE BAT L2 LISTO
0 question sur cet appareil. Repondez a celles que vous connaissez ou posez la votre.
Poser une nouvelle question sur cet appareil
Téléchargez la notice de votre Barbecue au format PDF gratuitement ! Retrouvez votre notice BARBECUE BAT L2 - LISTO et reprennez votre appareil électronique en main. Sur cette page sont publiés tous les documents nécessaires à l'utilisation de votre appareil BARBECUE BAT L2 de la marque LISTO.
MODE D'EMPLOI BARBECUE BAT L2 LISTO
Notice d'utilisation
Barbecue
BAT L2
BAP L2
Consignes de sécurité importantes
lisez attentivement ces instructions avant d'utiliser l'appareil et conservez-les pour pouvoir les consulter ultérieurement.
Si vous prêtez votre appareil à un tiers, fournissez également cette notice.
- Cet appareil est destiné à un usage domestique uniquement. Tout autre usage (professionnel, commercial, etc.) est exclu. N'utilisez cet appareil que comme indiqué dans cette notice d'utilisation et pour l'usage auquel il est destiné : faire griller de la nourriture.
Les 2 modèles de barbecue Listo BAT L2 et BAP L2 peuvent être utilisés EN INTERIEUR et EN EXTERIEUR SOUS ABRI. Veillez cependant à ne pas exposer cet apparéil à la pluie ou à l'humidité
L'appareil ne doit jamais être utilisé sans eau. Placez le réflecteur en aluminium fourni dans la cuve, puis versez un peu d'eau dans le réflecteur. Le niveau d'eau dans la cuve devra toujours se situer entre le niveau minimum « min » et le niveau maximum « max » indiqués à l'intérieur de la cuve. - Ne versez jamais d'eau directement sur la résistance ou le boîtier thermostat. - Cet appareil n'est pas destiné à être utilisé par des personnes (notamment des enfants) dont les capacités physiques, sensorielles ou intellectuelles sont réduites, ou par des personnes manquant d'expérience ou de connaissances, à moins que celles-ci ne soient sous surveillance ou qu'elles aient reçu des instructions quant à l'utilisation de l'appareil par une personne responsable de leur sécurité. Veillez à ce que les enfants ne puissent pas jouer avec l'appareil. Soyez vigilant si l'appareil est utilisé en présence d'enfants ou d'animaux. - Ne laissez jamais l'appareil fonctionner sans surveillance.
Ne touche pas les parties métalliques (grille et cuve) de l'appareil lorsqu'il fonctionne car elles sont très chaudes. utilisez les poignées en plastique.
L'appareil et le cordon d'alimentation ne doivent jamais entrer en contact avec des surfaces chaudes, des flammes ou des bords tranchants. - Avant de brancher l'appareil, vérifiez que la puissance et la tension indiquées sur la plaque signalétique de l'appareil correspondent à celles de votre installation électrique. - Branchez toujours votre appareil sur une prise de courant reliée à la terre. Si une rallonge électrique est utilisée, elle doit être avec prise de terre incorporée et doit supporter la puissance de l'appareil. Veillez à disposer le cordon d'alimentation ou la rallonge de façon à ce que personne ne s'entraîne dedans. Raccordez l'appareil à une installation responsable un dispositif à courant différentiel résiduel ayant un courant de déclenchement n'excédant pas 30 ma. Demandez à votre électricien pour plus d'informations. Avant chaque utilisation, déroulez entièrement le câble d'alimentation. Vérifiez régulièrement l'appareil pour vous assurer qu'il n'est pas endommagé. N'utilisez jamais l'appareil si le boîtier thermostat ou l'appareil est endommagé de quelque façon que ce soit. Si le boîtier thermostat ou le câble d'alimentation est endommagé, il doit être impérativement remplacé par votre revendeur, son service après-vente ou une personne de qualification similaire afin d'éviter tout danger. Lorsque vous utilisez l'appareil, vérifiez qu'aucun objet inflammable ne se trouve à proximité ou directement sur le gril. Pour éviter la surchauffe de votre appareil, nous vous recommandons de ne pas le placer dans un coin ou contre un mur. La grille ne doit jamais entrer en contact avec la résistance lorsqu'il l'appareil est en marche.
Le boîtier thermostat ou la prise ne doit jamais être immergé dans l'eau ou exposé à la pluie.
- Ne manipulez pas l'appareil ni la prise avec les mains mouillées.
Débranche toujours l'appareil après chaque utilisation et laisse-le refroidir avant de le nettoyer, de le ranger ou de le déplacer.
- Mise en garde : charbon et produits combustibles similaires ne doivent pas être utilisés avec cet appareil.
- Ne pas faire de cuisson en papillote.
- Installez l'appareil sur une surface stable, lisse et résistante. Ne placez pas l'appareil sur une surface fragile (table en verre, etc.). Utilisez toujours l'appareil avec le réflecteur en aluminium fourni.
Attention aux projections de graisses lors de la cuisson - risques de brûlures !
- Ne pas faire griller d'aliments hors de la cuve.
- Cet appareil n'est pas destiné à être mis en fonctionnement au moyen d'une minuterie extérieure ou par un système de commande à distance séparé.
Soyez particulièrement vigilant à bien positionner le boîtier thermostat de façon à actionner la sécurité.
Puissance : 2000 W
Tension d'alimentation : 230 V~ 50 Hz
Contenance maximale en eau : 1,5 litre
Description de l'appareil (selon le modèle)

Modèle BAT L2

Installation (uniquement pour le modèle BAP L2)


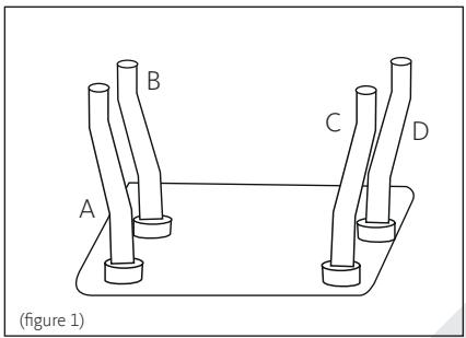
1- Retournez la cuve et fixez les 4 pieds (A, B, C et D) aux 4 embouts en plastique en respectant l'angle d'inclinaison des pieds (voir figure 1). 2- Fixez la grille repose-plats aux points E1, E2, E3 et E4 à l'aide des 4 vis fournies (voir figure 2). Vissez les écrous du côté interieur. 3- Retournez le barbecue et assurez-vous de sa stabilité (voir figure 3).

Avant la première utilisation
Retirez tous les emballages et accessoires situés à l’intérieur comme à l’extérieur de l’appareil. Nettoyez la cuve, le réflecteur en aluminium et la grille métallique avec une éponge douce et de l’eau chaude savonneuse. Rincez à l’eau claire et séchez soigneusement avec un chiffon doux.
Interrupteur de securite
Soyez particulièrement vigilant à bien positionner le boîtier thermostat de façon à actionner la sécurité.
L'interrupteur de sécurité sert à couper l'alimentation de la résistance si celle-ci n'est pas bien positionnée sur la cuve.
Gardez toujours à l'esprit que la résistance reste très chaude après avoir été branchée et ne doit pas être touchée.

Utilisation
Modèle barbecue de table BAT L2 :
Placez votre barbecue de table modèle BAT L2 sur une surface stable et non fragile.
Modèle barbecue sur pied BAP L2 :
1) Pour le barbecue sur pied modèle BAP L2, montez les pieds support comme indiqué dans le paragraphe « Installation » puis installez-le sur une surface plane et horizontale. 2) Placez le pare-vent dans les encoches prévues à cet effet. 3) Avant de brancher l'appareil, placez le reflecteur au fond de la cuve et remplissez-le d'eau. Le reflecteur doit être totalement immergé dans l'eau.
TRES IMPORTANT: Le niveau de l'eau ne doit jamais dépasser le repère maximum indiqué sur la cuve (soit 1,5 litre).
4) Insérez la résistance comme suit :
Positionnez bien le boîtier thermostat sur la cuve pour enclencher la sécurité. Vérifiez que les deux crochets se positionnent bien dans les deux encoches prévues à cet effet de part et d'autre de la cuve.
Ne versez jamais d'eau directement sur la résistance car cela l'endommagerait.
5) Placez la grille directement sur la résistance. 6) Vous pouvez maintenant brancher l'appareil et régler la température que vous souhaitez avec le thermostat à tout moment. Tournez le bouton dans le sens des aiguilles d'une montre (de la température la plus BASSE à la température la plus élevée).
Note: En cours de cuisson, le voyant de régulation s'allume et s'éteint: ceci est normal.
7) En fin de cuisson, débranchez l'appareil de la prise de courant.
Note: Lors de la première utilisation, il est normal qu'une légère odeur et qu'un peu de fumée se dégagent de l'appareil. Ceci provient des résidus de fabrication. Cela disparaitra rapidement par la suite.
Vous pouvez positionner la grille métallique de deux façons :
- en position basse : insérez-la dans les encoches prévues à cet effet de part et d'autre de la cuve. Plus proche de la résistance chauffante, la cuisson sera plus rapide.
- en position haute : la grille est posée directement sur la cuve (dans les 4 renfonçements prévus à cet effet). Plus éloignée de la résistance chauffante, cette position convient pour terminer la cuisson.
Conseils de cuisson
- Avec ce barbecue, vous pouvez faire griller toutes les viandes habituelles, mais aussi les saucisses, légumes, poissons ou autres, d'une manière saine.
Attention: ne placez jamais de plastique ou d'aluminium sur la grille.
- Pendant la cuisson, vous devez retourner les aliments de temps en temps.
- Vous pouvez également assaisonner les aliments selon vos goûts.
- Si vous souhaitez laisser les aliments plus longtemps sur la grille, réglez simplement le thermostat sur une température plus BASSE pour qu'il y ait assez de chaleur pour conserver les aliments au chaud. Vous pouvez également surélever la grille (voir paragraphe « Réglage en hauteur de la grille »).
Débranchez l'appareil et laissez-le refroidir complètement avant de le nettoyer.
- Retirez la grille métallique et le bloc thermostat/résistance de la cuve.
- Vous pouvez maintenant procéder au nettoyage du réflecteur et de la cuve. Faites-les tremper et nettoyez-les avec une éponge douce et du liquide vaisselle.
- Ne les mettez pas au lave-vaisselle.
- N'utilisez pas de produits détergents abrasifs ni de pange en paille de fer pour ne pas rayer les éléments.
- Nettoyez la grille métallique avec une brosse à vaisselle et du liquide-vaisselle. Rincez-la à l'eau claire.
- Séchez soigneusement le réflecteur, la cuve et la grille métallique avec un chiffon doux et sec.
- Veillez à ne pas faire pénétrer d'eau dans le bloc thermostat lors du nettoyage.
Attention :

Ce logo apposé sur le produit signifie qu'il s'agit d'un appareil dont le traitement en tant que déchet rentre dans le cadre de la directive 2002/96/CE du 27 janvier 2003, relative aux déchets d'équipements électriques et électroniques (DEEE).
La présence de substances dangereuses dans les équipements électriques et électroniques peut avoir des effets potentiels sur l'environnement et la santé humaine dans le cycle de retraitement de ce produit.
Ainsi, lors de la fin de vie de cet appareil, celui-ci ne doit pas être débarrassé avec les déchets municipaux non triés.
En tant que consommateur final, votre rôle est primordial dans le
cycle de réutilisation, de recyclage et les autres formes de valorisation de cet équipement électrique et électronique. Des systèmes de reprise et de collecte sont mis à votre disposition par les collectivités locales (déchetteries) et les distributeurs.
Vous avez l'obligation d'utiliser les systèmes de collecte sélective mis à votre disposition.
Conditions de garantie :
Ce produit est garanti pour une période de 1 an à partir de la date d'achat*, contre toute défaillance résultant d'un vice de fabrication ou de matériel. Cette garantie ne couvre pas les vices ou les dommages résultant d'une mauvaise installation, d'une utilisation incorrecte, ou de l'usure normale du produit.
(∗) : Sur présentation du ticket de caisse
Notice Facile