BARBECUE BAP L2 - Barbecue LISTO - Notice d'utilisation et mode d'emploi gratuit
Retrouvez gratuitement la notice de l'appareil BARBECUE BAP L2 LISTO au format PDF.
| Type de produit | Barbecue à gaz |
| Caractéristiques techniques principales | 2 brûleurs en acier inoxydable, grille de cuisson en fonte émaillée |
| Alimentation | Gaz propane ou butane |
| Dimensions approximatives | Largeur : 110 cm, Profondeur : 55 cm, Hauteur : 100 cm |
| Poids | 30 kg |
| Compatibilités | Compatible avec les bouteilles de gaz propane et butane |
| Puissance | 5 kW |
| Fonctions principales | Griller, rôtir, cuire des aliments |
| Entretien et nettoyage | Nettoyage des grilles après chaque utilisation, vérification des tuyaux de gaz régulièrement |
| Pièces détachées et réparabilité | Pièces de rechange disponibles, facilité de réparation |
| Sécurité | Vérifier les fuites de gaz avant utilisation, utiliser en extérieur uniquement |
| Informations générales | Idéal pour les barbecues en famille ou entre amis, garantie de 2 ans |
FOIRE AUX QUESTIONS - BARBECUE BAP L2 LISTO
Questions des utilisateurs sur BARBECUE BAP L2 LISTO
0 question sur cet appareil. Repondez a celles que vous connaissez ou posez la votre.
Poser une nouvelle question sur cet appareil
Téléchargez la notice de votre Barbecue au format PDF gratuitement ! Retrouvez votre notice BARBECUE BAP L2 - LISTO et reprennez votre appareil électronique en main. Sur cette page sont publiés tous les documents nécessaires à l'utilisation de votre appareil BARBECUE BAP L2 de la marque LISTO.
MODE D'EMPLOI BARBECUE BAP L2 LISTO
Notice d'utilisation
Barbecue
BAT L2
BAP L2
CONSIGNES DE SECURITÉ IMPORTANTES
lisez attentivement ces instructions avant d'utiliser l'appareil et conservez-les pour pouvoir les consulter ulterieurement.
Si vous prétez votre apparéil à un tiers, fournissez également cette notice.
- Cet apparéil est destiné à un usage domestique uniquement. Tout autre usage (professionnel, commercial, etc.) est exclu. N'utilise cet apparéil que comme indiqué dans cette notice d'utilisation et pour l'usage auquel il est destiné : faire griller de la nourriture.
Les 2 modèles de barbecue Listo BAT L2 et BAP L2 peuvent être utilisés EN INTERIEUR et EN EXTERIEUR SOUS ABRI. Veillez cependant à ne pas exposer cet apparéil à la pluie ou à l'humidité
L'appareil ne doit jamais être utilise sans eau. Placez le reflecteur en aluminium fourni dans la cuve puis, versez un peu d'eau dans le reflecteur. Le niveau d'eau dans la cuve devra toujours se situer entre le niveau minimum « min » et le niveau maximum « max » indiqués à l'intérieur de la cuve.
- Ne versez jamais d'eau directement sur la resistance ou le boitier thermostat.
- Cet apparéil n'est pas destiné à être utilisé par des personnes (notamment des enfants) dont les capacities physiques, sensorielles ou intellectuelles sont réduites, ou par des personnes manquant d'expérience ou de connaissances, à moins que celles-ci ne soient sous surveillance ou quelles aient reçu des instructions quant à l'utilisation de l' apparéil par une personne responsable de leur sécurité.
Veillez a ce que les enfants ne puissant pas jouer avec l'appareil. soyez vigilant si l'appareil est utilisé en presence d'enfants ou d'animaux.
- Ne laissez jamais l'appareil fonctionner sans surveillance.
Ne touche pas les parties metalliques (grille et cuve) de l'appareil lorsqu'il fonctionne car elles sont tres chaudes. Utilisez les poignées en plastique.
L'appareil et le cordon d'alimentation ne doit jamais entraire en contact avec des surfaces chaudes, des flammes ou des bords tranchants.
- Avant de brancher l'appareil, vérifie que la puissance et la tension indiquées sur la plaque signalétique de l'appareil correspondant à celles de votre installation électrique.
- Branchez toujours vous appareil sur une prise de courant reliée à la terre.
Si une rallonge electrique est utiliseee, elle doit etre avec prise de terre incorporee et doit supporter la puissance de I'appareil. Veillez a dispose le cordon d'alimentation ou la rallonge de façon à ce que personne ne s'entrave dedans.
Raccordez l'appareil à une installation responsable un dispositif à courant différentiel résiduel ayant un courant de déclenchement n'excedant pas 30 ma. Demandez à votre électricien pour plus d'informations.
Avant chaque utilisation, déroulez entièrement le cable d'alimentation.
Vérifiez régulierement l'appareil pour vous assurer qu'il n'est pas endommagé. N'utilise jamais l'appareil si le boîtier thermostat ou l'appareil est endommagé de quelque façon que ce soit.
Si le boitier thermostat ou le cable d'alimentation est endommagé, il doit être impératifement replacé par votre revendeur, son service après-vente ou une personne de qualification similaire afin d'éviter tout danger.
Lorsque you utilisez l'appareil, verifie qu'aucun object inflammable ne se trouve a proximite ou directement sur le gril. Pour eviter la surchauffe de votre apparéil, nous vous recommendons de ne pas le placer dans un coin ou contre un mur.
La grille ne doit jamais entrairen contact avec la résistance lorsquel l'appareil est en marche.
Le boitier thermostat ou la prise ne doit jamais etres immergés dans l'eau ou exposés à la pluie.
- Ne manipuliez pas l'appareil ni la prise avec les mains mouillées.
Debranche toujours l'appareil après chaque utilisation et laissez-le refroidir avant de le nettoyer, de le ranger ou de le deplacer.
- Mise en garde : carbon et produits combustibles similaires ne doivent pas etre utilisés avec cet apparéil.
- Ne pas faire de cuisson en papillote.
- Installlez l'appareil sur une surface stable, lisse et résistante. Ne placez pas l'appareil sur une surface fragile (table en verre, etc.).
Utilisez toujours l'appareil avec le reflecteur en aluminium fourni.
Attention aux projections de graisses lors de la cuisson - risques de brûlures !
- Ne pas faire griller d'aliments hors de la cuve.
- Cet apparéil n'est pas destiné à être mis en fonctionnement au moyen d'une minutes extérieure ou par un système de commande à distance séparé.
Soyez particulièrement vigilant à bien positionner le boîtier thermostat de façon à actionner la sécurité.
CHARACTERISTIQUES TECHNIQUES
Puissance : 2000 W
Tension d'alimentation : 230 V~ 50 Hz
Contenance maximum en eau : 1,5 litre
DESCRIPTION DE L'APPAREIL (selon le modulo)


Modèle BAT L2

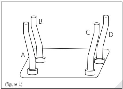
INSTALLATION (uniquement pour le modele BAP L2)


1- Retournez la cuve et fixez les 4 pieds (A, B, C et D) aux 4 embouts en plastique en respectant l'angle d'inclinaison des pieds (voir figure 1).
2- Fixez la grille repose-plats aux points E1, E2, E3 et E4 à l'aide des 4 vis fournies (voir figure 2). Vissez les écrous du côte interieur.
3- Retournez le barbecue et assurez-vous de sa stabilité (voir figure 3).

AVANT LA PREMIÈRE UTILISATION
Retirez tous les emballages et accessoires situés à l'intérieur comme à l'extérieur de l'appareil. Nettoyez la cuve, le reflecteur en aluminium et la grille métallique avec une éponge douce et de l'eau chaude savonneuse. Rincez à l'eau claire et séchez soigneusement avec un chiffon doux
INTERRUPTEUR DE SECURITE
Soyez particulièrement vigilant à bien positionner le boîtier thermostat de façon à actionner la sécurité.
L'interrupteur de sécurité sert à couper l'alimentation de la résistance si celle-ci n'est pas bien positionnée sur la cuve.
Gardez toujours à l'esprit que la résistance reste très chaude après avoir été branchée et ne doit pas être touchée

UTILISATION
Modèle barbecue de table BAT L2 :
1) Placez votre barbecue de table modele BAT L2 sur une surface stable et non fragile.
Modèle barbecue sur pied BAP L2 :
1) Pour le barbecue sur pied modèle BAP L2, montez les pieds support comme indiqué dans le paragraphe « Installation » puis installez-le sur une surface plane et horizontale.
2) Placez le pare-vent dans les encoches prévues à cet effet.
3) Avant de brancher l'appareil, placez le reflecteur au fond de la cuve et remplissez-le d'eau. Le reflecteur doit etre totalement immergedans I'eau.
TRES IMPORTANT: Le niveau de l'eau ne doit jamais dépasser le repère maximum indiqué sur la cuve (soit 1,5 litre).
4) Insérez la résistance comme suit :
Positionnez bien le boîtier thermostat sur la cuve pour enclencher la sécurité.
- Vérifie que les deux crochets se positionnent bien dans les deux encoches prévues à cet effet de part de d'autre de la cuve.
Contrôlez le niveau d'eau régulierement en cours de cuisson et rajoutez de l'eau lorsqu'il arrive au niveau minimum.
Ne versez jamais d'eau directement sur la résistance car cela l'endommagerait.
5) Placez la grille directement sur la résistance.
6) Vous pouvez maintainant brancher l'appareil et régler la température que vous souhaitez avec le thermostat à tout moment. Tournez le bouton dans le sens des aiguilles d'une montre (de la température la plus BASSE à la température la plus élevé).
Note: En cours de cuisson, levoyant de régulation s'allume et s'eteint: ceci est normal.
7) En fin de cuisson, débranchez l'appareil de la prise de courant.
Note: Lors de la première utilisation, il est normal qu'une légère odeur et qu'un peu de fumée se dégagent de l'appareil. Ceci provient des résidus de fabrication. Cela disparaitra rapidement par la suite.
You pouvez positionner la grille métallique de deux façon :
-
en position basse : insérez-la dans les encoches prévues à cet effet de part et d'autre de la cuve. Plus proche de la résistance chauffante, la cuisson sera plus rapide.
-
en position haute : la grille est posée directement sur la cuve (dans les 4 renfonçements prévus à cet effet). Plus éloignée de la résistance chauffante, cette position convient pour terminer la cuisson.
CONSEILS DE CUISSON
- Avec ce barbecue, vous pouvez faire griller toutes les viandes habituelles, mais aussi les saucisses, légumes, poissons ou autres, d'une manière saine.
ATTENTION: Ne placez jamais de plastique ou d'aluminium sur la grille.
- Pendant la cuisson, vous devez returner les alimentés de temps en temps.
- Vous pouvez également assaisonner les alimentés selon vos goûts.
- Si vous souhaitez laisser les aliments plus longtemps sur la grille, réglez simplement le thermostat sur une température plus BASSE pour qu'il y ait assez de chaleur pour conserver les aliments au chaud. Vous pouvez également surélever la grille (voir paragraphe « Réglage en hauteur de la grille »).
NETTOYAGE
Debranchez l'appareil et laissez-le refroidir complètement avant de le nettoyer.
- Retirez la grille métallique et le bloc thermostat/résistance de la cuve.
N'immergez pas le bloc thermostat/resistance dans l'eau et ne le mouillez pas non plus.
- Vous pouvez maintainant procéder au nettoyage du reflecteur et de la cuve. Faites-les tremper et nettoyez les avec une éponge douce et du liquide-vaiselle.
- Ne les mettez pas au lave-vaiselle.
-
N'utilise pas de produits détergents abrasifs ni déponce en paille de fer pour ne pas rayer les éléments.
-
Nettoyez la grille métallique avec une brosse à vaisselle et du liquide-vaisselle. Rincez-la à l'eau claire.
- Séchez soigneusement le reflecteur, la cuve et la grille métallique avec un chiffon doux et sec.
- Veillez à ne pas faire pénétre d'eau dans le bloc thermostat lors du nettoyage.
Attention :

Ce logo appose sur le produit signifie qu'il s'agit d'un apparéil dont le traitement en tant que déchet rentre dans le cadre de la directive 2002/96/CE du 27 janvier 2003, relative aux déchets d'équipements électriques etlectroniques (DEEE).
La présence de substances dangereuses dans les équipements électriques et électroniques peut avoir des effets potentiels sur l'environnement et la santé humaine dans le cycle de retraitement de ce produit.
Ainsi, lors de la fin de vie de cet apparéil, celui-ci ne doit pas être débarrassé avec les déchets municipaux non triés.
En tant que consommateur final, votre role est primordial dans le
cycle de réutilisation, de recyclage et les autres formes de valorisation de cet équipement électrique et électronique. Des systèmes de reprise et de collecte sont mis à votre disposition par les collectivités locales (déchetteries) et les distributeurs.
Vouavesl'obligationd'utiliser les systèmes de collecte selectivemisa vourdisposition.
Conditions de garantie :
Ce produit est garanti pour une période de 1 an à partir de la date d'achat*, contre toute défaillance resultant d'un vice de fabrication ou de matériel. Cette garantie ne couvre pas les vices ou les dommages resultant d'une mauvaise installation, d'une utilisation incorrecte, ou de l'usure normale du produit.
(^ : Sur presentation du ticket de caisse)
Notice Facile