UXB1200DY - INSTALLATION INSTRUCTION - Hotte aspirante BAUKNECHT - Notice d'utilisation et mode d'emploi gratuit
Retrouvez gratuitement la notice de l'appareil UXB1200DY - INSTALLATION INSTRUCTION BAUKNECHT au format PDF.
| Type d'appareil | Hotte aspirante |
| Débit d'air | 600 à 1200 pi³/min |
| Type de ventilateur | Interne |
| Usage | Résidentiel |
| Installation | Interne, pour hottes d'évacuation |
| Consignes de sécurité | Important à lire et conserver |
| Garantie | Non précisé |
| Assistance technique | Disponible aux USA et Canada |
| Outils nécessaires | Non précisé |
| Matériel requis | Non précisé |
| Type d'utilisation | Usage résidentiel uniquement |
| Langues du manuel | Anglais et français |
| Normes de sécurité | Respect des alertes DANGER et WARNING |
| Table des matières | Incluse |
FOIRE AUX QUESTIONS - UXB1200DY - INSTALLATION INSTRUCTION BAUKNECHT
Téléchargez la notice de votre Hotte aspirante au format PDF gratuitement ! Retrouvez votre notice UXB1200DY - INSTALLATION INSTRUCTION - BAUKNECHT et reprennez votre appareil électronique en main. Sur cette page sont publiés tous les documents nécessaires à l'utilisation de votre appareil UXB1200DY - INSTALLATION INSTRUCTION de la marque BAUKNECHT.
MODE D'EMPLOI UXB1200DY - INSTALLATION INSTRUCTION BAUKNECHT
Installation du moteur du ventilateur de la hotte 10
Votre sécurité et celle des autres est très importante.
Nous donnons de nombreux messages de sécurité importants dans ce manuel et sur votre apparil menager. Assurez-vous de plusieurs jours dire tous les messages de sécurité et de vous y conformer.

Voici le symbole d'alerte de sécurité.
Ce symbole d'alerte de sécurité vous signale les dangers potentiels de décès et de blessures graves à vous et à d'autres.
Tous les messages de sécurité suivront le symbole d'alerte de sécurité et le mot "DANGER" ou
"AVERTISSEMENT". Ces mots signifient :
DANGER
AVERAGEMENT
Risque possible de décès ou de blessure grave si vous ne suivez pas immédiatement les instructions.
Risque possible de décès ou de blessure grave si vous ne suivez pas les instructions.
Tous les messages de sécurité vous diront quel est le danger potentiel et vous disent comment réduire le risque de blessure et ce qui peut se produit en cas de non-respect des instructions.
IMPORTANT INSTRUCTIONS DE SECURITÉ
AVERTISSEMENT : POUR RÉDUIRE LE RISQUE D'INCENDIE, CHOC ÉLECTRIQUE OU DOMMAGES CORPORELS, RESPECTER LES INSTRUCTIONS SUIVANTES :
Utiliser cet appeareil uniquement dans les applications envisagées par le fabricant. Pour toute question, contacter le fabricant.
Avant d'entreprenevre un travail d'entretien ou de nettoyage, interrompree l'alimentation de la hotte au niveau du tableau de disjoncteurs, et verrouiller le tableau de disjoncteurs pour empêcher tout rétablissement accidentel de l'alimentation du circuit. Lorsqu'il n'est pas possible de verrouiller le tableau de disjoncteurs, placer sur le tableau de disjoncteurs une étiquette d'avertissement proéminente interdisant le rétablissement de l'alimentation.
Tout travail d'installation ou câblage électricque doit être réalisé par une personne qualifiée, dans le respect des prescriptions de tous les codes et normes applicables, y compris les codes duâtiment et de protection contre les incendies.
Ne pas faire fonctionner un ventilateur dont le cordon ou la fiche est endommagé(e). Jeter le ventilateur ou le returner à un centre de service agréé pour examen et/ou réparation.
- Une source d'air de début suffisant est nécessaire pour le fonctionnement correct de tout apparéil à gaz (combustion et évacuation des gaz à combustion par la cheminée), pour qu'il n'y ait pas de reflux des gaz de combustion. Respecter les directives du fabricant de l'équipement de chauffage et les prescriptions des normes de sécurité - comme celles publiées par la National Fire Protection Association (NFPA) et l'American Society for Heating, Refrigeration and Air Conditioning Engineers (ASHRAE), et les prescriptions des autorités réglementaires locales.
Lors d'opérations de découvert et de perçage dans un mur ou un plafond, veiller à ne pas endommager les câblages électriques ou canalisations qui peuvent s'y trouver.
- Les ventilateurs d'évacuation doivent toujours décharger l'air à l'extérieur.
MISE EN GARDE : Cet apparéil est conçu uniquement pour la ventilation générale. Ne pas l'utiliser pour l'extraction de matières ou vapeurs dangereuses ou explosives.
MISE EN GARDE : Pour minimiser le risque d'incendie et evacuer adéquatement les gaz, veiller à acheminer l'air aspiré par un conduit jusqu'à l'extérieur - ne pas décharger l'air aspiré dans un espace vide du bâtiment comme une cavité murale, un plafond, un grenier, un vide sanitaire ou un garage.
AVERTISSEMENT : POUR RÉDUIRE LE RISQUE D'INCENDIE, UTILISER UNIQUÉMENT DES CONDUITS METALLIQUES.
AVERTISSEMENT : POUR MINIMISER LE RISQUE D'UN FEU DE GRAISSE SUR LA CUISINIÈRE :
- Ne jamais laisser un élément de surface fonctionner à puissance de chauffage maximale sans surveillance. Un renversement/débordement de matièreGRAISEuse pourrait provoquer une inflammation et la génération de fumée. Utiliser une puissance de chauffage moyenne ou basse pour le chauffage d'huile.
Veiller à toujours faire fonctionner le ventilateur de la hotte lors de la cuisson avec une puissance de chauffage élevé ou lors de la cuisson d'un mets à flamber (à savoir crépes Suzette, cerise jubilée, steak au poivre flambé).
Nettoyer非常喜欢 les ventilateurs d'extraction. Veiller a ne pas laisser laGRAisse s'accumuler sur les surfaces du ventilateur ou des filtres.
Utiliser toujours un ustensile de taille appropriée. Utiliser toujours un ustensile adapté à la taille de l'élement chauffant.
AVERTISSEMENT : POUR RÉDUIRE LE RISQUE DE DOMMAGES CORPORELS APRès LE DÉCLENCHEMENT D'UN FEU DE GRAISSE SUR LA CUISINIÈRE, APPLIQUE LES RECOMMANDATIONS SUIVANTES :a
-
Placer sur le recipient un couvercle bien ajusté, une tôle à biscuits ou un plateau métallique POUR ÉTOUFFER LES FLAMMES, puis éteindre le brûleur. VEILLER À ÉVITER LES BRULURES. Si les flammes ne s'éteignent pas immédiatement, ÉVACUER LA PIECE ET APPELER LES POMPIERS.
NE JAMAIS PRENDRE EN MAIN UN RÉCIPIENT ENFLAMMÉ - vous risquez de vous brûler.
NE PAS UTILISER D'EAU, ni un torchon humide - ceci pourrait provoquer une Explosion de vapeur brûlante.
Utiliser un extincteur SEULEMENT si : -
Il s'agit d'un extincteur de classe ABC, dont on connait le fonctionnement.
- Il s'agit d'un petit feu encore limite à l'endetroit où il s'est déclaré.
- Les pompiers ont été contactés.
- Il est possible de garder le dos orienté vers une sortiependant l'opération de lutte contre le feu.
aRecommendations tirées des conseils de sécurité en cas d'incendie de cuisine publiés par la NFPA.
■ AVERTISSEMENT : Pour réduire le risque d'incendie ou de chic électrique, ne pas utiliser ce ventilateur avec unquelconque dispositif de réglage de la vitesse à semiconducteurs.
LIRE ET CONSERVER CES INSTRUCTIONS
EXIGENCES D'INSTALLATION
Outils et pieces
Rassembler les outils et composants nécessaires avant d'entreprenevre l'installation. Lire et observer les instructions fournies avec chacun des outils de la liste ci-dessous.
Outils nécessaires
Tournevis Phillips
Pièces fournies (modèles 600 CFM)
Retirer les pieces de leur emballage. Vérifier que toutes les pieces sont presents.
Ventilateur
Support du moteur
Languette à ressort du moteur
2écrous de 6 x 1 mm
5 vis de 4,2× 8mm
2 vis de 6 x 16 mm
2 rondelles-freins de 6,4 x 11 mm
Adaptateur T-20 Torx
Pièces fournies (modèles 1200 CFM)
Retirer les pièces de leur emballage. Vérifier que toutes les pièces sont données.
Ventilateur
Support du moteur
Languette à ressort du moteur
5écrousde6x1mm
5 vis de 4,2× 8mm
5 vis de 6 x 16 mm
5 rondelles-freins de 6,4 x 11 mm
Adaptateur T-20 Torx
INSTRUCTIONS D'INSTALLATION
IMPORTANT: Exécuter les étapes 1 à 4 avant de monter la hotte de cusinière.
- Retirer les filtres àGRAISSÉ de la hotte.Voir la section "Entretien de la hotte" du guide d'utilisation et d'entretien.
- Monter le support du moteur à l'aide des trois vis 4,2 x 8 mm. Visser le support en haut à l'intérieur ou à l'arrière (autre emplacement sur certains modèles), du côté gauche de la hotte.
- Installer la languette à ressort du moteur à l'aide des deux vis de 4,2 x 8 mm. Visser la languette à ressort en haut à l'intérieur ou à l'arrière (autre emplacement sur certains modèles) de la hotte, à l'endroit correct selon le système de moteur sélectionné. Glisser la patte de montage de la languette à ressort par la fente dans le panneau et la fixer à l'aide des vis. Utiliser les trous de montage intéérieurs pour le système à un seul ventilateur. Utiliser les trous de montage extérieurs pour le système à deux ventilateurs.

A. 3 vis de 4,2 x 8 mm pour le support du moteur
B. 2 vis de 4,2 × 8 mm pour la languette à ressort du moteur
C. Support de montage du moteur
D. Languette à ressort du moteur (emplacement pour système à un seul ventilateur)
E. Languette à ressort du moteur (emplacement pour système à deux ventilateurs)
-
Fixer les écrous de 6 mm en haut à l'extérieur ou à l'arrière (autre emplacement sur certains modèles) de la hotte, à l'endroit correct selon le système de ventilation sélectionné.
-
Deux écrous de 6 mm sont nécessaires pour le système à un seul ventilateur. Emboîter les écrous dans les petites encoches carrees situées à droite et à gauche de l'ouverture d'évacuation carrée.
Cinq écrous de 6 mm sont nécessaires pour le système à deux ventilateurs. Emboiter les écrous dans les petites encoches carrees, l'une située à l'avant de l'ouverture d'évacuation carrée et les quatre autres à gauche et à droite de l'ouverture d'évacuation carrée.

A. Emplacement des 5 écrous à emboiter pour le système à deux ventilateurs
B. Emplacement des 2 écrous à emboiter pour le système à un seul ventilateur
- Fixer la hotte en suivant les instructions d'installation correspondant au modele.
Installation du moteur du ventilateur de la hotte
- Installer le moteur du ventilateur de la hotte à l'intérieur de l'auvent, connexion du cablage à gauche pour le système à ventilateur unique et à l'avant ou au-dessus pour le système à deux ventilateurs.
Ensemble à un seul moteur-ventilateur

A. Connexion du câblage
Ensemble à deux moteurs-ventilateurs

A. Connexion du câblage
- Glisser le rebord gauche de la plaque de montage sous le support de montage du moteur.

A. Support de montage du moteur
B. Rebord gauche de la plaque de montage
- Passer les cables d'alimentation et le connecteur par le trou à droite de la plaque de montage du moteur.

A. Trou de la plaque de montage du moteur
B. Câbles d'alimentation et connecteur
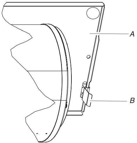
- Pousser vers le haut le côté croit de la plaque de montage du moteur et l'enclencher dans la languette à ressort.
REMARQUE: La languette à ressort doit être à l'extérieur de la fente de la plaque de montage.

A. Plaque de montage du moteur
B. Languette à ressort
- Aligner les trous de montage, puis visser les vis de 6 x 16 mm et les rondelles-freins de 6,4 mm.

A. Vis avec rondelle-frein
B. Trou de montage
- Relier le connecteur du cordon d'alimentation au connecteur du boîtier de connexion.

A. Connecteur du boîtier de connexion
B. Cordon d'alimentation
Lors d'un appel pour assistance ou service, veuillez connaître la date d'achat, le numero de modèle et le numero de série complets de l'appareil. Ces renseignements nous aideront a moins répondre à votre demande.
Si vous avez besoin de pieces de rechange
Si vous avez besoin de commander des pieces de rechange, nous vous recommendons d'employer uniquement les pieces spécifiées par l'usine. Les pieces spécifiées par l'usine conviendront et fonctionneront bien parce qu'elles sont fabriquées avec la même précision utilisée dans la fabrication de chaque nouvel apparéil. Pour localiser les pieces spécifiées par l'usine, dans votre région, nous appeler ou téléphoner au centre de service désigné le plus proche.
Au Canada
Veuillez appelers sans frais le Centre pour l'eXpérience de la clientèle de Whirlpool Canada LP au : 1-800-807-6777.
Nos consultants vous renseigneront sur les sujets suivants :
- Caracteristiques et specifications sur toute notre gamme d'appareils électroménagers.
Consignes d'utilisation et d'entretien. - Ventes d'accessoires et de pieces de rechange.
Références aux marchands locaux, aux distributeurs de pieces de rechange et aux compagnies de service. Les techniciens de service désignés par Whirlpool Canada LP sont formés pourmplir la garantie des produits et fournir un service après la garantie, partout au Canada.
Pour plus d'assistance
Si vous avez besoin de plus d'assistance, vous pouvez soumettre par écrit toute question ou préoccupation à Whirlpool Canada LP à l'adresse suivante :
Whirlpool Canada LP
Centre pour l'eXperience de la clientèle
200 - 6750 Century Ave.
Mississauga, Ontario L5N 0B7
Veuillez inclure dans votre correspondance un numéro de téléphone où l'on peut vous joindre dans la journée.
Pendant un an à compter de la date d'achat, lorsque ce gros apparéil ménager est utilisé et entretenu conformément aux instructions jointes à ou fournies avec le produit, Whirlpool Corporation ou Whirlpool Canada LP (ci-après désignées “Whirlpool”) paiera pour les pieces spécifiées par l'usine et la main-d'oeuvre pour corriger les vices de matérielux ou de fabrication. Le service doit être fourni par uneompagnie de service designée par Whirlpool. Cette garantie limite est valide uniquement aux Etats-Unis ou au Canada et s'applique exclusively lorsque l' apparéil est utilise dans le pays ou il a eté acheté. À l'extérieur du Canada et des 50 Etats des États-Unis, cette garantie limite ne s'applique pas. Une preuve de la date d'achat original est exigée pour obtenir un service dans le cadre de la presente garantie limitée.
ARTICLES EXCLUS DE LA GARANTIE
La presente garantie limite ne couvre pas :
- Les visites de service pour rectifier l'installation du gros apparéil menager, montrer à l'utilisateur comment utiliser l'appareil, remplaçer ou réparer des fusibles ou rectifier le câblage ou la plomberie du domicile.
- Les visites de service pour réparer ou remplaner les ampoules électriques de l'appareil, les filtres à air ou les filtres à eau. Les pièces consomptibles ne sont pas couvertes par la garantie.
- Les réparations lorsque le gros apparemil menager est utilisé à des fins autres que l'usage unifamilial normal ou lorsque les instructions d'installation et/ou les instructions de l'opérateur ou de l'utilisateur fournies ne sont pas respectées.
- Les dommages imputables à : accident, modification, usage improupe ou abusif, incendie, inondation, actes de Dieu, installation fautive ou installation non conforme aux codes d'électricité ou de plomberie, ou l'utilisation de pieces consomptibles ou de produits nettoyants nonapprovés par Whirlpool.
- Les defaults apparents, notamment les éraflures, les bosses, fissures ou tout autre dommage au fini du gros apparil menager, à moins que ces dommages soient dus à des vices de matériel ou de fabrication et soient signalés à Whirlpool dans les 30 jours suivant la date d'achat.
- Toute perte d'aliments due à une défaillance du réfrigérateur ou du congélateur.
- Les coûts associés au transport du gros apparemil menager du domicile pour réparation. Ce gros apparemil menager est conçu pour être réparé à domicile et seul le service à domicile est couvert par la presente garantie.
- Les réparations aux pieces ou systèmes résultat d'une modification non autorisée faite à l'appareil.
- Les frais de transport pour le service d'un produit si vous gross appeareil est situé dans une région éloignée ou un service d'entretien Whirlpool autorisé n'est pas disponible.
- La dépose et la réinstallation de votre gros appareil si celui-ci est installé dans un endroit inaccessible ou n'est pas installé conformément aux instructions d'installation fournies.
- Les gros apparéls menagers dont les numéro des série et de modèle originaux ont été enlevés, modifiés ou qui ne peuvent pas être facilement identifiés. La presente garantie est nulle si le numéro de série d'usine a été modifié ou enlevé du gros apparéil menager.
Le cou t d'une réparation ou d'un remplacement dans le cadre de ces circonstances exclues est à la charge du client.
CLAUSE D'EXONÉRATION DE RESPONSABILITÉ AU TITRE DES GARANTIES IMPLICITES; LIMITATION DES RE COURS
LE SEUL ET EXCLUSIF RECOURS DU CLIENT DANS LE CADRE DE LA PRESENTE GARANTIE LIMITÉE CONSISTE EN LA RÉPARATION PRÉVUE CI-DESSUS. LES GARANTS IMPLICITES, Y COMPRIS LES GARANTS APPLICABLES DE QUALITÉ MARCHANDE ET D'APTITUDE À UN USAGE PARTICULIER, SONT LIMITÉES À UN AN OU À LA PLUS COURTE PÉRIODE Autorisé PAR LA LOI. WHIRLPOOL N'ASSUME AUCUNE RESPONSABILITÉ POUR LES DOMMAGES FORTUIS OU INDIRECTS. CERTAINES JURIDictions NE PERMETTENT PAS L'EXCLUSION OU LA LIMITATION DES DOMMAGES FORTUIS OU INDIRECTS, OU LES LIMITATIONS DE LA DUREE DES GARANTS IMPLICITES DE QUALITÉ MARCHANDE OU D'APTITUDE À UN USAGE PARTICULIER, DE SORTE QUE CES EXCLUSIONS OU LIMITATIONS PEUVENT NE PAS S'APPLIQUEUR DANS VOTRE CAS. CETTE GARANTIE VOUS CONFÈRE DES DROITS JURIDIQUES SPECIFIQUES ET VOUS POUVEZ ÉGÀLEMENT JOUIR D'AUTRES DROITS QUI PEUVENT VARIER D'UNE JURIDIRECTION À UNAUTRE.
Si vous résidez à l'extérieur du Canada et des 50 États des États-Unis, contactez votre marchand Whirlpool autorisé pour déterminer si une autre garantie s'aquise.
Si you avez besoin de service, voir d'abord la section "Dépannage" du Guide d'utilisation et d'entretien. Apre s avoir verifie la section "Dépannage", de l'aide supplémentaire peut etre trouve en verifiant la section "Assistance ou service" ou en appelant Whirlpool. Aux E.-U., composer le 1-800-253-1301. Au Canada, composer le 1-800-807-6777. 2/09
Conserve ce manuel et votre reçu de vente ensemble pour réference ultérieure. Pour le service sous garantie, vous devezprésenter un document provuant la date d'achat ou d'installation.
Inscrivez les renseignements suivants au sujet de votre gros apparéil menager pour mieux vous aider à Obtir assistance ou service en cas de besoin. Vous devrez connaître le numéro de modulo et le numéro de série au complet. Vous trouvez ces renseignements sur la plaque signalétique située sur le produit.
Nom du marchand
Adresse
Numero de téléphone
Numero de modulo
Nombre de série
Date d'achat
Notice Facile