PHONEFAX 2410 - Fax SAGEM - Notice d'utilisation et mode d'emploi gratuit
Retrouvez gratuitement la notice de l'appareil PHONEFAX 2410 SAGEM au format PDF.
| Type de produit | Fax et téléphone multifonction |
| Caractéristiques techniques principales | Impression thermique, vitesse d'impression de 6 secondes par page, résolution d'impression de 203 x 98 dpi |
| Alimentation électrique | 220-240 V, 50/60 Hz |
| Dimensions approximatives | 320 x 250 x 120 mm |
| Poids | Environ 2,5 kg |
| Compatibilités | Compatible avec les lignes téléphoniques analogiques |
| Type de batterie | Non applicable (fonctionne sur secteur) |
| Tension | Non spécifiée |
| Puissance | Max 50 W |
| Fonctions principales | Envoi et réception de fax, fonction téléphone, répondeur intégré |
| Entretien et nettoyage | Nettoyer régulièrement la tête d'impression et le rouleau d'alimentation |
| Pièces détachées et réparabilité | Disponibilité de pièces de rechange pour l'entretien |
| Informations générales utiles | Vérifier la compatibilité avec votre ligne téléphonique avant l'achat |
FOIRE AUX QUESTIONS - PHONEFAX 2410 SAGEM
Téléchargez la notice de votre Fax au format PDF gratuitement ! Retrouvez votre notice PHONEFAX 2410 - SAGEM et reprennez votre appareil électronique en main. Sur cette page sont publiés tous les documents nécessaires à l'utilisation de votre appareil PHONEFAX 2410 de la marque SAGEM.
MODE D'EMPLOI PHONEFAX 2410 SAGEM
Livret d'utilisation





DESCRIPTION DES DIFFÉRENTS MODELES DE FAX
LES DIFFÉRÊNTES FONCTIONS
| Téléphone | Répondeur Main libre | Livre avec un téléphone sans fil | |||
| Phonefax | 2425 | Bac papier fixe (100 pages) | X | X | X |
| 2420 | Chargeur document (15 pages) | X | X | ||
| 2410 | X | ||||
| Phonefax | 2355 | Chargeur papier mobile (30 pages) | X | X | X |
| 2350 | Chargeur document (15 pages) | X | X | ||
| 2330 | X | ||||
| Phonefax | 2325 | Chargeur papier feuille à feuille (1 page) | X | X | X |
| 2320 | Chargeur document (1 page) | X | X | ||
| 2312 | X | ||||
| Fax | 2316 | Chargeur papier mobile (30 pages) Chargeur document (15 pages) | |||
| Fax | 2306 | Chargeur papier feuille à feuille (1 page) Chargeur document (1 page) | |||
Phonefax 2410/2420/2425



Porte d'acces aux chargeurs papier et document
Phonefax 2330/2350/2355


Chargeur papier
Phonefax 2312/2320/2325

Fax 2316

Porte d'accès aux chargeurs papier et document

Fax 2306



1 Touche : pour imprimer les documents reçus en mémoire
2 Touche : pour écouter les messages reçus sur le répondeur (modèles avec répondeur)
- clignotante : présence de messages non lus,
allumée fixe: presence de messages déjà lus,
ou pour supprimer de la mémoire le document en cours d'impression (modèles sans répondeur)
3 Ecran d'affichage LCD constitué d'une ligne de 16 caractères
4 Touche FF :choix de la résolution en émission télécopie ou en copie locale (NORMAL, FIN ou PHOTO)
5 Touche 念 :choix du mode de réception (TEL, FAX, REP):
- TEL (T): téléphone en service (pour les modêles avec combiné).
- FAX (F): réception téléçopie automatique
- REP (R) : répondeur-enregistreur vocal en service pour les modèles avec répondeur
6 Touche (REPERTOIRE) : accès au répertoire des correspondants
7 Touche : impression du guide des menus
8 Touche R: insertion d'une pause (/) dans la numérotation ou rappel d'enregistreur (PABX)
9 Touche (BIS): accès à l'un des 10 derniers numérios appelés
10 Clavier alphanumeric
11 Touche (DEBUT): émission de télécopies ou copie locale
12 Touche (STOP): arrêt de l'opération en cours ou téléphone en secret
13 Touche (HAUT-PARLEUR) : prise de ligne sans décrocher ou mains libres ( selon modele) et écoute amplifiée
14 Touche : déplacement vers le haut dans les menus ou vers la gauche dans un champ de saisie - augmentation du volume sonore
15 Touche OK : validation de la selection affichee a l'ecran
16 Touche (M) (MENU): accès aux différentes fonctions
17 Touche : déplacement vers le bas dans les menus ou vers la droite dans un champ de saisie - diminution du volume sonore
18 Touche C:retour au precedent message affiché à l'écran ou effacement du dernier caractère dans un champ de saisie
19 Touches d'accès direct aux 10 premières mémoires du repertoire
20 Touches F1 F2 F3 : touches préprogrammées pour acceder aux fonctions suivantes :
Fi : listedesappelants(ServiceClass)
2 :mode nuit
F3: accès au menu d'impression

Avant de brancher votre apparéil, vérifie que la prise de courant secteur sur laquelle vous allez brancher votre apparéil est conforme aux indications portées sur l'étiquette signalétique* apposée sur votre apparéil ou sur le bloc Alimentation séparé (suivant modèle).
Si vous appeareil fonctionne avec un bloc Alimentation sépare, n'utilise que celui qui vous a été livré avec votre apparéil à l'exclusion de tout autre.
La fiche de prise de courant de l'appareil étant le seul moyen de déconnexion du réseau électrique, il est impératif d'appliquer les consignes suivantes :
- Voiture appeareil doit être branché sur une prise de courant secteur située à proximite.
- La prise de courant secteur doit rester aisément accessible.
Votre apparéil est livré avec un cordon secteur équipé d'une prise de courant qui peut être (selon modèle):
- sans terre (symbole presente sur l'étiquette signalétique*),
- avec terre (absence du symbole sur l'étiquette signalétique*).
Une prise de courant avec terre doit être impératifement branchée sur une prise murale munie d'une terre.
En Europe, cet apparéil porte le marquage en application des directives 73/23/CEE, 89/336/CEE et 93/68/CEE..
- Etiquette signalétique: Tension, Courant, Fréquence du réseau électrique.
AIDE MÉMOIRE, GUIDE DES MENUS
RéPERTOIRE (MENU 1)
| Appuyez sur : | Fonction appelée | Définition de la fonction | Détail page |
| M 11 OK | AJOUTER | Ajout d'une fiche dans le réseau | 11 |
| M 12 OK | MODIFIER | Modification d'une fiche dans le réseau | 12 |
| M 13 OK | SUPPRIMER | Suppression d'une fiche dans le réseau | 13 |
| M 14 OK | IMPRIMER | Impression du réseau | 13 |
RéGLAGES (MENU 2)
| Appuyez sur : | Fonction appelée | Définition de la fonction | Détail page |
| M 21 OK | DATE/HEURE | Saisie de la date et de l'heure | 15 |
| M 22 OK | NUMERO/NOM | Saisie de votre numéro et nom | 15 |
| M 23 OK | MELODIES/BIPS | Choix de la mélodie de sonnerie et bips touches | 15 |
| M 231 OK | MELODIE | Choix de la mélodie de sonnerie | |
| M 232 OK | BIPS | Gestion des bips de touches | |
| M 233 OK | REVEIL | Déclenchement/Arrêt du réveil | |
| M 24 OK | RESEAU | Réglage des paramètres de réseau | 16 |
| M 241 OK | TYPE RESEAU | Sélection du type de réseau | |
| M 242 OK | PREFIXE | Réglage du préfixe | |
| M 25 OK | MODE NUIT | Gestion du mode nuit | 16 |
| M 26 OK | SONNERIES | Réglage du nombre de sonneries | 16 |
| M 27 OK | SANS FIL | Téléphone sans fil (selon modulo) | 17 |
| M 271 OK | ENREG. COMBINE | Enregistrement combiné (selon modulo) | |
| M 272 OK | EFF. COMBINE | Effacement combiné (selon modulo) | |
| M 273 OK | CODE COMBINE | Code cryptage radio (selon modulo) | |
| M 28 OK | SECURITE | Accès sécurisé (selon modulo) | 18 |
| M 281 OK | VERROU PRESS | Verrouillage des messages fax et vocaux (selon modulo) | |
| M 282 OK | CODE INTERRO | Sélection du code d'intéro à distance (selon modulo) | |
| M 29 OK | LANGUE / RESAU | Choix de la langue et du réseauAnglais, Français, Allemand, Espagnol ou Italien | 18 |
FAX (MENU 3)
| Appuyez sur : | Fonction appelée | Définition de la fonction | Détail page |
| M 31 OK | EMISSION | Emission différée et multidestinataire | 20 |
| M 32 OK | RELEVE | Demande de relève | 24 |
| M 33 OK | DEPOT | Mise en début | 23 |
| M 34 OK | RAPPORT | Choix d'impression du rapport de communication | 21 |
| M 35 OK | EMISSION MEM | Emission à partir de la mémoire ou du chargeur | 21 |
| M 36 OK | RECEPT. MEM | Réception en mémoire ou sur papier | 22 |
Répondeur (MENU 4) (MODELES AVEC Répondeur)
| Appuyez sur : | Fonction appelée | Définition de la fonction | Détail page |
| M 41 OK | ENREG. ANN. | Enregistrement de l'announce | 25 |
| M 42 OK | ECOUTE ANN. | Écoute de l'announce | 25 |
| M 43 OK | MEMO | Enregistrement d'un message | 26 |
| M 44 OK | EFFACER MSG. | Effacement des messages vocaux | 27 |
| M 45 OK | TYPE REPOND | Sélection du type de répondeur | 25 |
| M 46 OK | FILTRAGE | Sélection du filtrage d'appoint | 28 |
| M 47 OK | ACCES PRIVIL. | Sélection du mode d'accès privilégiié | 28 |
| M 48 OK | CODE PRIVIL. | Choix du code d'accès privilégiié | 28 |
IMPRESSION ET COPIE LOCALE (MENU 5)
| Appuyez sur : | Fonction appelée | Définition de la fonction | Détail page |
| M 51 OK | GUIDE | Impression des menus | 31 |
| M 52 OK | JOURNAUX | Impression des journaux de communication fax | 31 |
| M 53 OK | REPERTOIRE | Impression du réseau | 31 |
| M 54 OK | REGLAGES | Impression de la liste des réglages | 31 |
| M 55 OK | RAPPORT | Impression du dernier rapport de communication | 31 |
| M 56 OK | MULTICOPIES | Choix du nombre de copies (selon modèle) | 32 |
| M 57 OK | JAUGE RUBAN | Visualisation de la capacité ruban | 32 |
GESTION DES DOCUMENTS (MENU 6)
| Appuyez sur : | Fonction appelée | Définition de la fonction | Détail page |
| M 61 OK | EXECUTER | Exécution d'une commande en attente | 33 |
| M 62 OK | MODIFIER | Modification d'une commande en attente | 33 |
| M 63 OK | SUPPRIMER | Suppression d'une commande en attente | 33 |
| M 64 OK | IMP DOCUMENT | Impresion d'un document en attente | 33 |
| M 65 OK | IMP LISTE | Impression de la liste des commandes | 33 |
FONCTIONS ÉVOLUÉES (MENU 7)
| Appuyez sur : | Fonction appelée | Définition de la fonction | Détail page |
| M 72 OK | REDIFFUSION | Rediffusion des messages vocaux et fax (selon modulo) | 35 |
| M 721 OK | ACTIVER | Activer la rediffusion (selon modulo) | |
| M 722 OK | DEACTIVER | Déactiver la rediffusion (selon modulo) | |
| M 723 OK | REGLAGES | Régler les paramètres de la rediffusion (selon modulo) | |
| M 79 OK | TECHNIQUES | Modification des paramètres techniques | 35 |
SOMMAIRE
INTRODUCTION 1
Déballage 1
Raccordements 1
Mise sous tension 3
Installation du papier 3
Choix du type d'utilisation (telephone, fax, répondeur). 5
Les menus 7
TELEPHONER 9
Appeler 9
Répondre à un appel 10
Fonctions accessibles en cours de communication 10
RÉPERTOIRE (MENU 1) 11
Créer une fiche 11
Appeler un correspondant à partir du repertoire 12
Modifier une fiche. 12
Supprimer une fiche. 13
Imprimer le repertoire 13
RéGLAGES (MENU 2) 15
Date/Heure 15
Numero/Nom 15
Méloie de sonnerie et bips touches 15
Réseau 16
Mode nuit 16
Nombre de sonneries avant décrochage automatique 17
Combinesans fil 17
Sécurité de votre(APpeuil (selon modèle) 18
Choix de la langue et du réseau 18
FAX (MENU 3) 19
Insérer le document à émettre dans le chargeur 19
Envoyer un fax. 20
Recevoir un fax 22
En cours de transmission 23
Fonctions avances 23
Répondeur (MENU 4) 25
Modèles avec répondeur (interne) 25
Modèle avec répondeur vocal (externe) 30
IMPRESSION ET COPIE LOCALE (MENU 5) 31
Impressions 31
Copie locale. 31
Visualisation jauge ruban 32
GESTION DES DOCUMENTS (MENU 6) 33
FONCTIONS EVOLUÉES (MENU 7) 35
Transfert des documents reçus (selon modèle). 35
Paramètres techniques 35
Télécommande à partir d'un poste en parallèle 36
OPTIONS 37
Service presentation du numero (France Telecom) 37
Utilisation des touches R, # et* 38
ANNEXES 39
Remplacement des consommables. 39
Dépannage 42
Codes du rapport d'émission 43
- Cet apparéil a été concu en vue de son raccordement sur le Réseau Télophonique Public Commute (RTPC). Il est en conformité avec les normes TBR21, ETSI 201 121, TBR381. En cas de problèmes, vous doivent contacter en premier lieu leur fournisseur.
Le marquage C ∈ atteste de la conformité des produits aux exigences essentielles de la directive R&TTE 99/05/CE, conformément aux directives 73/23/CE pour la sécurité des usagers, 89/336 CE pour les perturbations electromagnétiques, et qu'il utilise efficacement le spectre radio attribué aux communications terrestres.
- Le fabriquant déclare que les produits sont fabriqués conformément à l'ANNEXE III de la directive R&TTE 99/05/CE.
INTRODUCTION
DéBALLAGE
Lors du déballage de votre apparéil, vous doivent voir les éléments suivants :
- Appareil
Cordon ligne téléphonique
Cordon secteur - Support de papier(*)
Combé** - Kit DECT (combine sans fil, chargeur et base) (^**)
Un premier ruban encreur et sa carte jauge sont déjà installés dans la machine. Vous serez amélié à les changer lorsqu'ils seront usages (pour cela, reportez-vous au § Remplacement des consommables, page 39).
RACCORDEMENTS
Attention - Veuillez vous référer aux Consignes de sécurité situées à la fin de ce livre d'utilisation. RACCORDEMENT DU CORDON SECTEUR


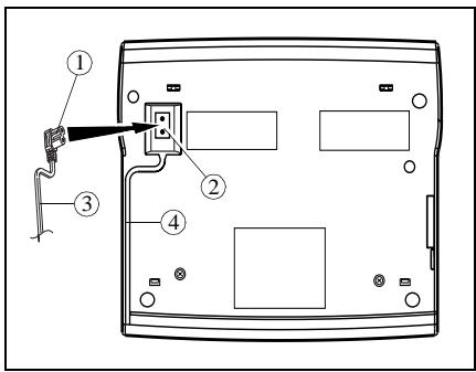
Retournez votre machine.
Branchez la prise (1) du cordon secteur sur le connecteur (2) de l'appareil.
Insérez le cordon (3) dans le guide fil (4).
Retournez votre machine.







Gestion docs.

Pour aller plus loin...
Options
RACCORDEMENT DU COMBINÉ (MODELES AVEC COMBINÉ)

Branchez le cordon du combiné sur le connecteur (1) de l'appareil.
RACCORDEMENT DE LA LIGNE TELLEPHONIQUE Pour les modèles avec combiné

Branchez la fiche du cordon ligne téléphonique sur le connecteur (2) de l'appareil et l'autre extrémité sur la prise téléphonique mu-rale.
Pour les modèles sans combiné

13 Branchez la fiche du cordon ligne téléphonique sur le connecteur (1) de l'appareil et bran- chez l'autre extrémite sur la prise téléphonique murale.
MISE SOUS TENSION
Branchez la prise de courant sur la prise secteur murale.
A la mise sous tension, l'écran affiche SELECT LANGUAGE.
Appuyez sur OK pour afficher la liste des langues disponibles.
Sélectionnez la langue souhaïée à l'aide des touches ▲ et ▼ et validez en appuyant sur OK.
L'écran affiche alors VERIFIER LA DATE (dans la langue seLECTIONnée).
Appuyez sur OK et entrez la date et l'heure courantes à l'aide du clavier alphonémérique.
-Validez en appuyant sur OK.
Ensuite, il est possible de selectionner une autre langue à partir du menu 29 (reportez-vous au § Choix de la langue et du réseau, page 18).
INSTALLATION DU PAPIER
Les chargeurs ou bac papier peuvent contenir un nombre plus ou moins important de feuilles (reportez-vous au tableau de description des différents modèles en début du présence livret d'utilisation).
Vou puez utilise du papier normal : format A4, 80g / m^2 environ (type photocopie). Cependant, pour obtenir une qualite d'impression optimale, nous vous conseillons d'utiliser le papier recommendé par le constructeur (reportez-vous à la derniere page de ce livre d'utilisation).
Pour éviter tout dysfonctionnement et obtenir des impressions de qualité, voirlez à respecter ces principes simples :
- utilisez du papier parfaitement neuf, qui n'est ni plié, ni roulé,
- ne rechargez pas le bac en cours d'impression,
- enlevez toujours toutes les pages générées dans le bac avant de recharger du papier.
La maniere d'installer le papier diffère en fonction des modèles :
POUR LES MODELES AVEC BAC PAPIER FIXE (100 PAGES)

Insérez le support papier (1) sur le chargeur de feuilles dans les deux logements (2) prévus à cet effet.
Ouvrez le capot (3) du bac chargeur.

Preparez une liasse de 100 feuilles maximum.
Placez celle-ci dans le bac chargeur (4).
Refermez le capot (3) du bac chargeur.

Telephoner

1
Répertoiré

glages

Fax

bondeur

Imprimer

6
Gestion docs.

7
Pour aller plus loin...
Options
POUR LES MODELES AVEC CHARGEUR PAPIER MOBILE (30 PAGES)

Levez le capot (1) en le tenant par le cote (2).

Relevez le bras support papier (3).

Preparez une liasse de 30 feuilles maximum.
Présentez-la entre les guides papier (4 et 6).
Poussez la pince (5) pour insérer cette liasse dans la réserve de l'appareil.
Ajustez le guide papier gauche (4) à la largeur du papier utilisé.
Attention - Relevez le bras support (7) qui facilitera l'empilage des feuilles imprimées.
POUR LES MODELES AVEC CHARGEUR PAPIER FEUILLE 念 FEUILLE (1 PAGE)

Insérez les feuilles de papier l'une après l'autre dans le chargeur papier.
CHOIX DU TYPE D'UTILISATION (TELEPHONE, FAX, RÉPONDEUR)
POUR LES MODELES AVEC RÉPONDEUR
Votre appeareil dispose de trois modes d'utilisation, décrits ci-dessous :
- mode automatique avec répondeur : votre apparéil répond à tous les appel, enregistre les messages vocaux et recoit les fax automatiquement ,
- mode automatique sans répondeur : votre apparéil trie vos appelés avant de vous lesprésenter,
mode manuel : votre fax ne décroche jamais automatiquement.
Dans chacunde cestroismodes,vouppouvdecrocherle combinéa tout moment:
- s'il s'agit d'un appel fax, vous pouvez activer le passage de votre fax en mode réception de télécopie en appuyant sur la touche
- s'il s'agit d'un appel vocal, parlez à votre correspondant.
Appuyez une ou plusieurs fois sur la touche pour vous configurer sur le mode de réception désiré et validez par OK:
念 Mode automatique avec repondeur (TEL-FAX-REP)
Votre appareil se compeote comme un téléphone avec un repondeur, associé à un fax. Sélectionnez ce mode lorsque vous vous absentez ou si vous ne pouze perdre ni les appeals téléphoniques, ni les fax.
Lorsque vous appeareil sonne, il decroche après le nombre de sonneries programme et émet l'announce de votre répondeur :
- s'il s'agit d'un appel fax, il passe automatiquement en mode de réception de fax,
- s'il s'agit d'un appel vocal, votre correspondant pourra vous laisser un message.
□ Vous pouvez régler le nombre de sonneries avant que votre apparéil ne décroche automatique-ment, reportez-vous au § Nombre de sonneries avant décrochage automatique, page 17.
Mode automatique sans répondeur (TEL-FAX)
Votre appeareil trie automatiquement les appels avant de vous lesPRESENTer. Selectionnez ce mode si vous recevez beaucoup de fax et que vous ne pouze pas etre dérange par leur reception.
Lors d'un appel, votre télécopieur décroche automatiquement sans vous faire entendre de sonnerie ^(*) , et il émet à votre correspondant des bips sonores l'invitant à patienter, puis:
- s'il s'agit d'un appel fax, il passse en mode réception de télécopie,
- s'il s'agit d'un appel vocal, il sonne (sonnerie d'alerte) pendant 30 secondes ^(**) pendant lesquelles votre correspondant entend une tonalité de sonnerie. Vous pouvez alors décrocher et lui parler.
Mode manuel (TEL)
Votre appearil se compeirve avant tout comme un téléphone ; selectionnez ce mode si vous receivez peu de fax.
Dans ce mode, votre fax ne décroche jamais automatiquement (sauf au bout de 9 sonneries si l'interrogation à distance est autorisée ; il émet alors l'announce de votre répondeur).

Telephoner

Répertoiré

1
Réglages

Fax

3
Répondeur

primer

5
Gestion docs.

Pour aller plus loin...
Options
Annexes
POUR LES MODELES SANS RÉPONDEUR
Votre Phonefax dispose de trois modes d'utilisation, décrits ci-dessous :
- mode fax : votre fax passe automatiquement en mode FAX. Vous pouvez connecter un réseauur à votre fax pour receivevoir également vos messages vocaux,
- mode automatique: votre fax trie vos appeals avant de vous lesprésenter,
- mode manuel : votre fax ne décroche jamais automatiquement.
Appuyez sur la touche une ou plusieurs fois selon le mode de réception que vous souhaitez sélectionner.
Mode Fax (FAX)
Sélectionnez ce mode si vous trafic fax est important.
Sans répondeur externe raccordé
Lors d'un appel, l'appareil sonne et décroche automatiquement :
- s'il s'agit d'un appel fax, votre apparéil reçoit automatiquement la télécopie,
- s'il s'agit d'un appel vocal, il sera perdu sauf si vous décrochez avant le nombre de sonneriesprogrammé (reportez-vous au § Nombre de sonneries avant décrochage automatique, page 17) (c'est-à-dire avant le décroché automatique).
Avec répondeur externe raccordé
Reportez-vous au § Modèles avec répondeur vocal (external), page 30.
Lors d'un appel, l'appareil sonne :
- s'il s'agit d'un appel fax, votre appeareil recooit automatiquement la télécopie,
- s'il s'agit d'un appel vocal, votre répondeur enregistre automatiquement le message de votre correspondant.
Mode automatique (TEL-FAX)
Votre appeareil trie automatiquement les appels avant de vous les prsenter. Selectionnez ce mode si votre traffic fax est consequent et que vous ne voulez pas etre dérange par la reception d'une telecopie.
Lors d'un appel, l'appareil décroche d'abord automatiquement sans vous déranger ^(*) , transmet à votre correspondant des bips sonores d'attente l'invitant à patienter, puis :
- s'il s'agit d'un appel fax, votre apparéil passée en réception de télécopie,
- s'il s'agit d'un appel vocal, votre apparéil sonne (sonnerie d'alerte) pendant 30 secondes pour vous prévenir ^(**) . Pendant ce temps, votre correspondant entend une tonalité de sonnerie. Si vous ne répondez pas, votre apparéil passée en réception téléçopie.
Mode manuel (TEL)
Votre appareil se compeirse comme un telephone. Selectionnee ce mode si notre traffic fax n'est pas important.
Sans répondeur externe raccordé
Lors d'un appel, l'appareil sonne, et ne décroche pas automatiquement. Vous devez décrocher, et :
- s'il s'agit d'un appel vocal, vous pouvez parler à votre correspondant,
- s'il s'agit d'un appel fax, votre apparéil passée automatiquement en mode de réception de télécopie.
Avec répondeur externe raccordé
Reportez-vous au § Modèles avec répondeur vocal (external), page 30.
Lors d'un appel, l'appareil sonne :
- s'il s'agit d'un appel vocal, votre répondeur enregistrur décroche automatiquement et enregistrre le message de votre correspondant,
- s'il s'agit d'un appel fax, votre apparéil passée automatiquement en mode de réception de télécopie.
POUR LES MODELES SANS COMBINÉ
Mode automatique
Votre appeareil reoit les teleropies automatquement en memoire sans aucune intervention de leur part.
Mode manuel
Lors d'un appel, l'appareil sonne. Vous ne pouvez pas répondre.
Si vous avez connecté un téléphone sans fil, votre apparéil possède trois modes d'utilisation (FAX, automatique et manuel). Reportez-vous au § Pour les modèles sans répondeur, page 6. Vous pouvez alors utiliser votre téléphone sans fil pour répondre à un appel (vous ne pouvez pas utiliser la touche de votre apparéil pour répondre à un appel).
LES MENUS
ACCEDER AUX MENUS
Comme décrit dans les chapitres suivants, votre apparéil dispose de nombreuses fonctions accessibles par des menus, qui permettent de les paramétrer et les modifier: enregistrer un réseau de correspondants, memoriser les fax reçus ou envoyés, régler le nombre de sonneries, etc.
Comme vous pouvez le voir dans le guide des menus, les fonctions sont numéroétées dans un menu principal (Ex. : 1. Répétaire), à partir duquel vous accédez ensuite aux différents réglages de la fonction sélectionnée (Ex. : 1.1 Ajouter, 1.2 Modifier, 1.3 Supprimer ou 1.4 Imprimer une fiche du répétaire).
Le menu principal : accès aux fonctions
Appuyez sur la touche M.
Les sous-menus : accès aux réglages des fonctions
Appuyez sur la touche pour selectionner la ligne precedente.
Appuyez sur la touche pour seLECTIONner la ligne suivante.
Appuyez sur la touche OK pour valider et passer au menu suivant.
Appuyez sur la touche C (CORRECTION) pour revenir au menu précédent.
Appuyez sur la touche (DEBUT) pour valider et sortir du menu courant.
Appuyez sur la touche (STOP) pour sortir du menu courant.
Se déplacer dans un champ de saisie
Appuyez sur la touche C pour effacer le dernier caractère.
Appuyez sur la touche C (appui long) pour effacer tous les caractères saisis.
Appuyez sur la touche ▲ pour déplacer le curseur vers la gauche dans un champ de saisie.
Appuyez sur la touche pour déplacer le curseur vers la droite dans un champ de saisie.

Appuyez sur la touche pour annuler votre saisie et revenir à la valeur initiale.
Appuyez sur la touche OK pour valider votre saisie et passer à la rubrique suivante.
Appuyez sur la touche (DEBUT) pour confirmer votre saisie et sortir du menu courant.

IMPRIMER LE GUIDE DES MENUS
Pour imprimer le guide et ainsi avoir une vue d'ensemble des menus, veuillez professionnel comme suit :
Insérez du papier.
Appuyez sur les touches M, 5, 1 puis OK (ou appuyez sur la touche i).
Les menus sont classés dans l'ordre des numérores de fonction (reportez-vous au chapitre AIDE MÉMOIRE, GUIDE DES MENUS, en début du livre d'utilisation), elles-mêmes classées selon leur ordre d' apparition dans ce livre. Les onglets vous permettent d'acceder rapidement aux informations recherchées.
TELEPHONER
Bien qu'équipe de fonctions avances, votre apparéil est également un téléphone, disposant de toutes les fonctions pour votre comforts d'utilisation.
APPELER
APPELER AVEC LE COMBINÉ
Pour appeler un correspondant, décrochez le combiné et composez son numéro (celui-ci s'affiche à l'écran).
Vou puez également composer le numero avant de décrocher le combiné. Dans ce cas, vous pouze corriger une erreur dans la numérotation à l'aide de la touche C.
Vous pouvez utiliser les touches et pour regler le volume (2 niveaux disponibles).
APPELER AVEC LA TOUCHE
Ecoute amplifiée
Composez le numero de votre correspondant. L'écran affiche le numero composé.
Decrochez combiné, l'appareil numérote automatiquement.
Lorsque vous estes en ligne avec votre correspondant, appuyez sur la touche pour activer l'écoute amplifiée.
Vous pouvez utiliser les touches et pour regler le volume.
Pour déactiver l'écoute amplifiée, appuyez de nouveau sur la touche
Mains libres (modèles avec répondeur)
Composez le numero de votre correspondant.
Appuyez sur la touche : l'appareil numérote automatiquement.
Vous pouvez utiliser les touches et pour regler le volume.
- Vous pouvez à tout moment décrocher le combiné et poursuivre votre conversation (le haut-parleur et le micro sont alors automatiquement désactivés).
APPELER A PARTIR DU RÉPERTOIRE
Votre appeareil vous permet de memoriser les coordonnées de tous vos correspondants dans un réseau. Pour connaître la procédure à suivre dans ce cas, reportez-vous au § Appeler un correspondant à partir du réseau, page 12.
RAPPELER UN DES DIX DERNIERS NUMÉROS COMPOSES
Appuyez sur la touche (BIS).
Selectionnez le numero du correspondant a rappeler a l'aide des touches et .
Pour appeler le numero affiché, appuyez sur la touche ou décrochez votre combiné.
- Vous pouvez à tout moment effacer les numérores mémorisés en BIS en appuyant sur les touches C, (BIS) puis OK.







Gestion docs.

Options
Répondre à UN APPEL
Lorsqu'un correspondant vous appelle, votre apparéil sonne. Décrochez votre combiné (ou appuyez sur la touche pour les modèles avec répondeur et main libre) et parlez. Pour terminer la conversation, raccrochez le combiné (ou appuyez sur la touche).
Dix secondes après la numérotation, un compteur vous indique à l'écran la durée approximative de la communication.
ACTIVER L'ECOUTE AMPLIFIÉE
Vou pouve activer le haut-parleur en appuyant sur la touche en cours de communication pour permettre à une autre personne d'écouter la conversation.
PASSER EN MODE MAINS LIBRES DURANT LA COMMUNICATION (MODELES AVEC RÉPONDEUR)
Appuyez et maintenez appuyee la touche
Raccrochezle combiné.
Relâchez la touche. La conversation se poursuit alors en mode mains libres.
ACTIVERLEMODESECRET
En cours de communication, si vous voulez que votre correspondant ne vous entende pas pendant un moment, appuyez sur la touche . Appuyez de nouveau sur cette touche pour reprendre votre conversation.
ENREGISTRER LA CONVERSATION (SELON MODELE)
Pendant une communication au combiné, vous pouvez enregistrer la conversation :
Appuyez sur la touche M, puis sur : l'enregistrement commence.
Pour arreter l'enregistrement de la conversation, appuyez sur
Pour réécouter l'enregistrement de la conversation, appuyez sur
Pour effacer la conversion enregistrée, appuyez sur M, 4, 4 et OK
TRANSFÉRER LA COMMUNICATION
Pour transférer la communication sur un autre poste (raccordé sur la même ligne téléphonique):
Appuyez sur les touches M, puis
Raccrochez le combiné.
Rendez-vous à l'autre poste téléphonique, décrochez et poursuivez votre conversation.
Le combiné doit être raccroché dans un délai de 4 secondes. Vous disposez d'un délambda d'environ 25 secondes pour décrocher le poste situé dans l'autre piece.
PASSER EN MODE RÉCEPTION FAX
Si vous décrochez à partir d'un poste parallele ou d'un combiné sans fil et que vous n'entendez aucun interlocuteur, vous pouvez télécommander votre apparéil pour le faire basculer en mode de réception fax en tapant : # puis 7 (reportez-vous au § Télecommande à partir d'un poste en parallele, page 36).
RéPERTOIRE (MENU 1)
Le repertoire est un fjichier dans lequel vous enregistrez les coordonnées de vos correspondants, et en particulier ceux avec lesquels vous communiquez le plus souvent. De cette façon, au lieu de taper un numero de téléphone, à fax chaque fois que vous souhaitez communiquer avec l'un d'entre eux, il vous suffit de selectionner son nom dans le repertoire : grâce aux informations memorisées, votre apparéil automatise ainsi tous vos appels.
Les fiches enregistrées dans le réseau sont classées par ordre alphétique.
CREERUNEFICHE
Pour voir apparaitre un correspondant dans le réseau, vous doivent préalablement enregistrer ses coordonnées dans une fiche. Pour creer une nouvelle fiche et l'ajouter au réseau :
APPUYEZ SUR LES TOUCHES M,1,1 ET OK.
Vous pouvez renoncer à la création d'une fiche à tout moment en appuyant sur 念
NOM DE VOTRE CORRESPONDANT
Entrez à l'aide du clavier alphanumerique le nom de votre correspondant et validez par OK. L'appui une ou plusieurs fois sur une touche permet de faire défiler les lettres correspondantes. Par exemple, pour enter "DUPONT", appuyez successivement sur les touches suivantes:

1 fois

2 fois

1 mois 3 mois

1 fois

2 fois 1

1 fois
D
U
P
0
N
T
Vous pouvez vous déplacer dans le champ de saisie à l'aide des touches ▲ ou ▼
- vous pouvez effacer le dernier caractère à l'aide de la touche C,
- vous pouvez effacer tous les caractères avec un appui long sur cette même touche,
- vous pouvez insérer un espace en appuyant deux fois sur la touche 0.
Appuyez sur la touche OK pour confirmer.
NUMERO DE VOTRE CORRESPONDANT
Saisissez ensuite le numero de téléphone et/ou de fax de votre correspondant.
Appuyez sur la touche OK pour confirmer.
Si vous fax se trouve dans les locaux d'une entreprise, il se peut qu'il soit connecté à un standard téléphonique privé (ou PABX). Certains de ces standards nécessitent la numération d'un pré-fixe (0 par exemple). Mémorisez les numérores du repertoire sans ce préfixe. Vous pouvezprogrammer automatiquement ce préfixe pour tous les numérores (reportez-vous au § Préfixe, page 16). Certains standards nécessitent aussi une attente de tonalité dans la numération. Si c'est le cas du yourselves, appuyez sur la touche R pour insérer cette attente de tonalité dans la numération (le caractère / s'insère dans l'affichage de la numération).
NUMERO ATTRIBUÉ
Chaque nouvelle fiche creée se voit attribuer un numero à 2 chiffres à partir duquel vous pouvez acceder directement à la fiche correspondante.
^山 Validatee le numero attribué automatiquement par votre télécopieur à la fiche en cours de création ou saisissez le numero de votre choix et validatez en appuyant sur la touche OK.
Les 10 premiers correspondants du repertoire sont accessibles directement par les 10 touches d'accès direct.
APPELER UN CORRESPONDANT A PARTIR DU REPERTOIRE
Une fois les coordonnées de tous vos correspondants enregistrées dans le repertoire, vous pouvez en selectionner un (pour lui téléphoner ou lui envoyer un fax) de plusieurs façon différentes, comme déscrit ci-dessous.
SELECTION PAR LE NOM
Appuyez sur la touche qui utilise les touches et pour faire défiler les fiches de votre repertoire par ordre alphabétique.
Une fois la fiche désirée affichée à l'écran :
- décrochez le combiné ou appuyez sur la touche pour l'appeiler,
ou - déposez un document dans le chargeur et appuyez sur la touche pour lui "faxer" le document.
SELECTION PAR LE NUMERO ABRÉGE
Un numero abrégé à 2 chiffres a été automatiquement associé par votre fax à chaque fiche, au fur et à mesure de leur création : 00 pour la 1^ère fiche, 04 pour la 5^ème , etc.
Appuyez 2 fois sur la touche, puis tapez le numéro abrégé de la fiche de votre correspondant.
Vous pouvez ensuite:
decrocher le combiné ou appuyez sur pour l'appeiler, ou
- déposer un document dans le chargeur et appuyer sur pour lui "faxer" le document.
Si vous avez oublié àquel numero abrégé correspond telle fiche, vous pouvez imprimer le repertoire et ainsi avoir une copie de toutes les informations qu'il contient (reportez-vous au § Imprimer le repertoire, page 13).
SELECTIONNER PAR TOUCHE D'ACCES DIRECT
Appuyez sur l'une des 10 touches (entre 00 et 09) d'accès direct aux 10 premières mémoires du repertoire.
Vous pouvez ensuite :
decrocher le combiné ou appuyez sur pour l'appeiler, ou
- déposer un document dans le chargeur et appuyer sur pour lui "faxer" le document.
MODIFIER UNE FICHE
APPUYEZ SUR LES TOUCHES M,1,2,OK
Pour selectionner une fiche :
- utilisez les touches et pour faire defiler les fiches par ordre alphabetique (ou entrez le numero abrégé associé),
- appuyez sur la touche OK.
Pour corriger les informations qu'elle contient (nom, nombres de téléphone/fax, etc.), utilisez les touches , et C: modifiez les informations voulues avec le clavier alphanumeric, en appuyant sur la touche OK pour valider et passer aux informations suivantes.
SUPPRIMER UNE FICHE
APPUYEZ SUR LES TOUCHES M, 1, 3, OK.

Selectionnez la fiche à supprimer à l'aide des touches ▲ ou ▼ (ou entrez son numéro abrégé) et validez en appuyant 2 fois sur OK.
La fiche est suprimée.
IMPRIMER LE RÉPERTOIRE
APPUYEZ SUR LES TOUCHES M,1,4 ET OK.
Le repertoire s'imprime automatique. Vous retrouvrez sur ce document toutes les informations que vous ave saisies (nom, numero de téléphone/fax de vos correspondants ainsi que les numeros abregés associés automatiquement à chaque fiche).

Telephoner

Répertoiré

Réglages

Fax

Répondeur

Imprimer

5
Gestion docs.

Pour aller plus loin...
Options
Annexes
RéGLAGES (MENU 2)
Les différents régles vous permettent de personneliser les appels et le mode de fonctionnement de votre apparéil (choix d'une métodie de sonnerie, memorisation des fax, etc.), mais aussi de définir des paramètres techniques et de sécurité (choix d'un type de réseau, verrouillage, code d'accès, etc.).
DATE/HEURE
APPUYEZ SUR LES TOUCHES M, 2, 1, OK
Saisissez la date et l'heure avec les touches numériques du clavier, puis appuyez sur OK pour valider.
Exemple:7 mai 2000,9h15:appuyez sur les touches 0705000915 et OK.
NUMERO/NOM
Les informations que vous saississez dans ces champs seront automatiquement insérés dans les en-têtes des fax émis, de sorte qu'elles seront imprimées sur les fax reçus par vos correspondants.
Pour ce faire, le réglage EMI ENTETE doit être actif (reportez-vous au § Paramètres techniques, page 35).
APPUYEZ SUR LES TOUCHES M, 2, 2, OK
Tapez votre numero de fax, puis appuyez sur OK pour valider et passer au champ suivant.
Tapez votre nom (reportez-vous au § Nom de votre correspondant, page 11), puis appuyez sur OK pour valider.
MÉLODIE DE SONNERIE ET BIPS TOUCHES
Vouss pouvezCHOISIR parmi 4 melodies ou SANS MELODIE et regler le niveau sonore de la melodie selectionnee. Vouss pouze egalament programmer I'émission d'un bip sonore à chaque appui sur une touche.
Si vous choisissez SANS MELODIE, seul le message APPEL ENTRANT qui s'affiche à l'écran lorsque vous receivez un appel vous indiquera que celui qu'un recherche à vous joindre.
MÉLODIE DE SONNERIE
APPUYEZ SUR LES TOUCHES M, 2, 3, 1, OK
Sélectionnez la mélodie souhaïée avec les touches ▲ et ▼, puis validez par OK.
Pour régler le niveau sonore, appuyez sur les touches et , puis sur OK pour valider.
BIP DE TOUCHES
APPUYEZ SUR LES TOUCHES M, 2, 3, 2, OK
Sélectionnez AVEC ou SANS, puis appuyez sur OK pour valider.
APPUYEZ SUR LES TOUCHES M, 2, 3, 3, OK
Sélectionnéz l'options souhaïée à l'aide des touches ▲ ou▼ et validez par OK :
MARCHE:activation du réveil.
Saisissez l'heure à laquelle vous pouze que le réveil sonne, puis appuyez sur la touche OK pour confirmer : l'écran affiche à droite de l'heure un symbole signalant la mise en service du réveil.
- ARRET: déactivation du réveil.
L'alarme sonne pendant 30 secondes. Appuyez sur n'importe qu'elle touche du clavier pour l'arreter avant ce délambda.
RéSEAU
TYPE DE RÉSEAU
La ligne téléphonique de votre apparéil peut être raccordée soit au réseau public, soit à un réseau privé, comme dans une entreprise équipée d'un standard (ou PABX).
APPUYEZ SUR LES TOUCHES M, 2, 4, 1, OK
Sélectionnez le type de réseau, PRIVE ou PUBLIC, auquel vous étés raccordé, puis appuyez sur OK pour valider.
PREFIXE
Si vous appeareil est raccordé au standard téléphonique privé (ou PABX) d'une entreprise, il vous faut saisir un préfixe d'appeil sortant (0 ou 9 le plus souvent) avant le nombre à appeler, à condition que :
- les numéroes internes (pour lesquels le préfixe est inutil), soient des numéroes courts, inférieurs à la longueur minimale à partir de laquelle le préfixe doit être automatiquement inséré (à définir),
- les numéroes externes (pour lesquels le préfixe est obligatoire), soient des numéroes longs, supérieurs ou égaux à la longueur minimale à partir de laquelle le préfixe doit être automatiquement inséré (à définir, par exemple 10 chiffres en France).
IMPORTANT - Ne changez rien aux numérores que vous avez memorisé dans le repertoire. C'est en choisisant d'activer ou de désactiver l'utilisation du préfixe que vous passez d'un branchement sur un réseau privé (AVEC préfixe) à un réseau public (SANS préfixe).
Pourprogrammerle préfixelocal,
APPUYEZ SUR LES TOUCHES M, 2, 4, 2, OK
Selectionnez l'options AVEC à l'aide des touches ▲ ou ▼ et validez avec la touche OK.
Saisissez le numero utilisé par votre PABX pour acceder au réseau téléphonique (ex. : 0) suivi du signe / (ou pause, accès par appui sur la touche R) et validez en appuyant sur OK.
Saisissez si nécessaire la longueur des numéroes de téléphone à partir de laquelle le préfixe doit être automatiquement ajusté (par exemple, 10 chiffres en France) et validez en appuyant sur OK.
MODE NUIT
Ce mode vous permet de couper la sonnerie de votre apparéil pendant une période donnée (la nuit, par exemple), tout en continuant à receivevoir vos communications. L' apparéil se met alors en mode de réception automatique avec répondeur et décrochera après 5 sonneries. Il receives automatique messages vocaux et fax. A la fin du mode NUIT, vous étés informé de la présence de ces messages ou fax par l'affichage à l'écran du nombre de messages reçus et par le clignotement des touches et, et vouslide instantiel bascule automatique dans le mode de réception courant.
Pour activer le mode nuit,
APPUYEZ SUR LES TOUCHES M, 2, 5, OK
OU APPUYEZ SUR F2
Selectionnez l'option MARCHE à l'aide des touches ▲ ou ▼ et validez par OK.
Saisissez l'heure à laquelle vous souhaitez que le mode nuit se déclenché et validez par OK.
Saisissez ensuite l'heure à laquelle vous souhaitez que le mode nuit soit désactivé et validez par OK.
Pour déactivé le mode nuit,
APPUYEZ SUR LES TOUCHES M, 2, 5, OK
OU APPUYEZ SUR F2
Selectionnez ARRET avec les touches ou et validez par OK.
NOMBRE DE SONNERIES AVANT DÉCROCHAGE AUTOMATIQUE
Ce réglage permet d'indiquer après combien de sonneries vous appareil décroche automatiquement. Pour régler le nombre de sonneries,
APPUYEZ SUR LES TOUCHES M, 2, 6, OK
Modifiez le nombre de sonneries, puis appuyez sur OK pour valider.
COMBINED SANS FIL
L'appareil peut être utilisé avec un ou plusieurs combinés téléphoniques sans fil, qui nécessitent l'installation du kit téléphone sans fil livré avec votre apparéil, ou disponible chez votre revendeur. Veuillez vous reférer au guide d'utilisation livré avec ce kit pour davantage d'informations à ce sujet. Lorsqu'il est équipé de ce kit, votre apparéil permet l'accès aux fonctions décrites ci-dessous.
ENREGISTRER UN COMBINÉ SANS FIL
Pour chaque combiné que vous souhaitez enregister sur votre apparéil :
APPUYEZ SUR LES TOUCHES M,2,7,1,OK
Sur le combiné lui-même, veillez vous référer au guide d'utilisation du combiné rubrique "Inscription d'un combiné sur la base".
EFFACER UN COMBINED SANS FIL
APPUYEZ SUR LES TOUCHES M,2,7,2,OK
L'écran affiche le numéro des combinés enregistrés.
Tapez le numero correspondant au combiné à effacer et appuyez sur OK. Notre apparéil émet une série de bips sonores qui vous indiquent que l'effacement est en cours.
CODE D'ENREGISTREMENT DE LA BASE
APPUYEZ SUR LES TOUCHES M, 2, 7, 3, OK
Cette fonction vous permet de définir un code d'enregistrement à 4 chiffres qui protège votre base, par exemple contre l'enregistrement de combinés qui ne vous apparriennent pas, mais qui seraient dans le même champ que votre apparéil.
SECURITE DE VOTRE APPAREIL (SELON MODELE)
PROTECTION DES MESSAGES VOCAUX OU FAX
Vous pouvez protéger tous vos messages par un code, qui devra être saisi pour les consulter. Pour ce faire, vous devezmettre en place un verrou d'accès à vos messages et désirir un code d'interrogation, qui doit être différent de 0000.
Verrou d'accès aux messages
APPUYEZ SUR LES TOUCHES M, 2, 8, 1, OK
Selectionnez l'options souhaitee à l'aide des touches ▲ ou ▼ :
- SANS: l'accès local aux messages se fait sans nécessiter de code d'interrogation.
- AVEC : l'accès local aux messages n'est possible qu'après avoir saisi le code d'interrogation.
Appuyez sur OK pour valider.
Accès aux messages verrouillés
Si vous avez choisi AVEC un verrou d'accès aux messages, la procédure pour acceder à vos messages est la suivante :
Appuyez sur les touches ou, selon la nature des messages (vocaux ou fax).
Saisissez le code d'interrogation à distance.
CODE D'INTERROGATIONÀ DISTANCE
Cette fonction permet de définir le code d'interrogation à distance des messages ou fax reçus.
APPUYEZ SUR LES TOUCHES M, 2, 8, 2, OK
Saisissez notre code.
Appuyez sur OK pour valider.
CHOIX DE LA LANGUAGE ET DU RÉSEAU
You'veaiezappositionedechoisrlanguea1ecrande'appareil.
APPUYEZ SUR LES TOUCHES M, 2, 9, OK
Sélectionnez la langue souhaïée (ENGLISH, FRANÇAIS, DEUTSCH, ESPÁNOL, ITALIANO) à l'aide des touches ▲ et ▼ et appuyez 2 fois sur OK.
Choisissez le réseau correspondant (pour le service identifiant de l'aggellant) et validez par OK.
FAX (MENU 3)
INSÉRER LE DOCUMENT À ÉMETTRÉ DANS LE CHARGEUR
POUR LES MODELES AVEC BAC PAPIER FIXE

Le chargeur document (1) peut receivevoir jusqu'à 15 pages.

Insérez le document, face imprimée cachée dans le chargeur document. Si besoin est, ajustez le guide mobile (2) à la largeur du document. L'appareil affiche DOCUMENT PRET.
- Voiture appareil est équipé d'un chargeur automatique. La feuille qui se trouve au-dessous est émise en premier.
POUR LES MODELES AVEC CHARGEUR PAPIER MOBILE

Relevez la porte d'accès fax (1).
Relevez le bras support document (2).
Le chargeur document (3) peut receivevoir jusqu'à 15 pages.

Insérez le document face imprimée cachée dans le chargeur document. Si besoin est, ajustez le guide mobile (4) à la largeur du document. L'appareil affiche DOCUMENT PRET.
- Voiture appareil est équipé d'un chargeur automatique. La feuille qui se trouve au-dessous est émise en premier.




Fax

Répondeur


Gestion docs.

Options
POUR LES MODELES AVEC CHARGEUR PAPIER FEUILLE À FEUILLE

Le chargeur de document (1) ne peut recevoir qu'une seule feuille à la fois.

Insérez le document face imprimée cachée dans le chargeur document (1).
L'appareil affiche : DOCUMENT PRET.
Attention - Si vous souhaitez retiree une page du chargeur ou du bac papier, appuyez avant sur 念
ENVOYER UN FAX
RÉSOLUTION DU DOCUMENT
Votre appareil dispose de trois modes de résolution, que vous scélectionnez selon le type et la qualité du document à faxer :
mode standard : pour un document deonne qualite, sans petits details,
modeFF(FIN):lorsqueledocumentcomportedespetitscaracteresoudesdessins,
mode (PHOTO): lorsque le document est une photo.
Appuyez une ou plusieurs fois sur la touche FF pour changer de mode de résolution. Le mode sélectionné est affché à l'écran.
EMISSION D'UN FAX
Emission immediate
Insérez le document dans le chargeur, face imprimée cachée, la première page à émettre en dessous de la pile (pour les modèles dont le chargeur peut accueillir plusieurs pages).
Composez le numero de votre correspondant, et appuyez sur pour valider.
Emission à partir du repertoire
Lorsque les coordonnées de tous vos correspondants sont enregistrées dans le repertoire, vous pouvez en selectionner un (pour lui téléphoner ou lui envoyer un fax). Reportez-vous au § Appeler un correspondant à partir du repertoire, page 12, pour des informations complètes à ce sujet.
Emission multidestinataire
Pour envoyer le même document à plusieurs destinataires, veuillez procéder comme suit :
Placez le document dans le chargeur, puis composez le numero de votre premier correspondant, ou selectionnez celui-ci dans le repertoire. Appuyez sur la touche OK pour valider.
Composez le numero du correspondant suivant ou selectionnez-le dans le repertoire. Appuyez sur la touche OK pour valider.
Répétez cette procédure pour tous les correspondants que vous souhaitez inclure dans cet envoi (6 au maximum), en ayant soin de valider le dernier correspondant en appuyant sur la touche pour lancer une émission immédiate.
Emission différée
Pour programmer l'envo ultérieur d'un document, veuillez proceder comme suit :
Insérez le document dans le chargeur.
APPUYEZ SUR LES TOUCHES M, 3, 1, OK
Composez le numero de votre correspondant.
Appuyez sur OK si vous souhaitez saisir un autre correspondant,
ou
Deux fois sur OK pour passer à la rubrique suivante.
Saisissez l'hour d'envoi souhaitee et validez en appuyant sur OK.
Choisissez le type d'envoi souhaite (depuis la MEMOIRE ou le CHARGEUR) et validez en appuyant sur OK (reportez-vous au § Emission depuis la mémoire ou depuis le chargeur, page 21, pour des informations complètes à ce sujet).
Saisissez le nombre de pages du document et validez en appuyant sur OK.
CHOIX DU TYPE DE RAPPORT D'EMISSION
Vous pouvez programmerer votre apparéil pour qu'un rapport d'émission soit imprimé après chaque fax envoyé. Trois types de rapport sont disponibles.
APPUYEZ SUR LES TOUCHES M, 3, 4, OK
Selectionnez l'option souhaitee avec les touches et :
- AVEC: un rapport d'émission est imprimé lorsque l'émission s'est correctement déroulée ou lorsque qu'elle est définitivement abandonnée (c'est-à-dire après 6 tentatives infructueuses). Il n'y a donc qu'un seul rapport par demande d'émission,
- SANS: aucun rapport d'émission n'est imprimé une fois vos documents faxés (se reporter au journal d'émission pour conserver une trace des communications),
- SUR ECHEC: un rapport d'émission est imprimé après chaque tentative d'émission qui s'est soldée par un éché.
^ Validez en appuyant sur OK.
EMISSION DEPUIS LA MÉMOIRE OU DEPUIS LE CHARGEUR
Vous avez le choix entre deux modes d'émission :
- à partir de la mémoire : le document à faxer est mémorisé par votre apparéil avant d'être envoyé. Ce mode permet de récapérer plusrapidement les originaux et d'envoyer le document à plusieurs correspondants.
- à partir du chargeur : le document est envoyé après la numérotation. Ce mode permet d'envoyer des documents volumineux, dont la taille peut dépasser la capacité de la mémoire.
APPUYEZ SUR LES TOUCHES M, 3, 5, OK
Choisissez l'option souhaitee avec les touches ou :
- MÉMOIRE :
Le document est d'abord enregistré dans la mémoire de votre apparéil, puis il est émis.
- CHARGEUR :
L'analyse du document et l'émission s'effectuant en même temps. Si le fax distant ne répond pas, le document reste dans le chargeur.
^ Validez en appuyant sur OK.
RECEVOIR UN FAX
Votre appeareil dispose d'une memoire de reception qui lui permet de receivevoir vos fax meme s'il n'y a plus de papier. Selon les reglages effectuels, votre appeareil peut imprimer vos fax des reception, ou les memoriser. Pour receivevoir automatiquement les fax vous devez etre en mode de reception Fax ou automatique. Si ce n'est pas le cas,
appuyez sur la touche (reportez-vous au § Choix du type d'utilisation (telephone, fax, répondeur), page 5, pour des informations complètes à ce sujet).
Lorsque vous avez reçu au moins un fax en mémoire, la touche 4 de votre apparéil clignote. Elle est éteinte s'il n'y a peu fax en attente ou lorsque vous avez imprimé tous les fax reçus.
IMPRESSION DES FAX REÇUS EN MÉMOIRE
Pour imprimer les fax reçus, mettez du papier dans le chargeur, et appuyez sur la touche. Si l'appareil manque de papier, ajoutez-en pour que l'impression reprene automatiquement après la dernière page imprimée.
Vous pouvez proteger l'accès à vos fax par un code (reportez-vous au § Protection des messages vocaux ou fax, page 18, pour des informations complètes à ce sujet).
RéCEPTION EN MéMOIRE (Répondeur FAX) OU IMPRESSION DIRECTE
Lorsqu'elle est activée, cette fonction permet de conserver tous les messages reçus en mémoire, jusqu'à ce que vous décidiez de les imprimer. Lorsqu'elle est inactive, les documents sont imprimés des leur réception.
APPUYEZ SUR LES TOUCHES M, 3, 6, OK
Choisissez l'option souhaitee avec les touches ou :
- AVEC : les documents reçus sont conservés en mémoire,
- SANS : les documents reçus sont directement imprimés (s'il y a du papier dans le chargeur),
-Validez en appuyant sur OK.
INTERROGATION DU RÉPONDEUR FAX À DISTANCE (MODELES AVEC RÉPONDEUR)
Si vous étés éloigné de votre apparéil et que vous disposez d'un télécopieur (configure en numération à fréquences vocales) à l'endetroit où vous vous trouvez, vous pouvez receivevoir et imprimer sur ce dernier les fax mémorisés par votre propre apparéil.
A la livraison, l'option interrogation à distance n'est pas opérationnelle : pour interroger votre répondeur fax à distance, vous doivent préalablement paramétre un code d'interrogation, qui est commun avec le répondeur vocal (de sorte que vous pouvez alors également écouter vos messages vocaux). Reportez-vous au § Code d'interrogation à distance, page 18, pour des informations complètes à ce sujet et paramétrevez cetteappeire en mode réception automatique avec répondeur.
Composez, depuis un télécopieur distant muni d'un téléphone, votre propre numero d'appeil.
Appuyez sur la touche * pendant l'announce, puis tapez les 4 chiffres de votre code d'interrogation : l'appareil délivre d'abord les messages vocaux (s'il y en a).
A la fin de I'ecoute et pendant les bips sonores, appuyez sur les touches 8, puis 0.
Activez le télécopier en appuyant sur la touche des que vous entendez la tonalite télécopie. Si vous n'vez pas de fax en mémoire, votre télécopier émet alors une série de bips sonores. Vote appeareil va alors ré-emettre la totalité des fax qu'il a eventuèlement en mémoire.
Attention - Lorsque vous interrogez votre répondeur fax à distance, les documents réémis sont automatiquement effacés de sa mémoire.
SATURATION DE LA MÉMOIRE DE RÉCEPTION
Lorsqu'il y a trop de documents reçus ou de messages en mémoire, l'apparéil est sature et ne peut plus enregistrer de message supplémentaire : le message MEMOIRE PLEINE s'affiche à l'écran. Imprimez les fax reçus et/ou effacez les messages enregistrés pour libérer de la mémoire.
EN COURS DE TRANSMISSION
ARRÊTER UNE TRANSMISSION
Appuyez sur la touche
Appuyez à nouveau sur la touche pour confirmer l'arrêt de la transmission en cours.
TELEPHONER
Vous appelez votre correspondant
Vou puez appeler votre correspondant juste après l'envoi ou la réception d'un fax. Pour cela, en cours de transmission de document (émission ou réception), vous devez :
Appuyer sur la touche alors que votre fax affiche EMISSION ou RECEPTION. Notre machine affiche alors TELEPHONE :
-ès que le fax est transmis,le telephone de votre correspondant sonne,si sa machine est compatible,
- s'il répond, votre apparéil se met à sonner à son tour : décrochez pour lui parler.
Votrecorrespondantvousappelle
Lorsque vous correspondant vous appelle, votre téléphone sonne et vous pouvez décrocher pour lui répondre.
FONCTIONS AVANCEES
METTRE UN DOCUMENT EN DÉPÔT
Lorsque que vous mettez un document en dépôt, vous le laissiez dans la mémoire ou dans le chargeur de votre apparéil et le rendez ainsi disponible pour un correspondant (dépôt simple) ou plusieurs correspondants (dépôt multiple), qui peuvent alors le "relever". Pour ce faire, vérifie d'abord que votre apparéil est en mode Fax ou automatique, puis insérez le document dans le chargeur.
APPUYEZ SUR LES TOUCHES M, 3, 3, OK
Selectionnez l'une des deux options suivantes avec les touches ou :
- SIMPLE: le document sera efface de la mémoireès qu'il aura été relevé.
- MULTIPLE: le document pourra être relevé par plusieurs correspondants.
Appuyez sur OK pour valider.
Si vous avez choisi dépôt SIMPLE, vous pouvez alors sélectionner l'une des deux options suivantes avec les touches ▲ ou ▼ et appuyez sur OK pour valider :
- MEMOIRE : le document est ménorisé par votre apparéil. Cette solution libre votre machine,
- CHARGEUR: le document reste dans le chargeur et est envoyé après la numérotation.
Entrez le nombre de pages qui constituent le document et validez par OK.
Un message à l'écran vous indique s'il y a un document en début. Un document mémoire en début simple sera automatiquement effacé de la mémoire par la première relève, au contraire du début multiple que vous pouvez effacer par le menu 63 (reportez-vous au § Supprimer une commande de la file d'attente, page 33).

Telephoner

Répertoiré

Réglages

Fax

Répondeur

Imprimer

Gestion docs.

Pour aller plus loin...
Options
RELEVER UN DOCUMENT
Lorsqu'un document a eté mis en dépôt sur un fax distant, vous pouvez le " relever " (l'imprimer sur votre fax), à condition que votre chargeur ne contienne pas déjà un document.
APPUYEZ SUR LES TOUCHES M, 3, 2, OK
Composez le numero de fax du télécopieur contenant le fax en dépôt.
Appuyez sur la touche pour lancer une relève immédiate.
ou
Appuyez deux fois sur OK pour une relève différée :
- Saisissez alors l'heure de relève souhaïée, puis validez par la touche
Répondeur (MENU 4)
MODELES AVEC RÉPONDEUR (INTERNE)
Votre appeareil dispose d'un repondeur dont les fonctions simples et complètes vous permettent de multiples utilisations : laisser un message à vos correspondants lorsqu'ilsappeient en votre absence, leur permettre de vous en laisser un, interroger votre machine à distance comme pour les fax, etc.
Votre répondeur a deux options :
- RÉPONDEUR SIMPLE : vos correspondants ne peuvent pas vous laisser de message après diffusion de l'announce, qui vous permet simplement de leur transmettre une information.
- RÉPONDEUR-ENREGISTREUR : vos correspondants peuvent vous laisser un message après diffusion de l'announce.
ANNONCES
La machine dispose de 2 announces, correspondant aux deux fonctions du répondeur (répondeur simple ou répondeur enregistrure).
Répondeur enregistrreur
Enregistrement de l'announce
APPUYEZ SUR LES TOUCHES M, 4, 1, 1, OK
Décrochez vous combiné et enregistrez votre announce (20 secondes maximum). L'écran affiche le décompte des secondes pendant l'enregistrement.
Raccrochez votre combiné pour arrêter l'enregistrement. L'écoute de votreannounce est alors enclenchée, après quoi vous pouvezmettre leur répondeur en service.
Ecoute de l'announce
APPUYEZ SUR LES TOUCHES M, 4, 2, 1, OK
Votre appeareil diffuse l'annonce que vous avez enregistrree.
Répondeur simple
Enregistrement de l'announce
APPUYEZ SUR LES TOUCHES M, 4, 1, 2, OK
Décrochez vous combiné et enregistrez votre announce (90 secondes maximum) L'écran affiche le décompte des secondes pendant l'enregistrement.
Raccrochez votre combiné pour arrêter l'enregistrement. L'écoute de votreannounce est alors enclenchée, après quoi vous pouvezmettre leur répondeur en service.
Ecoute de l'announce
APPUYEZ SUR LES TOUCHES M, 4, 2, 2, OK
Votre appeareil diffuse l'annonce simple que vous avez enregistrree.
MISE EN SERVICE
Sélection du type de répondeur
APPUYEZ SUR LES TOUCHES M, 4, 5, OK
Selectionnez le type de répondeur souhaité (SIMPLE ou ENREGISTREUR) à l'aide des touches ▲ et ∇ et validez par OK.
Marché / Arrêt du répondeur
Mise en marche
Appuyez sur la touche Lorsque vous est en mode TEL-FAX-REP, votre repondeur est en marche.
Validez par OK.
Arret
Appuyez sur la touche Lorsque vous est en mode TEL ou TEL-FAX, votre répondeur est désactivement.
Validez par OK.
MESSAGE
Lorsque vous avez reçu au moins un message, l'écran vous indique le nombre total de messages (sauf s'il y a une commande en attente) et la touche de votre apparéil clignote. Cette touche est étée s'il n'y a peu message en attente, et elle est allumée en permanence quand tous les messages reçus ont déjà écoulés.
Ecouter les messages
Appuyez sur la touche . Pour chaque message en cours d'écoute, le numéro d'ordre ainsi que la date et l'heure de réception ainsi que l'identité de votre correspondant (si vous étés abonné au Service Présentation du Numéro : reportez-vous au § Service présentation du numéro (France Télecom), page 37) sont indiqués à l'écran.
Pendant l'écoute des messages, vous pouvez appuyer sur les touches suivantes :
ou pour regler le volume de I'ecoute,
- 2 fois sur C pour revenir en début de message,
- OK pour lancer la lecture du message suivant,
pour faire une pause. Appuyez a nouveau sur cette touche pour reprendre l'écoute,
- vous pouvez également utiliser les commandes d'interrogation à distance (reportez-vous au § Code d'interrogation à distance, page 18),
- décrochez le combiné (s'il y en a un) ou appuyez sur la touche pour rappeler votre correspondant (si vous étés abonné au Service Présentation du Numéro).
Message local
Vou pouvez enregistrer un message local sur votre répondeur, comme un message laïssé par un correspondant distant. Cette fonction est très utile lorsque vous devez quitter leur bureau ou leur domicile et que vous voulez laisser un message à une personne qui arrivérerait après vous.
Enregistrement du message local
APPUYEZ SUR LES TOUCHES M ET , OU
APPUYEZ SUR LES TOUCHES M,4,3,OK
Décroches le combiné et parlez.
Raccrochez votre combiné pour arrêtér l'enregistrement.
Écoute du message local
Appuyez sur la touche
Effacer les messages
Effacer tous les messages
APPUYEZ SUR LES TOUCHES C ET OU
APPUYEZ SUR LES TOUCHES M, 4, 4, OK
Tous les messages doivent avoir eté écoutés pour pouvoir être effacés.
Effacer un message
Individuellesment en cours d'ecoute, vous pouvez effacer un message qui n'a pas ete ecouted en entier.
Appuyez sur la touche C, puis OK pendant l'écoute du message à supprimer.
Saturation de la mémoire du répondeur
Lorsqu'il y a trop de fax reçus ou de messages enregistrés, l'appareil est sature et ne peut pas enregistrer de message supplémentaire : le message MEMOIRE PLEINE s'affiche. Imprimez les fax reçus et/ou effacez les messages vocaux enregistrés pour libérer de la mémoire.
INTERROGATIONÀ DISTANCE
Vous pouze interroger votre répondeur à distance et ainsi écouter les messages laissés par vos correspondants, à condition que le téléphone d'ou vous appelez soit configuré en numération à féquences vocales.
A la livraison, cette option n'est pas opérationnelle: pour interroger votre répondeur à distance, vous doivent préalablement paramétre un code d'interrogation, qui est commun avec le répondeur fax (de sorte que vous pouvez alors également imprimer les fax reçus). Reportez-vous au § Code d'interrogation à distance, page 18 pour des informations complètes à ce sujet.
Composez, depuis un téléphone distant, votre propre numero d'appoint.
Appuyez sur la touche * pendant l'announce, puis tapez les 4 chiffres de votre code d'interrogation : l'appareil délivre tous les messages laissés par vos correspondants.
En fin d'écoute ou s'il n'y a certain message, l'appareil vous renvoie des bips.
List des opérations disponibles à distance :












Pendant l'écoute :
- Faire une pause ou reprene r'écoute des messages, en appuyant sur ⑤.
Passer au message suivant, en appuyant sur 6. - Reprendre l'écoute du message en appuyant sur 4.
- Revenir au message précédent, en appuyant 2 fois sur 4.
Après l'écoute :
Effacer les messages reçus, en appuyant sur ① puis ⑤.
- Enregistrer votreannounce, en appuyant sur 8 puis 3 et arreter l'enregistrement de votreannounce en appuyant sur n'importe celle touche.
- Ecouter vous annonce, en appuyant sur 3.
- Mettre votre repondeur en service, en appuyant sur 7.
- Arrêteur votre répondeur, en appuyant sur ⑨.
- Reprendre l'écoute des messages en appuyant sur ⑤.
Fonctions avancées
Filtrage des appels
Cette fonction vous permet d'éçouter votre correspondant déposer un message sur votre répondeur, avant de désir si vous souhaitez décrocher ou non.
APPUYEZ SUR LES TOUCHES M, 4, 6, OK
Choississez l'option voulue avec les touches ou :
- AVEC FILTRAGE D'APPEL : vous pouvez entendre les messages en cours d'enregistrement sur votre répondeur, régler le volume en utilisant les touches et ou prendre la communication en décrochant.
- SANS FILTRAGE D'APPEL : les messages sont enregistrés en silence, seul un message à l'écran vous indique que vous receivez un appel ou qu'un message est enregistré : vous pouze prendre la communication en décrochant.
-Validez en appuyant sur OK.
Le filtrage ne fonctionne pas si vous avez activé l'accès privilégie (voir ci-dessous).
Accès privilégié
Cette fonction vous permet de définir un code, que vous ne transmettez qu'aux personnes dont vous acceptez les appeals à un instant donné (par exemple, vos collaborateurs pendant une réunion ou vos proches parents à partir d'une certaine heures).
Paramétrage du code d'accès privilégie
APPUYEZ SUR LES TOUCHES M, 4, 8, OK
Tapez un code d'accès privilégie autre que 0000 et différents du code d'interrogation à distance.
一 Validez en appuyant sur OK.
Activation du mode d'accès privilégie
APPUYEZ SUR LES TOUCHES M, 4, 7, OK
Choisissez AVEC à l'aide des touches ▲ et ▼.
-Validez en appuyant sur OK.
Appels privilégies
Seuls vos correspondants privilégés, auxquels vous aurez communiqué votre code d'accès pourront faire sonner chez vous appeareil.
Pour pouvoir vous joindre, ils doivent proceseder de la maniere suivante :
Composerervoirenumero d'appele.
Attendre que votre apparéil décroche.
Appuyer sur la touche *, puis taper les 4 chiffres de votre code d'accès privilégie : votre apparéil commence alors seulement à sonner.
Si vous ne répondez pas, votre correspondant pourra tout de même vous laisser un message sur votre répondeur.
Aide-mémoire détachable













Aide-memoire d'utilisation du répondeur interrogable à distance
Votrecode répondeur:\*

Passer au message suivant en appuyant sur 6
- Reprendre la lecture du message en appuyant sur 4.
- Revenir au message précédent en appuyant 2 fois sur 4.
- Effacer les messages reçus en appuyant sur ① puis sur ⑤.
- Enregistrer votreannounce en appuyant sur 8 puis sur 3 et arreter l'enregistrement de votreannounce en appuyant sur n'importe qu'elle touche.
- Ecouter vous annonce en appuyant sur 3
- Mettre votre réponse en service en appuyant sur 7.
- Mettre votre répondeur hors service en appuyant sur 9.
- Reprise l'écoute des messages en appuyant sur 5.
Depuis un télécopieur :
- A la fin de l'écoute des messages: 8, 0 puis pour récapier les fax reçus en mémoire de leur télécopieur.







Gestion docs.

Pour aller
plus loin...
Options
Annexes
MODELES AVEC RÉPONDEUR VOCAL (EXTERNE)
RACCORDEMENT

Si vous disposez d'un téléphone et d'un répondeur-enregistrreur vous devez les brancher dans l'ordre suivant : la prise gigogne du cordon ligne de l'appareil suivi de la prise gigogne du répondeur suivi de la prise du téléphone.
MISE EN SERVICE
Veillez à ce que vous répondeur soit en marche (sous tension ou en mode automatique) en permanence.
UTILISATION
Reportez-vous au § Choix du type d'utilisation (telephone, fax, répondeur), page 5.
Attention - Pour que le tri des appels s'effectue correctement, le nombre de sonneries programmé dans le fax doit être supérieur au nombre de sonneries après lesquelles le répondeur externe décroche.
IMPRESSION ET COPIE LOCALE (MENU 5)
Le menu Impression (MENU 5) est accessible directement par la touche F3.
IMPRESSIONS
LEGUIDEDESFONCTIONS
APPUYEZ SUR LES TOUCHES M, 5, 1 ET OK.
Imprime la liste des fonctions numéroétées.
LES JOURNAUX
APPUYEZ SUR LES TOUCHES M, 5, 2 ET OK.
Imprime les journaux d'émission et de réception qui repertorent les 30 dernières communications.
LE RÉPERTOIRE
APPUYEZ SUR LES TOUCHES M, 5, 3 ET OK.
Imprime le repertoire de vos correspondants.
LES RÉGLAGES
APPUYEZ SUR LES TOUCHES M, 5, 4 ET OK.
Imprime la liste des réglages de votre apparéil.
LE DERNIER RAPPORT D'ÉMISSION
APPUYEZ SUR LES TOUCHES M, 5, 5 ET OK.
COPIE LOCALE
POUR LES MODELES AVEC CHARGEUR DOCUMENT 15 PAGES
Photocopie
L'appareil peut être utilisé comme un photocopierre :
Insérez le document à photocopier dans le chargeur document, comme pour une émission.
Choisissez le mode de résolution en appuyant sur la touche FF (par défaut, le mode utilisé par votre télécopieur en copie locale est le mode FIN).
Appuyez sur la touche
Multicopie (pour les modèles avec bac papier fixe)
APPUYEZ SUR LES TOUCHES M, 5, 6 ET OK.
Saisissez le nombre de copies que vous souhaitez imprimer à l'aide du clavier numérique (1 à 99).
Appuyez sur la touche OK: le document est mis en mémoire puis imprimé.
- Cette fonction de multicopie n'est pas disponible lorsque vous souhaitez imprimer un fax reçu ; elle ne s'applique qu'à un document déjà imprimé, dont vous poulez faire une ou plusieurs copies.







Gestion docs.

Pour aller plus loin...
Options
Annexes
POUR LES MODELES AVEC CHARGEUR DOCUMENT 1 PAGE
L'appareil peut être utilisé comme un photocopieur

Insérez la première page à photocopier dans le chargeur document, comme pour une émission.
Selectionnez le mode de résolution en appuyant sur la touche FF (par défaut, le mode utilisé par votre télécopieur en copie locale est le mode FIN).
Appuyez sur , l'appareil enregistre en mémoire votre document. Une fois l'enregistrement terminé, l'appareil émet des bips sonores et l'écran affiche INSERER DOCUMENT pendant quelques secondes environ.
Insérez la page suivante, puis procédez de même pour les autres pages de votre document.
Appuyez sur , une fois que toutes les pages ont ete memorises: l'ecran affiche METTRE DU PAPIER.

Insérez une feuille de papier dans le chargeur d'impression l'appareil imprime automatiquement votre document.
VISUALISATION JAUGE RUBAN
APPUYEZ SUR LES TOUCHES M, 5, 7 ET OK.
La jauge ruban donne, en pourcentage, la quantité de ruban disponible.
GESTION DES DOCUMENTS
(MENU 6)
Un ensemble de menus vous permet de:gérer toutes les commandes en attente (emission differée, dépôt, relève), ce qui permet de les exécuter, les modifier, les annuler ou les supprimer.
EXÉCUTER UNE COMMANDE EN ATTENTE
Cette fonction permet d'exécuter immédiatement une commande en attente :
APPUYEZ SUR LES TOUCHES M, 6, 1 ET OK.
Le statut des documents de la file d'attente apparait :
- REL: RELEV
EMI: EMISSION DIFFEREE
Sélectionnez la commande voulue à l'aide des touches ▲ ou ▼.
Appuyez sur la touche OK pour l'exécuter.
CONSULTER OU MODIFIER LA FILE D'ATTENTE
APPUYEZ SUR LES TOUCHES M, 6, 2 ET OK.
Sélectionnez la commande à consulter ou modifier à l'aide des touches ▲ ou ▼.
Appuyez sur la touche OK et modifiez les paramétres de la commande affichée.
Appuyez sur la touche OK pour valider vos modifications.
SUPPRIMER UNE COMMANDE DE LA FILE D'ATTENTE
APPUYEZ SUR LES TOUCHES M, 6, 3 ET OK.
Selectionnez la commande à supprimer à l'aide des touches ▲ ou ▼.
Appuyez sur la touche OK pour supprimer la demande de la file d'attente.
Appuyez sur la touche OK pour confirmer la suppression.
IMPRIMER UN DOCUMENT EN ATTENTE D'ÉMISSION
Cette fonction vous permet de connaître le contenu d'un document en attente d'émission.
APPUYEZ SUR LES TOUCHES M,6,4 ET OK.
Selectionnez le document en attente à l'aide des touches ▲ ou ▼.
Appuyez sur la touche OK pour imprimer le document seLECTIONné.
IMPRIMER LA LISTE DES OPÉRATIONS EN ATTENTE
Cette liste indique, pour chaque document en attente : le numéro de l'opération en attente, le nom du correspondant, l'heure d'émission prévue, le type de l'opération en attente, et le nombre de pages du document et sa taille (pourcentage de mémoire occupée par ce document).
Pour imprimer cette liste,
APPUYEZ SUR LES TOUCHES M, 6, 5 ET OK.
FONCTIONS ÉVOLUÉES (MENU 7)
TRANSFERT DES DOCUMENTS REÇUS (SELON MODELE)
ACTIVATION/DÉSACTIVATION DU TRANSFERT
Vous pouze transférer automatiquement tous les messages reçus (fax ou messages vocaux) vers un autre téléphone/fax.
APPUYEZ SUR LES TOUCHES M, 7, 2, OK
Choisissez l'une des trois options suivantes avec la touche ou , puis validez par OK:
ACTIVER
- Tapez le numéro du téléphone/fax destinatère. Validatez par OK.
- Choisissez le type de messages à rediffuser (RENVOI VOCAL, FAX ou FAX/VOCAL) et validez par OK.
- Si vous avez choisi VOCAL ou FAX/VOCAL, saississez le code d'interrogation à distance du répondeur fax/vocal (si ce n'est déjà fait), puis validez par OK.
- Choisissez REDIFF PROTEGEE ou SANS PROTECT et validez par OK.
- Si vous avez choisi FAX et REDIFF PROTEGEE, saississe le code d'interrogation à distance du répondeur fax/vocal (si ce n'est déjà fait) et validez par OK.
DESACTIVER : tous vos messages sont conservés sur votre fax.
REGLAGES: si vous avez déjà activé une fois le transfert, ce menu vous permet de modifier les paramètres (numéro de téléphone/fax du destinataire, type de messages à rediffuser, code d'interrogation à distance, annonce, rediffusion protégée ou non, etc.).
Une fois vos modifications effectuees, validez à nouveau le menu 721>Activer en appuyant sur la touche OK pour reactiver le transfert en prénant en compte les changements apportés.
RECUPÉRATION DES DOCUMENTS TRANFÉRÉS
Vous devrez, lors de la reception de vos documents rediffusés sur le téléphone/fax destinataire, appliquer la procédure suivante :
Decrochez le combiné.
Tapez le code d'interrogation à distance des l'émission de bips.
Procedez ensuite comme pour une interrogation à distance pour écouter les messages vocaux, et/ ou recevoir les messages fax.
PARAMÉTRES TECHNIQUES
Les paramètres techniques sont représentés sous forme d'une liste dans laquelle vous pouvez vous déplacer à l'aide des touches ▲ et ▼.
APPUYEZ SUR LES TOUCHES M, 7, 9 ET OK.
Pour acceder aux paramètres techniques,
02EMIENTETE:
vous pouvez faire figurer votre nom, votre numero de fax, la date et l'heure en en-tête de la télécopie que votre correspondant receiveva.
03 VITESSE EMI :
brider la vitesse d'émission.
04 ANTI ECHO: inhibitor l'echo satellite dans le cas de problèmes en télécopies sur des communications longue distance.
10 ENTETE REC : imprimer en en- tete des télécopies que vous receivez le nom et le ^ de fax de votre correspondant ainsi que la date et l'heure de reception.
11 VITESSE REC : brider la vitesse de reception des télécopies reçues.
20 MODE REDUC : désirs le mode de réduction à l'impression (telecopies reçues, copies locales): automatique ou manuel.
21 COEF REDUC: fixer le taux de réduction à l'impression.
22 COMPTEUR : donne le nombre de pages imprimées (telecopies reçues et copies locales) depuis la mise en service de l'appareil.
40 DUREE FLASH : désirsir le temps de coupure en ligne (long ou court) du signal "Flash" de la touche R.
50 IMP TRIEE (selon modèle): imprimer les documents dans l'ordre inverse de réception (ou de l'analyse pour une copie locale).
TELECOMMANDE à PARTIR D'UN POSTE EN PARALLELE
Vous pouvez télécommander votre machine à partir d'un téléphone (à fréquences vocales), branché en parallèle sur l'installation.
Si le poste parallele est configuré en numérotation décimale, tapez * pour le faire basculer en numératation à fréquences vocales.
TELECOMMANDE D'ARRET DU REPONDEUR
Si vous décrochez à partir d'un poste parallele, que la machine a décroché et qu'elle émet l'announce, vous pouvez arrêter l'émission de cette announce en tapant # puis 0.
TELECOMMANDE DE PASSAGE EN RECEPTION FAX
Si vous décrochez à partir d'un poste parallèle et que vous ne reconnaissiez pas d'interlocuteur, vous pouvez télécommander votre machine afin qu'elle passe en mode réception fax en tapant # puis 7.
OPTIONS
SERVICE PRÉSENTATION DU NUMéro (FRANCE TÉLECOM)
RECEVOIR UN APPEL
Si vous étés abonné au service Présentation du Numéro, l'écran indique le numéro de votre correspondant, lorsque vous appeareil sonne, pour cela vousdezvez paramétrer vosétélécopier sur le réseau "FRANÇAIS" (reportez-vous au § Choix de la langue et du réseau, page 18).
Si vous correspondant est enregistré dans le repertoire : son nom s'affiche à l'écran.
Le numero de votre correspondant ne s'affiche pas dans les 2 cas suivants :
- Si vous correspondant ne souhaite pas vous communiquer son numéro de téléphone : l'écran affiche des étoiles (*)
-
Si le numero de votre correspondant n'est pas connu du central téléphonique (appels provenant de certains pays étrangers, par exemple), l'écran affiche des dièses (#).
-
Voitre correspondant peut etre abonne au service Presentation du Numero. Si vous ne souhaitez pas que voitre numero de telephone lui soit communique, vous disposez d'une commande Secret Appel par Appel qui vous assure que voitre numero ne sera pas transmis : composez simplement le 3651 avant de numeroter ou d'appeler un numero.
Veillez à ce que l'appareil soit positionné sur type de réseau public (reportez-vous au § Résseau, page 16).
CONSULTER ET RAPPELER VOS CORRESPONDANTS
Si vous étés abonné au Service Présentation du Numéro, vous pouze consulter et rappeler les 10 derniers numérios de correspondants qui vous ont appelé. L'écran affiche le nombre d'appels reçuspendant votre absence.
Consulter les appels
Appuyez sur les touches M et ou sur la touche F1.
L'écran affiche le type d'emploi (T: Téléphone, F: Fax, R: Répondeur), la date et l'heure de l'emploi ainsi que le nombre (ou le nom s'il est au répertoire).
Parcourez la liste à l'aide des touches ▲ et▼ (le premier numéro ou nom affché est celui du dernier correspondant ayant cherché à vous appeler).
lorsque you consultez un appel, celui-ci n'est alors plus comptabilise dans le message indiquant le nombre d'appels reçus.
Rappeler un correspondant
Si vous désirez appeler le correspondant affché, appuyez simplement sur la touche ou décrochez le combiné: le numéro du correspondant est composé automatiquement.
Effacer un correspondant
Si vous désirez effacer un numero de la liste, faites le apparaitre à l'écran, puis appuyez sur C.
- vous pouvez effacer tous les numérios des correspondants ayant appelé ou que vous avez appelés en appuyant successivement sur les touches C, Ⓢ et OK.
UTILISER LE RÉPONDEUR (POUR LES MODELES AVEC RÉPONDEUR)
Consulter les appels
Si vous étés abonné au service Présentation du Numéro, l'appareil vous indique, lors de l'écoute de chaque message vocal reçu, le numéro du message, la date et l'heure de réception et le numéro (ou le nom, s'il est enregistré dans le repertoire) de votre correspondant.
Rappeler un correspondant
Si vous désirez rappeler votre correspondant :
Revenues au début de son message en appuyant sur la touche 4.
Appuyez sur la touche ou décrochez votre combiné: le numéro est composé automatiquement.
MISE à L'HEURE AUTOMATIQUE
Si vous étés abonné au service Présentation du numéro, le central téléphonique procède au recalage automatique de l'heure et de la date : votre apparéil affiche ainsi l'heure et la date exactes à tout moment.
UTILISATION DES TOUCHES R, # ET *
ACCÉDER AUX SERVICES FRANCE TELECOM
Les touches R, #, *, donnant l'accès aux services comport de France Télécom. Consultez cette annulaire téléphonique ou encore, contactez cette agence commerciale France Télécom qui vous donnera tous les renseignements utiles sur ces services.
TOUCHER
Si vous appeareil est connecté à un réseau privé (PABX), cette touche permet généralement d'effectuer un transfert d'appeel (voir la documentation de l'autocommutateur).
APPEL DE SERVEURS TELÉCOPIE
Votre appeareil vous permet de vous connecter sur des serveurs audio-fax, comme Audiotel de France Tetecom par exemple. Connecté à un tel serveur, à l'aide du clavier numérique de votre appeareil, vous pouze receivevoir une télécopie, puis revenir au mode vocal de manière interactive.
ANNEXES
REplacement DES CONSOMMABLES
Les consommables (ruban encreur et carte jauge ruban) sont déjà installés dans la machine. Vous pouvez être amélié à changer ces consommables lorsqu'ils seront usages. Pour cela, reportez-vous aux instructions des paragraphs ci-dessous.
RUBAN ENCREUR
Le ruban encreur permet l'impression sur papier normal.
Attention - Utilisez uniquement le ruban encreur correspondant aux specifications du constructeur. L'utilisation d'autres types de ruban encreur pourrait endommager l'appareil et annuler la garantie. Les documents imprimés par votre apparéil peuvent être lisibles par transparence sur le ruban encreur usage. Au cas où des documentsprésentaient un caractère confidentiel, pensez à夕阳er le ruban encreur en service si vous neccess给你们 séparer de leur apparéil.
Décrochez le combiné (pour les modèles avec combiné) et posez-le sur le côte.

ou

Ouvrez le capot avant: faites-le pivoter vers vous jusqu'à ce qu'il se maintienne ouvert tout seul.

ou

Ouvrez le capot arrêté : déverrouillez les loquets (1) avant de faire pivoter le capot vers l'arrière.







Gestion docs.

Pour aller plus loin...
Options


Otez le ruban encreur usage de son logement.
Présentez l'ensemble ruban encreur au-dessus de son logement sous le capot arrêté.
Mettez l'ensemble ruban encreur en place dans son logement sans oter le ruban adhesif (2) :
- Présentez l'extremité droite du gros rouleau sur l'axe ressort.
- Mettez en place l'extrémité gauche du gros rouleau sur l'axe gauche.


Tirez et otez le ruban adhesif (2) de l'ensemble ruban encreur.


Mettez en place le petit rouleau dans son logement :
Vérifiez que l'embout à engrenage (3) est correctement en place dans son logement (4) et l'embout (5) dans son logement (6).
Refermez le capot arrriere.
JAUGE RUBAN
La carte jauge permet d'afficher sur l'écran, après une impression, le pourcentage de ruban encreur encore disponible.

Le capot avant étant ouvert, localisez le support (7) de la carte jauge.

Exercez une pression vers le bas sur le support carte jauge pour le déverrouiller: celui-ci s'ouvre automatiquement, vous donnant ainsi accès à la carte jauge usagée.

Retirez la carte jauge usagée (8) de son support.

Detachez la carte jauge neue (9) (pré-)découpee).

Glissez la carte jauge neue (9) dans son support. Veillez à ce que la puce (10) de la carte jauge (9) soit dirigée vers le haut et le coin coupé vers la gauche.

Refermez le support carte jauge en le faisant pivoter. Une fois le support en place, exercez une pression vers le haut pour le bloquer. Fermez le capot avant et raccrochez le combiné.
Attention - Si la jauge n'est pas installee, ou mal mise en place, l'appareil affiche :
JAUGE ABSENTE
Si vous avez oublie de changer la jauge en meme temps qure ruban, l'appareil affiche
JAUGE VIDE

Telephoner

Répertoiré

Réglages

Fax

Répondeur

Imprimer

Gestion docs.

Pour aller plus loin...
Options
DéPANNAGE
| Incidents | Remèdes |
| L'écran n'affiche rien. | Vérifiéz que le cordon secteur est correctement branché. |
| L'appareil ne répond pas à l'appel après quelques sonneries. | Vérifiéz le mode de réception (manuel/automatique).Vérifiéz le nombre de sonneries (reportez-vous au § Nombre de sonneries avant décrochage automatique, page 17).Configurez l'appareil sur "réseau privé" (reportez-vous au § Réseau, page 16). |
| La photocopie imprimée est blanche. | Le document dans le chargeur document a été mis à l'envers. |
| Le central téléphonique ne reconnait pas le numéro que vous avez appelé. | Vérifiéz que le cordon ligne téléphonique est correctement branche.Vérifiéz le cordon de ligne et la prise téléphonique. |
| L'appareil neSONNEpas. | Rétablissez la sonnerie (reportez-vous au § Mélodie de sonnerie et bips touches, page 15). |
| Le téléphone ne marche pas. | Vérifiéz que le cordon secteur et le cordon alimentation sont cor-rectement branchés.II y a peut-être coupure du courant secteur.Vérifiéz le cordon de ligne et la prise téléphonique. |
| Présence d'un ou plusieurs traits noirs verticaux sur les documents copiés ou reçus chez votre correspondant. | Ouvrez le capot avant et nettoyez le dispositif de lecture (analyse), Situé en vis à vis du rouleau blanc, à l'aide d'un chiffon doux non pelucheurs imbibé d'alcool. ÀpRES nettoyage, refermez le capot avant et faites une copie pour vous assurer de la disparition des traits. |
| Le support de la carte jauge s'est déclipsé. | Vous pouvez facilement le remettre en place: approchez le support carte jauge, striés vers le bas, et présentez les 2 axes vers les encoches de la partie inférieure du logement puis exer-cez une pression jusqu'à clipage (reportez-vous au § Remplacement des consommables, page 39). |
| La fonction transfert vers un autre poste ne fonctionne pas. | Modifiez le paramètre technique "40 DUREE FLASH" enCHOISSSANT le mode "LONG"(reportez-vous au § Paramètres techniques, page 35) |
| Le Service Présentation du Numéro ne fonctionne pas. | Vérifiéz que党的建设 est bien paramétré sur le réseau "FRANÇAIS" (reportez-vous au § Choix de la langue et du réseau, page 18) |
| METTRE DU PAPIER | Mettez du papier dans le chargeur papier. |
| CAPOT IMPRIMANTE | Fermez le capot arrêté. |
| VERIFIER PAPIER | Ouvrez le capot arrêté pour acceder au chemin papier et désgager la feuille. Vérifiéz le bon verrouillage du capot arrêté après sa fer-metre. |
| SURCHAUFFE IMP. | • Les derniers documents imprimés comportent beaucoup de noir, la température de l'imprimante est trop élevé. Attendez quelques instants son refroidissement. |
| JAUGE VIDE | • Vous avez probablement omis de replacer la carte jauge en même temps que le ruban encreur. |
| JAUGE ABSENTE | • Ouvrez le cache du logement de jauge et assurez vous de la présence et de la mise en place correcte de la jauge. |
| CHANGER RUBAN | • Le ruban encreur est terminé : mettez en place un ruban neuf ainsi que sa jauge neuve. |
| RETIRER DOCUMENT | • Ouvrez le capot avant et vérifier le cheminement du document. |
| MEMOIRE PLEINE | • Imprimez les fax reçus et/ou écoutez les messages vocaux enregis-trés. |
| • Autres cas. | • Appelez votre service après-vente. |




CODES DU RAPPORT D'EMISSION
Le résultat de chaque communication est donné par les journaux (émission/reception) et par le rapport de communication.
En cas d'incident, le résultat est un code dont la signification est donnée ci-après :
CODES D'INCIDENT
Code 01 - Notre correspondant ne répond pas
Rappelez ultérieurement.
Code 02 - Le numéroappele est suspect puisqu'aucun fax ne répond
Verifiez le numero de votre correspondant.
Code 03 - STOP
You've appuyé sur STOP pendant la communication.
Code 04 - Numéro abrégé non valide
Verifiez le numero.
Code 05 - Incident chargeur document pendant la communication
Bourrage du document ou panne du chargeur document.
Code 07 - Incident dans le fonctionnement du terminal distant ou de la ligne
Recommencez la communication.
Code 08 - Le document que vous avez émis a peut être été mal reçu
Réémettez-le. Vérifier avec votre correspondant.
Code 0A - Relève
Vouavesentéurerelève dedocumentlorsqueleterminal distantne disposaitpasdedocumentendépôt.



Gestion docs.

Pour aller
plus loin...
Options
Code 0B - Différence entre le nombre de pages prévues à l'émission et le nombre de pages émises
Vérifiez le nombre de pages.
Code 13 - Saturation mémoire
Réception de télécopie rendue impossible.
Code 17 - Accès protégé
Votre appareil est en acces protégé, un correspondant a tenté de vous appeler alors qu'il n'a pas votre mot de passer.
Code 23-BAL inconnue n^
Le numero de boîte à lettres que vous avez indiqué est inconnu dans la machine de votre correspondant.
COMMENT S'APPROVISIONNER EN RUBAN ENCREUR ET EN PAPIER
Ruban encreur et carte jauge
- le ruban encreur TTR 815 assure une autonomie de 230 pages, ceci quel que soit le contenu des documents imprimés.
La reférence à utiliser pour commander de nouveaux rubans est :
RUBAN ENCREUR TTR 815 Ref:23645699-4
Papier
Des différences de résultats d'impression peuvent apparaître en fonction du type de papier utilisé.
Vou obtiendrez un résultat optimum en utilisant le papier SAGEM "Serie 300" disponible en ramettes de 500 feuilles.
Papier SAGEM "Serie 300" Ref: 23 273 604-9
Lot ruban + papier
Pour simplifier vos approvisionnements, un lot regroupant un ruban TTR 815 et 250 feuilles de papier SAGEM "Serie 300" a ete cree et peut etre commande sous la referece :
Lot TTR Réf: 23 646 882-4
Kit téléphone sans fil DECT
L'appareil peut être utilisé avec un ou plusieurs téléphones sans fil.
LIVRET D'UTILISATION REF. 23228836-1 IND D

DOCUMENT NON CONTRACTUEL

6, avenue d'Iena - 75783 PARIS CEDEX 16 - FRANCE
Notice Facile