235 R - Bosmaaier HUSQVARNA - Gratis gebruiksaanwijzing en handleiding
Vind de handleiding van het apparaat gratis 235 R HUSQVARNA in PDF-formaat.
Gebruikersvragen over 235 R HUSQVARNA
0 vraag over dit apparaat. Beantwoord die u kent of stel uw eigen vraag.
Stel een nieuwe vraag over dit apparaat
Download de handleiding voor uw Bosmaaier in PDF-formaat gratis! Vind uw handleiding 235 R - HUSQVARNA en neem uw elektronisch apparaat weer in handen. Op deze pagina staan alle documenten die nodig zijn voor het gebruik van uw apparaat. 235 R van het merk HUSQVARNA.
GEBRUIKSAANWIJZING 235 R HUSQVARNA
Lire attentivement et bien assimilier le manuel d'utilisation avant d'utiliser la machine. Neem de gebruksaanwijzing grondig door en gebruik de machine Niet voor u alles duidelijk hebegt begren
Symbole
WAARSCHUWING! Motorzeisen, bosmaaiers en trimmers können gevaarlijk zijn! Slordig of onjuist gebruik kan resulteren in ernstig letsel of overlijden van de gebruiker of anderen. Het is uiterst belangrijk dat u de inhoud van de gebruikshandleiding doorleest en begri

Neem de gelebruiksaanwijzing grondig door en geleruik de machine Niet voor u alles duidelijk heeft begrepen.
Draag altijd:
- Een veiligeidshelm bij kans op vallende voorwerpen
Goedgekeurde gehoorbeschemers - Een goedgekeurde oogbescherming
Maximum toerental van uitgaande as, tpm



max 10500 rpm
Dit product voldoet aan de geldende CE-richtlijnen.

Waarschuwing voor weggeslingerde en afgeketste voorwerpen.

Gebruikers van de machine moeten erop toezien dat erijdens het werk geen mensen of dieren dichter dan 15 meter bij de machine komen.

Machines die zich uitgerust met zaagbladen of grasmessen können met enorme kracht opzij geworpen worden, wanneer het mes in contact komt met een vast voorwerp. Dit worden terugslag genoemd. Het mes

kan een arm of been amputeren. Hou mensen en dieren altijd ten minste 15 meter bij de machine vandaan.
Pijltekens die de grenzen voor hetplaatsen van de handvatbevestiging aangeven.
Gebruik aktijd goedgekeurde veiligheidshandschoenen.


Gebruik stevige antislipaarzen.
Alleen bedoeld voor Niet-metalen
flexible snijuitrusting, d.w.z.
trimmerkop met trimmerdraad.


Geluidsemissie maar de omgeving volgens de richtlijnen van de Europese Gemeenschap. De emissie van de machine worden aangegeven in het hoofdstuk Technische gegevens en opplaatjes.

Overige op de machine aangegeven symbolen/ plaatjes verwijzenaar specifieke eisen aan certificering op bepaalde markten.
Controle en/of onderhoud moet aktijd uitgevoerd worden met uitgeschakelde motor en de stopschakelaar in de STOP-stand.

Gebruik alkijd goedgekeurde veiligheidshandschoenen.

Moet regelmatig schoongemaaakt worden.

Controleer met het blote oog.

Gebruik van goedgekeurde oogbescherming verplicht.

Inhoud
VERKLARING VAN DE SYMBOLEN
Symbolen 66
INHOU
Inhoud 67
Voor het starten moet u rekening honden met de
volgende punten: 67
INLEIDING
Besteklant! 68
WAT IS WAT?
Wat is wat? 69
ALGEMENE VEILIGHEIDSINSTRUCTIES
Belangrijk 70
Persoonlijke veilgheidsuitrusting 70
Veiligheidsuitrusting van de machine 71
Snijuitrusting 74
MONTEREN
Stuur monteren 77
Transportpositie, stuur 77
Montage van snijuitrusting 78
Monteren van bladbeschemkap, maaiblad en maaimes 78
Monteren van bladbeschemkap en zaagblad .... 78
Monteren van trimmerbeschemkap en trimmerkop Trimmy SII 79
Monteren van overige beschem-kappen en snijuitrustingen 80
Aanpassen van draagstel en motorzeis 80
BRANDSTOFHANTERING
Brandstofveiligheid 82
Brandstof 82
Tanken 83
STARTEN EN STOPPEN
Controle voor het starten 84
Starten en stoppen 84
ARBEIDSTECHNIEK
Algemene werkinstructies 86
ONDERHOUD
Carburateur 91
Geluidemper 92
Koelsystem 92
Hoekoverbrenging 93
Luchtfilter 93
Bougie 94
Onderhoudsschema 95
TECHNISCHE GEGEVENS
EG-verklaring van overeenstemming 97
Voor het starten moet u rekening houden met de volgende punten:
Lees de gelebruiksaanwijzing aandachtig.

WAARSCHUWING! Langdurige blotstelling aan lawaai kan leiden tot permanente gehoorbeschadiging. Gebruik waarom alsijd goedgekeurde gehoorbescherming.

WAARSCHUWING! De oorspronkelijke vormgeving van de machine mag in geen enkel geval gewijzigd worden zonder toestemming van de fabrikant. Men moet algtd originele onderdelen gebruiken. Niet goedgekeurde wijzigingen en/of Niet-originele onderdelen kannen tot ernstige verwondingen of de dood van zowel gebruiker als omstanders leiden.

WAARSCHUWING! Een motorzeis, bosmaier of trimmer kan bij onjuist of slordig gebruik een gevaarlijk gereedschap zich, dat ernstig letsel of het overlijden van de gebruiker of anderen kan verroorzaken. Het is van het grootste belang dat u de inhoud van deze gebruiksaanwijzing doorleest en begrijpt.
INLEIDING
Beste klant!
Gefeliciteerd met de aankoop van een Husqvarna-product! Husqvarna haeft een geschiedenis die terugvoert tot 1689 toen koning Karl XI aan het strand van het riviertje Huskvarna een fabrik liet bouwen voor de productie van musketten. De locatie aan de Huskvarna was logisch onionsat het riviertje werd gebrukt om waterkracht op te wekken en op die manier een waterkrachtcentrale vormde. In de Meer dan 300aar van het bestaan van de Husqvarna-fabrik zijn ontelbaren producten geprodued, van houtfornuizen to moderate keulenmachines, naalmachines, fietsen, motorfietsen enz. In 1956 ward de eerste motormaaier geintroduceerd, die in 1959 ward gevolgd door een motorkettingzaag. Het is op dit terrein dat Husqvarna gegenwoordig actief is.
Husqvarna is heden ten dage een van de meest vooraanstaande producenten ter wereld van producten voor bos en tuin met kwaliteit en prestatie als de hoogste prioriteit. De missie is het ontwikkelen, producereren en op de markt brengen van gemotoriserde producten voor bos- en tuinbouw en de bouw- en constructie-industrie. Het doel van Husqvarna is ook voorop te lopen met betrekking tot ergonomie, gebruikersvriendelijkheid, veiligheid en milieubebustzijn. Daarom is een groe hoeveelheid verschillende snufjes ontwikkeld om de producten op deze terreinen to verbeteren.
We zijn ervan overtuigd dat u de kwaliteit en prestaties van ons product gedurende een langeperiode maar volle tevredenheid zult waarden. Door de aankoop van eén van onsste producten krijt u de beschikking over professionele hulp bij reparations en service moct er toch ieits gebeuren. Wanner u de machine Niet heeft gekocht bij een van ons erkende dealers, kurz u hen vragen aan de dichtstbijzende serviceworkplaats.
Wij hopen dat u tevreden zult zich met uw machine en dat deze u gedurende langeijd za vergezellen. Denk erom dat deze gebruiksaanwijzing een waardevol document is. Door de inhoud (gebruik, service, onderhoud enz.) te volgen kutn u de levensduur van uw machine en de tweedehandes waarde aanzielenijk verlengen. Mocht u uw machine verkopen moet u ervoor zorgen de bruiksaanwijzing aan de weitere eigenaar over te dragen.
Hartelijk dank voor het feit dat u een Husqvarna-product gebruikt!
Husqvarna AB werkst voortdurend aan het verder ontwikkelen van haar producten en houdt zich dan ook hetrecht voor om+zonder aankondiging vooraf wijzigingen in o.a. vorm en uiterlijk door te voeren.
WAT IS WAT?

Wat is wat?
1 Blad
2 Bijvulopening smeermiddel, hoekoverbrenging
3 Hoekoverbrenging
4 Beschermkap voor snijuitrusting
5 Steel
6 Stuur
7 Gashendel
8 Stopschakelaar
9 Gashendelvergrendeling
10 Ophanging voor draagstel
11 Cylinderkap
12 Starhendel
13 Brandstoftank
14 Chokehendel
15 Brandstofpomp
16 Luchtfilterdeksel
17 Handvatinstelling
18 Borgmoer
19 Steunflens
20 Steunkop
21 Meenemer
22 Trimmerkop
23 Bladmoersleutel
24 Gebruiksaanwijzig
25 Transportbescherming
26 Inbussleutel
27 Borgpen
28 Draagstel
29 Startgasknop
Belangrijk
BELANGRIJKI
De machine isuitsluitend bedoeld voor het trimmen van gras, het maaien van gras en/of het vellen vankleine bomen.
De enige accessoires waarvoor u de motorenheid als aandrijeenheid mag gelebruiken zich de snijultrustingen die aanbevolen worden in het hoofdstuk Technische gevevens.
Gebruik de machine nooit als u moe bent, alcohol heeft gedronken of medicijnen—heigt ingenomen die uw gezichtsvermögen, beoordealingsvermögen of.Coordinatievermögen negatief beinvloeden.
Draag algijd persoonlijke verilgheidsuitrusting. Zie instructies in het hoofdstuk "Persoonlijke verilgheidsuitrusting".
Gebruik nooit een machine die zo gewijzigd is dat ze Niet langer overeenkomt met de originele uitvoering.
Gebruik nooit een machine die defect is. Volg de onderhouds-, controle- en service-instructies van deze gebruiksaanwijzing. Bepaalde onderhouds- en servicemaatregelen要去 uitgevoerd worden door opgeleide in gekwalificierde specialisten. Zie instructies in het hoofdstuk Onderhoud.
Alle deksels, beschermingen en hendels要去en aangebracht� u start. Verzeker u ervan dat de bougiedop en ontstekingskel onbeschadig� zim om het risico van een elektrische schok te voorkommen.
Gebruikers van de machine moeten erop toezien dat er geen mensen of dieren tijdens het werk richter dan 15 meter bij de machine komen. Indien Meerdere gebruikers opdezelfde werkplek werken, moet de veiligheidsafstand in ieder geval de dubbele boomlente bedragen, maar altijd minimaal 15 meter.

WAARSCHUWING! Deze machine produeertijdens bedrijf een elektromagnetisch veld. Dit veld kan onder bepaalde omstandigheden de werkking van actieve of passieve medische implantaten verstoren. Om het risico op ernstig of fataal letsel te beperken, raden we personen met een medisch implantaat aan om contact op te nemen met hun arts en de fabrikant van het medische implantaat voordat ze deze machine gaan bedieren.

WAARSCHUWING! Een motor latent lopen in een afgesloten of slechtGeVentileerde ruimte kan dodelijk ongeluukken veroorzaken door verstikking of koolmonoxidevergiftingig.
Persoonlijke veiligheidsuitrusting
BELANGRIJK!
Een motorzeis, bosmaaier of trimmer kan bij onjuist of slordig gebruik een gevaarlijk gereedschap zich, dat ernstig letsel of het overlieden van de gebruiker of anderen kan veroorzaken. Het is van het grootste belang dat u de inhoud van deze gebruiksaanwijzing doorleest en begrijpt.
Bij al het gebruik van de machine moet goedgekeurde personlijke beschemmingsuitrusting gebruikt worden. Persoonlijke beschemmingsuitrusting elimineert der risico's Niet, maar vermindert het schadelijk effect in geval van een onceval. Vraag uw dealer om raad wanner u uw utrusting koopt.

WAARSCHUWING! Wees altijd bedacht op waarschuwingssignalen of geroep wanneer u gehoorbeschemming gekruikt. Doe de gehoorbeschemming altijd af zodra de motor is gestopt.
HELM
U要去enhelm dragenals de stammen die u doorzaagt hoger dan 2m+zijn.

GEHOORBESCHERMING
U moet gehoorbescherming met voldoende dampvermogen dragen.

OOGBESCHERMING
Gebruik alkijd goedgekeurde oogbescherming. Wanner u een vizier gebruikt要去 u ook een goedgekeurde veiligheidsbril gebruiken. Met een goedgekeurde veiligheidsbril worden een bril bedoeld die voldoet aan norm ANSI Z87.1 voor de VS en EN 166 voor de EU-landen.


HANDSCHOENEN
Draag handschoenen indien nodig, b.v. wanner u de snijuitrusting monteert.

LAARZEN
Gebruik laarzen met stalen neus en anti-slip zool.

KLEDEDING
Draag kleding van stevige stof en draag geen loszittende kleding die gemakkelijk vast kan haken in takken en struikgewas. Draag altijd een stevige lange broek. Draag geen sieraden, korte broek of sandalen en loop Niet op blote voeten. Zorg ervoor dat uwhaar Niet lager dan uw scholders hangt.
EHBO-KIT
U moet.altijd een EHBO-kit bij de hand hebben.

Veiligheidsuitrusting van demachine
In dit hoofdstuk worden verklaard wat de veiligheidsonderdelen van de machine zich, welke functie ze hebten en hoe de contrôle en het onderhoud要去en uitgevoerd worden om hun goede werkig veilig te stellen. Bekijk het hoofdstuk Wat is wat? om te zien waar deze onderdelen zich bevinden op uw machine.
De levensduur van de machine kan worden verkort en het risico van ongelukken kan toenemen wanner het onderhoud aan de machine Niet op de juiste manier worden uitgevoerd en wannerne service en/of reparations nicht vakkundig worden gedaan. Indien umeer informatie nodig heeft, verzoeken wij u contact op te nemen met de dichtstbijzijnde serviceworkplaats.
BELANGRIJKI
Om service en reparations aan de machine uit te voeren, moet u een speciale opleding hebben. Dit geldt vooral voor de veiligheidsuitrusting van de machine. Als de machine eén van de volgende controles Niet goed doorstaat, moet u ermee maar uw serviceworkplaats gaan. Als u eén van once producten koopt, garandeert dit dat de reparations en service door een vakman kennen worden uitgevoerd. Als u uw machine heeft gekocht bij eén van once dealers die geen serviceworkplaats heeft, vraag hem dan waar de dichtstbijzijdene ergende werkplaats is.

WAARSCHUWING! Gebruik de machine nooit wanneer de veiligheidsuitrusting defect is. De veiligheidsuitrusting van de machine moet gecontrolled en onderhoden worden zoals beschrenen in dit hofstuk. Als uw machine Niet door alle controles komt,要去 ur ermee maar uw serviceworkplaats voor reparatie.
Gashendelvergrendeling
De gashendelvergrendeling is geconstruereeord om onopzettelijkke activering van de gashendel te voorkomen. Wanner de vergrendeling (A) in het handvat wordt gedrukt (= wanneer men het handvat vasthoudt) worden de gashendel ontkoppeld (B). Wanner men het handvat loslaat, gaan zowel de gashendel als de gashendelvergrendeling terug maar hun respectievelijke beginpositions. Dit geleurt via twee van elkaar onafhankelijkte terugspringveersystemen. Deze positie houdt in dat de gashendel automatisch vergrendeld worden op stationair draaien.

Controleer of de gashendel vergrendeld is in de stationaire stand wanner de gashendelvergrendeling in de oorspronkelijke stand staat.

Druk de gashendelvergrendeling in en controllerer of ze teruggaat waar de oorspronkelijke positie wonneer uhaar loslaat.

ALGEMENE VEILIGHEIDSINSTRUCTIES
Controleer of de gashendel en de gashendelvergrendeling vlot lopen en of hunt terugspringveersystemen werken.

Zie instructies in het hoofdstuk Start. Start de machine en geef vol gas. Laat de gashendel los en controllere of de snijuitrusting stopt en stil blijft staan. Als de snijuitrusting roeteert wonneer de gashendel in de stationaire stand staat, moet de stationairstand van de carburateur gecontroleerd worden. Zie instructies in het hoofdstuk Onderhoud.


Stopschakelaar
De stopschakelaar moet gebruikt worden om de motor uit te schakelen.

Start de motor en contrôleer de motor wordtuitgeschakeld wanneer de stopschakelaar in destopstand worden gezet.
Beschemkap voor snijuitrusting

Deze beschermkap voorkomt dat losse voorwerpen in de richting van de gebruiker worden geslingerd. De
beschemkap voorkomt tevens dat de gebruiker in aanraking komt met de snijuitrusting.

Controleer of de beschemkap Niet beschadigd is en geen barsten vertoont. Vervang de beschemkap als ze gebarsten is of slagen te verduren gehad heeft.
Gebruik aktijd de aanbevolen beschemkap voor die specifieke snijuitrusting. Zie het hoofdstuk Technische gegevens.

WAARSCHUWING! Onder geen bedding
mag snijuitrusting worden gebruikt
zonder dat een goedgekeurde
beschemkap is gemonteerd. Zie het
hoofdstuk Technische gegevens. Indien
een verkeerde of defekte beschemkap
wordt gemonteerd, kan dit ernstige
verwondingen verroorzaken.
Trillingdempingssysteme

Uw machine is uitergerust met een trillingdempingssystem dat geconstrueree is om zo trillingvrij en comfortabel möglichk met de zaag te konnen werken.

Het gebruik van een verkeerd gewikkelde draad of verkeerde snijuitrusting verhoegt het trillingsniveau. Zie instructies in het hoofdstuk Snijuitrusting.
Het trillingdempingssystem van de machine redueert het overbrengen van de trillingen van de motorenheid/ snijuitrusting op de handvateenheid van de machine.

Controleer het trillingdempingselement regelmatig op materiaalbarsten en verrormingen. Controller of de trillingdempingselementen heel zijn en goed vast zitten.

WAARSCHUWING! Als men teveel worden blotgesteld aan trillingen, kan dit tot bloedvat- en zenuwbeschadigingen leiden bij personne die een slechte bloedcirculatie hebben. Consalteer uw dokter wanner u symptomen heeft die gekoppeld kuren worden aan te grote blootstelling aan trillingen. Zulke symptomen zijn: slapen, geen gevoel, "kriebels", "speldeprikken", bijn, geen of vermindering van kracht, huidverkleuringen of veranderingen van het huidopppervlak. Deze symptomen hebben meestal betrekking op vingers, handen of polsen. De risico's kuren bij rage temperatureen toenemen.
Snelontgrendeling
Vooraan zit een makkelijk bereikbare snelontgrendeling als veiligheidsmaatregel indien de motor vlam vat of in een andere situatie waarin men zich snel van de machine en het draagstel moet ontdoen. Zie aanwijzingen in het hoofdstuk Aanpassen van draagstel en motorzeis. Op sommige draagstellen zit ook een snelontgrendeling aan de ophanghaak.


Controleer of de riemen van het draagstel juist zitten. Wanner he draagstel en de machine afgesteld,zijn, moet u controlieren of de snelontgrendeling van het draagstel werkt.
Geluiddemper



De geluiddempster werd ontworpen om het geluidsniveau zo laag möglich te houden, en om de uitlaatgassen weg te richten van de gebruiker. Geluiddempersuitgerust met katalysatorijn ook ontworpen om schadelijke stoffen in de uitlaatgassen te reduceren.

In landen met een warm en droog klimaat is het risico op brand erg groot. Wij hebben aanoor de geluideddempersuitgerust met een zogenaamd vondenkopvangent.
Controleer of de geluidemper van uw machine uitgerust is met zo'n net.


Voor geluidempers is het erg belangrijk dat de controle, onderhouds- en service-instructies gevolgd worden.
Gebruik de machine nooit wanner de geluiddempo.
defect is.

Controller regelmatig of de geluidemper vastzit in demachine.

Als de geluidddemper van uw machine uitergerust is met een vondenopvangnet, moet dit regelmatig schoongemaaKT worden. Een verstopt net leidt tot oververhitting van de motor wat tot ernstige beschadigingen van de motor leidt.


WAARSCHUWING! Tijdens het gebruik en een tijdje daarna is de geluiddempo met katalysator erg warm. Dit geldt ook bij stationair draaien. Aanraking kan brandwonden aan de huid veroorzaken. Denk om het brandgevaar!

WAARSCHUWING! De binnenkant van de geluideddemper bevat chemaliën die kankerverwekkend hunnen.Zimijd contact met deze elementen wonneer de carburateur is beschadigd.

De uitlaatgassen van de motor zijn heet en kennuren vonden bevatten die brand kundenveroorzaken. Start de machine waarom nooit binnenschuis of in de buurt vanlicht ontvlambaar materiaaal!
Borgmoer

Voor een bepaald type snijuitrusting worden borgmoeren gezebuilt bij het vastzetten.
Bij montage draait u de moer gegen de rotatierichting van de snijuitrusting in. Bij verwijderen draait u de moer los in de rotatierichting van de snijuitrusting. (N.B.! De moer heete links schroefdraad.) Bij het los- en vastdraaien van de zaagbladmoer zou u zich kunden verwonden aan de zaagtanden. Zorg er waarom altijd dat uw hand door de beschemkap worden afgeschermd bij dit werk. Dit is makkelijker bij gebruik van een lange dopsleutel. De pij op de afbeelingelijk zaten in welk gebued u de dopsleutel要去 honden bij los- resp. vastdraaien van de moer.

De nylon borging van de borgmoer mag Niet zo versleteen zich dat ze met de vingers vast-of losgeschroefd kan worden. De borging moet ten minste 1,5 Nm houden. De moer moet verrangen worden nadat ze ca. 10 keer los en vast is geschroefd.
Snijuitrusting
In dit hoofdstuk worden behandeld hoe u door het juiste onderhoud en door het juiste type snijuitrusting te gebruiken:
- Het terugslagrisico van uw machine redueert.
- Een maximum zaagprestatie krijgt.
- De levensduur van de snijuitrusting verlengt.
BELANGRIJK!
Gebruik een snijuitrusting alleen samen met de door ons aanbevolen beschemkap! Zie het hoofdstuk Technische gegevens.
Zie instructies voor snijuitrusting voor het correct invoeren van de draad en de keuze van de jeiste draadiameter.
Houd de sjntanden van het bladGOOD en juist geslepen! Volg waaroor onsne aanbevelingen op. Zie ook de instructie op de verpakking van het blad.
Zorg ervoor dat de schranking correct is! Volg onsze instructies en gebruik de door ons aanbevolen vijilmal.

WAARSCHUWING! Schakel aktijd de motor uit voor u aan de snijutrusting begint te werken. De snijutrusting blij roteren nadat u de gashendel heeft losgelaten. Controller of de snijutrusting volledig stilstaat en demonteer de kabel van de bougie voor u aan de snijutrusting begint te werken.

WAARSCHUWING! Een defecte snijuitrusting of een verkeerd gezvijd blad verhogen het risico op terugslag.
Snijuitrusting
Een zaagblad is bedoeld om te worden gebruikt voor het afzagen van houtachtig materiaal.


Grasmaiblad en grames zichen bedoeld om te worden gebruikt voor het maaien van dikker gras.



Een trimmerkop is bedoeld voor het trimmen van gras.

Basisregels

Gebruik een snijutrusting alleen samen met de door ons aanbevolen beschemmkap! Zie het hoofdstuk Technische gegevens.

Hou de tanden van het blad in goede staat en zorg dat ze scherp zich! Volg unsere instructeurs en gebruik de aanbevolen vijlmal. Een verkeerd geslepen of beschadigd blad verhoogt het risico op ontelukken.

Hou het zaagblad correct geschrankt! Volg onsine instructies en gebruik het aanbevolen schrankgereedschap. Met een verkeerd geschrankt zaagblad neemt het risico toe dat het zaagblad vastloopt en terugslaat of beschadigd raakt.

Controller de snijutrusting op beschadigingen en barsten. Een beschadigde snijutrusting要去xtijd verwangen worden.

Vijlen van grasmes en grasmaaiblad

Zie de verpakking van de snijuitrusting voor vijlen op de juiste wijze. Het blad en mes要去en met een platte vrij met enkele kapping verwijd worden.
Vijl alle sneden evenveel bij om de balans te bewaren.


WAARSCHUWING! Gooi een verbogen, scheef, gebarsten, gebroken of op andere wijze beschadigd blad altijd weg. Probeer een scheef blad nooit te stellen om dit opniewu te gebruiken. Gebruikuitsuiitend originèle bladen van het voorgeschreven type.
Zaagblad vrijlen

Zie de verpakking van de snijuitrusting voor vrijen op de juiste wijze.
Een juist gezijld blad is eenoodzakelijk voorwaarde om doelmatig te konnen werken en om onnodige slijtage van blad en motorzeis te voorkomen.

Zorg ervoor dat u een goede steun voor het blad heeft wanner u vijt. Gebruik een 5,5 mm Ronde vijl samen met een vijlhouder.

Vijlhoek 15^ . De tanden worden afwisselend waar rechts enaar links bevijd. Indien het blad erg vaak op stenen terecht gekommen is, kan het in uitzonderlijke gevallen nodig zijn om de bovenkant van de tanden bij te vijlen met een platte vrij. InDat geval moet men dat doeon voor men met de Ronde vrij
vijt. En moet de bovenkant van alle tanden evenveel bijgevijd worden.

Corrigeer de schranking. Die moet 1 mm bedragen.

Trimmerkop
BELANGRIJK!
Denk er altijd om dat de trimmerdraad stevig en gelseljmatig rond de trommel worden gewikkeld, anders ontstaan er schadelijke trillingen in dew machine.
- Gebruikuitsluitend de door ons aanbevolen trimmerkoppen en trimmerdraden. Ze zijn door de producent getest om bij een bepaalde motorgrootte te passen. Dit is vooral erg belangrijk wanner men een volautomatische trimmerkop gebruikt. Gebruikuitsluitend aanbevolen snijutrusting. Zie hoofdstuk Technische gegevens.



In het algemeen heeft een Kleinere machinekleine trimmerkoppen nodig en omgekeerd. Dit ookat bij maaien met een draad, de motor de draad radiaal van de trimmerkop要去voeren en bovendien bestand moet着眼 tegen de waarstand van het gras dat gemaaaid worden.
- De lengte van de draad is eveneens belangrijk. Een langere draad vereist een groter motorvermogen dan een korte, ook al is de diameter van de draad even groot.
Zorg ervoor dat het mes dat op de trimmerbeschemkap zit, Niet beschadigd is. Het worden gezrukt om de draad op de juiste lenghte af te snijden.
- Om de levensduur van de draad te verlengen, kutu hem eenaar dagen in water leggen. De draad worden dan taier en gaat longer mee.
Stuur monteren

- Demonteer de bout bij het Achterste gedeelte van de gashendel.
- Duw de gashendel op het rechter gedeelte van het stuur (zie afbeelding).

Zorg dat de opening voor de bevestigingsbout in het handvat boven de opening het stuur komt te liggen.
Monteer de bout opniew in de opening bij het中断ste gedeelte van het handvat.
- Schroef de bout door het handvat en het stuur. Draai vast.
Maak de bevestigingsonderdelen op de stuurbevestiging los.
- Plaats het stubur zoals op de afbeilding is aangegeven. Monteer de bevestigingsonderdelen en draai de knop lichtjes vast.


Monteer de kabels volgens de afbeelding.

- Trek het draagstel aan en hang de machine aan de ophanghaak. Pas het draagstel nu aan zodat u comfortabel kunt werkken wanner de machine aan het draagstel hangt. Draai de knop vast.

Transportpositie, stuur
- Het stuur kan gemakkelijk over de steel gedraaid worden om het Transporteren en opbergen te vergemakkelijken.
- Draai de knop los. Draai de sturuboom met de wijzers van de klok mee, zodat de gashendel gegen de motor aankomt.
- Klap daarna het stuur omlaag gegen de steel. Draai de knop vast.

Monteer de transportebeveiliging op de snijuitrusting.
Montage van snijuitrusting

WAARSCHUWING! Bij het monteren van de snijuitrusting is het zeer belangrijk dat de geleidepen de meenemer/ steunflens op de juiste manier in de centrumopening van de snijuitrusting terecht komt. Verkeerd gemonteerde snijuitrusting kan ernstige en/of dodelijke verwondingen veroorzaken.



WAARSCHUWING! Onder geen bedding mag snijuitrusting worden gebruikt zonder dat een goedgekeurde beschemkap is gemonteerd. Zie het hoofdstub Technische gegevens. Indien een verkeerde of defekte beschemkap worden gemonteerd, kan dit ernstige verwondingen verroorzaken.
BELANGRIJK! Om een zaag- of maaiblad te mogen gebruiken, moet de machine zijn uitergerust met het juiste stuur, bladbeschemkap en draagstel.
Monteren van bladbeschemkap, maaiblad en maaimes



- De bladbeschemkap/comibeschemkap (A) worden vastgehaakt in de bevestiging op de steel en met een schroef vastbezet.
N.B.! Let op dat de bescherming gedemonteerd is.
Gebruik de aanbevolen bladbeschemkap. Zie hoofdstuk Technische geevens.
Monteer de meenemer (B) op de uitgaande as.
- Draai de bladas rond tot één van de openingsen van de meenemer samenvalt met de overeenkomstige opening in het transmissiehuis.
- Duw de borgpin (C) in de opening zodat de as vergrendeld worden.
- Plaats blad (D), steunkop (E) en steunflens (F) op deuitgaande as.
- Monteer de moer (G). De moer要去en moment van 35-50 Nm (3,5-5 kpm) vast gedraaid worden. Gebruik de dopsleutel uit het gereedschapset. Hou de steel van de dopsleutel zo zich möglich bij de bladbeschemkap vast. De moer wordt vastgedraaid wanneer de sleutel tegen de rotatierichting in worden gedraaid (NB! links schroefdraad).

Monteren van bladbeschemkap en zaagblad

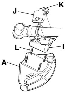
- Verwijder de bevestigingsplaat (H). Bevestig de adapter (I) en de klem (J) met de twee bouten (K) conform de afbeelding. De bladbeschemkap (A) worden met 4 bouten (L) op de adapter vastgezet volgens de afbeelding.


N.B.! Gebruik aktijd de aanbevolen beschemkap voor die specifieke snijuitrusting. Zie het hoofdstuk Technische gegevens.

Monteer de meenemer (B) op deuitgaande as.
Draai de bladas rond tot een van de openingen van de meenemer samenvalt met de overeenkomstige opening in het transmissiehuis.
- Duw de borgpin (C) in de opening zodat de as vergrendeld worden.
- Plaats het blad (D) en de steunflens (F) op deuitgaande as.
- Monteer de moer (G). De moer moet met een moment van 35-50 Nm (3,5-5 kpm) vast gadraaid worden. Gebruik de dopsoleutel uit het gereedschapsset. Hou de steel van de dopsoleutel zoicht möglich bij de bladbeschemkap vast. De moer wordt vastgodraaid wanneer de sleutel tegen de rotatierichting in worden gadraaid (NB! links schroefdraad).

- Bij het los- en vastdraaien van de zaagbladmoer zou u zich kennuren verwonden aan de zaagtanden. Zorg er waarom.altijd dat uw hand door de beschemmkap worden afgeschermd bij dit werk. Dit is makkelijker bij gebruik van een lange dopsleutel. De pij op de
afbeelding laat zien in welk gebied u de dopsleutel moet honden bij los- resp. vastdraaien van de moer.

Monteren van trimmerbeschemkap en trimmerkop Trimmy SII

- Monteer trimmerbeschemkap (A) voor het werknen met een trimmerkop. N.B.! Let op dot de bescherming gemonteerd is.
Haak de trimmerbeschemkap/comibeschemkap (A) op de beiden haken van de plaathouder (M). Draai de beschemkap rond de steel en zet hem vast met de bout (L) aan de tegenoverligende zijde van de steel. Gebruik de borgpen (C). Leg de borgpen in de groef op de kop van de bout en zet vast. Zie afbeelding.

Monteer de meenemer (B) op deuitgaande as.
Draai de bladas rond tot eén van de openingen van de meenemer samenvalt met de overeenkomstige opening in het transmissiehuis.
- Duw de borgpin (C) in de opening zodat de as vergrendeld worden.
- Schroef de trimmerkop (H) gegen de rotatierichting in op+zijn plaats.

- De trimmerkop要去 vastgedraaid worden met een moment van 35-50 Nm (3,5-5 kpm).
Ga voor het demonteren in omgekeerde volgorde tewerk.
Monteren van overige beschemkappen en snijuitrustingen


Monteer de trimmerbeschemkap/ combibeschemkap (A) voor het werken met een trimmerkop/kunststof messen. N.B!. Let op dat de bescherming gemonteerd is.
Haak de trimmerbeschemkap/combibeschemkap (A) op de beiden haken van de plaathouder (M). Draai de beschemkap rond de steel en zet hem vast met de bout (L) aan de tegenoverligende ziche van de steel. Gebruik de borgpen (C). Leg de borgpen in de groef op de kop van de bout en zet vast. Zie afbeelding.


Monteer de meenemer (B) op de uitgaande as.
Draai de bladas rond tot een van de openingen van de meenemer samenvalt met de overeenkomstige opening in het transmissiehuis.
- Duw de borgpin (C) in de opening zodate de as vergrendeld worden.
- Schroef de trimmerkop/kunststof messen (H) gegen de rotatierichting in op+zijn plaat.


Ga voor het demonteren in omgekeerde volgorde tewerk.
Aanpassen van draagstel en motorzeis

WAARSCHUWING! Wanner u met de motorzeis werkct, moet die alttijd vastgehaakt worden in het draagstel. Anders kunt u de motorzeis Niet verilig bedieren en uzelf en anderen verwonden. Gebruik nooit een draagstel met een defecte snelontgrendeling.
Snelontgrendeling
Vooraan zit een makkelijk bereikbare snelontgrendeling. Gebruik die als de motor vlam vat of in een andere noodsituatie, wanneur u zich snel van draagstel en machine要去 Kennen ontdoen.


Gelijkmatige schouderbelasting
Een goed aangepast draagstel en machine makeuw Werk er een stuk gemakkelijker op. Pas het draagstel aan voor een goede werkhouding. Span de zijriemen zo aan dat het gewicht gelijkmatig over beiden scholders worden verdelijk.

De juiste hoogte
1 Vellen vankleine bomen
Pas de draagriem zo aan dat de ophanghaak ongeveer een dm onder uw heupkam komt. Het blad要去its waar voren hellen.
2 Gras maaien
De ophanghaak moet ongeveer twee dm onder de heupkam hangen zodate het blad zich parallel met de grond bevindt.

Het juiste evenwicht
1 Vellen vankleine bomen
Verplaats het ophangoog op de machine waar voren ofশ aanchteren. Indien het maaiblad een decimeter boven de grond balanceert,kest u makkelijker voorkommen dat u stenen raakt.
2 Gras maaien
Laat het blad op de geschikte maaihoogte balanceren, d.w.z. dicht bij de grond.

Brandstofveiligheid
Start de machine nooit:
1 Als u er brandstof op gemorst heeft. Neem alle gemorste brandstof af enaar de benzineresten verdampen.
2 Als u brandstof op uzelf of op uw kleding gemorst heeft, trek schone kleding aan. Was de lichaamsdelen die in contact+zijn geweest met brandstof. Gebruik water en zeep.
3 Als de machine brandstof lekt. Controller de tankdop en de brandstoffleidingen regelmatig op lekkage.
Transport en opbergen
- Bewaar en vervoer de machine en brandstof zo, dat eventuele lekkage en dampen Niet in contact kennen komen met vonden of open vuur, bijvoorbeeld van elektrische machines, elektrische motoren, stopcontacten/schakelaars, verwarmingsketels e.d.
Bij opslag en vervoer van brandstof要去en algtd speciaal voor dat doel bestemde en goedgekeurnde tanks worden gebrukt. - Als de machine gedurende langearendietniet gebruiktzal worden, moet de brandstoffankleeggemaktworden. Vraag bij uw tankstation of bij de gemeente waar u de afgetapte brandstof kwijt kan.
Zorg ervoor dat de machine goed is schoongemaaakt en dat een volledige servicebeurt is gegeven voor een langeperiode van stalling. - De transportbescherming van de snijuitrusting moetijdens vervoer of opslag van de machine altijd aangebracht�.
Zet de machine vast tijdens transport.

WAARSCHUWING! Wees voorzichtig bij het hanteren van brandstof. Denk aan de brand-, explosie- en inademingsrisico's.
Brandstof
N.B.! De machine is uitergerust met een tweetaktmotor; gebruik waarom altiijd een mengsel van benzine en tweetaktolie. Om zeker te zijn van de juiste mengverhouding is het erg belangrijk dat u de hoeveelheid olie altiijd nauwkeurig afmeet. Bij het(OPien vankleine brandstoffhoeveelheden zullen,zelfskleine afwijkingen van invloed着眼 op de mengverhouding.

WAARSCHUWING! Brandstof en brandstoffdampen zijn zeer brandgevaarlijk en{kunnen leiden tot ernstig letsel bij inademing en contact met de huid. Wees waarom voorzichtig vigneer u met brandstof werk t en zorg voor goede luchtventilatie bij de brandstoffhantering.
Benzine

N.B.! Gebruik alkijd met olie gemengde kwaliteitsbenzine van minimaal 90 octaan (RON). Indien uw machine is uiterust met een katalysator (zie hoofdstuk Technische geveens)要去 alkijd een loodvrije met olie gemengde kwaliteitsbenzine worden gebruikt. Gelode benzine beschadigt de katalysator.
Waar milieuvriendelijk benzine, de zag. alkylaatbenzine, verkrijgbaar is, moet deze gebrukt worden.

- Het aanbevolen laagste octaangehalte is 90 (RON). Indien u de motor laat lopen op benzine met een lager octaangehalte dan 90, kan het zogenaamde kloppen optreten. Hierdoor stijgt de motortemperatuur wat tot zware motorbeschadigingen kan leiden.
- Als men voortdurend met een hoog toerental werkt, is het aan te raden een hoger octaangehalte te gebruiken.
Tweetaktolie
Voor de Beste resultaten en prestaties,要去 HUSQVARNA tweetaktolie gebruiken, die special wordt gemaakt voor onsche luchtgekoelde tweetaktmotoren.
- Gebruik nooit tweetaktolie die bedoeld is voor watergekoelde buitenboardmotoren, zogenaamde outboardoil (aangeduid met TCW).
- Gebruik nooit olie bedoeld voor vier-takt motoren.
- Een lage oliekwaliteit of een te rijk olie/ brandstofmengsel kan de functie van de katalysator op het spel zetten en de levensduur verminderen.
Mengverhousing
1:50 (2%) met HUSQVARNA tweetaktolie.
1:33 (3%) met andere olie, gemaakt voor luchtgekoelede tweetaktmotoren, geklassificiererd voor JASO FB/ISO EGB.
| Benzine, liter | Tweetaktolie, liter | |
| 2% (1:50) | 3% (1:33) | |
| 5 | 0,10 | 0,15 |
| 10 | 0,20 | 0,30 |
| 15 | 0,30 | 0,45 |
| 20 | 0,40 | 0,60 |
Mengen
- Meng de benzine en olie altijd in een schone jerrycan die goedgekeurd is voor benzine.
- Begin alsijd met de helft van de benzine die gemengd moet worden erin te gieten. Giet er daarna de gehele oliehoeveelheid bij. Meng (schud) het brandstoffmengsel. Giet er de resterende hoeveelheid benzine bij.
- Meng (schud) de brandstofhoeveelheid goed voor u de brandstoftank van de machine vult.


- Meng Niet meer brandstof dan voor max. 1 maand nodig is.
- Als u de machine gedurende een langerearend nicht gebruikt, moet u de brandstoffank leeg make n en hem schoonmakers.

WAARSCHUWING! De
katalysatorgeluiddemper worden erg heet, zowel tijdens het gebruik als na het stoppen. Dit geldt ook voor stationair draaien. Verlies het brandgevaar Niet uit het oog vooral wanner u in de buurt bent van brandgevaarlijke stoffen en/of gassen.
Tanken


WAARSCHUWING! Om het risico op brand te verminderen, moet je de volgende voorzorgsmaatregelen nemen:
Rook nicht of plaats geen warme voorwerpen in de buurt van de brandstof.
Tank nooit terwijl de motor draait.
Stop de motor en LAST hem voor het tanken enkele minutes afkoelen.
Open de dop van de tank voorzichtig
wanner u wilt tanken zodat eventuele
overdruk langzaam verwijdnt.
Draai de dop van de tank goed vast na het tanken.
Verwijder de machine steeds van de tankplaats, voor u de motorzaag start.
- Gebruik een benzinetank met overvulbescherming.
- Maak de omgeving rond de tankdop schoon. Verontreinigingen in de tank können defecten veroorzaken.
Zorg ervoor dat de brandstof goed gemengd is door de jerrycan te schudden voor u de tank vult.

Controle voor het starten

- Controller het blad op barsten bij het centergat en bij de tandbodems. De barsten ontstaan meestal doordaterijdens het vrijen scherpe hoeken ontstaan zich in de tandbodems of doordat men het blad gebruikt heeft met botte tanden. Als het blad barsten vertoont, moet het onmiddelijk verrangen worden.

- Controller de steunflens op barsten die het gevolg können zijn van materiaalmoeheid of te hard aanhalen. De steunflens要去 verrangen worden als hij barsten vertoont.

- Let erop dat de borgmoer zijn borgkracht nicht verliest. De borging van de moer要去 een borgmoment van ten minste 1,5 Nm hebben. Het aanhaalmoment van de borgmoer要去 35-50 Nm

- Controller de bladbeschemkap op beschadigingen en barsten. Vervang de bladbeschemkap indiendez terugslag te verduren heeft gehad of barsten vertoont.

- Controller de trimmerkop en de trimmerbeschemkap op beschadigingen en barsten. Vervang de trimmerkop of de trimmerbeschemkap
- Gebruik de machine nooit zonder beschemkap of een defecte beschemkap.
- Alle=kappen moeten juist gemonteerd,zijn en zonder gebreken voor de machine worden gestart.
Starten en stoppen


WAARSCHUWING! Start de machine nooit voor het complete koppelingdeksel met steel gemonteerd zijn, anders kan de koppeling losraken en persoonlijke verwondingen veroorzaken.
Verwijder de machine steeds van de tankplaats, voor u de motorzaag start. Plaats de machine op een vaste ondergrond. Let erop dat de snijuitrusting geen voorwerp kan raken.
Zorg ervoor dat zich geen onbevoegden binnen het werkgebied bevinden, anders bestaat er risico voor ernstige verwondingen. De veiligheidsafstand bedraagt 15 meter.
Koude motor
Ontsteking: Zet de stopschakelaar in de startpositie.
Choke: Zet de choke-hendel in de choke-positie.

Brandstofpomp: Druk een aantal malen op de rubberen balg van de brandstofpomp totdat er brandstof in de balg komt. De balg hoeft nicht helemaal gezuld te worden.

Warme motor
Ontsteking: Zet de stopschakelaar in de startpositie.
Choke: De startgasstand worden verkreten door de chokehendel in de chokestand te zetten en hem daarna terug in de beginpositie te zetten.

Brandstofpomp: Druk een aantal malen op de rubberen baig van de brandstofpomp totdat er brandstof in de baig komt. De baig hoeft nicht helemaal bevuld te worden.


WAARSCHUWING! Wanner de motor wordt gestart met de chokehendel in de choke- of startgassand begint desnijutrusting direct te draalen.
Starten

Druk het machinelichaam met uw linkerhand gegen de grond (N.B.! Niet met uw voet!). Pak de starthendel beet, trek met uw rechterhand het starterkoord langzaamuit tot u onderstand voelt (de starthaken grijpen in) en kaakervolgens nèlle en krachtige trekbewegingen.
Zet de chokehendel onmiddelijk nadat de motor ontsteekt terug en doe hernieuwde startupgingen tot de
motor start. Wanner de motor start, geef snel vol gas en het startgas worden automatisch uitgezet.

N.B.! Trek het starterkoord Niet volledig uit en laat de starthendel Niet zomaar los wonneer het vollediguitgetrokken is. Dit kan tot beschadigingen van de machine leiden.
Voor een gashendel met startgasvergrendeling geldt:
Startgasstand krijt u door eerst de gashendelvergrendeling en de gashendel in te drukken en dan de startgasknop (A) in te drukken. Laat daarna de gashendelvergrendeling en de gashendel los en dan de startgasknop. De startgasfunctie is nu geactiveerd. Om de motor weer terug te brengenaar stationair lopen drukt u de gashendelvergrendeling en de gashendel in.

Stoppen

Stop de motor door de ontsteking af te zetten.

Algemene werkinstructies
BELANGRIJK!
In dit hoofdstuk nemen we de basisveiligheidsregels voor het werken met een motorzeis en trimmer door.
Wanneer u in een situatie belandt waar u Niet goed weet hoe u verder te werk moet gaan, moet u een expert raadplegen. Wend u tot uw dealer of uw serviceworkplaats.
Gebruik de machine nooit voor taken waarvoor u Niet voldoende gekwalificeerd bent.
Voordat u de machine gaat gebruiken, moet u begrijpen wat het verschil is:tussen bos maaien, gras maaien en gras trimmen.
Basisveiligheidsregels

1 Controller de omgeving:
- Om ervoor te zorgen dat u de contrôle over uw machine Niet kurz verliezen vanwege omstanders, dieren of een andere reden.
- Om te voorkomen dat mensen, dieren en overigen nicht in contact komen met de snijuitrusting of geraakt worden door losese voorwerpen die weggeslingerd worden door de snijuitrusting.
N.B.! Gebruik de machine nooit zonder de mogelijkheid hulp in te roepen in geval vanood.
2 Controleer het werkgebied. Verwijder alle losse voorwerpen, zoals stenen, gebroken glas, spijkers, ijzerdraad, touw en dergelijkie, die weggeslingerd konnen worden of vast konnen komen zitten in de zaaguitrusting.
3 Gebruik de motorkettingzaag Niet in ongunstige weersomstandigheden. B.v. bij dichte mist, heige regen, harde wind, heige koute enz. Werken in slechte weersomstandigheden is vermoeiend en kan tot gaarlijkke situaties leiden, zo kan de grond glad+zijn, de wind de valrichting van de boom beinvoeden enz.
4 Zorg ervoor dat u veilig kutn gaan en staan. Controller of er eventuele hindernissen zijn als u onverwacht smel moet kuren wegkomen (wortels,
stenen, takken, kuilen, greppels enz.). Wees extra voorzichtig wanner u op hellend terrein werkt.

5 Wees extra voorzichtig wanner u in bomen zaagt die gespannen zijn. Een gespannen boom kan zowel voor als na het doorzagen in zijn normale stand terug vliegen. Als u op de verkeerdeplaats staat of de inkening op de verkeerdeplaats maakt, kan dit ertoe leiden dat deBoom u of de machine raakt zodat u de contrôle verliest. In beide gezallen kunt u ernstig gewond raken.

6 Zorg voor een goede balans en een stabiele houding.
7 Gebruik altijd beiden handen om de machine vast te houden. Hou de machine aan de rechterkant van uw licham.

8 De zaaguitrusting moet onder taillehoogte blijven
9 Wonneer u zich verplaatst moet de motoruitgeschakeld worden. Als het om een langereverplaatsing en vervoer gaat,要去 u detransportbeschemming gebruiken.
10 Wanner de motor loopt, mag u de machine alleen neerzetten als u er een wakend oogje kurz op honden.
Het ABC van het zagen/maaien
- Gebruik altiijd de juiste uitrusting.
Zorg ervoor dat de uitrusting altijd juist afgesteld en aangepast is.
Volg de veiligheidsvoorschriften.
Organiseer het werk goed.
Zorg ervoor dat het blad op volle toeren draait voor u begint. - Gebruik.altijd goed scherpe bladen.
Probeer om nicht in stenen te zagen.
Stuur de velrichting (maak gebruik van de wind).

WAARSCHUWING! Noch de gebruiker van de machine noch iemand anders mag proberen het afgezaagde materiaaal weg te trekken wanner de motor of desnjuiitrusting draait, onder dit tot ernstig letsel kan leiden.
Stop de motor en de snijuitrusting voordat u materiaal verwijdert dat rond de as van het zaagblad is gewikkeld, waar anders risico van letsel bestaat. De hoekeoverbrenng kan genuine tijd na gebruik nog warm�n. Bij contact bestaat risico van brandwonden.

WAARSCHUWING! Waarschuwing voorweggeslingerde voorwerpen. Gebruik altijd goedgekeurde oogbescherming. Buig nooit de beschermkap van de snijuitrusting heb. Stenen, vuil e.d. hunnen omhoog geworpen worden in uwogen en blindheid of ernstig letselveroorzaken.
Houd onbevoegden op afstand. Kinderen, dieren, toeschouwers en medewerkers要去en zich buiten de veiligheidszone van 15 m bevinden. Schakel de machine onmiddelijk uit indien iemand dichter bij komt. Draai de machine nooit rond zonder eerst te controleren of er halten u Niet iemand zich in de veiligheidszode bevindt.

WAARSCHUWING! Soms raken takken of gesbekneld zusammen de beschemkap en de snijuitrusting. Stop altiid eerst de motor voordat u deze verwijdert.
Werkmethodes

WAARSCHUWING! Machines die zijn uitgerust met zaagbladen of grasmessen können met enorme kracht opzij geworpen worden, wanner het mes in contact komt met een vast voorwerp. Dit wordt terugslag genoemd. Terugslag kan zo heftig zijn dat de machine en/of de operator in een richting geduwd worden en möglichk de controle over de machine verliest. Terugslag kan zonder waarschuwing vooraf optreden wanner de machine blijft haken, af}slaat of vastloopt. De kans op terugslag is groter in gebieden waar het moeilijk is om te zien wat u maait.
Probeer om Niet te zagen in het gebied tussen 12 en 3研究员 van het blad. Vanwege de rotatiesnelheid van het blad kan terugslag precieis in dit gebied optreden wanner men in grovere stammen zaagt.
- Voordat u begint te maaien, moet u het werkgebied controleren: de conditie van het terrein, of het afhelt, of er stenen liggen, of er kuilen zich enz.
- Begin daarna bij het makkelijkste einde van het werkgebied om een goede opening voor het maaiwerk te krijgen.
- Werk systematisch,—heen en weeer, dwars over het gebied en bestrijk bij alle sleag een gebied van ca. 4-5 m. Dan worden het volle bereik van de machine waar beiden kanten benut en de gebruiker krijgt een makkelijk en afwisseled terrein om in te werken.

- De lenghte van het pad moet circa 75m bedragen. Verplaats de brandstofvoorraad al naargelang het werk vordert.
Op hellend terrein要去 undaden loedrecht ten opzichte van de helling latenten lopen. Het is veel makkelijker om dwars over een helling te lopen dan op en neer. - De paden要去zo lopen dat men Niet over sloten of andere hindernissen in het terrein hoefte klkommen. Pas de paden ook aan de windomstandigheden aan
zodat de gevelde stammen in het reeds gemaaide gedeelte van het terrein vallen.

Kleine bomen vellen met een zaagblad



- Wanneer u in grovere stammen zaagt, neemt het risico op terugslag toe. Vermijd dan ook in het gebied:tussen 12 en 3eur te zagen.

- Om een boom waar links te latenten vallen, moet het onderste gedeelte van de boom waar rechts geduwd worden. Hou het blad scheef en duw het met vaste hand schuin omlaag waar rechts. Duw tegelijkkertijd met de bladbeschemkap op de stam. Zet het blad in het gebied+tussen 3 en 5uur. Geef volgad voordat u de stam met het blad raakt.


- Om een boom waar rechts te latent vallen, moet het onderste gedeelte van de boom waar links geduwd worden. Hou het blad scheef en duw het schuin omhoog waar rechts. Zet het blad in het gebiedussen
3 en 5 pauzodat de rotatierichting van het blad het onderste gedeelte van de boom waar links duwt.


- Om een boomrecht maar voren te latent vallen,要去 het onderste gedeelte van de boomaarachten getrokken worden. Trek het blad met een snelle en besliste beweging maar afterwards.

- Grovere stammen, d.w.z. stammen die geweld要去en worden,要去en van twee kanten omgezaag worden. Beoordeel eerste in welke richting de stam要去vallen. Maak een inkeping aan de Kant waarnaar de boom要去vallen. Zaag daarna de stam door vanaf de andere cant. De druk waarmee men zaagt,要去aangepast worden aan de dikte van de stam en de hardheid van de houtsoort. Smallere stammen hebben een grotere druk nodig verwij grovere stammen minder druk nodig hebben.


- Als de stammen zich bij elkaar staan,要去 dmelheid hieraan aanpassen.
- Als het blad vast komt te zitten, mag u de machine nooit los trekken. In dat geval kannen het blad, de haakse overbrenng, de steel of het stuur beschadigd raken. Laat de handvatten los, grijp de
steel met beiden handen beet en trek de machine voorzichtigig los.
Struiken maaien met zaagblad


- Smalle stammen en struikgewas moeten neergezaagd worden. Werk met zijdelingse zaagbewegingen.
- Probeer om met één beweging meerere stammen door te zagen.
Maai bij een bosje opslag alsijd eerst rond de opslag. Begin met het afzagen van hoge stobbes aan de buitenrand van het bosje om te voorkomen dat u zich vast zaagt. Kort de stobbes verrolgens af tot de gewennen hoogte. Probeer verrolgens om met het blad in het midden te komen en vanuit het centrum van het bosje te zagen. Indien het toch moeilijk maar zijn om erbij te konnen,要去 u hogere stobbes zagen en de stammen latent vallen. Op die manier neemt het risico dat u zich vast zaagt af.

Gras maaien met grasmaiaiblad


- Grasmaaibladen en grasmessen mogen nicht gebruikt worden bij houtachtige stammen.
- Voor alle soorten hoog of sterk gras worden een grasmaaiblad gebruikt.
- Het gras worden neergehaald met pendelende bewegingen maar de zijkanten, waar bij de beweging van rechts maar links het maaimoment is en de beweging van links maar rechts de retourbeweging.
Laat de linkerkant van het blad werkken (tussen 8 en 12uur).

- Indien het bladijdens het gras maaien een ietsjes schuin waar links wordt gezhouden, wordt het gras in een streng gelegd, hetgeen het verzamelen makkelijker maakt bijv. bij harken.
Probeer om ritmisch te werkken. Sta stevig met uw voeten uit elkaar. Beweeg na de retourbeweging maar voren en sta cervolgens wee sterig stil.
Laat de steunkoplicht op de grond rusten.Deze is speciala bedoeld om te voorkomen dat het blad in de grond snijdt. - Verklein het risico dat het materiaal rond het blad wordt gewonden door de volgende regels op te volgen:
1 Werk altijd met vol gas.
2 Vermijdijdens de retourbeweging het pasgemaaide material.
- Schakel de motoruit,maak het draagstel los en zet de machine op de grond voordat u het gemaaide materiajaal verzamelt.
Gras trimmen met trimmerkop


Trimmen
- Hou de trimmerkop vlak boven de grond en hoe hem schuin. Het werk worden gedaan door het uiteinde van de draad. Laat de draad in zijn eigentempo werken. Duw de draad nooit in het materiaial dat u wilt maaien.

- De draad verwijdert zonder problemen grayscale en onkruid naast muren, omheiningen, bomen en bloemperken, maar kan ook het tere schors van bomen en struiken en de paaltjes van omheiningen beschadigen.
- Verminder het risico van beschadiging van gewassen door de draad in te korten tot 10-12 cm en het moetertoerental te verminderen.
Schoonschrapen
- Met de schraaptechniek kan men alle ongewenste begroeiling verwijderen. Hou de trimmerkop vlak boven de grond en een ietsje scheef. Laat het uiteinde van de draad gegen de grond slaan naast bomen, palen, standbeelden e.d. N.B.! Deze techniek veroorzaakt grotere slijtage van de draad.

- De draad verslijt vlugger en moet vaker aangevoerd worden wanneer men gegen stenen, bakstenen, beton, metalen omheiningen enz. werkt dan wanneer men in contact kommt met bomen en houten omheiningen.
- Bij het trimmen en schoonschrapen mag u zich vol gas gehen zodate de draad longer meegaat en de trimmerkop minder slijt.
Maaien
- De trimmer is ideaal voor het maaien van gras opplaatsen waar men met een gewone gazonmaaier moeilijk bij komt. Houijdens het maaien de draad parallel met grond. Duw de trimmerkop Niet gegen de grond?!Dat dit het gazon en het gereedschap kan beschaden.

Tijdens normala maaien mag de trimmerkop Niet voortdurend in contact komen met de grond. Een dergelijk voortdurend contact kan tot beschadigingen en slijtage van de trimmerkop leiden.
Vegen
- Het ventilatoreffect van de roterende draad kan gebruikt worden en smel en gemakkelijk schoon te makes. Hou de draad parallel met en boven de oppervlakken die schoongeveegd要去en worden en beweeg het gereedschap heen en weer.

- Bij het maaien en vegen要去 vol gas给他们 een goed resultaat te krijgen.
Carburatour
Uw Husqvarna-product is geconstrueree en gemaakt volgens specificaties, die de schadelijke uitlaatgassen reduceren. Als de motor 8-10 tanks brandstof heeft verbruikt, is de motor ingereden. Om ervoor te zorgen dat deze na de periode van inrijden optimal blijft functioneren en zo min möglich schadelijke uitlaatgassen uitstoot, moet u uw dealer/servicewerkplaats (die over een toerenteller beschicht) de carburateur af latent stellen.
Werking

- Via de gasklepediening stuart de carburateur het toerental van de motor. In de carburateur worden brandstof en lucht vermingd. Dit melds (brandstof/ lucht) kan worden afgesteld. Om het maximum vermogen van de machine te konnen benutten,要去 de afstelling correct zijn.
- Afstellen van de carburateur houdt in dat de motor worden aangepast aan plaatselijke omstandigheden, b.v. klimaat, hoogte, benzine en soort 2-taktolie.
- De carburateur heeft drie afstelposities:
L = Lage toeren-naald
H = Hogte toeren-naald
T = Stelschroef voor stationair draaien

- Met de L- en de H-naalden worden de gewenste brandstofhoeveelheid afgesteld in functie van de luchtstroom die opening van de gasklepbediening toelaat. Door de schroeven met de klok mee te draaien worden het lucht/brandstofmensgel armer (minder brandstof) en door ze tegen de klok in te draaien, worden het lucht/brandstofmensgel rijker (meer brandstof). Een armer mensgel geeft een hoger toerental en een rijker mensgel een lager toerental.
- De T-schroef regelt de positie van de gasklebediening bij stationair draaien. Als de T-schroef met de klok mee worden gedraaid, krijgt men een hoger stationair torental en als ze tegen de klok in worden gedraaid, een lager stationair torental.
Basisafstelling
- Tijdens het testen in de fabrik wordt de basisafstelling van de carburateur uitgevoerd. De basisafstelling is rijker dan de optimale afstelling en moetijdens de eerste uren dat de machine in werkig is, in stand worden gehouden. Daarna moet de fijnafstelling van de carburateur plaatsvinden. Dit moet gebeuren door een gekwalificeerdeskundig person.
N.B.! Als de snijuitrusting roteert bij stationair toenental, moet de T-schroef gegen de klok in gedraaid worden tot de snijuitrusting stocht.
Afstelling van het stationair toerental
Voor met het afstellen worden begonnen, moet het luchtfilter schoon zijn en het luchtfilterdeksel gemonteerdহ.
Het stationair toerental worden afgesteld met de stationairschroef T als opniewu afstellenoodzakelijk is. Draai de T-schroef eerst met de klok mee tot de snijuitrusting begint te roteren.Draai daarna de schroef gegen de klok in tot de snijuitrusting stilstaat. Het stationair toerental is correct afgesteld als de motor in alle positives gelijkmatig draait. Er moet een goede marge+zijt tot het toerental waar bij de snijuitrusting begint te draaien.

Aanbevolen stationair toerental: Zie hoofdstuk Technische gegevens.

WAARSCHUWING! Als het stationair toerental Niet zo kan worden afgesteld dat de snijuitrusting stilstaat, dient u uw dealer/servicewerkplaatys te raadplegen. Gebruik de machine nooit voor deze correct is afgesteld of gerepareerd.
Afstellen van het startgastrorenal
Om het juiste startgastroenteral te krijgen zit een afstelpunt aan de achterkant van de gashendel, naast de kabel. Met deze bout (4 mm inbus) kan het startgastroenteral verhoogd of verlaagd worden.

Ga als volgt te werk:
1 Laat de machine stationair lopen.
2 Druk de startgasvergrendeling in volgens de instructies bij Starten en Stoppen.
3 Wanner het startgastroenteral te laag is (onder de 4000 t/min) wordt de stelschroef A met de klok mee gedraaid tot de snijuitrusting begint te draaien. Schroef A verwolgens nog een 1/2 slag met de klok mee.
Geluiddemper

N.B.! Bepaalde gluideddempers zich voorzien van een katalysator. Zie het hoofdstuk Technische geveens om te checken of uw machine voorzien is van een katalysator.
De geluiddempo is ontworpen om het geluid van de machine te reducieren, en om de uitaatgassen van de gebruiker weg te richten. De uitaatgassen zijn zeer heet en bevatten vonden die droge en ontvlambare materialen in brand können steken.



Bepaalde geluiddempers zich voorzien van een speciaal vonkenopvangnet. Indien uw machine uitgerust is met zo'n geluiddempers, moet u het net minstens eén keer per
week schoonmaken. Gebruik bij voorkeur een stalen borstel.

Op geluiddempers zonder katalysator moet het net een keer per week worden schoongemaakt en eventuele worden verrangen. Op geluiddempers met katalysator要去 het net een keer per maand worden gecontroleerd en eventuele schoongemaakt. Bijevt. beschadigingen aan het net要去 dit verrangen worden. Indien het net vaak verstopt is, kan dit erop duiden dat de functie van de katalysator is afgenomen. Neem contact op met uw dealer voor contrôle. Met een verstopt net raakt de machine oververhit met beschadigingen aan cilinder en zuiger tot gezolg.
N.B! Gebruik de machine nooit als de geluiddempo in slechte staat is.

WAARSCHUWING! Tijdens het gebruik en een tijdje daarna is de geluiddempers met katalysator erg warm. Dit geldt ook bij stationair draaien. Aanraking kan brandwonden aan de huid veroorzaken. Denk om het brandgevaar!
Koelsysteme

Om de werktemperatuur zo laag möglich te houden, is de machine uitgerust met een koelsystem.

Het koelsysteme bestaat UIT:
1 Luchtinlaat in de starter.
ONDERHOUD
2 Ventilatorschoepen op het vliegwiel.
3 Koelflenzen op de cilinder.
4 Cylinderkap (leidt de koellucht maar de cilinder).
Maak het koelsysteme een keer per week schoon met een borstel; dit moet vaker gebeuren wanner u in moeilijke omstandigheden werkt. Een vuil of verstopt koelsystem leidt tot oververhitting van de machine waardoor de cilinder en zuiger beschadigd kannen worden.
Hoekoverbrenging
De hoekoverbrenging is af fabriek bevuld met een geschiktte hooveelheid veg. Voor u de machine in gebruik neemt, moet u controleren de overbrenng voor 3/4 bevuld is met vet. Gebruik HUSQVARNA speciaalvet.

Het smeermiddel in het transmissiehuis要去 normal gezien alleen verrangen worden in geval van een reparatie.
Luchtfilter

Het luchtfilter dient regelmatig te worden schoongemaakt (stof en vuil verwijdersen) om de volgende problemen te vermijden:
- Storingen van de carburateur
Moeilijkheden bij het starten
Vermogensverlies - Onnodige slijtage van de motoronderdelen.
Abnormaal hoog brandstofverbruik

Maak het filter na 25 werkuren schoon of vaker wanner u in abnormaal stoffige omstandigheden werkt.
Luchtfilter schoonmake
Demonteer het cilinderdeksel en verwijder het filter. Maak het schoon in een warm sopje van water en zeep.
Controleer of het filter droog is voor u het terugplaatst.
Na een lange gebruksperiode kan het luchtfilter Niet meer worden gereinigd. Daarom moet het filter regelmatig verwangen worden. Een beschadigd luchtfilter要去 algijd verwangen worden.
Wordt de machine onder stoffige omstandigheden gebruikt, moet het luchtfilter geolied worden. Zie de aanwijzingen in het hoofdstuk Luchtfilter oliën.
Luchtfilter oliën

Gebruik altijd HUSQVARNA filterolie, artikelnr. 531 00 92-48. De filterolie bevat een oplosmiddel zodat het makkelijk gelijkmatig in het filter kan worden verdeld. Vermijd aanom contact met de huid.
Doe het filter in een plastic zak en giet de filterolie erbij.
Kneed de plastic zak om de olie te verdelen. Knijp het filter in de plastic zak uit en giet de overgebleven olie weg voordat het filter op de machine worden gemonteerd.
Gebruik nooit gewone motorolie. Deze zakt zeer snel door het filter waar beneden en blijft dan op de bodem liggen.

Bougie

De volgende factoren zijn van invloed op de conditie van de bougie:
- Een incorrecte afstelling van de carburateur.
- Een verkeerd oliemengsel in de brandstof (te veel of verkeerde olie).
- Een vuil luchtfilter.
Deze factoren verooorzaken afzettingen op de elektroden van de bougie, wat tot motordefecten en startmoeilijkeden kan leiden.
Wanneer de machine te weinig vermogen heeft, moeilijk start of onregelmatig onbelast draait, dient u altijd eerst de bougie te controlleren voor u andere maatregelen neemt. Maak de bougie schoon als ze verstoit is en controllerer of de afstand:tussen de elektronen 0,5mm bedraagt. De bougie要去 een maand gebruik, of eeder indien nodig, verrangen worden.

N.B.! Gebruik steeds het correcte bougietype! Andere types können de zuiger/cilinder beschadigen. Zorg ervoor dat de bougie zag. radio-ontstoring heeft.
Onderhoudsschema
Hieronder volgt een lijst van het onderhoud dat aan de machine moet worden uitgevoerd. De meeste punten staan beschrenen in het hoofdstuk Onderhoud. De gebruiker mag alleen die onderhouds- en servicewerkzaamhedenuitvoeren die in deze gebruksaanwijzing worden beschrenve. Meer ingrijpende maatregelen要去en door een erkende serviceworkplaats worden uitgevoerd.
| Onderhoud | Dagelijks onderhoud | Wekelijks onderhoud | Maandelijks onderhoud |
| Maak de machine uitwendig schoon. | X | ||
| Controler of het draagstel Niet beschadigd is. | X | ||
| Controler of het ophangoog Niet beschadigd is. | X | ||
| Controler of de gashendelvergrendeling en de gashendel goed werken uit verilgheidsoogpunt. | X | ||
| Controler of de stopschakelaar werkt. | X | ||
| Controler of het handvat en het stuur heel+zijn en goed vast zitten. | X | ||
| Controler of de snijuitrusting Niet roeteert bij stationair draaien. | X | ||
| Maak het luchtfilter schoon. Vervang het indien nodig. | X | ||
| Controler of de beschemkap Niet beschadigd is en geen barsten vertoont. Vervang de beschemkap als ze gebarsten is of slagen te verduren gehadeft. | X | ||
| Controler of het blad goed gecentreerd is, scherp is en geen barsten vertoont. Een slecht gecentreerd blad veroorzaakt trillingen die de machine kunnen beschadigen. | X | ||
| Controler of de trimmerkop onbeschodig is en geen barsten vertoont. Vervang de trimmerkop indien nodig. | X | ||
| Controler of de borgmoer van de snij-uitrusting goed is vastgedraaid. | X | ||
| Controler of de bouten en moeren en vastgedraaid zich. | X | ||
| Controler of er brandstof lekt uit motor, tank of brandstofleidingen. | X | ||
| Controler of de transportbeschemkap van het blad Niet beschadigd is en of ze goed kan vastgezet worden. | X | ||
| Controler de starter en het starterkoord. | X | ||
| Controler of de trillingsdempingselementen Niet beschadigd zich. | X | ||
| Maak de bougie uitwendig schoon. Verwijder hem en controller de afstandussen de elektroden. Stel de afstand in op 0,5 mm of verrang de bougie. Zorg ervoor dat de bougie zag. radio-ontstoring heeft. | X | ||
| Maak het koelsystem van de machine schoon. | X | ||
| Maak het vondenopvangnet van de geluidemper schoon of verrang het (geldt alleen bij geluidempers zonder katalysator). | X | ||
| Maak de buitenkant van de carburateur en de directe omgeving van de carburateur schoon. | X | ||
| Controler of de haakse overbrengging voor 3/4 gemuld is met smeermiddel. Vul indien nodig bij met speciaal vet. | X | ||
| Controler of het brandstofffilter Niet is verontreinigd en of de brandstoffleiding geen barsten of andere defecten vertoont. Vervang indien ditoodzakelijk is. | X | ||
| Controler alle kabels en aansluitingen. | X | ||
| Controler de koppeling, de koppelingsveren en koppelingsstrommel op slijtage. Laat indien nodig bij een erkende serviceworkplaats verrangen. | X | ||
| Vervang de bougie. Zorg ervoor dat de bougie zag. radio-ontstoring heeft. | X | ||
| Controler het vondenopvangnet van de geluidemper en maak het eventueel schoon (geldt alleen bij geluidempers met katalysator). | X |
TECHNISCHE GEGEVENS
Technische gegevens
| Technische gegevens Motor | 235R | 235FR |
| Cilinderinhoud, cm3 | 40,2 | 40,2 |
| Cilinder diameter, mm | 40 | 40 |
| Slaglengte, mm | 32 | 32 |
| Stationair toerental, t/min | 2700 | 2700 |
| Aanbevolen maximum toerental, omw./min. | 11500-12500 | 11500-12500 |
| Toerental van uitgaan as, tspm | 10000 | 10000 |
| Max. motorvermögen volgens ISO 8893, kW/ omw./min. | 1,3/9000 | 1,3/9000 |
| Geluiddempo met katalysator | Ja | Ja |
| Een toerentalgeregeld ontstekingssysteme | Ja | Ja |
| Ontstekingssystem | ||
| Bougie | NGK BPMR 7A/ Champion RCJ 7Y | NGK BPMR 7A/ Champion RCJ 7Y |
| Elektrodenafstand, mm | 0,5 | 0,5 |
| Brandstof-/smeersystem | ||
| Inhoud benzinetank, liter | 0,5 | 0,5 |
| Gewicht | ||
| Gewicht, zonder brandstof, snijuitrusting en beschemkap, kg | 7,3 | 7,3 |
| Lawaai-emissie | ||
| (zie opm. 1) | ||
| Geluidsvermögen, gemeten dB(A) | 111 | 111 |
| Geluidsvermögen, gegarandeerd LWA dB(A) | 113 | 113 |
| Geluidsniveau | ||
| (zie opm. 2) | ||
| Equivalent geluidsdrukniveau bij het oor van de gebruiker, gemeten volgens EN ISO 11806 en ISO 22868, dB(A): | ||
| Uitgerust met trimmerkop (origineel) | 96 | 96 |
| Uitgerust met grasmaaiblad (origineel) | 98 | 98 |
| Uitgerust met zaagblad (origineel) | - | 97 |
| Trillingsniveau | ||
| (zie opm. 3) | ||
| Equivalente trillingsniveauaus (ahv,eq) bij handvat, gemeten overeenkomstig EN ISO 11806 en ISO 22867, m/s2 | ||
| Uitgerust met trimmerkop (origineel), links/rechts | 5,1/4,8 | 5,1/4,8 |
| Uitgerust met grasmaaiblad (origineel), links/rechts | 5,9/3,4 | 5,9/3,4 |
| Uitgerust met zaagblad (origineel), links/rechts | - | 6,8/2,9 |
Opm.1: Emissie van geluid waar de omgeving gemeten als geluidsvermogen (L_WA) volgens EG-richtlijn 2000/14/EG. Het gerapporteerde geluidsvermögens niveau voor de machine is gemeten met de originele snijuitrusting die het hoogsteiveau geeft. Het verschil tussen het gegardeerde en het gemeten geluidsvermogen is dat het gegardeerde geluidsvermogen ook de dispersie in het meetresultaat meeneemt alsmede variabies tussen verschillende machines van hetzelfde model, conform Richtlijn 2000/14/EG.
Opm. 2: De gerapporteerde gegevens voor het equivalente geluidsdrukniveau vertonen een typische statistische spreiding (standaardafwijking) van 1 dB (A).
Opm. 3: De gerapporteerde geevens voor het equivalente trillingsniveau vertonen een typische statistische spreiding (standaardafwijking) van 1m / s^2
| Goedgekeurde accessoires 235R, 235FR | Type | Beschemkap voor de snijuitrusting, Artikelnr. |
| Centrumopening in bladen/messen Ø 25,4 mm | ||
| Schroefdraad bladas M12 | ||
| Grasmaaiblad/grasmes | Multi 255-3 (Ø 255 3-punts) | 537 33 16-01 |
| Multi 275-4 (Ø 275 4-punts) | 537 33 16-01 | |
| Multi 300-3 (Ø 300 3-punts) | 537 33 16-01 | |
| Zaagblad | Scarlet 200-22 (Ø 200 22-punts) | 537 38 77-01 |
| Kunststof messen | Tricut Ø 300 mm (losse bladen hebben stuknummer 531 01 77-15) | 537 33 16-01 / 537 34 94-01 |
| Trimmerkop | Trimmy S II (Ø 2,4-3,3 mm draad) | 537 33 16-01 / 537 34 94-01 |
| T35, T35x (Ø 2,4-3,0 mm draad) | 537 33 16-01 / 537 34 94-01 | |
| T45x (Ø 2,7-3,3 mm draad) | 537 33 16-01 / 537 34 94-01 | |
| S35 (Ø 2,4-3,0 mm draad) | 537 33 16-01 / 537 34 94-01 | |
| F35 (Ø 2,0-3,5 mm draad) | 537 33 16-01 / 537 34 94-01 | |
| Auto 55 (Ø 2,7-3,3 mm draad) | 537 33 16-01 / 537 34 94-01 | |
| Steunkop | Vast | - |
| Met kogellagers | - |
EG-verklaring van overeenstemming (Alleen geldig voor Europa)
Husqvarna AB, SE-561 82 Huskvarna, Zweden, telefoon: +46-36-146500, verklaart hierbij dat de Husqvarna motorzeisen 235FR en 235R met een serialnummer uit 2009 en verdier (het�aar met aanropvolgend het serialnummer worden duidelijk aangegeven op het productplaatje), in overeenstemming zijn met de voorschriften in de RICHTLIJN VAN DE RAAD:
- van 17 mei 2006 "betreffende machines" 2006/42/EG
- van 15 decembe 2004 "betreffende elektromagnetische compatibiliteit" 2004/108/EEC.
- van 8 mei 2000 "betreffende geluidsemissie door materieel voor gebruik buitenshuis" 2000/14/EG. Beordeling van de overeenstemming uitgevoerd volgens Bijage V.
Voor informatie betreffende lawaaiemissies, zie hoofstuk Technische gegevens.
De volgende normen zijn van toepassing: EN ISO 12100-2:2003, CISPR 12:2005, EN ISO 11806:1997
SMP Svensk Maskinprovning AB, Fyrisborgsgatan 3, SE-754 50 Uppsala, Zweden, heeft voor Husqvarna AB een vrijwillige typekeuring uitgevoerd. De certificaten hebben nummer: SEC/09/2167, 01/164/050
Bo Jonsson, Hoofd Ontwikkeling (erkende vertegenwoordiger voor Husqvarna AB en verantwoordelijk voor technische documentatione.)

| S35 | ||
| 1 | 2 | 3 |
| 4 | 5 | → |
| 6 | 7 | "Click" |
| 10 | 11 | 15 cm 6" |
| 1 | 2 | 4,25 m 14' |
| 3 | 4 | |
| 5 | ||
| A | B | |
| T35, T35x | ||
| 1 | 2 | 3 |
| 4 | 5 | → |
| 6 | 7 | "Click" |
| 9 | www.kk.com | |
| T45, T45x | ||
| 1 | 2 | 3 |
| 4 | 5 | → |
| 6 | 7 | "Click" |
| 9 | www.kk.com | |
| Auto 55 | |||
| 1 | 2 | 3 | >1,1 Kw |
| 4 | 2.7-3.3 mm 106-130" | 5 | <1,1 Kw |
| 6 | 15 cm 6" | 7 | 8 |
| 10 | 11 | ←→ | ←→ |
| Trimmy SII | |||
| 1 | 2 | 7.0 m 24.4-3.3 mm ~3.5 m 11' | "095"-130" |
| ← | 12 cm ~3.5 m | ||
| 3 | 4 | → | "Clic" |
| 5 | ~15 cm 6' | 6 | "35-50 NM |
| 8 | 9 | ||
| Trimmy SII | 1 | 2 | 3 |
| 4 | ~15 cm 6' | ~15 cm 6' | |
Originalanweisungen Instructions d'origine Originele instructies
1153284-20
SimpelGids