MODE D'EMPLOI 235 R HUSQVARNA
Manuel d'utilisation
Gebruiksaanwijzing
235R 235FR
Montage des Lenkers 13
debroussailleuses et les coupeherbes peuvent etre dangereux!
Uneutilisationerroneeou
négligente peut occasionner des blessures graves, voire mortelles
pour l'utilisateur ou d'autres
personnes. Il est extrémement important de dire et de comprendre le contenu de ce manuel de l'opérateur.
Lire attentivement et bien assimilier le manuel d'utilisation avant d'utiliser la machine.

Toujoursutiliser:
- Un casque de protection là où il y a risque de chute d'objets
- Protecteurs d'oreilles homologues
- Des protège-yeux homologues

Régime maxi. recommé de l'axe sortant, tr/min

Ce produit est conforme aux directives CE en vigueur.

max 10500 rpm
L'utilisateur de la machine doit s'assurer qu'aucune personne ou animal ne s'approche à moins de 15 mètres pendant le travail.


Les machines équipées de lames d'éclaircissage ou de disques à herbe peuvent être projetées violément d'un côté quand la lame heurte un object fixe. Ce phénomène est appelé rebond. La lame peut

amputer un bras ou une jambe. Veiller à ce que les personnes et les animaux soient toujours à au moins 15 mètres de la machine.
Flèches indiquant les limites quant à l'emplacement de la fixation de la poignée.


Toujours porter des gants de protection homologues.
Utiliser des bottes antidérapantes et stables.
Destiné uniquement à des équipements de coupe flexibles et non metalliques, c'est-à-dire les têtes de déssherbage avec fil.
Émissions sonores dans
l'environnement selon la directive de la Communaute européenne. Les émissions de la machine sont indiquées au chapitre
\section*{Caracteristiques techniques et sur les autocollants.}
Les autres symboles/autocollants présents sur la machine concernant des exigences de certification spécifique à certains marchés.
Couper le moteur avant tout contrôle ou réparation en plaçant le bouton d'arrêt sur la position STOP.
Toujours porter des gants de protection homologues.
Un nettoyage régulier est indispensable.
Examen visuel.
Le port de protège-yeux homologues est obligatoire.









SOMMAIRE
Sommaire
EXPLICATION DES SYMBOLES
Symboles 34
SOMMAIRE
Sommaire 35
Contrer les points suivants avant la mise en marche: 35
INTRODUCTION
Cher client, 36
QUELS SONT LES COMPOSANTS?
Quels sont les composants? 37
INSTRUCTIONS GÉNÉRALES DE SECURITÉ
Important! 38
Euplement de protection personelle 38
Euplement de securite de la machine 39
Equipement de coupe 42
MONTAGE
Montage du guidon 45
Position de transport, guidon 45
Montage de I'équipement de coupe 46
Montage du protège-lame, de la lame à herbe et du couteau à herbe 46
Montage du protège-lame et de la lame d'éclaircissage 46
Montage de la protection de la tete et de la tete de désherbage Trimmy SII 47
Montage des autres protections et équipements de coupe 48
Adaptation du harnais et de la débroussailleuse. 48
MANIPULATION DU CARBURANT
Sécurité carburant 50
Carburant 50
Remplissage de carburant 51
DÉMARRAGE ET ARRÉT
Contrôles avant la mise en marche 52
Demarrage et arrét 52
TECHNIQUES DETRAVAIL
Méthodes de travail 54
ENTRETIEN
Carburateur 59
Silencieux 60
Système de refroidissement 60
Renvoi d'angle 61
Filtre à air 61
Bougie 62
Scheme d'entretien 63
CHARACTERISTIQUES TECHNIQUES
Caracteristiques techniques 64
Assurance de conformité UE 65
Contrôler les points suivants avant la mise en marche:
Lire attentivement le manuel d'utilisation.

AVERTISSEMENT! Une exposition prolongée au bruit risque de causeur des lésions auditives permanentes. Toutjours utiliser des protecteurs d'oreille agreeés.

AVERTISSEMENT! Ne jamais modifier sousaucen pretexte la machine sans I'autorisation du fabricant. N'utiliser que des accessoires et des pieces d'origine. Des modifications non autoriseses et I'emploi d'accessoires non-hologues peuvent provoquer des accidents graves et meme mortels, a I'utilisateur ou d'autres personnes.

AVERTISSEMENT! Utilisés de manière négligente ou erroneé, les débroussaillées et les coupe-herbes peuvent开发商 des outils dangereux pouvant occasionner des blessures graves, voire mortelles pour l'utiliséur ou d'autres. Il est très important de dire attentioné et de bien comprendre les instructions contenues dans ce mode d'emploi.
Cher client,
Félicitations pour ce choix d'un produit Husqvarna. Husqvarna a vu le jour en 1689 lorsque le roi Karl XI décidée de construire un arsenal pour la fabrication des mousquets au bord de la rivière Huskvarna. Le choix de l'emplacement était logique puisque la rivière Huskvarna servait à produit de l'énergie hydraulique et constituait donc une sorte de centrale hydraulique. En plus de 300 ans d'existence, l'usine Husqvarna a fabriqué de nombreux produits, depuis les ciusinières à bois jusqu'àux équipements de cuisine modernes, sans outlier les machines à coudre, les bicyclettes, les motos, etc. La première tondeuse à moteur a été lancée en 1956, suivie en 1959 de la première tronçonneuse. C'est dans ce secteur que Husqvarna est actif aujourd'hui.
Husqvarna est aujourd'hui un des plus grands fabricants du monde de produits destinés à l'entretien des forets et des jardins. La qualité et les performances sont nos priorités. Notre concept d'affaires est de développement, fabriquer et commercialiser des produits à moteur pour l'entretien des forets et des jardins et pour les entreprises de construction et d'aménagement des sols. L'objectif d'Husqvarna est aussi d'être à la pointe du progrès en matière d'ergonomie, de facilité d'utilisation, de sécurité et de protection de l'environnement; un grand nombre d'innovations ont été développées pour améliorer les produits dans ces domains.
Nous sommes persuadés que vous approucem que la qualité et les performances de nos produits pendant de longues années. L'achat d'un de nos produits vous garantit une assistance professionnelle au niveau du service et des réparations en cas de besoin. Si la machine n'a pas été achetée chez un de nos revendeurs autorisés, demandez à un revendeur l'adresse de l'atelier d'entretien le plus proche.
Nous espérons que cette machine vous donnera toute satisfaction et qu'elle vous accompagnera pendant de longues années. N'oubliez pas que ce manuel d'utilisation est important. En suivant les instructions qu'il contient (utilisation, révision, entretien, etc.), il est possible d'allonger considérablement la durée de vie de la machine et d'augmenter sa valeur sur le marché de l'occasion. En cas de vente de la machine, ne pas oublier de remettre le manuel d'utilisation au nouveau propretaire.
Nous you remercions d'utiliser un produit Husqvarna !
Husqvarna AB travaille continuèlement au développement de ses produits et se réserve le droit d'en modifier, entre autres, la conception et l'aspect sans préavis.

Quels sont les composants?
1 Lame
2 Ravitation en lubrifient, renvoi d'angle
3 Renvoi d'angle
4 Protection pour l'équipement de coupe
5 Tube de transmission
6 Guidon
7 Commande de l'accelération
8 Bouton d'arrêt
9 Blocage de l'accelération
10 Suspension du harnais
11 Capot de cylindre
12 Poignée de lanceur
13 Réservoir d'essence
14 Commande de starter
15 Pompe a carburant
16 Carter de filtré à air
17 Réglage de poignée
18 Contre-écrou
19 Bride de support
20 Bol de garde au sol
21 Toc d'entrainment
22 Tete de désherbage
23 Clé pour l'écrou de lame
24 Manuel d'utilisation
25 Dispositif de protection pour le transport
26 Clé à six pans
27 Goupille d'arrêt
28 Harnais
29 Bouton de l'accelération au démarrage
Important!
IMPORTANT!
La machine n'est construite que pour le désherbage, le débroussaillage et/ou le déblayage forestier.
Les seuls accessoires pouvant utiliser le moteur comme source motrice sont les équipements de coupe que nous recommendons au chapitre Caracteristiques techniques.
Éviter d'utiliser la machine en cas de fatigue, d'absorption d'alcool ou de prise de médicaments susceptibles d'affector l'acuité visuelle, le jugement ou la maitrise du corps.
Utiliser les équipements de protection personnelle. Voir au chapitre "Equipement de protection personnelle".
Ne jamais utiliser une machine qui a été modifiée au point de ne plus être conforme au modele original.
Ne jamais utiliser une machine qui n'est pas en parfait état de marche. Suivre dans ce manuel d'utilisation les instructions de maintenance, de contrôle et d'entretien. Certaines mesures de maintenance et d'entretien doivent être confiées à un spécialiste dûment formé et qualifié. Voir au chapitre Entretien.
Tous les capots, toutes les protections et toutes les poignées doivent avoir été montées avant d'utiliser la machine. Vérifier que le capuchon de la bougie et le cable d'allumage sont en bon état afin d'éliminer tout risque de chocoléctrique.
L'utilisateur de la machine doit s'assurer qu'aucune personne ou animal ne s'approche à moins de 15 mètres pendant le travail. Lorsque plusieurs utilisateurs travaillant dans une même zone, il convient d'observer une distance de sécurité égale au moins au double de la longueur de l'arbre, mais jamais moins de 15 mètres.

AVERTISSEMENT! Cette machine générale un champ electromagnétique en fonctionnement. Ce champ peut dans certaines circonstances perturber le fonctionnement d'implants médicaux actifs ou passifs. Pour réduire le risque de blessures graves ou mortelles, les personnes portant des implants Médicaux doivent consulter leur médecin et le fabricant de leur implant avant d'utiliser cette machine.

AVERTISSEMENT! Faire tourner un moteur dans un local fermé ou mal aéré peut cause la mort par asphyxie ou empoisonnement au monoxyde de carbone.
Équipement de protection personnelle
IMPORTANT!
Utilisés de manière néligente ou erronée, les débroussailleuses et les coupe-herbes peuvent开发商 des outils dangereux pouvant occasionner des blessures graves, voire mortelles pour l'utilisateur ou d'autres. Il est très important de dire attentivement et de bien comprendre les instructions contenues dans ce mode d'emploi.
Un équipement de protection personnelle homologué doit impératifement être utilisé lors de tout travail avec la machine. L'équipement de protection personnelle n'élimine pas les risques mais réduit la gravité des blessures en cas d'accident. Demander conseil au concessionnaire afin de désirir un équipement ajustat.

AVERTISSEMENT! Soyez toujours attenifs aux signaux d'alerte ou aux appelns en portand des protège-oreilles. Enlevez-les sitot le moteur arrete.
CASQUE
Utiliser un casque si les troncs à sectionner font plus de 2 m de haut.

PROTEGE-OREILLES
Porter des protège-oreilles ayant un effet attenuateur suffisant.

PROTEGE-YEUX
Toujours porter des protège-yeux homologues. L'usage d'une visière doit toujours s'accompagner du port de lunettes de protection homologuées. Par lunettes de protection homologuées, on entend celles qui sont en conformité avec les normes ANSI Z87.1 (États-Unis) ou EN 166 (pays de l'UE).


GANTS
Au besoin, utiliser des gants, notamment lors du montage de l'équipement de coupe.

BOTTES
Utiliser des bottes avec coquille en acier et semelle antidérapante

HABITS
Porter des vêtements fabriqués dans un matériel résistant à la déchirure, éviter les vêtements excessivement amples qui risqueraient de se prend dans les broussailles et les branches. Toutjours utiliser des pantalons longs et robustes. Ne pas porter de bijoux, de shorts ou de sandales, et ne pas marcher pieds-nus. Veiller à ce que les cheveux ne tombent pas sur les épaules.
PREMIERS SECOURS
Une trousse de premiers secours doit toujours être disponible.

Équipement de sécurité de la machine
Ce chapitre présente les équipements de sécurité de la machine, leur fonction, comment les utiliser et les doivent en bon état. Voir au chapitre Quels sont les composants? pour才知道 leur emplacement sur la machine.
La durée de vie de la machine risque d'être écourtee et le risque d'accidents accru si la maintenance de la machine n'est pas effectuee correctement et si les mesures d'entretien et/ou de réparation ne sont pas effectuees de manière professionnelle. Pour obtaining de plus amples
informations, contacter l'atelier de réparation le plus proche.
IMPORTANT!
L'entretien et la réparation de la machine exigent une formation spéciale. Ceci concerne particulièrement l'équipment de sécurité de la machine. Si les contrôles suivants ne donnent pas un résultat positif, s'adresser à un atelier spécialisé. L'achat de l'un de nos produits offre à l'acheteur la garantie d'un service et de réparations qualifiées. Si le point de vente n'assure pas ce service, s'adresser à l'atelier spécialisé le plus proche.

AVERTISSEMENT! Ne jamais utiliser une machine dont les équipements de sécurité sont défectueux. Contrôler et entretenir les équipements de sécurité de la machine conformément aux instructions données dans ce chapitre. Si les contrôle ne donnent pas de résultat positif, confier la machine à un atelier spécialisé.
Blocage de l'accelération
Le blocage de l'accelération a pour but d'empêcher toute accélération involontaire. Une fois le roiet (A) enforcé dans la poignée (= en tenant celle-ci), la commande de l'accelération (B) se trouve libérée. Quand la poignée est reliachée, la commande de l'accelération et le roiet reviennent en position initiale, Ce retour en position initiale s'effectue grâce à deux ressorts de rappel indépendants. Cette position signifie que la commande d'accelération est alors automatiquement bloquée sur le ralenti.

Vérifier d'abord que la commande de l'accelération est bloquée en position de ralenti quand le blocage de l'accelération est en position initiale.

Appuyer sur le blocage de l'accelération et vérifier qu'il revient de lui-même en position initiale quand il est relâché.

Vérifier que le blocage de l'accelération, la commande d'accelération et leurs ressorts de rappel fonctionnent correctement.

Voir le chapitre Démarrage. Démarrer la machine et donner les pleins gaz. Relâcher l'accéléateur et s'assurer que l'équipement de coupe s'arrête et qu'il reste immobile. Si l'équipement de coupe tourne lorsque l'accéléateur est au régime de ralentit, contrôle le réglage du ralenti du carburateur. Voir le chapitre Entretien.


Bouton d'arrêt
Le bouton d'arrêt est utilisé pour arrêter le moteur.

Mettre le moteur en marche et s'assurer qu'il s'arrête lorsque le bouton d'arrêt est amné en position d'arrêt.
Protection pour l'équipement de coupe

Cette protection a pour but d'empêcher que des objets ne soient projétés en direction de l'utilisateur. La protection prévient aussi le contact entre l'utilisateur et l'équipement de coupe.

S'assurer que la protection est intense et qu'elle ne presente pas de fissures. Remplacer la protection si elle a subi des coups ou si elle presente des fissures.
Toujours utiliser la protection recommandée prévue pour l'équipement de coupe en question. Voir Caracteristiques techniques.

AVERTISSEMENT! Un équipement de coupe ne peut enaucun cas etreutilise si une protection homologuée n'as pas ete prealablement montee.Voir le chapitre Caracteristiques techniques.La mise en place d'une protection erronee ou defectueuse peut provoquer des blessures graves.
Système anti-vibrations

La machine est équipée d'un système anti-vibrations concu pour assurer une utilisation aussi comfortable que possible.

L'utilisation d'un fil mal enroule ou d'un équipement de coupe inadéquat augmente le niveau de vibration. Voir les instructions au chapitre Équipement de coupe.
Le système anti-vibrations réduit la transmission des vibrations de l'unité moteur/l'équipement de coupe à l'unité que constituent les poignées.

Vérifier régulièrement l'état des éléments afin de détector fissures et déformations. Vérifier que les éléments antivibrations sont entiers et solidement fixés.

AVERTISSEMENT! Une exposition excessive aux vibrations peut entrainer des troubles circulatoires ou nerveux chez les personnes sujettes à des troubles cardio-vasculaires. Consulter un médecin en cas de symptômes liés à une exposition excessive aux vibrations. De tels symptômes peuvent être: engourdissement, perte de sensibilité, chatouillements, picotements, douleur, faiblesse musculaire, décoloration ou modification epidermique. Cesymptômes affectent généralement les doigts, les mains ou les poignets. Les risques peuvent augmenter à basses températures.
Libération rapide
Sur le devant du harnais se trouve une plaque pectorale à libération rapide constituent une bonne sécurité au cas où le moteur prendrait feu ou dans l'eventualité d'une situation nécessitant de rapidement se libérer de la machine et du harnais. Voir les instructions au chapitre Adaptation du harnais et de la débroussailleuse. Certains harnais sont également équipés d'une plaque pectorale à libération rapide au niveau du crochet de suspension.

S'assurer du bon positionnement des bretelles du harnais. Quand le harnais et la machine sont ajustés, contrôler le bon fonctionnement du dispositif de libération rapide du harnais.
Silencieux



Le silencieux est concu pour réduire au maximum le niveau sonore et détourner les gaz d'échéppement loin de l'utilisateur. Le silencieux équipé d'un pot catalytique
est aussi concu pour réduire la teneur des gaz d'échéppement en substances toxiques.

Le risque d'incendie est important dans les pays au climat chaud et sec. C'est pourquoi nous avons équipé certains silencieux de grilles antiflamme. Vérifier si le silencieux de la machine est muni d'un tel dispositif.


En ce qui concerne le silencieux, il imports de bien suivre les instructions de contrôle, de maintenance et d'entretien.
Ne jamais utiliser une machine dont le silencieux est défectueux.

Vérifier régulierement la fixation du silencieux dans la machine.

Si le silencieux comporte une grille antiflamme, la nettoyer régulérique. Une grille colmatée résultat en un
échauffement du moteur pouvant donner lieu à de graves avaries du moteur.


AVERTISSEMENT! Un silencieux muni d'un catalyseur est très chaud aussi bien à l'utilisation qu'après arrêt. Ceci est également vraie pour le régime au ralenti. Tout contact peut causeer des brûlures à la peau. Attention au risque d'incendie!

AVERTISSEMENT! L'intérieur du silencieux contient des produits chimiques pouvant être cancérigénes. Eviter tout contact avec ces éléments si le silencieux est endommage.

AVERTISSEMENT! N'oubliez pas que: Les gaz d'échévement du moteur sont très chauds et peuvent contirn des étincelles pouvant provoquer un incendie. Par consequent, ne jamais démarrer la machine dans un local clos ou à proximite de matériaux inflammables!
Contre-écrou

Un contre-écrou est utilisé pour la fixation de certains types d'équipements de coupe.
Pose: serrer l'écrou dans le sens contraire de la rotation de l'équipment de coupe. Dépose: desserrer l'écrou dans le sens de la rotation de l'équipment de coupe. (NOTA! L'écrou est filtré à gauche.) Les dents de la lame d'éclaircissage risquent de causeur des blessures aussi bien lors du serrage que du desserrage de l'écrou de la lame. Veiller à ce que la main soit toujours protégée par le protège-lame lors de ces interventions. Tous jours utiliser une clé à douille munie d'un manche assez long. La flèche sur l'illustration indique la zone dans laquelle la clé
doit être utilisée, aussi bien pour serrer que pour desserrer l'écrou.

L'usure du verrouillage nylon du contre-écrou ne doit pas être telle qu'il peut se visser à l'aide des doigts. Le verrouillage doit résister à 1,5 Nm au moins. Remplacer le contre-écrou après une dizaine de serrages.
Équipement de coupe
Cette section explique comment, grâce à l'utilisation du bon équipement de coupe et grâce à un entretien correct:
Réduire le risque de rebond de la machine.
- Obténir la meilleure coupe possible.
Augmenter la durée de vie de l'équipement de coupe.
IMPORTANT!
N'utiliser l'équipement de coupe qu'avac la protection recommandée! Voir le chapitre Caracteristiques techniques.
Voir les instructions relatives à l'équipment de coupe pourposer correctement le fil et désirer le diamètre de fil approprié.
Maintenir les dents de la lame correctement affués! Suivre nos recommandations. Voir aussi les instructions sur l'emballage des lames.
Conserver un avoyage correct! Suivre nos instructions et utiliser le gabarit de lime recommandé.

AVERTISSEMENT! Toujours arreré le moteur avant d'entamer des travaux sur l'équipement de coupe. Celui-ci continue de tourner après qu'on a relâché l'accéléateur. S'assurer que l'équipement de coupe est complètement immobilisé et débrancher le cable de la bougie d'allumage avant de commencer l'intervention sur l'équipement de coupe.

AVERTISSEMENT! Un équipement de coupe inadéquat ou une lame mal affuêtée augmenté les risques de rebond.
Équipement de coupe
La lame d'éclaircissage est destinée au dégagement des bosquets et des arbustes.

Les lame et couteau à herbe sont destinés à la coupe de l'herbe épaissé.

La tete de désherbage est destinée au désherbage.

Régles élémentaires

N'utiliser l'équipement de coupe qu'avc la protection recommandée! Voir le chapitre Caracteristiques techniques.

Maintenir les dents de la lame correctement affuées! Suivre nos instructions et utiliser le calibre d'affutage recommendé. Une lame mal affutée ou endommagée augmente les risques d'accident.

Maintenir un avoyage correct de la lame d'éclaircissage! Suivre nos instructions et utiliser le gabarit d'affutage recommandé. Une lame d'éclaircissage mal affuée augmente le risque de blocage et de rebond ainsi que d'endommagement de la lame.

Inspector l'equipement de coupe afin de détecter d'eventuels dommages ou fissures. Toutjours replacer un équipement de coupe endommagé.

Affutage des lames et couteaux à herbe

- Voir les instructions d'affutage sur l'emballage de l'équipment de coupe. Les lames et couteaux s'affuient à l'aide d'une lime plate à taille simple.
- Limer les tranchants de manière égale afin de préserver l'équilibre.


AVERTISSEMENT! Toujour jeter une lame pliee, faussenee, fissurée, cassée ou abimée de toute autre façon. Ne jamais essayer de redresser une lame faussenée pour I'utiliser de nouveau. Utiliser uniquement des lames d'origine du modele recommendé.
Affutage de la lame d'éclaircissage

- Voir les instructions d'affutage sur l'emballage de l'équipement de coupe.
Un affutage correct de la lame est une condition indispensable pour l'obtention d'un travail efficace et pour
éviter une usure anormale de la lame et de la débroussailleuse.

- Veiller à disposer d'un support solide en affuant la lame. Utiliser une lime ronde de 5,5 mm et un support de lime.

Angle d'affutage 15^ Affuter les dents alternatively a droite et a gauche. Si les dents sont sereusement emoussees, il peut s'aver necessaire, exceptionnellement, de limer leur partie supérieure avec une lime plate. Dans ce cas, effectuer cette operation avant de commencer l'affutage avec la lime ronde. La partie supérieure des dents doit etre limée de maniere identique sur toutes les dents.

Ajuster I'avoyage. Il doit etre de 1 mm.

Tete de désherbage
IMPORTANT!
Veiller à ce que le fil du coupe-herbe soit toujours enroule de manière serrer et régulière autour du tambour, autrement la machine produit des vibrations dangereuses pour la santé.
N'utiliser que les têtes de désherbage et les fils recommandés. Ils ont été testés par le fabricant pour aller de pair avec une certaine puissance de moteur. Ceci est d'autant plus important lors de l'utilisation d'une tête de désherbage entièrement automatique. N'utiliser que l'équipment de coupe recommandé. Voir le chapitre Caracteristiques techniques.

- En général, les petites machines demandent des petites têtes de désherbage, et vice versa. Ce vient du fait que lors du désherbage au moyen de fils, le moteur doit éjecter le fil radialement depuis la tête de désherbage tout en affrontant la résistance de l'herbe à couper.
- La longueur du fil est également importante. Un fil long demande un moteur plus puissant qu'un fil court, même en cas de diamètre égal à fil.
S'assurer que le couteau monté sur le carter de protection est intact. Il sert à découvert le fil à laonne longueur.
Pour améliorer la durée de vie du fil, laisser le fil tremper dans de l'eau pendant quelques nuits. Le fil devient alors plus résistant et dure plus longtemps.
MONTAGE
Montage du guidon

- Démoner la vis à l'arrière de la poignée d'accelération.
- Enfilier la poignée d'accelération sur la partie droite du guidon (voir la figure).

- Aligner le trou de la vis de fixation de la poignée avec le trou du guidon.
- Remonter la vis à l'arrière de la poignée d'accelération.
Passer la vis à travers la poignée et le guidon. Serrer.
- Retirer les éléments de fixation de la fixation du guidon.
- Placer le guidon comme indiqué sur la figure. Monter les éléments de fixation et serrer légèrement la manette.


Monter les cables selon la figure.

- Enfilier le harnais et suspendre la machine dans le crochet de suspension. Effectuer un réglage de précision de sorte à atteoir une position de travail comfortable lorsque la machine est suspendue dans le harnais. Serrer la manette.

Position de transport, guidon
- Il est facile de replier le guidon le long du tube de transmission afin de faciliter le transport et le remisage.
- Desserrer la manette. Tourner le guidon dans le sens des aiguilles d'une montre jusqu'à ce que la poignée d'accelération se retrouve contre le moteur.
Rabattre ensuite le guidon ajust du tube de transmission. Resserrer la manette.

- Monter la protection de transport sur l'équipement de coupe.
Montage de l'équipement de coupe

AVERTISSEMENT! Lors du montage de l'equipement de coupe, il est de la plus grande importance que la commande du bras d'entrainment/de la bride de renfort soit positionné correctement dans l'ouverture centrale de l'equipement de coupe. Un équipement de coupe mal monté peut cause des blessures personnelles très graves, voire mortelles.



AVERTISSEMENT! Un équipement de coupe ne peut enaucun cas etreutilise si une protection homologuée n'as pas ete prealablement montee.Voir le chapitre Caracteristiques techniques.La mise en place d'une protection erronée ou defectueuse peut provoquer des blessures graves.
IMPORTANT! L'utilisation d'une lame d'éclaircissage ou à herbe exige que la machine soit équipée d'un guidon approprié, d'un protège-lame et d'un harnais.
Montage du protège-lame, de la lame à herbe et du couteau à herbe


- Emboiter le protège-lame/la protection combinée (A) dans la fixation du tube de transmission et fixer à l'aide d'une vis.
REMARQUE! Veiller à ce que le bouclier de protection soit démontré.
Utiliser le protège-lame recommandié. Voir le chapitre Caracteristiques techniques.
- Monter un toc d'entrainment (B) sur l'axe sortant.
- Faire tourner l'axe de la lame jusqu'à ce que l'un des trous du toc d'entrainment coïncide avec le trou correspondant du carter.
- Insérer la goupille d'arrêt (C) dans le trou afin de bloquer l'axe.
- Placer la lame (D), le bol de garde au sol (E) et la bride de support (F) sur l'axe sortant.
- Monter l'écrou (G). Serrer l'écrou au couple de serrage de 35-50 Nm (3,5-5 kpm). Utiliser la clé à douille du jeu d'outils. Tenir le manche de la clé le plus après possible du protège-lame. Serrer l'écrou en tournant la clé dans le sens de rotation (NB! filetage à gauche).

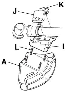
Montage du protège-lame et de la lame d'éclaircissage

- Démonter la plaque de fixation (H). Monter l'adaptateur (I) et la languette (J) à l'aide des deux vis (K) comme indiqué sur la figure. Le protège-lame (A) se monte contre l'adaptateur à l'aide de 4 vis (L) comme indiqué sur la figure.


REMARQUE! Toujours utiliser la protection recommandée prévue pour l'équipement de coupe en question. Voir Caracteristiques techniques.

- Monter un toc d'entraînement (B) sur l'axe sortant.
- Faire tourner l'axe de la lame jusqu'à ce que l'un des trous du toc d'entrainment coïncide avec le trou correspondant du carter.
- Insérer la goupille d'arrêt (C) dans le trou afin de bloquer l'axe.
- Placer la lame (D) et la bride de support (F) sur l'arbre sortant.
- Monter l'écrou (G). Serrer l'écrou au couple de serrage de 35-50 Nm (3,5-5 km). Utiliser la clé à douille du jeu d'outils. Tenir le manche de la clé le plus après possible du protège-lame. Serrer l'écrou en tournant la clé dans le sens de rotation (NB1 filetage à gauche).

- Les dents de la lame d'éclaircissage risquent de causer des blessures aussi bien lors du serrage que du desserage de l'écrou de la lame. Veiller à ce que la main soit toujours protégée par le protège-lame lors de ces interventions. Toujoys utiliser une clé à douille munie d'un manche assez long. La flèche sur l'illustration indique la zone dans laquelle la clé doit
etre utilisée, aussi bien pour serrer que pour desserrer l'écrou.

Montage de la protection de la tête et de la tete de déssherbage Trimmy SII

- Monter le carter de protection (A) destiné au travail avec la tête de désherbage. REMARQUE! Veiller à ce que le bouclier de protection soit monté.
Emboiter le carter de protection/la protection combinée (A) sur les deux crochets du support de tôle (M). Plier la protection autour du tube de transmission et serrer avec la vis (L) du côte opposé au tube de transmission. Utiliser la goupille de blocage (C). Placer la goupille de blocage dans la rainure de la tête de vis et serrer. Voir fig.

- Monter un toc d'entrainment (B) sur l'axeSORT.
- Faire tourner l'axe de la lame jusqu'à ce que l'un des trous du toc d'entrainment coïncide avec le trou correspondant du carter.
- Insérer la goupille d'arrêt (C) dans le trou afin de bloquer l'axe.
- Visser la tête de désherbage (H) dans le sens contraire de la rotation.

- Serrer la tête de désherbage selon un couple de serrage de 35-50 Nm (3,5-5 km).
Le démontage s'effectue dans l'ordre inverse.
Montage des autres protections et équipements de coupe

- Monter le carter de protection/la protection combinée (A) destiné(e) au travail avec la tête de désherbage/les couteaux en plastique. REMARQUE! Veiller à ce que le bouclier de protection soit monté.
Emboiter le carter de protection/la protection combinée (A) sur les deux crochets du support de tôle (M). Plier la protection autour du tube de transmission et serrer avec la vis (L) du côte opposé au tube de transmission. Utiliser la goupille de blocage (C). Placer la goupille de blocage dans la rainure de la tête de vis et serrer. Voir fig.

Monter un toc d'entrainement (B) sur l'axe sortant.
- Faire tourner l'axe de la lame jusqu'à ce que l'un des trous du toc d'entraînement coïncide avec le trou correspondant du carter.
- Insérer la goupille d'arrêt (C) dans le trou afin de bloquer l'axe.
- Visser la tête de désherbage/les couteaux en plastique (H) dans le sens contraire de la rotation.


Le démontage s'effectue dans l'ordre inverse.
Adaptation du harnais et de la débroussailleuse


AVERTISSEMENT! Lors de travail avec une débroussaillée,多年来 l'accrocher au harnais. Sinon, il est impossible de manipuler la débroussaillée en toute sécurité et le risque de blessures à l'utilisateur et aux autres est élevé. Ne jamais utiliser un harnais dont le dispositif de libération rapide est défectueux.
Libération rapide
Sur le devant du harnais se trouve une plaque pectorale à libération rapide constituent une bonne sécurité au cas où le moteur prendrait feu ou dans l'eventualité d'une situation nécessitant de rapidement se libérer de la machine et du harnais.

Répartition égale de la charge au niveau des épaules
Un harnais et une machine correctement adaptés facilitent considérablement le travail. Ajuster le harnais afin d'obtenir la position de travail la plus comfortable. Tendre les courroires latères pour bien répartir la charge sur les deux épaules.

Hauteur correcte
1 Déblayage forestier
Ajuster la courroie de portage de sorte que le crochet de suspension arrive a environ un dm sous les hanches. La lame doit légrement pointer vers l'avant.
2 Desherbage
Le crochet de suspension doit arrivier à environ deux dm sous les hanches, de sorte que la lame soit parallele au sol.

Equilibre correct
1 Déblayage forestier
Déplacer l'oeillet de suspension de la machine vers l'avant ou vers l'arrière. Si la lame tourne à quelques cm au-dessus du sol, il est plus simple d'éviter le contact avec des pierres.
2 Desherbage
Laisser la lame se balancer a une hauteur de coupe adequate, c.-a-d. pres du sol.

Sécurité carburant
Ne jamais demarrer la machine:
1 Si du carburant a été renversé. Essuyer soignemente toute trace et laisser les restes d'essence s'évaporer.
2 Si vous avez renversé du carburant sur vous ou sur vos vêtements, changeze de vêtements. Lavez les parties du corps qui ont ete en contact avec le carburant. Utilisez de I'eau et du savon.
3 S'il y a fuite de carburant. Vérifier régulièrement que le bouchon du réservoir et la conduite de carburant ne fuiient pas.
Transport et rangement
- Transporter et ranger la machine et le carburant de façon à éviter que toute fuite ou émanation évientuelle entre en contact avec une flamine vivie ou une étincelle: machine électrique, moteur électrique, contact/interrupteur électrique ou chaudière.
- Lors du stockage et du transport de carburant, toujours utiliser un réseau homologué et conçu à cet effet.
- Lors des remisages de la machine, vider le réserve de carburant. S'informer auprès d'une station-service comment se débarrasser du carburant résiduel.
- Avant de remisser la machine pour une période prolongée, veiller à ce qu'elle soit bien nettoyée et que toutes les mesures d'entretien aient été effectuées.
- Lors du stockage et du transport de la machine, toujours utiliser la protection de transport de l'équipement de coupe.
- Sécurisez la machine pendant le transport.

AVERTISSEMENT! Manipuler le carburant avec précaution. Penser aux risques d'incendie, d'explosion et d'inhalation.
Carburant
REMARQUE! La machine est équipée d'un moteur deux temps et doit toujours être alimentée avec un mélange d'essence et d'huile deux temps. Afin d'obtenir un mélange approprié, il est important de mesurer avec précision la quantité d'huile à mélanger. Pour le mélange de petites quantités de carburant, la moindre erreur peut sérieusement affecter le rapport du mélange.

AVERTISSEMENT! Le carburant et les vapeurs de carburant sont très inflammables et peuvent cause des blessures graves en cas d'inhalation ou de contact avec la peau. Il convient donc d'observer la plus grande prudence lors de la manipulation du carburant et de veiller à disposer d'une bonne aération.
Essence

REMARQUE! Toujours utiliser une essence de qualité d'au moins 90 octanes (RON) mélangée avec de l'huile. Si la machine est équipée d'un pot catalytique (voir Caracteristiques techniques), n'utiliser que de l'essence sans plomb de qualité mélangée à de l'huile. Une essence au plomb détruirait le pot catalytique.
Choisissez de l'essence ecologique (alkylat) si vous pouvez vous en procurer.

Le tau d'octane minimum recommanded est de 90 (RON). Si I'on fait tourné le moteur avec une essence d'un tau d'octane inférieur à 90, un cognement risque de se produit, résultat en une augmentation de la température du moteur pouvant cause de graves avaries du moteur.
- Si on travaillée en permanence à des régimes élevés, il est conseilé d'utiliser un carburant d'un indice d'octane supérieur.
Huile deux temps
Pour obtenir un fonctionnement et des résultats optimaux, utiliser une huile moteur deux temps HUSQVARNA fabriquee spécialement pour nos moteurs deux temps à refroidissement à air.
- Ne jamais utiliser d'huile deux temps pour moteurs hors-bord refroidis par eau, appelée huile outboard (désignation TCW).
- Ne jamais utiliser d'huile pour moteurs à quatre temps.
- Une huile de qualité médiocre ou un mélange huile/ carburant trop riche risquent demettre en périt le fonctionnement du pot catalytique et d'en réduire la durée de vie.
Rapport de melange 1:50 (2%) avec hUILde deux temps HUSQVARNA. 1:33 (3%) avec d'autres hUILles conques pour des moteurs deux temps a refroidissement par air classes pour JASO FB/ISO EGB.
| Essence, litres | Huile deux temps, litres |
| 2% (1:50) | 3% (1:33) |
| 5 | 0,10 | 0,15 |
| 10 | 0,20 | 0,30 |
| 15 | 0,30 | 0,45 |
| 20 | 0,40 | 0,60 |
Mélange
- Toutjours effectuer le mélange dans un recipient propre et destiné àContaining de l'essence.
- Toujours commencer par verser la moitié de l'essence à mélanger. Verser ensuite la totalité de l'huile. Mélanger en secouant le écipient. Enfin, verser le reste de l'essence.
- Mélanger (secouer) soigneusement le mélange avant de faire le plein du réservoir de la machine.



- Ne jamais préparer plus d'un mois de consommation de carburant à l'avance.
- Si la machine n'est pas utilisé pendant une longue période, vidanger et nettoyer le réservoir.

AVERTISSEMENT! Le pot d'échémpement à catalyseur est très chaud pendant et après le service. C'est également vrai pour le ralenti. Soyez attentif au risque d'incendie, surtout à proximite de produits inflammables et/ou en présence de gaz.
Remplissage de carburant


AVERTISSEMENT! Les mesures de sécurité ci-dessous réduisent le risque d'incendie:
Ne jamais fumer ni placer d'objet chaud à proximé du carburant.
Ne jamais faire le plein, moteur en marche.
Arrer le moteur et le laisser refroidir pendant quelques minutes avant de faire le plein.
Ouvrir le bouchon du réservoir lentement pour laisser baisser la surpression pouvant regner dans le réservoir.
Serrer soigneusement le bouchon du réservoir après le replissage.
Toujours éloigner la machine de l'endetroit ou le plein a été fait avant de la mette en marche.
Utiliser un bidon d'essence comportant un dispositif d'arrêt de replissage automatique.
- Nettoyer le pourtour du bouchon de réserve. Les impuretés dans le réserve causent des troubles de fonctionnement.
- Bien mélanger le carburant en agitant le écipient avant de replir le réservoir.

Contrôles avant la mise en marche

- Contrôler la lame afin de détecter d'eventuelles fissures au niveau des dents et du trou central. Les raisons les plus fréquentes de la présence de fissures sont la formation decoins pointus lors de l'affutage et l'utilisation d'une lame aux dents émoussées. Si des fissures sont constatées,mettre la lame au rebut.

- S'assurer que la bride de support ne présente pas de fissures par suite d'usure ou de serrage trop fort. En cas de fissures,mettre la bride de support au rebut.

S'assurer que le contre-écrou n'a pas perdu son pouvoir bloquant. Le contre écrou doit résister à au moins 1,5 Nm. Le couple de serrage du contre-écrou doit être de 35-50 Nm.

- Contrôler le protège-lame afin de détecter d'eventuels dommages ou fissures. Remplacer le protège-lame s'il a subi des dommages ou s'il présente des fissures.

- Contrôler la tête de désherbage et le carter de protection afin de détecter d'eventuels dommages ou fissures. Remplacer la tête de désherbage ou le
carter de protection si l'un ou l'autre a subi des dommages ou presente des fissures.

- Ne jamais utiliser la machine sans protection ou avec une protection défectueuse.
- Tous les carters doivent être correctement montés et sans défaut avant le démarrage de la machine.
Démarrage et arrêt


AVERTISSEMENT! Un carter d'embrayage complet avec tube de transmission doit etre monte avant de demarrer la machine, sinon l'embrayage risque de lacher et de provoquer des blessures.
Toujours éloigner la machine de l'endetroit ou le plein a été fait avant de la dette en marche. Placer la machine sur une surface plane. S'assurer que l'équipement de coupe ne risque pas de rencontres un obstacle.
Veiller à ce qu'aucune personne non autorisée ne se trouve dans la zone de travail pour éviter le risque de blessures graves. Distance de sécurité: 15 metres.
Moteur froid
Allumage: Mettre le contacteur d'arrêt en position de démarrage.
Starter: Tirer la commande de starter.

Pompe à carburant: Appuyer sur la poche en caoutchouc de la pompe à carburant plusieurs fois
jusqu'acé que le carburant commence à replir la poche. Il n'est pas nécessaire de replir la poche complètement.

Moteur chaud
Allumage: Mettre le contacteur d'arrêt en position de démarrage.
Starter: La position d'accelération de démarrage s'obtient en mettant la commande de starter en position starter, puis en le ramenant en position initiale.

Pompe à carburant: Appuyer sur la poche en caoutchouc de la pompe à carburant plusieurs fois jusqu'à ce que le carburant commence à replir la poche. Il n'est pas nécessaire de replir la poche complètement.


AVERTISSEMENT! Lorsque le moteur est démarré avec la commande de starter en position starter/accelerateur, l'équipment de coupe commence à tournier immidiatement.
Demarrage

Plaquer la machine contre le sol à l'aide de la main gauche (NOTA! Pas à l'aide du pied!). Saisir ensuite la poignée de démarrage de la main droite et tirer lentement sur le lanceur jusqu'à ce qu'une résistance se fasse sentir (les cléques d'entrainment grippent), puis tirer énergiquement et rapidement sur le lanceur.
Remetre la commande de starter en position initiale dés que le moteur s'allume et continuer les essais de démarrage jusqu'à ce que le moteur démarre. Au démarrage du moteur, donner rapidement les pleins gaz pour désactiver automatiquement l'accélération de démarrage.

REMARQUE! Ne pas sortir complètement la corde du lanceur et ne pas lâcher la poignée avec la corde du lanceur complètement sortie. Cela pourrait endommager la machine.
Pour poignée d'accelération avec blocage de l'accelération au démarrage:
Pour passer sur la position accélération au démarrage, appuyer d'abord sur le blocage de la commande d'accélération et la commande d'accélération, puis appuyer sur le bouton de l'accélération au démarrage (A). Relâcher ensuite le blocage de la commande d'accélération et la commande d'accélération, puis le bouton de l'accélération au démarrage. La fonction d'accélération au démarrage est maintainant activée. Pour faire repasser le moteur au ralenti, appuyer sur le blocage de la commande d'accélération et la commande d'accélération.

Arret

Pour arrête le moteur, couper l'allumage.

Méthodes de travail
IMPORTANT!
Ce chapitre traite des consignes de sécurité de base lors du travail avec une débroussailleuse ou un coupeherbe.
Dans l'eventualité d'une situation rendant la suite du travail incertaine, consulter un expert. S'adresser au revendeur ou à l'atelier de réparation.
Évitez les tâches pour lesquelles vous ne vous sentez pas suffisamment qualifié.
Avant l'utilisation, il est essentiel de comprendre la différence entre le déblayage forestier, le débroussaillage et le désherbage.
Règles élémentaires de sécurité

1 Bien observer la zone de travail:
S'assurer qu'aucune personne,aucun animal ou aucune autre facteur ne risque de generate l'utiliser de la machine.
- Afin d'évitier que des personnes, des animaux ou autre n'entrent en contact avec l'équipment de coupe ou avec des objets lancés par celui-ci.
- REMARQUE! Ne jamais utiliser une machine s'il n'est pas possible d'appeler au secours en cas d'accident.
2 Inspector la zone de travail. Retirer tous les objets tels que les pierres, les morceaux de verre, les clous, les fils de fer, les bouts de ficelle, etc. pouvant etre projetés ou risquant de bloquer l'équipment de coupe.
3 Ne pas travailler par mauvais temps: brouillard épais, pluie diluvienne, vent violent, grand froid, etc. Travailler par mauvais temps est cause de fatigue et peut même être dangereux: sol glissant, direction de chute d'arbre modifiée, etc.
4 S'assurer de pouvoir se tenir et se déplacer en toute sécurité. Repérer les évventuels obstacles en cas de déplacement imprévu:ouches, pierres, branchages,
fondrières, etc. Observer la plus grande prudence lors de travail sur des terrains en pente.

5 Observer la plus grande prudence lors de l'abattage des arbres sous tension. Avant et après le sciage, les arbres sous tension risquent de brutelement retrouver leur position initiale. Un mauvais placement de l'utilisateur ou de l'entaille d'abattage peut entraîner un chic avec l'arbre pouvant résultat en une chute ou en une perte du contrôle de la machine. Ces deux cas de figure sont susceptibles de provoquer des blessures graves.

6 Soyez bien en équilibre, les pieds d'aplomb.
7 Toujours tenir la machine avec les deux mains. Tenir la machine du cote droit du corps.

8 L'équipment de coupe doit se trouver sous la taille de l'utilisateur.
9 Lors des déplacements, arrêté le moteur. Lors des déplacements longs et des transports, utiliser le dispositif de protection prévu à cet effet.
10 Ne jamais placer la machine sur le sol avec le moteur en marche sans pouvoir la surveiller.
L'ABC du déblayage
- Toujours utiliser un équipement ajustat.
- Toujours utiliser un équipement correctement adapté.
- Respecter les consignes de sécurité.
- Bien organiser le travail.
Lorsque la lame est appliquée sur le tronc, toujours faire tourner le moteur à plein régime.
- Toujours utiliser des lames correctement affuées.
- Eviter la taille de pierres.
- Contrôler le sens d'abattage (se servir du vent).

AVERTISSEMENT! Ni l'utilisateur de la machine, ni qui que ce soit ne doit essayer de retirer le matériel végétal coupé tant que le moteur ou l'équipment de coupe tourne, sous peine de blessures graves.
Arrête le moteur et l'équipement de coupe avant de retirer le matériel végétal qui s'est enroule autour de l'axe de la lame, sous peine de blessures. Àpres l'utilisation, le rengoit d'angle peut être chaud pendant un moment. Risque de brûlures au contact.

AVERTISSEMENT! Attention aux objets projétés. Toujours utiliser des protections homologuees pour les yeux. Ne jamais se pencher au-dessus de la protection de I'équipment de coupe. Des cailloux, débris, etc. peuvent être projétés dans les yeux et causer des blessures très graves, voir la cécité.
Maintenir à distance toutes les personnes non concernées par le travail. Les enfants, les animaux, les spectateurs et les collégues de travail devront se trouver en dehors de la zone de sécurité, soit à au moins 15 mètres. Arrête immédiatement la machine si une personne s'approche. Ne tournez jamais sur vous-même avec la machine sans vous assurer d'abord que personne ne se trouve dans la zone de sécurité.

AVERTISSEMENT! Il arrive que des branches ou de l'herbe se coince entre la protection et l'équipement de coupe. Toutjour arrêté le moteur avant de proceder au nettoyage.
Méthodes de travail

AVERTISSEMENT! Les machines equipées de lames d'éclaircissage ou de disques à herbe peuvent être projétées violément d'un côté quand la lame heurte un objet fixe. Ce phénomène est appelé rebond. Un rebond peut être suffisamment violent pour projetier la machine et/ou l'opérateur dans une direction qualconque et faire perdre le contrôle de la machine à l'opérateur. Les rebonds se produit sans prévenir si la machine s'accroche sur un objet, cale ou se bloque. Un rebond est plus apte à se produit dans des zones où il est difficile de voir le matériel coupé.
Eviter d'utiliser la plage 12 h - 15 h de la lame. Du fait de la vitesse de rotation de la lame, c'est justement sur cette plage que I'éjection d'objets risque de se produit lorsque la lame est appliquée sur des troncs plus écais.
- Avant de commencer le déblayage, vérifier le terrain à déblayer, la nature du terrain, l'inclinaison du sol, la présence de cailloux, de fossett, etc.
- Commencer par le côte du terrain le plus facile à déblayer afin d'obtenir une bonne ouverture de déblayage.
- Travailler systématique en allant et en venant sur le terrain sur une largeur de travail de 4-5 mètres. Ainsi, le rayon d'action total de la machine est utilisé, dans les deux sens, et l'utilisateur bénéficiaie d'un domaine de travail facile et variable.

- La distance à parcourir doit être d'environ 75 m. Déplacer le stock de carburant en fonction de l'avancement du travail.
- Si le terrain est en pente, déterminer le parcours de manière qu'il soit perpendiculaire à la pente. Il est beaucoup moins fatiguant de marcher en travers d'une pente,只不过 que de la descendre et de la remonter constamment.
Le parcours doit être déterminé de manière à éviter les fossés et autres obstacles du terrain. Adapter
également le parcours en fonction du vent afin que les troncs déblayés tombent dans la partie déjà déblayée.

Déblayage forestier avec une lame d'éclaircissage



- En présence de troncs épais, les risques de rebond sont plus importantes. Éviter donc de scier au niveau de la plage 12 h - 15 h de la lame.

Pour que l'arbre tombe vers la gauche, la partie inférieure de l'arbre doit être aménée vers la droite. Incliner la lame et la déplacer vers le bas, à droite, d'un mouvement décidé. Simultanément, pousser le tronc à l'aide du protège-lame. Appliquer la lame contre le tronc au niveau de la plage 15h - 17h de la lame. Passer au plein régime avant d'apposer la lame sur le tronc.


Pour que l'arbre chute vers la droite, la partie inférieure de l'arbre doit être aménée vers la gauche. Incliner la lame et la déplacer vers le haut, à droite. Appliquer la lame contre le tronc au niveau de la plage 15 h -17 h de la lame afin que le sens de rotation de
la lame amène la partie inférieure de l'arbre vers la gauche.


Pour faire chuter l'arbre en avant, tirer la partie inférieure de l'arbre vers l'arrière. Tirer la lame en arrière d'un mouvement rapide et decide.

- Les troncs écais doivent être sciers depuis deux côtes. Estimer d'abord le sens de chute du tronc. Commencer la coupe par le côté se trouvant dans le sens de chute de l'arbre. Effectuer la coupe d'abattage de l'autre côté. Ajuster la pression d'alimentation en fonction de l'épaissieur et du degré de durété du type d'arbre. Les troncs minces demandant une alimentation plus importante, les troncs plus écais une alimentation plus légère.




- Si les troncs sont très proches les uns des autres, ajuster la vitesse de travail.
- Si la lame se bloque dans un arbre, ne jamais chercher à la dégager en tirant sur la machine. Ceci pourrait endommager la lame, le renvoi d'angle, le tube de transmission ou le guidon. Lächer les poignées, saisir le tube de transmission des deux mains et dégager lentement la machine.
Débroussaillage avec une lame d'éclaircissage



- Faucher les troncs minces et les broussailles. Travailler en balayant le terrain latérallement.
- Essayer de couper plusieurs troncs d'un même geste de balayage.
Pour les bosquets, commencer par couper autour du bosquet. Commencer par couper les haute branches pour éviter de tout risque de blocque. Couper ensuite les branches à la hauteur souhaïette. Essayer ensuite de pénétrer dans le bosquet et de couper à partir du centre du bosquet. S'il est toujours difficile de pénétrer dans le bosquet, couper les branches les plus haute et les faisser retomber. De cette manière le risque de blocage de la machine diminue.

Débroussaillage avec une lame à herbe


- Ne pas utiliser les lames et les couteaux à herbe pour les tiges ligneuses.
La lame à herbe s'utilise pour tous les types d'herbe haute ou épaisse.
- Faucher l'herbe d'un mouvement de balancier l'atéral, le mouvement de droite à gauche constituent la fauche et le mouvement de gauche le return. Faire travailler la lame du côte gauche (secteur 8h à 12 h).

Si on penche légèrement la lame vers la gauche pendant le débroussaillage, l'herbe coupée est disposée en bandes, ce qui facilité le ramassage, par exemple lors du ratissage.
- Essayer d'adopter un rythme de travail régulier.
Prendre une position stable, les pieds écartés. Faire un pas en avant après le mouvement de retard et reprene la même position stable.
Laisser le bol de garde au sol. Son role est de protéger la lame contre tout contact avec le sol.
- Respecter les régles suivantes afin d'éviter que les matérielaux ne s'enroulent autour de la lame:
1 Toujours travailler en faisant tourner le moteur à plein régime.
2 Éviter de toucher le matériel végétal coupé au cours du mouvement de retard.
- Arrête le moteur, ouvrir le harnais etposer la machine par terre avant de rassembler le matériel végétal coupé.
Désherbage avec tête de désherbage


Desherbage
- Maintenir la tête de désherbage juste au-dessus du sol, l'incliner. Le travail est effectué par l'extrémité du fil. Laisser le fil travailler à son propre rythme. Ne jamais force le fil dans le matériel à couper.

Le fil facilité l'enlèvement d'herbe et de mauvaises herbes au pied des murs, clôtures, arbres et massifs fleuris, mais il peut aussi endommager l'écorce des arbres et des broussailles ainsi que les poteaux des clôtres.
- Réduire les risques d'endommager la végétation en limitant la longueur du fil à 10-12 cm et en réduisant le régime moteur.
Nettoyage par gratlage
La technique du gratage permet d'enlever toute végétation indésirable. Maintenir la tête de désherbage juste au-dessus du sol, puis l'incliner. Laisser l'extrémité du fil battre le sol autour des arbres, poteaux, statues et similaires. NOTE! Cette technique accelèvre l'usure du fil.

Le fil s'use plus vite et doit être déroué plus souvent au contact de cailloux, briques, béton, clôtures metalliques, etc. qu'au contact d'arbres et de clôtres en bois.
Lors du désherbage et du gratage, ne pas faire tournier le moteur tout a fait a plein régime, ceci afin que le fil dure plus longtemps et la tête de désherbage s'use moins.
Coupe
Le coupe-herbe est idéal pour atteindre l'herbe aux endroits difficilement accessibles avec une tondeuse ordinaire. Maintenir le fil parallelement au sol lors du désherbage. Éviter de presser la tête de désherbage contre le sol, puisque cela risque d'endommager la pelouse et le matériel.

- Éviter de maintainir la tête de désherbage constamment au contact avec le sol en utilisation normale. Un contact permanent peut endommager la tête de désherbage et accélérer son usure.
Balayage
L'effet souffrant du fil rotatif peut etre utilise pour un nettoyage simple et rapore. Maintenir le fil parallele et au-dessus des surfaces a balayer, puis balader l'outil suivant un mouvement de balancier.

- Lors de la coupe et du balayage, faire tournier à plein régime afin d'obtenir un bon résultat.
Carburatour
Les caractéristiques techniques de cette machine Husqvarna assurent des émissions de gaz nocifs réduites au minimum. ÀpRES 8-10 pleins, le moteur est rodé. Pour s'assurer qu'il fonctionne de manière optimale en émettant aussi peu de gaz nocifs que possible après la période de ronage, il convient de demander au revendeur/à l'atelier de réparation (s'il dispose d'un compte-tours) d'effectuer un réglage fin du carburateur.
Fonctionnement

Le carburateur déterminé le régime du moteur via la commande de l'accelération. C'est dans le carburateur que l'air est mélangi à l'essence. Ce mélange air/essence est régable. Pour pouvoir utiliser la puissance maximale de la machine, le réglage doit être correctement effectué.
- Le réglage du carburateur signifie que le moteur est adapté aux conditions locales telles que le climat, l'altitude, l'essence et le type d'huile deux temps.
Le carburateur comporte trois possibilités de réglage: L = Pointeau de bas régime H = Pointeau de haut régime T = Vis de ralenti

- Les pointaux L et H reglent le débit de carburant nécessaire par rapport au flux d'air permis par l'ouverture de la commande de l'accelération. S'ils sont tournés dans le sens des aiguilles d'une montre, le mélange est plus pauve (moins d'essence); s'ils sont tournés dans le sens contraire des aiguilles d'une montre, le mélange est alors plus riches (plus d'essence). Un mélange pauvre donne un régime plus haut et un mélange riche donne un régime plus bas.
La vis T regle la position de la commande de l'accelération au ralenti. Si la vis T est tournée dans le sens des aiguilles d'une montre, on obtient un régime de ralenti plus haut; si elle est tournée dans le sens contraire des aiguilles d'une montre, on obtient un régime de ralenti plus bas.
Réglage de base
Le réglage de base du carburateur est effectué à l'usine. Le réglage de base est plus riche que le mélange optimal et doit être maintainu pendant les premières heures de service de la machine. Ensuite, il faut effectuer un réglage fin du carburateur. Le réglage fin doit être effectué par une personne qualifiée.
REMARQUE! Si l'équipement de coupe tourne au ralenti, tournier le pointeau de ralenti T dans le sens contraire des aiguilles jusqu'à l'arrêt de l'équipement de coupe.
Réglage du régime de kalenti
Pour tous les réglages, le filtré à air doit être propre et son couvercle posé.
Régler le régime de ralenti avec le pointeau de ralenti T si un ajustage est nécessaire. Tourner d'abord le pointeau T dans le sens des aiguilles jusqu'à ce que l'équipement de coupe commence à tourner. Tourner ensuite le pointeau dans le sens inverse jusqu'à l'arrêt de l'équipement de coupe. Un régime de ralenti correctement régle permet au moteur de tourner régulièrement dans toutes les positions. Il doit également y avoir une bonne marge avant que l'équipement de coupe se mette à tourner.

Régime de ralenti recommandié: Voir le chapitre Caractéristiques techniques.

AVERTISSEMENT! S'il est impossible de régler le régime de ralenti de manière à immobiliser l'équipement de coupe, contacter le revendeur ou l'atelier de réparation. Ne pas utiliser la machine tant qu'elle n'est pas correctement régée ou réparée.
Réglage du régime de ralenti accéléré
Un réglage situé pres de la partie arrrière de la poignée d'accelération permet d'obtenir le régime de ralenti accéléré correct. Cette vis (vis hexagonale de 4 mm)
permét d'augmenter ou de réduire le régime de ralenti accéléré.

Proceder de la maniere suivante:
1 Faire tournier la machine au ralenti.
2 Appuyer sur le blocage du ralenti accéléré conformément aux instructions de la section Mise en marche et arrêt.
3 Si le régime du ralenti accéléré est trop faible (moins de 4000 tr/min), visser la vis de réglage A dans le sens des aiguilles d'une montre jusqu'à ce que l'équipment de coupe commence à couter. Visser ensuite la vis A dans le sens des aiguilles d'une montre de 1/2 tour supplémentaire.
Silencieux

REMARQUE! Certains silencieux sont dotés d'un pot catalytique. Voir le chapitre Caracteristiques techniques pour déterminer si la machine est poursue d'un pot catalytique.
Le silencieux est concu pour attenuer le bruit et dévier le flux des gaz d'échémpement loin de l'utilisteur. Ces gaz sont chauds et peuvent transporter des étincelles risquant de causeur un incendie si elles entrent en contact avec un matérielieau sec et inflammable.



Certains silencieux sont munis d'une grille antiflamme.
Cette grille doit être nettoyée une fois par semaine si la
machine en est équipée. Utiliser de préférence une Brosse en acier.

Sur les silencieux sans pot catalytique, la grille doit etre nettoyee et si nécessaire replacee une fois par semaine. Sur les machines dont le silencieux est muni d'un pot catalytique, la grille devra etre inspectee et si nécessaire nettoyee une fois par mois. Si la grille est abimee, elle devra etre replacee. Si la grille est souvent bouchée, ceci peut etre d'u a un mauvais fonctionnement du pot catalytique. Contacter le revendeur pour effectuer un contrôle. Une grille antiflamme bouchée provoque la surchauffe de la machine et la detérioration du cylindre et du piston.
REMARQUE! Ne jamais utiliser la machine si le silencieux est en mauvais état.

AVERTISSEMENT! Un silencieux muni d'un catalyseur est très chaud aussi bien à l'utilisation qu'après arrêt. Ceci est également vraie pour le régime au ralenti. Tout contact peut causeer des brûlures à la peau. Attention au risque d'incendie!
Système de refroidissement

La machine est équipée d'un système de refroidissement permettant d'obtenir une température de fonctionnement aussi BASSE que possible.

Le système de refroidissement est composé des éléments suivants:
1 La prise d'air dans le lanceur.
2 Les ailettes de ventilation sur le volant.
3 Les ailettes de refroidissement sur le cylindre.
4 Le carter de cylindre (dirige l'air de refroidissement vers le cylindre).
Nettoyer le système de refroidissement avec unerosse une fois par semaine,voire plus souvent dans des conditions difficiles.Un système de refroidissement sale ou colmaté provoque la surchauffe de la machine, endommageant le cylindre et le piston.
Renvoi d'angle
Le renvoi d'angle est enduit en usine de la quantité deGRAISSE nécessaire. Toutefois, avant d'utiliser la machine, il convient de s'assurer que le renvoi d'angle est au 3/4 rempli deGRAISSE. Utiliser uneGRAISSE HUSQVARNA spéciale.

En général, il n'est pas nécessaire de replacer le lubrifiant du carter, sauf en cas de réparations.
Filtre à air

Le filtré à air doit être maintenu propre pour éviter:
Un mauvais fonctionnement du carburateur
- Des problèmes de démarrage
Une perte de puissance
- Une usure prématurée des éléments du moteur.
- Une consommation anormalement elevée de carburant

Nettoyer le filtré après 25 heures de service, ou plus souvent si les conditions de travail sont exceptionnellement poussièresuses.
Nettoyage du filtré à air
Déposer le capot de filtre et-retirer le filtre. Nettoyer le filtre avec de l'eau chaude savonnexe. S'assurer que le filtre est sec avant de le remonter.
Un filtré ayant servi longtemps ne peut plus être complètement nettoyé. Le filtré à air doit donc être remplaçé à intervalles réguliers. Tout filtré endommagé doit être remplacené immédiametrement.
Si la machine est utilisée dans un environnement pousiéreux, le filtré à air doit être huilé. Voir le chapitre Huilage du filtré à air.
Huilage du filtré à air

Toujours utiliser l'huile pour filtré HUSQVARNA, ref. 531 00 92-48. L'huile pour filtré content un solvant permettant une distribution régulière de l'huile dans tout le filtré. Éviter par consécutant tout contact avec la peau.
Mettre le filtrtre dans un sac en plastique et verser l'huile pour filtrtre dessus. Pétrir le sac en plastique pour bien distribuer l'huile. Presser le filtrtre dans son sac et jitterer le surplus d'huile avant de reposer le filtrtre dans la machine. Ne jamais utiliser de l'huile moteur ordinaire. Celle-ci traverse le filtrtre assez vite et s'accumule au fond.

Bougie

L'etat de la bougie dépend de:
L'exactitude du réglage du carburateur.
- Mauvais mélange de l'huile dans le carburant (trop d'huile ou huile inappropriée).
La proprete du filtré a air.
Ces facteurs peuvent concourir à l' apparition de calamine sur les electrodes, ce qui à son tour entraîne un mauvais fonctionnement du moteur et des démarrages difficiles.
Si la puissance de la machine est trop faible, si la machine est difficile àmettre en marche ou si le ralenti est irregular, tous jours commencer par contrôler l'état de la bougie avant de prendre autres mesures. Si la bougie est encrassée, la nettoyer et vérifier que l'écartement des electrodes est de 0,5 mm. Remplacer la bougie une fois par mois ou plus souvent si nécessaire.

REMARQUE! Toujours utiliser le type de bougie recommandié! Une bougie incorrecte peut endommager le piston/le cylindre. S'assurer que la bougie est dotée d'un antiparasites.
Scheme d'entretien
La liste ci-dessous indique l'entretien à effectuer sur la machine. La plupart des points sont décrits à la section Entretien. L'utilisateur ne peut effectuer que les travaux d'entretien et de révision décrits dans ce manuel d'utilisation. Les mesures plus importantes doivent être effectuées dans un atelier d'entretien agrée.
| Entretien | Entretien quotidien | Entretien hebdomadaire | Entretien mensuel |
| Nettoyer l'extérieur de la machine. | X | | |
| Vérifier que le harnais est intact. | X | | |
| Vérifier que l'oeillet de suspension est intact. | X | | |
| Contrôler le bon fonctionnement du verrou d'accélérateur et de l'accélérateur | X | | |
| Contrôler le bon fonctionnement du contacteur d'arrêt. | X | | |
| Contrôler que la poignée et le guidon sont entiers et solidement attachés. | X | | |
| S'assurer que l'équipment de coupe ne tourne pas lorsque le moteur tourne au ralenti. | X | | |
| Nettoyer le filtre à air. Le replacer si nécessaire. | X | | |
| S'assurer que la protection est intacte et qu'elle ne présente pas de fissures. Remplacer la protection si elle a subi des coups ou si elle présente des fissures. | X | | |
| Vérifier le centrage de la lame, son affutage et la présence d'eventuelles fissures. Une lame mal centree provoque des vibrations pouvant endommager la machine. | X | | |
| S'assurer que la tête de désherbage est intacte et qu'elle n'est pas fissurée. Au besoin, replacer la tête de désherbage. | X | | |
| Contrôler que le contre-écrou de l'équipment de coupe est serré correctement. | X | | |
| S'assurer que toutes les vis et tous les écrous sont bien serrés. | X | | |
| Vérifier qu'il n'y a pas de fuite de carburant du moteur, du réservoir ou des conduits de carburant. | X | | |
| S'assurer que la protection de transport de la lame est intacte et qu'il se fixe correctement. | X | | |
| Contrôler le démarreur et son lanceur. | | X | |
| S'assurer que les amortisseurs ne sont pas endommagés. | | X | |
| Nettoyer la bougie d'allumage extérieurement. Déposer la bougie et vérifier la distance entre les électrodes. Au besoin, ajuster la distance de sorte qu'elle soit de 0,5 mm, ou replacer la bougie. S'assurer que la bougie est dotée d'un antiparasites. | | X | |
| Nettoyer le système de refroidissement de la machine. | | X | |
| Nettoyer ou replacer la grille antiflamme du silencieux (valable uniquement pour les silencieux sans pot catalytique). | | X | |
| Nettoyer le carburateur extérieurement, ainsi que l'espace autour. | | X | |
| Vérifier que le renioi d'angle est au 3/4 rempli deGRAisse. Au besoin, faire un replissage d'appoint avec une graisse spéciale. | | X | |
| Contrôler que le filtre à carburant n'est pas contaminé ou que le tuyau de carburant ne compte pas de fissures ou d'autres avaries. Remplacer si nécessaire. | | | X |
| Inspector tous les câbles et connexions. | | | X |
| Vérifier l'état d'usure de l'embrayage, des ressorts d'embrayage et du tambour d'embrayage. Faire replacer si nécessaire dans un atelier d'entretien/agréé. | | | X |
| Remplacer la bougie d'allumage. S'assurer que la bougie est dotée d'un antiparasites. | | | X |
| Contrôler et nettoyer la grille antiflamme du silencieux (valable uniquement pour les silencieux avec pot catalytique). | | | X |
CHARACTERISTIQUES TECHNIQUES
\section*{Caracteristiques techniques}
| Caracteristiques techniques | 235R | 235FR |
| Moteur | | |
| Cylindrée, cm3 | 40,2 | 40,2 |
| Alésage, mm | 40 | 40 |
| Course, mm | 32 | 32 |
| Régime de ralenti, tr/min | 2700 | 2700 |
| Régime d'emballement maximal recommendé, tr/min | 11500-12500 | 11500-12500 |
| Régime de l'axe sortant, tr/min | 10000 | 10000 |
| Puisance moteur maxi selon ISO 8893, kW/ tr/min | 1,3/9000 | 1,3/9000 |
| Silencieux avec pot catalytique | Oui | Oui |
| Système d'allumage régèle en fonction du régime | Oui | Oui |
| Système d'allumage | | |
| Bougie | NGK BPMR 7A/ Champion RCJ 7Y | NGK BPMR 7A/ Champion RCJ 7Y |
| Écartement des électrodes, mm | 0,5 | 0,5 |
| Système de graissage/de carburant | | |
| Contenance du réservoir de carburant, litres | 0,5 | 0,5 |
| Poids | | |
| Poids, sans carburant, équipement de coupe et dispositifs de sécurité, kg | 7,3 | 7,3 |
| Émissions sonores | | |
| (voir rem. 1) | | |
| Niveau de puissance sonore mesuré dB(A) | 111 | 111 |
| Niveau de puissance sonore garantit LwadB(A) | 113 | 113 |
| Niveau sonores | | |
| (voir remarque 2) | | |
| Pression acoustique équivalente au niveau des oreilles de l'utilisateur, mesure en EN ISO 11806 et ISO 22868, dB(A): |
| Équipée d'une tête de désherbage (d'origine) | 96 | 96 |
| Équipée d'une lame à herbe (d'origine) | 98 | 98 |
| Équipée d'une lame d'éclaircissage (d'origine) | - | 97 |
| Niveau de vibrations | | |
| (voir remarque 3) | | |
| Niveau de vibrations équivalents (ahveq) mesurés au niveau des poignées selon EN ISO 11806 et ISO 22867, en m/s2. |
| Équipée d'une tête de désherbage (d'origine), gauche/droite | 5,1/4,8 | 5,1/4,8 |
| Équipée d'une lame à herbe (d'origine), gauche/droite | 5,9/3,4 | 5,9/3,4 |
| Équipée d'une lame d'éclaircissage (d'origine), gauche/droite | - | 6,8/2,9 |
Remarque 1: émission sonore dans l'environnement mesurée comme puissance acoustique (L_WA) selon la directive UE 2000/14/CE. Le niveau de puissance sonore reporté pour la machine a été mesure avec l'équipment de coupe d'origine qui donne le niveau le plus élevé. Le niveau de puissance sonore garanti diffère du niveau mesure en cela qu'il prend également en compte la dispersion et les variations d'une machine à l'autre du même modèle, conformément à la directive 2000/14/CE.
Remarque 2: Les données reportées pour le niveau de pression sonore équivalent pour la machine montrent une dispersion statistique typique (déviation standard) de 1 dB (A).
Remarque 3: Les données reportées pour le niveau de vibrations équivalent montrent une dispersion statistique typique (déviation standard) de 1m / s^2
CHARACTERISTIQUES TECHNIQUES
| Accessoires homologués 235R, 235FR | Type | Protection pour équipement de coupe, ref. |
| Trou central des lames/couteaux Ø 25,4 mm | | |
| Axe de lame fileté M12 | | |
| Lame/couteau à herbe | Multi 255-3 (Ø 255 3 dents) | 537 33 16-01 |
| Multi 275-4 (Ø 275 4 dents) | 537 33 16-01 |
| Multi 300-3 (Ø 300 3 dents) | 537 33 16-01 |
| Lame d'éclaircissage | Scarlet 200-22 (Ø 200 22 dents) | 537 38 77-01 |
| Couteaux en plastique | Tricut Ø 300 mm (les lames séparées portent le numéro d'article 531 01 77-15) | 537 33 16-01 / 537 34 94-01 |
| Tête de désherbage | Trimmy S II (fil Ø 2.4 - 3.3 mm) | 537 33 16-01 / 537 34 94-01 |
| T35, T35x (fil Ø 2.4 - 3.0 mm) | 537 33 16-01 / 537 34 94-01 |
| T45x (fil Ø 2.7 - 3.3 mm) | 537 33 16-01 / 537 34 94-01 |
| S35 (fil Ø 2.4 - 3.0 mm) | 537 33 16-01 / 537 34 94-01 |
| F35 (fil Ø 2.0 - 3.5 mm) | 537 33 16-01 / 537 34 94-01 |
| Auto 55 (fil Ø 2.7 - 3.3 mm) | 537 33 16-01 / 537 34 94-01 |
| Bol de garde au sol | Fixe | - |
| A roulement à billes | - |
Nous, Husqvarna AB, SE-561 82 Huskvarna, Suède, tel: +46-36-146500, déclarons, sous notre seule responsabilité, que le produit auquel se rattaché la presente déclaration: débroussailleuses Husqvarna 235FR et 235R à partir des numérores de série de l'année de fabrication 2009 et ultérieurement (l'année est indiquée en clair sur la plaque d'identification et suivant d'un nombre de série) est conforme aux dispositions de la (des) DIRECTIVE(S) DU CONSEIL:
- du 17 mai 2006 "directive machines" 2006/42/CE
- du 15 décembre 2004 "compatibilité electromagnétique" 2004/108/CEE.
- du 8 mai 2000 "émissions sonores dans l'environnement" 2000/14/CE. Estimation de la conformité effectue selon l'Annexe V.
Pour des informations sur les émissions sonores, voir le chapitre Caracteristiques techniques.
Les normes harmonisées suivantes ont été appliquées: EN ISO 12100-2:2003, CISPR 12:2005, EN ISO 11806:1997
SMP Svensk Maskinprovning AB, Fyrisborgsgatan 3, SE-754 50 Uppsala, Suède, a procédé à des tests de type facultatifs pour le compte de Husquarna AB. Les certificates ont les numérios: SEC/09/2167, 01/164/050
Huskvarna, le 29 décembre 2009

Bo Jonsson, directeur du développement (Representant autorisé d'Husqvarna AB et responsable de la documentation technique.)
Symbolen