HDM 100 X - Afzuigkap HOOVER - Gratis gebruiksaanwijzing en handleiding
Vind de handleiding van het apparaat gratis HDM 100 X HOOVER in PDF-formaat.
Gebruikersvragen over HDM 100 X HOOVER
0 vraag over dit apparaat. Beantwoord die u kent of stel uw eigen vraag.
Stel een nieuwe vraag over dit apparaat
Download de handleiding voor uw Afzuigkap in PDF-formaat gratis! Vind uw handleiding HDM 100 X - HOOVER en neem uw elektronisch apparaat weer in handen. Op deze pagina staan alle documenten die nodig zijn voor het gebruik van uw apparaat. HDM 100 X van het merk HOOVER.
GEBRUIKSAANWIJZING HDM 100 X HOOVER
AANWIJZING VOOR GEBRUK EN INSTALLATIE
ENGLISH
DESCRIPTION
Het apparaat kan in de filterversie, de afzuiqversie en in de versie met een externe motor gebruikt worden. In de filterversie (Afb. 1) worden de door het apparaat geleide lucht en dampen gezuiverd door koolstoffilters en via de luchtroosters aan de zijkant van de schoorsteen weer in het vertrek geleid. LET OP: Bij het gebruik in de filterversie dienen er koolstoffilters en een luchtgeleideplaat gebruikt te worden, die in het bovenste gedeelte van de pijp geplaatst moet worden, zodat de lucht weer in het vertrek kan stromen (Afb. 1A). In de afzuiqversie (Afb. 2) worden de kookluchtjes en -dampen via een afvoerleiding door de muur/het plafondrechtstreeks maar buiten geleid. Het gebruik van koolstoffilters is in dat geval dus nicht更是 nodig. In de versie met een externe motor (Afb. 3) dient er een afzonderlijk werkende afzuigreleenheid op het apparaat aangesloten te worden, waar bij het apparaat als verbindingsbasis van de af te voeren lucht gebruikt worden.
Gebruik uitsluitend de regeleenheden die in de originele catalogus staan vermeld.
INSTALLATIE
Alvorens het apparaat te monteren moet u het (de) antivetfilter(s) verwijdenen zodate u het apparaat makkelijk kunt hanteren: duw ter hoogte van de handgreep de pal waar binnen en trek het filter maar beneden (Afb. 4).
Bevestiging aan de muur (Afb. 5): Maak gebruik van de speciale boormal en boor de gaten die op de boormaal aangegeven zijn in de muur. Zoals reeds vermeld in het hoofdstuk "Gebruiksaanwijzing" moet u er reckening mee houden dat de afstand tussen de onderste rand van de afzuiigkap en de kookplaat minimaal 650~mm moet bedragen. Maak de metalen beugel (B) met de schroeven en de pluggen aan de muur vast (de beugel, de schroeven en de pluggen worden bij het apparaat geleverd). Gebruik de beiden driehoekjes die uitgesneden zijn in de beugel om de beugel exact langs de verticale aslijn van de afzuiigkap teplaatsen. Haak de afzuiigkap daarna aan de beugel. Stel de horizontale positie af door de afzuiigkap maar rechts of waar links te verplaatsen zodat de afzuiigkap precies op een lijn met de keukenkasten komt te zitten. Mocht hetoodzakelijk+zijn om de afzuiigkap ook in de hoogte af te stellen moet u aan de speciale stelschroeven (V) draaien (meegeleverd). Nadat u de afzuiigkap afgesteld heeft moet u de afzuiigkap definitief met 4 andere schroeven (M) bevestigen: teken de 4 gaten die geboord要去en worden af, haak de afzuiigkap los en boor de afgetekende gaten (diameter 8mm ) in de muur; maakervoens gebruik van de meegeleverde pluggen en schroeven om de afzuiigkap definitief te bevestigen.
Bevestig met een achterplaat (Afb. 6): De achterplaat moet aan de bovenkant van de kookplaat aan de muur bevestigd
worden. Houd de onderste rand van deplaat aan de achterkant van de kookplaat gegen de muur aan en maak de bovenste rand aan de muur vast door middel van de beiden gaten die specialaarvoor in de plaat aangebracht zich en doe de meegeleverde schroeven en pluggen (A) erin. De bevestiging van het apparaat aan dechterplaat vindt op bezelfde manier plaats als de bevestiging aan de muur, door gebruik te makev van de meegeleverde metalen beugel (B) en de schroeven en de pluggen die bij de plaat geleverd worden.
Monteer de plateau van de elektrische installment die door hem vast te zieten met 3 schroeven en 2 metalen schijfjes (Afb.7).
Bevestiging van de telescopische pijpen:
Essentiele eisen voor de montage: - Breng de elektrische aansluiting zodanig tot stand dat e.e.a. binnen de decorpijp weggewerkt worden; - Als uw apparaat in de afzuiqversie of in de versie met een externe motor geinstalleerd moet worden dan要去 een luchtafvoergat gemaakt worden.
Om zowel in de afzuiqversie als in de versie met een externe motor optimale omstandigheden te creeren, dient er een luchtafvoerpijp gebruikt te worden die de volgende eigenschappen heeft: minimum benodigde lengte, zo min möglichk bochten (maximaal toegestane hoek van de bochten: 90^ ), het materiaal moet goedgekeurd zijn volgens de voorschriften (afhankelijk van het land), zo glad möglichke binnenzijde. Er worden bovendien geadviseerd om drastische veranderingen van de doorsnede van de pijp (diameter: 150 mm) te vermijden.
Stel de lengte van de steunbeugel (W) van de telescopische pijp door middel van de op fig. 8 afgebeelde schroeven A af. Maak de beugel verwolgens met de meegeleverde pluggen en schroeven aan het plafond vast en zorg er.daar bij voor dat de beugel op een lijn met de aslijn van uw afzuigkap komt te zitten. Bij de filtversie moeten de luchtafvoerroosters aan de bovenkant komen te zitten (Afb. 9). Bij de afzuiqversie moet de bovenste pijp ondersteboven geplaatst worden zodat de luchtafvoerroosters aan de onderkant komen te zitten (Afb. 10).
Afzuigversie en versie met een externe motor: Sluit de flens van de afzuigkap door middel van een flexibele pijp aan op het afvoergat in de muur/het plafond. Alleen bij de versie met een externe motor (Afb. 11): breng de elektrische aansluiting van de afzuigkap op de externe regeleenheid tot stand en maak waar bij gebruik van de speciale klemmenblokken: verwijder kabelklem A en kap B van de aansluitkast; sluit de verbindingskabel van de regeleenheid aan op het klemmenblok C; breng kabelklem A en kap B van de aansluitkast wee aan; het andere uiteinde van de kabel moet op het klemmenblok van de externe regeleenheid aangesloten worden.
Breng de elektrische aansluiting van de afzuiigkap door middel van de voedingskabel tot stand. Doe de telescopische pijpen erin en LAST op de afzuiigkap steunen; doe de bovenste pijp tot aan het plafond omhoog en maak hem met de beiden schroeven (G) - Afb. 12 vast.
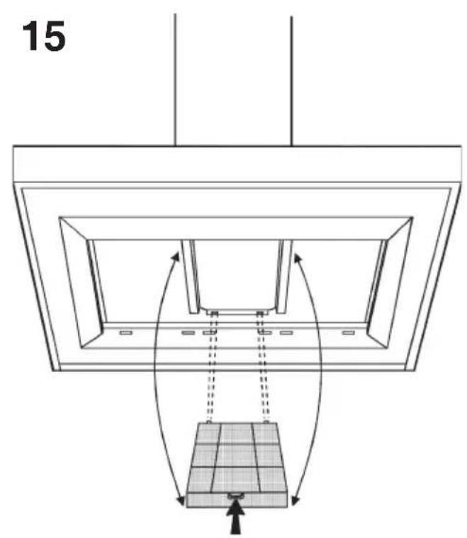
Filterversie: Maak de geleideplaat met de 4 speciale schroeven (meegeverd) aan de bovenste pijp vast - Afb. 13; sluit een flexibele pijp met een diameter van 125mm op de geleideplaat aan. Monteer het verloopstuk (meegeverd) ter hoogte van het luchtuitlaatpunt op de afzuigkap (Afb. 14). Neem de beide telescopische pijpen die in elkaar gezet zichen en LAST ze op de afzuigkap steunen; doe de bovenste pijp tot aan het plafond omhoog en maak hem met de.beide schroeven (G) - Afb. 12 vast. Doe de onderste pijp omhoog en houd hem met tape op+zijn plaats en sluit de flexibele pijp aan op het verloopstuk vna de afzuigkap. Breng de elektrische aansluiting van de afzuigkap door middel van de voedingskabel tot stand. Laat de onderste pijp zakken zodat hij op de afzuigkap steunt. Installer de koolstoffilters en doe waar bij de beide lipjes van het filter op de waarvoor bestemde plaats (Afb. 15) en draai het filter maar boven.
WERKING
Afhankelijk van de versies is het apparatusaat uitergerust met de volgende bedieningselementen:
Bedieningselementen van Afb.16:
A = aan/uit schakelaar lampje. B = aan/uit schakelaar motor op snelheid I. C = schakelaar snelheid II. D = schakelaar snelheid III. E = controleampje motor in werkung.
Bedieningselementen van Afb.17:
Toets A = lampjes aan/uit.
Toets B = TIMER inschakelen/uitschakelen: door 1 keer op deze toets te drukken worden de timer ingeschakeld, zodat na 5 minuten de motor stopt (tegelijkertijd za op het display het nummer van de gekozen snugheid knipperen); de timer blijft werk den als de snugheid van de motor veranderd word.
Display C = -laat de gekozen motorsnelheid zien (van 1 tot 4); -laat als het nummer knippert zien dat de timer ingeschakeld is; - geegt als het middelste gedeelte brandt of knippert aan dat de filters in alarm�.
Toets D = schakelt de motor in ( in deIRST gebruikte snelheid). Door de toets nogmaals in te drukken, worden de motorsnelheden gekozen van 1 tot en met 4 in oepenvolgende orde. Houdt u de toets circa 2 seconden dan za de motor stoppen.
Toets = reset van de vetfilters en koolstoffilters. Als het filteralarm verschijnt (d.w.z. als het middelste gedeelte van het display gaat branden) dan要去 de vetfilters gereinigd worden (er zichn 30 werkingsuren verstreten). Als het middelste gedeelte daarentegen knippert dan要去 de vetfilters gereinigd worden en de koolstoffilters verrangen worden (er zichn 120 werkingsuren verstreten). Is uw afzuigkap Niet in de filtrerversie en zichn de koolstoffilters Niet aanwezig dan hoeft u uiteraard alleen de antivetfilters te reinigen, dit geldt zowel als het middelste gedeelte brandt danwel als het middelste gedeelte knippert. Het filteralarm verschijnt wanner de motor uitgeschakeld is en is ongeveer 30 seconden zichtaar. Om opnieuw te beginnen moet u de toets 2 seconden gedurende het zichtaar zichn van het alarm.
Bedieningselementen van Afb.18:
Toets A: schakelt de verlichting in/uit; Filteralarm: om de 30 bedrijfsuren gaat het correspondende lampje (S) branden
om aan te geven dat de vetfilters moeten worden schoongemaakt; om de 120 bedrijfsuren gaat het correspondende lampje (S) branden om aan te geven dat de vetfilters moeten worden schoongemaakt en het koolstofffilter要去 worden verrangen. Om de telling van de uren waar te latent starten (RESET),要去 de toets A ongeveer 1" ingedrukt gezudden worden (terwijl het lampje S in werkig is).
Toets B: schakelt de motor in op de 1e snelheid (het correponderende lampje gaat branden); door nogmaals op de toets te drukken (terwijl het lampje brandt) worden de TIMER geactiveerd, zodat de motor na 5' stopt (het correponderende lampje knippert); als hij ongeveer 1" ingedrukt gehonden worden, gaat de motor uit.
Toets C: schakelt de motor in op de 2^e snelheid (het correponderende lampje gaat branden); door nogmaals op de toets te drukken (terwijl het lampje brandt) worden de TIMER geactiveerd, zodate de motor na 5' stopt (het correponderende lampje knippert).
Toets D: schakelt de motor in op de 3^e snugheid (het correspondende lampje gaat branden); door de toets nogmaals in te drukken (terwijl het lampje brandt) worden de TIMER geactiveerd, zodat de motor na 5' stopt (het correspondende lampje knippert).
Toets E: schakelt de motor in op de 4^ snuglheid (het correspondende lampje gaat branden); door de toets nogmaals in te drukken (terwijl het lampje brandt) worden de TIMER geactiveerd, zodat de motor na 5' stopt (het correspondende lampje knippert).
Bedieningselementen van Afb.19:
P1 Schakelt de LICHTEN aan en uit
P2 min en MAX intensiteit LICHTEN
P3 Als hij worden ingedrukt verwijl de motor UIT staat, gebeurt er niets
Als hij wordt ingedrukt terwijl de motor DRAAIT neemt de snelheid af tot aan het stoppen van het apparaat.
Als hij 2" ingedrukt worden terwijl de motor WERKT gaat de motor uit, waar bij de能力和 in het geheugen worden opgeslagen.
P4 Als hij wordt ingedrukt terwijl de motor UIT is, gaat de motor aan op de snelheid die is opgeslaagen in het geheugen bij de uitschakeling of op de eerste snelheid. Als hij wordt ingedrukt terwijl de motor WERKT Verhoogt de snelheid
L1 geven de actuèle snelheid aan (GROEN)
P5 Zet de telling van Reset filters op nul wanner de motor UIT is. N.B. De filtertimer blijt ook werken wanner de voeding ontbreekt. Als de motor DRAAIT, activeert hij de TIMER 5'
L2 geef aan: 1) als de motor uit staat, RESET FILTERS MET ROOD LICT, (30 uu Led brandt permanent, 120 uu Led knippert) 2) met GROEN KNIPPEREND LICT de TIMER van 5'
FILTERALARM:
Na 30u Werking, wordt de led L2 ROOD; betekent dat de vetfilters moeten worden gereinigd.
Na 120u Werking, wordt de led L2 ROOD en gaat hij knipperen; betekent dat de vetfilters moeten worden gereinigd en de koolstoffilters要去en worden verrangen.
Wanner de vetfilters gereinig zd en/of de koolstoffilters verrangen zijn), wordt tijdens de weergave van het filteralarm gedrukt op de knop P5 om de UREN-telling opnieuw te starten (RESET).
Vetfilters : om de vetfilters te verwijderen, ter hoogte van de handgreep de grendel maar binnen duwen en de filter maar beneden te trekken (Afb. 4). De filters wassen met een neutraal reinigingsproduct.
Indien het door u aangekocht me model beschikt over de bediingen weergegeven in de Afb.16, dan worden de vetfilters gemiddeld elke 2 maanden gereinigd, in functie van het gebruik. Indien het door u aangekocht me model beschikt over de bediingen weergegeven in de Afb.17, 18 en 19, dan worden de vetfilters gereinigd wonneer het filteralarm verschijnt (zie paragraaf "Bedieningselementen").
Vervanging koolstofffilter: als het apparaat in de filteruitvoering worden gebruikt,要去 de koolstofffilter worden verwangen. Neem ten eerste de metalen vetfilters weg. Duw de vergrendelingaar binnen (Afb. 15) en verwijder de koolstofffilter van zichnplaats. Plaats een neuekoolstofffilter van hetzelfde type, door de handelingen in omgekeerde volgorde uit te voeren. Indien het door u aangekochtete model beschikt over de bedieningen weergevegen in de Afb.16, dan wordt de koolstofffilter gemiddeld elke 6 maanden verwangen, in functie van het gebruik. Indien het door u aangekochtete model beschicht over de bedieningen weergevegen in de Afb.17, 18 en 19, dan worden de koolstoffilters verwangen wonneer het filteralarm verschijnt (zie paragraaf "Bedieningselementen").
Verlichting: Afhankelijk van het door u aangeschafte model moet u zich aan Afb. 20, Afb. 21 of Afb. 22 honden. Afb. 20: om de halogeenlampjes te verrangen moet u de klemring gegen de wijzers van de klok in draaien (aar links). Vervangen met lampen van hetzelfde type.
Afb. 21: voor verwang ing van de halogeenlampjes de deksel openen door het opt te lichten in de daarvoor bestemde opening. Vervangen met lampen van hetzelfde type.
Afb. 22: Als uw apparaat verlichting heeft van het type dat te zien is op de afbeelding 22, moeten, om de gloeilampje te verrangen, de antivetfilters worden verrangen en de lampjes worden weggehaald; verrang het door lampjes van hetzelfde type.



















18

19



20


22
SimpelGids