AG HMESPMSw1PlDNR2 - Slim huis EQ-3 - Gratis gebruiksaanwijzing en handleiding
Vind de handleiding van het apparaat gratis AG HMESPMSw1PlDNR2 EQ-3 in PDF-formaat.
Veelgestelde vragen - AG HMESPMSw1PlDNR2 EQ-3
Gebruikersvragen over AG HMESPMSw1PlDNR2 EQ-3
0 vraag over dit apparaat. Beantwoord die u kent of stel uw eigen vraag.
Stel een nieuwe vraag over dit apparaat
Download de handleiding voor uw Slim huis in PDF-formaat gratis! Vind uw handleiding AG HMESPMSw1PlDNR2 - EQ-3 en neem uw elektronisch apparaat weer in handen. Op deze pagina staan alle documenten die nodig zijn voor het gebruik van uw apparaat. AG HMESPMSw1PlDNR2 van het merk EQ-3.
GEBRUIKSAANWIJZING AG HMESPMSw1PlDNR2 EQ-3
met vermogensmeting, tussenstekker type E
1x Draadloze HomeMatic-schakelactor 1-voudig met vermogensmeting, tussenstekker type E
1x Handleiding
1e uitgave Nederlands 10/2014
Documentatie © 2014 eQ-3 AG, Duitsland
Alle rechten voorbehouden. Zonder schriftelijke toestemming van de uitgever mogen deze handleiding of fragmenten ervan op geen enkele manier worden gereproduceerd of met behulp van elektronische, mechanische of chemische middelen worden verveelvoudigd of verwerkt. Het is mogelijk dat deze handleiding nog druktechnische gebreken of drukfouten vertoont. De gegevens in deze handleiding worden echter regelmatig gecontroleerd en indien nodig in de volgende uitgave gecorrigeerd. Voor fouten van technische of druktechnische aard inclusief de gevolgen ervan stellen wij ons niet aansprakelijk.
Alle handelsmerken en octrooirechten worden erkend.
Wijzigingen die de technische vooruitgang dienen, zijn zonder voorafgaande aankondiging mogelijk.
141165 / V 1.1
Inhoudsopgave
1 Instructies bij deze handleiding .....44
2 Gevaarsaanduidingen 44
3 Werking en overzicht van het apparaat .....47
4 Algemene systeeminformatie over HomeMatic .....48
5 Inbedrijfstelling....49
5.1 Eenvoudige bedieningsfuncties aan het apparaat .....49
5.2 Aanleren....49
5.2.1 Aanleren aan HomeMatic-apparaten .....50
5.2.2 Aanleren aan een HomeMatic-centrale .....51
6 Voorwaardelijk schakelen. 54
7 Fabrieksinstellingen opnieuw instellen....55
8 Fout- en terugmeldingen van de apparaatled .....56
8.1 Knippercodes 56
8.2 Duty cycle....57
9 Gedrag na een terugkeer van de spanning .....58
10 Onderhoud en reiniging ....58
11 Algemene instructies voor het draadloze bedrijf .....59
12 Technische gegevens....60
Instructies bij deze handleiding
Gevaarsaanduidingen
1 Instructies bij deze handleiding
Lees deze handleiding zorgvuldig door, vóór u de HomeMatic apparaten in gebruik neemt. Bewaar de handleiding, om ze ook later nog te kunnen raadplegen! Als u het apparaat door andere personen laat gebruiken, geef dan ook deze handleiding mee.
Gebruikte symbolen

Let op! Hier wordt op een risico attent gemaakt.

Opmerking Dit hoofdstuk bevat aanvullende belangrijke informatie.

Opmerking Dit hoofdstuk bevat aanvullende belangrijke informatie over het gebruik van het apparaat in combinatie met de HomeMatic-centrale.
2 Gevaarsaanduidingen

Voor zaak- of personenschade die door een onjuist gebruik of niet-naleving van de gevaarsaanduidingen veroorzaakt is, stellen wij ons niet aansprakelijk. In dergelijke gevallen vervalt ieder garantierecht! Voor gevolgschade stellen wij ons niet aansprakelijk!

Open het apparaat niet. Het bevat geen onderdelen die door de gebruiker moeten worden onderhouden. Het openen van het apparaat houdt het risico van een elektrische schok in. In het geval van een defect dient u het apparaat naar de klantenservice te sturen.

Gebruik het apparaat niet, indien het uiterlijk zichtbare schade, bijv. aan de kast, bedieningselementen of aansluitbussen, of een storing vertoont. Laat het apparaat in geval van twijfel controleren door een specialist of onze service.

Om redenen van veiligheid en markering (CE) is het eigenmachtig verbouwen en/of veranderen van het product niet toegestaan.

Gebruik het apparaat uitsluitend binnen en stel het niet bloot aan vocht, trillingen, langdurig zonlicht of andere warmtebronnen, koude en mechanische belastingen.

Het apparaat is geen speelgoed! Laat kinderen er niet mee spelen. Laat verpakkingsmateriaal niet rondslingeren. Plastic folies en zakken, vormstukken van styropor enz. kunnen door kinderen als gevaarlijk speelgoed worden gebruikt.

Controleer voordat u een verbruiker aansluit, de technische gegevens en met name het maximaal toegestane schakelvermogen van het relais en het type van de aan te sluiten verbruiker! Alle lastgegevens hebben betrekking op ohmse lasten! Belast het apparaat uitsluitend tot de opgegeven vermogensgrens. Een overbelasting kan tot de vernieling van het apparaat, een brand of elektrisch ongeval leiden.

Het apparaat is berekend op een continue stroombelasting van 14 A. 16 A is voor maximaal 30 minuten toegestaan!

Het apparaat mag alleen op een gemakkelijk toegankelijk stopcontact worden aangesloten. Bij gevaar moet het apparaat uit het stopcontact worden getrokken.

Gebruik de HomeMatic-tussenstekker alleen in vast geïnstalleerde stopcontacten met randaarding, niet in contactdozen of met verlengkabels.

Sluit op de HomeMatic-tussenstekker geen eindapparaten aan die bij onbedoeld inschakelen een brand of andere schade kunnen veroorzaken (bijv. strijkijzers).
Gevaarsaanduidingen
Werking en overzicht van het apparaat

Trek altijd eerst de stekker van het eindapparaat uit de HomeMatic-tussenstekker, voordat u veranderingen aan het eindapparaat aanbrengt (bijv. een lamp vervangt).

Leg het snoer altijd zo, dat dit niet tot risico's voor mensen of huisdieren kan leiden.

Het apparaat is niet voor vrijschakelen geschikt. De last is niet galvanisch van het net gescheiden.

Reinig het apparaat alleen wanneer de stekker uit het stopcontact getrokken is, met een droge, linnen doek, die bij sterke verontreinigingen ook licht mag worden bevochtigd. Gebruik voor de reiniging geen oplosmiddelhoudende reinigingsmiddelen. Zorg ervoor dat er geen vocht binnen in het apparaat terechtkomt.

Elk ander gebruik dan wat in deze handleiding beschreven wordt, is oneigenlijk en leidt tot de uitsluiting van garantie en aansprakelijkheid. Dit geldt ook voor verbouwingen en veranderingen. Het apparaat is uitsluitend voor particulier gebruik bedoeld.

HomeMatic-tussenstekkers mogen niet achter elkaar worden gestoken.

Apparaten met elektronische adapters (bijv. televisietoestellen of hoogspannings-ledlampen) vormen geen ohmse lasten. Deze kunnen inschakelstromen van meer dan 100 A genereren. Het schakelen van dergelijke verbruikers leidt tot vroegtijdige slijtage van de actor.

Het apparaat is uitsluitend geschikt voor gebruik in woonruim- ten en soortgelijke omgevingen.
3 Werking en overzicht van het apparaat
Met de draadloze HomeMatic-schakelactor 1-voudig met vermogen- smeting in de tussenstekkerkast kunt u aangesloten verbruikers (bijv. uw droogautomaat) of andere aangeleerde HomeMatic-apparaten (bijv. dimactoren) in- en uitschakelen en het energieverbruik van de aangesloten verbruikers meten (tot 3680 watt (16 A)).
De draadloze HomeMatic-schakelactor met vermogensmeting combineert twee functies in één apparaat:
- schakelen van aangesloten verbruikers,
- meten van spanning, stroom, werkelijk vermogen, frequentie en energieverbuik.
Via het schakelkanaal kunt u aangesloten verbruikers in- of uitschakelen. Via de sensorkanalen hebt u aanvullend de mogelijkheid om aangeleerde HomeMatic-apparaten en aangesloten verbruikers in of uit te schakelen.
Het meetkanaal beschikt over een meetfunctie en kan meetgegeven (bijv. spanning, stroom, werkelijk vermogen, frequentie en energieverbruik) naar de HomeMatic-centrale doorsturen. De meetwaarden kunnen in het HomeMatic-systeem cyclisch naar de HomeMatic-centrale worden doorgestuurd en op de bedieningsinterface WebUI van de CCU2 grafisch worden weergegeven. In het apparaat worden geen meetgegevens opgeslagen.

Alle functies van het apparaat kunnen in combinatie met een CCU2 via de HomeMatic-bedieningsinterface WebUI worden geconfigureerd. Het instellen en configureren van het apparaat is ook met de HomeMatic-configuratieadapter mogelijk.

text_image
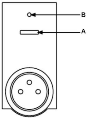
B A(A) - kanaaltoets
(B) - apparaatled
4 Algemene systeeminformatie over Home-Matic
Dit apparaat is een onderdeel van het HomeMatic-domoticasysteem en werkt met het bidirectionele BidCoS®-communicatieprotocol.
Alle apparaten worden met een standaardconfiguratie afgeleverd.
Daarnaast kan de werking van het apparaat via een programmeerapparaat en software worden geconfigureerd. Welke uitgebreide functies hierbij ontstaan en welke extra mogelijkheden het HomeMatic-systeem in combinatie met andere componenten biedt, vindt u in het HomeMatic WebUI-handboek.
De actuele versie van alle technische documenten en updates vindt u in het downloadgedeelte op www.homematic.com.
5 Inbedrijfstelling
5.1 Eenvoudige bedieningsfuncties aan het apparaat
- Steek de draadloze schakelactor met vermogensmeting in het stopcontact.
Het apparaat is direct gebruiksklaar en kan aan een HomeMatic-centrale (of aan andere HomeMatic-apparaten) worden aangeleerd. Het apparaat beschikt over een kanaaltoets (A), die met een korte druk voor de bediening (in- en uitschakelen) van aangesloten verbruikers kan worden gebruikt.
Om het apparaat met al zijn functies in uw HomeMatic-systeem te kunnen gebruiken en configureren en om verbruikers of HomeMatic-apparaten draadloos te kunnen besturen, moet u het apparaat eerst aanleren (zie hoofdstuk „5.2 Aanleren“ op pagina 49).
5.2 Aanleren

Lees dit hoofdstuk volledig door, voordat u met het aanleren begint.
Om de draadloze schakelactor met vermogensmeting in uw HomeMatic-systeem te integreren, zodat hij met andere HomeMatic-componenten (bijv. een draadloze HomeMatic-afstandsbediening) kan communiceren, moet het apparaat eerst worden aangeleerd. U kunt de draadloze schakelactor met vermogensmeting aan andere HomeMatic-apparaten of aan de HomeMatic-centrale aanleren.

Directe apparaatverbindingen zijn bij de draadloze schakelactor met vermogensmeting alleen via het schakelkanaal mogelijk (zie hoofdstuk „5.2.1 Aanleren aan HomeMatic-apparaten“ op pagina 50). Verbindingen met het meetkanaal moeten met een centrale of configuratieadapter tot stand worden gebracht (zie hoofdstuk „5.2.2 Aanleren aan een HomeMatic-centrale“ op pagina 51).
Inbedrijfstelling
Inbedrijfstelling
5.2.1 Aanleren aan HomeMatic-apparaten
Indien u de draadloze schakelactor met vermogensmeting aan een of meerdere apparaten wilt aanleren, moeten de beide te verbinden apparaten in de aanleermodus worden gebracht. Ga hiervoor als volgt te werk:

Houd bij het aanleren een minimumafstand van 50 cm tussen de HomeMatic-apparaten aan.
Activeer eerst de aanleermodus aan de draadloze schakelactor met vermogensmeting.
- Houd de kanaaltoets (A) ten minste 4 seconden ingedrukt. Een lang - zaam oranje knipperende apparaatled (B) geeft aan dat de aanleermodus is ingeschakeld. De aanleertijd bedraagt max. 20 seconden.

text_image
>4 s- Breng nu het apparaat dat u aan de draadloze schakelactor met vermogensmeting wilt aanleren (bijv. een draadloze HomeMaticafstandsbediening, zie onderstaande afbeelding), in de aanleermodus. Verwijder het deksel van het batterijvak en druk met een puntig voorwerp op de aanleertoets.

Indien het aanleerproces succesvol was, licht de apparaatled (B) van de draadloze schakelactor met vermogensmeting gedurende één seconde groen op. Indien de apparaten niet aan elkaar konden worden aangeleerd, licht de apparaatled gedurende twee seconden rood op. Probeer het in dit geval opnieuw.
Na het succesvol aanleren kunt u aangesloten verbruikers via de draadloze schakelactor met vermogensmeting bijv, met een draadloze HomeMatic-afstandsbediening in- en uitschakelen.

Indien er geen aanleren plaatsvindt, wordt het aanleerproces na 20 seconden beëindigd. Indien andere apparaten zich in de aanleermodus bevinden, dan worden deze aangeleerd.
5.2.2 Aanleren aan een HomeMatic-centrale
Om uw apparaat softwarematig en comfortabel
- te kunnen besturen en configureren,
- direct met andere apparaten te kunnen verbinden of
- in centrale programma's te kunnen gebruiken,
moet het eerst aan de HomeMatic-centrale worden aangeleerd. Het aanleren van nieuwe apparaten aan de centrale gebeurt via de Home-Matic-bedieningsinterface 'WebUI'.
Inbedrijfstelling
Inbedrijfstelling

Zodra een apparaat aan een centrale is aangeleerd, kan het alleen nog via deze met andere apparaten worden verbonden.

Elk apparaat kan altijd aan slechts één centrale worden aangeleerd.

Houd bij het aanleren een minimumafstand van 50 cm tussen de HomeMatic-apparaten en de centrale aan.
Voor het aanleren van uw apparaat aan de centrale gaat u als volgt te werk:
- Open de WebUI-bedieningsinterface in uw browser. Klik op de knop 'Teach-in devices' (apparaat aanleren), die zich rechts op het scherm bevindt.

- Om de aanleermodus te activeren, klikt u in het volgende venster op 'Start teach-in mode' (BidCoS-RF-aanleermodus).

- De aanleermodus blijft 60 seconden actief. In het informatieveld wordt de resterende aanleertijd aangegeven.
- Breng binnen deze aanleertijd ook de draadloze schakelactor met vermogensmeting in de aanleermodus. Houd de kanaaltoets (A) ten minste 4 seconden ingedrukt. Een langzaam oranje knipperende apparaatled (B) geeft aan dat de aanleermodus is ingeschakeld.

text_image
> 4 s- Na korte tijd verschijnt het nieuw aangeleerde apparaat in de inbox van uw bedieningsinterface. De knop 'Inbox' geeft hierbij aan hoeveel nieuwe apparaten met succes zijn aangeleerd.
- Leer eventueel nog andere apparaten aan, door de hierboven beschreven stappen voor ieder apparaat te herhalen.
- Configureer nu de nieuw aangeleerde apparaten in de inbox, zoals
beschreven in het hoofdstuk 'Nieuw aangeleerde apparaten configureren'.
Nieuw aangeleerde apparaten configureren
Nadat u uw apparaat aan de HomeMatic-centrale hebt aangeleerd, wordt het naar de 'Inbox' verplaatst. Hier moeten uw apparaat en de bijbehorende kanalen eerst worden geconfigureerd, om het apparaat voor bedienings- en configuratietaken beschikbaar te maken. Kies een naam en wijs het apparaat resp. de kanalen aan een ruimte toe. U hebt aanvullend de mogelijkheid om afzonderlijke parameters in te stellen.
Daarna kunt u uw apparaat via WebUI besturen en configureren, direct met andere apparaten verbinden, in centrale programma's gebruiken en de meetwaarden van de aangesloten verbruikers opvragen. Meer details hierover vindt u in het HomeMatic WebUI-handboek (te vinden in het downloadgedeelte van de website www.homematic.com).
6 Voorwaardelijk schakelen
Met de functie 'Voorwaardelijk schakelen' kunnen aangesloten verbruikers of andere HomeMatic-apparaten worden geschakeld, indien aan een bepaalde voorwaarde voldaan is.
Voorbeeld: U hebt uw droogautomaat in de kelder in combinatie met de draadloze schakelactor met vermogensmeting aangesloten en wilt door een audiosignaal op de hoogte worden gesteld wanneer hij klaar is. Hiervoor kunt u de draadloze schakelactor met vermogensmeting via de centrale verbinden met een draadloze HomeMatic-mp3-gong.
Zodra de droogautomaat bijv. minder dan 100 W verbruikt, moet hij worden uitgeschakeld. Aanvullend moet door de draadloze mp3-gong een audiosignaal worden uitgezonden. Wanneer de ingestelde vermogens-drempel (bijv. < 100 W) wordt onderschreden, stuurt de draadloze schakelactor met vermogensmeting een voorwaardelijk schakelcommando naar de draadloze mp3-gong en de meetwaarden van de droogautomaat naar de centrale. De draadloze mp3-gong zendt het gewenste sig-
naal uit en u weet wanneer uw droogautomaat klaar is.

flowchart
graph TD
A["Gang"] -->|Audio signal| B["Neuken"]
B --> C["Kelder"]
C -->|Meetwaard| D["< 100 W"]
D --> E["Meatwaard"]
style A fill:#f9f,stroke:#333
style B fill:#bbf,stroke:#333
style C fill:#bfb,stroke:#333
style D fill:#ffb,stroke:#333
style E fill:#fff,stroke:#333
7 Fabrieksinstellingen opnieuw instellen
De fabrieksinstellingen van het apparaat kunnen handmatig opnieuw worden ingesteld. Hierbij gaan alle instellingen en informatie verloren.

Voordat u de fabrieksinstellingen van het apparaat weer instelt, dient u het eerst uit de HomeMatic-bedieningsinterface WebUI te verwijderen.
Ga als volgt te werk:
- Houd de kanaaltoets (A) ten minste vier seconden ingedrukt, tot de apparaatled (B) langzaam oranje begint te knipperen.
- Laat de toets los.
Fout- en terugmeldingen van de apparaatled

text_image
> 4 s- Druk nu de kanaaltoets (A) opnieuw vier seconden in, tot de apparaatled (B) snel rood begint te knipperen.
- Laat de toets los.
- De apparaatled gaat uit.
- De fabrieksinstellingen zijn nu weer ingesteld.
8 Fout- en terugmeldingen van de apparaatled
8.1 Knippercodes
| Knipperreeks Betekenis Oplossing | ||
| Langzaam oranje knipperen | Aanleermodus actief | Zet de aanleerpartner in de aanleermodus. |
| Snel oranje knipperen | Gegevensuitwisse-ling met de aanleer-partner | Wacht op de bevesti-ging van de apparaat-led. |
| 1 s groen oplichten Aanleerproces suc-cesvol | U kunt met de verdere bediening doorgaan. | |
Fout- en terugmeldingen van de apparaatled
| 2 s rood oplichten Aanleerproces niet succesvol | Probeer het opnieuw. | |
| Langzaam oranje knipperen | Voorfase voor te-rugzetten van de fabrieksinstellingen | Het apparaat wacht op een lange druk op de kanaaltoets voor het terugzetten of op een korte druk voor het be-eindigen. |
| Snel rood knipperen De fabrieksinstellin-gen van het appa-raat worden terug-gezet. | / | |
| Kort rood, groen en oranje knipperen | Led-testindicatie na terugkeer van de spanning | Wacht tot de apparaat-led uitgaat. |
| 1 x lang, 1 x kort rood knipperen | Duty cycle bereikt | zie hoofdstuk „8.2 Duty cycle“ op pagina 56 |
| 1 x lang, 2 x kort rood knipperen | Apparaat defect Apparaat defect; neem contact op met uw dealer. | |
8.2 Duty cycle
De duty cycle beschrijft een wettelijk geregelde begrenzing van de zend- tijd van apparaten in het 868 MHz-bereik. Het doel van deze regeling is om de werking van alle in het 868MHz-bereik werkende apparaten te garanderen.
In het door ons gebruikte frequentiebereik van 868 MHz bedraagt de maximale zendtijd van een apparaat 1% van een uur (dus
36 seconden per uur). De apparaten mogen bij het bereiken van de
1%-limiet niet meer zenden, tot deze tijdelijke begrenzing weer voorbij
is. In overeenstemming met deze richtlijn worden HomeMatic-apparaten 100% conform de norm ontwikkeld en geproduceerd. In het normale bedrijf wordt de duty cycle doorgaans niet bereikt. In afzonderlijke situaties kan dit bij de inbedrijfstelling of eerste installatie van een systeem wel het geval zijn, wanneer meerdere en zendintensieve aanleerprocessen actief zijn. Een overschrijding van de duty-cycle-limiet wordt aangegeven door een eenmalig lang en eenmalig kort knipperen van de apparaatled en kan zich uiten in een tijdelijke onderbreking van de werking van het apparaat. Na korte tijd (max. 1 uur) werkt het apparaat weer normaal.
9 Gedrag na een terugkeer van de spanning
Na het insteken van het apparaat in een stopcontact of na het terugke- ren van de netspanning voert de draadloze schakelactor een zelftest/ herstart (ca. 2 seconden) uit. De apparaatled knippert kort rood, groen en oranje (led-testindicatie). Indien hierbij een fout wordt vastgesteld, dan wordt dit aangegeven door een knipperen van de apparaatled (zie hoofdstuk „8.1 Knippercodes“ op pagina 56). Dit herhaalt zich continu en het apparaat neemt zijn eigenlijke functie niet op. Indien de test zonder fouten wordt doorlopen, verzendt de draadloze schakelactor een telegram met zijn statusinformatie. Opdat bij een te- rugkeer van de spanning (bijvoorbeeld na een netuitval of uitschakeling) niet alle HomeMatic-actoren tegelijk zouden zenden, wacht de draadloze schakelactor een toevallige vertragingstijd voordat hij zendt. Tijdens deze tijd knippert de apparaatled langzaam oranje. Indien de vertragingstijd zeer kort is, kan het gebeuren dat dit knipperen nauwelijks waarneem- baar is.
10 Onderhoud en reiniging
Het product is onderhoudsvrij. Laat reparaties over aan een vakman. Reinig het product met een zachte, schone, droge en pluisvrije doek. Voor het verwijderen van sterke verontreinigingen kan de doek licht met lauw water worden bevochtigd. Gebruik geen oplosmiddelhoudende reinigingsmiddelen. Deze kunnen de kunststof kast en opschriften aantasten.
11 Algemene instructies voor het draadloze bedrijf
De draadloze communicatie wordt via een niet-exclusief communicatiekanaal gerealiseerd, zodat storingen niet kunnen worden uitgesloten. Andere storende invloeden kunnen afkomstig zijn van schakelprocessen, elektromotoren of defecte elektrische apparaten.

Het bereik in gebouwen kan sterk afwijken van het bereik in het vrije veld. Behalve het zendvermogen en de ontvangsteigenschappen van de ontvangers spelen ook omgevingsinvloeden zoals luchtvochtigheid en de bouwkundige situatie een belangrijke rol.

Indien bij de draadloze schakelactor met vermogensmeting de 'beveiligde overdracht' (AES) wordt ingeschakeld, betekent dit:
- meer communicatie,
- actorgroepen kunnen niet meer gelijktijdig commando's uitvoeren. Meer informatie over de beveiligde overdracht (AES) vindt u in het HomeMatic WebUI-handboek op www.homematic.com.
Hierbij verklaart eQ-3 AG dat dit apparaat in overeenstemming is met de fundamentele eisen en andere relevante voorschriften van de richtlijn 1999/5/EG.
De volledige conformiteitsverklaring vindt u op www.homematic.com.
Technische gegevens
Technische gegevens
Stroomopname: 14 A max. (16 A voor 30 min)
Opgenomen vermogen bij stand-by: < 0,6 W
Beschermingsgraad: IP20
Omgevingstemperatuur: -10 tot +35 °C
Verontreinigingsgraad: 2
Meetcategorie: CAT II
Zendfrequentie: 868,3 MHz
Ontvangersklasse SRD category 2
Typ: bereik in het vrije veld: 300 m
Duty cycle: < 1 % per h
Max. schakelvermogen: 3220 W continu
Type belasting:
Levensverwachting relais/
schakelingen: 40 000 (16 A, ohmse last)
Relais: maakcontact, 1-polig, μ-contact
Type schakelaar: onafhankelijk gemonteerde schakelaar
Bedrijfswijze: S1
| Meetbereik | Resolutie | Nauwkeurigheid | |
| Vermogen | 0 tot 3680 W | 0,01 W 1% | ± 0,03 W* |
| Stroom | 0 tot 16 A | 1 mA | 1% ± 1 mA* |
| Spanning | 200 tot 255 V | 0,1 V | 0,5 % ± 0,1 V |
| Frequentie | 48,72 tot 51,27 Hz | 0,01 Hz | 0,1 % ± 0,01 Hz |
* Frequentiebereik: 2 Hz tot 2 kHz
Technische wijzigingen voorbehouden.

Verwijdering
Het apparaat hoort niet in de vuilnisbak! Elektronische apparaten moeten overeenkomstig de richtlijn voor afgedankte elektrische en elektronische apparaten worden ingeleverd bij de inzamelpunten voor afgedankte apparaten.

Informatie met betrekking tot de conformiteit
De CE-markering is een label voor het vrije verkeer van goederen binnen de Europese Unie en is uitsluitend bedoeld voor de desbetreffende autoriteiten. Het is geen garantie voor bepaalde eigenschappen.

Met technische vragen over het apparaat kunt u terecht bij uw speciaalzaak.
SimpelGids