H34 - Verwarming NESTOR MARTIN - Gratis gebruiksaanwijzing en handleiding
Vind de handleiding van het apparaat gratis H34 NESTOR MARTIN in PDF-formaat.
Veelgestelde vragen - H34 NESTOR MARTIN
Gebruikersvragen over H34 NESTOR MARTIN
0 vraag over dit apparaat. Beantwoord die u kent of stel uw eigen vraag.
Stel een nieuwe vraag over dit apparaat
Download de handleiding voor uw Verwarming in PDF-formaat gratis! Vind uw handleiding H34 - NESTOR MARTIN en neem uw elektronisch apparaat weer in handen. Op deze pagina staan alle documenten die nodig zijn voor het gebruik van uw apparaat. H34 van het merk NESTOR MARTIN.
GEBRUIKSAANWIJZING H34 NESTOR MARTIN
GEBRUIKSAANWIJZING MODE D'EMPLOI

BE / FR II2E+3P
NL12L
THERMIC DISTRIBUTION EUROPE SA/NV
VOIE AXIALE
B-5660 COUVIN
C34##3700A
BELGIÉ-NEDERLAND....p 3 BELGIQUE-FRANCE.....p 20


| Model | A B C | D E | |||
| S34 | 631 mm | ∅ 97 int/125 ext | 752 mm | 395 mm | 61 4 mm |
| H34 | 649 mm | ∅ 97 int/125 ext | 717 mm | 371 mm | 58 0 mm |

| Model | A B C | D E | |||
| R34 | 574 mm | ∅ 97 int/125 ext | 797 mm | 332 mm | 690 mm |
| C34 | 589 mm | ∅ 97 int/125 ext | 764 mm | 436 mm | 631 mm |
BELGIE- NEDERLAND
BE:112E+3P
NL:12L
NESTOR
MARTIN
THERMIC DISTRIBUTION EUROPE SA/NV
VOIE AXIALE
B-5660 COUVIN
GEBRUIKSAANWIJZING
S34
H34
R34
C34
GAS
BE/FR: 7550 W G20
6900 W G25
7770WG31
NL: 6900 W G25
7770WG31
Uw verwarmingstoestel wird met zorg gebouwd, zodat het u absolute voldoening en de Beste service biedt.
-
U hebte een zeer verstandige keuze gedaan.
-
Het rendement van uw toestel zal afhangen van de correcte naleving van onderstaande aanwijzingen.
Voor de installmentie controeren dat de locale distributie compatible is met de regeling van het toestel (gas categorie en gas druk)
UITRUSTING
- Dit toestel is uitgerust met de afsluiter MERTIK MAXITROL GV30 en met de waakvlam MERTIK MAXITROL G30-ZP1
HOE KRIJGT U TOEGANG TOT DE BINNENKANT VAN DE HAARD ?
- Open de deur met behulp van de handgreep links van de vuurhaard
- Sluit de deur vooraleer het toestel te gebruiken
Opmerking: het toestel mag Niet worden gebruikt wanner de imitatie houtblokken gebarsten zich en op de brander rusten. het toestel mag Niet worden gebruikt met open deur
HOE KRIJGT U TOEGANG TOT DE AFSLUITER?
- De aflsluiter bevindt zich anschter de onderste deur van de haard. Om te openen, de linkerzijde van de onderste deur maar U toe trekken.
DE RUIT VERVANGEN
N.B.: het is verboden het toestel te latent werken wonneer de ruit gebarsten is. Open de deur zoals hierboven beschreven. Schroef de glasklemmen los en verwijder ze.
Plaats de neue ruit. Vervang eventueel de dichtingen. Plaat de glasklemen opnieuw. Niet te hard aanspannen.
VERVANGING VAN DE IMITATIE HOUTBLOKKEN
Open de deur van de vuurhaard, verwijder zo nodig de imitate houtblokken en verrang ze door neue.
Het is verboden een type houtblokken te gebruiken dat Niet door de constructeur van de kachel is geleverd aangezien dit slecht kan zich voor de verbranding. Het is onontbeerlijk de houtblokken correct teplaatsen. Opmerking : De eerste koer dat u de kachel aansteekt, ontstaat er algijd een brandlucht die na enkele uren volledig verdwenen要去ন.
Na deze eerste ontsteking kan het nodig�zijn om de ruit met een zachtve vod en een standardproduct voor het reiningen van ruiten schoon te make.





- Leg ongeveer om de 2 à 3 cm een imitate-gloeikool op de gaatjes van de brander.
- De achefterste houtblok achefter de twee voorzieneplaatsen leggen.
- De zij-houtblok op dechterste houtblok leggen.
- De voorste houtblok in de 2 voorzieneplaatsenplaatsen.
SPECIFICATIONS (BE/FR)
| Gas Net druk Pa mm | Ø inject brander | Normaal vermogen | Beperkt vermogen nr waak. | Øby-pass | ||
| Uur debiet | Brander druk Pa | Uur debiet | Brander druk Pa mm | |||
| G20H 2000 | 4 x 1.15 | 926 m3 | 1400 0,6 | 60 m3 | 730 27.2 | - |
| G25L 2500 | 4 x 1.15 | 1,004 m3 | 1770 0,7 | 38 m3 | 912 27.2 | - |
| G31 | 3700 | 0,367 m3 | 2830 0,2 | 79 m3 | 1650 | 22.1 - |
SPECIFICATIONS (NL)
| Gas Net druk Pa mm | Ø inject brander | Normaal vermogen | Beperkt vermogen nr waak. | Øby-pass | ||
| Uur debiet | Brander druk Pa | Uur debiet | Brander druk Pa mm | |||
| G25L 2500 | 4 x 1.15 | 1,004 m³ | 1770 0,738 m³ | 912 27.2 - | ||
| G31 | 5000 | 4 x 0.77 | 0,367 m³ | 2830 0,279 m³ | 1650 | 22.1 - |
G20 = rijk aardgas
G25 = aardgas Slochteren
G31 = propaan
N.B.: 1 mbar = 10 mm WK = 100 Pa. De toestellen zijn in de fabriek verzegeld voor werking op aardgas (G20 en G25).
gasaansluiting: 1 / 4
GEBRUIKERS
INSTALLATIE
Het toestel moet aangesloten worden op een afvoerschoorsteen en要去 aanom in de buurt van de schoorsteen geplaatst worden. Plaatsing en aansluiting vereisen vakkennis. Uw installmenter za erop toezien dat alles overeenkomstig de regels van de techniek en deeiligheid gebeurt. Hij za de goede werkung van het toestel volgens het type gas controlleren. Om de convector op de leiding aan te sluiten, za hij zeker geen rubberslang gebruiken, want omeiligheidsredenen is dit ten strengste verboden. De radiator moet op minstens 15 cm afstand van dechterwand en 20 cm van de zijwanden geplaatst worden. Indien deze wanden uit ontvlambaar materiaal bestaan, verdient het aanbeveling een geanodiseerde staalplaat (minstens 0,7mm dik) van 600~mm breed en 800~mm hoog, op een afstand van 5mm van de muur te plaatsen. Deze plaat moetrecht tegenover de stralende delen van het toestel geplaatst worden. Het toestel moet op minstens 40~cm van alle brandbare materialen (gordijnen, overgordijnen, hout,...) geplaatst worden.
INWERKINGSTELLING
Opdat het toestel er perfect zou blijven uitzien, moet u bij de eerste inwerkingstelling volgende voorzorgsmaatregelen treffen: voor de ontsteking alle buiteonderdelen reinigen met een zacht sopje en met een zachte doek afvegen; terwijl het toestel opwarmt, de neerslag en condensatie die op de oppervlakken verschijnen regelmatig met een zachte en droge doek afvegen. De werking van de radiator worden gestuurd door een thermostatische afluiiter.
VEILIGHEID
De waakvlam van de gasconventoren is uitgerust met een thermo-elektrische veiligheid. Indien de waakvlam om een of andere reden uitgaat, worden de gastoevoer maar de brander en de waakvlam automatisch afgesloten. Er kan dus geen onverbrand gas ontsnappen. Het toestel要去 dan opnieuw worden aangestoken om wee ter kurenwerken. U doet er goed aan enkele minuten te wachten vooraleer de waakvlam opnieuw te ontsteken. Het toestel mag in geen geval binnen de drie minuten opnieuw aangestoken worden. Onze toestellen zich voorzien van een kijkvenster met een ruit in vuurvast glas. Wanner de ruit gebroken of bebarsten is, mag het toestel pas gebruikt worden nadat de herstellung is uitgevoerd. Uw toestel is uitgerust met een beveiliging (TTB) die de werkung onderbreekt wanneer de afvoer van de verbrandingsprodukten nicht correct verloopt. Bij onderbreking van de werkig, het toestel latent rusten vooralerer het opnieuw aan te steken. Indien de werkig herhaaldelijk onderbroken worden,要去 de installmenteur verwittigd worden.
ONDERHOUD
Enkele tips: om het vuil aan de buitenkant van de ruit te verwijderen, moet u het toestel uitzetten en wachten tot het volledig afgekoeld is. Gebruik een vochtige of in alcohol gedrenkte doek en laat drogen (als u alcohol gebruikt: tien minuten wachten vooraleer het toestel opnieuw aan te steken). De geemalleerde en verchroomde onderden moeten koud gereinigd worden. Voor email moet u een vochtige, Lichtjes in zeepwater gedrenkte spongs gebruiken. Spoel en droog zorgvuldig af. Laat nooit vlekken van een zure vloeistof (azijn, citroen) op het email acheter. Verwijder vetvekken met heet water waaraan sodakristallen of een ander product dat geschikt is voor het onderhoud van email werk toegevoegt. Gebruik nooit bijtende of schurende producten of metaaldoekjes op de verchroomde of vergulde onderdelen, want deze zouden krassen konnenveroorzaken. U hoeft nicht te vrezen voor vuil aan de binnenkant van uw convector.
AANBEVELINGEN
Sluit het toestel alleen aan met behulp van metalen buizen. Het gebruik van een rubberslang is ten strengste verboden. Wonneer het toestel buiten werkung gesteld is, moet u de afsluitkraan op de gasleiding sluiten. We herinneren eraan dat gaslekken gekenmerkt worden door een specifieke geur. Ga als volgt tewerk: sluit de hoofdtoevoerkraan; open deuren en vensters; controller of goen enkele kraan open is gebleven. Indien deze handelingen onvoldoende blijken, moet u de gasmeter afsluiten en de installmentur of de gasdienst verwittigen. Het is ten strengste verboden gaslekken door middel van een vlam op te sporen. De gasdichtheid van de leidingen要去 met zeepwater of een speciaal, in de handel verkrijgbaar product gecontroleerd worden.
Belangrijk: Bij het binnenkomen in een ruimte waar een gasgeur hangt, is het van vitaal belang nicht te roken, geen vlam te doen branden, geen schakelaar of eender welk ander elektrisch toestel te bedieren. Het vermogen van het toestel mag Niet overschat worden ten opzichte van de te verwarmen ruimte.
GEEMAILLEERDE VERSIE
De barstjes die zich op een emailvlak können voordoen en die haarscheurtjes worden genoemd, vormen in geen geval een fabricagebout.
Deze barstjes zijn het gevolg van een verschil van de uitzettingscoefficien tussen het gietijzer en het email; ze zijn overigens geenszins schadelijk voor de kwaliteit van het email.
OPGELET VOOR UW VEILIGHEID
Laat uw toestel installeren door een geschoold vakman. Bij problemen neemt urechtstreeks contact op met hem. Vraag hem waar originele NESTOR MARTIN-onderdelen. Opgelet voor namaak! Bij gebruik van het toestel in een kinderdagverblijf of een andere ruimte waar kinderen, ouderen en/of zieken verblijven, verdient het aanbeveling een beveiliging te voorzien om contact met de actieve oppervlakken te vermijden.
WERKING VAN HET TOESTEL
- Het ontsteken van de waakvlam.
Draai de bedieningsknop voorzigelijk waar links tot de stoppositie.


De bedieningsknop indrukken en draaien tot op de stand kleine vlam en cervolgens een heen-en-terug beweging uitvoerenussen de stand op kleine vlam en de stand O, totdat de waakvlam zich ontsteekt.

Nog enkele seconden de bedieningsknop ingedrukt honden (eventuel herbeginnen indien de waakvlamuitdooft).
Indien er geen vork ontstaat : geleider, aansluiting van de ontsteker en van de ontstekingselectrode nagaan alsmede de ontstekingselectrode zich.
10

Wanner de waakvlam goed brandt, laut U de bedieningsknop zachtjes terugkomen en draait U hem verwolgens op de stand groe vlam.

De gewenste temperatuur bepaalt U met de thermostatische bedieningsknop.

Van 1 tot en met 6 : regelbare temperatuur op thermostat (draaien in omgekeerde richting van het uurwerk). Op elk van deze posities bepaalt de thermostat automatisch de werkking van het apparatusat om een bepalde temperatuur te handhaven.
Na wat ervaring, zult U heel vlug bepalen welke positie U het best past. De thermostaat bepaalt de gang van de brander tussen maximum-minimum-stop volgens dat de temperatuur van het lokaal onder, gelijk of boven de gekozen temperatuur ligt.
C34##3700A
11
Opmerking: De waakvlam mag.altijd blijven branden, zodat U op elk moment uw apparaat waar=kunt latent functioneren met een maximum aan beschikbare kalorieën in een minimum aan tijd zodat uw verbruik altijd afhankelijk blijt van dethermostat-voordelig comfort.
- Afzetten van het apparaat.
Ontstekingsknop draaien in wijzerzin.
Om de brander af te zetten, zeit U de bedieningsknop op de stand kleine vlam.

Om het apparaat volledig af te zetten (brander en waakvlam) bedieningsknop indrukken en draaien tot de stand O.

Ongeveer 25 seconden wachten alvorens het apparaat wee aan te stellen (na de klik van de kraan).
- Actieve oppervlakken
Alle delen van de behuizing worden als actieve oppervlakken beschouwd. De buis, de achechterwand inplaatstaal, de bodem, de vloerplaat, het deksel, de deur en de handgrepen worden ook als actieve oppervlakken aanzien. Daarom dienen voorzorgsmaatregelen te worden getroffen bij eventueel contact met deze actieve oppervlakken.
INSTALLATEURS
ONDERWERP
Dit gedeelte bevat de algemene montage-instructies voor unsere radiatoren. Dit gedeelte is bestemd voor geschooide installateurs. Alleen zich hunnen de installmentie volgens de regels van de kunstuitvoeren.
INSTALLATIE
Voordat ze de fabrik verlaten, worden al once radiatoren zorgvuldig gecontroleerd en verzegeld voor het gas waarvan het type vermeld staat op een etiket op dechterwand van het toestel. Wanner de verdelingsvoorwaarden met de voor dit type gas geldende normen overeenstemmen, hunnen once toestellenrechtstreeks geinstalleerd en in werking gesteld worden. Hierbij enkele bijzondere voorschriften die bij de installmentie要去en worden nageleefd. De installmentie geleurt trouwens altijd in overeenstemming met de bestaande reglementen voor aansluiting van gastroestellen.
Belgie: NBN-norm D 51003. Er moet een door de K.V.B.G. gekeurde afluitkraan geplaatst worden.
Nederland : NEN 1078 en Europese reglementen.
Gasaansluiting
Indien de aan te sluiten leiding achefter het toestel loopt, moet men erop toezien dat die de opening van de trekonderbreker of de secundaire luchttoevoer op de bodem van de verbrandingskamer noch volledig, noch gedeeltekijk verstopt. Op de gasleiding要去 de radiator absolut een makkelijk toegankelijk afsluitkaan gemonteerd worden. De aansluiting要去 met stevige metalen buizen uitgevoerd worden. De diameter要去 voldoende grootzem aan de inlaat van het toestel de druk, voorzien in de tabel met de werkingskenmerken van de radiator, te verzekeren.
Aansluiting op de schoorsteen
Nagaan of de schoorsteen in goede staat is vooraleer het toestel te monteren (controleren of de schoorsteen Niet verstopt, gebarsten of vervoild,... is). Bij werking van het toestel is een zekere onderduk, hoe Klein ook, nodig om een goede afvoer van de verbrandingsprodukten te verzekeren. Het verdient aanbeveling de schoorsteen te vegen vooraleer het toestel teplaaten. Het buisje van het toestel met behulp van een buisstuk dat minstens 30mm diep binnen het buisje inspant, aansluiten overeenkomstig de voorschriften van de lokale gasmaatschappijen. Het buisstuk要去 Lichtjes naar boven hellen waar de schoorsteen toe en het verzegeld uiteinde in het metselwerk za net uit het vlak van de binnenwand van de rookgasleiding uitsteken. De buis in het metselwerk goed hervoegen. Wanner de muur net uit vuuvast materiaal zoals keramiektegels, bakstenen, natuurstenen, bestaat, moet men een afstand van ongeveer 15 cmussen de muur en de achterkant van het toestel voorzien. Indien deze afstand kleiner is, moet een bescherming geplaatst worden. Men dient ook de vloer te beschermen wanneer die net gegen warmte bestand is.
WAAKVLAM: MERTIK MAXITROL G30-ZP1
De vlammen van de waakvlam moeten lang genoeg zichen om ± 10mm boven de sonde uit te steken. Indien de Sonde van het thermokoppel onvoldoende verwarmd wordt, hetzig door een abnormale drukdaling, hetzig als gevolg van een gasonderbreking of afwijking van de vlam van de waakvlam, za het toestel zichzelf in de veiligheidsstand schakelen. U kan de waakvlam regelen met behulp van schroef 5 op de gasklep. Vastschroeven = lager zetten en omgekeerd.

BRANDERS
De toestellen voor aardgas zijn in de fabriek afgesteld en verzegeld en要去en dus nicht更是 afgesteld worden. De branderdruk要去 overeenstemmen met de voorschriften van de werkingskenmerken van der radiator. Gebruik een drukmanometer waarop de druk tot minstens 5000 Pascal kan afgelezen worden.
Terwij de brander stilligt, draait u de binnenschroef los van het buisstukje van de drukaansluiting die zich op het injectorhouserblok of aan de uitlaat van de afsluiter bevindt. Sluit de slang van de manometer erop aan.
- Nominaal vermogen: de boltemperatuur moet minder dan 25^ bedragen. De knop van de afsluier op de stand van maximale opening plaatsen. De druk op de manometer controeren. Om deze druk te wijzigen, de instructies van de paragraaf over de afsluier en het waakpitje volgen.
- Beperkt vermogen: de boltemperatuur moet meer dan 18^ bedragen. De hendel van de afsluiterplaatsen op de stand die het afslaan van de brander voorafgaat. De brander moet op dit ogenblik met beperkt debiet werkken. De druk op de manometer controeren. Indien de druk Niet overeenstemt met de druk in de tabel met de werkingskarakteristieken van de radiator,要去e de instructiesuit de tabel gevolgd worden.
OMSCHAKELING
De toestellen worden uitgaande van de fabriek geleverd in categorie aardgas.
N.B.: Vór de verzending worden de toestellen gecontroleer en verzegeld door een kleurmerk. Wij kannen de goede werkig van het toestel Niet更是 verzekeren wanner een van deze merken beschadigd werden. De toestellen werden gecontroleer en verzegeld voor alle gastypes G20 en G25 (het is Niet nodig een afstellinguit te voeren voor de verschillende gastypes. Alleen de druk en de gasdichtheid要去en gekontroleerd worden na de installmentie).
ONDERHOUD
Het onderhoud omvat voornamelijk de reiniging, indien nodig, van de hoofdbrander. Hiervoor要去 u de leidingen die de brander met de afsluter verbinden, losdraaien en de schroeven die de brander op het verwarmingslichaaam bevestigen, verwijden. Schuif er eventueel een staaf in om de pluizen weg te nemen wonneer de leiding erg vuil is.
- bedieningsknop
2.thermostatische bedieningsknop - regelschroef min. debiet
- max. debiet regelschroef
- regelschroef voor waakvlam
- temperatuurvoeler
- drukopname voeding
- drukopname brander
-Installing van het nominale vermogen
Plaats de knop op stand 6. De temperatuur aan de voeler (bulb) moet minder dan 25^ bedragen. Onder deze voorwaarden, schroef 4 in wijzerzin draaien indien de druk aan de brander ligt dan de druk die in de tabel met de karakteristieken van de convector vermeld staat. Indien de druk te hoog is, in gegenwijzerzin draaien.
N.B.: de aflsluiter is voorzien van een debietregeling voor aardgas in de fabriek verzegeld op de overeenkomstige druk).
-Installing van het beperkt vermogen
Deze stand worden bepaald door regelschroef nr. 3. Vastschroeven = lager zetten en omgeekerd.
-Installing van het waakpitje
Schroef 5 latent de afstelling toe van het waakvlamdebiet (losschroeven = debiet opdrijven - aanschroeven = debiet verminderen).
de voor-afstellingen gebeuren in de fabriek. Een te Klein debiet kankleine ontploffingen veroorzaken, een te groot debiet heeft een te groot verbruik tot gevolg.
Opmerking: wanner het toestel buiten werkig is omdat knop 6 is ingedrukt, blijven de twee knoppen 6 en 7 ingedrukt tijdens de inertieperiode van het thermokoppel (30 tot 50 seconden), wat verhinder dat het toestel onmiddelijk herontsteekt.
Ombouwen van gas
de toestellen worden geleverd conform op aardgas. Voor het verlaten van de fabriek worden de toestellen gecontroleerd afgesteld en geijkt door middel van een een verf .wij+kunnen de goede werkig van het toestel Niet meer garanderen als er wijzigingen aangebracht+zijn of de ijking verwijderd is.de toestellen zijn gereld voor volgende soorten gas G20&G25 ( voor deze gas soorten is geen regelingeer nodig)enkel een controle van de gasdrukken en dichtheidscontrole moeten worden uitgevoerd na de plaatsing
OMSCHAKELING
De toestellen zijn erkend in categorie II 2E + 3P . Als het toestel mo werken op een ander gas dan datgene waarvoort het in de fabriek werden verzegeld (G20), moet u de volgende wijzigingen aanbrengen:
- verrang de injector door de overeenkomstige injector (zie de tabel met de werkingskenmerken). Het doorboren van de injectors worden aangeduid in hondersten mm. Vergeet de afdichtingen nicht. Zorg ervoor dat de injector goed geblokkeerd is.
- verrang de injector van de waakvlam
- controller deinstallingen MAX en MIN en pa s ze aan volgens de drukwaarden in de tabel met kenmerken.
- stel de luchtring af.
Zelfklever "REGLE PROPANE" (PROPAAN AFGESTELD) aanbrengen.
N.B.: voör de verzending worden de toestellen gecontroleerd en verzegeld door een kleurmerk. Wij können de goede werkung van het toestel Nieteer neer verzekeren wonneer een van deze merken beschadigd werden. De toestellen zijn gecontroleerd en verzegeld voor aardgas (zieplaatje met kenmerken). Bij transformatie net vergeten het kenmerkplaatje "REGLE PROPANE" (PROPAAAN AFGESTELD) aan te brengen.

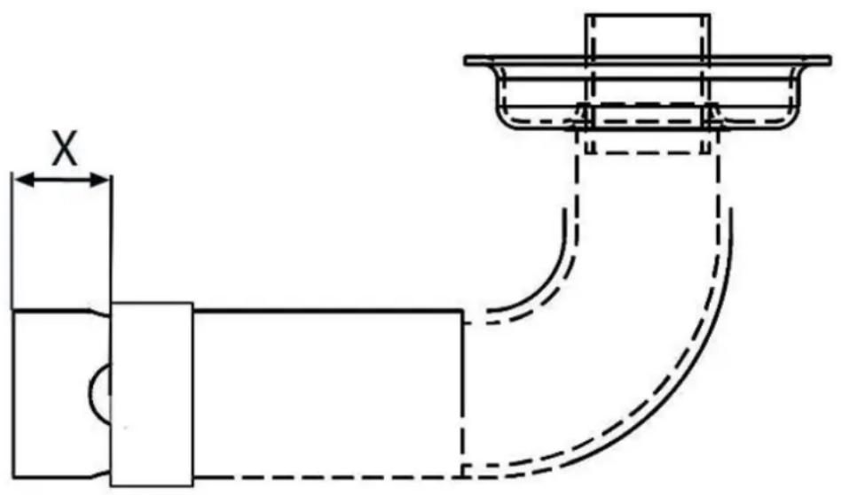
gas type G20, X = 20 ~mm
gas type G25, X = 16 ~mm
NESTOR MARTIN garandeert de eigenaars van een dergelijk toestelijdens de hierna vermelde garantieperiode dat het toestel vrij van materiaal- en fabricagefouten is. Deze garantie maakt deel uit van de hierna toegelichte voorwaarden.
De hieronder staande garantiekaart moet ons binnen de 15 dagen na het installereren van het toestel teruggestuurd worden.
Deze garantie is beperkt tot het verwangen van de onderdelen en dekt het arbeidsloan nicht. Alle kosten betreffende het arbeidsloan voor het verwangen van de onderdelen zijn voor uw rekening.
| 1 JAAR 5 JAAR | |
| GASKLEP | VERBRANDINGSKAMER |
| BRANDER | |
| WAAKVLAM | |
| GEÉMAILLEERDE ONDERDELEN |
Uitzonderingen
roest als gevolg van condensatie worden Niet door de garantie gedekt;
- dilatatie- of retractiegeluiden bij het aanslaan of afslaan van de brander worden nicht gedekt;
- Claims i.v.m. emailsplinters of beschadiging van de emailloppervlakte naeer dan 7 dagena de installment worden door geen enkele garantie gedekt;
- de glasdeur, het thermokoppel, TTB, de imitate houtblokken en de inspuiers vallen nicht onder de garantie.
Alle werkzaamheden betreffende het onderhoud en / of het verwangen van de onderdelen moeten voor u door een onderhoudsbedrijf of een vakman worden uitgevoerd die door de NESTOR MARTIN dealers werden ergend. Wanner u voor een defect onderdeel de garantie wilt inroepen,That u het onderdeel verwangen en stuurt u het defecte onderdeel aan de NESTOR MARTIN dealer voor controle. Wanner het defect door de garantie wordt gedekt, wordt het reserveonderdeel Niet gefactureerd. De transportkosten voor het reserveonderdeel en het terugsturen van het defecte onderdeel zichn voor uw rekening. De verwangng of de reparatie onder garantie wordt gedekt volgens de voorwaarden en gedurende denog resterende periode van de oorspronkelijke garantie.
De garantie dekt onder geen enkel bedding defecten of werkingsstoringen die het gevolg zichn van ongeluk, oneigenlijk gebruik, verkeerd gebruik, aanbrengen van wijzigingen, foutieve installmentie of verkeerd onderhoud of oneskundige reparatie.
De reiniging van de brander of de waakvlam en de verplaatsingskosten van een NESTOR MARTIN-agent die waar de gebruiker komt, worden Niet door de waarborg gedekt. Een in een winkel gekocht en meegenomen toestel geniet geen fabriekswaarborg.
Interventions oder garantie kuren enkel gebeuren door een door NESTOR MARTIN erkendvakman. In tegengesteld geval zullen de kosten aangerekend worden.
BELGIQUE-FRANCE
BE:II2E+3P
FR:II2E+3P
NESTOR MARTIN
THERMIC DISTRIBUTION EUROPE SA/NV
VOIE AXIALE
B-5660 COUVIN
MODE D'EMPLOI
S34
H34
R34
C34
GAZ
BE/FR:7550WG20
6900 WG25
7770WG31
SimpelGids