Supreme Ground Level Rectangular - Trampoline EXIT - Gratis gebruiksaanwijzing en handleiding
Vind de handleiding van het apparaat gratis Supreme Ground Level Rectangular EXIT in PDF-formaat.
Veelgestelde vragen - Supreme Ground Level Rectangular EXIT
Gebruikersvragen over Supreme Ground Level Rectangular EXIT
0 vraag over dit apparaat. Beantwoord die u kent of stel uw eigen vraag.
Stel een nieuwe vraag over dit apparaat
Download de handleiding voor uw Trampoline in PDF-formaat gratis! Vind uw handleiding Supreme Ground Level Rectangular - EXIT en neem uw elektronisch apparaat weer in handen. Op deze pagina staan alle documenten die nodig zijn voor het gebruik van uw apparaat. Supreme Ground Level Rectangular van het merk EXIT.
GEBRUIKSAANWIJZING Supreme Ground Level Rectangular EXIT
Gefeliciteerd met uw Supreme Trampoline van EXIT Toys!
Pret make, actief leven en buiten spelen.....
Dat is once motivatie om innovatief en kwalitatief spelgoed te ontwikkelen voor coole kinderen.
We doe er alles aan om producten te ontwikken die veilig zichoor kinderen. Aangezien onsze producten worden geclassificeerd als speelgoed, voldoen we aan de strengste normen op het vlak van consumentveiligheid. Voordat we een product op de markt brengen, lately we onafhankelijk tests uitvoeren voor de vereiste certificaten. We voeren ook voortdurend controlesuitijdens de productie en we latent regelmatinigte nuwe onafhankelijk tests uitvoeren als extra controle. Enkel de producten die voldoen aan de strengste normen van EXIT Toys krijgen het EXIT Toys merk.
Wij stellen het zeer op prijs dat u bij ons klant bent en danken u voor het vertrouwen in dit product. We zijn er zeker van dat uw kinderen evenveel van dit product zullen genieten als wijijdens de ontwikkeling ervan. Omdat we open staan voor uwmening,+zijn uw opmerkingen en ideeen steeds welkom zodat we once producten nogkunnen verbeteren en neue wet hun ontwikken. Neem waarom gerust contact opvia info@exittoys.com.
Bezoek de wereld van EXIT Toys op www exitingtoys.com en ontdek ook once andere stoere en neue buitenspeel producten.
Het team van EXIT Toys.
2.0 Richtlijnen voor veilig gebruik
Als u de instructies voor de trampoline correct opvolgt,kest u nagenoeg alle risico's vermijden. Houd er wel rekening mee dat kinderen van nature graag spelen en dat dit tot onvoorziene gevaarlijke situatuies kan leiden waarvoord fabrikant nicht verantwoordelijk is. Leer uw kinderen hoe ze het product要去en gebruiken en wijs hen op de mogelijkke bevaren.
Lees en volgudeau algemene waarschuwingen voordat u het product monteert en gezruikt:

WAARSCHUWING
Om ernstige verwondingente vermijden

Lees en begrijp de handleiding voor gebruik.
Waarschuwing! Dit product is uitsluitend bedoeld voor thuisgebruik.
- Waarschuwing! VERSTIKKINGSGEVAAR! - Kleine onderdelen. Niet voor kinderenjonger dan 3aar.
- Waarschuwing! Laat nooit meer dan 1 persoon tegelijk op de trampoline.
Waarschuwing! Maak geen salto's of andere moeilijke sprengen!
Waarschuwing! Leeg uw zakken voordat u de trampoline gezruikt!.
Steeds gebruiken onder toezicht van een volwassene.
Gebruik de trampoline nicht wanner deze nat is.
- Dit product要去 voor gebruik worden gemonteerd door een volwassene.
- Neem in geval van ontbrekende of kapotte onderdelen contact op met het verkooppunt voor assistentie.
- Waarschuwing: Wijল Niet aansprakelijk voor enig letsel dat kan ontstaanijdens het gebruik van de trampoline.
Maximum gewicht van gebruiker: 120kg
2.1 Waarschuwingen voor een veilig gebruik:
- Lees de informatatie in deze handleiding en zorg ervoor dat u deze begrijpt. Zoals bij alle fysieke sporten en activités bestaat het risico dat deelnemers letsel oplopen. Neem de van toepassing+zijnde veiligheidsregels en -tips in acht zodate u van het toestel=kunt genieten en letsel worden voorkomen.
- RAADPLEEG ALTIJD EEN DOKTER / ARTS VOORDAT U FYSIEKE INSPANNINGEN GAAT LEVEREN.
- CONTROLEER DE TRAMPOLINE ALTIJD VOOR GEBRUIK. LET DAARBIJ SPECIFIEK OP ALLE BOUTEN, DE SPRINGMAT EN DE POSITIE VAN DE RANDKUSSENS. GEBRUIK DE TRAMPOLINE NIET ALS ER ONDERDELEN ONTBREKEN OF ALS DEZE TEKENEN VAN SLIJTAGE VERTONEN.
- ZORG ER ALTIJD VOOR DAT DE TRAMPOLINE DOOR SLECHTS 1 PERSOON TEGELIJK WORDT GEBRUIKT.
ZORG ER ALTIJD VOOR DAT DE TRAMPOLINE ONDER TOEZICT WORDT GEBRUIKT (BIJ IEDEREEN EN BIJ ELK VAARDIGHEIDSNIVEAU). - Stop onmiddelijk met springen als u zich onwel voelt of als u pijn in uw gewrichten en spieren krijgt. Duizeligheid is een teken van vermoeidheid. Stop met springen en ga op de grond liggen als u zich duizelig voelt.
Zorg ervoor dat u geschikte kleding draagt wanner u deze trampoline gebruikt, bij voorkeur sportkleding en Sokken. DRAAG NOOIT SCHOENEN OP DE MAT. - Waarschuwing: de trampoline is voorzien van veren waardoor de gebruiker veel hoger kan springen dan gewoon vanaf de grond. Houd hier rekening mee en zorg ervoor dat u zich zeker voelt bij het springen vankleine hoogtes.
- Deze handleiding bevat informatatie over de juiste montage, zorg en onderhoud van het product, veiligheidstips, waarschuwingen en juiste technieken voor het springen op uw trampoline, zowel voor uw veiligheid als voor een langere levensduur van het product. Alle gebruikers en toezichtholders dienen zich waarom deze instructies eigent te makeen. Iedereen die ervoor kiest om de trampoline te gebruiken, moet zich bewust�n van+zijn/haar eigent beperkingen in verband met het uitvoeren van oefingen op deze trampoline.
- De trampoline opstellen op gras of op door veiligheidsinstanties goedgekeurde veiligheidsmatten.
2.2 GEBRUK VAN DE TRAMPOLINE
EERST dient u vertrouwd te raken met de trampoline en dient u te ervaren hoeveel vering elke spreng verooorzaakt. De aandacht dient hierbij vooral te liggen op de lichaamshouding en de techniek totdat elke oefening gemakkelijk en gecontroleerd
kan worden uitgevoerd.

VOORDAT U PROBEERT HOOG TE SPRINGEN dient u de stoptechniek te leren odomat u daarmee letsel kurz voorkomen als u voelt dat u de sprengen nicht meer onder controle hebt.
- Bij het landen op de mat要去en de knieën gebogen zichn zodate ze de vering van de mat stoppen en absorberen. De positie is links aangegeven. De armen worden gestrekt gehonden voor een beter evenwicht.
- Deze vaardigheid worden gebruikt wanner de trampolinegebruiker wil stoppen met springen vanwege vermoeidheid, controverlies, etc.
SALTO'S: MAAK GEEN salto's (achterover of voorover) op deze trampoline. Als u bij het uitvoeren van een salto een fout maakt, kurz u op uw hoofd of nek terecht komen. Hierdoor vergroot u de kans dat u uw nef of rug breekt, waardoor u kurz overlijden of verlamd kurz raken.
VREEMDE VOORWERPEN: Houdt GEEN voorwerpen in de hand enplaats GEEN voorwerpen op de trampoline als deze worden gezruikt. Plaats de trampoline NIET onder overhangende voorwerpen zoals boomtakken, draden, etc. waar dat deze de kans op letsel verhogen.
SLECHT ONDERHOUD VAN DE TRAMPOLINE: Een trampoline in slechte staat vergroot de kans op letsel. Inspecteer de trampoline voor elk gebruik op verbogen stalen buizen, scheuren in de mat, losse of gebroken veren en de algehele stabiliteit van de trampoline.
WEERSOMSTANDIGHEDEN: Houd bij gebruik van de trampoline rekening met de weersomstandigheden. Gebruik de trampoline Niet wonneer deze nat is. Als het te hard waait, kan de gebruiker de controle verliezen.
2.3 TIPS OM HET RISICO OP ONGEVALLEN TE VERLAGEN
Om het risico op oncevallen te verlagen, dient de 'TRAMPOLINEGBRUIKER':
- waar/sprongen en lichaamshouding alkijd onder controte te honden;
- nied proberen oefingen uit te voeren die zich/nhaar vaardigheidsniveau te boven gaan;
- de spreng te lezen en te begrijpen door af te zetten en te landen in het midden van de trampoline;
- waar/sprongen alkijd onder controle te houden door af te zetten en te landen in het midden van de trampoline;
-.altijd verticaal te springen en Niet in de richting van de veren;
-.altijd een officieel gediplomeerd trampoline-instructeur te raadplegen wonneer hij/zij oefingen wil proberen die de basistechnieken te boven gaan.
Om het risico op ongevallen te verlagen dient de 'TOEZICHTHOUDER':
- alle veiligheidsregels en -richtlijnen volledig te begrijpen en toe te zien op de naleving waarvan;
- de trampolinegebruiker te adviseren en aan te gehen wat hij/zij goed en fout doet om de veiligheid van de trampolinegebruiker te waarborgen;
- op de hoogte te zijn van alle veiligheidswaarschuwingen en de trampolinegebruiker waarop te attenderen.
BELANGRIJK: Als er geen toezicht bij de trampoline möglichk is, moet er een methode+zijn om het toestel te beveiligen en te voorkomen dat het door iemand gebruikt worden totdat toezicht beschikbaar is.
2.4 VEILIGHEIDSINSTRUCTIES VOOR DE TRAMPOLINE
AANBEVOLEN VOORZORGSGMAATREGELEN TIJDENS HET GEBRUK VAN DE TRAMPOLINE
- Gebruik de trampoline Niet als u alcohol of verdovende middelen hebt gebruikt.
- Spring nooit op of van de trampoline af en gebruik de trampoline nooit als een hulpmiddel om op of in een ander object te springen.
Leer altijd de basissprong en zorg ervoor dat u elk soort spreong onder de knie krijgt voordat u moeilijkere soorten spreongen probeert. Raadpleeg het hoofdstuk over de basisvaardigheden om de grondbeginselen te leren. - Als u wilt stoppen met springen, buigt u de knieën wonneer u op uw voeten landt.
- Zorg dat u alkijd controle houdt wanneer u op de trampoline springt. Bij een gecontroleerde spreong komt u neer op hetzelfde punt als vanwaar u zich hebt afgezet. Als u op enig moment voelt dat u het springen nicht meer onder controle hebt, stop dan onmiddelijk.
- Spring nicht te lang en maak nicht teveel hoge sprengen ache ter elkaar. Houd uwogen op de mat gericht om contrôle te houden. Als u dat nicht doet, kurz uuit balans raken.
- Laat nooit meer dan 1 persoon tegelijk op de trampoline.
Aanbevolen voorzorgsmaatregelen voor toezicht op de trampoline
BELANGRIJK: Maak uzelf vertrouwd met de basissprongen en de veiligheidsregels. Zorg ervoor dat alle veiligheidsregels worden nageleefd en dat neue gebruikers de basissprongen leren voordat ze gezorderde technieken gaan proberen. Dit om het risico op letsel te voorkomen en verlagen.
Bij ALLE GEBRUIKERS is toezicht vereist, ongeacht vaardigheidsniveau of leeftijd.
- Gebruik de trampoline nooit wonneer.Deze nat, beschadigd, vuil of versleten is. De trampoline dient voorafgaand aan gebruik te worden geinspecteerd.
- Houd alle voorwerpen dieijdens het gebruik van de trampoline een belemmering konnen vormen te allen tijde uit de buurt van het toestel. Wees u bewust van wat zich boven, onder en rond de trampoline bevindt.
- Om gezruik zonder toezicht en toestemming te voorkomen, dient de trampoline te allen tijde te worden beveiligd.
2.5 ONGEVALSCLASSIFICATIE EN -IDENTIFICATIE
GEBRUIK VAN ALCOHOL OF DRUGS:
Drink GEEN alcohol en gebruik geen drugs (of geneesmiddelen die het.Coordinatievermogen van de gebruiker konnen beinvloeden) wanner u deze trampoline gebruikt. Dit is zeer gevaarlijk aangezien deze middelen een nadelig effect hebben op uw inschattingsvermogen, reactiesnelheid en algehele fysieke coordinatie.
MEERDEREGEBRUIKERS:
Bij meertere gebruikers (meer dan 1 persoon tegelijk op de trampoline) worden de kans op letsel groter. U kurz verwondingen oplopen als u van de trampoline af vliegt, controle verliest, met een andere.springer in botsing komt of op de veren terecht kommt.
IN AANRAKING KOMEN MET FRAME EN VEREN:
BLIJF in het midden van de trampolinemat wonneer u op het toestel springt. Hierdoor verlaagt u het risico op letsel doordat u op het frame of de verenterecht komt. Zorg ervoor dat de randkussens het trampolineframe.altijd bedekken. Spring of stap NIETrechtstreeks op het randkussen. Dit is Niet geschikt om het gewicht van een persoon te dragen.
CONTROLEVERLIES:
Probeer GEEN moeilijke bewegingen totdat u de grondbeginselen onder de knie hebt. Als u zich Niet aan deze richtlijnen houdt, vergroot u de kans dat iemand gewond raakt.
3.0 TRAMPOLINETECHNIEKEN
BASISVAARDIGHEDEN
BASISVAARDIGHEID 1: de basissprong

Ga rechtep staan met de voeten op schouderbreedte uit elkaar en de ogen op de springmat gericht.
Zwaai de Armenaarvonen/omhoog boven het hoofd incirkelvorm.beweging up above head in a circular motion.
- Breng uw benen en voeten bij elkaar in de 'lucht-positie' en richt uw tenen maar beneden.
- Kom waar op de mat neer met de voeten op schouderbreedte uit elkaar (zoals de startpositie).
Ga pas door met de volgende oefening als u vertrouwd bent met deze beweging en deze goed kunt uitvoeren.
- Begin met de lage basissprong (zoals bij BASISVAARDIGHEID) 1).
- Land op de knieën (houd deze op schouderbreedteuit elkaar), terwijl u de rugrecht houdt, lichaam gespannen en armen gestrekt maar voren of opzij voor balans.
- Springteringnaardebasisprongdoordevaart van de vering te gebruiken en de armen omhoog tegooien.
- Wanner dit goed lukt op deze hoogte kunt u proberen iets hoger te springen. VergeetECHTER nicht de hoogte.altijd onder controle te houden.

BASISVAARDIGHEID 3: de zitsprong

- Begin met een lage basissprong (BASISVAARDIGHEID 1) in de normale positie.
- Land met uw benenrecht voor uuit gestrekt, de handen aan weerszijden van uw heupen, de rugrecht en het lichaam gespannen.
- Gebruik de vaart van de vering samen met een duw van de handen om terug te keren in eenrechtstandige positie.
- Als dit goed lukt op deze hoogte,kest u proberen iets hoger te springen. VergeetECHTER Niet de hoogte te controleren.
BELANGRIJK: Raadpleeg een getrainde trampoline-instructeur voordat u moeilijkere oefingen gaat proberen om er zeker van teijken dat de veiligheid zoveel möglichk worden gewaarborgd.
GEVORDERDE VAARDIGHEDEN
GEVORDERDE VAARDIGHEID 1: de basissprong

- Begin met lage basissprong (BASISVAARDIGHEID 1) in normale positie position.
- Land op handen en knieën tegelijk. Zorg er.daar bij voor dat u de rug horizontal houdt ten opzichte van de springmat en dat u handen en benen op schouderbreedte uit elkaar houdt.
- Gebruik de vaart van de vering en duw af met uw handen om in rechte positie overeind te komen.
- Wanner der goed lukt op deze hoogte,kest u proberen iets hoger te springen. VergeetECHTER Niet de hoogte altijd onder controle te houden.
- Probeer de volgende vaardigheid pas als u vertrouwd bent met deze beweging en deze goed kurzuitvoeren.
GEVORDERDE VAARDIGHEID 2: de hand- en kniesprongaar buiksprong
- Land op handen en knieën tegelijk. Zorg ervoor dat u de rug horizontal houdt ten opzichte van de springmat en dat u de handen en benen op schouderbreedte uit elkaar houdt.
- Houd het lichaam gespannen met de rug horizontal ten opzichte van de mat, strek uw benen awhile uuit en vouw uw armen in de lustucht voor uw gezicht,kaar om in liggende houding neer te komen op de mat.
- Zorg ervoor dat het lichaam de mat bij het neerkomen in een koer raakt.
- Druk uzelf met de handen op en kom terug in staande houding. hands and recover the standing position.
- Als dit goed lukt op deze hoogte,kest u proberen ieits hoger te springen. VergeetECHter Niet de hoogte altijd onder controle te houden.Ga pas door met de volgende vaardigheid als u vertrouwd bent met.dequeue beweging en deze goed kunt uitvoeren.

GEVORDERDE VAARDIGHEID 2: de buiksprong

- Begin met de lage basissprong (BASISVAARDIGHEID 1) in normale positie.
- Houd het lichaam gespannen met de rug horizontal ten opzichte van de mat, strek uw benen acheter uuit en vouw uw armen in de lucht voor uw gezicht,kaar om in liggende houding neer te komen op de mat.
- Zorg ervoor dat het lichaam de mat bij het neerkomen in een keer raakt.
- Druk uzelf met de handen op en kom terug in staande houding.
- Als dit goed lukt op deze hoogte,kest u proberen ie ts hoger te springen. VergeetECHTER Niet de hoogte altijd onder controle te houden.
BELANGRIJK: Raadpleeg een gediplomeerd en geregisteerd instructeur als u zich verder wilt bekwamen en meer gezorderde trampolinetechnieken 52 wilt leren.
4.0 ALGEMENE INFORMATIE
- U hoeft de trampoline nicht af te breken voor de winter.
- Zelfvergrendelende moeren en schroeven zijn alleen geschikt voor eenmalige opstelling en dieren na het afbreken van de trampoline en/of het verilgheidsnet te worden verrangen.
- We adviseren om de trampoline op een plat en vlak oppervlak teplaatsen met minimaal 2m afstand tot andere bovenbouw of barrières, bijv. hek, garage, lui, boomtakken, waslijnen of elektriciteitskabels.
- Plaats de trampoline Niet op een hard oppervlak als asfalt, beton, enz.
- Vervang defecte onderdelen volgens de aanwijzingen van de leverancier.
Aanpassingen aan de trampoline (bijv. toevoeging van een accessoire) dient te geschieden volgens de aanwijzingen van de leverancier.
5.0 MONTAGE VAN DE TRAMPOLINE
STAP VOOR STAP OPBOW
Mag uitsluitend worden gemonteerd door volwassenen.
Voor het monteren van deze trampoline hebt u alleen once speciale verenspanner nodig die worden meegeleverd met dit product. Tijdens perioden waarin de trampoline Niet worden gebruikt kan deze trampoline gemakkelijk worden gedemonsteerd en opgeslagen. Lees de montage-instructies voordat u begint met het monteren van het product.
Raadpleeg de tabel voor de beschrijving en nummering van onderdelen. In de montage-instructie worden maar deze beschrijvingen en nummers verwezen.
Controller of u alle aangegeven onderdelen hebt. Neem contact op met het verkooppunt als u onderdelen mist.
Gebruik handschoenen om uw handenijdens montage te beschemmen gegen beknelling. Als u klaar bent om te beginnen, dient u ervoor te zorgen dat u genoeg ruimte hebt en dat deze ruimte droog en schoon is.
ONDERDELENLIJST
| Ond.Nr. | Omschrijving # | |
| 1 Middenbuis (bevat twee middenbuizen 1-A, twee middenbuizen 1-B) | 4 | |
| 2 Hoekbuis (bevat twee hoekbuizen 2-C, twee hoekbuizen 2-D) 4 | ||
| 3 Hoekpoot 4 | ||
| 4 Middenpot 4 | ||
| 5 T-verbinding (bevat twee aanpasbare T-verbindingen 5-1,zers T-verbindingen 5-2) | 8 | |
| 6 Mat 1 | ||
| 7 Veer 76 | ||
| 8 Kussen 1 | ||
| 9 Schuim 24 | ||
| 10 IJzerenplaat 8 | ||
| 11 Plasticplaat 8 | ||
| 12 M8x40mm bout 16 | ||
| 13 M8x50mm bout 8 | ||
| 14 M8x20mm bout 16 | ||
| 15 M8 Moer 24 | ||
| 16 M8 Ring 24 | ||
| # | Gereedschappen | |
Bijgevoegd zijn de actuèle specificaties en producteigenschappen op het moment van printen. De apparatuur, beschikbaarheid, specificaties en eigenschappen können darüber aankondiging veranderen.



(3)

(6)
Longer Plastic Plate 11-1 (4x)

Shorter Plastic Plate 11-2 (4x)
(11)


(4)


(5)

(7)

(8)

(9)

(10)




Tools
STAP 1
Graaf voordat u uw trampoline monteert, een kuil die geschikt is voor uw trampoline. Raadpleeg a.u.b. tabel 1 voor meer informatie.

STAP 2
Plaats de middenbuis (1-B) in hoekbuis (2) zoals afgebeeld.
Herhaal deze stap om de overige hoekbuizen (2) en een middenbuis (1) te monteren.

STAP 3
Plaats de gemonteerde buizen en twee middenbuizen (1-A) op de grond zoals afgebeeld. Plaats de middenbuis (1-A) in de hoekbuis (2) zoals afgebeeld.

STAP 4
Plaats de mat (6) op de grond binnen het frame. Zorg dat de achechterkant van de mat maar boven wijst.
Opgelet: het worden aanbevolen leren handschoenen te dragenijdens het bevestigen van de veren. Wees voorzichtig waar u uw handen plaatst,want de veren en frameverbindingen+kennen u bekellen.

Bevestig de veren (7) als volgt:
- Haak een kant van een veer in een V-ring die op de springmat is genaaid.
- Haak een veergereedschap afgebeeld op de tekening van het binnenwerk in de vrije Kant van de veer.
- Trek eraan met het veergereedschap tot ze tot aan het frame reikt.
- Trek het einde van de veer in een gat in het frame. Haal het veergereedschap uit de veer.
4.1
Bevestig de D-ring die aan de hoek van de mat is genaaid aan de hoekbuis met twee veren (7) zoals afgebeeld. U hebt dan ache tveren die zich bevestigd. Twee veren aan iedere hoek.
4.2
Tel precies 10 framegaten en 10 V-ringen in de richting van 12 voet (+ / - 4m) .Bevestig 3 veren. Herhaal aan de andere 12 voet-kant van de trampoline.
Tel precies 5 framegaten en 5 V-ringen in de richting van 7 voet (+ / - 2,3m) .Bevestig 3 veren.Herhaal aan de andere 7 voet-kant van de trampoline.U zou nu 16 veren moeten hebben bevestigd.
Ga verder met het bevestigen van de resterende veren.
Opmerking: de veer heeft een große haak om aan het frame te bevestigen en eenkleine haak om aan de matring te bevestigen.
Opmerking:
Tel bij het bevestigen van de veren zorgvuldig de V-ringen en framegaten. Wanner een V-ring of gat worden overgeslagen, herbevestig dan de veer op de juiste positie.



STAP 5
a.
Plaats de middenpoot (4) in de twee T-verbindingen (5-2) zoals afgebeeld. Herhaal deze stap om nog een middenpoot (4) te monteren.
b.
Plaats de twee gemonteerde middenpoten in de T-verbindingen aan de korte Kant van het frame.

a

b
C.
Plaats de hoekpoot (3) in de Tverbinding (5-2) zoals aufgebeeld.
Plaats verwolgens de T-verbinding in het frame.
Plaats de aanpasbare T-verbindingen (5-1) in het frame zoals afgebeeld.

C
d.
Plaats de resterende twee middenpo- ten (4) en twee hoekpoten (3) in de T-verbindingen (5-2) en de aanpasbare T-verbindingen (5-1) zoals afgebeeld.

d
e.
Bevestig de poot aan de T-verbinding met M8x40mm bouten (12), M8moeren (15) en M8-ringen (16) zoals afgebeeld.
Draai vast met de steeksleutel zoals afgebeeld.
STAP 6
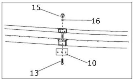
Plaats de ijzerenplaat (10) op de Tverbindingen zoals afgebeeld.
Bevestig de ijzerenplaat (10) met een M8x50mm bout (13), M8-ring (16) en M8-moer (15) zoals afgebeeld.

6

STAP 7
Keer de trampoline om zodat de bovenkantaarbovenwijstzoals afgebeeld.

7
STAP 8
Plaats het schuim (9) in het kussen (8) zoals afgebeeld.

8
STAP 9
Leg het kussen (8) op uw trampoline.
Bekijk het kussen van onderen. De veer moet aan het net en het kussen zichn bevestigd zoals afgebeeld in tekening van het binnenwerk A en B.
Bevestig kussen aan het frame met de elastieken banden met ballen zoals getoond op de tekening van het binnenwerk C.

9



STAP 10
Plaats de plastic platen (11) op de ijzeren platen (10) zoals afgebeeld.
Zorg dat het lange gat in de plasticplaat (11) zich naast de ijzerenplaat (10) bevindt.
Bevestig nervolgens met M8x20mm (14) bouten zoals aufgebeeld.


STAP 11
Plaats uw trampoline in de kuil.
Zorg dat het midden van de mat zich boven het midden van de kuil bevindt.

11

Gefeliciteerd! De trampoline is nu maar voor gebruik.

6.0 ZORG EN ONDERHOUD
Deze trampoline is ontworpen en vervaardigd met kwaliteitsmaterialen envakmanschap. Bij de juiste zorg en het juiste onderhoud zullen alle gebruikers hier jarenlang met veel plezier op+kunnen springen en za ook het risico op letsel worden verlaagd. Volg de onderstaande richtlijnen:
Deze trampoline is ontworpen om een bepaalde hoeveelheid gewicht en gebruik aan te kennen. Zorg ervoor dat slechts eén persoon tegelijk de trampoline gebruikt. Springers dienen dokken / turnschoenen te dragen of blootsvoets te zich wannerij zich de trampoline gebruiken. Let er op dat schoenen voor op straat of tennisschoenen NIET mogen worden gedragenijdens het gebruik van de trampoline. Om te voorkomen dat de trampolinemat geschuedr of beschadigd raakt zich huisdieren op de mat Niet toegestaan. Springers dienen tevens alle scherpe voorwerpen af te doen voordat ze de trampoline gebruiken. Alle scherpe of gespunte voorwerpen dienen van de trampolinemat te worden gehonden.
Onderhoudsinstructies
Het is vooral belangrijk om de volgende onderhoudsinstructies op te volgen aan het begin van elk seizoen en periodiek tijdens het gebruikseizoen.
- U dient te controleren of alle moeren en bouten nog goed vast zitten; draai ze indien nodig aan.
- U dient te controleren dat alle veergeladen aansluitingen (vergrendelingspen) onbeschadigd zich en Niet bewegen tijdens het gebruik van de trampoline.
U dient de afdekschroeven en scherpe randen te controleren en indien nodig te verrangen. - Bewaar de onderhoudshandleiding voor later gebruik.
Inspecteer de trampoline alteijd voor gebruik op versleten, verkeerd gebruikte of ontbrekende onderdelen. Door een aantal omstandigheden kan uw kans op letsel toenemen. Pas op met:
- Doorboringen, gaten of scheuren in de trampolinemat
- Een doorzakkende trampolinemat
- Loszittend stiksel of elke vorm yan slijage yan de mat
- Gebogen of gebroken frame-onderdelen, zoals de poten
- Gebroken, ontbrekende of beschadigde veren
- Fen beschadigd, ontbrekend of Niet goed bevestigd framekussen
- Uitsteekels (met name als ze scherp zich) op het frame, de yeren of de mat
ALS U EEN VAN DE BOVENSTAANDE PUNTEM OF IETS ANDERS DAT VOLGENS U LETSEL BIJ EEN GEBRUIKER KAN VEROORZAKEN OPMERKT, DIENT DE TRAMPOLINE TE WORDEN GEDEMONTEERD OF TEGEN GEBRUIK TE WORDEN BEVEILIGD TOTDAT DE KWESTIE IS VERHOLPEN.
7.0 Garantie
-
De eigenaar van de EXIT Toys Supreme Trampoline heeft na de datum van de aankoopnota:
-
5aar garantie op het frame
- 5aar garantie op de veren
- 5aar garantie op de beschemrand
-
2aar garantie op het springdoek
-
De garantie geldt uitsluitend voor materiaal- en constructiefouten ten aanzien van dit product of onderdelen waarvan.
-
De garantie vvert als:
-
Dit product onjuist en/of onzorgvuldig gebruikt is en gebruikt worden dat nicht overeenkomstig bestemming is.
- Dit product nicht conform het instructieboekje geassembleerd en onderhoden is.
- Technische reparations aan dit product Niet op vakkundige wijze verricht zijn.
- Naderhand gemonteerde onderdelen Niet overeenkomen met de technische specificaties van het betreffende product, of onjuist gemonteerd zijn.
- Gebreken als gevolg van klimatologische invloeden, zoals roest, UV-straling of normale verwering.
- Het product worden gezruikt voor verhuur of op andere wijze aan meerere ongespecificeerde personen ter beschikking staat.
- Gedurende de garantieperiode zullen alle door EXIT Toys vastgestelde materiaal- of constructiefouten ter keuze van EXIT Toys worden gerepareerd, danwel worden verrangen.
- De eigenaar van de EXIT Trampoline kan slechts aanspraak make op de garantie door het product ter inspectie aan te bieden bij een EXIT Toys dealer. Hierbij dient de originele aankoopnota aan de EXIT Toys dealer te worden overhandigd.
- In geval van door EXIT Toys vastgestelde materiaal- of constructiefouten, zal het product of zullen onderdelen waarvan gedurende de in articikel 1 genoemde garantiperiode ter keuze van EXIT Toys gratis worden gerepareerd, danwel Gratis worden verrangen.
- Indien de garantieaanvraag nicht terecht is, zich alle gemaakte kosten voor reken-ing van de eigenaar.
- De garantie is nicht overdraagbaar aan derden.
- Het is nicht toegestaan de trampoline te verhuren of teplaatsen op openbare plaatsen zoals scholen en kinderdagverblijven. Bij verhuur of gebruik op openbare plaatsen verralt iedere garantie of verrallen andere aansprakelijkheden.
SimpelGids