Arctis N 91250 I - Vriezer AEG-ELECTROLUX - Gratis gebruiksaanwijzing en handleiding
Vind de handleiding van het apparaat gratis Arctis N 91250 I AEG-ELECTROLUX in PDF-formaat.
Veelgestelde vragen - Arctis N 91250 I AEG-ELECTROLUX
Questions des utilisateurs sur Arctis N 91250 I AEG-ELECTROLUX
0 question sur cet appareil. Repondez a celles que vous connaissez ou posez la votre.
Poser une nouvelle question sur cet appareil
Download de handleiding voor uw Vriezer in PDF-formaat gratis! Vind uw handleiding Arctis N 91250 I - AEG-ELECTROLUX en neem uw elektronisch apparaat weer in handen. Op deze pagina staan alle documenten die nodig zijn voor het gebruik van uw apparaat. Arctis N 91250 I van het merk AEG-ELECTROLUX.
GEBRUIKSAANWIJZING Arctis N 91250 I AEG-ELECTROLUX
Gebruiksaanwijzing Vriezer
Wij danken u voor uw keuze voor een van once producten van hoogwaardige kwaliteit.
Lees deze gebruiksaanwijzing alstublieft zorgvuldig door, zo kunt u zeker zijn van optimale en professionele prestaties van uw apparaat. De handleiding za u in staat stellen om alle processen perfect en op de meest efficiente wijze te lately verlopen. Wij adviseren u deze handleiding op een veilige plaats te bewaren, danUCT u hem te allen tijde raadplegen. Geef deze handleiding ook aan een eventuele toekomstige eigenaar van het apparaat.
Wij wensen u veel plezier met uw nieuwe apparaat.
Inhoud
Veiligheidsinformationie
Veiligheid van kinderen en kwetsbare
mensen 39
Algemeneveiligheid 39
Dagelijks gebruik 40
Onderhoud en reiniging 40
Installatie 41
Onderhoud 41
Bedieningspaneel
Inschakelen 42
Uitschakelen 42
Temperatuurdisplay 42
Temperatuurregeling 42
FROSTMATIC functie 43
Alarm hoge temperatuur 43
Alarm deur open 43
Het eerste gebruik 43
De binnenkant schoonmaken 43
Dagelijks gebruik 44
Vers voedsel invriezen 44
Hetbewaren van ingevroen voedsel 44
Invries agenda 44
Ontdooien 38 44
Hetmake van ijsblokjes 44
Handige aanwijzingen en tips 45
Tips voor het invriezen 45
Tips voor het bewaren van ingevroen voedsel 45
Onderhoud en reiniging 45
Periodieke reinigihg 46
Het ontdooien van de vriezer 46
Periodes dat het apparaat Niet gebruikt wordt 46
Problemen oplossen 47
De deur sluiten 48
Elektrische aansluiting 49
Ventilatievereisten 49
Het milieu 49
Wijzigingen voorbehouden

Veiligheidsinformatie
In het belang van uw verilgheid en om een correct gebruik te konnen waarborgen is het van belang dat u, alvorens het apparaat te installereren en in gebruik te nemen,.Deze gebruiksaanwijzing, inclusief de tips en waarschuwingen, grondig doorleest. Om onnodige vergissingen en ongevallen te voorkomen is het belangrijk ervoor te zorgen dat alle mensen die het apparaat gebruiken, volledig bekend+zijn met de werkig ervan en de verilgheidsvoorzieningen.Bewaar deze instructies en zorg ervoor dat zich bij het apparaat blijven als
het worden verplaatst of verkocht, zodateen die het apparaat gedurende zich hele levensduur gebruikt, maar behoren is geinformeerd over het gebruik en deeiligheid van het apparaat.
Voor de verilgheid van mensen en eigendommen dient u zich aan de voorzorgsmaatregelenuit dit instructieboekje te houden, de fabrikant is Niet verantwoordelijk voor schade die door het Niet opvolgen van de aanwijzingen veroorzaakt is.
Veiligheid van kinderen en kwetsbare mensen
- Dit apparaat is Niet bedoeld voor gebruik door Personen (waaronder begrepen kinderen) met verminderde fysieke, zintuiglijke vermogens of een gebrek aan ervaring en kennis, tenzij dit onder toezicht gebeurt van een voor hun veiligheid verantwoordelijkpeasoon of tenzij zij van een dergelijkpesoon instructie hebben ontvangen over het gebruik van het apparaat.
Houd kinderen uit de buurt om te voorkomen dat ze met het apparaat gaan spelen.
- Houd alle verpakkingsmaterialaal buiten het bereik van kinderen. Gevaar voor verstikking.
- Als u het apparaat afdankt trek dan de stekkeruit het stopcontact, snij de voedingskabel door (zo zichd mightijk bij het apparaat) en verwijder de deur om te voorkomen dat kinderen een elektrische schok krijgen of zichzelf in het apparaat opsluiten.
- Als dit apparaat, dat voorzien is van een magnetische deursluiting, een ouder apparaat verwangt, dat voorzien is van een veerslot (slot) op de deur of het deksel, zorg er dan voor dat u het slot onbruikbaar maakt voordat u het oude apparaat weggooit. Dit voorkomt dat kinderen er in opgesloten können raken.
Algemene veiligkeit

LET OP!
Houd de ventilatie-openingen altijd vrij van obstructies.
- Dit apparaat is bedoeld voor het bewaren van levensmiddelen en/of dranken in een gewoon huishouden, zoals uitgelegd in dit instructieboekje.
- Gebruik geen mechanische hulpmiddelen of kunstgrepen om het ontdooiprocesse te versnellen.
- Gebruik geen andere elektrische apparaten (bijvoorbeeld ijsmachines) in koelkasten, ten-zij ze voor dit doel goedgekeurd zich door de fabrikant.
- Let op dat u het koelcircuit nicht beschadigt.
- Het koelmiddel isobutaan (R600a) bevindt zich in het koelcircuit van het apparaat, dit is een natuurlijk gas dat weliswaar milieuvriendelijk is, maar ook uiterst ontvlambaar.
Controleer of de onderdelen van het koelcircuit tijdens transport en installmentie van het apparaat Niet beschadigd zich geraakt.
Indien het koelcircuit beschadigd is:
- open vuur en ontstekingsbronnen vermijden
-
de ruimte waar het apparaat zich bevindt grondig ventileren
-
Het is gevaarlijk om wijzigingen aan te brengen in de specificaties of dit product op enigerlei wijze te modificeren. Een beschadigd netsnoer kan kortsluiting, brand en/of een elektrische schok veroorzaken.

WAARSCHUWING!
Alle elektrische onderdelen (netsnoer, stekker, compressor) mogen uitsluitend verrangen worden door een erkende onderhoudsdienst of gekwalificeceerd onderhoudspersoneel.
- Het netsnoer mag nicht verlengd worden.
- Verzeker uervaan dat de stekker Niet platgedrukt of beschadigd worden door de achterkant van het apparaat. Een platgedrukte of beschadigde stekker kan oververhit raken en brand verooorzaken.
- Verzeker u ervan dat u de stekker van het apparaat kut bereiken.
- Trek Niet aan het snoer.
- Als de stekker los zit, steek hem dan nicht in het stopcontact. Dit kan gevaar opleveren van een elektrische schok of brand.
-
U mag het apparaat Niet gebruiken zonder de afdekking van het lampje ^13) voor de binnenverlichting.
-
Dit apparaat is zwaar. Wees voorzichtig als u het apparaat verplaatst.
- Haal geen artikelen uit het vriesvak en raak ze Niet aan als uw handen vochtig/nat�, dit kan uw huid beschadigden of vrieswonden veroorzaken.
- Stel het apparaat Niet langdurig bloot aan direct zonlicht.
Dagelijks gebruik
- Zet geen hare potten op de kunststof onderdelen in het apparaat.
- Bewaar geen brandbare gassen of vloeistoffen in het apparaat, deze können ontploffen.
- Zet geen levensmiddelen direct gegen de luchtopening in dechterwand.14)
Diepgevroren voedsel mag nicht opniew worden ingevroren als het eenmaal ontdooid is. - Bewaar voorverpakte diepvriesproducten volgens de aanwijzingen van de fabrikant.
- U dient zich strikt te houden aan de aanbevelingen van de fabrikant van het apparaat met betrekking tot het bewaren van voedsel. Raadpleeg de betreffende aanwijzingen.
- Leg geen koolzuurhoudende of mousserende dranken in de vriezer, deze veroorzaken druk op de fles die daardoor kan ontploffen, dit kan schade toebrengen aan het apparaat.
- IJslollies können vrieswonden veroorzaken als zerechtstreeks vanuit het apparaat geconsumeerd worden.
Onderhoud en reiniging
- Schakel het apparaat uit en trek de stekker uit het stopcontact voordat u onderhouds-handelingen verricht. Als u het stopcontact Niet kurz bereiken, onderbreek dan de stroomtoevoer.
Maak het apparaat Niet schoon met metalen voorwerpen. - Gebruik geen scherpe voorwerpen om ijs van het apparaat te krabben. Gebruik een kunststof schraper.
Installatie

Voor de aansluiting van elektriciteit dienen de instructies in de desbeteffende paragraphen nauwgezet te worden opgevolgd.
- Pak het apparaat uit en controllerer of er beschadigingen zijn. Sluit het apparaat Niet aan als het beschadigd is. Meld möglichke beschadigingen onmiddelijk bij de winkel waar u het apparaat gekocht heeft. Gooi in dat geval de verpakking Niet weg.
- Wij adviseren u om 4aar te wachten voordat u het apparaat aansluit, dan kan de olie terugvloeien in de compressor.
- Rond het apparaat dient adequate luchtcirculatie te zich, anders kan dit tot oververhitting leiden. Om voldoende ventilatie te verkrijgen de instructies met betrekking tot de installatie opvolgen.
- De darüber kant dient zo möglichk gegen een muur geplaatst te worden, teneinde te voorkomen dat hare onderdelen (compressor, condensator) aangeraakt konnen worden en brandwonden veroorzaken.
- Het apparaat mag nicht vlakbij radiatoren of kooktoestellen geplaatst worden.
- Verzeker uervaand dat de stekker bereikbaar is nadat het apparaat geinstalleerd is.
- Sluit het apparaat alleen aan op een drinkwaterleiding. 15)
Onderhoud
- Alle elektrotechnische werkzaamheden dieoodzakelijk zijn voor het uitvoeren van onderhoud aan het apparaat, dienen uitgevoerd te worden door een gekwalificeerd elektricien of competent persoon.
- Dit product mag alleen worden onderhouden door een erkend onderhoudscentrum en er dient alleen gebruik te worden gemaakt van originele reserveonderdelen.
Bescherming van het milieu

Dit apparaat bevat geen gassen die de ozonlaag+kunnen beschadigen, Niet in het koelcircuit en evenmin in de isolatiematerialen. Het apparaat mag nicht worden weggegooid bij het normale huishoudelijkke afval. Het isolatieschuim bevat ontvlambare gassen: het apparaat要去 weggegooid worden conform de van toepassing zijnde regels die u bij de lokale overheidsinstanties kunt verkrijgen.Voorkom beschadiging aan de koeleenheid,vooral aan dechterkant bij de warmtewisselaar. De materialen die gebruikt voor dit apparaat en die voorzien zijn van het symbool 念 zichn recyclebaar.
Bedieningspaneel

- Controleampje
- ON/OFF schakelaar
15) Indien er een wateraansluiting voorzien is
- Thermostaatknop (warmste stand)
- Temperatuurdisplay
- Thermostaatknop (koudste stand)
- FROSTMATIC controelampje
- FROSTMATIC schakelaar
- ALARM OFF controelampje
- ALARM OFF schakelaar
Inschakelen
- Steek de stekker in het stopcontact.
- Druk op de schakelaar ON/OFF.
- Het contrôlelampje gaat branden.
Uitschakelen
- Houd de schakelaar ON/OFF langer dan 5 seconden ingedrukt.
- Daarna vindt een terugtelling van de temperatuur van -3 -2 -1 plaats. Wanner "1" verschijnt, is het apparaatuitgeschakeld. Het temperatuurdisplay gaat uit. Het controleampje gaat uit.
Temperatuurdisplay
Het temperatuurdisplay toont verschillende informatatie:
- Tijdens de normale werkung worden de temperatuur die op dat moment heerst in de koel-kast (ACTUELE temperatuur) weergegeven. De ACTUELE temperatuur worden getoond met brandende getallen.
- Tijdens de temperatuurinstelling worden de temperatuur die is ingestelt (GEWENSTE temperatuur) weergegeven. De GEWENSTE temperatuur worden aangeduid met knipperende getallen.
Temperatuurregeling
Ga als volgt te werk om het apparaat in werkig te stellen:
- Stel de vereiste temperatuur in door op de overeenkomstige temperatuurregelaar. Het temperatuurdisplay toont direct de gewijzigde instelling (GEWENSTE temperatuur) en het temperatuurdisplay knippert.
- Steeds als het temperatuurdisplay worden ingedrukt, worden de GEWENSTE temperatuur aangepast met 1^ . De GEWENSTE temperatuur要去 na 24aar bereikt+zijn.
- Als de vereiste temperatuur is ingesteld, za na een korte periode (ong. 5 sec.) het temperatuurdisplay veranderen en wee de ACTUELE temperatuur in de betreffende vriesruimte tonen. Het temperatuurdisplay verandert van knipperende maar continueverlichting.
Voor een juiste conservering van het voedsel moet de volgende temperatuur worden ingesteld:
- 18 °C in de vriezer.

Als de instelling is gewijzigd, start de compressor Niet meteen als op dat moment automatisch ontdooien plaatsvindt. Aangezien de opslagtemperatuur binnen in de koelkast neln wordt bereikt, kunt u meteen na het inschaken voedsel opslaan.
FROSTMATIC functie
De functie FROSTMATIC versnelt het vriesproces van verse producten en, beschermt tege-lijkertijd de reeds ingevroren levensmiddelen gegen ongewenst warmer worden.
Volg onderstaande aanwijzingen om de functie te activeren:
- Druk op de schakelaar FROSTMATIC.
- Het lampje FROSTMATIC gaat branden.
Volg onderstaande aanwijzingen om de functie te deactiveren:
- Druk op de schakelaar FROSTMATIC.
- Het lampje COOLMATIC dooft.

De functie COOLMATIC stopt automatisch na ongeveer 52aar.
Als de FROSTMATIC -functie is ingeschakeld, mag de temperatuurinstelling nicht worden gewijzigd.
Alarm hoge temperatuur
Een toename van de temperatuur in de vriezer (bijvoorbeeld door een eerdere stroomuitval of wanner de deur open staat) worden aangeduid door:
- knipperen van het ALARM OFF lampje
- het klinken van een zoemer.
Wanneer de normale omstandigheden worden hersteld:
- het geluidssignaal gaat UIT
- ALARM OFF lampje blijft knipperen.
Stop het alarmlampje door te drukken op de ALARM OFF schakelaar.
Wonneer de ALARM OFF schakelaar wordt ingedrukt, knippert de hoogst bereekte temperatuur in de ruimte op het temperatuurdisplay.
Alarm deur open
Een geluidsalarm waarschuwt u als de deur gedurende ongeveer 80 seconden geopend blijft.
Als de normale omstandigheden hersteld zijn (deur gesloten), worden het akoestisch alarmuitgeschakeld.
Het eerste gebruik
De binnenkant schoonmaken
Voordat u het apparaat voor de eerste keer gebruikt, wast u de binnenkant en de interne accessoires met lauwwarm water en een beetje neutrale zeep om de typische geur van een新产品 product weg te nemen. Droog daarna grondig af.

Gebruik geen oplosmiddelen of schuurpoeders. Deze beschadigen de lak.
Dagelijks gebruik
Vers voedsel invriezen
Het vriesvak is geschikt voor het invriezen van vers voedsel en voor het voor een langeperiode bewaren van ingevroren en diepgevroren voedsel.
Om levensmiddelen in te vriezen, activeert u de functie FROSTMATICminimaal 24aar voor dat u delez in het vriesvak legt.
Zet het verse voedsel dat u in wilt vriezen in de twee bovenstevakken.
De maximumhoeveelheid levensmiddelen die in 24 ihr können worden ingevroren, is aangegeben op het typeplaatje , een label dat zich aan de binnenkant van het apparaat bevindt.
Het invriesproces duurt 24 uur: voeg gedurende dezeperiode nicht meer in te vriezen voedsel toe.
Het bewaren van ingevroren voedsel
Als u het apparaat voor het eerst of na eenperiode dat het Niet gebruikt is inschakelt, het apparaat minstens 2 uur op een hoge instelling latent werken voordat u er producten in plateaust.

In het geval van onbedoelde ontdooiing, bijvoorbeeld als de stroom langer is uitgeallen dan de duur die op de kaart met technische kenmerken onder "tijdsduur" is vermeld,要去 het ontdooide voedsel snel geconsumeerd worden of onmiddelijk bereid worden en dan waar worden ingevroren (nadat het afgekoeld is).
Invries agenda

De symbolen geben verschillende soorten ingevroren levensmiddelen aan.
De cijfers geben de bewaartijd in maanden aan voor de bijbehorende ingevroren levens-middelen. Of de hoogste of laagste waarde van de aangegeven bewaartijd van toepassing is, hangt af van de kwaliteit van het voedsel en eventuele bereiding voordat het werd ingevroren.
Ontdooien
Diepgevroren of ingevroren voedsel kunt, voordat het gebruikt worden, in het koelvak of op kamertemperatuur lately ontdooien, afhankelijk van de hoeveelheidijd die hiervoor nodig is.
Kleine stukken können themselvesrechtstreeks vanuit de vriezer gekookt worden als ze nog bevoren zich: in dat geval zal de bereidingients langer duren.
Het makes van ijsblokjes
Dit apparaat is uitgerust met een ofeer bladen voor het maken van ijsblokjes. Vul deze bladen met water en zet ze dan in het vriesvak.

Gebruik geen metalen instrumenten om de laden uit de vriezer te halen.
Koude accumulators
De vriezer is voorzien van een of meer koudeaccumulators; hierdoor blijft het voedsel langer koud als de stroom uitvalt of als er een storing is.
Handige aanwijzingen en tips
Tips voor het invriezen
Om u te helpen om het Beste van het invriesproces te make, volgen hier een paar belangrijke tips:
- de maximale hoeveelheid voedsel die in 24aar ingevroren kan worden. is vermeld op het typeplaatje;
- het invriesproces duurt 24 uur. Voeg gedurende dezeperiode nicht meer in te vriezen voedsel toe;
- vries alleen vers en grondig schoongemaakte levensmiddelen van uitstekende kwaliteit in;
- bereid het voedsel inkleine porties voor, zo kan het snel en volledig worden ingevroen en zo kunt u later alleen die hoeveelheid lately ontdooien die u nodig hebft;
- wikkel het voedsel in aluminiumfolie of plastic en zorg ervoor dat de pakjes luchtdicht bijn;
- leg vers, nog nicht ingevroren voedsel Niet gegen het al ingevroren voedsel, om te voorkomen dat dit LASTE warm worden;
- smalle pakjes zijn makkelijker op te bergen dan dikke; zout maakt voedsel minder lang houdbaar;
- water bevriest, als dit rechtstreeks uit het vriesvak geconsumeerd worden, kan het aan de huid vastvriezen;
- het is aan te bevelen de invriesdatum op elk pakje te vermelden, dan kutu zien hoe lang het al bewaard is;
Tips voor het bewaren van ingevroen voedsel
Om de Beste resultaten van dit apparaat te verkrijgen, dient u:
- er zich van te verzekeren dat de commercieel ingevroren levensmiddelen op geschikte wijze door de detailhandelaar werden opgeslagen;
- ervoor te zorgen dat de ingevroren levensmiddelen zo snel möglichk van de winkel maar uw vriezer gebracht worden;
- de deur nicht vaker te openen of open te latent staan dan strikt noodzakelijk.
- Als voedsel eenmaal ontdooid is, bederft het snel en kan het nicht opnieuw worden ingevroren.
- Bewaar het voedsel Niet languer dan de door de fabrikant aangegeven bewaarperiode.
Onderhoud en reiniging

LET OP!
Voordat u welke onderhoudshandeling dan ook verricht, de stekker uit het stopcontact trekken.

Het koelcircuit van dit apparaat bevat koolwaterstoffen; onderhoud en herladen mag alleen uitgevoerd worden door bevoegde technici.
Periodieke Reiniging
Het apparaat moet regelmatig worden schoongemaakt:
- maak de binnenkant en de accessoires schoon met lauw water en wat neutrale zeep.
- controller de affdichtingen regelmatig en wrijf ze schoon om u ervan te verzekeren dat ze schoon zich en vrij van restjes zich.
spoel ze af en maak ze grondig droog.

Trek Niet aan leidingen en/of kabels aan de binnenkant van de kast en verplaats of beschadig ze Niet.
Gebruik nooit schoonmaakmiddelen, schuurpoeders, erg geparfumeerde reinigingsproducten en waspolijstmiddelen om de binnenkant schoon te make, aangezien.Deze het oppervlak beschadigen en een sterke geur acheterlaten.
Maak de condensor (zwart rooster) en de compressor op de blijkant van het apparaat schoon met een borstel of stofzuiger. Deze handeling zal de prestatie van het apparaat verbeteren en het elektriciteitsverbruik besparen.

Veel normala verkrijgbare keulenreiners bevatten chemicalien die de kunststoffen die in dit apparaat gebruikt toen kuren aantasten/beschadigen. Daarom worden het aanbevolen de buitenkant van dit apparaat alleen schoon te make n met warm water met een beetje afwasmiddel.
Steek, na het schoonmaken van het apparatusat, de stekker weer in het stopcontact.
Het ontdooien van de vriezer
Het vriesvak van dit model is een "no-frost"-type. Dit betekent dat zich in het vriesvak geen ijs vomt als deze in bedrijf is, noch gegen de wanden noch op de levensmiddelen.
Het voorkomen van ijsvorming worden gereiliseerd door een continue circulatie van koude lucht in hetvak, die aangedreten wordt door een automatisch geregelde ventilator.
Periode dat het apparaat Niet gebruikt worden
Als het apparaat gedurende langeijd Niet gebruikt worden, neem dan de volgende voorzorgsmaatregelen:
trek de stekker uit het stopcontact,
- verwijder al het voedsel,
ontdooi de koelkast, ^16) en maak het apparaat en alle accessoires schoon,
- maar de deur/deuren op een kier staan om de vorming van onaangename luchtjes te voorkomen.
Als uw apparaat aan blijft staan, vraag dan iemand om het zo nu en dan te controlleren, om te voorkomen dat het bewaarde voedsel bererft, als de stroom uityalt.
Problemen oplossen

WAARSCHUWING!
Voordat u storingen opspoort, de stekker uit het stopcontact trekken.
Het opsporen van storingen die Niet in deze handleiding vermeld zich, dient te worden verricht door een gekwalificeerd technicus of competent persoon.

Er zijnijdens de normale werkig geluiden te horen (compressor, koelcircuit).
| Probleem Mogelijk ooorzaak Oplossing | ||
| Het apparaat werkkt nicht. Het contrôlelampje knip-pert nicht. | Het apparaat is uitgeschakeld. Schakel het apparaat in. | |
| De stekker zit nicht goed in hetstopcontact. | Steek de stekker goed in het stop-contact. | |
| Het apparaat krijgt geen stroom. Er staat geen spanning op hetstopcontact. | Sluit een ander elektrisch apparaat aan op het stopcontact. Neem contact op met een gekwa-lificicerde elektricien. | |
| Het contrôlelampje.gaat branden. | Het apparaat werkkt nicht goed. | Neem contact op met een gekwa-lificicerde elektricien. |
| Het alarmlampje knip-pert. | De temperatuur in het vriesvak is te hoog. | Raadpleeg "Alarm hoge tempera-tuur" |
| De compressor werkt continu. | De temperatuur is nicht goed ingesteld. | Stel een hogere temperatuur in. |
| De deur is nicht goed gesloten. | Raadpleeg "De deur sluiten". | |
| De deur is te vaak open gedaan. | Laat de deur nicht langer open staan danoodzakelijk. | |
| De temperatuur van het productis te hoog. | Laat het product afkoelen tot ka-mertemperatuur voordat u het opbergt. | |
| De kamertemperatuur is tehoog. | Verlaag de kamertemperatuur. | |
| De functie FROSTMATIC is ingeschakeld. | Raadpleeg de functie FROSTMATIC. | |
| De temperatuur in de vriezer is te laag. | Stel een hogere temperatuur in. | |
| De functie FROSTMATIC is ingeschakeld. | Raadpleeg de functie FROSTMATIC. | |
| De temperatuur in het vriesvak is te hoog. | Stel een lagere temperatuur in. | |
| De deur is nicht goed gesloten. | Raadpleeg "De deur sluiten". | |
| Probleem Mogelijk oorzaak Oplossing | ||
| De temperatuur van het product is te hoog. | Laat het product afkoelen tot ka- mertemperatuur voordat u het opbergt. | |
| Erijken veel producten tegelijk opgeborgen. | Berg minder producten tegelijk op. | |
| Producten liggen te:dicht op elk- aar. | Berg de producten zodanig op dat er koude lucht kan circuleren. | |
De deur sluiten
- Maak de affdichtingen van de deur schoon.
- Stel de deur, indien nodig, af. Raadpleeg "Montage".
- Vervang, indien nodig, de defecte deurafdichtingen. Neem contact met de service-afdeling.
Technische gegevens
| Afmetingen van de uitsparing | ||
| Hoopte 1225 mm | ||
| Breedte 560 mm | ||
| Diepte 550 mm | ||
| Tijdsduur 24 h |
De technische gegevens staan op het typeplaatje aan de linker binnenkant in het apparaat en op het energielabel.
Montage
Opstelling

WAARSCHUWING!
Als u een oud apparaat weggooit dat voorzien is van een deurslot of vergrendeling, zorg er dan voor dat dit onbruikbaar gemaakt worden, zodate kinderen er Niet in opgesloten kunnen raken.

De stekker van het apparaat要去 installatie toegankelijk zijn.
Installerer dit apparaat op een plaats waar de omgevingstemperatuur overeenkomt met de klimaatklass die vermeld is op het typeplaatje van het apparaat:
Klimaatklasse Omgevingstemperatuur
SN + 10^ tot +32^
| Klimaatklasse Omgevingstemperatuur | |
| N +16°C tot + 32°C | |
| ST +16°C tot + 38°C | |
| T +16°C tot + 43°C | |
Elektrische aansluiting
Zorg er vór het aansluten voor dat het voltage en de freiorentie op het typeplaatje overeenkomen met de stroomtoevoer in uwuis.
Het apparaat要去 geaard zich. De netsnoorstekker is voorzien van een contact voor dit doel. Als het stopcontact Niet geaard is, sluit het apparaat dan aan op een afzonderlijk aardepunt, in overeenstemming met de geldende regels, raadpleeg hiervoor een gekwalificiererd elektricien.
De fabrikant neemt geen verantwoordelijkheid op zich als de bovenstaande veriligheidsmaatregelen nicht worden nageleefd.
Dit apparaat voldoet aan de EU. richtlijnen.
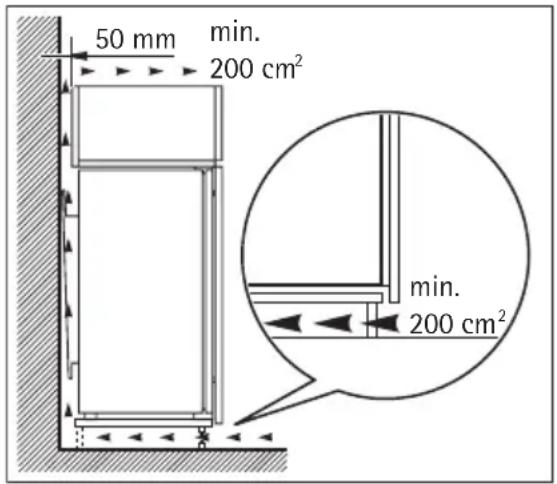
Ventilatievereisten
De luchtstroom achefter het apparaat要去 voldoende zich.

Het milieu
Het symbool op het product of op de verpakking wijst erop dat dit product nicht als huishoudafval mag worden behandeld, maar moet worden afgegeven bij een verzamelpunt waar elektrische en elektronische apparatuur wordt gerecycled. Als u ervoor zorgt dat dit product op de juiste manier worden verwijderd, voorkomt u mogelijkne negatieve gevolgen voor mens en milieu die zich zonden+kennen voordoen in geval van verkeerde afvalverwerking. Voor gedetailleerdere informatie over het recyclen van dit product,(Int, kun t u contact opnemen met de gemeente, de gemeentereiniging of de winkel waar u het product hebt gekocht.
U kan toebehoren, verbruiksprodukten en onderdelen bestellen via once webwinkel op: www.aeg-electrolux.be
Voor het on-line bestellen van accessoires, consumables en onderdelen gaat u maar de 'webwinkel' op: www.aeg.nl
SimpelGids