F 361 - Verwarming Jøtul - Gratis gebruiksaanwijzing en handleiding
Vind de handleiding van het apparaat gratis F 361 Jøtul in PDF-formaat.
Gebruikersvragen over F 361 Jøtul
0 vraag over dit apparaat. Beantwoord die u kent of stel uw eigen vraag.
Stel een nieuwe vraag over dit apparaat
Download de handleiding voor uw Verwarming in PDF-formaat gratis! Vind uw handleiding F 361 - Jøtul en neem uw elektronisch apparaat weer in handen. Op deze pagina staan alle documenten die nodig zijn voor het gebruik van uw apparaat. F 361 van het merk Jøtul.
GEBRUIKSAANWIJZING F 361 Jøtul
NL - Installatie- en montagehandleiding 8o

JotulF361

Jotul F 363

Jotul F 364

Jotul F 365

JotulF366

Jotul F 369
ENGLISH
Table of contents
1.0 Wettelijke voorschriften 8o
2.0 Technische gegevens 8o
3.0 Veiligheid 81
4.o Installatie 86
5.o Dagelijks gebruik 96
6.o Onderhoud 96
7.o Groot onderhoud 97
8.o Gebruiksproblemen - problemen oplossen
9.0 Optieonele accessoires 98
10.o Garantie. 98

Al once producten zijn voorzien van een label met een serialnummer en een jaartal. Noteer dit nummer op de waaroor bestemde plaats, zoals aangegeven in de installment-instructies.
Houd dit serienummer bij de hand als u contact opneemt met uw leverancier of met Jotul.
Serial no.
1.0 Wettelijk voorschriften
Een haard moet in overeenstemming met de wetten en voorschriften van uw land worden geinstalleerd.
Alle lokale bepalingen, inclusief de bepalingen die betrekking hebben op nationale en Europese normen, zullen worden nageleefd bij het installereren van het product.
Instructies voor montage,plaatsing en gebruik worden met het product meegeleverd. Voordat u dit product in gebruik neemt, moet de installmentie worden goedgekeurd door een gekwalificeerd technicus.
Op het hitteschild bevindt zich een typeplaatje dat is gemaakt van hittebestendig materiaaal. Op het typeplaatje staan typegegevens van het product en verwijzingen� documentatie.
Material: gietijzer
Afwerking: zwarte of grijze lak
Brandstof: hout
Max. lenghte van blokken: 30 cm
Rookafvoer: boven-/achterkant
Doorsnede van de aansluiting: 150mm / min.177cm^2 doorsnede
Gewicht, haard met:
- Met gietijzeren onderstel: Ongeveer 168 kg
- Met gietijzeren voetstuk: Ongeveer 161kg
- Met gietijzeren poot: Ongeveer 159 kg
- Met gietijzeren basis met glazen deur: Ongeveer 170 kg
- Met glazen basis: Ongeveer 163 kg
- Met drie poten Ongeveer 154 kg
Optionele accessoires: Bovenkant van speksteen, glazen decoratieset -bovenzijde, zijkanten en voorzijde, draaiset (Joftul F 363). Houtopslag. (Joftul F 364)
Afmetingen van het product, afstanden: Zie afb.1
Technische gegevens volgens EN 13240
Nominaal vermogen: 5.5 kW
Massastroom rookgas: 5.9 g/sec
Aanbevolen luchtstroom van schoorsteen: 12 Pa
Efficientie: 73%@5,8 kW
Koolmonoxide-uitstoot (13% O_2) : 0.12%
Rookgastemperatuur: 330^ Werkingstype: cyclisch
Cyclische verbranding betekent in deze context normala gebruik van de haard, dat wil zeggen dat er brandstof worden toegevoegd wonneer de brandstof is opgebrand en er nog een voldoende hoeveelheid gloeienda as over is.
Luchttoevoer
De externe luchtaansluiting kan direct op de Jotul F 360 Series worden aangesloten door middel van:
- door een flexibele toevoerslang van buitenaf/schoorsteen (alleen als de schoorsteen een eigeng kanaal hebft voor externe lucht) op de externe luchtansluiting van het product.
Viaeenbuitenmuur

Via de vloer en grondplaat

Via de vloer en kelder

Indirect via een buitenmuur

3.0 Veiligigkeit
NB! Om zeker teijken van optimale prestaties en verilgheid, dienen de kachels van Jdtul altijd te worden geplaatst door een gekwalificierde installmenter.
Aanpassingen aan het product door de distributeur, installerateur of consument+knen ertoe leiden dat het product en de beveiligingen Nietaar behoren functioneren.Hetzelfde geldt voor de installmentie van Niet door Jotul geleverde accessoires of optionele extra's.Dit kan ook het geval+zijn indien essentiele onderdelen voor het functioneren en de veiligheid van de haard gedemonteerd of verwijderd worden.
In al deze gevallen is de fabrikant Niet verantwoordelijk of aansprakelijk voor het product en hetrecht op reclamatie komt hierdoor te verrallen.
3.1 Maatregelen op het gebied van brandpreventie
Elk gebruik van de haard brengt een zeker risico met zich mee.
Neem waarom de volgende instructies nauwkeurig inRCT:
- De minimale veiligheidsafstanden tijdens het gebruik van de haard zich weergegeven in fig. 1.
Zorg ervoor dat er geen meubels of andere brandbare materialen te zich bij de haard staan. Brandbare materialen mogen nooit binnen 1 meter afstand van de haard geplaatst worden. - Laat het vuur vanzelfuitgaan. Blus het vuur nooit met water.
- De haard worden tijdens gelebruik warm en kan bij aanraking brandwondenervoorzaken.
- Verwijder de as Niet voordat de haard koud is. De as kan smeulende resten bevatten en moet waarom in een onbrandbare bak worden bewaard.
- De as moet maar buiten worden afgevoerd of worden weggegooid op een plek waar geen brandevaar bestaat.
Bij brand in de schoorsteen
- Sluit alle luiken en ventilatieopeningen.
- Houd de deur van de vlamkast gesloten.
- Controller of er rook is op zolder en in de kelder.
- Bel de brandweer.
- Voordat u de haard opnieuw in gebruik neemt na een brand, moet een deskundige de haard en de schoorsteen controeren om na te gaan of deze goed werkt.
3.2 Vloer
Fundament
Het fondament moet op de haard berekend zijn. Zie «2.o Technische gegevens» voor het gewicht van de haard. Het worden aanbevolen om een vloer die Niet aan het fondament bevestigd is, een zogenaamde zwevende vloer, bij de installment te verwijderen.
Vereisten ter bescherming van een houten vloer
Jotul F 360 Series (uit gezonderd Jotul F 364) beschikt over een hitteschild aan de onderkant van de haard. Dit hitteschild beschermt de vloer gegen warmtestraling. De haard is voorzien van een geintregerde vloerbescherming en mag waarom direct
Jøtul F 360 Series
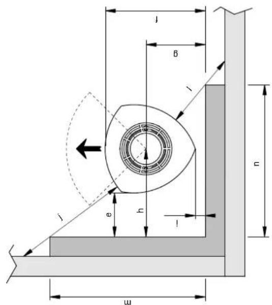
Minimale afstand tot brandbare muur in verschillende configuraties, afb. 1a
| Configuratie Afstand | a | b | c | d | e | f | g | h | i |
| Basis model | 300 | 925 | 720 | 509 | 400 | 552 | 347 | 621 | 100 |
| Met half geisoleerde schoorsteen | 300 | 925 | 720 | 509 | 400 | 552 | 347 | 621 | 100 |
| Met decoratie glas,+zijkant en half geisoleerde schoorsteen | 200 | 805 | 591 | 418 | 400 | 571 | 357 | 630 | 100 |
| C modellen (product met convectie kit)Cat. nr. 50044359 + 50043642 | 100 | 672 | 467 | 330 | 250 | 524 | 319 | 491 | 50 |
| C model (product met convectie kit en half geisoleerde stalen buis). Uitgelopen model. | 150 735 | 521 368 | 400 571 | 357 630 | 100 |

Afb. 1a
Jøtul F 360 Series
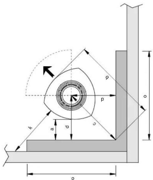
Minimale afstand tot brandbare muur beschermd door brandmuur in verschillende configuraties, afb. 1b
| Configuratie Afstand | a | b | c | d | e | f | g | h | i | j | k | l | m | n | o | p | q | r | s | t | ||||||
| Basis model | 100 | 43 | 438 | 310 | 200 | 492 | 287 | 421 | 40 | 550 | 480 | 440 | 735 | 799 | 773 | 93 | 999 | 962 | 756 | 1156 | ||||||
| Jøtul F 365, F 366 en F 369 met exter luchtansluiting via een buitenmuur | 100 | 643 | 438 | 310 | 200 | 552 | 347 | 421 | 100 | 550 | - | - | 795 | - | - | 994 | - | - | - | - | - | - | - | - | - |

Afb.1b
Jdtul F361/F363/F364/F365/F366/F369

Geintegreerd


Geinteggreed


9000g2-P01
3

NEDERLANDS
op een houtenvloer worden geplaatst.
Vloeren van brandbaar materiaal, zoals linoleum, tapijt, enzovoort,要去en onder de vloerplaat worden verwijderd.
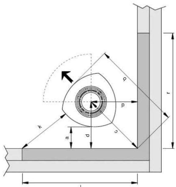
Minimale afstand tot een muur voor de Jotul F 365 en Jotul F 366 met buitenlucht aansluiting.
Afb.1C

Brandbare vloeren voor de haard要去en voldoen aan het volgende:
De voorplaat moet in overeenstemming zijn met de nationale wetten en voorschriften.
Neem contact op met de afdeling Bouwtoezicht van uw gemeente voor informatatie over beperkingen en installmentie-eisen.
3.3 Muren
De afstand tot de muur van brandbaar materiaal
De haard is goedgekeurd voor gebruik met een Niet-geisoleerde kachelpijp bij afstanden tot een muur van brandhaar materiaal zoals in afb.1.
3.4 Plafond
De afstand tot een brandhaar dak boven de haard要去 minimaal 1000 mm zijn.
4.o Installatie
N.B. Controller voor het installereren of de haard geen transportschade heeft opgelopen.
Het product is zwaar! Zorg voor hulp bij het neerzetten en installereren van de haard.
4.1 Voor installmentie
- Het standard product wordt geleverd in twee pakketten. Hetene pakket bevat de haard en het andere het optionele gietijzeren of betonstenen onderstel, of glazen basis of het gietijzeren voetstuk.
- Als u het product hebt uitgepakt, verwijdert u de keerplaten, de keerklep, de onderplaat, de aslade en het rooster. Verwijder ook dekleine zijplaten en de pakking van de kachelpijpuit deaslade.

Fig. 3
- Verwijder de bovenplaat met het rooster (afb. 3 A) en de kom (afb. 3 B).
- Controller de haard op eventuebe schadigingen en overtuig u ervan dat de regelschuiven functioneren.
- Als de achteraansluiting voor de kachelpijp worden gebruikt, boort u eerst gaten (afb. 5 A) in de verwijdberbare platen voordat u de platen verwijdert.
- Het houten bloc (afb. 5 B) dat de keerkleppen in de juiste positie houdt, moet zodenig worden geplaatst dat de lijplaten worden ondersteund wanneer u de platen verwijdert.
- Leg de kartonnen dozen plat op de vloer. Leg de kachel voorzichtig op zijn Kant.
Afb. 4

8. Als u de optionele glazen decoratieset gaat gebruiken, moeten de 4 schroeven met verzonken kop UIT de onderkant worden verwijderd (afb. 4 B) met behulp van de bijgevoegde sleutel.
4.2 Montage
Jøtul F 361 - Gietijzere onderstel
NBI Sla de verwijderbare afdekplaten Niet los wanner u de flexibele slang door een gat in de vloer aansluit.
Afb.5

1. Als de flexible sleang (100 mm Ø) voor externe luchttoevoer要去 worden aangesloten op het luchtrooster (afb.4C) onder de verbrandingskamer, dient u eerste een gat te boren (afb.5C) in de verwijderbare platen voordat u deze platen verwijdert. Let op. Zorg ervoor dat dechterplaat in de basis (fig. 7A) zich op zijn positie bevindt wanner de afdekkingen eruit worden geslagen.
NEDERLANDS
Afb. 7

- Verwijder het rooster en dechterplaat van het onderstel. Controller of de hendel in het luchtrooster (afb. 4 D) is in de voorste positie.
- Bevestig het onderstel aan het verbrandingskamer met de 4 schroeven (M8x30mm)uit de schroevenzak (afb.4A).
- Vraag hulp. Bescherm de vloer gegen krassen e.d. en til de kachel voorzichtig op.
- Trek de slang door het gat en bevestig hem met een klem aan de aansluitpijp. NB! De slang moet lang genoeg zichn, zodate er geen knikken in komen.
Afb.8

- Het onderstel moet door middel van het meegeleverde hitteschchild (fig.8A) worden beschermd gegen de stralingswarmte. Bevestig dit met de 2 schroeven als aangegeven in afb. 8B.
- Stel de haard in met behulp van de 4 stelschroeven (zie afb.8C).
- Monteer het rek en dechterplaat opnieuw in de basis.
Jotul F 363 - Voetstuk
Belangrijk: Als u de draaiset wilt monteren, doet u dat voordat u het voetstuk bevestigt aan de haard. Zie de montage-instructies bij de draaiset.
- Bevestig het voetstuk met de 4 erder schroeven (zie paragraaf (afb. 4 A).
- Bevestig nu de slang (diameter 100 mm) aan de haard als u lucht wilt toevoeren via een slang (afb.4C).
- Duw de hendel in het het luchtrooster in de voorste positie (afb. 4 D).
- Bevestig de slang met een slangklem op de aansluitpijp. NB De slang要去 lang genoeg zich, zodate er geen knikken in komen.

Afb.11
- Als gebruik worden gemaatk van externe luchttoevoer via de vloer,plaatst u de pakking voor (afb. 11 A) het voetstuk op de onderzijde in de opening.Trek de slang door de pakking vanuit de onderzijde van het voetstuk.Aantekening: De opening zit in het midden van de voet.
- Duw de hendel in het het luchtrooster in dechterste positie (zie afb. 4 E).
- Vraag hulp. Bescherm de vloer gegen krassen e.d. en til de kachel voorzichtig op. Plaatst u deze direct boven de externe luchttoevoer.
- Stel de haard in met behulp van de 3 stelschroeven (afb.11 A). Belangrijk: Controller of de hendel in het luchtrooster in de voorste positie staat, als de lucht Niet door het voetstuk要去 worden aangevoerd.
Jotul F 364 - Gietijzeren poot
Als er externe lucht, aangevoerd via de externe luchtopening, moet worden gebruikt, moet u een flexibele slang (Ø 100 mm) op de externe luchtopening (afb. 4C) van het product aansluiten.
Installatie met externe lucht
- Duw de hendel op de externe luchtopening maar voren (afb. 4D).
- Sluit de slang met een slangklem op de externe luchtopening aan. NBI Zorg dat de slang lang genoeg is, zodate u geen verbindingen hoeft te make.

Afb.12
- Verplaats de gietijzeren poot in de richting van de verbrandingskamer, aangezien de externe luchtslang door de poot enevt.doore opening aan de achterkant loopt (afb.12).

Afb.13
- Bevestig de basis aan de verbrandingskamer. Gebruik hiervoor 4 schroeven (M8 x 30 mm)uit de zak met schroeven (afb.13 A).
- Vraag hulp. Bescherm de vloer gegen krassen e.d. en til de kachel voorzichtig op. Plaats het correct ten opzichte van de externe luchttoevoer.
NEDERLANDS
Afb.14

- Pas indien nodig de hoogte van het product aan. Gebruik hiervoorde stelschroeven onder de poot (afb. 14 A).
Afb. 15

- Vervang de afdekking voor de externe luchttoevoer (afb.15 A).
Installatie zonder externe lucht
- Bevestig de basis aan de verbrandingskamer. Gebruik hiervoort 4 schroeven (M8 x 30 mm)uit de zak met schroeven (afb. 13 A).
- Vraag hulp. Bescherm de vloer gegen krassen e.d. en til de kachel voorzichtig op. Plaats het correct ten opzichte van de externe luchttoevoer.
- Pas indien nodig de hoogte van het product aan. Gebruik hiervoord steelschroeven onder de poot (afb.14 A).
- Vervang de afdekking (afb 15 A).
Jotul F 365 - Gietijzeren basis met glazen deur
- Monteer de gietijzeren basis zoals beschreiben onder het punt Jøtul F 361 - gietijzeren basis.
Afb.16

- Bevestig het scharnier voor de glazen deur aan de basis. Gebruik hiervoor de schroeven M6 x 20 mm, die in de zak met schroeven voor de glazen deur zitten (afb.16 A).
- Plaats de veer tussen de van schroefdraad voorziene gaten en het scharnier voordat u de schroeven aanhaalt (afb.16 B).
Afb.17

- Draai het andere uiteinde van de veer stevig in positie (afb.17A).
- Bevestig de deurdemper aan de binnenkant van de glazen deur in de hoekrechtsonder (afb. 17 B).
NBI Er要去en gelijkmatige tussenruimte tussen de deur en de basis aanwezig zich, zodate de deurrecht hangt. Stel de deur indien nodig af door de twee schroeven aan te halen of los te draaien (afb. 17 C).
Jøtul F 366 - Glazen basis
NB! Sla de verwijderbare afdekplaten Niet los wanner u de flexibele slang door een gat in de vloer aansluit (afb. 18 A).

Afb.18
- Maak de schroeven los verwijl u de bovenste glasklemmen aan beiden zichden vasthoudt (afb.18 B en C). Controller of de hendel op de externe luchtopening maar voren staat (afb.4 D).
- Indien u een flexibele slang aansluit (Ø 100 mm) voor de externe luchttoevoer maar de externe luchtopening/-uitlaat (afb. 4 C) onder de verbrandingskamer, boor dan eerst een gat (afb. 18 A) in de verwijderbare afdekplaten alvorens u deze losslaat.NB! Laat dechterplaat in de basis (afb. 18 D) zitten, wanner u de afdekplaten loslaat.
- Verwijder dechterplaat afb.18 D)uit de basis.

Afb.19
- Plaats de basis op de juiste positie op de vloerplaat (indien nodig). Zet het product waterpas met de 4 afstelschroeven (fig. 19 A).
- Bevestig de basis aan de verbrandingskamer. Gebruik hiervoor 4 schroeven (M8 x 30 mm)uit de zak met schroeven (fig.19 B).
- Vraag hulp. Bescherm de vloer gegen krassen e.d. en til de kachel voorzichtig op.
- Stel de glazen deur, indien nodig, af met de schroeven (fig. 17 C). De ruimte:tussen de deur en de basis moet overal gelijk,zijn om de deurrecht te laten hangen.

Afb. 20
- Installer de glazen zijpanelen door deze in de onderste glasklemmen teplaatsen (afb. 20 A). Trek de bovenste klemmen omhoog en druk ze op de glazen zijkant. Zorgervoordat de ruimte tussen de glazen zijkant en de lijplaat overal gelijk is, zowel aan de voor- als achterkant. Draai de schroef aan de voorkant voor de glazen zijkant aan (afb. 18 B). De schroef aan de achterkant (afb. 18 C) moetlets losgedraaid worden zodate glasklem kan worden opgetild zonder de schroef te verwijderen (dit maakt het eenvoudiger om later het glas te verrangen).
- Haal de flexible sleang (indien aanwezig) door een gat in de vloer of ache ter de basis (afb. 18 A) en bevestig deze aan de uitlaat met een slangklem. NB! Zorg ervoor dat de slang lang genoeg is, zodate u geen verbindingen hoeft te make. 10. Plaat de awhile terug (afb. 18 D).
- Het onderstel moet door middel van het meegeleverde hitteschild worden beschermd gegen de stralingswarmte. Bevestig dit met de 2 schroeven als aangegeven in afb.8 B.
NEDERLANDS
Jotul F 369 - met drie poten
NB! Sla de verwijderbare afdekplaten Niet los wonneer u de flexibele slang door een gat in de vloer aansluit.
Afb. 21a

Afb. 21a

- Indien u een flexibele slang aansluit (0 100 mm) voor de externe luchttoevoer maar de externe luchtopening (afb. 21b) onder de verbrandingskamer, boor dan eerst een gat (afb. 21a - A) in de verwijderbare afdekplaten voordat u deleze loslaat. NB! Plaats de delen op een geschikt oppervlak voordat u de afdekplaten loslaat.
Afb. 22

- Het bijbehorende hitteschildClient te worden gebruikt om de basis te beschemmen gegen de warmte die het product uitstraalt (afb. 22 A).Zet het eerst met een schroef vast (afb. 22 B).
- Zet de beugel (afb.22 C) losjes met een schroef op zichn plaats (afb.22 D).
- Bevestig de basis aan de verbrandingskamer. Gebruik hiervoorde 4 schroeven (M8× 30mm) uit de zak met schroeven (afb.4A).
-
Schroef de poten aan de achterrand aan elkaar. Gebruik hiervoor 2 schroeven in de schroefgaten (afb. 22 E).
-
Zet de beugel (afb. 22 C) met een schroef (afb. 22 F) en moeren aan beiden uiteinden op zichnplaats.
- Vraag hulp. Bescherm de vloer gegen krassen e.d. en til de kachel voorzichtig op.
- Zet het product waterpas met de 4 afstelschroeven (afb.22 G).
- Als de poten Niet goed zich afgesteld, moet u de schroeven (afb. 22 F) aan beiden kanten losdraaien. Stel de poten af en draai de schroeven wee vast.
- Haal de schroef (afb. 22 D).
- Trek de flexibele slang door het gat en bevestig.Deze met een slangklem aan de uitlaat. NBI Zorg ervoor dat de slang lang genoeg is, zodate verbindingsstukken Niet nodig zich.
Afb. 23

A
- Plaats de afdekking (fig. 23 A)'erug. Zorg ervoor dat de pen (uitstulping) B omlaag wijst.
4.3 Schoorsteen en kachelpijp
- De haard mag uitsluitend worden aangesloten op een schoorsteen en kachelpijp die zichn goedgekeurd voor haarden op vaste brandstof met rookgastemperaturen zoals gespecifieerd in «2.o Technische gegevens».
- De doorsnede van de schoorsteen moet geschikt voor een haard. Zie «2.o Technische gegevens» om de juiste doorsnede van de schoorsteen te berekenen.
- De schoorsteen moet worden aangesloten in overeenstemming met de installment-instructies van de schoorsteenleverancier.
- Voordat u een opening in de schoorsteen maakt, moet het product als proof worden gemonteerd om de juiste positie van de haard en het gat in de schoorsteen te konnen markeren. Zie afb.1. voor de minimale afmetingen.
Zorg ervoor dat de kachelpijp omhoog wijst in de richting van de schoorsteen. - Gebruik bij een achteruitlaat een kachelpijpbocht met een veegluik, zodate de pijp kan worden geveegd.
- Let op: het is zeer belangrijk dat de aansluitingen enlgszins flexibel zich. Zo voorkomt u datkleine verplaatsingen tijdens de Installatie tot verworming of barsten leiden.
Zie «2.o Technische gegevens» voor de aanbevolen schoorstentrek. Voor afmetingen van de kachelpijp met de relevante doorsnede, zie "1.o Technische gegevens".
NB! De minimaal aanbevolen schoorsteenlengte is 3,5 m, gemeten vanaf de ingang van de kachelijp. Als de trek te sterk is, kan een demper worden geinstalleerd om de trek te verminderen.
Montage van een kachelpijp aan de bovenkant
Het product is in de fabriek voorbereid voor een rookafvoer aan de bovenkant.
- Leg bovenplaat (afb. 3 C) op+zijn plaats.
- Till met hulp van anderen het bovenrooster (afb. 3 A) op en houd het omhoog verwijl de pijp worden bevestigt.
- Steek de kachelpijp door het rooster in de bovenplaat en plaats hem op de rookafvoerpijp.
- Sluit hem goed af met een pakking.
Montage van een schoorsteenpijp aan dechterkant
Het product is in de fabriek voorbereid voor een rookafvoer aan de bovenkant. Als u de rook wilt afvoeren via de achterkant, volgt u onderstaande stappen:
- Plaats het product in de juiste positie (zie afb. 1).

Afb. 24

- Voor de veranderingaar rookafvoer (afb. 24 B) aan de achterkant, moet de schoorsteenpijp aan de bovenkant worden losgeschroefd.
- Draai vanuit de verbrandingskamer de schroeven van het afdekplaatje voor rookafvoer via de achterkant los (afb. 24 A).

Afb. 25
- Bevestig de pakking aan het uiteinde van de kachelpijp (afb.25 A).
- Monteer de rookafvoerijp (afb. 25 B) aan het uiteinde van de kachelijnwaaraan de pakking is bevestigd.
- Bevestig de kachelpijp en de rookafvoerpijp vanuit de binnenzijde van de verbrandingskamer en draai de kachelpijp vast met behulp van M8x30 mm schroeven. Bevestig het afdekplaatje voor de bovenafvoer (afb. 3) met de schroeven van de rookafvoerpijp.
N.B. Een juiste en luchtdichte aansluiting is van groot belang voor het goed functioneren van de haard.
NEDERLANDS
4.4 Montage van de haard
Afb. 26

- Plaats de keerplaat met de stang op de ribben in de groeven (afb. 26 A).
- Haal de bodemplaat door de opening en zet hem op de bodem.
Afb. 27

-
Plaats het vuurrooster in de juiste positie op de bodemplaat. Controller of de sleuf van het vuurrooster aan de rechterkant in de regelstang zit (afb. 27 A).
-
Plaats de aslade onder in de haard.
- Plaats dechyterbranderplaat in de sleuf aan de achterkant van de onderbranderplaaat.
- Plaats de ijbranderplaten (afb. 29 F) in de groeven aan weerszijden van de onderplaat. Zet de keerplaat zo datdezrust op de lij- enchterbranderplaten.
- Leg de keerplaat op de zijbranderplaten.
afb.28

- Plaats dekleine branderplaten (fig. 28 A) in de sleuven in de binnenbodem.
- Vervang de bovenplaat door het bovenrooster met de kom.
- Plaats de product informatatie plaat, welke in de aslade ligt, onder de verbrandingskamer.
4.5 Bedieningsfuncties controleren
Controleer alkijd de bedieningsfuncties wanneer de haard op+zijn plaats staat. Deze moeten gemakkelijk beweegbaar zich en maar behoren functioneren.
De Jotul F 360 is uitgerust met het volgende regelmechanisme:
Afb. 29

Vuurrooster (zelfde handgreep als voor stookopening) (afb. 29 B)
De rechterhendel + kan worden ingeduwd en uitgetrokken.
De handgreep voor de deur afb. 29 C:
wordt geopend door de greep uit te trekken.
4.6 Gebruik
Maak het luchtrooster open door dit helemaal waar rechts te schuiven en kaak de stookopening open door de hendel er volledig uit te trekken (afb. 29 A en B). Laat de deur indien nodig op een kiertje staan. (Gebruik een handschoen wanner de hendel warm is.)
Leg twee middelgrote blokken hout aan weerszijden van de grondplaat. NB. Plaats geen hout gegen het glas, om te voorkomen dat het beroet raakt.
- Schuif enkele proppen krantenpapier (of bergenschors):tussen de blokken, leg er enkele aanmaakhoutjes riskras bovenop en steek het papier aan.
Zorg ervoor dat het vuur geleidelijk aanwakkert. Het hout mag Niet hoger worden opgestapeld dan met een rij gaatjes op dechterste branderplaat is aangegeven (afb. 29 H).
- Sluitdestookening(afb.26B)alsuzietdathethoutgoedbrandt.
- Controller of er naverbranding (secundaire verbranding) plaatsvindt. Er branden dan gele vlammen onder de keerplaat.
- Stel cervolgens de verbranding in op het gewenste warmteniveau door de ventilatieopening aan te passen (Afb. 29 A).
Zie de handleiding voor informatie over het gebruik van de haard.
Houtblokken toevoegen
Stook de kachel regelmatig op, maar gebruik alleen krine hoveeelheden brandstof tegelijk. Als de kachel te vol is, kan de ditte voor extreme druk in de schoorsteen zorgen. Voeg algijd met mate brandstof bij. Vermijd smeulend vuur waar dit het meest verruilend is. Het vuur is het beste als het goed brandt en de rook uit de schoorsteen nauwelijks zichtaar is.
4.7 Gevaar van oververhitting
De haard mag nooit zo gebruikt worden dat er oververhitting ontstaat.
Oververhitting treedt op als de haard te veel brandstof bevaten/of de luchtopening te ver openstaat zodate er te veel ditte wordt ontwikkeld. Een duidelijk teken van oververhitting is dat er onderdelen van de haard rood gloeien. Als dat gebeurt, moet u de luchtopening direct verkleinen.
Vraag om professioneel advies als u vermoedt dat er geen goede trek in de schoorsteen zit (te veel of te weinig trek).
4.8 De as verwijderen
De Jotul F 360 is voorzien van een aslade, waarmee u de as eenvoudig(Intknt verwijderen.
- Verwijder de as Niet voor de haard koud is.
- Schraap de as door het rooster van de grondplaat in de aslade. Gebruik een handschoen of dergelijkke om het handvat van de aslade vast te pakken en breng de as weg.
- Zorg dat de aslade Niet zo vol raakt dat de as Nieteer door het rooster in de aslade kan komen.
- Zorg dat de klep van de aslade goed gesloten is wanner de haard worden gebruikt.
Zie sunt «6.1 Brandpreventione» in de handleiding over algemeen gebruik en onderhoud voor het omgaan met asresten.
NEDERLANDS
5.o Dagelijks gebruik
5.1 Bediening
NBI Als de deurhendel zich is met de deur in de bovenste positie, kan de deur in deze positie gehandhaafd blijven door deeurstop (Fig. 15 A) in de sleuf aan de voorkant te lately zakken.
NB: De deur mag Niet open zich als er gestootht worden.
Door de schroef los te draaien (Fig. 15 B) en de deurstop onder de hendel in te draaien, sluit de deur.altijd tenzij deze worden opengehonden.
Brandadvies
NB: Blokken hout die buiten of in een koude ruimte zich opgeslagen要去en 24 uur voor gebruik maar binnen worden gehaald zDat ze op kamertemperatuur+kennen.
Er zijn verschillende manieren waarop in de kachel gestoookt kan worden, maar het is belangrijk dat u algijd voorzichtig bent met het materiaal dat u in de kachel stopt. Zie het hoofdstuk "Houtkwaliteit".
Houtkwaliteit
Met kwaliteitshout bedoelen we de meest bekende soorten hout zoals berk, spar en den.
De blokken要去en goed worden gedroogd zodate er nicht更是 dan 20% �回t in zit.
Om dit te bereiken要去 het hout aan het einde van de winter worden gehakt. De blokken要去en worden gekloofd en dusdanig worden gestapeld dat er voldoende ventilatie is. De houtstapel要去en afgedekt om de blokken gegen regen te beschermen. De blokken要去en begin herfst maar binnen worden gehaald en worden gestapeld/opgeslagen voor gebruik in de komende winter.
Let er goed op dat u de volgende materialen nooit als brandstof voor uw haard gebruikt:
-
Huishoudelijk afval, plastic tassen, enz.
-
Geverfd of geimpregneerd hout (dat is uiterst giftig).
-
Gelamineerde houten planken.
Drijfhout
Deze können schade toebrengen aan het product en+zijn ook verruilend.
NB: Gebruik nooit benzine, paraffine, methylalcohol of dergelijke vloeistoffen om het vuur aan te steken. Dit kan leiden tot ernstig persoonlijk letsel en schade aan het product.
Aanmaakhout (fijngehakt hout):
Benodigdaantal perkeer:6-8blokken
Hout (gehakt hout):
Aanbevolen length: 20-30 cm
Diameter: ongeveer 8 cm
Interval voor toevoegen hout: Ongeveer elke 45 minuten
Grootte vuur: 1,4 kg (nominal vermogen)
Benodigdaantal perkeer: x2
Een nominale warmteafgifte worden bereikt door de luchtopening ongeveer 100% open te honden. Laat de luchtopening 100% open (Fig. 29 - A) en duw de ontstekingsopening (Fig. 29 - B) ong. 1-2 cm maar buiten.
6.o Onderhoud
6.1 Glas reinigen
De haard is uitgerust met een ventilatieopening voor het glas. Lucht worden aangezogen door de luchttoevoer boven de haard en stroomt langs de binnenkant van het glas maar beneden.
Toch zal zich alkijd wel roet op het glas ophopen. De hoeveelheid is afhankelijk van de luchtstroom terplaatse en de stand van de ventilatieopening. De roetlaag worden gewoonlijk erotendeels wegbebrand wanner de ventilatieopening helemaal open staat en de haard flink brandt.
Goed advies! Maak voor een gewone schoonmaakbeurt een papieren handdoek nat met warm water en voeg er wat as UIT de stookplaats aan toe. Wrijf met het papier over het glas en neem het glas daarna af met schoon water. Laat het glas goed drogen. Wanner het glas grondig moet worden gereinigd, adviseren wij om glasreiniger te gebruiken (volg de gebruiksaanwijzing op de verpakking).
6.2 Reinigen en roet verwijderen
Tijdens gelebruik kan zich roet afzetten op de binnenwanden van de haard. Roet werkt isolerend en kan daardoor de warmteafigfte van de haard verminderen. Als er zich te veel roet ophoot, kunt u deze met een roetverwijderaar eenvoudig verwijdersen.
Als u wilt voorkomen dat zich roet of condenswater ophoopt in de haard, moet u regelmatig flink stoken om de gezvormde laag te verwijderen.
Een一年多ijkschoonmaakbeurt is nodig voor een optimale warmteafgifte van het product. U kunt dit bijvoorbeeld doe als de schoorsteen en de kachelpijp worden geveegd.
6.3 Kachelpijpen vegen tot aan de schoorsteen
Bij sommige vrijstaande haarden kan de bovenplaat verwijderd worden, waardoor de pijp vanuit de haard kan worden geveegd. Als dit Niet het geval is, moet de kachelpijp geveegd worden via het veegluik of de deuropening.
6.4 Inspectie van de haard
Jotul raadt u aan om na het reinigen/vegen zich een grondige inspectie van de haard uit te voeren. Controller alle zichtbare oppervlakken op scheuren. Controller ook of de deur- en glasafdichtingen luchtdicht afsluien en of de pakkingen nog op hunplaats zitten. Pakkingen die sporen van slijtage ofervorming vertonen, moeten worden verrangen.
Maak de pakkingsgroeven grondig schoon, breng keramische lijm aan (te verkrijgen bij uw Jotul-dealer) en druk de pakking goed in de groef. De lijm heeft een korte droogtijd.
6.5 De buitenkant onderhoden
Bij haarden met een laklaag kan na een paaraar verkleuring optreden.Voordat u een neue laag verfaanbrengt, moet u het oppervlak reinigen en alle losse deeltjes wegvegen.
7.o Groot onderhoud
Waarschuwing! Het is Niet toegestaan dit product zonder toestemming te wijzigen.
Gebruik alleen originele reserveonderdelen.
7.1 De keerplaat/keerklep verrangen
(NB! Houd er rekening mee dat platen van aardewerk door een ruwe behandeling met gereedschap hunnen worden beschadigd).
- Til de keerplaat aan de voorkant op en kantel deze uit de haard (Afb. 29 G). Verwijder de zichbranderplaten (afb. 26 F) en dechterbranderplaat (afb. 29 E).
- De gietijzeren keerklep, die zich boven de keerplaat bevindt, rust met de stang op de ribben aan aan de achterkant van de schoorsteenuitgang (afb 26 A). Til de keerklep iets omhoog, trek deze maar voren en kantel hem eruit.
- Volg bij de montagedezelfde procedure,maar in omgekeerde volgorde.
7.2 De branderplaten/onderplaat
(NB. Houd er rekening mee dat platen van aardewerk door een ruwe behandeling met gereedschap hunnen worden beschadigd).
- Til de keerplaat aan de voorkant op en kantel deze uit de haard. Verwijder de zijbranderplaten (afb. 29 F) en dechterbranderplaat (afb. 29 E).
- Til verwolgens het rooster en de onderplaat op en verwijder zeuit de haard (afb. 29 D).
- Volg bezelfde procedure bij de installmentie, maar dan in omgekeerde volgorde.
- Let op dat bij het terugplaatsen van het rooster en de onderplaat de stang waarmee het schudrooster kan worden bewogen, op de juiste wijze in de sleuf aan de rechterkant van het vuurrooster valt. (Zie afb. 27 A).
8.o Gebruiksproblemen - problemen oplossen
Slechte trek
- Controller de lenghte van de schoorsteen en of hij voldoet aan de geldende wetten en voorschriften.
- Zorg ervoor dat de minimale afmetingen van de schoorsteen overeenkomen met de beschrijving in «2.0 Technische gegevens».
- Controleer of de afvoer van gassen nicht worden belemmerd, zoals bijvoorbeeld door takken of bomen, enzovoort.
- Als u vermoedt dat de schoorsteen overmatig of onvoldoende trekt, neemt u contact op met een deskundige die maatregelen kan nemen.
Het vuur gaat na enigeijduit
- Controller of het brandhout droog genoeg is.
- Controleer of er onderduk is in de woning, sluit mechanische ventilatiesystemen en open een raam zicht bij de haard.
- Controller of de ventilatieopening is geopend.
- Controller of de kachelpijp Niet verstopt is met roet.
Als er zich een ongebruikelijk hoeveelheid roet ophoot op het glas
Er zal zich alkijd roet ophopen op het glas, maar de hoeveelheid is afhankelijk van:
- De vochtigheid van de brandstof.
- De luchtstroom terplaatse.
- Deinstelling van de ventilatieopening.
De roetlaag worden gewoonlijk grotendeels wegbebrand wanneer de ventilatieopening helemaal open staat en de haard flink brandt. (Zie «6.1 Glas reinigen - goed advies').)
NEDERLANDS
9.o Optionele accessoires
9.1 Decoratieplaten
Speksteen, bovensteen van 25 mm, een stuk - cat. nr. 50012988.
Speksteen, driedelige bovensteen van 25 mm - cat. nr. 50013013, verranging voor 50012988 met stalen schoorsteen.
9.2 Glazen decoratieset, bovenzijde, zijkanten en voorzijde
(met afzonderlijke instructies voor de montage)
Glazen set voor rookafvoer onderzieijde, zwartgelakt, -cat.nr. 51012250
Glazen set voor rookafvoer boenzijde, zwartgelakt, -cat.nr. 51012252
9.3 Draaiset
Ziede afzonderlijke installment-instructies. Draaiset voor Jotul F 363,-cat.nr.51012254
9.4 Houtopslag
Zwartgelakt - cat.nr.50012995
10.o Garantie
Jøtul AS biedt haar klanten een garantie van tienaar inclusief hetrecht op teruggaaf van externe gietijzeren items ingeval deze defecten vertonen als gevolg van verkeerde materialen en/of fabricage na de initiièle aankoop/installatie van de kachel. De koper behoudt hetrecht goederen terug te geben onder voorwaarde dat de kachel is geinstalleerd in overeenstemming met huidige wet- en regelgeving en in overeenstemming met de installment- en bedieningsinstructies van Jøtul.
De garantie dekt nicht:
De installmentie van optionele extra's, bijv. om de trek in de schoorsteen ter plekke, of de luchttoevoer of andere omstandigheden buiten de invloedssfeer van Jotul te corrigeren. De garantie dekt geen verbruiksgoederen zoals brandplaten, rookschotten, vuurroosters, bodemroosters, hittebestendig materiaal, dampers en pakkingen, aangezien deze in de loop der tijdchteruitgaan als gevolg van normale slijtage. De garantie dekt geen schade als gevolg van het gebruik van Niet-geschekte brandstof bij het ontsteken van het vuur, zoals bijvoorbeeld drijhout, geimpregneerd of geverfd hout, plankdelen, chipplaten, enz. Oververhitting kan eenvoudig optreden ingeval van gebruik van Niet-geschekte brandstof, d.w.z. dat de kachel gloeiend rood worden, met als gevolg dat de verf verkleurt en de gietijzeren delen scheuren.
De garantie is Niet geldig ingeval van schade tijdens het vervoer van de distributeur maar het afleveradres. De garantie is eveneens Niet geldig ingeval van schade als gevolg van het gebruik van nicht-originele onderdelen.
SimpelGids