F 360 - Verwarming Jøtul - Gratis gebruiksaanwijzing en handleiding
Vind de handleiding van het apparaat gratis F 360 Jøtul in PDF-formaat.
Gebruikersvragen over F 360 Jøtul
0 vraag over dit apparaat. Beantwoord die u kent of stel uw eigen vraag.
Stel een nieuwe vraag over dit apparaat
Download de handleiding voor uw Verwarming in PDF-formaat gratis! Vind uw handleiding F 360 - Jøtul en neem uw elektronisch apparaat weer in handen. Op deze pagina staan alle documenten die nodig zijn voor het gebruik van uw apparaat. F 360 van het merk Jøtul.
GEBRUIKSAANWIJZING F 360 Jøtul
NL - Installatie- en montagehandleiding 80

Jøtul F 361

Jøtul F 363

Jøtul F 364

Jøtul F 365

Jøtul F 366

Jøtul F 369
ENGLISH
Table of contents
1.0 Wettelijke voorschriften 80
2.0 Technische gegevens 80
3.0 Veiligheid 81
4.0 Installatie 86
5.0 Dagelijks gebruik 9
6.0 Onderhoud 96
7.0 Groot onderhoud 97
8.0 Gebruiksproblemen - problemen oplossen
9.0 Optieonele accessoires 98
10.0 Garantie....98

Al onze producten zijn voorzien van een label met een serienummer en een jaartal. Noteer dit nummer op de daarvoor bestemde plaats, zoals aangegeven in de installatie-instructies.
Houd dit serienummer bij de hand als u contact opneemt met uw leverancier of met Jøtul.
Serial no.
1.0 Wettelijke voorschriften
Een haard moet in overeenstemming met de wetten en voorschriften van uw land worden geïnstalleerd.
Alle lokale bepalingen, inclusief de bepalingen die betrekking hebben op nationale en Europese normen, zullen worden nageleefd bij het installeren van het product.
Instructies voor montage, plaatsing en gebruik worden met het product meegeleverd. Voordat u dit product in gebruik neemt, moet de installatie worden goedgekeurd door een gekwalificeerd technicus.
Op het hitteschild bevindt zich een typeplaatje dat is gemaakt van hittebestendig materiaal. Op het typeplaatje staan typegegevens van het product en verwijzingen naar documentatie.
Materiaal: gietijzer
Afwerking: zwarte of grijze lak
Brandstof: hout
Max. lengte van blokken: 30 cm
Rookafvoer: boven-/achterkant
Doorsnede van de aansluiting: ∅150 mm/min. 177 cm² doorsnede
Gewicht, haard met:
- Met gietijzeren onderstel: Ongeveer 168 kg
- Met gietijzeren voetstuk: Ongeveer 161kg
- Met gietijzeren poot: Ongeveer 159 kg
- Met gietijzeren basis met glazen deur:
- Met glazen basis: Ongeveer 163 kg
- Met drie poten Ongeveer 154 kg
Optionele accessoires: Bovenkant van speksteen, glazen decoratieset - bovenzijde, zijkanten en voorzijde, draaiset (Jøtul F 363). Houtopslag. (Jøtul F 364)
Afmetingen van het product, afstanden: Zie afb.1
Technische gegevens volgens EN 13240
| Nominaal vermogen: | 5,5 kW |
| Massastroom rookgas: | 5,9 g/sec |
| Aanbevolen luchtstroom van schoorsteen: | 12 Pa |
| Efficiëntie: | 73%@5,8 kW |
| Koolmonoxide-uitstoot (13% O_2 ): | 0.12% |
| Rookgastemperatuur: | 330°C |
| Werkingstype: | cyclisch |
Cyclische verbranding betekent in deze context normaal gebruik van de haard, dat wil zeggen dat er brandstof wordt toegevoegd wanneer de brandstof is opgebrand en er nog een voldoende hoeveelheid gloeiende as over is.
Luchttoevoer
De externe luchtaansluiting kan direct op de Jøtul F 360 Series worden aangesloten door middel van:
- door een flexibele toevoerslang van buitenaf/schoorsteen (alleen als de schoorsteen een eigen kanaal heeft voor externe lucht) op de externe luchtaansluiting van het product.
Via een buitenmuur

Via de vloer en grondplaat

Via de vloer en kelder

Indirect via een buitenmuur

NB! Om zeker te zijn van optimale prestaties en veiligheid, dienen de kachels van Jøtul altijd te worden geplaatst door een gekwalificeerde installateur.
Aanpassingen aan het product door de distributeur, installateur of consument kunnen ertoe leiden dat het product en de beveiligingen niet naar behoren functioneren. Hetzelfde geldt voor de installatie van niet door Jøtul geleverde accessoires of optionele extra's. Dit kan ook het geval zijn indien essentiële onderdelen voor het functioneren en de veiligheid van de haard gedemonteerd of verwijderd worden.
In al deze gevallen is de fabrikant niet verantwoordelijk of aansprakelijk voor het product en het recht op reclamatie komt hierdoor te vervallen.
3.1 Maatregelen op het gebied van brandpreventie
Elk gebruik van de haard brengt een zeker risico met zich mee. Neem daarom de volgende instructies nauwkeurig in acht:
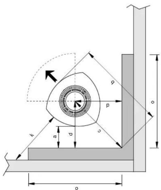
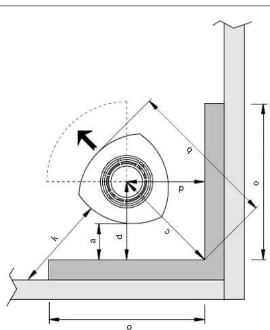
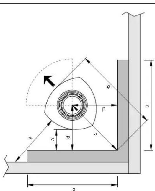
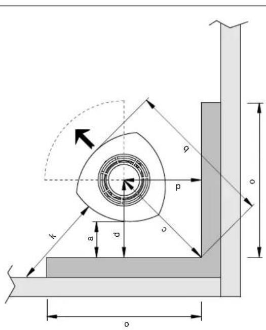
- De minimale veiligheidsafstanden tijdens het gebruik van de haard zijn weergegeven in fig. 1.
- Zorg ervoor dat er geen meubels of andere brandbare materialen te dicht bij de haard staan. Brandbare materialen mogen nooit binnen 1 meter afstand van de haard geplaatst worden.
- Laat het vuur vanzelf uitgaan. Blus het vuur nooit met water.
- De haard wordt tijdens gebruik warm en kan bij aanraking brandwonden veroorzaken.
- Verwijder de as niet voordat de haard koud is. De as kan smeulende resten bevatten en moet daarom in een onbrandbare bak worden bewaard.
- De as moet naar buiten worden afgevoerd of worden weggegooid op een plek waar geen brandgevaar bestaat.
Bij brand in de schoorsteen
- Sluit alle luiken en ventilatieopeningen.
• Houd de deur van de vlamkast gesloten. - Controleer of er rook is op zolder en in de kelder.
- Bel de brandweer.
- Voordat u de haard opnieuw in gebruik neemt na een brand, moet een deskundige de haard en de schoorsteen controleren om na te gaan of deze goed werkt.
3.2 Vloer
Fundament
Het fundament moet op de haard berekend zijn. Zie «2.0 Technische gegevens» voor het gewicht van de haard. Het wordt aanbevolen om een vloer die niet aan het fundament bevestigd is, een zogenaamde zwevende vloer, bij de installatie te verwijderen.
Vereisten ter bescherming van een houten vloer
Jøtul F 360 Series (uitgezonderd Jøtul F 364) beschikt over een hitteschild aan de onderkant van de haard. Dit hitteschild beschermt de vloer tegen warmtestraling. De haard is voorzien van een geintregeerde vloerbescherming en mag daarom direct
Jøtul F 360 Series
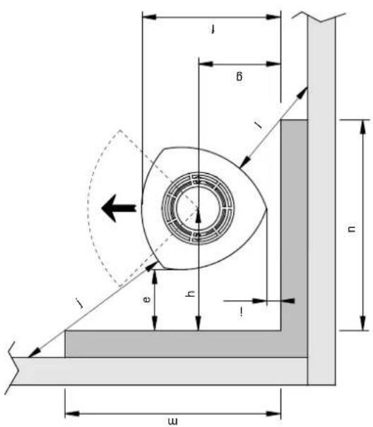
Minimale afstand tot brandbare muur in verschillende configuraties, afb. 1a
| Configuratie Afstand | a | b | c | d | e | f | g | h | i |
| Basis model | 300 | 925 | 720 | 509 | 400 | 552 | 347 | 621 | 100 |
| Met half geisoleerde schoorsteen | 300 | 925 | 720 | 509 | 400 | 552 | 347 | 621 | 100 |
| Met decoratie glas, zijkant en half geisoleerde schoorsteen | 200 | 805 | 591 | 418 | 400 | 571 | 357 | 630 | 100 |
| C modellen (product met convectie kit) Cat. nr. 50044359 + 50043642 | 100 | 672 | 467 | 330 | 250 | 524 | 319 | 491 | 50 |
| C model (product met convectie kit en half geisoleerde stalen buis). Uitgelopen model. | 150 735 | 521 368 400 571 | 357 630 100 |
Afb. 1a
Min. afstand tot brandbare muur met draaibaar voetstuk.
Zie bovenstaande tabel
Min. afstand tot brandbare muur.
Zie bovenstaande tabel
Jøtul F 361 / F 363 / F 364 / F 365 / F 366 / F 369


text_image
max 180° h e
text_image
max 90° d aGaten in de vloer ten behoeve
van externe lucht
∅ 100 mm verbinding
Jøtul F 361, F 364, F 365, F 366, F 369
Gaten in de vloer ten behoeve van externe lucht
∅ 100 mm verbinding
Jøtul F 363
Min. afmetingen voor de vloerplaat
X/Y = In overeenstemming
met nationale wet- en regelgeving

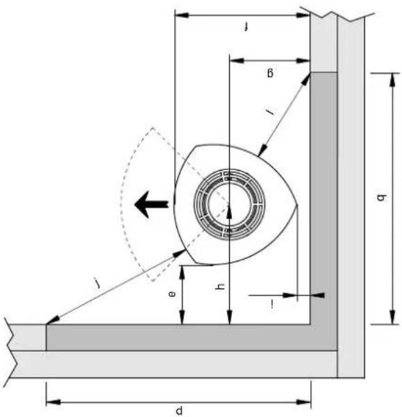
Jøtul F 360 Series
Minimale afstand tot brandbare muur beschermd door brandmuur in verschillende configuraties, afb. 1b
| Configuratie Afstand | a | b | c | d | e | f | g | h | i | j | k | l | m | n | o | p | q | r | s | t |
| Basis model | 100 643 438 | 310 200 | 492 287 | 421 40 | 550 480 440 | 735 799 | 773 934 | 999 | 962 | 756 1156 | ||||||||||
| Jøtul F 365, F 366 en F 369 met externe luchtaansluiting via een buitenmuur | 100 | 643 | 438 | 310 | 200 | 552 | 347 | 421 | 100 | 550 | - | - | 795 | - | - | 994 | - | - | - | - |
Afb.1b
Jøtul F 361 / F 363 / F 364 / F 365 / F 366 / F 369
Min. afstand tot brandbare muur beschermd door brandmuur: Zie bovenstaande tabel

Extern

text_image
g h f s
text_image
l e h i n f g
text_image
a d c b o k o
text_image
Geïntegreerd g l t
text_image
p e h i f σ q
text_image
l e h i f q
text_image
p e h i f σ q
text_image
a d c b o k o
text_image
a d c b o k o
text_image
a d c b o k o
text_image
a d c b o k o
text_image
a d c b o k o
text_image
a d c b o f o
text_image
a d c b o f o
text_image
a d c b o f o
text_image
a d c b o f o
text_image
a d c b o f o
text_image
a d c b o f o
text_image
a d c b o f o
text_image
a d c b o f o
text_image
a d c b o f o
text_image
a d c b o r o
text_image
a d c b o f o
text_image
a d f o b o
text_image
f a d o b o
text_image
f a d c b o o





text_image
r a d c b r 900092-P01
text_image
a d c b r 900092-P01NEDERLANDS
op een houtenvloer worden geplaatst.
Vloeren van brandbaar materiaal, zoals linoleum, tapijt, enzovoort, moeten onder de vloerplaat worden verwijderd.
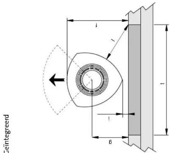
Minimale afstand tot een muur voor de Jotul F 365 en Jotul F 366 met buitenlucht aansluiting.
Afb.1C

text_image
min 100 min 347Brandbare vloeren voor de haard moeten voldoen aan het volgende:
De voorplaat moet in overeenstemming zijn met de nationale wetten en voorschriften.
Neem contact op met de afdeling Bouwtoezicht van uw gemeente voor informatie over beperkingen en installatie-eisen.
3.3 Muren
De afstand tot de muur van brandbaar materiaal
De haard is goedgekeurd voor gebruik met een niet-geïsoleerde kachelpijp bij afstanden tot een muur van brandbaar materiaal zoals in afb. 1.
3.4 Plafond
De afstand tot een brandbaar dak boven de haard moet minimaal 1000 mm zijn.
4.0 Installatie
N.B. Controleer vóór het installeren of de haard geen transportschade heeft opgelopen.
Het product is zwaar! Zorg voor hulp bij het neerzetten en installeren van de haard.
4.1 Voor installatie
-
Het standaard product wordt geleverd in twee pakketten. Het ene pakket bevat de haard en het andere het optionele gietijzeren of betonstenen onderstel, of glazen basis of het gietijzeren voetstuk.
-
Als u het product hebt uitgepakt, verwijdert u de keerplaten, de keerklep, de onderplaat, de aslade en het rooster. Verwijder ook de kleine zijplaten en de pakking van de kachelpijp uit de aslade.
Fig. 3

text_image
A B C-
Verwijder de bovenplaat met het rooster (afb. 3 A) en de kom (afb. 3 B).
-
Controleer de haard op eventuele beschadigingen en overtuig u ervan dat de regelschuiven functioneren.
-
Als de achteraansluiting voor de kachelpijp wordt gebruikt, boort u eerst gaten (afb. 5 A) in de verwijderbare platen voordat u de platen verwijdert.
-
Het houten blok (afb. 5 B) dat de keerkleppen in de juiste positie houdt, moet zodanig worden geplaatst dat de zijplaten worden ondersteund wanneer u de platen verwijdert.
-
Leg de kartonnen dozen plat op de vloer. Leg de kachel voorzichtig op zijn kant.
Afb. 4

- Als u de optionele glazen decoratieset gaat gebruiken, moeten de 4 schroeven met verzonken kop uit de onderkant worden verwijderd (afb. 4 B) met behulp van de bijgevoegde sleutel.
4.2 Montage
Jøtul F 361 - Gietijzere onderstel
NB! Sla de verwijderbare afdekplaten niet los wanneer u de flexibele slang door een gat in de vloer aansluit.
Afb. 5

text_image
A B C- Als de flexibele slang (100 mm ∅) voor externe luchttoevoer moet worden aangesloten op het luchtrooster (afb. 4C) onder de verbrandingskamer, dient u eerst een gat te boren (afb. 5C) in de verwijderbare platen voordat u deze platen verwijdert. Let op. Zorg ervoor dat de achterplaat in de basis (fig. 7A) zich op zijn positie bevindt wanneer de afdekkingen eruit worden geslagen.
NEDERLANDS
Afb.7

- Verwijder het rooster en de achterplaat van het onderstel. Controleer of de hendel in het luchtrooster (afb. 4 D) is in de voorste positie.
- Bevestig het onderstel aan het verbrandingskamer met de 4 schroeven (M8x30mm) uit de schroevenzak (afb. 4 A).
- Vraag hulp. Bescherm de vloer tegen krassen e.d. en til de kachel voorzichtig op.
- Trek de slang door het gat en bevestig hem met een klem aan de aansluitpijp. NB! De slang moet lang genoeg zijn, zodat er geen knikken in komen.
Afb. 8

text_image
A B C C C C- Het onderstel moet door middel van het meegeleverde hitteschild (fig. 8 A) worden beschermd tegen de stralingswarmte. Bevestig dit met de 2 schroeven als aangegeven in afb. 8 B.
- Stel de haard in met behulp van de 4 stelschroeven (zie afb. 8 C).
- Monteer het rek en de achterplaat opnieuw in de basis.
Jøtul F 363 - Voetstuk
Belangrijk: Als u de draaiset wilt monteren, doet u dat voordat u het voetstuk bevestigt aan de haard. Zie de montage-instructies bij de draaiset.
- Bevestig het voetstuk met de 4 eerder schroeven (zie paragraaf (afb. 4 A).
- Bevestig nu de slang (diameter 100 mm) aan de haard als u lucht wilt toevoeren via een slang (afb. 4 C).
- Duw de hendel in het het luchtrooster in de voorste positie (afb. 4 D).
- Bevestig de slang met een slangklem op de aansluitpijp. NB De slang moet lang genoeg zijn, zodat er geen knikken in komen.
Afb. 11

- Als gebruik wordt gemaakt van externe luchttoevoer via de vloer, plaatst u de pakking voor (afb. 11 A) het voetstuk op de onderzijde in de opening. Trek de slang door de pakking vanuit de onderzijde van het voetstuk. Aantekening: De opening zit in het midden van de voet.
- Duw de hendel in het het luchtrooster in de achterste positie (zie afb. 4 E).
- Vraag hulp. Bescherm de vloer tegen krassen e.d. en til de kachel voorzichtig op. Plaatst u deze direct boven de externe luchttoevoer.
- Stel de haard in met behulp van de 3 stelschroeven (afb. 11 A). Belangrijk: Controleer of de hendel in het luchtrooster in de voorste positie staat, als de lucht niet door het voetstuk moet worden aangevoerd.
Jøtul F 364 - Gietijzeren poot
Als er externe lucht, aangevoerd via de externe luchtopening, moet worden gebruikt, moet u een flexibele slang (∅ 100 mm) op de externe luchtopening (afb. 4C) van het product aansluiten.
Installatie met externe lucht
- Duw de hendel op de externe luchtopening naar voren (afb. 4D).
- Sluit de slang met een slangklem op de externe luchtopening aan. NB! Zorg dat de slang lang genoeg is, zodat u geen verbindingen hoeft te maken.
Afb. 12

- Verplaats de gietijzeren poot in de richting van de verbrandingskamer, aangezien de externe luchtslang door de poot en evt. door de opening aan de achterkant loopt (afb. 12).
Afb. 13

- Bevestig de basis aan de verbrandingskamer. Gebruik hiervoor 4 schroeven (M8 x 30 mm) uit de zak met schroeven (afb. 13 A).
- Vraag hulp. Bescherm de vloer tegen krassen e.d. en til de kachel voorzichtig op. Plaats het correct ten opzichte van de externe luchttoevoer.
NEDERLANDS
Afb. 14

- Pas indien nodig de hoogte van het product aan. Gebruik hiervoor de stelschroeven onder de poot (afb. 14 A).
Afb. 15

- Vervang de afdekking voor de externe luchttoevoer (afb. 15 A).
Installatie zonder externe lucht
- Bevestig de basis aan de verbrandingskamer. Gebruik hiervoor 4 schroeven (M8 x 30 mm) uit de zak met schroeven (afb. 13 A).
- Vraag hulp. Bescherm de vloer tegen krassen e.d. en til de kachel voorzichtig op. Plaats het correct ten opzichte van de externe luchttoevoer.
- Pas indien nodig de hoogte van het product aan. Gebruik hiervoor de stelschroeven onder de poot (afb. 14 A).
- Vervang de afdekking (afb 15 A).
Jøtul F 365 - Gietijzeren basis met glazen deur
- Monteer de gietijzeren basis zoals beschreven onder het punt Jøtul F 361 - gietijzeren basis.
Afb. 16

- Bevestig het scharnier voor de glazen deur aan de basis. Gebruik hiervoor de schroeven M6 x 20 mm, die in de zak met schroeven voor de glazen deur zitten (afb. 16 A).
- Plaats de veer tussen de van schroefdraad voorziene gaten en het scharnier voordat u de schroeven aanhaalt (afb. 16 B).
Afb. 17

text_image
A C B- Draai het andere uiteinde van de veer stevig in positie (afb. 17 A).
- Bevestig de deurdemper aan de binnenkant van de glazen deur in de hoek rechtsonder (afb. 17 B).
NB! Er moet een gelijkmatige tussenruimte tussen de deur en de basis aanwezig zijn, zodat de deur recht hangt. Stel de deur indien nodig af door de twee schroeven aan te halen of los te draaien (afb. 17 C).
Jøtul F 366 - Glazen basis
NB! Sla de verwijderbare afdekplaten niet los wanneer u de flexibele slang door een gat in de vloer aansluit (afb. 18 A).
Afb. 18

text_image
A B C D- Maak de schroeven los terwijl u de bovenste glasklemmen aan beide zijden vasthoudt (afb. 18 B en C). Controleer of de hendel op de externe luchtopening naar voren staat (afb. 4 D).
- Indien u een flexibele slang aansluit (∅ 100 mm) voor de externe luchttoevoer naar de externe luchtopening/-uitlaat (afb. 4 C) onder de verbrandingskamer, boor dan eerst een gat (afb. 18 A) in de verwijderbare afdekplaten alvorens u deze losslaat.NB! Laat de achterplaat in de basis (afb. 18 D) zitten, wanneer u de afdekplaten losslaat.
- Verwijder de achterplaat afb. 18 D) uit de basis.
Afb.19

text_image
A B B- Plaats de basis op de juiste positie op de vloerplaat (indien nodig). Zet het product waterpas met de 4 afstelschroeven (fig. 19 A).
- Bevestig de basis aan de verbrandingskamer. Gebruik hiervoor 4 schroeven (M8 x 30 mm) uit de zak met schroeven (fig. 19 B).
- Vraag hulp. Bescherm de vloer tegen krassen e.d. en til de kachel voorzichtig op.
- Stel de glazen deur, indien nodig, af met de schroeven (fig. 17 C). De ruimte tussen de deur en de basis moet overal gelijk zijn om de deur recht te laten hangen.
Afb. 20

- Installeer de glazen zijpanelen door deze in de onderste glasklemmen te plaatsen (afb. 20 A). Trek de bovenste klemmen omhoog en druk ze op de glazen zijkant. Zorg ervoor dat de ruimte tussen de glazen zijkant en de zijplaat overal gelijk is, zowel aan de voor- als achterkant. Draai de schroef aan de voorkant voor de glazen zijkant aan (afb. 18 B). De schroef aan de achterkant (afb. 18 C) moet iets losgedraaid worden zodat de glasklem kan worden opgetild zonder de schroef te verwijderen (dit maakt het eenvoudiger om later het glas te vervangen).
- Haal de flexibele slang (indien aanwezig) door een gat in de vloer of achter de basis (afb. 18 A) en bevestig deze aan de uitlaat met een slangklem. NB! Zorg ervoor dat de slang lang genoeg is, zodat u geen verbindingen hoeft te maken.
- Plaats de achterplaat terug (afb. 18 D).
- Het onderstel moet door middel van het meegeleverde hitteschild worden beschermd tegen de stralingswarmte. Bevestig dit met de 2 schroeven als aangegeven in afb. 8 B.
NEDERLANDS
Jøtul F 369 – met drie poten
NB! Sla de verwijderbare afdekplaten niet los wanneer u de flexibele slang door een gat in de vloer aansluit.
Afb. 21a

- Indien u een flexibele slang aansluit ( 100 mm) voor de externe luchttoevoer naar de externe luchtopening (afb. 21b) onder de verbrandingskamer, boor dan eerst een gat (afb. 21a - A) in de verwijderbare afdekplaten voordat u deze losslaat. NB! Plaats de delen op een geschikt oppervlak voordat u de afdekplaten losslaat.
Afb. 22

- Het bijbehorende hitteschild dient te worden gebruikt om de basis te beschermen tegen de warmte die het product uitstraalt (afb. 22 A). Zet het eerst met een schroef vast (afb. 22 B).
- Zet de beugel (afb. 22 C) losjes met een schroef op zijn plaats (afb. 22 D).
- Bevestig de basis aan de verbrandingskamer. Gebruik hiervoor de 4 schroeven (M8 x 30 mm) uit de zak met schroeven (afb. 4 A).
-
Schroef de poten aan de achterrand aan elkaar. Gebruik hiervoor 2 schroeven in de schroefgaten (afb. 22 E).
-
Zet de beugel (afb. 22 C) met een schroef (afb. 22 F) en moeren aan beide uiteinden op zijn plaats.
- Vraag hulp. Bescherm de vloer tegen krassen e.d. en til de kachel voorzichtig op.
- Zet het product waterpas met de 4 afstelschroeven (afb. 22 G).
- Als de poten niet goed zijn afgesteld, moet u de schroeven (afb. 22 F) aan beide kanten losdraaien. Stel de poten af en draai de schroeven weer vast.
- Haal de schroef (afb. 22 D).
- Trek de flexibele slang door het gat en bevestig deze met een slangklem aan de uitlaat. NBI Zorg ervoor dat de slang lang genoeg is, zodat verbindingsstukken niet nodig zijn.
Afb. 23

text_image
1 2 A B- Plaats de afdekking (fig. 23 A) terug. Zorg ervoor dat de pen (uitstulping) B omlaag wijst.
4.3 Schoorsteen en kachelpijp
- De haard mag uitsluitend worden aangesloten op een schoorsteen en kachelpijp die zijn goedgekeurd voor haarden op vaste brandstof met rookgastemperaturen zoals gespecificeerd in «2.0 Technische gegevens».
- De doorsnede van de schoorsteen moet geschikt zijn voor een haard. Zie «2.0 Technische gegevens» om de juiste doorsnede van de schoorsteen te berekenen.
- De schoorsteen moet worden aangesloten in overeenstemming met de installatie-instructies van de schoorsteenleverancier.
- Voordat u een opening in de schoorsteen maakt, moet het product als proef worden gemonteerd om de juiste positie van de haard en het gat in de schoorsteen te kunnen markeren. Zie afb. 1. voor de minimale afmetingen.
- Zorg ervoor dat de kachelpijp omhoog wijst in de richting van de schoorsteen.
- Gebruik bij een achteruitlaat een kachelpijpbocht met een veegluik, zodat de pijp kan worden geveegd.
- Let op: het is zeer belangrijk dat de aansluitingen enigszins flexibel zijn. Zo voorkomt u dat kleine verplaatsingen tijdens de installatie tot vervorming of barsten leiden.
- Zie «2.0 Technische gegevens» voor de aanbevolen schoorsteentrek. Voor afmetingen van de kachelpijp met de relevante doorsnede, zie "1.0 Technische gegevens".
NB! De minimaal aanbevolen schoorsteenlengte is 3,5 m, gemeten vanaf de ingang van de kachelpijp. Als de trek te sterk is, kan een demper worden geïnstalleerd om de trek te verminderen.
Montage van een kachelpijp aan de bovenkant
Het product is in de fabriek voorbereid voor een rookafvoer aan de bovenkant.
- Leg bovenplaat (afb. 3 C) op zijn plaats.
- Til met hulp van anderen het bovenrooster (afb. 3 A) op en houd het omhoog terwijl de pijp wordt bevestigt.
- Steek de kachelpijp door het rooster in de bovenplaat en plaats hem op de rookafvoerpijp.
- Sluit hem goed af met een pakking.
Montage van een schoorsteenpijp aan de achterkant
Het product is in de fabriek voorbereid voor een rookafvoer aan de bovenkant. Als u de rook wilt afvoeren via de achterkant, volgt u onderstaande stappen:
- Plaats het product in de juiste positie (zie afb. 1).
Afb. 24

- Voor de verandering naar rookafvoer (afb. 24 B) aan de achterkant, moet de schoorsteenpijp aan de bovenkant worden losgeschroefd.
- Draai vanuit de verbrandingskamer de schroeven van het afdekplaatje voor rookafvoer via de achterkant los (afb. 24 A).
Afb. 25

- Bevestig de pakking aan het uiteinde van de kachelpijp (afb. 25 A).
- Monteer de rookafvoerpijp (afb. 25 B) aan het uiteinde van de kachelpijp waaraan de pakking is bevestigd.
- Bevestig de kachelpijp en de rookafvoerpijp vanuit de binnenzijde van de verbrandingskamer en draai de kachelpijp vast met behulp van M8x30 mm schroeven. Bevestig het afdekplaatje voor de bovenafvoer (afb. 3) met de schroeven van de rookafvoerpijp.
N.B. Een juiste en luchtdichte aansluiting is van groot belang voor het goed functioneren van de haard.
NEDERLANDS
4.4 Montage van de haard
Afb. 26

- Plaats de keerplaat met de stang op de ribben in de groeven (afb. 26 A).
- Haal de bodemplaat door de opening en zet hem op de bodem.
Afb. 27

-
Plaats het vuurrooster in de juiste positie op de bodemplaat. Controleer of de sleuf van het vuurrooster aan de rechterkant in de regelstang zit (afb. 27 A).
-
Plaats de aslade onder in de haard.
- Plaats de achterbranderplaat in de sleuf aan de achterkant van de onderbranderplaat.
- Plaats de zijbranderplaten (afb. 29 F) in de groeven aan weerszijden van de onderplaat. Zet de keerplaat zo dat deze rust op de zij- en achterbranderplaten.
- Leg de keerplaat op de zijbranderplaten.
afb. 28

- Plaats de kleine branderplaten (fig. 28 A) in de sleuven in de binnenbodem.
- Vervang de bovenplaat door het bovenrooster met de kom.
- Plaats de product informatie plaat, welke in de aslade ligt, onder de verbrandingskamer.
4.5 Bedieningsfuncties controleren
Controleer altijd de bedieningsfuncties wanneer de haard op zijn plaats staat. Deze moeten gemakkelijk beweegbaar zijn en naar behoren functioneren.
De Jøtul F 360 is uitgerust met het volgende regelmechanisme:
Afb. 29

Ventilatieopening, afb. 29 A
Ingeduwd: gesloten
Uitgetrokken: open
Vuurrooster (zelfde handgreep als voor stookopening) (afb. 29 B)
De rechterhendel + kan worden ingeduwd en uitgetrokken.
De handgreep voor de deur afb. 29 C:
wordt geopend door de greep uit te trekken.
4.6 Gebruik
- Maak het luchtrooster open door dit helemaal naar rechts te schuiven en maak de stookopening open door de hendel er volledig uit te trekken (afb. 29 A en B). Laat de deur indien nodig op een kiertje staan. (Gebruik een handschoen wanneer de hendel warm is.)
- Leg twee middelgrote blokken hout aan weerszijden van de grondplaat. NB. Plaats geen hout tegen het glas, om te voorkomen dat het beroet raakt.
- Schuif enkele proppen krantenpapier (of berkenschors) tussen de blokken, leg er enkele aanmaakhoutjes kriskras bovenop en steek het papier aan.
- Zorg ervoor dat het vuur geleidelijk aanwakkert. Het hout mag niet hoger worden opgestapeld dan met een rij gaatjes op de achterste branderplaat is aangegeven (afb. 29 H).
- Sluitdestookopening(afb.26B)alsuzietdathethoutgoedbrandt.
- Controleer of er naverbranding (secundaire verbranding) plaatsvindt. Er branden dan gele vlammen onder de keerplaat.
- Stel vervolgens de verbranding in op het gewenste warmteniveau door de ventilatieopening aan te passen (Afb. 29 A).
Zie de handleiding voor informatie over het gebruik van de haard.
Houtblokken toevoegen
Stook de kachel regelmatig op, maar gebruik alleen kleine hoeveelheden brandstof tegelijk. Als de kachel te vol is, kan de hitte voor extreme druk in de schoorsteen zorgen. Voeg altijd met mate brandstof bij. Vermijd smeulend vuur omdat dit het meest vervuilend is. Het vuur is het beste als het goed brandt en de rook uit de schoorsteen nauwelijks zichtbaar is.
4.7 Gevaar van oververhitting
De haard mag nooit zo gebruikt worden dat er oververhitting ontstaat.
Oververhitting treedt op als de haard te veel brandstof bevat en/of de luchtopening te ver openstaat zodat er te veel hitte wordt ontwikkeld. Een duidelijk teken van oververhitting is dat er onderdelen van de haard rood gloeien. Als dat gebeurt, moet u de luchtopening direct verkleinen.
Vraag om professioneel advies als u vermoedt dat er geen goede trek in de schoorsteen zit (te veel of te weinig trek).
4.8 De as verwijderen
De Jøtul F 360 is voorzien van een aslade, waarmee u de as eenvoudig kunt verwijderen.
- Verwijder de as niet voor de haard koud is.
- Schraap de as door het rooster van de grondplaat in de aslade. Gebruik een handschoen of dergelijke om het handvat van de aslade vast te pakken en breng de as weg.
- Zorg dat de aslade niet zo vol raakt dat de as niet meer door het rooster in de aslade kan komen.
- Zorg dat de klep van de aslade goed gesloten is wanneer de haard wordt gebruikt.
Zie punt «6.1 Brandpreventie» in de handleiding over algemeen gebruik en onderhoud voor het omgaan met asresten.
NEDERLANDS
5.0 Dagelijks gebruik
5.1 Bediening
NBI Als de deurhendel dicht is met de deur in de bovenste positie, kan de deur in deze positie gehandhaafd blijven door de deurstop (Fig. 15 A) in de sleuf aan de voorkant te laten zakken.
NB: De deur mag niet open zijn als er gestookt wordt.
Door de schroef los te draaien (Fig. 15 B) en de deurstop onder de hendel in te draaien, sluit de deur altijd tenzij deze wordt opengehouden.
Brandadvies
NB: Blokken hout die buiten of in een koude ruimte zijn opgeslagen moeten 24 uur voor gebruik naar binnen worden gehaald zodat ze op kamertemperatuur kunnen komen.
Er zijn verschillende manieren waarop in de kachel gestookt kan worden, maar het is belangrijk dat u altijd voorzichtig bent met het materiaal dat u in de kachel stopt. Zie het hoofdstuk "Houtkwaliteit".
Houtkwaliteit
Met kwaliteitshout bedoelen we de meest bekende soorten hout zoals berk, spar en den.
De blokken moeten goed worden gedroogd zodat er niet meer dan 20% vocht in zit.
Om dit te bereiken moet het hout aan het einde van de winter worden gehakt. De blokken moeten worden gekloofd en dusdanig worden gestapeld dat er voldoende ventilatie is. De houtstapel moet worden afgedekt om de blokken tegen regen te beschermen. De blokken moeten begin herfst naar binnen worden gehaald en worden gestapeld/opgeslagen voor gebruik in de komende winter.
Let er goed op dat u de volgende materialen nooit als brandstof voor uw haard gebruikt:
- Huishoudelijk afval, plastic tassen, enz.
- Geverfd of geïmpregneerd hout (dat is uiterst giftig).
• Gelamineerde houten planken.
• Drijfhout
Deze kunnen schade toebrengen aan het product en zijn ook vervuilend.
NB: Gebruik nooit benzine, paraffine, methylalcohol of dergelijke vloeistoffen om het vuur aan te steken. Dit kan leiden tot ernstig persoonlijk letsel en schade aan het product.
Aanmaakhout (fijngehakt hout):
Lengte: ongeveer 30 cm
Diameter: 2-5 cm
Benodigd aantal per keer: 6-8 blokken
Hout (gehakt hout):
Aanbevolen lengte: 20-30 cm
Diameter: ongeveer 8 cm
Interval voor toevoegen hout: Ongeveer elke 45 minuten
Grootte vuur: 1,4 kg (nominaal vermogen)
Benodigd aantal per keer: x2
Een nominale warmteafgifte wordt bereikt door de luchtopening ongeveer 100% open te houden. Laat de luchtopening 100% open (Fig. 29 - A) en duw de ontstekingsopening (Fig. 29 - B) ong. 1-2 cm naar buiten.
6.o Onderhoud
6.1 Glas reinigen
De haard is uitgerust met een ventilatieopening voor het glas. Lucht wordt aangezogen door de luchttoevoer boven de haard en stroomt langs de binnenkant van het glas naar beneden.
Toch zal zich altijd wel roet op het glas ophopen. De hoeveelheid is afhankelijk van de luchtstroom ter plaatse en de stand van de ventilatieopening. De roetlaag wordt gewoonlijk grotendeels weggebrand wanneer de ventilatieopening helemaal open staat en de haard flink brandt.
Goed advies! Maak voor een gewone schoonmaakbeurt een papieren handdoek nat met warm water en voeg er wat as uit de stookplaats aan toe. Wrijf met het papier over het glas en neem het glas daarna af met schoon water. Laat het glas goed drogen. Wanneer het glas grondig moet worden gereinigd, adviseren wij om glasreiniger te gebruiken (volg de gebruiksaanwijzing op de verpakking).
6.2 Reinigen en roet verwijderen
Tijdens gebruik kan zich roet afzetten op de binnenwanden van de haard. Roet werkt isolerend en kan daardoor de warmteafgifte van de haard verminderen. Als er zich te veel roet ophoopt, kunt u deze met een roetverwijderaar eenvoudig verwijderen.
Als u wilt voorkomen dat zich roet of condenswater ophoopt in de haard, moet u regelmatig flink stoken om de gevormde laag te verwijderen.
Een jaarlijkse schoonmaakbeurt is nodig voor een optimale warmteafgifte van het product. U kunt dit bijvoorbeeld doen als de schoorsteen en de kachelpijp worden geveegd.
6.3 Kachelpijpen vegen tot aan de schoorsteen
Bij sommige vrijstaande haarden kan de bovenplaat verwijderd worden, waardoor de pijp vanuit de haard kan worden geveegd. Als dit niet het geval is, moet de kachelpijp geveegd worden via het veegluik of de deuropening.
6.4 Inspectie van de haard
Jøtul raadt u aan om na het reinigen/vegen zelf een grondige inspectie van de haard uit te voeren. Controleer alle zichtbare oppervlakken op scheuren. Controleer ook of de deur- en glasafdichtingen luchtdicht afsluiten en of de pakkingen nog op hun plaats zitten. Pakkingen die sporen van slijtage of vervorming vertonen, moeten worden vervangen.
Maak de pakkingsgroeven grondig schoon, breng keramische lijm aan (te verkrijgen bij uw Jøtul-dealer) en druk de pakking goed in de groef. De lijm heeft een korte droogtijd.
6.5 De buitenkant onderhouden
Bij haarden met een laklaag kan na een paar jaar verkleuring optreden. Voordat u een nieuwe laag verf aanbrengt, moet u het oppervlak reinigen en alle losse deeltjes wegvegen.
7.0 Groot onderhoud
Waarschuwing! Het is niet toegestaan dit product zonder toestemming te wijzigen.
Gebruik alleen originele reserveonderdelen.
7.1 De keerplaat/keerklep vervangen
(NB! Houd er rekening mee dat platen van aardewerk door een ruwe behandeling met gereedschap kunnen worden beschadigd).
- Til de keerplaat aan de voorkant op en kantel deze uit de haard (Afb. 29 G). Verwijder de zijbranderplaten (afb. 26 F) en de achterbranderplaat (afb. 29 E).
- De gietijzeren keerklep, die zich boven de keerplaat bevindt, rust met de stang op de ribben aan aan de achterkant van de schoorsteenuitgang (afb 26 A). Til de keerklep iets omhoog, trek deze naar voren en kantel hem eruit.
- Volg bij de montage dezelfde procedure, maar in omgekeerde volgorde.
7.2 De branderplaten/onderplaat
(NB. Houd er rekening mee dat platen van aardewerk door een ruwe behandeling met gereedschap kunnen worden beschadigd).
- Til de keerplaat aan de voorkant op en kantel deze uit de haard. Verwijder de zijbranderplaten (afb. 29 F) en de achterbranderplaat (afb. 29 E).
- Til vervolgens het rooster en de onderplaat op en verwijder ze uit de haard (afb. 29 D).
- Volg dezelfde procedure bij de installatie, maar dan in omgekeerde volgorde.
- Let op dat bij het terugplaatsen van het rooster en de onderplaat de stang waarmee het schudrooster kan worden bewogen, op de juiste wijze in de sleuf aan de rechterkant van het vuurrooster valt. (Zie afb. 27 A).
8.0 Gebruiksproblemen - problemen oplossen
Slechte trek
- Controleer de lengte van de schoorsteen en of hij voldoet aan de geldende wetten en voorschriften.
- Zorg ervoor dat de minimale afmetingen van de schoorsteen overeenkomen met de beschrijving in «2.0 Technische gegevens».
- Controleer of de afvoer van gassen niet wordt belemmerd, zoals bijvoorbeeld door takken of bomen, enzovoort.
- Als u vermoedt dat de schoorsteen overmatig of onvoldoende trekt, neemt u contact op met een deskundige die maatregelen kan nemen.
Het vuur gaat na enige tijd uit
- Controleer of het brandhout droog genoeg is.
- Controleer of er onderdruk is in de woning, sluit mechanische ventilatiesystemen en open een raam dicht bij de haard.
- Controleer of de ventilatieopening is geopend.
- Controleer of de kachelpijp niet verstopt is met roet.
Als er zich een ongebruikelijke hoeveelheid roet ophoopt op het glas
Er zal zich altijd roet ophopen op het glas, maar de hoeveelheid is afhankelijk van:
-
De vochtigheid van de brandstof.
-
De luchtstroom ter plaatse.
-
De instelling van de ventilatieopening.
De roetlaag wordt gewoonlijk grotendeels weggebrand wanneer de ventilatieopening helemaal open staat en de haard flink brandt. (Zie «6.1 Glas reinigen – goed advies».)
NEDERLANDS
9.0 Optionele accessoires
9.1 Decoratieplaten
Speksteen, bovensteen van 25 mm, een stuk - cat. nr. 50012988.
Speksteen, driedelige bovensteen van 25 mm - cat. nr. 50013013, vervanging voor 50012988 met stalen schoorsteen.
9.2 Glazen decoratieset, bovenzijde, zijkanten en voorzijde
(met afzonderlijke instructies voor de montage)
Glazen set voor rookafvoer achterzijde, zwartgelakt, - cat.nr. 51012250
Glazen set voor rookafvoer bovenzijde, zwartgelakt, - cat.nr. 51012252
9.3 Draaiset
Zie de afzonderlijke installatie-instructies.
Draaiset voor Jøtul F 363,- cat.nr. 51012254
9.4 Houtopslag
Zwartgelakt - cat.nr. 50012995
10.0 Garantie
Jøtul AS biedt haar klanten een garantie van tien jaar inclusief het recht op teruggaaf van externe gietijzeren items ingeval deze defecten vertonen als gevolg van verkeerde materialen en/of fabricage na de initiele aankoop/installatie van de kachel. De koper behoudt het recht goederen terug te geven onder voorwaarde dat de kachel is geïnstalleerd in overeenstemming met huidige wet- en regelgeving en in overeenstemming met de installatie- en bedieningsinstructies van Jøtul.
De garantie dekt niet:
De installatie van optionele extra's, bijv. om de trek in de schoorsteen ter plekke, of de luchttoevoer of andere omstandigheden buiten de invloedssfeer van Jøtul te corrigeren. De garantie dekt geen verbruiksgoederen zoals brandplaten, rookschotten, vuurroosters, bodemroosters, hittebestendig materiaal, dempers en pakkingen, aangezien deze in de loop der tijd achteruitgaan als gevolg van normale slijtage. De garantie dekt geen schade als gevolg van het gebruik van niet-geschikte brandstof bij het ontsteken van het vuur, zoals bijvoorbeeld drijfhout, geïmpregneerd of geverfd hout, plankdelen, chipplaten, enz. Oververhitting kan eenvoudig optreden ingeval van gebruik van niet-geschikte brandstof, d.w.z. dat de kachel gloeiend rood wordt, met als gevolg dat de verf verkleurt en de gietijzeren delen scheuren.
De garantie is niet geldig ingeval van schade tijdens het vervoer van de distributeur naar het afleveradres. De garantie is eveneens niet geldig ingeval van schade als gevolg van het gebruik van niet-originele onderdelen.
SimpelGids