BKH 70 FO - Keukenafzuigkap BERBEL - Gratis gebruiksaanwijzing en handleiding
Vind de handleiding van het apparaat gratis BKH 70 FO BERBEL in PDF-formaat.
Gebruikersvragen over BKH 70 FO BERBEL
0 vraag over dit apparaat. Beantwoord die u kent of stel uw eigen vraag.
Stel een nieuwe vraag over dit apparaat
Download de handleiding voor uw Keukenafzuigkap in PDF-formaat gratis! Vind uw handleiding BKH 70 FO - BERBEL en neem uw elektronisch apparaat weer in handen. Op deze pagina staan alle documenten die nodig zijn voor het gebruik van uw apparaat. BKH 70 FO van het merk BERBEL.
GEBRUIKSAANWIJZING BKH 70 FO BERBEL
NL Gebruiks- en montagehandleiding voor de modellen
BKH 60 FO
BKH 70 FO
BKH 80 FO
BKH 90 FO
BKH 120 FO
Documentinformation
Gebruiks- en montagehandleiding voor:
- Hoofdvrije afzuiqkap BKH 60 FO E02
Hoofdvrije afzuiqkap BKH 70 FO E02
Hoofdvrije afzuiqkap BKH 80 FO E02
Hoofdvrije afzuiqkap BKH 90 FO E02
Hoofdvrije afzuiigkap BKH 120 FO E02
De beschrijvingen zijn voor alle modellen identiek. Er worden apart op de verschillen gewezen.
Afbeeldingen tonen:
Hoofdvrije afzuigkap BKH 90 FO
Originele handleiding.
- Deel van het product.
Door de auteurswet beschermd.
- Vermenigvuldiging, nadruk en doorgave alleen met toestemming.
Wijzigingen voorbehouden.
Veiligheidsinstructies

GEVAAR!
Aanwijzingen met hetwoord GEVAAR waarschuwen voor een gevaarlijke situatie die ernstig of dodelijk letsel tot gevolg zal hebben.

WAARSCHUWING!
Aanwijzingen met hetwoord WAARSCHUWING waarschuwen voor een gevaarlijke situatie die ernstig of dodelijk letsel tot gezolg kan hebben.

VOORZICHTIG!
Aanwijzingen met hetwoord VOORZICTIG waarschuwen voor een situatie die Licht of middelzwaar letsel tot gezolg kan hebben.

ATTENTIE!
Aanwijzingen met hetwoord ATTENTIE waarschuwen voor een situatie die materièle schade of milieuschade tot gevolg kan hebben.
Verklaring van de symbolen, tekst
Oproep tot actie
- Opsomming
Verwijzingশaar andereplaatsen in ditdocument
Verwijzing maar andere documenten, die in acht genommen要去en worden
Verklaring van de symbolen, afbeeldingen

Accentuering van de actiegedeeltes met vlakken
- Handelingsstappen met nummering
A Benaming onderdelen met hoofdletters
X Maten metkleine letters of eenheden in mm
Bewegings- en richtingspijlen
Inhoudsopgave
1. Veiligheidsinformatie 4
1.1 Doelmatig gekruik 4
1.2 Geauthoriseerde doelgroepen 4
1.3 Algemeneveiligheidsinstructies 4
2. Productinformationie 5
2.1 Functieprincipe 5
2.2 Bedrijfsmodi 5
2.2.1 Luchtcirculatiemodus 5
2.2.2 Afzuiigmodus. 5
2.2.3 Hybrid modus 5
2.3 Productoverzicht 6
2.4 Leveringsomvang. 7
2.5 Technische gegevens 7
3. Montage 8
3.1 Veiligheidsinstructies voor de montage. 8
3.2 Eisen aan de montageplaats. 8
3.3 Eisen volgens de bedrijfsmodi. 9
3.3.1 Eisen bij de luchtcirculatiemodus 9
3.3.2 Eisen bij de afzigmodus. 9
3.3.3 Eisen bij eenhybridemodus 9
3.4 Eisen aan de afzuigleiding (alleen bij afzug- of hybride modus). 9
3.5 Montagestappen 10
3.5.1 Montage voorbereiden 10
3.5.2 Apparaat uitpakken 10
3.5.3 Onderste schaal, stootrand en Capillar Trap verwijderen 11
3.5.4 Apparaat ophangen. 12
3.5.5 Accessoires aansluiten 14
3.5.6 BackFlow-aansluitstuk aanbrengen 14
3.5.7 Filterplaatsen (bij luchtcirculatiemodus en hybride modus) 15
3.5.8 Afzugleiding aansluiten (bij afzug- en hybride modus) 16
3.5.9 Elektrische voeding aansluiten 17
3.5.10 Rookkanaal monteren 17
3.5.11 De Capillar Trap, stootrand en de onderste schaal monteren 18
3.5.12 Controle en inbedrijfstellinguitvoeren 19
4. Bediening 20
4.1 Veiligheidsinstructies voor de bediening 20
4.2 Apparaat bedieren. 21
4.2.1 Normaal bedrijf 21
4.2.2 Omschakeling afzug-/luchtcirculatiemodus. 22
4.2.3 Controle-indicatie filtrvulling 22
4.2.4 Raamcontactschakelaar 22
4.2.5 Kookplaatverlichting 22
4.2.6 Naloopfunctie 23
4.2.7 AutoRun 23
4.3 Apparaat configureren 24
5. Reiniging 25
5.1 Veiligheidsinstructies voor de reiniging 25
5.2 Reinigingsmaatregelen 25
6. Reparations 27
6.1 Veiligheidsinstrumenties voor het uitvoeren van reparaties 27
6.2 Onderhoud. 27
6.2.1 Lampen verrangen 27
6.2.2 Filtrvulling verrangen (bij luchtcirclatie-modus en hybride modus) 27
6.3 Verhelpen van storingen 29
7. Demontage. 30
8. Verwerking van afvalstoffen 30
8.1 Verpakking afvoeren 30
8.2 Apparaat afvoeren 31
9. Bijlage 31
9.1 Productgegevensblad 31
9.2 Contact 33
1. Veiligheidsinformatie
Het apparaat dient voor het afzuiigen van kookdampen. Het apparaat is uitsluitend bestemd voor het gebruik in particuliere huishoudens. Het apparaat mag uitsluitend met de originele filters van de fabrikant worden gebruikt.
Het gebruik van het apparaat is alleen toegestaan in technisch onberispelijke staat en na correcte montage. Elk ander gebruik geldt als Niet doelmatig.
Tot het doelmatig gebruik behoort ook het lezen en opvolgen van deze handledig.
1.2 Geauthoriseerde doelgroepen
Elektrotechnische werkzaamheden alleen latent uitvoeren door gekwalificierde elektromonteurs conform DIN VDE 0100.
Eisen aan gekwalificierde elektromonteurs:
- Basiskennis van de elektrotechniek.
- Kennis van de landspecifieke bepalingen en normen (in Duitsland bijv. DIN VDE 0100, deel 701).
- Kennis van de toepasselijkke verilgheidsvoorschriften.
- Kennis van de toepasselijkke wettelijkke voorschriften voor gasinstallaties (in Duitsland bijv. de technische regels voor gasinstallaties TRGI).
- Kennis van deze handleiding.
Montage en reparations alleen door gekwalificeerd, deskundig personeel. Eisen aan gekwalificeerd, deskundig personeel:
- Kennis van de bepalingen voor veriligheid op de werkplek (ARBO).
- Kennis van de bevestigingstechniek.
- Basiskennis van de ventilatietechniek.
- Ervaring in het gebruik van elektrische en mechanische werktuigen.
- Kennis van het lezen van technische tekeningen.
- Kennis van deze handleiding.
Bediening, reiniging en reparations door gebruikers. Eisen aan de gebruikers:
- Kennis van deze handleiding.
Voor de volgende gebruikers gelden bijzondere eisen:
- Kinderen vanaf 8aar.
- Personen met een verminderd fysiek, sensorisch of mental vermogen.
- Personen met gebrek aan ervaring en kennis.
Deze gebruikers mogen uitsluitend actief bij het bedieren, reinigen en onderhonden. Bijzondere eisen:
- Er is toezicht op de gebruikers.
- De gebruikers worden geinstrueerd over het verilig gebruik van het apparaat.
- Gebruikers begrijpen de geziven bij het omgaan met het apparaat.
- Kinderen mogen nicht met het apparaat spelen.
1.3 Algemene veiligheidsinstructies
WAARSCHUWING!
Gevaar door het Niet opvolgen van de gebruiks- en montagehandleiding!
Deze handleiding bevat belangrijke informatatie voor een veilige omgang met het apparatus. Er worden apart op möglichke bevaren gewezen.
Lees deze handleiding zorgvuldig door.
Deveiligheidsinstructies in deze handleiding moeten worden opgevolgd.
Berg de handleiding vrij toegankelijk op.
Open vuur kan het apparaat beschadigen en brandenveroorzaken.
Gaswerking alleen met een korte gasvlam (niet tot over de rand van de bodem van de pan).
- Flambeer nicht onder het apparaat.
- Frituur Niet onder het apparaat zonder continu toezicht.
In de volgende gevallen is het gebruik van het apparaat verboden:
- Wanner de vereiste veiligheidsvoorzieningen ontbreken (b.v. bij gelijktijdig gebruik van een ruimteluchtafhankelijk brander).
- Wanneer de vereiste vergunningen ontbreken (b.v. door schoorsteenveger).
In omgevingen met explosiegevaar. - Bij beschadiging van het apparatusat of afzonderlijke componenten.
- Bij eigenmachtige verbouwingen of veranderingen van het apparaat.
- Wanner vloeistof het apparaat binnendringt.
Bij sterke verontreiniging. - Voor kinderen onder de 8 en Personen, die bevaren bij het omgaan met het apparatusaat Niet in(AP)knen schatten.
In de volgende gevallen aanvaardt de fabrikant geen aansprakelijkheid voor schade:
Bij veronachtzaming van deze handleiding.
Bij ondoelmatig gebruik van het apparaat.
- Bij ondeskundige montage en ondeskundig gebruik van het apparaat.
- Bij gezbruik van het apparaat door nicht geautoriserde doelgroepen.
- Bij omzeiling van de veiligheidsvoorzieningen aan het apparaat.
- Bij gezbruik van onderdelen, die Niet door de fabrikant vervaardigd of vrijgegeven zijn.
Meer verdusinstructies staan in de desbeteffende hoofdstukken in deze handleiding.
"3.1 Veiligheidsinstructies voor de montage"(pagea 8).
"4.1 Veiligheidsinstructies voor de bediening" (pagina 20).
"5.1 Veiligheidsinstructies voor de reiniging" (pagea 25).
"6.1 Veiligeheidsinstrumenties voor het uitvoeren van reparaties" (pagina 27).
2. Productinformation
2.1 Functieprincipipe

Centrifugale kracht
- Kookdampen worden door een spliet in de kap gezogen, versneld en in een boog omgeleid.
- Door de centrifugale kracht die waar bij ontstaat, worden vuildeeltjes (b.v. vet- en oliedeeltjes)uit de lucht weggeslingerd.
- De vuildeeltjes worden zowel op de bovenste en onderste schaal als op de opvangzeef ("Capillar Trap") afgeschieden en verzameld.
BackFlow-technologie (optioneel)
- De vorming van condens of druppels (b.v. als er waterdamp op koude vlakken komt), worden voorkomen door van anschter maar voren stromende beluchting.
- Een deel van de afgevoerde lucht worden aan dechterkant van de kap teruggeleid, bij de onderkant van de kap ingeblazen en gericht de aanzuigspleet in gestuurd.
2.2 Bedrijfsmodi
Het apparaat is geschikt voor de volgende bedrijfsmodi:
Luchtcirculatiemodus
- Afzuigmodus
Hybridemodus
2.2.1 Luchtcirculatiemodus
De filtrvulling in het circulatiefilter neutraliseert de aanweziggeurtjes. De geurloze, gereinigde lucht worden meer naarde ruimte geleid. Door toevoer van frisse lucht kan deluchtvochtigheid in de ruimte gereduceerd worden.
Bij de luchtcirculatiemodus is het gebruik van de naloopfunctieoodzakelijk, opdat het apparaat de resterende geurtjes op kan nemen. Door het gebruik van de naloopfunctie wordt de levensduur van de filtrvulling verhoogd. De filtrvulling要去 regelmatig vernieuwd worden.
2.2.2 Afzuigmodus
De gereinigde lucht worden de bouwconstructie (b.v. buizen, rookkanaal) maar buiten toe geleid.
Bij de afzuigmodus is een voldoende toevoer van frisse luchtoodzakelijk. Het apparaat kan alleen de hoeveelheid luchtnaar buiten leiden die aanwezig is of binnenkomt.
2.2.3 Hybrid modus
In de hybride modus kan flexibel:tussen luchtcirculatiemodus en afzuigmodus gekozen worden.
In de afzigmodus worden de gereinigde lucht door de automatisch openende wandkast maar buiten gevoerd. De afzigmodus is aan te bevelen in de zomer of bij bijzonder intensief aanbraden.
In de luchtcirculatiemodus blijdt de wandkast gesloten. De filtrvulling in het hybride filter neutraliseert de aanwezigge geurtjes. De geurloze, gereinigde lucht worden waar de ruimte geleid.
De luchtcirculatiemodus is aan te bevelen in de winter, wonneer er geen warme lucht waar buiten gevoerd要去 worden.
2.3 Productverzicht

A Rookkanaal
B Bedieningspaneel
C Kookplaatverlichting
D Body van de kap
E Voorplaat met onderste schaal

A Bovenste schaal met stootrand (uitneembaar)
B Onderste schaal (uitneembaar)
C Capillar Trap (verwijderbaar) - ache ter de onderste schaal
D Typeplaatje (in de luchtinaatschacht van de Capillar Trap)

A Aansluitstekkerbussen voor accessoires
B BackFlow-aansluitstuk (bij gebruik van de BackFlow-technologie)
C Besturingsbox
D Stelschroeven voor het uitlijnen
E Aansluitbus voor de netkabel
2.4 Leveringsomvang

A Body van de kap met frontplaat
B Rookkanaal (tweedelig, uittrekbaar)
C Bevestiqing rookkanaal
D Netkabel met netstekker en IEC-stekker
E BackFlow-aansluitstuk
F 6 nylon pluggen 8mm
G 6 torxschroeven TX30 met geintegreerde onderlegring
H Gebruiks- en montagehandleiding
1 Montage alleen bij gebruik van de BackFlow-technologie.
Het bevestigingsmaterial is alleen geschikt voor een massieve bouwwijze.
Afhankelijk van de bedrijfsmodus können andere accessoires nodigহn.
De gegevens over het energieverbruik staan op het productgegevensblad.
"9.1 Productgeveensblad" (pagea 31).
Informatie over het model (b.v. serienummer, bouwjaar) staat op het typeplaatje.
"2.3 Productoverzicht" (pagea 6).
| BKH 60 FO E02 | BKH 70 FO E02 | BKH 80 FO E02 | BKH 90 FO E02 | BKH 120 FO E02 | |
| Aansluitspanning | 230 V/50 Hz | 230 V/50 Hz | 230 V/50 Hz | 230 V/50 Hz | 230 V/50 Hz |
| Totaal vermogen | 180 W | 180 W | 185 W | 185 W | 189 W |
| Vermogens-verbruik ventilator | 170 W | 170 W | 170 W | 170 W | 170 W |
| Lampen kookplaat-verlichting | LED10 W,263 lx | LED10 W,210 lx | LED14,6 W,300 lx | LED14,6 W,315 lx | LED18,3 W,379 lx |
| Kleurtemperatuur kookplaat-verlichting,instelbaar | 2700 - 6500 K | 2700 - 6500 K | 2700 - 6500 K | 2700 - 6500 K | 2700 - 6500 K |
| Breedte | 599mm | 699mm | 799mm | 899mm | 1199mm |
| Diepte | 420mm | 420mm | 420mm | 420mm | 420mm |
| Hoogte bij lucht-circulatiemodus et circulatiefilter BUF 150 + | 750 - 1130mm | 750 - 1130mm | 750 - 1130mm | 750 - 1130mm | 750 - 1130mm |
| Hoogte bij lucht-circulatiemodus et circulatiefilter permalyt | 820 - 1130mm | 820 - 1130mm | 820 - 1130mm | 820 - 1130mm | 820 - 1130mm |
| Hoogte bij afzuigmodus | 750 - 1000mm | 750 - 1000mm | 750 - 1000mm | 750 - 1000mm | 750 - 1000mm |
| Hoogte bijhybride modus - afzuiging maar boven | 890 - 1130mm | 890 - 1130mm | 890 - 1130mm | 890 - 1130mm | 890 - 1130mm |
| Hoogte bijhybride modus - afzuiging maarachten | 750 - 1130mm | 750 - 1130mm | 750 - 1130mm | 750 - 1130mm | 750 - 1130mm |
| Gewicht netto | 26 kg | 27 kg | 28 kg | 30 kg | 35 kg |
3. Montage
3.1 Veiligheidsinstrumenties voor de montage
WAARSCHUWING!
Gevaar door veronachtzaming van de montage-instructies!
Dit hoofdstuk bevat belangrijke informatatie voor veiligemontage van het apparatus.
Lees dit hoofdstuk voor de montage zorgvuldig door.
Volg de veiligheidsinstructies op.
Voer de montage uit zoals is beschreiben.
-
Montage alleen door gekwalificeerd, deskundig personeel.
"1.2 Geauthoriseerde doelgroepen" (pagea 4). -
Elektrotechnische werkzaamheden alleen latent uitvoeren door gekwalificeerde elektromonteurs.
"1.2 Geauthoriseerde doelgroepen" (pagea 4). -
De montage mag alleen met twee Personen worden uitgevoerd.
- Bij werkzaamheden op hoogte moet u letten op een stabiele stand (b.v. een stabiele keukentrap).
- De kookplaat en andere delen die aangeraakt können worden要去en voor de montage�zijn afgekoeld.
- Bewaar folie en andere delen van de verpakking op een plek die voor kinderen Niet toegankelijk is.
- Het apparaat要去 voor de montage onbeschadigd en in optimale staatহ.
- De kabels mogen nicht geknikt zich,bekneld raken of worden beschadigd.
- De ventilatorbehuzing mag nooit geopend worden.
-
De vereiste netspanning moet met de aangegeven spanning op het typeplaatje overeenkomen.
-
Voor de montage要去 ervoor gezorgd worden, dat de elektrische voeding onderbroken is en blijft.
"2.5 Technische gegevens" (pagea 7).
De elektrische voeding worden pas ingeschakeld na de vraig hiertoe in de betreffende montagestap.
3.2 Eisen aan de montageplaats
WAARSCHUWING!
Levensgevaar door ondeskundige montage!
Het Niet opvolgen van de omgevingscondities kan tot gevaarlijke situations leiden, b.v. in de omgang met stroom of gas.
Zorg ervoor, dat de eisen aan de montageplaats absolut in acht genommen worden.
- Geen montage in omgevingen met explosiegevaar.
-
Bij gelijktijdig gebruik van een ruimteluchtafhankelijkke brander (b.v. rookkanaal) binnen een endezelfde luchtmassa:
-
Een veiligheidsvoorziening is absolutnoodzakelijk.
- De veiligheidsinrichting moet voorkomen, dat er gassen de ruimte binnengezogen worden.
-
Er要去 een vergunning voor de inbedrijfstelling (b.v. door schoorsteenveger) aanwezigহn.
-
De montage is alleen toegestaan aan draagkrachtige delen van het gebouw (massieve bouwwijze).
- Indien er een opening in de muur要去 worden gemaakt: een opening in de muur beinvloedt de statische eigenschappen van het gebouw, er bestaat instortingsgevaar. De uitvoering is alleen door eenvakbedrijf toegestaan.
- Bij montage boven een stockplaats (fornuis/kachel/brander) voor vaste brandstoffen (b.v. kolenkachel): De stockplaats要去 een gesloten, Niet afneembare afdekking hebben. Anders bestaat er brandgevaar door wegvliegende vonden. De betreffende wettelijke en nationaal geldende voorschriften in acht nemen.
- Uitstromende lucht要去 ongehinderd{kunnen ontsnappen. Geen hindering van de luchtstroom, b.v. door montage van voorwerpen op of boven het apparaat.
- De elektrische installmentie van het gebouw moet over een correcte a Harding beschikken.
- De onderhavige netspanning moet met de aangegeven spanning op het typeplaatje overeenkomen.
- In het montagededeelte van het rookkanaal moet terplaatse een stopcontact aanwezigহn.
- De stekker要去 het inbouwen toegankelijk়. Alternatief要去 in het stroomnet een scheidingsnrichting voor alle polen aanwezig়(contactopening van minimaal 3 mm).
De nationaal geldende, wettelijke bepalingen moeten in acht genomen worden.
3.3 Eisen volgens de bedrijfsmodi
Afhankelijk van de bedrijfsmodus konnen andere accessoires nodigহn.
3.3.1 Eisen bij de luchtcirculatiemodus
- Circulatiefilter op de ventilatorafvoer.
- Doorsnedes van de ventilatiesleuven in de boenbouw groter dan 300~cm^2
- Filtrvulling vrij toegankelijk om deze te{kennenervangen.
3.3.2 Eisen bij de afzuigmodus
- Afzuigleiding op de ventilatorafvoer.
"3.4 Eisen aan de afzuigleiding (alleen bij afzuig- of hybride modus)" (pagina 9). - Diameter van de afzuigleiding minstens 150mm (komt overeen met een vlak van ca. 177~cm^2
-
Voor voldoende toevoer van frisse lucht worden gezorgd door montage van de vereiste accessoires.
-
Raamcontactschakelaar.
- Wandkast.
3.3.3 Eisen bij een hybride modus
Hybride filter op de ventilatorafvoer.
- Aansluiting afzuigleiding op het hybride filter.
"3.4 Eisen aan de afzuigleiding (alleen bij afzuig- of hybride modus)" (pagina 9).
- Doorsnedes van de ventilatiesleuven in de bovenbouw groter dan 300~cm^2
- Diameter van de afzuigleiding minstens 150 mm (komt overeen met een vlak van ca. 177~cm^2 ).
- Filtrvulling vrij toegankelijk om deze te{kunnenervangen.
-
Voor voldoende toevoer van frisse lucht worden gezorgd door montage van de vereiste accessoires.
-
Raamcontactschakelaar.
- Wandkast BMK-F 150.
3.4 Eisen aan de afzuigleiding (alleen bij afzuig- of hybride modus)
WAARSCHUWING!
Brand- en verstikkingsgevaar door ondeskundige montage!
Bij gebruik van de afzuigleiding met andere toestellen of bij aansluiting op actieve afvoerluchtkanalen (b.v. rookkanaal), hunnen gassen of rook de ruimte binnengezogen worden.
Zorg ervoor, dat de eisen aan de afzuigleiding absolut inRCT 1
- De afzugleiding worden uitsluitend door dit apparaat gezruikt.
- De afzuigleiding bestaat uit nicht brandaar materiaal overeenkomstig DIN 4102 klasse 1.
-
Bij gezbruik van een rookkanaal als afzuigleiding:
-
Het rookkanaal mag Niet door andere apparaten worden gezruikt.
-
Toevoer van de afgezogen lucht in het rookkanaal met een maar boven gerichte boog van 90^ .
Vrijgave door schoorsteenveger. -
Bij het voeren van de afzuigleiding door het dak of de buitenwand:
-
De doorsnede van de ventilatorafvoer worden nicht onderschreten.
- Montage van een condenswatervat in de afzigleiding om waterschade aan het apparaat te voorkomen. Het condenswatervat moet voldoende groot gedimensioneerd+zijn.
De doorsnede, lengte soort en het verloop van de afzugleiding beinvloeden de afzugefficiëntie. Krachtig omgeleide lucht leidt tot vermogensverliezen en geluiden.
Voor een optimaal vermogen van het apparatus:
- De afzuigleiding gaat zo kort möglichk en direct maar buiten.
- De voorgeschreiben doorsnede van de afzuigleiding worden aangehouden.
"3.3 Eisen volgens de bedrijfsmodi" (pagea 9).
- Gebruikuitsluitend buizen en bogen met een gladly oppervlak aan de binnenkant.
Om wervelingen of opstuwing van de getransporteerde lucht te voorkomen – geen gebruik van:
Spiraalslangen.
- Flexbuizen.
Vlakke ombuigstukken.
Scherpe afvoerluchtkanalen.
Voor montage van het apparaat要去 de afzuigleiding ter plaatse aanwezig়.
3.5 Montagestappen
Kort overzicht:
- Montage voorbereiden
- Apparaat uitpakken
- Onderste schaal, stootrand en Capillar Trap verwijderen
- Apparaat ophangen
- Accessoires aansluiten
- BackFlow-aansluitstuk aanbrengen
- Filter plaatsen (bij luchtcirculatiemodus en hybride modus)
- Afzuigleiding aansluiten (bij afzuiq- en hybride modus)
- Elektrische voeding aansluiten
- Rookkanaal monteren
- De Capillar Trap, stootrand en de onderste schaal monteren
- Controle en inbedrijfstelling uitvoeren
3.5.1 Montage voorbereiden
Maak u vertrouwd met uw montagesituatie en de bijbehorende documenten.
- Apparaat en handleiding.
- Accessoires.
Montageplaats. - Installing bedrijfsmodus.
Stel het benodigde werktuig en materiaal samen:
Stabiele keukentrap
Duimstok of meetband
- Stift
Waterpas
- Sleufschroevendraier SL 2,5 x 0,4
- Torx-schroevendraier TX30
Steenboor 8 mm
Klopboormachine
- Schroefsleutel SW 10 mm
Stanleymes
- Beschermingsmaterial (b.v. dik karton) voor kookplaat en werkvlak
Houd het montagegedeelte vrij van voorwerpen, die storen of beschadigd können raken.
Zorg ervoor dat de kookplaat en andere delen die aangeraakt können worden�<|im_start|>
Beschem de kookplaat en andere vlakken in het montagegedeelte (b.v. met dik karton).
Zorg ervoor dat de elektrische voeding onderbroken is en blijft. De elektrische voeding worden pas ingeschakeld na de vraag hiertoe in de betreffende montagestap.
Wonneer accessoires (b.v. wandkast, raamcontactschakelaar) bij de montagesituatie horen:
De handleidingen van de accessoires要去en in acheit genomen worden.
Zorg ervoor, dat de accessoires correct gemonteerd en maar om aan te sluiten zich.
Zorg ervoor, dat de aansluitkabels van accessoires correct aangebracht en toegankelijk+zijn.
3.5.2 Apparaat uitypakken
ATTENTIE!
Risico op glasbreuk of andere beschadigingen door ondeskundig gebruik!
Het apparaat en+zijn oppervlak hunnen bij het uitpakken of bij het transport beschadigd raken.
Snijd nicht in het beschermende karton.
Houd voorwerpen uit de buurt, die het apparaat kannen begrassen (b.v. werktuigen, gespen).
Pak het apparaat en alle ingepakte delen voorzichtig uit.
Leg het apparaat met de voorkant waar boven op een vaste, schone en beschermende onderlaag (b.v. dik karton).
Controleer het apparaat en alle aanwezigedelen op beschadigingen.
Controleer de levering op volledigheid.
"2.4 Leveringsomvang" (pagea 7).
Wanner delen ontbreken of beschadigd zijn:
Neem contact op met uw dealer of de klantenservice.
Verwijder het verpakkingsmaterial.
"8.1 Verpakking afvoeren"(pagina 30).
3.5.3 Onderste schaal, stootrand en Capillar Trap verwijderen
ATTENTIE!
Gevaar voor materiele schade door eruit vallende delen!
Bij beweging van het apparaat kan de frontplaat opengaan en+kunnen erin liggende delen eruit vallen.
Haal de erin liggende delen er voor de montage UIT.
De onderste schaal is geinteggreerd in het voorpaneel.

Open het voorpaneel.

De onderste schaal vastpakken bij de greepholten.
De onderste schaal optillen.
De onderste schaal waar voren uittrekken.
De stootrand is geplaatst en wordt door magneten in het apparatus vastgehouden.

Trek de stootrand van de bovenste schaal af.
De Capillar Trap is aangebracht en worden door een borging aan de zijkant in het apparatus gehonden.

Pak de Capillar Trap met beiden handen aan de zijkanten vast.
Trek de Capillar Trap eruit.
3.5.4 Apparaat ophangen
Het apparaat is gemaakt om aan een wand te hangen. Door het rookkanaaluit trekken, kan dit aan de hoogte van het plafond worden aangepast.
Bij bevestiging aan een massieve wand:
Controleer of de draagkracht van de wand voldoende is.
Gebruik het meegeleverde bevestigingsmaterial.
Bij andere montageomstandigheden:
Informeer voor de montageaar alternatieve bevestigingsmogelijkheden (b.v. bij een architect).
Gebruik voor de wand geschikt bevestigingsmaterial.

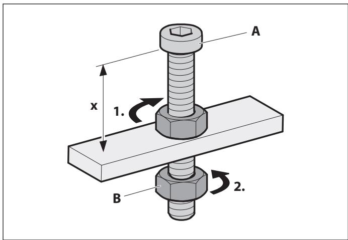
Veiligheidsafstand (x):
Aanbevolen 600~mm
Bij gaskookplaten ten minste 650~mm
Bij elektrische kookvelden ten minste 500~mm
Bepaal de ophangpositie.
Zorg voor een correcte positie van de kanaalbevestiging:
- Is de maat teklein (minder dan 30mm ), dan kan het kanaal Niet worden ingehaakt.
- Oneeffenheden (bv. bij het plafond) können worden gecompensaeerd via sleufgaten.
Zorg ervoor of de veiligheidsafstand in acht worden genomen.
WAARSCHUWING
Levensgevaar door explosions of elektrische schok!
Het aanboren van gas-, water- of elektrische leidingen kan tot gevaarlijke situatuies leiden.
Controller of sich op de bevestigingspunten geen leidingen in de wand bevinden.

Bepaal en markeer de bevestigingspunten.
Boor de gaten in de wand.
Breng de pluggen in de boorgaten aan.

Schroef de rookkanaalbevestiging vast.

De bovenste bevestigingschroeven worden pas na het uitlijnen van het apparatusaat vastgedraaid.
De onderste bevestigingsschroeven dienen als wegtrekBeweiliging en+zijn na het ophangen van het apparaat Niet meer toegankelijk.
Draai de bevestigsschroeven er passend in.
WAARSCHUWING!
Verwondingsgevaar door ondeskundig gebruik!
De grootte en het gewicht van het apparaat vergen bij het ophangen veel kracht. Wanner het apparaat valt, is ernstig letsel möglichk.
Hang het apparatusat met twee Personen op.
Zorg voor een veilige standplaats bij het ophangen.
Zorg ervoor, dat er verder geen Personen in de werkzone aanwezig়.
ATTENTIE!
Gevaar voor materiele schade door ondeskundig gebruik!
De grootte en het gewicht van het apparaat vergen bij het ophangen veel kracht. Wanner het apparaat valt,+kunnen het apparaat,keukenmeubels en andere voorwerpen beschadigd raken.
Dek de afgekoelde kookplaat af.
Houd het montagegedeelte vrij.
Bij hybride modus met afzuigleiding maarachten:
Verwijder de verbindingsplaatussen de ophangmechanismen.

Hang het apparatus aan de bevestigingspunten op.

Controller de horizontale uutilijnig van het apparaat.
Lijn het apparaat met de stelschroeven UIT.
Draai de bevestigsschroeven stevig vast.
3.5.5 Accessoires aansluten
Afhankelijk van de montagesituatie worden aanwezigecaccessoires op de kap aangesloten, bijv.:
- Wandkast
Raamcontactschakelaar
Stelklep - Circulatiefilter permalyt
De handleidingen van de accessoires要去en in acheit genomen worden.
ATTENTIE!
Gevaar voor beschadigingen door ondeskundig aansluiten!
De aansluitspanning of gebrekkige aansluitingen können leiden tot beschadigingen aan de elektronica.
Zorg dat de voedingsspanning is onderbroken en blijft.
Zorg voor de juiste toewijzing van de aansluitingen.
Zorg dat de stekkers van de accessoires volledig worden ingestoken.

A Penstekkerbus - voor het aansluiten van muurkast, stelklep of circulatiefilter permalyt.
B Holle penstekkerbus - voor het aansluiten van raamcontactschakelaar.
C Aansluitstekkerbus (RJ45) – BUS-interface, voor verbinding met speciale accessoires van de fabrikant. Een verbinding met een PC of andere apparaten is Niet togetstaan.
Wandkast
- De wandkast is gesloten, wanner het aansturingscontact geopend is.
- De wandkast is geopend, wonneer het besturingscontact gesloten is.
Raamcontactschakelaar
- De ventilator van de kap is alleen bedrijfsklaar, wanner het raam geopend is.
Veiligheidsinrichting
- De ventilator van de kap is alleen bedrijfsklaar, wanner geen kritieke onderdruk in de ruimte worden vastgesteld.
Sluit alle aanwezige accessoires aan.
Leg de kabel zo, dat deutsche nicht kan worden geknikt, bekneld kan raken of kan worden beschadigd of bij het verwangen van de filtrvulling in de weg zit.
3.5.6 BackFlow-aansluitstuk aanbrengen
Bij de volgende bedrijfsmodi worden het BackFlow-aansluitstuk gemonteerd:
Luchtcirculatiemodus
- Afzuigmodus met BackFlow-technologie
Hybridemodus
Het gebruik van het BackFlow-aansluitstuk heeft effect op de energiezuinigheid van het apparaat.
"2.1 Functieprincipipe"(pagea 5).

Plaats het BackFlow-aansluitstuk op de ventilatorafvoer.
Fixeer het BackFlow-aansluitstuk door het kort rechtsom draaien.
3.5.7 Filter plaatsen (bij luchtcirculatiemodus en hybride modus)
Voor de montage van het filter is op de ventilatorbehuzing een BackFlow-aansluitstuk (Ø 150 mm) als geleidingshulp aangebracht.
De filters zijn correct aangebracht, wanneer de onderkant van het filter parallel aan het oppervlak van de ventilatorbehuizing verloopt en de spliet ca. 5 mm breed is.
VOORZICHTIG!
Verwondingsgevaar door scherpe randen!
De zichplaten van de ventilatorkast hebben randen die snijwonden aan de handen kurenveroorzaken, b.v. bij ruwe aanpak bij hetplaatsen van het filter.
Plaats het filter voorzichtig van bovenaf.
Vermijd contact met de lijplaten.
Luchtcirculatiemodus

Zet het circulatiefilter aan de bovenkant op het BackFlow-aansluitstuk.
Zorg ervoor, dat het circulatiefilter correct gemonteerd is.
Hybridemodus -afzuiginghaarboven

Zet het hybride filter aan de bovenkant op het BackFlow-aansluitstuk.
Zorg ervoor dat het hybride filter correct gemonteerd is.
Hybridemodus-afzuiginghaarachteren

Verwijder de stang:tussen de houders van de bevestiging.
Zet het hybride filter aan de bovenkant op het BackFlow-aansluitstuk.
Zorg ervoor dat het hybride filter correct gemonteerd is.
3.5.8 Afzuigleiding aansluiten (bij afzuiig- en hybride modus)
Afzuigmodus zonder BackFlow-technologie
Het BackFlow-aansluitstuk worden nicht gebruikt.

Aan de binnenzijde van de afzuigleiding een aftschuining aanbrengen.
Plaats de afzuigleiding van bovenaf direct op de uitlaat van de ventilatorbehuzing.
Afzugmodus met BackFlow-technologie
Het BackFlow-aansluitstuk worden gebruikt.
"3.5.6 BackFlow-aansluitstuk aanbrengen" (pagea 14).

Plaats de afzuigleiding van bovenaf op het BackFlow-aansluitstuk.
De overgang:tussen de afzuigleiding en BackFlow-aansluitstuk afplakken met afdichttape (accessoire).

Hybridemodus
Zet de afzuigleiding aan de bovenkant op de kraag van het hybride filter.
Alle varianten
Zorg ervoor dat de afzuigleiding correct gemonteerd is.
3.5.9 Elektrische voeding aansluten
Let op de aangegeven spanning op het typeplaatje.

- Stecken Sie den Kaltgerätestecker in die Anschlussbuchse Steek de IEC-stekker in de aansluitbus op de ventilatorbehuzing.
Steek de stekker in het stopcontact.
Leg de kabel zo, dat deutsche nicht kan worden geknikt, bekneld kan raken of kan worden beschadigd of bij het verwangen van de filtrvulling in de weg zit.
Zorg ervoor dat na de montage de möglichkheid bestaat, alle polen van het apparatusaat van de elektrische voeding te scheiden.
Het apparatus is bedrijfsklaar.
3.5.10 Rookkanaal monteren
Het rookkanaal besteht uit twee in elkaar geschoven rookkanaalplaten. In de binnenste staat bevinden zich de ventilatiesleuven.
ATTENTIE!
Gevaar voor beschadigingen door ondeskundig gebruik!
De body van de kap en van het rookkanaal(AP) konnen bij bewegingen tijdens de montage beschadigd raken.
Houd afstand:tussen het rookkanaal en de body van de kap.
Houd voorwerpen uit de buurt, die het apparaat+kennen begrassen (b.v. werktuigen, gespen).
Afhankelijk van de bedrijfsmodus worden de twee rookkanaalplaten op elkaar afgestemd.
Luchtcirculatiemodus enhybriderodus
De ventilatiesleuven bevinden zich aan de bovenkant enarendeniet bedekt.
Afzuigmodus
De binnenste rookkanaalplaat kan eruit getrokken en omgekeerd ingestoken worden om de ventilationsleuven te bedekken.

Licht het rookkanaal met twee Personen op.
Zet de onderkant van het rookkanaal in de gleuf van het apparatus.
Klap het rookkanaal aansluitend op de wand.

Trek de binnenste rookkanaalplaat omhoog.
Hang de binnenste rookkanaalplaat aan de bovenkant aan de rookkanaalbevestiging.
3.5.11 De Capillar Trap, stootrand en de onderste schaal monteren
Na de montage要去en de binnenliggende delen er wee ingezet worden.

Zet de Capillar Trap met beiden handen in de opnameschacht.
Druk de Capillar Trap maar boven tot deze vastklikt.

Plaats de stootrand op de bovenste schaal.
Controller of de stootrand correct is geplaatst en door demagneten worden vastgehonden.

De onderste schaal uitlijnen.
De onderste schaal vastpakken bij de greepholten.
De onderste schaal in de voorplaatplaatsen.
Controlee of de onderste schaal correct is geplaatst.

Sluit het voorpaneel.
3.5.12 Controle en inbedrijfstelling UITvoeren
ATTENTIE!
Gevaar voor storingen door vocht in het apparaat!
Wonneer het apparaat van een koude maar een warme omgeving gebracht worden, kan er aan de binnenkant vocht neerslaan.
Wacht 2-3 uu, voordat u het apparaat in bedrijf neemt.
Controller of de netstekker vrij toegankelijk is en of er een alpolige scheidingsinrichting (minstens 3mm contactopening) aanwezig is.
Controleer of de net- en elektroaansluitkabel nicht geknikt, bekneld geraakt of beschadigd zich.
Controleer of de ventilatie-uitgangen nicht gesloten of afgedekt zich.
Bij circulatieapparaten: zorg ervoor, dat de ventilatilesleuven vrij়.
Controleer de correcte werkung van het apparaat. "4. Bediening"(pagea 20).
4. Bediening
4.1 Veiligheidsinstructies voor de bediening
WAARSCHUWING!
Gevaar door veronachtzaming van de bedieningsinstructies!
Dit hoofdstuk bevat belangrijke informatatie voor het verilig bedierenen van het apparatus.
Lees dit hoofdstuk voordat u het apparaat bedient zorgvuldig door.
Volg de veiligheidsinstructies op.
Bediening alleen door geauthoriseerde gebruikers. "1.2 Geauthoriseerde doelgroopen" (pagea 4).
- Geen bediening door kinderen onder de 8 en Personen, die bevaren bij het omgaan met het apparaat Niet in kuren schatten.
- De wasemkap mag nicht zonder toezicht worden gebrukt.
- Gebruik het apparaat Niet in geval van brand of accuut brandgevaar (bijv. gasreuk).
Gaswerking alleen met een korte gasvlam (niet tot over de rand van de bodem van de pan). Open vuur kan het apparaat beschadigen en branden veroorzaken. - Flambeer Niet onder het apparaat. Brandgevaar.
- Frituur Niet onder het apparaat zonder continu toezicht.
- Bij gezbruik konnen de kookplaat en andere delen die aangeraakt konnen worden zeer heet worden. Er bestaat verbrandingsgevaar.
- Vetresten要去en worden verwijderd. Vetresten zijn een brandrisico.
-
Geen vocht in het apparaat.
-
Druppels of spatwater要去en worden voorkomen.
-
Houder met vloeistoffen (b.v. vazen, flessen) mogen nicht op het apparaat gezet worden.
-
Geen hindering van de luchtstroom.
- Geen verhindering van het luchtkanaal aan de onderkant van het apparaat.
- Gebruik het apparaat alleen met geplaatste Capillar Trap en gesloten onderste schaal.
- Bij luchtcirculatiemodus: Geen afdekking van de ventilatie-uitgangen (b.v. glazen/ borden op of voor de ventilatiesleuven). Uitsstromende lustucht要去 ongehinderd door de ventilatiesleuven hunnen ontsnappen, anders kan opstopping ontstaan. Wanner de kookdampen Niet meer weg hunnen trekken, bestaat brandgevaar.
- Bij afzuig- of hybride modus: er moet voldoende toevoer van frisse lucht gegarandeerd zichn.
Maatregelen voor een voldoende toevoer van frisse lustt:
Open deramen.
Open de deuren.
Zorg ervoor, dat de raamcontactschakelaar(s) en wandkast geinstalleerd en waar voor gebruik়n.
Bij ruimteluchtafhankelijkke branders (b.v. rookkanaal) binnen een endezelfde luchtmassa: Zorg ervoor dat de voorgeschreven veiligheidsvoorziening werkt.
Wonneer u het apparaat inschakelt en een ongewoon hoog ventilatorgeruis hoorbaar is:
Reinig het apparaat.
Let op de richtlijnen voor de reiniging.
"5. Reiniging" (pagea 25).
Wanner u het apparaat inschakelt en een geur ruikbaar is:
Vervang de filtrvulling.
Let op de richtlijnen voor het verrangen van de filtrervulling.
"6.2.2 Filtervulling verrangen (bij luchtcirculatiemodus en hybride modus)" (pagea 27).
Als de contrôle-indicatie voor de filtrervulling knippert:
Vervang de filtrvulling.
Let op de richtlijnen voor het verwangen van de filtrervulling.
"6.2.2 Filtrvulling verrangen (bij luchtcirclatiemodus en hybride modus)" (pagea 27).
4.2 Apparaat bedieren
Het apparaat wordt via het bedieningspaneel gestuurd.

De positie van het bedieningspaneel is algijd herkenbaar aan de uitholling van de AAN-/UIT-toets. De overige toetsen branden wanner het apparaat is ingeschakeld.
- Toets brandt fel = functie actief
- Toets brandt zwak = functie Niet actief
| Toets | Werking |
| AAN / UIT, toegang configuratiemodus | |
| Luchtcirculatiemodus, controle-indicatie filtrvulling | |
| Kookplaatverlichting | |
| Effectverlichting (geen functie) | |
| 1 | Vermogensniveau 1 |
| 2 | Vermogensniveau 2 |
| 3 | Vermogensniveau 3 |
| P | Vermogensgraad POWER |
| Naloopfunctie | |
| Multifunctionele toets (geen functie) |
Na het inschakelen van de netspanning heeft het apparaat enkele seconden nodig om zich aan de omgevingscondities aan te passen. Tijdens dezeperiode+zijn geen invoerhandelingen möglichk. De procedure is afgesloten, als de toetsen zwak branden.
4.2.1 Normaal bedrijf
WAARSCHUWING
Brandgevaar door vetresten!
Wonneer het apparaat werkt, hopen zich in en aan het apparaat vetresten op, die Licht ontvlambaarহn.
Reinig het apparaat op correcte wijze.
"5. Reiniging" (pagea 25).
Voor een optimaal rendement bij het verwijderen van kookdampen:
Het apparaat al 1-2 Minutes voordat u gaat koken alvast inschakelen. Zo kan de stroming worden opgebouwd en worden de dampen snel afgevoerd.
Schakelijdens het kokenaar een vermogensniveau dat past bij de intensiteit van de kookdampen:
Vermogensniveau 1 -kleinste ventilatorcapaciteit
Vermogensniveau 2 - middelste ventilatorcapaciteit
- Vermogensniveau 3 - hoge ventilatorcapaciteit
Wanneer de intensiteit van de kookdampen Niet afneemt, schakelt u maar een hoger vermogensniveau.
Schakel bij het aanbradenaar het vermogensniveau Power. Na 6 minuten schakelt het apparaat automatisch terugaar vermogensniveau3.
Om het vermogensniveau power continu te activeren moet de betreffende toets nog een keer worden ingedrukt. Het apparaat schakelt dan Niet terug.
Zorg voor een regelmatige toevoer van frisse lucht.
Gebruik het apparaat ook voor het verminderen van andere storende geuren. Bijvoorbeeld van:
Uien en knoflook
Oven, magnetron of stoomoven
Fondue en raclette
Schakel na het koken de naloopfunctie in.
Schakel het apparaat na gebruik uit. Is de automatischen naloopfunctie geactiveerd, start de nalooptijd (10 minutes) automatisch op vermogensniveau 1.
Bij gelebruik van de BackFlow-technologie wordt, als een vermogensniveau actief is, een zwakke luchtstroom uit het luchtkanaal aan de onderkant van het apparatusaat waar de voorste luchtinlaat geleid. Deze luchtcirculatie is gewenst. Het luchtkanaal aan de onderkant van het apparatusaat mag nooit worden gesloten.
Na 12 ihr zonder bediening schakelt het apparaat (incl. verlichting) automatisch uit.
4.2.2 Omschakeling afzuig-/luchtcirculatiemodus
Wanner het apparaat met een hybride modus is uitgerust, kan na het activeren van de omschakelfunctie.altijd tussen afzug- en luchtcirclatiemodus gewisseld worden.
De omschakeling worden in de configuratiemodus geactiveerd.
"4.3 Apparaat configureren" (pagea 24).
| Toets | Werking |
| Wonneer de omschakeling geactiveerd is: 1x knop aanraken. | |
| Toets brandt zwak: • Het apparaat werkt in de bedrijfsmodus Afzuigen. • De wandkast is geopend. • De gereinigde lucht worden maar buiten geleid. | |
| Toets brandt fel: • Het apparaat werkt in de bedrijfsmodus Circulatielucht. • De wandkast is gesloten. • De gereinigde lucht worden het vertrek in geleid. |
4.2.3 Controle-indicatie filtrvulling
Het apparaat is uitgerust met een controle-indicatie om aan het verrangen van de filtrervulling te herinneren. Als er geen circulatiefilter gezruikt worden, heeft de contrôle-indicatie geen betekenis.
De functie is zo geconfigureerd, dat de toets na elke 1000 bedrijfsuren van de ventilator knippert (knippertijd 120 seconden), zodra het apparaat wordenuitgeschakeld. Door het uitschakelen van de controle-indicatie, worden de urenteller opnieuw gestart.
| Toets | Werking |
| Toets knippert: De filtrvulling要去ervangen worden. → “6.2.2 Filtrvullingervoanen (bij luchtcirculatiemodus en hybride modus)” (pageina 27). → Toets vasthouden (>1 sec.), om de urenteller opniewu te starten. |
4.2.4 Raamcontactschakelaar
Is een raamcontactschakelaar aangesloten op het apparaat, wordt bewaakt of het betreffende raam geopend of gesloten is. Het afzuigen geleurt alleen bij geopend raam of in de luchtcirculatiemodus.
| Toets | Werking |
| Toets knippert: • Een raamcontactschakelaar is aangesloten op het apparaat. • Het raam is gesloten. • Het apparaat zuijt nicht af. Open het raam. • De afzuiging kan worden gebruikt. |
4.2.5 Kookplaatverlichting
De kookplaatverlichting is dimbaar en uitgerust met een energiebesparende LED-verlichting. De verlichting kan onafhankelijk van de ventilator gebruikt worden.
Inschakelen is möglich als het apparaat ingeschakeld is.
Uitschakelen is te allen tijde möglich.
De kleurtemperatuur kan worden gewijzigd.
| Toets | Werking |
| Dimmer. 1x toets aanraken om de kookplaatverlichting in- of uit te schakelen. Toets vasthouden (> 1 sec.) om de dimmer te starten. Als de toets wordt losgelaten, blijft de kookplaatverlichting in de geselecteerde Lichtsterkte. Na het uitschakelen start de kookplaatverlichting bij de volgende inschakeling waar met de volle Lichtsterkte. | |
| Kleurtemperatuur. 1x toets aanraken. Toets binnen een halve seconde opnieuw aanraken en vasthouden, om de kleurendoorloop te starten. De kookplaatverlichting worden ingeschakeld, de kleurendoorloop start. Toets loslaten, als de gewenste kleurtemperatuur is bereikt. De kleurendoorloop stopt, de geselecteerde kleurtemperatuur worden opgeslagen. |
4.2.6 Naloopfunctie
Het apparaat beschikt over een naloopfunctie. AlsDEXe functie worden gebruikt, blijft het apparaat na uitschakelen nog 10 minutes doorwerken.
Bij de luchtcirculatiemodus is het gebruik van de naloopfunctieoodzakelijk, opdat het apparaat de resterende geurtjes op kan nemen. Door het gebruik van de naloopfunctie wordt de levensduur van de filtrvulling verhoogd. De filtrvulling要去 regelmatig vernieuwd worden.
De naloopfunctie kan handmatig of automatisch ingeschakeld worden. In de leveringstoestand is de automatische naloopfunctie geactiveerd. De betreffende installing kan in de configuratiemodus worden gemaakt. "4.3 Apparaat configureren" (pagea 24).
| Toets | Werking |
| Het apparaat is ingeschakeld. | |
| Wanner de naloopautomaat geactiveerd is: 1x knop aanraken. | |
| • Het apparaat schakelt UIT. | |
| • De nalooptijd (10 minutes) start automatisch in vermogensgraad 1. | |
| • De toets van vermogensgraad 1 brandt. | |
| • De toets van de naloopfunctie knippert. | |
| • Er kan worden omgeschakeld:tussen de vermogensniveauaus. | |
| Als de toets nog een keer worden aangeraakt, schakelt het apparaat volledig UIT. | |
| Het apparaat is ingeschakeld, een willekeurig vermogensniveauu is geselecteerd. | |
| 1x knop aanraken. | |
| • De nalooptijd (10 minutes) start op het geselecteerde vermogensniveauu. | |
| • De knop van de actieve vermogensinstelling brandt. | |
| • De toets van de naloopfunctie knippert. | |
| • Er kan worden omgeschakeld:tussen de vermogensniveauus. | |
| Als de toets nog een keer worden aangeraakt, stopt de naloopfunctie. |
4.2.7 AutoRun
Apparaten die met de AutoRun-module zijn uitgerust, starten automatisch als de kookplaat worden ingeschakeld. Bij uitschakelen van de kookplaat schakelt het apparaat over maar de naloopfunctie en schakelt daarna UIT.
Het instellen van de AutoRun-automaat gebeurt in de configuratiemodus.
"4.3 Apparaat configureren" (pagea 24).
4.3 Apparaat configureren
| Toets | Werking |
| Het apparaat is ingeschakeld. 1x toets longer dan 5 seconden aanraken en vasthouden, tot de configuratiestappen zich aufgesloten. Alle toetsen knipperen. Het apparaat schakelt maar de configuratiemodus. De configuratiemodus is ingeschakeld. Om de configuratiemodus te verlaten: Toets loslaten. De instellingen worden opgeslagen. Het apparaat is weein normalaal bedrijf. |
In de configuratiemodus können door het aanraken van de betreffende toets de volgende functies worden ingesteld.
| Toets | Werking |
| 1 | AutoRun. Bij leveringstoestand is deze functie ingeschakeld. 1x knop aanraken. Toets brandt fel: De AutoRun-automaat is geactiveerd. 1x knop aanraken. Toets knippert: De AutoRun-automaat is geactiveerd. |
| Omschakeling afzuiq-/luchtcirculatiemodus. In de toestand bij levering is de functieuitgeschakeld. 1x knop aanraken. Toets brandt fel: De omschakeling is geactiveerd. 1x knop aanraken. Toets brandt zwak: De omschakeling is geactiveerd. | |
| Reset urenteller De contrôle-indicatie voor het verrangen van de filtrervulling knippert na elke 1000 bedrijfsuren van de ventilator. Door een reset kan de urenteller op nul worden ingesteld. Toets vasthouden (>1 sec). De urenteller start opnieuw. De toetsen 1, 2, 3 en P knipperen snel, de configuratiemodus worden verlaten. |
| Toets | Werking |
| Naloopautomaat. Bij leveringstoestand is deze functie ingeschakeld. 1x knop aanraken. Toets brandt fel: De naloopautomaat is geactiveerd. 1x knop aanraken. Toets knippert: De nalooptautomaat is gedexeerd. |
5. Reiniging
5.1 Veiligheidsinstrumenties voor de reiniging
WAARSCHUWING!
Gevaar door veronachtzaming van de renigingsinstructies!
Dit hoofdstuk bevat belangrijke informatatie voor het veilig reinigen van het apparatus.
Lees dit hoofdstuk voordat u het apparaat reinigt zorgvuldig door.
Volg de veiligheidsinstructies op.
- Reiniging alleen door geauthoriseerde gebruikers. "1.2 Geauthoriseerde doelgroepen" (pagea 4).
- Geen reiniging door kinderen onder de 8 en Personen, die gezaren bij het omgaan met het apparaat Niet in kuren schatten.
- Na het gebruik kunnen de kookplaat en andere delen die aangeraakt kunnen worden nog heet zich. Er bestaat verbrandingsgevaar.
- Vetresten要去en worden verwijderd. Vetresten zijn een brandrisico.
Het apparatus moet regelmatig worden gereinigd:
Bedieningspaneel, oppervlak, bovenste schaal, stootrand en onderste schaal na iedere maaltijdbereiding.
- De Capillar Trap bij dagelijks gebruik uiterlijk na drie weken.
5.2 Reinigingsmaatregelen
Het apparaat zuigt vuildeeltjes (b.v. vet- en oliedeeltjes) met de lucht uit de ruimte aan. In de bovenste schaal, aan de stootrand, in de onderste schaal en in de Capillar Trap worden de vuildeeltjes afgescheiden en verzameld.
Voor elke reiniging:
Schakel het apparaat UIT.
Zorg ervoor dat de kookplaat en andere delen die aangeraakt können wordenশn afgekoeld.
ATTENTIE!
Gevaar voor beschadigingen door ondeskundige reiniging!
Voorwerpen met scherpe randen, schuurniddelen of ongeschikte reinigingsmiddelen können het apparaat beschadigen.
De volgende reinigingsmiddelen zijn nicht geschikt en mogen nicht worden gebrukt:
Aceton
- Trichlorethyleen
Oplossingen op nitro-basis (bijv. een nitro-oplossing)
Kunstharsverdunning
Schuurmiddelen
Silicoonhoudende polijstmiddelen
- Oliehoudende polijstmiddelen
Was
Waterdamp
Op gecoate oppervlakken: microvezeldoek
Houd voorwerpen uit de buurt, die het apparaat+kennen begrassen (b.v. ringen).
Gebruik milde huishoudreinigingsmiddelen (bijv. alkalivrije, ph-neutrale allesreiniger).
Gebruik een zachte,vochtigedoek.
Reinig zonder veel druk uit te oefenen.
De aanwijzingen en gegevens op de reinigingsmiddelen要去en inucht genomen worden.
Bedieningspaneel
Reinig het bedieningspaneel met een nicht-pluizende,licht vochtige doek (b.v. een microvezeldoek).
Wrijf het bedieningspaneel droog met een nichtpuizende, zachte doeck.
Oppervlakken
Reinig de oppervlakken met een zachte, vochtige doek en een mild huishoudreinigingsmiddel.
Wrijf de oppervlakken met een zachte doek droog.
Onderste schaal
De onderste schaal is geinteggreerd in het voorpaneel.

Open het voorpaneel.

De onderste schaal vastpakken bij de greepholten.
De onderste schaal optillen.
De onderste schaal waar voren uittrekken.
Reinig de onderste schaal met een zachte, vochtige doek.
Wrijf de bovenste en onderste schaal met een zachte doek droog.
Bovenste schaal en stootrand
De bovenste schaal is vast met het apparaat verbonden.
De stootrand is geplaatst en wordt door magneten in het apparaat vastgehonden.

Trek de stootrand van de bovenste schaal af.
Reinig de bovenste schaal met een zachte, vochtige doek.
Reinig de stootrand, bijv. in de afwasmachine.
Controleer of de stootrand helemaal droog is.
Wrijf de bovenste schaal droog met een zachte doek.
Capillar Trap
De Capillar Trap is aangebracht en worden door een borging aan de zijkant in het apparaat gez Holden.

Pak de Capillar Trap met beiden handen aan de zijkanten vast.
Trek de Capillar Trap eruit.
U kunt de Capillar Trap bijv. in de afwasmachine reinigen.
Reinig de vlakken en randen op de opnameschacht van de Capillar Trap met een zachte, vochtige doeck.
Zorg ervoor dat de Capillar Trap helemaal droog is.
Na de reiniging要去en de binnenliggende delen er wee ingezet worden.
"3.5.11 De Capillar Trap, stootrand en de onderste schaal monteren" (pagina 18).
6. Reparities
6.1 Veiligheidsinstructies voor het uitvoeren van reparaties
WAARSCHUWING!
Gevaar door veronachtzaming van de onderhoudsinstructies!
Dit hoofdstuk bevat belangrijke informatatie voor het verilig onderhouden en repareren van het apparatus.
Lees dit hoofdstuk voordat u het apparaat onderhoudt zorgvuldig door.
Volg de veiligheidsinstructies op.
Voer het onderhoud en de reparationsuit zoals is beschreiben.
- Reparatiewerkzaamheden alleen door gekwalificeerd, deskundig personeel.
"1.2 Geauthoriseerde doelgroepen" (pagea 4). - Elektrotechnische werkzaamheden alleen latent uitvoeren door gekwalificeerde elektromonteurs.
"1.2 Geauthoriseerde doelgroepen" (pagea 4). - Reparations alleen door geauthoriseerde gebruikers. "1.2 Geauthoriseerde doelgroepen" (pagea 4).
- Geen reparations door kinderen onder de 8 en Personen, die bevaren bij het omgaan met het apparaat Niet in hunnen schatten.
- Bij werkzaamheden op hoogte moet u letten op een stabiele stand (b.v. een stabiele keukentrap).
- De kookplaat en andere delen die aangeraakt können worden要去en afgekoeld zich.
- De ventilatorbehuzing mag nooit geopend worden.
6.2 Onderhoud
6.2.1 Lampen verrangen
Het apparaat is voorzien van een onderhoudsvrije LED-verlichting. Wanner er spreke is van een storing: Neem contact op met uw dealer of de klantenservice.
6.2.2 Filtervulling verrangen (bij luchtcirclatiemodus en hybride modus)
Geurtjes worden door de filtrvulling in het circulatie- of hybride filter gebonden. De geurloze, gereinigde lucht worden waar maar de ruimte geleid.
Het circulatie- en hybride filter+zijn maximaal tweeJAar onderhoudsvrij.
Daarna met de filtrvulling regelmatig vernieuwd worden.
Vervangingsintervallen
- Als de contrôle-indicatie knippert - elke 1000 bedrijfsuren van de ventilator.
"4.2.3 Controle-indicatie filtrvulling" (pagea 22). - Bij geuren in de uitstromende lucht.
- Bij dagelijks gelebruik uiterlijk na 24 maanden.
Bij af-en-toe-gebruik uiterlijk na 36 maanden.
ATTENTIE!
Gevaar voor materiaele schade door vallende delen!
Bij werkzaamheden aan het apparaat kuren delen van het apparaat of werktuigen vallen en tot schade aan keukenelementen leiden.
Beschem de afgekoelde kookplaat en andere vlakken in het kookgedeelte (b.v. met dik karton).

Maak de binnenste rookkanaalplaat aan beiden zichden van de rookkanaalbevestiging los.

Schuif de binnenste rookkanaalplaat maar beneden.

Neem het rookkanaal van het apparatusaf.
Circulatiefilter uitbouwen

Til het filter minimaal 30mm op.
Neem het filter maar voren UIT het apparaat.
Hybridfilter ausbauen

Verwijder de afzugleiding van het hybride filter.
Til het filter minimaal 30mm op.
Neem het filter maar voren UIT het apparaat.
Het verwisselen van de filtrvulling worden uitgevoerd zoals in de desbetreffende handleiding worden beschreiben.
Vervang de filtrvulling.
Reinig het filter van buiten (b.v. door afzuiigen met een stofzuiger).
Zet het filter er weer op.
"3.5.7 Filter plaatsen (bij luchtcirculatiemodus en hybride modus)" (pagea 15).
Monteer het rookkanaal.
"3.5.10 Rookkanaal monteren"(pagea 17).
Schakel de contrôle-indicatie op het bedieningspaneeluit.
"4.3 Apparaat configureren" (pagea 24).
6.3 Verhelpen van storingen
Mogelijkke storingen worden hieronder als volgt beschreiben: Beschrijving van de storing.
Mogelijkkeoorzaak.
Oplossing.
Ventilator en verlichting werken nicht.
- Geen stroomtoevoer.
Controleer of de netkabel aan beiden kanten aangesloten is.
Controleer of de zekering gereageerd heeft.
Wanneer u over een automatische zekering beschikt, schakelt u de automatische zekering in.
In geval van andere zekeringstypes neemt u contact op met een elektricien.
- Het apparatus is nicht ingeschakeld.
Controleer alle vermogensniveauaus.
"4.2.1 Normaal bedrijf" (pagea 21).
- Het apparaat is aangesloten op een raamcontactschakelaar en het raam is gesloten.
Open het raam.
- Het apparaat is op een veiligheidsinrichting aangesloten. De veiligheidsinrichting herkent een kritische onderduk.
Open een raam.
Wacht tot de luchtdruk waar normal is.
Verlichting werkt nicht.
- De software van het apparaat moet opnieuw worden opgestart.
Onderbreek de elektrische voeding ca. 10 seconden. - Lamp is defect.
Neem contact op met uw dealer of de klantenservice.
Geurvormingijdens het bedrijf.
- De filtrvulling is opgebruikt.
Vervang de filtrvulling.
"6.2.2 Filtervulling verrangen (bij luchtcirculatiemodus en hybride modus)" (pagea 27).
Slecht vermogen van het apparaat.
- Het circulatiefilter is dichtgteslibd.
Vervang de filtervulling van het circulatiefilter.
"6.2.2 Filtervulling verrangen (bij luchtcirculatiemodus en hybride modus)" (pagea 27).
- Het hybride filter is dichtgeslibd.
Vervang de filtrvulling van het hybride filter.
"6.2.2 Filtervulling verrangen (bij luchtcirculatiemodus en hybride modus)" (pagea 27).
- De afzigleiding werd oneskundig aangesloten of verplaatst.
Neem contact op met uw dealer of de klantenservice.
Het bedieningspaneel reageert Niet na herhaaldelijk aanraken.
- Het bedieningspaneel is vuil.
Reinig het bedieningspaneel.
"5. Reiniging" (pagea 25).
- De software van het apparaat moet opnieuw gestart worden.
Onderbreek de elektrische voeding ca. 10 seconden.
Vocht in het apparaat.
- Erijken druppels of spatwater in het apparaat binnengedrongen.
- Er is vloeistof (b.v.uit vazen, flessen op het apparaat) in het apparaat binnengedrongen.
Onderbreek meteen de stroomtoevoer door de zekering te verwijderen.
Zorg ervoor dat de stroomtoevoer van het apparaat nicht per ongeluk opnieuw ingeschakeld worden. Laat bijv. iemand opletten dat niemand de zekering inschakelt.
Zorg ervoor dat er verder geen vloeistoffen in het apparatusaat binnendringen+kunnen.
Laat het apparaat drogen.
Laat het apparaat door gekwalificeerd personeel controlleren en repareren voordat u het apparaat opnieuw gebruikt.
Wanner een storing Niet verholpen kan worden:
Neem contact op met uw dealer of de klantenservice.
7. Demontage
WAARSCHUWING!
Verwondingsgevaar door ondeskundig gebruik!
De grootte en het gewicht van het apparaat vergen bij het wegemen ervan veel kracht. Wanner het apparaat valt, is ernstig letsel möglichk.
Haal het apparaat er met twee Personen af.
Zorg voor een veilige standplaats bij het wegnemen.
Zorg ervoor, dat er verder geen Personen in de werkzone aanwezig়.
ATTENTIE!
Gevaar voor materiele schade door ondeskundig gebruik!
De grootte en het gewicht van het apparaat vergen bij het wegemen ervan veel kracht. Wanner het apparaat valt, kuren het apparaat, keukenmeubels en andere voorwerpen beschadigd raken.
Dek de afgekoelde kookplaat af.
Houd het montagegedeelte vrij.
Onderbreek op alle polen de stroomvoorziening van het apparaat.
Trek de netstekker eruit.
Maak de binnenste rookkanaalplaat van der ookkanaalbevestiging los.
Neem het rookkanaal van het apparaat af.
Indien aanwezig:
Haal de aanwezige aansluitkabels van de accessoires af.
Bij afzuiq- en hybride modus:
Verwijder de afzuigleiding.
Bij luchtcirculatiemodus en hybride modus:
Verwijder de filters.
Draai de bevestigingschroeven ca. een slag los.
Til het apparaat met twee Personen op.
Haal het apparaat er maar voren toe af.
Zet het apparaat op een stevige en beschemende ondergrond.
8. Verwerking van afvalstoffen
8.1 Verpakking afvoeren
ATTENTIE!
Gevaar voor milieuschade door nicht-vakkundig afvoeren van de verpakking!
Geef de verpakking Niet met het normale huisvuil mee.
Voer de verpakking af voor een vakkundige, milieuvriendelijkke recycling.
De verpakking dient als bescherming voor transportschade. Alleen de originele verpakking garandeert voldoende bescherming tijdens het transport.
Bewaar de verpakking op een plek die voor kinderen nicht toegankelijk is.
Het verpakkingsmaterial is vanuit milieuvriendelijk oogpunt gekozen en is vervaardigd van recyclebare materialen. Het verpakkingsmaterial kan na gebruik in de kringloop van grondstoffen terugkeren. Daardoor konnen waardevolle grondstoffen gespaard blijven.
- De buitenverpakking is van karton.
- Het vulmaterial en de inzetstukken zijn van karton of polyethyleen (PE).
- De beschermfolies en zakjes zijn van polyethylen (PE).
Verwijder de verpakking op milieuvriendelijkije wijze als gezugeschaffen materialen.

8.2 Apparaat afvoeren
ATTENTIE!
Gevaar voor milieuschade door nicht-vakkundig afvoeren van het apparaat!
Het apparatus valt onder Europese Richtlijn 2012/19/EU en mag Niet worden afgevoerd met het huishoudelijk afval.
Geef het apparaat na de gebruiksperiode Niet met het normale huisvuil mee.
Informer bij uw stads- of gemeentebestuur waar de mogelijkheden om het apparatusaat een op een vakkundige, milieuvriendelijk te manier te recyclen.
Maak het apparaat na de demontage onbruikbaar, b.v. door de spanningsloze netkabel eraf te knippen.
Het apparatus de wettelijk bepalingen via een deskundig afvalverwerkingsbedrijf of uw lokale inzamelpunt recyclen.

9.1 Productgeveensblad
Conform article 3 paragraaf 1 b lid ii van verordening (EU) nr. 65/2014
De informatatie op het energiaabel is van toepassing op de afzuiging in de afzuigmodus zonder BackFlow-technologie.

BKH 60 FO E02

BKH 70 FO E02

BKH 80 FO E02

BKH 90 FO E02

BKH 120 FO E02
| BKH 60 FO E02 | BKH 70 FO E02 | |||
| Jaarlijks energieverbruik in kWh | 35,0 | 35,0 | ||
| Energie-efficiëntie-index (EEI) | 54,0 | 54,0 | ||
| EEI Hood classe | A | A | ||
| FDE Hood | 29,2 | 29,2 | ||
| FDE Hood classe | A | A | ||
| LE Hood | 26,9 | 27,9 | ||
| LE Hood classe | B | B | ||
| GFE Hood | 87,0 | 87,0 | ||
| GFE Hood classe | B | B | ||
| Volumestroom bij afzuigmodus in m3/h | ||||
| Niveau min. tot max. | 260/310/360 | 270/310/380 | ||
| Niveau Power/Intensief | 450 | 470 | ||
| Volumestroom bij luchtcirculatiemodus in m3/h | ||||
| Niveau min. tot max. | 210/260/320 | 220/270/320 | ||
| Niveau Power/Intensief | 400 | 400 | ||
| Geluidsniveau bij afzuigmodus in db(A) | ||||
| Niveau min. tot max. | 50/54/58 | 50/54/58 | ||
| Niveau Power/Intensief | 64 | 64 | ||
| Geluidsniveau bij luchtcirculatiemodus in db(A) | ||||
| Niveau min. tot max. | 54/58/61 | 54/58/61 | ||
| Niveau Power/Intensief | 66 | 66 | ||
| Vermogensverbruik stand-by in Watt (W) | 0,3 | 0,3 | ||
| Vermogensverbruik stand-off in Watt (W) | 0,2 | 0,2 | ||
| BKH 90 FO E02 | BKH 120 FO E02 | |||
| Jaarlijks energieverbruik in kWh | 36,5 | 40,8 | ||
| Energie-efficiëntie-index (EEI) | 54,3 | 60,3 | ||
| EEI Hood classe | A | B | ||
| FDE Hood | 30,9 | 28,4 | ||
| FDE Hood classe | A | A | ||
| LE Hood | 26,2 | 22,9 | ||
| LE Hood classe | B | B | ||
| GFE Hood | 86,3 | 88,0 | ||
| GFE Hood classe | B | B | ||
| Volumestroom bij afzuigmodus in m3/h | ||||
| Niveau min. tot max. | 280/330/390 | 310/370/450 | ||
| Niveau Power/Intensief | 480 | 570 | ||
| Volumestroom bij luchtcirculatiemodus in m3/h | ||||
| Niveau min. tot max. | 230/280/320 | 250/300/380 | ||
| Niveau Power/Intensief | 410 | 480 | ||
| Geluidsniveau bij afzuigmodus in db(A) | ||||
| Niveau min. tot max. | 51/55/59 | 52/56/61 | ||
| Niveau Power/Intensief | 64 | 67 | ||
| Geluidsniveau bij luchtcirculatiemodus in db(A) | ||||
| Niveau min. tot max. | 54/58/61 | 55/58/63 | ||
| Niveau Power/Intensief | 66 | 69 | ||
| Vermogensverbruik stand-by in Watt (W) | 0,3 | 0,3 | ||
| Vermogensverbruik stand-off in Watt (W) | 0,2 | 0,2 | ||
9.2 Contact
Wanner u suggesties of vragen heeft, kiest u uit de volgende.". mogelijkheden:
Contact opnemen met de klantenservice van de fabrikant
U kunt op verschillende manieren contact opnemen met unsere klantenservice. Kiesuit de volgende möglichkheden:
Telefoon: +49 (0) 5971/80 80 9-0 Ma t/m do 8:00 - 17:00 uur en vr 8:00 - 15:00 uur
Fax: +49 (0) 5971/80 80 9-10
E-mail: service@berbel.de
SimpelGids