PI1530X - Vaatwassers PROGRESS - Gratis gebruiksaanwijzing en handleiding
Vind de handleiding van het apparaat gratis PI1530X PROGRESS in PDF-formaat.
Download de handleiding voor uw Vaatwassers in PDF-formaat gratis! Vind uw handleiding PI1530X - PROGRESS en neem uw elektronisch apparaat weer in handen. Op deze pagina staan alle documenten die nodig zijn voor het gebruik van uw apparaat. PI1530X van het merk PROGRESS.
GEBRUIKSAANWIJZING PI1530X PROGRESS
| Veiligheidsinformationatie | 23 |
| Productbeschrijving | 24 |
| Bedieningspaneel | 25 |
| Het eerste gebruik | 26 |
| De waterontharder instellen | 26 |
| Gebruuk van zout voor de vaatwasser | 27 |
| Gebruuk van glansspoelmiddel | 28 |
| Dagelijks gebruik | 29 |
| Bestek en serviesgoedplaatsen | 30 |
| Gebruik van vaatwasmiddelen | 32 |
| Een wasprogramma selecteren en starten | 33 |
C

Veiligheidsinformatie
In het belang van uw verilgheid en om een correct gebruik te kunnen waarborgen is het van belang dat u, alvorens het apparaat te installereren en in gebruik te nemen, deze gebruiksaanwijzing, inclusief de tips en waarschuwingen, grondig doorleest. Om onnodige vergissingen en ongevalten te voorkomen is het belangrijk ervoor te zorgen dat alle mensen die het apparaat gebruiken, volledig bekend zich met de werkung ervan en de verilgheidsvoorzieningen. Bewaar deze instructies en zorg ervoor dat zich bij het apparaat blijven als het worden verplaatst of verkocht, zodateen die het apparaat gedurende zich hele levensduur gebruikt, maar behoren is geinformeerd over het gebruik en de verilgheid van het apparaat.
Correct gebruik
- Deze afwasmachine is uitsluitend bedoeld voor het reinigen van huishoudelijkke gebruiksvoorwerpen die geschikt zijn voor reiniging in een afwasmachine.
- Doe geen oplosmiddelen in de afwasmachine. Dit kan een explosie veroorzaken.
- Messen en andere voorwerpen met scherpe punten要去en met de punt waar be-neden in de bestekmand worden ge-plaintst of horizontaal in het bovenrek worden gelegd.
- Gebruik alleen producten (afwasmiddel, zout en glansmiddel) die geschikt zijn voor afwasmachines.
| De vaatwasser uitruimen | 34 |
| Afwasprogramma's | 35 |
| Onderhoud en reiniging | 36 |
| Problèmes oplossen | 37 |
| Technische gegevens | 38 |
| Aanwijzingen voor testinstituten | 39 |
| Montage | 40 |
| Aansluiting aan de waterleiding | 41 |
| Aansluiting aan het elektriciteit'snet | 42 |
| Milieubescherming | 43 |
Wijzigingen voorbehouden
- Open de deur nicht als het apparaat in werkking is; er kan hete stoom ontsnappen.
- Neem geen serviesgoed uit de afwasmachine voordat het afwasprogramma is afgelopen.
- Trek na het gebruik de stekker uit het stopcontact en draai de waterkraan zich.
- Dit product mag alleen worden onderhoven door een daartoe bevoegde service-monteur en er dient alleen gebruik te worden gemaatk van originele reserveonder-delen.
- Onder geen voorwaarde要去 proberen de afwasmachine zich te repareren. Reparaties die worden uitgevoerd door onervaren Personen veroorzaken letsel of storingen. Neem contact op met unsere serviceafdeling. Sta te allen tjnde op het gebruik van originele reserveonderdelen.
Algemene veiligheid
- Afwasmiddelen konnen chemische brandwonden veroorzaken aan de ogen, de mond en de keel. Deze konnen levensbedreigend zich! Houd u aan de veiligheids-instructies van de afwasmiddelfabrikant.
- Het water in uw afwasmachine is geen drinkwater. Resten van afwasmiddel kunnen nog in de machine aanwezigহn.
Zorg ervoor dat de deur van de afwasmachine altijd gesloten is als het apparaat nicht wordt in- of uitgeruimd. Zo voorkomt u dat iemand over de open deur struikelt en zich bezeert. - Ga Niet op de opener deur zitten of staan.
De veilighheid van kinderen
- Dit apparaat is bestemd voor gebruik door volwassenen. Laat kinderen de afwasmachine Niet zonder toezicht gebruiken.
- Houd alle verpakkingsmaterialaal buiten het bereik van kinderen. Gevaar voor verstikking.
- Bewaar alle afwasmiddelen op een veilige plaats buiten het bereik van kinderen.
- Houd kinderen uit de buurt van de afwasmachine als de deur open staat.
Installatie
- Controller uw afwasmachine op eventuele transportschade. Sluit nooit een beschadigde machine aan. Neem contact op met uw leverancier als de machine beschadigd is.
- Alle verpakkingsmaterialen要去 verwijderd worden voordat u het apparaat in gebruik neemt.
- Alle elektrische en loodgieterswerkzaam-heden die nodigশn voor de installmente van dit apparaat要去en worden uitgevoerd
door een gekwalificeerd en competent person.
- Om veiligeidsredenen is het gevaarlijk wijzigingen aan te brengen in de specificaties of dit product op enigerlei wijze te modificeren.
- Gebruik de afwasmachine nooit als het aansluitsnoor of de waterslangen beschadigd+zijn;of als het bedieningspaneel,het werkblad of de plint zodanig beschadigd zichdat het inwendige van de machine vrij toegankelijk is.Raadpleeg once serviceafdeling om gevaarlijke situatuies te voorkomen.
- In de behuizing van de afwasmachine mo-gen geen gaten worden geboard ter voorkoming van schade aan hydraulische en elektrische onderdelen.

Waarschuwing! Voor de aansluiting van elektricitieit en water dienen de instructies in de desbeteffende paragraphen nauwgezet te worden opgevolgd.
Productbeschrijving

1 Bovenrek
Aanpassen van de instelling van de waterhardheid
3 Zoutreservoir
4 Afwasmiddeldoseerbakje
5 Glansmiddeldoseerbakje
6 Typeplaatje
7 Filters
8 Onderste sproeiarm
9 Bovenste sproeiarm
Bedieningspaneel

1 Programmaschakelaar
2 Toets start/annuleren
3 Toetsuitgestelde start
4 Controleampjes
5 Controlelampje aan/uit
Controleampjes
Wassen

Drogen
Gaat branden als er een afwas- en spoelfase bezig zich.
Gaat branden als er een droogfase bezig is.
| Controlleampjes | |||||
| →1 Einde | Gaat branden als een afwasprogramma is afge-lopen. Heeft ook andere visuèle signaleringsfunc-ties zoals: · het instellen van de waterontharder, · melding van een alarm als gevolg van storing van de machine. | ||||
| Programmaschakelaar en controlleampje aan/uit | · Om het apparaat uit te schakelen draaait u de programmaschakelaar totdat het teken op de schakelaar overeenkomt met het controllampje aan/uit. Het controleampje aan/uit gaat uit (stand UIT). | ||||
| · Een afwasprogramma kiest u door de pro- grammaschakelaar met de klok mee of te- gen de klok in te draaien, totdat het ge- wenste programmasymbol op de scha- kelaar overeenkomt met het controllamp- je aan/uit op het bedieningspaneel. Het controleampje aan/uit gaat branden (stand AAN) | · Met behulp van de schakelaar kan ook de waterontharder worden ingesteld. | ||||
| Het eerste gebruik | |||||
| Voordat u uw afwasmachine in gebruik neemt: · Zorg ervoor dat de elektrische aansluiting en de wateraansluiting voldoen aan de in- stallatie-instructies · Verwijder alle verpakkingsmaterialien uit het inwendige van de machine · De waterontharder instellen · Giet 1 liter water in het zoutreservoir en vul het reservoir verrolgens met regenerer-zout | · Vul het glansmiddeldoseerbakje · Als u gebruik wilt makev van ge- combineerde afwasmiddelblokjes zoals: "3 in 1", "4 in 1", "5 in 1" enz... volg de instructcies in "Gebruik van afwasmiddel". | ||||
| De waterontharder instellen | |||||
| De afwasmachine is uitergerust met een wa- terontharder die is ontworpen om mineralen en zouten uit het leidingwater te verwijderen die een schadelijk of negatif effect zonden hebben op de werkking van het apparaat. Hoe hoger het gehalte van deze mineralen en zouten is, des te harder is het water. De hardheid van water wordt gemeten in equi- valente eenheden, Duitse hardheid (°dH), Franse hardheid (°TH) en mmol/l (millimol per liter - internationale eenheid voor de hardheid van water). | De ontharder moet worden ingesteld in over- eenstemming met de hardheid van het water in uw omgeving. Uw waterleidingbedrivif kan u informeren over de hardheid van het water in uw woonplaats. · De waterontharder要去 op beiden ma- nieren worden ingesteld: handmatig, met behulp van de waterhardheidstoets en elektronisch. | ||||
| Waterhardheid | Aanpassen van de waterhardheidsin- stellung handmatig | elektronisch | Ge- bruik van zout | ||
| °dH | °TH | mmol/l | |||
| 51 - 70 | 91 - 125 | 9,1 - 12,5 | 2 | niveau 10 | ja |
| 43 - 50 | 76 - 90 | 7,6 - 9,0 | 2 | niveau 9 | ja |
| Waterhardheid | Aanpassen van de waterhardheidsin-stelling | Ge-bruik van zout | |||
| °dH | °TH | mmol/l | handmatig | elektronisch | |
| 37 - 42 | 65 - 75 | 6,5 - 7,5 | 2 | niveau 8 | ja |
| 29 - 36 | 51 - 64 | 5,1 - 6,4 | 2 | niveau 7 | ja |
| 23 - 28 | 40 - 50 | 4,0 - 5,0 | 2 | niveau 6 | ja |
| 19 - 22 | 33 - 39 | 3,3 - 3,9 | 2 | niveau 5 | ja |
| 15 - 18 | 26 - 32 | 2,6 - 3,2 | 1 | niveau 4 | ja |
| 11 - 14 | 19 - 25 | 1,9 - 2,5 | 1 | niveau 3 | ja |
| 4 - 10 | 7 - 18 | 0,7 - 1,8 | 1 | niveau 2 | ja |
| < 4 | < 7 | < 0,7 | 1 | niveau 1 | nee |
Handmatig instellen
i De afwasmachine wordt in de fabriek ingesteld op stand 2.
- Open de deur van de afwasmachine.
- Neem het onderrekuit de afwasmachine.
- Zet de waterhardheidstoets in stand 1 of 2 (zie tabel).
- Plaats het onderrek terug.

De afwasmachine is in de fabriek ingesteld op stand 5.
- De afwasmachine要去uitgeschakeld zichn.
- Houd de toets start/annuleren ingedrukt en draai de schakelaar totdat het eerste programmasymbool op de schakelaar overeenkomt met het controelampje aan/uit.
- Laat de toets start/annuleren los. Het lampje aan/uit en het controelampje
Gebruik van zout voor de vaatwasser

Waarschuwing!
Gebruik alleen zout dat specifiek is bestemd voor gebruik in afwasmachines. Alle andere
start/annuleren gaan knipperen. Dit betekent dat u de functie waterontharder geactiveerd heeft.
- Tegelijktijd begint het controelampje 'einde programme' te knipperen.
Het huidigeiveau wordt aangegeven door het aantal keren dat het controlelampje einde programma knippert en een onderbreking van ca. 3 seconden.
Voorbeelden:
5 keer knipperen, pauze, 5 keer knipperen, pauze, enz... = niveau 5
6 keer knipperen, pauze, 6 keer knipperen, pauze, enz... = niveau 6
- Druk op de toets start/annuleren om hetiveau te wijzigen. Elke keer datdezetoets worden ingedrukt, wordt het nivea gewijzigd.
Voorbeelden:
als het huidige niveau 5 is, wordt door toets start/annuleren een keer in te drukkeniveau 6 geselecteerd.
als het huidige niveau 10 is, wordt door toets start/annuleren een keer in te drukken, niveau 1 geselecteerd.
- Schakel om de instelling in het geheugen op te slaan de afwasmachine uit door het teken op de schakelaar weein de stand Uit te zetten.
soorten zout die nicht specifiek zijn ontwikkeld voor gebruik in een afwasmachine, in het bijzonder tafelzout, zullen schade toebrengen aan de waterontharder. Vul alleen zout bij
vlak voordat u een van de volledige afwasprogramma's gaat starten. Hiermee worden voorkomen dat gemorste zoutkorrels of zout water enigeijd op de bodem van de machine中断berlijven, hetgeen corrosie kan veroorzaken.
Vullen:
- Open de deur, neem het onderrekuit de machine en schroef het deksel van het zoutreservoir los door het gegen de wijzers van de klok in te draaien.
- Giet 1 liter water in het reservoir (dit is alleen nodig als de machine de eerste keer met zout worden gevuld).
- Giet met behulp van de bijgeleverde trechter zout in het reservoir totdat het vol is.

- Plaats het deksel terug en zorg er voor dat er geen zoutresten achechterblijven op de schroefdraad of op de pakking.
- Draai het deksel goed vast door het met de klok mee te draaien tot de aanslag (u hoor een klik).
Maak u geen zorgen als er bij het vullen met zout water UIT de vulopening stroomt, dit is heel normal.
Het zoutreservoir moet regelmatig worden bijgevuld.

De zoutdeksel heeft in het midden een indicatievenster voor het bijvullen van zout. Er is een groene vlotter zichtaar als er zout in het reservoir aanwezig is en deze vlotter is bijna Niet更是 zichtaar als het zout op is. Deze vlotter is bedoeld om u eraan te herinneren dat er zout bijgevuld要去 worden.
Gebruik van glansspoelmiddel

Waarschuwing! Gebruik alleen merkglansmiddelen voor afwasmachines.
Vul het glansmiddeldoseerbakje nooit met andere middelen (bjv. afwasmachinereinigingsmiddel, vloeibaar afwasmiddel). Dit zou het apparaat beschadenig.

Glansmiddel zorgtervoordet het serviesgoed grondig wordt gespoeld en vrij van vlekken en strepen opdroogt.
Glansmiddel worden tijdens de laatste keer spoelen automatisch gedoseerd.
- Open het reservoir door op de ontgren-delknap (A) te drukken.

- Giet glansmiddel in het reservoir. Het maximale vulniveau worden aangegeven door "max".

Het doseerbakje bevat ongeveer 110 ml glansmiddel, voldoende voor+tussen de 16 en 40 afwascyci, afhankelijk van de ingestelde dosering.
- Zorg ervoor dat het deksel na het vullen goed worden gesloten.

Neem eventueel bij het vullen gemorst glansmiddel op met een absorberende doek om de volgende koer als u een programma draait buitensporige schuimvorming te voorkomen.
Stel de dosering van het glansmiddel in overe- enstemming met de bereekte eind- en droogresultaten in met behulp van de 6-standingschakelaar (stand 1 minimumdosering, stand 6 maximumdosering).
De dosering worden in de fabriek ingesteld op stand 4.
Verhoog de dosering als er na afloop van het programme waterdruppels of kalkvlekken op het serviesgoed achechterblijven.
Verlaag de dosering als er kleverige witachtige strepen op het serviesgoed achechterblijven of een blauwzweem op glaswerk of op de lemmeten van messen.

Vul glansmiddel bij als indicator (B) doorzichtig worden.

Dagelijks gebruik
- Controller of het nodig is regenererzout of glansmiddel bij te vullen.
- Plaats bestek en serviesgoed in de afwasmachine.
- Afwasmiddel doseren.
- Selecteer een programma dat geschikt is voor het bestek en het serviesgoed.
- Start het afwasprogramma.
Handige aanwijzingen en tips
Sponzen, huishoudtextiel en voorwerpen die water+knen absorberenogeniet in de afwasmachine worden gereinigd.
-
Voordat u het serviesgoed in de machine plaatst, dient u:
-
alle voedselresten en rommel te verwijderen.
-
Laat aangebakken etensresten in pannen eerst inweken
-
Let bij hetplaatsen van serviesgoed en bestek op de volgende punten:
-
Borden en bestek mogen de draaibeweging van de spreiarmen Niet belemmeren.
- Plaats holle voorwerpen zoals kopjes, glazen, pannen, enz. met de opening waar beneden zodate ze Niet vol water lopen.
-
Borden en bestek mogen nicht in elkaar liggen of elkaar bedekken.
Zorg er ter Voorkoming van schade aan glaswerk voor dat glazen elkaar Niet raken. -
Legkleine voorwerpen in de bestekmand.
-
Voorwerpen van kunststof en pannen met teflon hebben de neiging waterdruppels vast te houden; deze voorwerpen drogen Niet zo goed als voorwerpen van porselein en staal.
- Lichte voorwerpen (kunststoffbakjes enz.)要去en in het bovenrek worden geplaatst en zo worden neergezet dat ze Niet kannen bewegen.
Het volgende serviesgoed en bestek is voor reiniging in de afwasmachine
niet geschikt:
bestek met houten, hoornen, porseleinen of pa-relmoeren handgrepen.
- voorwerpen van kunststof die nicht hittebestendigল.
- ouder bestek met gelijmde onderdelen die nicht hittebestendig zich.
- gelijmd bestek of gelijmde borden.
- tinner of koperen voorwerpen.
- glaswerk van loodkristal.
- gemakkelijk roestende stalen voorwerpen.
- houten schotels.
- voorwerpen gemaakt van synthetische verzels.
in beperkte mate geschikt:
- Reinig aardewerk alleen in de afwasmachine als het door de fabrikant specifiek worden gekenmerkt als afwasmachinebestendig.
- Geglazuurde dessins können verragen als ze vaak in de afwasmachine gewassen worden.
- Zilveren en aluminium hebden de neiging om tijdens het reinigen te verkleuren: Etensresten, bijv. eiwit, eierdooier en mosterd, veorozaken op zoiver vaak verkleuring en vlekken. Verwijder etensresten dan ook onmiddelijk van zilver, als dit Niet meteen na gebruik worden afgewassen.
Bestek en serviesgoed plaatsen
Het onderrek
Het onderrek is geschikt voor steelpannen, deksels, borden, slakommen, bestek, enz. Dekschalen en grote deksels要去en langs de rand van het rek worden gerangschikt om te garanderen dat de sproeiarmen vrij kunnen draaien.


De bestekmand
Rechtop geplaatste lange messen zijn een potentieel gevaar. Lang en/of scherp snijgereedschap zoals bijvoorbeeld vleesmessen要去en horizontaal in het bovenrek worden gelegd. Pas op bij hetplaatsen of uitnemen van scherpe voorwerpen zoals messen.
Plaats vorken en lepels in de uitneembare bestekmand met de handgrepenaar beneden en messen met de handvattenaar boven gericht.

Als de handgrepen onder de bestekmanduitsteken en de onderste sproeiarm in zichbeweging belemmeren, dient het bestek metde handgrepen omhoog te worden geplaatst.
Meng lepels met ander bestek om te voorkomen dat zij aan elkaar kleven.
Voor de meest optimale resultaten raden wij aan de meegeleverde bestekrooster te gebruiken (als de afmeting van het bestek dit toelaat).

Bovenrek
Het bovenrek is geschikt voor borden (dessertbordjes, schotels, etensborden met een diameter tot 24 cm), slakommen, kopjes en glazen.
Plaats voorwerpen zo op en onder de kopjesrekken dat het water alle oppervlakken kan bereiken.

Glazen met een lange voet hunnen ondersteboven in de kopjesrekken worden geplaatst.
Voor hogere voorwerpen konnen de kopjesrekker worden opgeklapt.

i Controleer alvorens de deur te sluiten dat de sproeiarmen vrij+kunnen rond-draaien.
De hoogte van het bovenrek aanpassen
Als er zeer grote borden moeten worden afgewassen, kurz u deze in het onderrekplaatsen nadat u het bovenrek in+zijn hoogste positie hebt geplaatst.
| Maximale hoogte van borden in het onder-rek | |
| Met bovenrek in hoogste stand | 33 cm |
| Met bovenrek in laagste stand | 29 cm |
Ga als volgt te werk om het bovenrek in zich hoogste stand tezetten:
- Trek het rek tot de aanslag maar buiten.
- Til beiden kanten voorzichtig op totdat het mechanisme vastklikt en het rek stabel is.

Ga als volgt te werk om het rek in zijn oorspronkelijke stand te lately zakken:
Gebruik van vaatwasmiddelen
i Gebruik uitsluitend afwasmiddelen die specifiek zijn bedoeld voor gebruik in afwasmachines.
Neem de aanbevelingen van de fabrikant voor dosering en bewaren op deverpakking van het afwasmiddel in acht.
Het gebruik van Niet meer dan de juiste hoeveelheid afwasmiddel draagt bij aan minder milieuverontreiniging.
Afwasmiddel doseren
- Open het deksel.

- Vul het afwasmiddelbakje (1) met afwasmiddel. De marketing geeft de doseerniveaus aan:
20 = ca 20 g afwasmiddel
30 = ca 30 g afwasmiddel.
- Trek het rek tot de aanslag maar buiten.
- Til bye kanten voorzichtig op enaar het mechanisme langzaam terug maar beneden zakken, verwijl u het blijft vasthouden.
Zet het rek nooit aan een enkele kant\ aar boven of beneden
Als het reck zich in+zijn bovenste stand bevindt, kurz u geen gebruik maken van de kopjesrekken.
! Sluit na het vullen van het apparaat altijd de deur, want een open deur kan gevaarlijk zijn.

- Alle programma's met voorwas hebben een extra dosering afwasmiddel nodig (5 / 10g) dat in het afwasmiddelbakje voor de voorwas (2)要去 worden gedaan. Deze dosering worden gebruiktijdens de voorwasfase.
Bij gebruik van afwasmiddelttabletten;
plaats het tablet invak (1)

- Sluit het deksel en druk totdat het op+zijnplaats klikt.
i Afwasmiddelttabletten van verschillende fabrikanten loseen nicht allemaal even snel op. Daarom bereiken bepaalde afwasmiddelttabletten tijdens korte programma's Niet hun volledige reinigingswerking. Kies waarom bij het gebruik van afwasmiddelttabletten large programma's, om ervoor te zorgen dat tabletresten volledig worden verwijderd.
Gebruik van gecombineerde afwasmiddelttabletten
Dit+zijn producten met een gecombineerde reinigings-, glans- en zoutfunctie. Ook kunnen zich verschillende andere middelen bevat
ten afhankelijk van de soort tabletten die u kiest ("3 in 1", "4 in 1", "5 in 1" enz...).
- Controller of deze producten geschikt zich voor uw waterhardheid. Zie de instructies van de fabrikant.
Het zoutreservoir en het glansmiddeldoseerbakje hoeven dan nicht meer bijgevuld te worden. In dit geval blijf het controliampje glansmiddel alsijd branden, als demachine worden ingeschakeld. - Kies de laagste instelling voor de water-hardheid en de dosering van het glans-middel.
- het glansmiddeldoseerbakje te vullen met glansmiddel.
- de dosering van het glansmiddel in te stellen op stand 2.
Als u besluit waar over te gaan op het gebruik van de standaardafwasmiddelen adviseren wij u:
- vul het zoutreservoir en het glansmiddeldoseerbakje opnieuw.
- Stel de waterhardheid in op de hoogste stand en LAST 1 normala afwasprogramma, zonder serviesgoed, draaien.
- Stel de waterhardheid in overeenstemming de hardheid van het water in uw omgeving.
- De glansmiddeldosering in te stellen.
Een wasprogramma selecteren en starten
- Controller of derekken juist+zijn geladen en of de sproeiarmen vrij kunnen draaien
- Controller of de waterkraan is geopend
- Sluit de deur van de afwasmachine.
-
Draai de schakelaar totdat het gewenste programmasymbool overeenkomt met het controelampje aan/uit op het bedi-ningspaneel. (Zie babel "Afwasprogramma's").
-
Het contrôlelampje aan/uit gaat branden.
-
De contrôlelampjes van de onderdelen waaruit het programme bestaat gaan knipperen.
-
Druk op de toets start/annuleren. Het programme begint automatisch en het contrôlelampje start/annuleren brandt.
Zodra het programme begint, gaat het fasecontroleampje uit, behalve het controleampje voor de lopende fase; dat blijft constant branden.
Wonneer het programma loopt, kan de gemaaakte keuze nicht worden gewijzigd door de schakelaar op een ander pro gramsma of op de stand Uit te draaien. Indien u het lopende programma wilt wijzigen, moet u de gemaaakte keuze annuleren (zie "Een lopend afwasprogramma annuleren").
i Het afwasprogramma begint pas nadat u op de toets start/annuleren hebt gedrukt. Tot dat moment kan de keuze nog worden gewijzigd.
Een afwasprogramma selecteren en starten met uitgestelde start
Hiermee kan de start van het programme 3 uw worden uitgesteld.
- Een afwasprogramma selecteren.
- Druk op de toets uitgestelde start. Het controlelampje uitgestelde start.gaat branden.
- Druk op de toets start/annuleren, het af-tellen van de uitgestelde start begint automatisch. De controleampjes voor de wasfasen.gaan uit.
Als het aftelproces verstreten is, worden het afwasprogramma automatisch gestart.
- Het contrôlelampje van de uitgestelde start gaat uit.
- Het contrôlelampje van het lopende programme gaat aan.
i Het openen van de deur onderbreekt het aftelproces. Zodra de deur wordt geslo ten, gaat het aftellen verdier vanaf het punt waarop het was onderbroken
Een lopend startuitstel annuleren
-
Druk gedurende ca. 5 seconden op de toets start/annuleren.
-
De contrôlelampjes start/annuleren en uitgestelde start.gaanuit.
-
Het fasecontrolelampje begint te knipperen.
-
Druk op de toets start/annuleren om het gekozen afwasprogramma te starten.
! Waarschuwing! Onderbreek of annuleer een lopend
De vaatwasser uitruiimen
- Hete borden zijn gevoelig voor stoten. Het is.daarom raadzaam het serviesgoed eerst te laten afkoelen alvorens de machine uit te ruijmen.
- Ruim eerst het onderrek en dan het bovenrekuit; hiermee voorkomt u dat er water van het bovenrek op het serviesgoed in het onderrek druppelt.
- Er kan water op de zijkanten en de deur van de afwasmachine ontstaan odomat
afwasprogramma ALLEEN als het absoluutoodzakelijk is.
Let op! Als de deur worden geopend kan hete stoom vrijkomen.Open de deur voorzichtig.
Een lopend afwasprogramma onderbreken
Open de deur van de afwasmachine; het programme stocht. Sluit de deur; het programme gaat verder waar het was onderbroken.
Het lopende programma annuleren
- Druk gedurende ca. 5 seconden op de toets start/annuleren. Het controleampje start/annulerenGaat uit en de fasecontrolampjes knipperen. Het lopende programma is geannuleerd. Nu kutu een新产品 afwasprogramma instellen of de machine uitschakelen. Als er een新产品 afwasprogramma moet worden gekozen, controller dan of er afwasmiddel in het doseerbakje zit.
Einde van het afwasprogramma
- De afwasmachine stopt automatisch.
- Het contrôlelampje Einde gaat branden.
- Schakel de afwasmachine uit door de programmaknop wee in de Uit-standing dieaien. Het controleampje aan/uit gaat uit.
roestvrij staal uiteindelijk koeler zal worden dan het serviesgoed.
Als het afwasprogramma is afgelopen is het raadzaam de stekker uithet stopcontact te trekken en dekraan dicht te draaien.
Afwasprogramma's
| Programma | Mate van ver- vulling | Soort servies- goed | Beschrijving programma |
| 70° | Sterk verruild | Serviesgoed, be- stek, potten en pannen | Voorwas Hoofdwas tot 70 °C 2 tessentijdse spoelgangen Laatste spoelgang Drogen |
| 65° | Normaal ver- vuild | Serviesgoed, be- stek, potten en pannen | Voorwas Hoofdwas tot 65 °C 2 tessentijdse spoelgangen Laatste spoelgang Drogen |
| 65° 1) | Normaal of Licht verruild | Serviesgoed en bestek | Hoofdwas tot 65 °C Laatste spoelgang |
| 50° 2) | Normaal ver- vuild | Serviesgoed en bestek | Voorwas Hoofdwas tot 50 °C 1 tessentijdse spoelgang Laatste spoelgang Drogen |
| ※ | Alles | Gedeeltelijke be- lading (later op de dag verder te vul- len). | Eén koude spoelgang (om te voorkomen dat etensresten aan elkaar plakken) Voor dit programme hoeft geen afwas- middel gezruikt te worden. |
1) Ideaal voor gebruik bij een gedeelelijk gewulde afwasmachine. Dit is het perfecte dagelijkse programme, special bedoeld voor een gezin bestaandeuit 4 personen om alleen het serviesgoed van het ontbijt en het avondeten af te wassen.
2) Test programme voor testinstanties
| Verbruikswaarden | |||
| Programma | Programmaduur (in minutes) | Energieverbruik (in kWh) | Waterverbruik (in liter) |
| 70° | 85-95 | 1,8-2,0 | 22-25 |
| 65° | 105 - 115 | 1,5-1,7 | 23-25 |
| 65° | 30 | 0,9 | 9 |
| 50° 1) | 140 | 1,05 | 16 |
| ※ | 12 | 0,1 | 5 |
1) Test programme voor testinstanties
De verbruikswaarden zijn bedoeld als richtig en zijn afhankelijk van de drukende temperatuur van het water, maar ook
van de variaties in de netspanning en de hoveeelheid serviesgoed.
Onderhoud en reiniging
De filters reinigen
De filters moeten vanijd totijd worden ge-controleerd en gereinigd. Vuile filters beivloeden het afwasresultaat negatif.

Waarschuwing! Zorg ervoor dat de machine isuitgeschakeldvoordat de filters worden schoongemaaakt.
- Open de deur, neem het onderrek UIT de machine.
- Het filtersystem van de afwasmachine bevat een grof filter (A), een microfilter (B) en een platte filter. Ontgrendel het filtersystem met behulp van de hendel op het microfilter.
Draai de
greep
onge-
veer een
kwart-slag maar
links en
verwijder
het filter-system


3.
- Pak het grof filter (A) beet bij de greed en verwijder het microfilter (B).
- Maak alle filters onder stromend water grondig schoon.
- Verwijder het platte filter uit de bodem van het afwascompartment en reinig het filter grondig aan beiden kanten.
- Zet het platte filter terug in de bodem van het wascompartment en controllerer of het precies onder de twee geleiders (C) zit.

- Plaats het grof filter (A) in het microfilter (B) en druk ze tegen elkaar.
- Breng de filtercombinatie terug op+zijn plaats en vergrendel het geheel door de hendel tot de aanslag met de wijzers van de klok mee te draaien. Let er bij deze procedure op dat het platte filter Niet boven de bodem van het afwaskomparti-mentuitsteekt.

i Gebruik de afwasmachine NOOIT zonder filters. Een onjuiste terugplaatsing en bevestiging van de filters heegt slechtere afwasresultaten tot gevolg en kan resulteren in schade aan het apparaat.
Probeer NOOIT de spreoiarmen te verwijderen.
Als etensresten de openings in de sproeiarmen hebben verstopt, verwijder们都 dan met een cocktailprikker.
Buitenkant
Reinig de buitenoppervlakken van de machine en het bedieningspaneel met een vochige zachte doek. Gebruik - indien nodig - alleen neutrale reinigingsmiddelen. Gebruik nooit schurende producten, schuursponsjes
of oplosmiddelen (aceton, trichlooretheen, enz.).
De binnenkant van de machine reinigen
Zorg ervoor dat de afdichtingsrubbers rondom de deur en het afwasmiddelbakje en glansmiddeldoseerbakje regelmatig met een vochtige doek worden gereinigd.
Wij adviseren eenmaal per 3 maanden een afwasprogramma voor ernstig verruild serviesgoed te draaien met afwasmiddel, maar zonder serviesgoed.
Als de afwasmachine langerearend nicht wordt gebruikt
Als u de afwasmachine gedurende langere..., tijd Niet gebruikt, adviseren wij u:
- de stekker uit het stopcontact te trekken en de kraan zich te draaien.
-
de deur op een kier te zetten om de vorming van onaangename geurtjes te voorkomen.
-
het inwendige van de machine leeg en schoon te houden.
Voorzorgsmaatregelen bij vorst
Zet de machine Niet op eenplaats waar de temperatuur lager is dan 0^ . Als het toch Niet anders kan, maak de machine leeg, sluit de deur, ontkoppel de watertoevoerleiding en LAST deze leeglopen.
De machine verplaatsen
Als u de machine要去 verplaatsen (bij verhuizing, enz.):
- trek de stekker uit het stopcontact.
- draai de waterkraan dicht.
- verwijder de watertoevoer- en -afvoerslang.
- trek de machine samen met de slangen\ aar voren.
Vermijd kantelen van de machineijdens het vervoer.
Problemen oplossen
De afwasmachine start nicht of stopt als hij bezig is.
Bepaalde problemen zijn het gevolg van een gebrek aan eenvoudig onderhoud of onoplettendheid en+kunnen zonder de inschakeling van een monteur worden opgelost met
behulp van de in de tabel hieronder beschreiben aanwijzingen.
Zet de afwasmachine uit, open de deur en voer de volgende Voorgestelde corrigerende handelingen uit.
| Storingscode en storing | Mogelijkke oorzaak en oplossing | |
| · voortdurend knipperen van het controelampje start/annuleren · 1 keer knipperen van het controelampje Einde De afwasmachine worden nicht gezuld met water | · De waterkraan is verstopt of aangezet met kalk-aanslag Maak de waterkraan schoon · De waterkraan is zich Draai de waterkraan open · Het filter (indien aanwezig) in de schroeffitting van de slang bij de waterinlaatklep is verstopt Reinig het filter in de schroeffitting · De watertoeoverslang is Niet juist geplaatst of is gebogen of geknikt Controleer de aansluiting van de wateraanvoers-lang | |
| · voortdurend knipperen van het controelampje start/annuleren · 2 keer knipperen van het controelampje einde programme Het afwaswater worden nicht afgevoerd | · De gootsteenafvoer is geblokkeerd Ontstop de gootsteenafvoer · De waterafvoerslang is Niet juist geplaatst of is gebogen of geknikt Controleer de aansluiting van de waterafvoerslang | |
| · voortdurend knipperen van het controelampje start/annuleren · 3 keer knipperen van het controelampje einde programme The dishwasher will not drain | Draai de waterkraan zich en neem contact op met once service-afdeling. | |
| Storing | Mogelijk oorzaak en oplossing | |
| Het programme begint nicht | • De deur van de afwasmachine is Niet goed gesloten. Sluit de deur. • De stekker zit nicht in het stopcontact. Steen de stekker in het stopcontact • De zekering in de meterkast is doorgebrand. Vervang de zekering. | |
| Nadat u deze controles hebt uitgevoerd, schakelt u het apparaat in. Het programme gaat verder op het punt waar het was onderbroken. Als de storing of storingscode zich opnieuw voordoet, dient u contact op te nemen met once service-afdeling. Voor andere, nicht in de bovenstaande tabel beschreiben storingscodes dient u ook contact op te nemen met once service-afdeling. Houd als u contact opneemt met once service-afdeling de volgende gegevens bij de | hand: model (Mod.), productnummer (PNC) en seriENUMmer (S.N.). Deze informatatie is te vinden op het typepla-tje aan de zijkant van de deur van de afwas-machine. Wij adviseren u deze nummers hier te note-rien zodate u ze algid bij de hand hebt: Model. : Productnum- mer : Serienum- mer. : | |
| Het afwasresultaat is Niet bevredigend | ||
| De bordenijken nicht schoon | • Het verkeerde afwasprogramma is geselecteerd. • Het serviesgoed is zo geplaatst dat het water Niet alle delen van een op- pervlak kan bereiken. Derekken要去en Niet te vol worden geladen. • De spreioarmen können Niet vrij draaien als gevolg van een onjuiste plaat-sing van het serviesgoed. • De filters in de bodem van het afwascompartimentঃn vuil of onjuist ge- plaatst. • Er is te weinig of geen afwasmiddel gebruikt. • Als er kalkresten op het serviesgoed achechterblijven; het zoutreservoir is leeg of de waterontharder is op het onjuiste niveau ingesteld. • De afvoerslang is Niet correct aangesloten. • Het deksel van het zoutreservoir is Niet goed gesloten. | |
| Het serviesgoed is nat en dof | • Er is geen glansmiddel gebruikt. • Het glansmiddeldoseerbakje is leeg. | |
| De glazen en bor- den vertonen stre- pen, melkachtige vlekken of een blauwzweem | • Verlaag de dosering van het glansmiddel. | |
| Opgedroogde wa- terdruppels op gla- zen en borden | • Verhoog de dosering van het glansmiddel. • Het afwasmiddel kan de orzoak+zijn. Neem contact op met de consu- mentenlijn van de afwasmiddellenfabrikant. | |
| Als het probleem na al deze controles aan- houdt, neem dan contact op met once ser- vice-afdeling. | ||
Technische gegevens
| Afmetingen | Breedte | 59,6 cm |
| Hoopte | 81,8 - 87,8 cm | |
| Diepte | 57,5 cm | |
| Aansluitspanning - Voltage - To-tale vermogen - Zekering | Informatie over de elektrische aansluiting is te vinden op het type-plaatje op de binnenrand van de deur van de afwasmachine. | |
| Leidingwaterdruk | Minimaal | 0,5 bar (0,05 MPa) |
| Maximaal | 8 bar (0,8 MPa) | |
| Capaciteit | 12 couverts | |
| Gewicht | 39,5 kg | |
Aanwijzingen voor testinstituten
Testen in overeenstemming met EN 60704 moeten worden uitgevoerd met een vol beladen machine en met gebruik van het testprogramma (zie "Verbruikswaarden").
Test in overeenstemming met EN 50242 moet worden uitgevoerd als de zoutcontai
ner en hetvakje voor spoelmiddel respectievelijk,zijn gemuld met zout en spoelmiddel en met gebruik van het testprogramma (zie "Verbruikswaarden").
Volledige belading: 12 standardcouverts
Hoeveelheid benodigd afwasmiddel:
5g+25g(typeB)
Installing glansmiddel
stand 4 (type III)

Plaatsing bovenrek

Kopjesrekken: stand A

Plaatsing onderrek

Plaatsing bestekrek
Montage
! Waarschuwing! Alle elektrotechnische en/of loodgieterswerkzaamheden die nodig+zijn voor de installment van het apparatusat dwellen te worden uitgevoerd door een erkend installerateur.
Verwijder alle verpakkingsmaterialen alvorens de machine teplaatsen.
Plaats de machine indien möglichnest aan waterkraan en een afvoer.
Deze afwasmachine is ontworpen voor installmentie onder een keukenblad of werkopervlak.
Let op! Volg nauwgezet de instructies op de bijgueleverde mal voor de inbouw van de af-wasmachine enplaatsing van het meubelpa-neel.
Er zijn geen verdere openingsen voor de ontluchting van de afwasmachine vereist, maar alleen om de watertoevoer- en afvoerslangen het aansluitsnoor door teLATen.
De afwasmachine is voorzien van stelvoetjes voor het instellen van de hoogte.
Tijdens alle werkzaamheden waar bij interne onderdelen toegankelijk zijn, dient de stekkeruit het stopcontact te worden getrokken.
Zorg er bij het op+zijnplaats schuiven van de machine voor dat de watertoevoerslang, de afvoerslang en het aansluitsnoor Niet+zijn geknikt of worden platgedrukt.
Bevestigen aan de aangrenzende keukenmeubelen
De afwasmachine moet beveiligd worden te-gen kantelen.
Zorg er.daarom voor dat het aanrecht waaronder de machine geplaatst worden, stevig bevestigd is aan een vaste structuur (aangrenzende keukenunits, kasten, muur).
Waterpas zetten
Een machine die goed waterpas staat is essentieel voor een goede sluiting en afdichting van de deur.
Als het apparaat goed waterpas staat, raakt de deur aan geen van de kanten de behui- zing.
Als deOUR Niet goed sluit,draai dan de stelvoetjes in of uit totdat de machine perfect waterpas staat.
Aansluiting aan de waterleiding
Aansluiting watertoevoerslang
Dit apparaat kan worden aangesloten aan een heet (max. 60^ ) of koud water kraan. Als de aansluiting is gemaakt op een heet-waterkraan, vermindert het energieverbruik aanzienlijk. Dit hangtECHTER af van hoe het hete water geproduecerd worden. (We raden alternatieve energiebronnen aan die milieuvriendelijkder zijn zoals bijv. zonne- en fotovoltaische panelen en eolische panelen).
Voor het tot stand brengen van de aansluiting zich is de wartelmoer die aan de waterslang van de machine is bevestigd, geschikt voor montage op een leidinguiteinde van 3/4" gasdraad of op een speciale kraan met snel-koppeling zoals de Press-block.
De waterdruk要去 zich binnen de grenzen bevinden zoals vermeld in de "Technische specificaties".Uw waterleidingbedrijf kan u informeren over de gemiddelde leidingwaterdruk in uw omgeving.
De watertoevoerslang mag tijdens het aan sluiten Niet+zijn geknikt, worden platgedrukt of in de knoop zitten.
Het apparaat is voorzien van een vul- en afvoerslang die afhankelijk van de installmentiedoor middel van de sluitmoer maar links ofnaar rechts+kennen worden gedraaid.De sluitmoer要去 goed worden bevestigd om waterlekkage te voorkomen.

Let op! NIET alle modellen afwasmachines haben vul- en afvoerslangen die zich uitgerust met een sluitmoer. In dat geval is de genoemde voorziening nicht möglichk.
Als het apparaat is aangesloten aan neue leidingen of leidingen die langeijd Niet gebruikt,zijn,moet u er een tijdje water door latentlopen voordat u de waterslang bevestigt.

Gebruik GEEN aansluitslangen die erder voor een oude machine zich gebruikt.

Dit apparaat is uitergerust met veiligheids-voorzieningen die voorkomen dat het in de machine gebruikte water terugkeert in het drinkwatersystem. Dit apparaat voldoet aan de van toepassing zijnde regelgeving voor loodgieterswerk.
Watertoevoerslang met veiligheidsklep
Na aansluiting van de dubbelwandige watertoevoerslang bevindt de veiligheidsklep zich bij de kraan. Daarom bevindt de watertoevoerslang zich alleen onder druk als het water loopt. Als de watertoevoerslang dan begint te lekken, sluit de veiligheidsklep het stromende water af.
Pas op als u de watertoevoerslang installeert:
- de elektriciteitskabel voor de verilgheidsklep bevindt zich in de dubbelwandige wa-tertoevoerslang. Dompel de watertoe-voerslang of de verilgheidsklep Niet in wa-ter.
- Ais de watertoeoverslang of de veiligheids-klep beschadigrdaken,trek dan direct de stekkeruihstopcontact.
- Een watertoevoerslang met veiligheidsklep mag alleen worden verrangen door de service-afdeling.

Waarschuwing! Gevaarlijke spanning

Aansluiting waterafvoerslang
Het uiteinde van de afvoerslang kan op de volgende manieren worden aangesloten:
- Aan de gootsteenafvoer, met bevestiging tegen de onderkant van het werkoppervlak. Hiermee worden voorkomen dat gootsteenwater de machine inloopt.
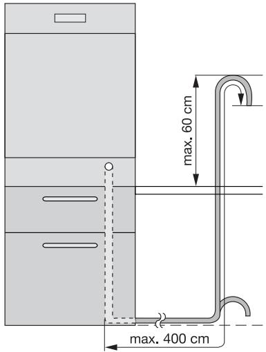
- Aan een standpijp voorzien van een ventilatieopening, minimale binnendiameter 4 cm.
De afvalwateraansluiting moet zich op een hoogte bevinden van 60 cm vanaf de bodem van de afwasmachine.

De afvoerslang kan vanaf de afwasmachine.
haar links ofaar rechts lopen
Verzeker u ervan dat de slang nicht gebogen is of platgedrukt worden, aangezien dit de afvoer van water kan vertragen of in de weg staan.
De stop mag nicht in de afvoer zitten als de machine water aan het afvoeren is, aangezien het water dan weein in de machine terug kan lopen.
De totale lenghte van de afvoerslang, inclusief een eventeel verlengstuk, mag Niet langer zich dan 4 meter. De binnendiameter van het verlengstuk mag Niet kleiner zich dan de diameter van de bijgeleverde slang.
Evenmin mag de binnendiameter van de voor de aansluitingen aan de afvoer gebruekte koppelingenkleiner zich dan de diameter van de bijgeleverde slang.
Bij het aansluiten van de afvoerslang op een sifon onder de goatsteen moet het gehele plastic membraan (A) verwijderd worden. Indien Niet het gehele membraan worden verwijderd zullen zich op den duur voedseldeeltjes verzamelen die de afvoerslang van de afwasmachine konnen verstappen

Onze apparaten worden geleverd met een veiligheidsvoorziening die ervoor zorgt dat vuil water Niet terug kan lopen in de machine. Als uw gootsteenafvoer is voorzien van een geintegreerde terugslagklep kan dit een goede waterafvoer van uw afwasmachine in de weg staan. Wij adviseren u dan ook de terugslag-klep te verwijderen.
Om te voorkomen dat er lekkage optreedt na de installmentie, moet u ervoor zorgen dat de waterkoppelingen stevig vast zitten.
Aansluiting aan het elektriciteitsnet

Waarschuwing! Het apparaat要去 volgens de veiligheidsvoorschriften worden geaard.
Alvorens het apparaat in gebruik te nemen dient u zich ervan te verzekeren dat de nominale spanning en het spanningstype op het typeplatie in overeenstemming�n met de netspanning waarop de machine aangesloten gaat worden. Ook de waarde van de zekering is te vinden op het typeplaatie
Steek de stekker algtd in een correct geinstalleerd schokbestendig stopcontact.
Gebruik geen meervoudige stekkers, verloopstekkers en verlngka
bels. Hierdoor kan brandgevaar door oververhitting ontstaan.
Laat indien nodig de wandcontact-doos van de huisinstallatie verplaatsen. Neem contact op met once service-afdeling als het aansluitsnoor moet worden verrangen.
De stekker moet na de installmentie van het apparaat toegankelijk zijn.
Trek de stekker nooit aan het snoeruit het stopcontact. Trek altijd aande stekker zelf.
De fabrikant kan nicht aansprakelijk gesteld worden als boven genoemde veiligheidsmaatregelen Niet inacht worden genomen.
Milieubescherming
Het symbol op het product of op de verpakking wijst erop dat dit product nicht als huishoudafval mag worden behandeld, maar要去 worden afgeveen bij een verzamelpunt waar elektrische en elektronische apparatuur worden gerecycled. Als uervoort zorgt dat dit product op de juiste manier worden verwijderd, voorkomt u mogelijkke negatieve gevolgen voor mens en milieu die zich zonden+kennen voordoen in geval van verkeerde afvalverwerking. Voor gedetailleerdere informatie over het recyclen van dit product, kurz u contact opnemen met de gemeente, de gemeentereiniging of de winkel waar u het product hebt gekocht.
Verpakkingsmaterialiaal
De verpakkingsmaterialen zijn milieuvriendelijk en+kunnen worden gerecycled. De kunst-
stofonderdelen zichen gemarkeerd, bijv. >PE<, >PS <, enz. Gooi het verpakkingsmateriaal in de waarvoort boedelde container bij uwplaatselijke afvaldienst.
! Waarschuwing! Als u het apparaat afdankt:
trek de stekker uit het stopcontact.
- snijd het aansluitsnoor met de stekker af en gooi het weg.
- Verwijder het slot van de deur. Zo voorkomt u dat kinderen zichzelf insluiten en hun leven in gevaar bredgen.
SimpelGids