PI1530X - Dishwasher PROGRESS - Free user manual and instructions
Find the device manual for free PI1530X PROGRESS in PDF.
Download the instructions for your Dishwasher in PDF format for free! Find your manual PI1530X - PROGRESS and take your electronic device back in hand. On this page are published all the documents necessary for the use of your device. PI1530X by PROGRESS.
USER MANUAL PI1530X PROGRESS
| Safety information | 65 |
| Product description | 66 |
| Control panel | 67 |
| First use | 68 |
| Set the water softener | 68 |
| Use of dishwasher salt | 69 |
| Use of rinse aid | 70 |
| Daily use | 71 |
| Load cutlery and dishes | 72 |
| Use of detergent | 73 |
| Select and start a washing programme | 74 |
C E

Safety information
In the interest of your safety and to ensure the correct use, before installing and first using the appliance, read this user manual carefully, including its hints and warnings. To avoid unnecessary mistakes and accidents, it is important to ensure that all people using the appliance are thoroughly familiar with its operation and safety features. Save these instructions and make sure that they remain with the appliance if it is moved or sold, so that everyone using it through its life will be properly informed on appliance use and safety.
Correct use
- This dishwasher is only intended for washing household utensils suitable for machine washing.
- Do not put any solvents in the dishwasher. This could cause an explosion.
- Knives and other items with sharp points must be loaded in the cutlery basket with their points down or placed in a horizontal position in the upper basket.
- Only use products (detergent, salt and rinse aid) suitable for dishwashers.
- Avoid opening the door whilst the appliance is in operation, hot steam may escape.
- Do not take any dishes out of the dishwasher before the end of the washing cycle.
- After use, isolate the appliance from the power supply and turn off the water supply.
| Unloading the dishwasher | 76 |
| Washing programmes | 76 |
| Care and cleaning | 77 |
| What to do if... | 78 |
| Technical data | 80 |
| Hints for test institutes | 80 |
| Installation | 81 |
| Water connection | 82 |
| Electrical connection | 83 |
| Environment concerns | 84 |
Subject to change without notice
- This product should be serviced only by an authorized service engineer, and only genuine spare parts should be used.
- Under no circumstances should you attempt to repair the machine yourself. Repairs carried out by inexperienced persons could cause injury or serious malfunctioning. Contact your local Service Force Centre. Always insist on genuine spare parts.
General safety
- Dishwasher detergents can cause chemical burns to eyes, mouth and throat. Could endanger life! Comply with the safety instructions of the dishwasher detergent manufacturer.
- Water in the dishwasher is not for drinking purposes. Detergent residue may still be present in your machine.
- Ensure that the door of the dishwasher is always closed when it is not being loaded or unloaded. In this way you will avoid anybody tripping over the open door and hurting themselves.
- Do not sit or stand on the open door.
Child safety
- This appliance is designed to be operated by adults. Do not allow children to use the dishwasher unsupervised.
- Keep all packaging well away from children. There is a risk of suffocation.
- Keep all detergents in a safe place out of children's reach.
- Keep children well away from the dishwasher when the door is open.
Installation
- Check your dishwasher for any transport damage. Never connect a damaged machine. If your dishwasher is damaged contact your supplier.
- All packaging must be removed before use.
- Any electrical and plumbing work required to install this appliance must be carried out by a qualified and competent person.
- For safety reasons it is dangerous to alter the specifications or attempt to modify this product in any way.
- Never use the dishwasher if the electrical supply cable and water hoses are dam
aged; or if the control panel, work top or plinth area are damaged such that the inside of the appliance is freely accessible. Contact your local Service Force centre, in order to avoid hazard.
- All sides of the dishwasher must never be drilled to prevent damage to hydraulic and electric components.

Warning! For electrical and water connection carefully follow the instructions given in the specific paragraphs.
Product description

1 Upper basket
2 Water hardness dial
3 Salt container
4 Detergent dispenser
5Rinse aid dispenser
6 Rating plate
7 Filters
8 Lower spray arm
9 Upper spray arm

1 Programme knob
2 Start/cancel button
3 Delay start button
4 Indicator lights
5 On/Off indicator light
| Indicator lights | |
| Wash | Comes on when the washing and rinsing phases are running. |
| Dry | Comes on when the drying phase is running. |
| →| End | Comes on when the washing programme has ended. It also has added functions of visual signalling as: · the setting of the water softener, · intervention of an alarm due to the malfunction of the machine. |
Programme knob and On/Off indicator light
- The selection of a washing programme occurs by turning the knob clockwise or anticlockwise, until the desired programme symbol, placed on the knob, corresponds with the On/Off indicator light on the control panel.
The On/Off indicator light comes on (position ON)
- To switch off the appliance turn the knob until the marker placed on the knob corresponds with the On/Off indicator light. The On/Off indicator light goes off (position OFF).
i With the knob it is also possible to set the level of the water softener.
First use
Before using your dishwasher for the first time:
- Ensure that the electrical and water connections comply with the installation instructions
- Remove all packaging from inside the appliance
- Set the water softener level
Set the water softener
The dishwasher is equipped with a water softener designed to remove minerals and salts from the water supply, which would have a detrimental or adverse effect on the operation of the appliance.
The higher the content of these minerals and salts, the harder your water is. Water hardness is measured in equivalent scales, German degrees (dH^) French degrees (^) and mmol/l (millimol per litre - international unit for the hardness of water).
- Pour 1 litre of water into the salt container and then fill with dishwasher salt
- Fill the rinse aid dispenser
If you want to use combi detergent tablets such as: '3 in 1', '4 in 1', '5 in 1' etc. follow the instructions given in 'Use of detergent'.
The softener should be adjusted according to the hardness of the water in your area.
Your local Water Authority can advise you on the hardness of the water in your area.
The water softener must be set in two ways: manually, using the water hardness dial and electronically.
| Water hardness | Adjusting the water hardness setting | Use of salt | |||
| °dH | °TH | mmol/l | manually | electronically | |
| 51 - 70 | 91 - 125 | 9,1 - 12,5 | 2 | level 10 | yes |
| 43 - 50 | 76 - 90 | 7,6 - 9,0 | 2 | level 9 | yes |
| 37 - 42 | 65 - 75 | 6,5 - 7,5 | 2 | level 8 | yes |
| 29 - 36 | 51 - 64 | 5,1 - 6,4 | 2 | level 7 | yes |
| 23 - 28 | 40 - 50 | 4,0 - 5,0 | 2 | level 6 | yes |
| 19 - 22 | 33 - 39 | 3,3 - 3,9 | 2 | level 5 | yes |
| 15 - 18 | 26 - 32 | 2,6 - 3,2 | 1 | level 4 | yes |
| 11 - 14 | 19 - 25 | 1,9 - 2,5 | 1 | level 3 | yes |
| 4 - 10 | 7 - 18 | 0,7 - 1,8 | 1 | level 2 | yes |
| < 4 | < 7 | < 0,7 | 1 | level 1 | no |
Setting manually
The dishwasher is factory set at position 2.
- Open the dishwasher door.
- Remove the lower basket from the dishwasher.
- Turn the water hardness dial to position 1 or 2 (see chart).
- Replace the lower basket.

Setting electronically
The dishwasher is factory set at level 5.
-
The dishwasher must be switched off.
-
Keep the start/cancel button pressed and turn the knob clockwise until the first programme symbol on the knob corresponds with the On/Off indicator light.
- Release the start/cancel button. The On/Off indicator light and the start/cancel indicator light start to flash. This means that you have activated the water softener setting function.
- Simultaneously the end of programme indicator light starts to flash.
The current level is indicated by the number of flashes of the indicator light end of programme and a pause of about 3 seconds.
Examples:
5 flashes, pause, 5 flashes, pause, etc... = level 5
6 flashes, pause, 6 flashes, pause, etc... = level 6
- To change the level, press the start/cancel button. Each time the button is pressed the level changes.
Examples:
if the current level is 5, by pressing start/ cancel button once, level 6 is selected. if the current level is 10, by pressing start/ cancel button once, level 1 is selected.
- To memorize the operation, switch off the dishwasher by returning the marker on the knob to the Off position.
Use of dishwasher salt

Warning!
Only use salt specifically designed for use in dishwashers. All other types of salt not specifically designed for use in a dishwasher, especially table salt, will damage the water softener. Only fill with salt just before starting one of the complete washing programmes. This will prevent any grains of salt or salty water, which may have been spilt, remaining on the bottom of the machine for any period of time, which may cause corrosion.
To fill:
- Open the door, remove the lower basket and unscrew the cap of the salt container by turning it anticlockwise.
- Pour 1 litre of water into the container (this is necessary only before filling with salt for the first time).
- Using the funnel provided, pour in the salt until the container is full.

- Replace the cap making sure that there is no trace of salt on the screw thread or on the gasket.
- Replace the cap tightly turning it clockwise until it stops with a click.

Do not worry if water overflows from the unit when filling with salt, this is quite normal.
The salt container will require topping up periodically.

The salt cap has a refill indicator window in the centre. A green float is clearly visible
when there is salt inside the container and almost disappears when the salt has finished reminding you to add salt.
Use of rinse aid
Warning! Only use branded rinse aid for dishwashers.
Never fill the rinse aid dispenser with any other substances (e.g. dishwasher cleaning agent, liquid detergent). This would damage the appliance.
Rinse aid ensures thorough rinsing, and spot and streak free drying.
Rinse aid is automatically added during the last rinse.
- Open the container by pressing the release button (A).

- Add the rinse aid in the container. The maximum level for filling is indicated by "max".

The dispenser holds about 110 ml of rinse aid, which is sufficient for between 16 and 40 washing cycles, depending upon the dosage setting.
- Ensure that the lid is closed after every refill.
Clean up any rinse aid spilt during filling with an absorbent cloth to avoid excess foaming during the next wash.
According to the finish and drying results obtained, adjust the dose of rinse aid by means of the 6 position selector (position 1 minimum dosage, position 6 maximum dosage).
The dose is factory set in position 4.
Increase the dose if there are drops of water or lime spots on the dishes after washing.
Reduce it if there are sticky whitish streaks on the dishes or a bluish film on glassware or knife blades.

Top up the rinse aid when the indicator (B) becomes clear.

Daily use
- Check if it's necessary to refill with dishwasher salt or rinse aid.
- Load cutlery and dishes into the dishwasher.
- Fill with dishwasher detergent.
- Select a wash programme suitable for the cutlery and dishes.
- Start the wash programme.
Helpful hints and tips
Sponges, household cloths and any object that can absorb water may not be washed in the dishwasher.
- Before loading the dishes, you should:
- Remove all left over food and debris.
- Soften remnants of burnt food in pans
-
When loading the dishes and cutlery, please note:
-
Dishes and cutlery must not impede the rotation of the spray arms.
- Load hollow items such as cups, glasses, pans, etc. with the opening downwards so that water cannot collect in the container or a deep base.
Dishes and items of cutlery must not lie inside one another, or cover each other. -
To avoid damage to glasses, they must not touch.
-Lay small objects in the cutlery basket. -
Plastic items and pans with non stick coatings have a tendency to retain water drops; these items will not dry as well as porcelain and steel items.
Light items (plastic bowls etc.) must be loaded in the upper basket and arranged so they do not move.
For washing in the dishwasher the following cutlery and dishes
are not suitable:
- Cutlery with wooden, horn, china or mother-of-pearls handles.
- Plastic items that are not heat resistant.
- Older cutlery with glued parts that are not temperature resistant.
- Bonded cutlery items or dishes.
- Pewter or copper items.
- Lead crystal glass.
- Steel items prone to rusting.
- Wooden platters.
- Items made from synthetics fibres.
are of limited suitability:
- Only wash stoneware in the dishwasher if it is specially marked as being dishwasher-safe by the manufacturer.
- Glazed patterns may fade if machine washed frequently.
Silver and aluminium parts have a tendency to discolour during washing: Residues, e.g. egg white, egg yolk and mustard often cause discolouring and staining on silver. Therefore always clean left-overs from silver immediately, if it is not to be washed straight after use.
Load cutlery and dishes
The lower basket
The lower basket is designed to take saucepan, lids, plates, salad bowls, cutlery etc. Service dishes and large lids should be arranged around the edge of the basket, ensuring that the spray arms can turn freely.


The cutlery basket

Long bladed knives stored in an upright position are a potential hazard. Long and/or sharp items of cutlery such as carving knives must be positioned horizontally in the upper basket. Take
care when loading or unloading sharp items such as knives.
Forks and spoons should be placed in the removable cutlery basket with the handles facing downwards and the knives with their handles facing upwards.

If the handles protrude from the bottom of the basket, obstructing the lower spray arm, load the cutlery with the handles facing upwards. Mix spoons with other cutlery to prevent them from sticking together.
For best results we recommend that you use the cutlery grid provided (if the size and dimensions of the cutlery allow it).

The upper basket
The upper basket is designed for plates (dessert plates, saucers, dinner plates of up to 24 cm in diameter), salad bowls, cups and glasses.
Arrange items on and underneath the cup racks so that water can reach all surfaces.

Glasses with long stems can be placed upside down in the cup racks.
For taller items, the cup racks can be folded upwards.

Use of detergent

Only use detergents specifically designed for use in dishwashers.
Before closing the door, ensured that the spray arms can rotate freely.
Adjusting the height of the upper basket If washing very large plates you can load them in the lower basket after moving the upper basket to the higher position.
| Maximum height of the dishes in the lower basket | |
| With upper basket raised | 33 cm |
| With upper basket lowered | 29 cm |
To move to the higher position proceed as follows:
- Pull out the basket until it stops.
- Carefully lift both sides upwards until the mechanism is engaged and the basket is stable.

To lower the basket to the original position proceed as follows:
- Pull out the basket until it stops.
- Carefully lift both sides upwards and then allow the mechanism to drop back down slowly, keeping hold of it.
i Never lift or lower the basket on one side only
When the basket is in the higher position you will not be able to use the cup racks.
After loading your machine always close the door, as an open door can be a hazard.
Please observe the manufacturer's dosing and storage recommendations as stated on the detergent packaging.

Using no more than the correct amount of detergent contributes to reducing pollution.
Fill with detergent
1. Open the lid.

2. Fill the detergent dispenser (1) with detergent. The marking indicates the dosing levels:
20 = approximately 20g of detergent 30 = approximately 30g of detergent.

3. All programmes with prewash need an additional detergent dose (5/10 g) that must be placed in the prewash detergent chamber (2).
This detergent will be used during the prewash phase.
When using detergent tablets; place the tablet in compartment (1)

4. Close the lid and press until it locks in place.
Detergent tablets from different manufacturers dissolve at different rates. For this reason, some detergent tablets do not attain their full cleaning power during short washing programmes. Therefore, please use long washing programmes when using detergent tablets, to ensure the complete removal of detergent residuals.
Use of combi detergent tablets
These products are detergents with a combined cleaning, rinsing and salt functions. They can also contain other different agents depending on which kind of tablets you choose ('3 in 1', '4 in 1', '5 in 1' etc.).
- Check whether these detergents are suitable for your water hardness. See the manufacturers instructions.
The refilling of the salt container and the rinse aid dispenser are no longer necessary. In this case the rinse aid indicator light will always remain on when the machine is switched on.
- Select the lowest setting for water hardness and rinse aid dosage.
If the drying results are not satisfactory we recommend that you:
- Fill up the rinse aid dispenser with rinse aid.
- Set the rinse aid dosage to position 2. If you decide to turn back to the use of standard detergent system we advise that you:
-
Fill up the dispensers for salt and rinse aid again.
-
Adjust the water hardness setting to the highest setting and perform 1 normal washing programme without loading any dishes.
-
Adjust the water hardness setting according to the hardness of the water in your area.
- Adjust the rinse aid dosage.
Select and start a washing programme
- Check that the baskets have been loaded correctly and that the spray arms are free to rotate
- Check that the water tap is opened
- Close the dishwasher door.
-
Turn the knob until the desired programme symbol corresponds with On/Off indicator light on the control panel. (see "Washing programmes" chart).
-
The On/Off indicator light comes on.
-
The indicator lights of the phases foreseen for the programme start flashing.
-
Press the start/cancel button. The programme starts automatically and the start/cancel indicator light comes on.
- As soon as the programme starts, the phase indicator lights go off except for the indicator light for the phase in progress which will remain on with a static light.
During the running of the programme, it is not possible to change the selection made by turning the knob in correspondence of another programme or the Off position. If you want to change the running programme you must cancel the selection made (see "Cancel a washing programme in progress").
The washing programme will begin only after having pressed the start/cancel button. Until that moment it is possible to modify the selection made.
Select and start a washing programme with delay start
Allows the start of the washing programme to be delayed by 3 hours.
- Select a washing programme.
- Press the delay start button. The delay start indicator light comes on.
- Press the start/cancel button, the countdown of the delay start begins automatically. The phase indicator lights go off.
Once the delay start countdown has elapsed the washing programme will automatically start.
- Delay start indicator light goes off.
- Indicator light of the running phase comes on.
Opening the door will interrupt the countdown. Once the door is closed the countdown will continue from the point at which it was interrupted
Cancel a delay start in progress
-
Press the start/cancel button for about 5 seconds.
-
Start/cancel and delay start indicator lights go off.
-
Phase indicator lights start flashing.
-
Press start/cancel button to start the selected washing programme.
Warning! Interrupt or cancel a washing programme in progress ONLY if it's absolutely necessary. Attention! Hot steam may escape when the door is opened. Open the door carefully.
Interrupt a washing programme in progress
Open the dishwasher door; the programme will stop. Close the door; the programme will start from the point at which it was interrupted.
Cancel a washing programme in progress
- Press the start/cancel button for about 5 seconds. The start/cancel indicator light goes off and the phase indicator lights are flashing. The running programme has been cancelled and it is now possible to set a new washing programme or switch off the machine. If a new washing programme is to be selected, check that there is detergent in the detergent dispenser.
End of the washing programme
- The dishwasher will automatically stop.
-
The End indicator light comes on.
-
Switch off the dishwasher by returning the programme knob to the Off position. The On/Off indicator light goes off.
Unloading the dishwasher
- Hot dishes are sensitive to knocks. The dishes should therefore be allowed to cool down before removing from the appliance.
- Empty the lower basket first and then the upper one; this will avoid water dripping from the upper basket onto the dishes in the lower one.
- Water may appear on the sides and the door of the dishwasher as the stainless
steel will eventually become cooler than the dishes.
When the washing programme has finished, it is recommended that the dishwasher is unplugged and the water tap turned off.
Washing programmes
| Programme | Degree of soil | Type of load | Programme description |
| 70° | Heavy soil | Crockery, cutlery, pots and pans | Prewash Main wash up to 70°C 2 intermediate rinses Final rinse Drying |
| 65° | Normal soil | Crockery, cutlery, pots and pans | Prewash Main wash up to 65°C 2 intermediate rinses Final rinse Drying |
| 65° 1) | Normal or light soil | Crockery and cutlery | Main wash up to 65°C Final rinse |
| 50° 2) | Normal soil | Crockery and cutlery | Prewash Main wash up to 50°C 1 intermediate rinse Final rinse Drying |
| Any | Partial load (to be completed later in the day). | 1 cold rinse (to avoid food scraps from sticking) This programme does not require the use of detergent. | |
1) Ideal for washing a partially loaded dishwasher. This is the perfect daily programme, made to meet the needs of a family of 4 persons who only wish to load breakfast and dinner crockery and cutlery.
2) Test programme for test institutes
| Programme | Consumption values | ||
| Programme duration (in minutes) | Energy consumption (in kWh) | Water consumption (in litres) | |
| 70° | 85-95 | 1,8-2,0 | 22-25 |
| 65° | 105 - 115 | 1,5-1,7 | 23-25 |
| 65° | 30 | 0,9 | 9 |
| 50° 1) | 140 | 1,05 | 16 |
| ※ | 12 | 0,1 | 5 |
1) Test programme for test institutes
The consumption values are intended as a guide and depends on the pressure and the temperature of the water and al
so by the variations of the power supply and the amount of dishes.
Care and cleaning
Cleaning the filters
The filters must be checked and cleaned from time to time. Dirty filters will degrade the washing result.
Warning! Before cleaning the filters ensure that the machine is switched off.
- Open the door, remove the lower basket.
- The dishwasher filter system comprises a coarse filter (A), a microfilter (B) and a flat filter. Unlock the filter system using the handle on the microfilter.
Turn the handle about 1/4 a turn anticlockwise and remove the filter system


- Take hold of the coarse filter (A) by the handle with the hole and remove from the microfilter (B).
- Clean all filters thoroughly under running water.
- Remove the flat filter from the base of the washing compartment and clean both faces thoroughly.
- Put the flat filter back in the base of the washing compartment and ensure that it fits perfectly under the two guides (C).

3.
- Place the coarse filter (A) in the microfilter (B) and press together.
- Put the filter combination in place and lock by turning the handle clockwise to the stop. During this process ensure that the flat filter does not protrude above the base of the washing compartment.

NEVER use the dishwasher without filters. Incorrect repositioning and fitting of the filters will produce poor washing results and will result in damage to the appliance.
NEVER try to remove the spray arms.
If residues of soil have clogged the holes in the spray arms, remove the debris with a cocktail stick.
External cleaning
Clean the external surfaces of the machine and control panel with a damp soft cloth. If necessary use only neutral detergents. Never use abrasive products, scouring pads or solvent (acetone, trichloroethylene etc...).
What to do if...
The dishwasher will not start or stops during operation.
Certain problems are due to the lack of simple maintenance or oversights, which can be solved with the help of the indications de
Internal cleaning
Ensure that the seals around the door, the detergent and rinse aid dispensers are cleaned regularly with a damp cloth.
We recommend every 3 months you run the wash programme for heavy soiled dishes using detergent but without dishes.
Prolonged periods of non-operation
If you are not using the machine for a prolonged period of time you are advised to:
- Unplug the appliance and then turn off the water.
- Leave the door ajar to prevent the formation of any unpleasant smells.
- Leave the inside of the machine clean.
Frost precautions
Avoid placing the machine in a location where the temperature is below 0^ . If this is unavoidable, empty the machine, close the appliance door, disconnect the water inlet pipe and empty it.
Moving the machine
If you have to move the machine (moving house etc...):
- Unplug it.
- Turn the water tap off.
- Remove the water inlet and discharge hoses.
- Pull the machine out together with the hoses.
Avoid over tilting the machine during transportation.
scribed in the chart, without calling out an engineer.
Switch off the dishwasher, open the door and carry out the following suggested corrective actions.
| Fault code and malfunction | Possible cause and solution |
| ·continuous flashing of the start/cancel indicator light ·1 flash of the End indicator light The dishwasher does not fill with water | ·The water tap is blocked or furred with lime-scale Clean the water tap ·The water tap is turned off Turn the water tap on ·The filter (where present) in the threaded hose fitting at the water inlet valve is blocked Clean the filter in the threaded hose ·The water inlet hose has not been correctly laid or it is bent or squashed Check the water inlet hose connection |
| ·continuous flashing of the start/cancel indicator light ·2 flashes of the End indicator light The dishwasher will not drain | ·The sink spigot is blocked Clean out the sink spigot ·The water drain hose has not been correctly laid or it is bent or squashed Check the water drain hose connection |
| ·continuous flashing of the start/cancel indicator light ·3 flashes of the End indicator light Anti-flood device is activated | Close the water tap and contact your local Service Force Centre. |
| Malfunction | Possible cause and solution |
| The programme does not start | ·The dishwasher door has not been properly closed. Close the door. ·The main plug is not plugged in. Insert the main plug ·The fuse has blown out in the household fuse box. Replace the fuse. |
| Once these checks have been carried out switch on the appliance. The programme will continue from the point at which it was interrupted. If the malfunction or fault code reappears contact your local Service Force Centre. For other fault codes not described in the above chart, please contact your local Service Force Centre. Contact your local Service Force Centre, quoting the model (Mod.), product number (PNC) and serial number (S.N.). | This information can be found on the rating plate located on the side of the dishwasher door. So that you always have these numbers at hand, we recommend you to make a note of them here: Mod.: PNC: S.N.: |
| The wash results are not satisfactory | |
| The dishes are not clean | ·The wrong programme has been selected. ·The dishes are arranged in such a way as to stop water reaching all parts of a surface. The baskets must not be overloaded. ·The spray arms do not rotate freely due to incorrect arrangement of the load. ·The filters in the base of the washing compartment are dirty or incorrectly positioned. ·Too little or no detergent has been used. ·Where there are limescales deposits on the dishes; the salt container is empty or incorrect level of the water softener has been set. ·The drain hose connection is not correct. ·The salt container cap is not properly closed. |
| The dishes are wet and dull | ·Rinse aid was not used. ·The rinse aid dispenser is empty. |
| There are streaks, milky spots or a bluish coating on glasses and dishes | ·Decrease rinse aid dosage. |
| Water drops have dried onto glasses and dishes | ·Increase rinse aid dosage. ·The detergent may be the cause. Contact the detergent manufacturer consumer care line. |
If after all these checks, the problem persists, contact your local Service Force Centre.
Technical data
| Dimensions | Width | 59,6 cm |
| Height | 81,8 - 87,8 cm | |
| Depth | 57,5 cm | |
| Electrical connection - Voltage - Overall power - Fuse | Information on the electrical connection is given on the rating plate on the inner edge of the dishwasher door. | |
| Water supply pressure | Minimum | 0,5 bar (0,05 MPa) |
| Maximum | 8 bar (0,8 MPa) | |
| Capacity | 12 place settings | |
| Weight | 39,5 kg | |
Hints for test institutes
Testing in accordance with EN 60704 must be carried out with appliance fully loaded and using the test programme (refer to 'Consumption values').
Test in accordance with EN 50242 must be carried out when the salt container and rinse
aid dispenser have been filled with salt and rinse aid respectively and using the test programme (refer to 'Consumption values').
| Full load: 12 standard place settings | |
| Amount of detergent required: | 5 g + 25 g (Type B) |
| Rinse aid setting | position 4 (Type III) |

Arrangement upper basket

Cup racks: position A

Arrangement lower basket

Arrangement cutlery basket
Installation

Warning! Any electrical and/or plumbing work required to install this appliance should be carried out by a qualified electrician and/or plumber or competent person.
Remove all packaging before positioning the machine.
If possible, position the machine next to a water tap and a drain.
This dishwasher is designed to be fitted under a kitchen counter or work surface.
Attention! Carefully follow the instructions on the enclosed template for building in the dishwasher and fitting the furniture panel. No further openings for the venting of the dishwasher are required, but only to let the
water fill and drain hose and power supply cable pass through.
The dishwasher incorporates adjustable feet to allow the adjustment of the height.
During all operations that involve accessibility to internal components the dishwasher has to be unplugged.
When inserting the machine, ensure that the water inlet hose, the drain hose and the supply cable are not kinked or squashed.
Fixing to the adjacent units
The dishwasher must be secured against tilting.
Therefore make sure that the counter it is fixed under, is suitably secured to a fixed structure (adjacent kitchen units cabinets, wall).
Levelling
Good levelling is essential for correct closure and sealing of the door.
When the appliance is correctly levelled, the door will not catch on either side of the cabinet.
Water connection
Water inlet connection
This appliance can be connected to either a hot (max. 60^ ) or cold water supply.
With a hot water supply you can have a significant reduction of energy consumption.
This however, depends on how the hot water is produced. (We suggest alternative sources of energy that are more environmentally friendly as e.g. solar or photovoltaic panels and aeolian).
For making the connection itself, the coupling nut fitted to the appliance water inlet hose is designed to screw onto a 3 / 4'' thread spout or to a purpose made quick-coupling tap such as the Press-block.
The water pressure must be within the limits given in the 'Technical data'. Your local Water Authority will advise you on the average mains pressure in your area.
The water inlet hose must not be kinked, crushed, or entangled when it is being connected.
The appliance features inlet and drain hoses which can be turned either to the left or the right to suit the installation by means of the locknut. The locknut must be correctly fitted to avoid water leaks.
i Attention! NOT all dishwasher models of have inlet and drain hoses provided with a locknut. In this case, this facility is not available.
If the appliance is connected to new pipes or pipes which have not been used for a long time, you should run the water for a few minutes before connecting the inlet hose.
DO NOT use connection hoses which have previously been used on an old appliance.
This appliance has been fitted with safety features which will prevent the water used in the appliance from returning back into the drinking water system. This
If the door does not close correctly, loosen or tighten the adjustable feet until the machine is perfectly level.
appliance complies with the applicable plumbing regulations.
Water inlet hose with safety valve
After connecting the double-walled water inlet hose, the safety valve is next to the tap.
Therefore the water inlet hose is only under pressure while the water is running. If the water inlet hose starts to leak during this operation, the safety valve cuts off the running water.
Please take care when installing the water inlet hose:
- The electrical cable for the safety valve is in the double-walled water inlet hose. Do not immerse the water inlet hose or the safety valve in water.
- If water inlet hose or the safety valve is damaged, remove the mains plug immediately.
- A water inlet hose with safety valve must only be replaced by the Service Force Centre.
Warning! Dangerous voltage

Water drain connection
The end of the drain hose can be connected in the following ways:
- To the sink outlet spigot, securing it to the underside of the work surface. This will prevent waste water from the sink running into the machine.
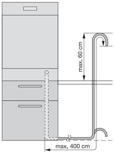
- To a stand pipe provided with venthole, minimum internal diameter 4 cm.
The waste connection must be at a maximum height of 60~cm from the bottom of the dishwasher.

The drain hose can face either to the right or left of the dishwasher
Ensure the drain hose is not bent or squashed as this could prevent or slow down the discharge of water.
The sink plug must not be in place when the machine is draining as this could cause the water to syphon back into the machine.
The total length of the drain hose, including any extension you might add, must be no longer than 4 metres. The internal diameter
Electrical connection

Warning! Safety standards require the appliance to be earthed.
Prior to using the appliance for the first time, ensure that the rated voltage and type of supply on the rating plate match that of the supply where the appliance is to be installed. The fuse rating is also to be found on the rating plate.
Always plug the mains plug into a correctly installed shockproof socket.
Multi-way plugs, connectors and extension cables must not be used.
This could constitute a fire hazard through overheating.
of the extension hose must be no smaller than the diameter of the hose provided.
Likewise the internal diameter of the couplings used for connections to the waste outlet must be no smaller than the diameter of the hose provided.
When connecting the drain hose to an under sink trap spigot, the entire plastic membrane (A) must be removed. Failure to remove all the membrane will result in food particles building up over time eventually blocking the dishwasher drain hose spigot

Our appliances are supplied with a security device to protect against the return of dirty water back into the machine. If the spigot of your sink has a "no return valve" incorporated this can prevent the correct draining of your dishwasher. We therefore advise you to remove it.
To avoid water leakage after installation make sure that the water couplings are tight.
If necessary, have the domestic wiring system socket replaced. In case that the electrical cable has to be replaced, contact your local Service Force centre.
The plug must be accessible after the appliance has been installed. Never unplug the appliance by pulling on the cable. Always pull the plug.
The manufacturer accepts no liability for failure to observe the above safety precautions.
Environment concerns
The symbol on the product or on its packaging indicates that this product may not be treated as household waste. Instead it should be taken to the appropriate collection point for the recycling of electrical and electronic equipment. By ensuring this product is disposed of correctly, you will help prevent potential negative consequences for the environment and human health, which could otherwise be caused by inappropriate waste handling of this product. For more detailed information about recycling of this product, please contact your local council, your household waste disposal service or the shop where you purchased the product.
Packaging material
The packaging materials are environmentally friendly and can be recycled. The plastic
components are identified by markings, e.g. >PE< , >PS< , etc. Please dispose of the packaging materials in the appropriate container at the community waste disposal facilities.
Warning! When a unit is no longer being used:
- Pull the plug out of the socket.
- Cut off the cable and plug and dispose of them.
- Dispose of the door catch. This prevents children from trapping themselves inside and endangering their lives.
EasyManual