PI1310X - Vaatwassers PROGRESS - Gratis gebruiksaanwijzing en handleiding
Vind de handleiding van het apparaat gratis PI1310X PROGRESS in PDF-formaat.
Download de handleiding voor uw Vaatwassers in PDF-formaat gratis! Vind uw handleiding PI1310X - PROGRESS en neem uw elektronisch apparaat weer in handen. Op deze pagina staan alle documenten die nodig zijn voor het gebruik van uw apparaat. PI1310X van het merk PROGRESS.
GEBRUIKSAANWIJZING PI1310X PROGRESS
| Veiligheidsinformationatie | 22 |
| Productbeschrijving | 23 |
| Bedieningspaneel | 24 |
| Het eerste gebruik | 25 |
| De waterontharder instellen | 25 |
| Gebruuk van zout voor de vaatwasser | 26 |
| Gebruuk van glansspoelmiddel | 27 |
| Dagelijks gebruik | 28 |
| De vaatwasser inruimen | 29 |
| Gebruuk van vaatwasmiddelen | 31 |
| Een afwasprogramma selecteren en starten | 32 |
C

Veiligheidsinformatie
In het belang van uw verilgheid en om een correct gebruik te kunnen waarborgen is het van belang dat u, alvorens het apparaat te installereren en in gebruik te nemen, deze gebruiksaanwijzing, inclusief de tips en waarschuwingen, grondig doorleest. Om onnodige vergissingen en ongevalten te voorkomen is het belangrijk ervoor te zorgen dat alle mensen die het apparaat gebruiken, volledig bekend zich met de werkung ervan en de verilgheidsvoorzieningen. Bewaar deze instructies en zorg ervoor dat zich bij het apparaat blijven als het worden verplaatst of verkocht, zodateen die het apparaat gedurende zich hele levensduur gebruikt, maar behoren is geinformeerd over het gebruik en de verilgheid van het apparaat.
Correct gebruik
- Deze afwasmachine is uitsluitend bedoeld voor het reinigen van huishoudelijkke gebruiksvoorwerpen die geschikt zijn voor reiniging in een afwasmachine.
- Doe geen oplosmiddelen in de afwasmachine. Dit kan een explosie veroorzaken.
- Messen en andere voorwerpen met scherpe punten要去en met de punt waar be-neden in de bestekmand worden ge-plaintst of horizontaal in het bovenrek worden gelegd.
- Gebruik alleen producten (afwasmiddel, zout en glansmiddel) die geschikt zijn voor afwasmachines.
| De vaatwasser uitruimen | 33 |
| Afwasprogramma's | 33 |
| Onderhoud en reiniging | 34 |
| Problemen oplossen | 35 |
| Technische gegevens | 37 |
| Aanwijzingen voor testinstituten | 37 |
| Montage | 38 |
| Aansluiting aan de waterleiding | 39 |
| Aansluiting aan het elektriciteit'snet | 40 |
| Milieubeschemering | 41 |
Wijzigingen voorbehouden
- Open de deur nicht als het apparaat in werkking is; er kan hete stoom ontsnappen.
- Neem geen serviesgoed uit de afwasmachine voordat het afwasprogramma is afgelopen.
- Trek na het gebruik de stekker uit het stopcontact en draai de waterkraan zich.
- Dit product mag alleen worden onderhoven door een daartoe bevoegde service-monteur en er dient alleen gebruik te worden gemaakt van originele reserveonder-delen.
- Onder geen voorwaarde要去 proberen de afwasmachine zich te repareren. Reparaties die worden uitgevoerd door onervaren Personen veroorzaken letsel of storingen. Neem contact op met once serviceafdeling. Sta te allen tjnde op het gebruik van originele reserveonderdelen.
Algemene veiligheid
- Afwasmiddelen konnen chemische brandwonden veroorzaken aan de ogen, de mond en de keel. Deze konnen levensbedreigend zich! Houd u aan de veiligheids-instructies van de afwasmiddelfabrikant.
- Het water in uw afwasmachine is geen drinkwater. Resten van afwasmiddel kunnen nog in de machine aanwezigহn.
- Zorg ervoor dat de deur van de afwasmachine altijd gesloten is als het apparaat nicht worden in- of uitgeruimd. Zo voorkomt u dat iemand over de open deur struikelt en zich bezeert.
- Ga Niet op de opener deur zitten of staan.
Deveiligheid van kinderen
- Dit apparaat is bestemd voor gebruik door volwassenen. Laat kinderen de afwasmachine Niet zonder toezicht gebruiken.
- Houd alle verpakkingsmaterialaal buiten het bereik van kinderen. Gevaar voor verstikking.
- Bewaar alle afwasmiddelen op een veilige plaats buiten het bereik van kinderen.
- Houd kinderen uit de buurt van de afwasmachine als de deur open staat.
Installatie
- Controller uw afwasmachine op eventuele transportschade. Sluit nooit een beschadigde machine aan. Neem contact op met uw leverancier als de machine beschadigd is.
- Alle verpakkingsmaterialen要去en verwijderd worden voordat u het apparaat in gebruik neemt.
- Alle elektrische en loodgieterswerkzaam-heden die nodig zich voor de installmentie van dit apparaat要去en worden uitgevoerd
door een gekwalificeerd en competent person.
- Om veiligheidsredenen is het gevaarlijk wijzigingen aan te brengen in de specificaties of dit product op enigerlei wijze te modificeren.
- Gebruik de afwasmachine nooit als het aansluitsnoor of de waterslangen beschadigd+zijn;of als het bedieningspaneel,het werkblad of de plint zodanig beschadigd zichdat het inwendige van de machine vrij toegankelijk is.Raadpleeg once serviceafdeling om gevaarlijke situatuies te voorkomen.
- In de behuizing van de afwasmachine mo- gen geen gaten worden geboard ter voorkoming van schade aan hydraulische en elektrische onderdelen.
! Waarschuwing! Voor de aansluiting van elektricitie en water dienen de instructies in de desbetreffende paragrafen nauwgezet te worden opgevolgd.
Productbeschrijving

1 Bovenrek
Aanpassen van de instelling van de waterhardheid
3 Zoutreservoir
4 Afwasmiddeldoseerbakje
5 Glansmiddeldoseerbakje
6 Typeplaatje
7 Filters
8 Onderste sproeiarm
9 Bovenste sproeiarm
Bedieningspaneel

1 Programmaschakelaar
2 Toets start/annuleren
3 Controleampjes
4 Controleampje aan/uit
Controleampjes
| Wassen | Gaat branden als er een afwas- en spoelfase be-zig+zijn. |
| Drogen | Gaat branden als er een droogfase bezig is. |
| →Einde | Gaat branden als een afwasprogramma is afge-lopen. Heeft ook andere visuèle signaleringsfunc-ties zoals: · het instellen van de waterontharder, · melding van een alarm als gevolg van storing van de machine. |
programmaschakelaar en controlelampje aan/uit
- Een afwasprogramma kiest u door de programmaschakelaar met de klok mee of te gen de klok in te draaien, totdat het gewenste programmasymbool op de schakelaar overeenkomt met het controelampje aan/uit op het bedieningspaneel. Het controelampje aan/uit.gaat branden (stand AAN)
Het eerste gebruik
Voordat u uw afwasmachine in gebruik neemt:
- Zorg ervoor dat de elektrische aansluiting en de wateraansluiting voldoen aan de installmentatie-instructies
- Verwijder alle verpakkingsmaterialen uithet inwendige van de machine
- De waterontharder instellen
- Giet 1 liter water in het zoutreservoir en vul het reservoir vermolgens met regenerer-zout
De waterontharder instellen
De afwasmachine is uitgerust met een waterontharder die is ontworpen om mineralen en zouten uit het leidingwater te verwijderen die een schadelijk of negatief effect zouden hebben op de werking van het apparaat. Hoe hoger het gehalte van deze mineralen en zouten is, des te harder is het water. De hardheid van water wordt gemeten in equivalente eenheden, Duitse hardheid (°dH), Franse hardheid (°TH) en mmol/l (millimol per liter - internationale eenhid voor de hardheid van water).
- Om het apparaat uit te schakelen draait u de programmaschakelaar totdat het teken op de schakelaar overeenkomt met het controelampje aan/uit. Het controelampje aan/uit staat UIT).
i Met behulp van de schakelaar kan ook de waterontharder worden ingesteld.
Vul het glansmiddeldoseerbakje
1 Als u gebruik wilt make van gecombineerde afwasmiddelblokjes zoals:"3 in 1", "4 in 1", "5 in 1" enz... volg de instructies in "Gebruik van afwasmiddel".
De ontharder moet worden ingesteld in overeenstemming met de hardheid van het water in uw omgeving. Uw waterleidingbedrijf kan u informeren over de hardheid van het water in uw woonplaats.
i De waterontharder moet op beiden manieren worden ingesteld: handmatig, met behulp van de waterhardheidstoets en elektronisch.
| Waterhardheid | Aanpassen van de waterhardheidsin-stelling | Ge-bruik van zout | |||
| °dH | °TH | mmol/l | handmatig | elektronisch | |
| 51 - 70 | 91 - 125 | 9,1 - 12,5 | 2 | niveau 10 | ja |
| 43 - 50 | 76 - 90 | 7,6 - 9,0 | 2 | niveau 9 | ja |
| 37 - 42 | 65 - 75 | 6,5 - 7,5 | 2 | niveau 8 | ja |
| 29 - 36 | 51 - 64 | 5,1 - 6,4 | 2 | niveau 7 | ja |
| 23 - 28 | 40 - 50 | 4,0 - 5,0 | 2 | niveau 6 | ja |
| 19 - 22 | 33 - 39 | 3,3 - 3,9 | 2 | niveau 5 | ja |
| 15 - 18 | 26 - 32 | 2,6 - 3,2 | 1 | niveau 4 | ja |
| 11 - 14 | 19 - 25 | 1,9 - 2,5 | 1 | niveau 3 | ja |
| 4 - 10 | 7 - 18 | 0,7 - 1,8 | 1 | niveau 2 | ja |
| < 4 | < 7 | < 0,7 | 1 | niveau 1 | nee |
Handmatig instellen
i De afwasmachine wordt in de fabriek ingesteld op stand 2.
- Open de deur van de afwasmachine.
- Neem het onderrekuit de afwasmachine.
- Zet de waterhardheidstoets in stand 1 of 2 (zie tabel).
- Plaats het onderrek terug.

De afwasmachine is in de fabriek ingesteld op stand 5.
- De afwasmachine要去uitgeschakeld zichn.
- Houd de toets start/annuleren ingedrukt en draai de schakelaar totdat het eerste programmasymbool op de schakelaar overeenkomt met het controleampje aan/uit.
- Laat de toets start/annuleren los. Het lampje aan/uit en het controelampje
Gebruik van zout voor de vaatwasser

Waarschuwing!
Gebruik alleen zout dat specifiek is bestemd voor gebruik in afwasmachines. Alle andere soorten zout die Niet specifiek zijn ontwikkeld voor gebruik in een afwasmachine, in het bijzonder tafelzout, zullen schade toebrengen aan de waterontharder. Vul alleen zout bij vlak voordat u een van de volledige afwasprogramma's gaat starten. Hiermee worden voorkomen dat gemorste zoutkorrels of zout water enigeijd op de bodem van de machi
start/annuleren gaan knipperen. Dit be-tekent dat u de functie waterontharder geactiveerd heeft.
- Tegelijktijd begint het controelampje 'einde programme' te knipperen.
Het huidigeiveau wordt aangegeven door het aantal keren dat het controlelampje einde programma knippert en een onderbreking van ca. 3 seconden.
Voorbeelden:
5 keer knipperen, pauze, 5 keer knipperen, pauze, enz... = niveau 5
6 keer knipperen, pauze, 6 keer knipperen, pauze, enz... = niveau 6
- Druk op de toets start/annuleren om het niveau te wijzigen. Elke keer dat deze toets worden ingedrukt, worden het niveau gewijzigd.
Voorbeelden:
als het huidigeiveau 5 is, wordt door toets start/annuleren een keer in te drukkeniveau 6 geselecteerd.
als het huidige niveau 10 is, wordt door toets start/annuleren een keer in te drukken, niveau 1 geseleerd.
- Schakel om de instelling in het geheugen op te slaan de afwasmachine uit door het teken op de schakelaar weein de stand Uit te zetten.
ne awhileen, hetgeen corrosie kan veroorzaken.
Vullen:
- Open de deur, neem het onderrekuit de machine en schroef het deksel van het zoutreservoir los door het gegen de wijzers van de klok in te draaien.
-
Giet 1 liter water in het reservoir (dit is alleen nodig als de machine de eerste keer met zout worden gevuld).
-
Giet met behulp van de bijgeleverde trechter zout in het reservoir totdat het vol is.

- Plaats het deksel terug en zorg er voor dat er geen zoutresten achefterblijven op de schroefdraad of op de pakking.
- Draai het deksel goed vast door het met de klok mee te draaien tot de aanslag (u hoor een klik).
Maak u geen zorgen als er bij het vullen met zout water UIT de vulopening stroomt, dit is heel normal.
Het zoutreservoir moet regelmatig worden bijgevuld.

De zoutdeksel heeft in het midden een indicatievenster voor het bijvullen van zout. Er is een groene vlotter zichtaar als er zout in het reservoir aanwezig is en deze vlotter is bijna Niet更是 zichttaar als het zout op is. Deze vlotter is bedoeld om u eraan te herinneren dat er zout bijgevuld要去 worden.
Gebruik van glansspoelmiddel

Waarschuwing! Gebruik alleen merkglansmiddelen voor afwasmachines.
Vul het glansmiddeldoseerbakje nooit met andere middelen (bijv. afwasmachinerinigingsmiddel, vloeibaar afwasmiddel). Dit zou het apparaat beschadenig.

Glansmiddel zorgtervoordet het serviesgoed grondig wordt gespoeld en vrij van vlekken en strepen opdroogt.
Glansmiddel worden tijdens de laatste keer spoelen automatisch gedoseerd.
- Open het reservoir door op de ontgren-delknap (A) te drukken.

- Giet glansmiddel in het reservoir. Het maximale vulniveau worden aangegeven door "max".

Het doseerbakje bevat ongeveer 110 ml glansmiddel, voldoende voor+tussen de 16 en 40 afwascyli, afhankelijk van de ingestelde dosering.
- Zorg ervoor dat het deksel na het vullen goed worden gesloten.

Neem eventuele bij het vullen gemorst glansmiddel op met een absorberende doek om de volgende koer als u een programme draaat buitensporige schuimvorming te voorkomen.
Stel de dosering van het glansmiddel in overeenstemming met de bereekte eind- en droogresultaten in met behulp van de 6-standingschakelaar (stand 1 minimumdosering, stand 6 maximumdosering).
De dosering worden in de fabriek ingesteld op stand 4.
Verhoog de dosering als er na afloop van het programme waterdruppels of kalkvlekken op het serviesgoed achechterblijven.
Verlaag de dosering als er kleverige witachtige strepen op het serviesgoed achechterblijven of een blauwzweem op glaswerk of op de lemmeten van messen.

Vul glansmiddel bij als indicator (B) doorzichtig worden.

Dagelijks gebruik
- Controller of het nodig is regenererzout of glansmiddel bij te vullen.
- Plaats bestek en serviesgoed in de afwasmachine.
- Afwasmiddel doseren.
- Selecteer een programma dat geschikt is voor het bestek en het serviesgoed.
- Start het afwasprogramma.
Handige aanwijzingen en tips
Sponzen, huishoudtextiel en voorwerpen die water+knen absorberenogeniet in de afwasmachine worden gereinigd.
-
Voordat u het serviesgoed in de machine plaatst, dient u:
-
alle voedselresten en rommel te verwijderen.
-
Laat aangebakken etensresten in pannen eerst inweken
-
Let bij hetplaatsen van serviesgoed en bestek op de volgende punten:
-
Borden en bestek mogen de draaibeweging van de spreiarmen Niet belemmeren.
- Plaats holle voorwerpen zoals kopjes, glazen, pannen, enz. met de opening waar beneden zodate ze Niet vol water lopen.
-
Borden en bestek mogen nicht in elkaar liggen of elkaar bedekken.
Zorg er ter Voorkoming van schade aan glaswerk voor dat glazen elkaar Niet raken. -
Legkleine voorwerpen in de bestekmand.
-
Voorwerpen van kunststof en pannen met teflon hebben de neiging waterdruppels vast te houden; deze voorwerpen drogen Niet zo goed als voorwerpen van porselein en staal.
- Lichte voorwerpen (kunststoffbakjes enz.)要去en in het bovenrek worden geplaatst en zo worden neergezet dat ze Niet kannen bewegen.
Het volgende serviesgoed en bestek is voor reiniging in de afwasmachine
niet geschikt:
bestek met houten, hoornen, porseleinen of pa-relmoeren handgrepen.
- voorwerpen van kunststof die nicht hittebestendigল.
- ouder bestek met gelijmde onderdelen die nicht hittebestendig zich.
- gelijmd bestek of gelijmde borden.
- tinner of koperen voorwerpen.
- glaswerk van loodkristal.
gemakkelijk roestende stalen voorwerpen.
- houten schotels.
- voorwerpen gemaakt van synthetische verzels.
in beperkte mate geschikt:
- Reinig aardewerk alleen in de afwasmachine als het door de fabrikant specifiek worden gekenmerkt als afwasmachinebestendig.
- Geglazuurde dessins können verragen als ze vaak in de afwasmachine gewassen worden.
- Zilveren en aluminium hebden de neiging om tijdens het reinigen te verkleuren: Etensresten, bijv. eiwit, eierdooier en mosterd, veorozaken op zoiver vaak verkleuring en vlekken. Verwijder etensresten dan ook onmiddelijk van zilver, als dit Niet meteen na gebruik worden afgewassen.
De vaatwasser inruimen
Het onderrek
Het onderrek is geschikt voor steelpannen, deksels, borden, slakommen, bestek, enz. Dekschalen en grote deksels要去en langs de rand van het rek worden gerangschikt om te garanderen dat de sproeiarmen vrij kunnen draaien.


De bestekmand
Rechtop geplaatste lange messen zijn een potentieel gevaar. Lang en/of scherp snijgereedschap zoals bijvoorbeeld vleesmessen要去en horizontaal in het bovenrek worden gelegd. Pas op bij hetplaatsen of uitnemen van scherpe voorwerpen zoals messen.
Plaats vorken en lepels in de uitneembare bestekmand met de handgrepenaar beneden en messen met de handvattenaar boven gericht.

Als de handgrepen onder de bestekmanduitsteken en de onderste sproeiarm in+zijnbeweging belemmeren, dient het bestek metde handgrepen omhoog te worden geplaatst.
Meng lepels met ander bestek om te voorkomen dat zij aan elkaar kleven.
Voor de meest optimale resultaten raden wij aan de meegeleverde bestekrooster te gebruiken (als de afmeting van het bestek dit toelaat).

Bovenrek
Het bovenrek is geschikt voor borden (dessertbordjes, schotels, etensborden met een diameter tot 24 cm), slakommen, kopjes en glazen.
Plaats voorwerpen zo op en onder de kopjesrekken dat het water alle oppervlakken kan bereiken.

Glazen met een lange voet hunnen ondersteboven in de kopjesrekken worden geplaatst.
Voor hogere voorwerpen konnen de kopjesrekker worden opgeklapt.

i Controleer alvorens de deur te sluiten dat de sproeiarmen vrij+kunnen rond-draaien.
De hoogte van het bovenrek aanpassen
Als er zeer grote borden moeten worden afgewassen, kurz u deze in het onderrekplaatsen nadat u het bovenrek in+zijn hoogste positie hebt geplaatst.
| Maximale hoogte van het serviesgoed | ||
| in het bo- venrek | in het on- derrek | |
| Met bovenrek in hoogste stand | 20 cm | 31 cm |
| Met bovenrek in laagste stand | 24 cm | 27 cm |
Ga als volgt te werk om het bovenrek in zich hoogste stand tezetten:
- Trek de voorste vergrendelingen (A) van het bovenrek maar buiten en schuif het rek eruit.

- Zet het rek terug in de hogere stand en zet de vergrendelingen (A) waar in hun oorspronkelijke stand.
i Als het rek zich in zijn bovenste stand bevindt, kurz u geen gebruik makev van de kopjesrekken.
! Sluit na het vullen van de machine alsijd de deur, want een open deur kan gevaarlijk zich.
Gebruik van vaatwasmiddelen
i Gebruik uitsluitend afwasmiddelen die specifiek zijn bedoeld voor gebruik in afwasmachines.
Neem de aanbevelingen van de fabrikant voor dosering en bewaren op deverpakking van het afwasmiddel in acht.
Het gebruik van Niet meer dan de juiste hoeveelheid afwasmiddel draagt bij aan minder milieuverontreiniging.
Afwasmiddel doseren
- Open het deksel.

- Vul het afwasmiddelbakje (1) met afwasmiddel. De marketing geegt de doseerniveaus aan:
$$ \begin{array}{l} 2 0 = \mathrm {c a .} 2 0 \mathrm {g} \text {a f w a s m i d d e l} \ 3 0 = \mathrm {c a .} 3 0 \mathrm {g} \text {a f w a s m i d d e l}. \ \end{array} $$

- Alle programma's met voorwas hebben een extra dosering afwasmiddel nodig (5 / 10g) dat in het afwasmiddelbakje voor de voorwas (2)要去 worden gedaan. Deze dosering worden gebruiktijdens de voorwasfase. Bij gebruik van afwasmiddelttabletten; plaats het tablet in vak (1)

- Sluit het deksel en druk totdat het op+zijnplaats klikt.
i Afwasmiddelttabletten van verschillende fabrikanten loseen nicht allemaal even snel op. Daarom bereiken bepaalde afwasmiddelttablettenijdens korte programma's Niet hun volledige reinigingswerking. Kies waarom bij het gebruik van afwasmiddelttabletten large programma's, om ervoor te zorgen dat tabletresten volledig worden verwijderd.
Gebruik van gecombineerde afwasmiddelttabletten
Dit zijn producten met een gecombineerde reinigings-, glans- en zoutfunctie. Ook kunnen zich verschillende andere middelen bevatten afhankelijk van de soort tabletten die ukiest ("3 in 1", "4 in 1", "5 in 1" enz...).
- Controller of deze producten geschikt zich voor uw waterhardheid. Zie de instructies van de fabrikant.
Het zoutreservoir en het glansmiddeldoseerbakje hoeven dan nicht meer bijgevuld te worden. In dit geval blijft het controlelampje glansmiddel alsijd branden, als de machine worden ingeschakeld.
- Kies de laagste instelling voor de water-hardheid en de dosering van het glans-middel.
- het glansmiddeldoseerbakje te vullen met glansmiddel.
- de dosering van het glansmiddel in te stellen op stand 2.
Als u besluit weever te gaan op het gebruik van de standaardafwasmiddelen adviseren wij u:
- vul het zoutreservoir en het glansmiddeldoseerbakje opnieuw.
- Stel de waterhardheid in op de hoogste stand en LAST 1 normala afwasprogramma, zonder serviesgoed, draaien.
- Stel de waterhardheid in overeenstemming de hardheid van het water in uw omgeving.
- De glansmiddeldosering in te stellen.
Een afwasprogramma selecteren en starten
- Controller of de rekken juist+zijn geladen en of de spreierarmen vrij kunnen draaien
- Controller of de waterkraan is geopend
- Sluit de deur van de afwasmachine.
-
Draai de schakelaar totdat het gewenste programmasymbool overeenkomt met het controleampje aan/uit op het bedi-ningspaneel. (Zie tabel "Afwasprogramma's").
-
Het contrôlelampje aan/uit gaat branden.
-
De contrôlelampjes van de onderdelen waaruit het programme bestaat gaan knipperen.
-
Druk op de toets start/annuleren. Het programme begint automatisch en het contrôlelampje start/annuleren brandt.
Zodra het programme begint, gaat het fasecontroleampje uit, behalve het controleampje voor de lopende fase; dat blijft constant branden.
i Wonneer het programma loopt, kan de gemaaakte keuze nicht worden gewijzigdo door de schakelaar op een ander programma of op de stand Uit te draaien. Indien u het lopende programma wilt wij
zigen, moet u de gemaakte keuze annuleren (zie "Een lopend afwasprogramma annuleren").
i Het afwasprogramma begint pas nadat u op de toets start/annuleren hebt gedrukt. Tot dat moment kan de keuze nog worden gewijzigd.
! Waarschuwing! Onderbreek of annuleer een lopend afwasprogramma ALLEEN als het absolut noodzakelijk is. Let op! Als de deur worden geopend kan harestoom vrijkomen.Open de deur voorzichtig.
Het lopende programma annuleren
- Druk gedurende ca. 5 seconden op de toets start/annuleren. Het controleampje start/annuleren staat en de fasecontrolampjes knipperen. Het lopende programme is geannuleerd. Nukest u een新产品 afwasprogramma instellen of de machine uitschakelen. Als er een新产品 afwasprogramma moet worden gekozen, controller dan of er afwasmiddel in het doseerbakje zit.
Een lopend afwasprogramma onderbreken
Open de deur van de afwasmachine; het programme stocht. Sluit de deur; het programme gaat verder waar het was onderbroken.
Einde van het afwasprogramma
- De afwasmachine stopt automatisch.
De vaatwasser uitruimen
- Hete borden zijn gevoelig voor stoten. Het is.daarom raadzaam het serviesgoed eerst te laten afkoelen alvorens de machine uit te ruijmen.
- Ruim eerst het onderrek en dan het bovenrekuit; hiermee voorkomt u dat er water van het bovenrek op het serviesgoed in het onderrek druppelt.
-
Er kan water op de zijkanten en de deur van de afwasmachine ontstaan odomat
-
Het contrôlelampje Einde gaat branden.
- Schakel de afwasmachine uit door de programmaknop waar in de Uit-stand te draaien. Het contrôlelampje aan/uit.gaat uit.
roestvrij staal uiteindelijk koeler zal worden dan het serviesgoed.

Als het afwasprogramma is afgelopen is het raadzaam de stekker uithet stopcontact te trekken en dekraan zicht de draaien.
Afwasprogramma's
| Programma | Mate van ver- vuiling | Soort servies- goed | Beschrijving programma |
| 65° | Normaal ver- vuild | Serviesgoed, be- stek, potten en pannen | Voorwas Hoofdwas tot 65 °C 2 tussentijdse spelolangen Laatste spelolang Drogen |
| 65°1) | Normaal of Licht vervuiid | Serviesgoed en bestek | Hoofdwas tot 65 °C Laatste spelolang |
| 50°2) | Normaal ver- vuild | Serviesgoed en bestek | Voorwas Hoofdwas tot 50 °C 1 tussentijdse spelolang Laatste spelolang Drogen |
1) Ideaal voor gelebruik bij een gedeelelijk gewulde afwasmachine. Dit is het perfecte dagelijkse programme, special bedoeld voor een gezin bestaandeuit 4 personen om alleen het serviesgoed van het ontbijt en het avondeten af te wassen.
2) Test programme voor testinstanties
| Verbruikswaarden | |||
| Programma | Programmadaur (in minutes) | Energieverbruik (in kWh) | Waterverbruik (in liter) |
| 65° | 105-115 | 1,5-1,7 | 23-25 |
| 65° | 30 | 0,9 | 9 |
| Programma | Programmaduur (in minutes) | Energieverbruik (in kWh) | Waterverbruik (in liter) |
| 50° | 130-140 | 1,0-1,2 | 14-16 |

De verbruikswaarden zijn bedoeld alsrichtlijn en+zijn afhankelijk van de druk ende temperatuur van het water, maar ook
van de varieties in de netspanning en de hoveelheid serviesgoed.
Onderhoud en reiniging
De filters reinigen
De filters moeten vanijd totijd worden ge-controleerd en gereinigd. Vuile filters bein-vloeden het afwasresultaat negatif.

Waarschuwing! Zorg ervoor dat de machine is uitgeschakeld voordat de filters worden schoongemaaakt.
- Open de deur, neem het onderrek UIT de machine.
- Het filtersystem van de afwasmachine bevat een grof filter (A), een microfilter (B) en een platte filter. Ontgrendel het filtersystem met behulp van de hendel op het microfilter.
Draai de
greep
onge
veer een
kwart
slag maar
links en
verwijder
het filter
systemeem


3.
- Pak het grof filter (A) beet bij de greed en verwijder het microfilter (B).
- Maak alle filters onder stromend water grondig schoon.
- Verwijder het platte filter uit de bodem van het afwaskompartiment en reinig het filter grondig aan beiden kanten.
- Zet het platte filter terug in de bodem van het wascompartment en controllerer of het precies onder de twee geleiders (C) zit.

- Plaats het grof filter (A) in het microfilter (B) en druk ze tegen elkaar.
- Breng de filtercombinatie terug op+zijn plaats en vergrendel het geheel door de hendel tot de aanslag met de wijzers van de klok mee te draaien. Let er bij deze procedure op dat het platte filter Niet boven de bodem van het afwaskomparti-mentuitsteekt.

i Gebruik de afwasmachine NOOIT zonder filters. Een onjuiste terugplaatsing en bevestiging van de filters heeft slechtere afwasresultaten tot gevolg en kan resulteren in schade aan het apparaat.
Probeer NOOIT de spreierarmen te verwijdersen.
Als etensresten de openings in de sproeiarmen hebben verstopt, verwijder们都 dan met een cocktailprikker.
Buitenkant
Reinig de buitenoppervlakken van de machine en het bedieningspaneel met een vochige zachte doek. Gebruik - indien nodig - alleen neutrale reinigingsmiddelen. Gebruik nooit schurende producten, schuursponsjes of oplosmiddelen (aceton, trichlooretheen, enz.).
De binnenkant van de machine reinigen
Zorg ervoor dat de afdichtingsrubbers rondom de deur en het afwasmiddelbakje en
Problemen oplossen
De afwasmachine start nicht of stopt als hij bezig is.
Bepaalde problemen zijn het gevolg van een gebrek aan eenvoudig onderhoud of onoplettendheid en+kunnen zonder de inschakeling van een monteur worden opgelost met
glansmiddeldoseerbakje regelmatig met een vochtige doek worden gereinigd.
Wij adviseren eenmaal per 3 maanden een afwasprogramma voor ernstig verruild serviesgoed te draaien met afwasmiddel, maar zonder serviesgoed.
Als de afwasmachine langere&tijd nicht worden gebruikt
Als u de afwasmachine gedurende langere...,\ tijd Niet gebruikt, adviseren wij u:
- de stekker uit het stopcontact te trekken en de kraan dicht te draaien.
- de deur op een kier te zetten om de vorming van onaangename geurtjes te voorkomen.
- het inwendige van de machine leeg en schoon te houden.
Voorzorgsmaatregelen bij vorst
Zet de machine Niet op eenplaats waar de temperatuur lager is dan 0^ . Als het toch nicht anders kan, maak de machine leeg, sluit de deur, ontkoppel de watertoevoerleiding en LAST deze leeglopen.
De machine verplaatsen
Als u de machine moet verplaatsen (bij verhuizing, enz.):
- trek de stekker uit het stopcontact.
- draai de waterkraan dicht.
- verwijder de watertoevoer- en -afvoerslang.
- trek de machine samen met de slangen\ aar voren.
Vermijd kantelen van de machineijdens het vervoer.
behulp van de in de tabel hieronder beschreiben aanwijzingen.
Zet de afwasmachineuit,open de deur en voer de volgende voorgestelde corrigerende handelingenuit.
| Storingscode en storing | Mogelijkke oorzaak en oplossing |
| • voortdurend knipperen van het controleampje start/annuleren • 1 keer knipperen van het controleampje Ende De afwasmachine worden nicht gezuld met water | • De waterkraan is verstopt of aangezet met kalk-aanslag Maak de waterkraan schoon • De waterkraan is zich Draai de waterkraan open • Het filter (indien aanwezig) in de schroeffitting van de slang bij de waterinlaatklep is verstopt Reinig het filter in de schroeffitting • De watertoevoerslang is Niet juist geplaatst of is gebogen of geknikt Controleer de aansluiting van de wateraanvoerslang |
| • voortdurend knipperen van het controleampje start/annuleren • 2 keer knipperen van het controleampje=einde programme Het afwaswater worden Niet afgevoerd | • De gootsteenaafvoer is geblokkeerd Ontstop de gootsteenaafvoer • De waterafvoerslang is Niet juist geplaatst of is gebogen of geknikt Controleer de aansluiting van de waterafvoerslang |
| • voortdurend knipperen van het controleampje start/annuleren • 3 keer knipperen van het controleampje=einde programme The dishwasher will not drain | Draai de waterkraan zich en neem contact op met once service-afdeling. |
| Storing | Mogelijkke oorzaak en oplossing |
| Het programme begint nicht | • De deur van de afwasmachine is Niet goed gesloten. Sluit de deur. • De stekker zich Niet in het stopcontact. Steen de stekker in het stopcontact • Dezekering in de meterkast is doorgebrand. Vervang dezekering. |
| Nadat u deze controles hebt uitgevoerd, schakelt u het apparaat in. Het programme staatverder op het punt waar het was onderbroken. Als de storing of storingscode zich opnieuw voordoet, dient u contact op te nemen met once service-afdeling. Voor andere, nicht in de bovenstaande tabel beschreiben storingscodes dient u ook contact op te nemen met once service-afdeling. Houd als u contact opneemt met once service-afdeling de volgende gegevens bij de | hand: model (Mod.), productnummer (PNC) en serienummer (S.N.). Deze informatatie is te vinden op het typeplatie aan de zijkant van de deur van de afwa-machine. Wij adviseren u deze nummers hier te note- ren zodat u ze altijd bij de hand hebt: Model: Productnum- mer: Serienum- mer: . . . . . . . . . . . . . . . . . . . . . . . . . . . . . . . . . . . . . . . . . . . . . . . . . . . . . . . . . . . . . . . . . . . . . . . . . . . . . . . . . . . . . . . . . . . . . . . . . . . . . Hand: model (Mod.), productnummer (S.N.). Deze informatatie is te vinden op het typeplatie aan de zijkant van de deur van de afwa-machine. Wij adviseren u deze nummers hier te note- ren zodat u ze altijd bij de hand hebt: Model: Productnum- mer: . . . . . . . . . . . . . . . . . . . . . . . . . . . . . . . . . . . . . . . . . . . . . . . . . . . . . . . . . . . . . . . . . . . . . . . . . . . . . . . . . . . . . . . . . . . . . . . . . Hand: productnummer (S.N.). Deze informatatie is te vinden op het typeplatie aan de zijkant van de deur van de afwa-machine. Wij adviseren u deze nummers hier te note- ren zodat u ze altijd bij de hand hebt: Model: Productnum- mer: . . . . . . . . . . . . . . . . . . . . . . . . . . . . Hand: productnummer (S.N.). Deze informatatie is te vinden op het typeplatie aan de zijkant van de deur van de afwa-machine. Wij adviseren u deze nummers hier te note- ren zodat u ze altijd bij de hand hebt: Model: Productnum- |
| Het afwasresultaat is nicht bevredigend | |
| De bordenijken Niet schoon | • Het verkeerde afwasprogramma is geselecteerd. • Het serviesgoed is zo geplaatst dat het water Niet alle delen van een op-pervlak kan bereiken. De rekken要去en Niet te vol worden geladen. • De spreierarmen+kennen Niet vrij draaien als gevolg van een onjuiste plaat-sing van het serviesgoed. • De filters in de bodem van het afwascompartment zijn vuil of onjuist ge-plaatst. • Er is te weinig of geen afwasmiddel gebruikt. • Als er kalkresten op het serviesgoed achechterblijven; het zoutreservoir is leeg of de waterontharder is op het onjuiste niveau ingesteld. • De afvoerslang is Niet correct aangesloten. • Het deksel van het zoutreservoir is Niet goed gesloten. |
| Het serviesgoed is nat en dof | • Er is geen glansmiddel gebruikt. • Het glansmiddeldoseerbakje is leeg. |
| De glazen en bor-den vertonen stre-pen, melkachtige vlekken of een blauuwzweem | • Verlaag de dosering van het glansmiddel. |
| Opgedroogde wa-terdruppels op gla-zen en borden | • Verhoog de dosering van het glansmiddel. • Het afwasmiddel kan de oorzaak�. Neem contact op met de consu-mentenlijn van de afwasmiddellenfabrikant. |
Als het probleem na al deze controles aanhoudt, neem dan contact op met once service-afdeling.
Technische gegevens
| Afmetingen | Breedte Hoopte Diepte | 59,6 cm 81,8 - 87,8 cm 57,5 cm |
| Aansluitspanning - Voltage - To-tale vermogen - Zekering | Informatie over de elektrische aansluiting is te vinden op het type-plaatje op de binnenrand van de deur van de afwasmachine. | |
| Leidingwaterdruk | Minimaal Maximaal | 0,5 bar (0,05 MPa) 8 bar (0,8 MPa) |
| Capaciteit | 12 couverts | |
| Gewicht | 39,5 kg | |
Aanwijzingen voor testinstituten
Testen in overeenstemming met EN 60704 moeten worden uitgevoerd met een vol beladen machine en met gebruik van het testprogramma (zie "Verbruikswaarden").
Test in overeenstemming met EN 50242 moet worden uitgevoerd als de zoutcontai
ner en hetvakje voor spoelmiddel respectievelijk,zijn gemuld met zout en spoelmiddel en met gebruik van het testprogramma (zie "Verbruikswaarden").
| Volledige belading: 12 standardcouverts | |
| Hoeveelheid benodigd afwasmiddel: | 5 g + 25 g(type B) |
| Instelling glansmiddel | stand 4 (type III) |

Plaatsing bovenrek

Kopjesrekken: stand A

Plaatsing onderrek

Plaatsing bestekrek
Montage

Waarschuwing! Alle elektrotechnische en/of loodgieterswerkzaamheden die nodig zijn voor de installmentie van het apparaat dienen te worden uitgevoerd door een erkend installerateur.
Verwijder alle verpakkingsmaterialen alvorens de machine teplaatsen.
Plaats de machine indien möglichnest aan waterkraan en een afvoer.
Deze afwasmachine is ontworpen voor installatie onder een keukenblad of werkopervlak.
Let op! Volg nauwgezet de instructies op de bijgeleverde mal voor de inbouw van de af-
wasmachine en plaatsing van het meubelpa-neel.
Er zijn geen verdere openingsen voor de ontluchting van de afwasmachine vereist, maar alleen om de watertoevoer- en afvoerslangen het aansluitsnoor door te lately.
De afwasmachine is voorzien van stelvoetjes voor het instellen van de hoogte.
Tijdens alle werkzaamheden waar bij interne onderdelen toegankelijk zijn, dient de stekkeruit het stopcontact te worden getrokken.
Zorg er bij het op+zijnplaats schuiven van de machine voor dat de watertoevoerslang, de afvoerslang en het aansluitsnoor Niet+zijn geknikt of worden platgedrukt.
Bevestigen aan de aangrenzende keukenmeubelen
De afwasmachine moet beveiligd worden te-gen kantelen.
Zorg erkaarom voor dat het aanrecht waaronder de machine geplaatst worden, stevig bevestigd is aan een vaste structuur (aangrenzende keukenunits, kasten, muur).
Waterpas zetten
Een machine die goed waterpas staat is essentieel voor een goede sluiting en afdichting van de deur.
Aansluiting aan de waterleiding
Aansluiting watertoevoerslang
Dit apparaat kan worden aangesloten aan een heet (max. 60^ ) of koud water kraan. Als de aansluiting is gemaakt op een heet-waterkraan, vermindert het energieverbruik aanzienlijk. Dit hangtECHTER af van hoe het hete water geproduecerd worden. (We raden alternatieve energiebronnen aan die milieuvriendelijkder zijn zoals bijv. zonne- en fotovoltaische panelen en eolische panelen).
Voor het tot stand brengen van de aansluiting zich is de wartelmoer die aan de waterslang van de machine is bevestigd, geschikt voor montage op een leidinguiteinde van 3/4" gasdraad of op een speciale kraan met snel-koppeling zoals de Press-block.
De waterdruk要去 zich binnen de grenzen bevinden zoals vermeld in de "Technische specificaties".Uw waterleidingbedrijf kan u informeren over de gemiddelde leidingwaterdruk in uw omgeving.
De watertoevoerslang mag tijdens het aan sluiten Niet+zijn geknikt, worden platgedrukt of in de knoop zitten.
Het apparaat is voorzien van een vul- en afvoerslang die afhankelijk van de installmentiedoor middel van de sluitmoer maar links ofnaar rechts+kennen worden gedraaid.De sluitmoer要去 goed worden bevestigd om waterlekkage te voorkomen.

Let op! NIET alle modellen afwasmachines haben vul- en afvoerslangen die zich uitgerust met een sluitmoer. In dat geval is de genoemde voorziening nicht möglichk.
Als het apparaat is aangesloten aan neue leidingen of leidingen die langearendiet ge
Als het apparaat goed waterpas staat, raakt de deur aan geen van de kanten de behui- zing.
Als de deur Niet goed sluit, draai dan de stelvoetjes in of uit totdat de machine perfect waterpas staat.
bruikt zijn, moet u er eenijdje water door la- ten lopen voordat u de waterslang bevestigt.
i Gebruik GEEN aansluitslangen die erder voor een oude machine zich gebruikt.
i Dit apparaat is uitgerust met veiligheids-voorzieningen die voorkomen dat het in de machine gebruike water terugkeert in het drinkwatersystem. Dit apparaat voldoet aan de van toepassing zijnde regelgeving voor loodgieterswerk.
Watertoevoerslang met veiligheidsklep
Na aansluiting van de dubbelwandige watertoevoerslang bevindt de veiligheidsklep zich bij de kraan. Daarom bevindt de watertoevoerslang zich alleen onder druk als het water loopt. Als de watertoevoerslang dan begint te lekken, sluit de veiligheidsklep het stromende water af.
Pas op als u de watertoevoerslang installeert:
- de elektriciteitskabel voor de verilgheidsklep bevindt zich in de dubbelwandige wa-tertoevoerslang. Dompel de watertoe-voerslang of de verilgheidsklep Niet in wa-ter.
- Ais de watertoeoverslang of de veiligheids-klep beschadigd raken, trek dan direct de stekker uit het stopcontact.
- Een watertoevoerslang met veiligheidsklep mag alleen worden verrangen door de service-afdeling.

Waarschuwing! Gevaarlijke spanning

Aansluiting waterafvoerslang
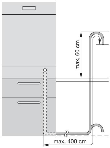
Het uiteinde van de afvoerslang kan op de volgende manieren worden aangesloten:
- Aan de gootsteenafvoer, met bevestiging tegen de onderkant van het werkoppervlak. Hiermee worden voorkomen dat gootsteenwater de machine inloopt.
- Aan een standpijp voorzien van een ventilatieopening, minimale binnendiameter 4 cm.
De afvalwateraansluiting moet zich op een hoogte bevinden van 60 cm vanaf de bodem van de afwasmachine.

De afvoerslang kan vanaf de afwasmachine.
haar links ofaar rechts lopen
Verzeker u ervan dat de slang Niet gebogen is of platgedrukt worden, aangezien dit de af
Aansluiting aan het elektriciteitsnet

Waarschuwing! Het apparaat要去 volgens de veiligheidsvoorschriften worden geaard.
Alvorens het apparaat in gebruik te nemen dient u zich ervan te verze-
voer van water kan verragen of in de weg staan.
De stop mag nicht in de afvoer zitten als de machine water aan het afvoeren is, aangezien het water dan weein in de machine terug kan lopen.
De totale lenghte van de afvoerslang, inclusief een eventeel verlengstk, mag Niet langer zich dan 4 meter. De binnendiameter van het verlengstk mag Niet kleiner zich dan de diameter van de bijgeleverde slang.
Evenmin mag de binnendiameter van de voor de aansluitingen aan de afvoer gebrukke koppelingenkleiner zich dan de diameter van de bijgeleverde slang.
Bij het aansluiten van de afvoerslang op een sifon onder de goatsteen moet het gehele plastic membraan (A) verwijderd worden. Indien Niet het gehele membraan worden verwijderd zullen zich op den duur voedseldeeltjes verzamelen die de afvoerslang van de afwasmachine konnen verstappen

Onze apparaten worden geleverd met een veiligheidsvoorziening die ervoor zorgt dat vuil water Niet terug kan lopen in de machine. Als uw gootsteenafvoer is voorzien van een geintegreerde terugslagklep kan dit een goede waterafvoer van uw afwasmachine in de weg staan. Wij adviseren u dan ook de terugslag-klep te verwijderen.
Omtveoorkomendaterlekkage opttreednta deinstallatie,moet uervozorgen dat de waterkoppelingen stevig vast zitten.
keren dat de nominale spanning en het spanningstype op het typeplatie in overeenstemming zijn met de netspanning waarop de machine aangesloten.gaat worden. Ook de
waarde van de zekering is te vinden op het typeplaatje
Steek de stekker algijd in een correct geinstalleerd schokbestendig stopcontact.
Gebruik geen meervoudige stekkers, verloopstekkers en verlangkabels. Hierdoor kan brandgevaardoorverhitting ontstaan.
Laat indien nodig de wandcontactdoos van de huisinstallatie verplaatsen. Neem contact op met unsere ser
vice-afdeling als het aansluitsnoor moet worden verrangen.
De stekker要去 de installmenten van het apparaat toegankelijk zijn.
Trek de stekker nooit aan het snoeruit het stopcontact. Trek alsijd aande stekker zelf.
De fabrikant kan nicht aansprakelijk gesteld worden als boven genoemde veiligheidsmaatregelen Niet inacht worden genomen.
Milieubescherming
Het symbol op het product of op de verpakking wijst erop dat dit product nicht als huishoudafval mag worden behandeld, maar要去en afgeveen bij een verzamelpunt waar elektrische en elektronische apparatuur worden gerecycled. Als uervoort zorgt dat dit product op de juiste manier wordt verwijderd, voorkomt u mogelijkke negatieve gevolgen voor mens en milieu die zich zonden+kennen voordoen in geval van verkeerde afvalverwerking. Voor gedetailleerdere informatie over het recyclen van dit product, kunt u contact opnemen met de gemeente, de gemeentereiniging of de winkel waar u het product hebt gekocht.
Verpakkingsmaterialaal
De verpakkingsmaterialen zijn milieuvriendelijk en+kunnen worden gerecycled. De kunst-
stofonderdelen zichen gemarkeerd, bijv. >PE<, >PS <, enz. Gooi het verpakkingsmateriaal in de waarvoort boedelde container bij uwplaatselijke afvaldienst.
! Waarschuwing! Als u het apparaat afdankt:
trek de stekker uit het stopcontact.
- snijd het aansluitsnoor met de stekker af en gooi het weg.
- Verwijder het slot van de deur. Zo voorkomt u dat kinderen zichzelf insluiten en hun leven in gevaar bredgen.
SimpelGids