PI1310X - Geschirrspüler PROGRESS - Kostenlose Bedienungsanleitung
Finden Sie kostenlos die Bedienungsanleitung des Geräts PI1310X PROGRESS als PDF.
Laden Sie die Anleitung für Ihr Geschirrspüler kostenlos im PDF-Format! Finden Sie Ihr Handbuch PI1310X - PROGRESS und nehmen Sie Ihr elektronisches Gerät wieder in die Hand. Auf dieser Seite sind alle Dokumente veröffentlicht, die für die Verwendung Ihres Geräts notwendig sind. PI1310X von der Marke PROGRESS.
BEDIENUNGSANLEITUNG PI1310X PROGRESS
Geschirrspüler
Afwasmachine
Lave-vaisselle
Dishwasher
Inhalt
| Sicherheitshinweise | 2 |
| Produktbeschreibung | 3 |
| Bedienblende | 4 |
| Erste Inbetriebnahme | 5 |
| Einstellen des Wasserenthärters | 5 |
| Gebrauch von Salz für Geschirrspüler | 6 |
| Gebrauch von Klarspūlmittel | 7 |
| Täglicher Gebrauch | 8 |
| Laden von Besteck und Geschirr | 9 |
| Gebrauch von Spūlmittel | 11 |
| Auswahlen und Starten einesSpūlprogramms | 12 |
C E

Sicherheitshinweise
i Lesen Sie zu Ihrer Sicherheit und fur die optimale Geräteanwendung vor der Installation und dem Gebrauch des Gerätes die vorliegende Gebrauchsanaweisung aufmerksam durch, einschließlich der Ratschläge und Warnungen. Es ist wichtig, dass zur Vermeidung von Fehlern und Unfallen alle Personen, die das Gerät benutzen, mit der Bedienung und den Sicherheitsvorschriften vertraut sind. HebEN Sie die Benutzerinformation gut auf und übergeben Sie sie bei einem Weiterverkauf des Gerätes dem neuen Besitzer, so dass jeder während der gesamten Lebensdauer des Gerätes über Gebrauch und Sicherheit informiert ist.
Bestimmungsgemäßer Gebrauch
- Dieser Geschirrspüler ist nur zum Reinigen von spülmaschinenfestem Haushaltsgeschirr bestimmt.
- Keine Lösungsmittel in den Geschirrspulergeben. Es besteht Explosionsgesefahr.
- Messer und andere spitze Gegenstände müssen mit der Spitze nach unter in den Besteckkorb gestellt oder waagerecht in den oberen Korb gelegt werden.
- Nur für Geschirrspüller geeignete Produkte (Klarsprüler, Reinigungsmittel und Salz) verwenden.
- Nicht die Tür während des Gerätebetriebs öffnen; es kann weiter Dampf austreten.
- Kein Geschirr vor dem Ende des Spülgangs aus dem Geschirrspüller enthalten.
| Entladen des Geschirrspuliers | 13 |
| Spülprogramme | 13 |
| Reinigung und Pflege | 14 |
| Was tun, wenn ... | 15 |
| Technische Daten | 17 |
| Hinweise für Prüfinstute | 17 |
| Gerät aufstellen | 18 |
| Wasseranschluss | 19 |
| Elektrischer Anschluss | 20 |
| Umwelttipps | 21 |
Änderungen vorbehalten
- Ziehen Sie nach dem Gebrauch den Netzstecker und drehen Sie den Wasserhahn zu.
- Wenden Sie sich für Reparaturen und Wartung nur an Fachkräfte der autorisierten Kundendienststellen und verlangen Sie stets Original-Ersatzteile.
- Versuchen Sie unter keinen Umständen, das Gerät selbst zu reparieren. Reparaturen durch unerfahrene Personen können zu schwerwiegenden Fehlfunktionen und Verletzungen führen. Wenden Sie sich an ihren Kundendienst. Bestehen Sie immer auf Original-Ersatzteilen.
Allgemeine Sicherheitshinweise
- Spülmittel für Geschirrspüler können Verzüttungen an Augen, Mund und Kehle verursachen. Lebensgefahr! Halten Sie sich immer an die Sicherheitsanweisungen der Spülmittelhersteller.
- Das Wasser in Ihr Geschirrspuler ist kein Trinkwasser. In der Maschine konnen immer Spülmittelrückstände vorhanden sein.
- Sorgen Sie davon, dass die Tur des Geschirrspuliers außer beim Be- und Entladen immer geschlossen ist. So verhindern Sie, dass jeder über die offene Tur stolpern und sich verletzen kann.
- Setzen oder stellen Sie sich nie auf die offene Tur.
Kindersicherung
- Dieses Gerät ist nur für den Gebrauch durch Erwachsene bestimmt. Der Geschirrspülerarf nicht unbeaufsichtigt von Kindern benutzt werden.
- Halten Sie das Verpackungsmaterial von Kindern fern. Erstickungsgefahr.
- Spülmittel außer Reichweite von Kindern aufbewahren.
- Halten Sie Kinder vom geöffneten Geschirrspüler fern.
Aufstellung
- Kontrollieren Sie das Gerät auf Transportschäden. Nehmen Sie niemals ein schadhaftes Gerät in Betrieb. Verständigen Sie ihren Handl, wenn Ihr Geschirrspüler beschädigt ist.
- Entfernen Sie vor dem Gebrauch das gesamte Verpackungsmaterial.
-
Der elektrische Anschluss des Gerätes und alle sonstigen Installationsarbeiten)dürfen nur von qualifizierten Fachkräften ausgeführrt werden.
-
Aus Sicherheitsgründen)dürfen keine Änderungen an den technischen Merkmalen oder dem Produkt selbst vorgenommen werden.
- Benutzen Sie den Geschirrspüler nie mit einem beschädigten Netzkabel oder einem defekten Wasserschlauch; oder wenn die Bedienblende, die Arbeitsfläche oder der Sockel defekt sind, so dass das Geräteinnere frei zugänglich ist. Wenden Sie sich zur Vermeidung von Unfälle an den lokalen Kundendienst.
Die Seiten des Geschirrspulers)dürfen auf keineen Fall angebohrt werden, da dadurch die hydraulischen und elektrischen Bauteile beschädigt werden können.
Warning! Halten Sie sich für den elektrischen Anschluss und den Wasseranschluss strikt an die Anweisungen der betreffenden Abschnittte.
Produktbeschreibung

1 Oberkorb
2 Einstellung der Wasserhärtestufe
3 Salzbehälter
4 Behalter für Reinigungsmittel
5 Dosiergerat für Klarspulmittel
6 Typenschild
7 Filter
8 Unterer Spruham
9 Oberer SpruHarm
Bedienblende

1 Programmwahler
2 Start/Cancel-Taste
3 Kontrollampen
4 Ein/Aus-Betriebsanzeige
| Kontrollampen | |
| Spüssen | Leuchtet, wenn die Spül- und Klarspülgänge lau-fen. |
| Trocknen | Leuchtet während der Trockenphase. |
| →1 Ende | Leuchtet nach dem Ende des Spülprogramms auf. Zusätzlich hat sie folgende Anzeigefunktio-nen: · die Einstellung des Wasserenthärters, · Alarmauslösung bei einer Gerätestörung. |
Programmwähler und Ein/Aus-Betriebsanzeige
- Spülprogramme werden durch Drehendes Programmwählers nach links bzw. rechts ausgewählt. Dabei muss das gewünschte Programmsymbol am Programmwähler auf die Ein-/Aus-Betriebsanzeige der Bedienblende zeigen. Die Ein/Aus-Betriebsanzeige leuchtet (Position EIN)
Erste Inbetriebnahme
Vor der ersten Benutzung Ihres Geschirrspuliers:
- Vergewisern Sie sich, dass der elektrische Anschluss und der Wasseranschluss den Installationsanweisungen entsprechen
- Entfernen Sie alles Verpackungsmaterial aus dem Geräteinneren
- Stellen Sie die Wasserenthärterstufe ein
- Gießen Sie 1 Liter Wasser in den Salzbehälter und fällen Sieihn dann mit Salz für Geschirrspüler
Einstellen des Wasserenthärters
Der Geschirrspüler ist mit einem Wasserenthärter ausgestattet, der die im Wasser enthaltenen Minerale und Salze zureichhalt, die den Gerätebetrieb negativ und nachhaltig beeinträchtigen konnen.
Je hörher der Mineral- und Salzgehalt ist, um so harter ist Ihr Wasser. Die Wasserhärte wird in gleichwertigen Einheiten gemessen, Deutsche Wasserhärtegrade (°dH), Französische Grade (°TH) und mmol/l (Millimol pro
-
Zum Ausschalten des Geräts drehen Sieden Programmwähler solange, bis die Referenzmarkierung auf dem Programmwähler auf der Ein/Aus-Betriebsanzeige stehen. Die Ein/Aus-Betriebsanzeige erlischt (Position AUS).
Mit dem Programmwahler kann auch der Wasserenthärter eingestellt werden. -
Füllen Sie das Klarspūldosiergerät mit Klarsprüler
Bei Verwendung von Kombi-Reinigertabs wie: "3 in 1", "4 in 1", "5 in 1" etc. halten Sie sichitte an die im Abschnitt "Gebrauch von Spulmitteln" angegebenen Empfehlungen.
Liter - internationale Einheit der Wasserhärte).
Der Enthärter muss entsprechend der Wasserhärte Ihres Gebietes eingestellt werden. Ihr lokales Wasserwerk kann Sie über die Härte Ihres Leitungswassers informieren.
i Der Wasserenthärter muss sowohl: manuell mit dem Härtebereichsschalter als auch elektronisch eingestellt werden.
| Wasserhärte | Einstellung der Wasserhärtestufe | Zusatz von Salz | |||
| °dH | °TH | mmol/l | Manuell | Elektronisch | |
| 51 - 70 | 91 - 125 | 9,1 - 12,5 | 2 | Stufe 10 | Ja |
| 43 - 50 | 76 - 90 | 7,6 - 9,0 | 2 | Stufe 9 | Ja |
| 37 - 42 | 65 - 75 | 6,5 - 7,5 | 2 | Stufe 8 | Ja |
| 29 - 36 | 51 - 64 | 5,1 - 6,4 | 2 | Stufe 7 | Ja |
| 23 - 28 | 40 - 50 | 4,0 - 5,0 | 2 | Stufe 6 | Ja |
| 19 - 22 | 33 - 39 | 3,3 - 3,9 | 2 | Stufe 5 | Ja |
| 15 - 18 | 26 - 32 | 2,6 - 3,2 | 1 | Stufe 4 | Ja |
| 11 - 14 | 19 - 25 | 1,9 - 2,5 | 1 | Stufe 3 | Ja |
| 4 - 10 | 7 - 18 | 0,7 - 1,8 | 1 | Stufe 2 | Ja |
| < 4 | < 7 | < 0,7 | 1 | Stufe 1 | Nein |
Manuelle Einstellung
i Der Wasserenthärter ist werkseitig auf Härtestufe 2 eingestellt.
- Öffnen Sie die Tur des Geschirrspuliers.
- Entfernen Sie den Unterkorb aus dem Geschirrspüler.
- Stellen Sie den Härtebereichsschalter auf Härtestufe 1 oder 2 (siehe Tabelle).
- Setzen Sie den Unterkorb wieder ein.

Elektronische Einstellung Der Geschirrspüller ist werkseitig auf Härtestufe 5 eingestellt.
- Der Geschirrspulern muss ausgeschelt werden.
-
Halten Sie die Taste Start/Cancel gestrückt und drehen Sie den Programmwahler solange im Uhrzeigersinn, bis die Referenzmarkierung auf dem Programmwahler auf der Ein/Aus-Betriebsanzeige steht.
-
Lassen Sie die Taste Start/Cancel os. Die Kontrollampen Ein/Aus und Start/Cancel beginnen zu blinken. Dadurch wird angezeigt, dass Sie die Wasserenthärter-Einstellfungtion eingeschaltet haben.
- Gleichzeitig beginnt die Kontrollampe Programmende zu blinken. Der aktuelle Härtegrad ist darüber ersichtlich, wie oft die Kontrollampe für das Programmende blinkt (3 Sekunden Pause zwischen dem Aufleuchten).
Beispiele:
5 Blinksignale, Pause, 5 Blinksignale, Pause usw... = Stufe 5
6 Blitze, Pause, 6 Blitze, Pause usw... = Stufe 6
Beispiele:
- Drücken Sie die Taste "Start/Cancel", um die Härtestufe zu ändern. Bei jedem Tastendruckändert sich die Härtestufe.
Ist die aktuelle Härtestufe 5, wird durch einmaliges Drücken der Taste Start/Cancel Härtestufe 6 ausgewählt.
Ist die aktuelle Härtestufe 10, wird durch einmaliges Drücken der Taste Start/Cancel Härtestufe 1 ausgewählt. - Drehen Sie den Programmwähler zum Abschalten des Geschirrspulers auf die Stellung AUS, um die ausgewählten Optionen zu speichern.
Gebrauch von Salz für Geschirrspüler
Warning!
Verwenden Sie ausschließlich Spezialsalz für Geschirrspüler. Alle anderen Salzarten, die nicht eigens für Geschirrspüler bestimmt sind, insbesondere Speisesalz, führen zu Schäden des Wasserenthärters. Füllen Sie den Salzbehälter erst kurz vor dem Start eines kompletten Spülprogramms. Das verhindert, dass verschüttetes Salz oder Salzwasser für länger Zeit auf dem Geräteboden bleibt und Korrosion verursacht.
Einfullen:
-
Öffnen Sie die Tur, entfernen Sie den Unterkorb und schrauben Sie die Verschlusskappe des Salzbehalters nach links ab.
-
Gießen Sie 1 Liter Wasser in den Salzbehälter (dies ist nur vor der ersten Bewertung erforderlich).
- Füllen Sie den Behälter mithilfe des mitgelieferten Trichters mit Salz.

- Die Verschlusskappe wieder anbringen und sicherstellen, dass kein Salz auf dem Gewinde oder der Dichtung vorhanden ist.
- Schrauben Sie die Verschlusskappe nach rechts bis zum Anschlag zu. Ein Klicken zeigt an, dass die Kappe fest verschlüssen ist.
Seien Sie unbesorgt, wenn beim Einfu-len Wasser aus dem Salzbehalter ausflieBt; das ist ganz normal.
Der Salzbehälter muss regelmäßig aufgeführlt werden.

Im Deckel des Salzbehalters befindet sich in der Mitte eine Salznachfüllanzeige. Ein grüner Schwimmer ist deutlich sightbar, wenn der Behälter genügend Salz enthalt. Wenn das Salz aufgebraucht ist, dann ist der Schwimmer kaum noch sightbar.
Gebrauch von Klarspulmittel
Warning! Nur Markenklarspulmittel für Geschirrspulmaschinen verwenden. Füllen Sie nie andere Produkte (Reinigungsmittel für Geschirrspuler, Flüssigreiniger) in den Behälter für Klarspuler. Das Gerät kann dadurch beschädigt werden.
Klarspulmittel sind eine Garantie für ein perfektes Spulergebnis und flecken-und streifenfreies Trocknen. Das Klarspulmittel wird automatisch beim letzten Spulgang zugesetzt.
1. Drücken Sie auf die Entriegelungstaste (A), um den Behälter zu öffnen.

- Füllen Sie das Klarspülmittel in den Behälter. Der maximale Fülstand wird durch die Markierung "max" angezeigt.

Das Dosiergerätfasst ca. 110 ml Klarspulmittel; die Menge reicht je nach der Dosiereinstellung für 16 bis 40 Spülzyklen.
- Vergewisern Sie sich nach jedem Füllen, dass der Deckel geschlossen ist.

Wischen Sie verschüttetes Klarspulmitel sofort mit einem saugfähigen Tuch auf, um übermäßige Schaumbildung beim folgenden Spulzyklus zu vermeiden.
Stellen Sie je nach gewünschtem End- und Trockenergebnis die Klarspulmitteldosierung mit dem 6-Stufenschalter ein (Stufe 1 geringste Dosierung, Stufe 6 maximale Dosierung).
Die Dosierung ist werkseitig auf Stufe 4 ein-gestellt.
Erhöhen Sie die Dosierung, wenn auf dem Geschirr nach dem Spülen Wassertropfen oder Kalkflecken zurückbleiben.
Verringern Sie die Dosierung, wenn weißliche Streifen auf dem Geschirr oder ein blälicher Überzug auf Gläsern und Messerklingen zu setzen sind.

Füllen Sie Klarspüler nach, sobald die Anzeige (B) durchsichtig wird.

Täglicher Gebrauch
- Kontrollieren Sie, ob der Geschirrspuler mit Salz oder Klarspulmittel aufgefüllt werden muss.
- Laden Sie das Besteck und Geschirr in den Geschirrspüler.
- Füllen Sie Reinigungsmittel ein.
- Wahlen Sie ein für Besteck und Geschirr geeignetes Spulprogramm.
- Starten Sie das Spülprogramm.
Hilfreiche Hinweise und Tipps
Schwämme, Putzlappen und Gegenstände, die Wasser aufsaugen, *{dürfen nicht im Geschirrspul ergereinigt werden.
Vor dem Laden des Geschirrs:
- Speisereste und Abfall entfern.
-
Töppe mit angebrannten Speiseresten einweichen
-
Beachten Sie beim Laden des Geschirrs und Bestecks folgenden:
-
Geschirr und Besteck dürfen nicht die Drehung der Sprüharme behindern.
- Hohlgefäße mit der Öffnung nach unten einlagen, so dass sich in den Behältern kein Wasser ansammeln kann.
- Geschirr und Besteckteile dürfen nicht ineinander liegen oder sich gegenseitig abdecken.
-
Gläser dürfen sich zur Vermeidung von Bruchschäden nicht berühren.
-
Kleine Gegenstände in den Besteck-korb legen.
-
Kunststoffgeschirr und Töppe mit Antihaft-beschichtung neigen dazu, Wassertropfen zusückzuhalten; diese Art Geschirr trock-net deshalb schlechter als Porzellan und Edelstahl.
- Leichte Gegenstände (Kunststoffschuseln usw.) so im Oberkorb anordnen, dass sie nicht verrutschen können.
Folgendes Geschirr und Besteck ist zum Reinigen im Geschirrrspüler
ungeeignet:
- Besteck mit Holz-, Horn-, Porzellan- oder Perlmuttgriffen.
- Nicht hitzebestandige Kunststoffeile.
- Alteres Besteck, dessen Klebeverbindungen temperaturempfindlich sind.
Gekleble Geschirr- oder Besteckteile.
Zinn-bzw.Kupfergegenstände. - Bleikristallglas.
- Rostempfindliche Stahlteile.
- Fruhstücksbrettchen.
- Gegenstände aus Kunstfasern.
beschränkt geeignet:
- Reinigen Sie Steingut nur dann im Geschirrspüler, wenn es vom Hersteller als geschirrspüer fest deklariert wird.
- Glasierte Muster können bei früigem Spüssen ihren Glanz verlieren.
- Silber- und Aluminiumteile neigen zu Verfärbungen: Speisereste wie Eiweiß, Eigelb und Senfverträben Silber und hinterlassen darauf oft Flecken. Entfernen Sie davon�始t Speisereste von Silberbesteck, wenn es nicht sofort nach dem Gebrauch gespüt wird.
Laden von Besteck und Geschirr
Unterkorb
Der Unterkorb ist zur Aufnahme von Kochtopfen, Deckeln, Tellern, Salatschusseln, Besteck usw. bestimmt.
Ordnen Sie Servierplatten und große Deckel um den Korbrand an; achten Sie darauf, dass die Sprüharme nicht behindiert werden.


Besteckkorb
! Messer mit langer Klinge in aufrechter Stellung stellen eine potentielle Gefahr dar. Langes und/oder scharfes Besteck wie Tranchiermesser müssen waagerecht in den Oberkorb gelegt werden. Seien Sie vorsichtig beim Laden oder Herausnehmen von scharfen Gegenständen wie Messern.
Gabeln und Löffel in den herausnehmbaren Besteckkorb stellen; bzw. sollen den Griffe
der Gabeln nach unten und die Griffe der Messer nach oben gerichtet sein.

Falls die Griffe auf der Unterseite aus dem Korb ragen und den unteren Sprüharm behindern, das Besteck mit nach oben gerichtetem Griff laden.
Mischen Sie Löffel mit anderen Besteck, so können sie nicht zusammenleben.
Benutzen Sieitte für optimale Ergebnisse das mitgelieferte Besteckgitter (wenn dies die Groß und Abmessungen des Bestecks erlauben).

Oberkorb
Der Oberkorb ist zur Aufnahme von Tellern (Desserttellern, Untertassen, Esstellern bis zu 24 cm Durchmesser), Salatschüsseln, Tassen und Glasern bestimmt.
Ordnen Sie das Geschirr auf und unter den Tassenreihen an, so dass das Wasser die Oberflächen aller Geschirrteile erreicht.

Langstielige Gläser können umgedreht in die Tassenablagen gestellt werden.
Für großere Gegenstände können die Tassenablagen umgeklapt werden.

Vergewissem Sie sich vor dem Schlieben der Tur, dass die Spruharme beim Drehen nicht durch Geschirr befindert werden.
Hohenverstellung des Oberkorbs
Sehr große Platten können zum Spüssen in den Unterkorb geladen werden, nachdem der Oberkorb auf die obere Position angehoben worden ist.
| Maximale Geschäfte der Teller | ||
| im Ober-korb | im Unter-korb | |
| Bei angehobenem Oberkorb | 20 cm | 31 cm |
| Bei abgesenktem Oberkorb | 24 cm | 27 cm |
So bringen Sie den Korb in die obere Position:
- Ziehen Sie die Vorderanschläge (A) des Oberkorbs nach außen ab undziehen Sieden Korb Heraus.

2. Schieben Sie den Korb in die höhere Ebene ein und bringen Sie die Vorderanschlä
ge (A) am Korb an deren ursprünglicher Position wieder an.
Die Tassenauflagen können beim Korb in der oberen Position nicht benutzt werden.
SchlieBen Sie nach dem Beladen immer die Tur des Geschirrspulers; eine offene Tur stellt stets eine Unfallgefahr dar.
Gebrauch von Spülmittel
i Verwenden Sie ausschließlich Reinigungsmittel für Geschirrspulmaschinen. Befolgen Sie die Herstellerangaben für Dosierung und Aufbewährung auf den Packungen.
Die Verwendung der richtigen Dosierung der Reinigungsmittelträgt zum Schutz der Umwelt bei.
Füllen Sie Reiniger ein
- Offnen Sie den Deckel.

2. Füllen Sie den Behälter für Reinigungsmittel (1) mit Reiniger. Achten Sie auf die Dosiermarkierungen: 20 = ca 20 g Reiniger 30 = ca 30 g Reiniger.

- Bei Programmen mit Vorspüssen zusätzlichen Reiniger (5 / 10g) in die Vorspülkammer (2) fullen.
Dieser Reiniger wird in der Vorsprüphase verwendet.
Verwendung von Reinigertabs; Legen Sie die Tabletten in das Fach (1)

- Schließen Sie den Deckel und drücken Sieihn an, bis er einrastet.

Reinigertabletten der verschiedenen Hersteller lose sich mit entsprechlicher Schnelligkeit auf. Einige Reinigertabletten erreichen aus thisem Grund nicht ihre volle Waschkraft bei kurzen Spulprogrammen. Benutzen Sie daher bei Verwendung von Reinigungstablettens langere Spulprogramme, um sicher zu sein, dass alle Reinigungsmittelreiste beseitigt werden.
Verwendung von Kombini Reinigungstabletten
Bei diesen Produkten handelt es sich um Reiniger mit kombinierten Reinigungs-, Klarsprü- und Salzfunktionen. Je nach Art der verwendeten Tabletten ("3 in 1", "4 in 1", "5 in 1" etc.) können sie auch andere Zusätze enthalten.
- Stellen Sie sicher, dass diese Reinigungsstabletten für ihre Wasserhärte geeignet sind. Siehe hierzu die Herstellerangaben.
Das Auffullen des Salzbehäters und des Klarspulerdosierers ist nicht mehr erforderlich. In thisem Fall leuchtet die Kontrollampe fur die Klarspuldosierung stets, wenn der Geschirrspul eringeschaltet wird.
- Wahlen Sie für Wasserhärte und Klarspūldosierer die niedrigste Stufe.
Sollte das Geschirr nicht trocken genug sein, empfehlen wir Folgendes:
- Füllen Sie den Klarspūldosierer mit Klarspūler auf.
- Bringen Sie den Klarspuldosierer in Stellung 2.
Wenn Sie wieder zu normalen Reinigungsmitteln zurückkehren möchten, vergessen Sie nicht:
- Salz- und Klarspuldosierer aufzufullen.
- Die Wasserhärte auf die höchste Härtestufe einzustellen und 1 normalen Spülgang ohne Geschirr aussuführen.
- Die Wasserhärte entsprechend der Wasserhärte Ihres Gebietes einzustellen.
- Einstellung der Klarspuldosierung.
Auswahlen und Starten eines Spülprogramms
- Kontrollieren Sie, dass die Körbe richtig beladen sind und die Sprüharme beim Drehen nicht befindert werden
- Vergewissern Sie sich, dass der Wasserhahn geöffnet ist
- SchlieBen Sie die Tur des Geschirrspuliers.
- Drehen Sie den Programmwähler solange, bis das gewünschte Programmsymbol am Programmwähler auf die Ein-/ Aus-Betriebsanzeige der Bedienblende besteht (siehe die Tabelle "Spülprogramme").
Die Ein/Aus-Betriebsanzeige beginnt zu leuchten.
Die für die einzelnen Spülgänge des jeweiligen Programms geltenden Kontrollampen beginnen zu blinken.
-
Drücken Sie die Taste Start/Cancel. Das Programm startet automatisch, und die Kontrollampe Start/Cancel beginnnt zu leuchten.
-
Nach dem Programmstart erlöschen die Kontrollampen für die einzelnen Spülgänge. Lediglich die Kontrollampe des aktuellen Spülgangs leuchtet kontinuierlich.

Während ein Spülprogramm lauft, kann das mit dem Programmwähler eingestellte Programm durch Drehen des Programmwählers auf ein andere Programm oder die Stellung AUS nicht mehr geändert werden. Wenn Sie das laufende Programm ändern möften, müssen Sie es zuerst abbrechen (siehe "Abbrechen des ausgeführten Spülprogramms").

Das Spülprogramm wird erst gestartet, wenn Sie die Taste Start/Cancel gedruckt haben. Bis dahin kann die getroffene Auswahl geändert werden.

Warning! Unterbrechen oder löschen Sie ein laufendes Spülprogramm NUR, wenn es absolut notwendig ist. Achtung! Beim Öffnen der Tür kann heißer Dampf entweichen. Öffnen Sie die Tür vorsichtig.
Abbrechen eines laufenden Spülprogramms
- Halten Sie die Taste Start/Cancel ca. 5 Sekunden lang gedrückt. Die Kontrollampe der Taste Start/Cancel erlischt, und die Kontrollampen für die einzelnen Spülgänge beginnen zu blinken. Das laufende Spülpprogramm wurde gelöscht. jetzt kann ein neuen Spülpprogramm eingestellt oder der Geschirrspulser ausgeschaltet werden. Soll ein neuen Spülpprogramm gewählt werden, kontrollieren Sie, ob der Reinigungsmittelbehälter gefüllt ist.
Unterbrechen eines laufenden Spulprogramms
Öffnen Sie die Tür des Geschirrspulfers; das Programm hält an. Schließen Sie die Tür des
Entladen des Geschirrspulers
HeiBes Geschirr ist stoBempfindlich. Lassen Sie daher das Geschirr abkühlen, bevor Sie es aus dem Gerät entnehmer.
- Entladen Sie zuerst den Unter- und dann den Oberkorb; dadurch wird vermieden, dass Wasser vom Oberkorb auf das Geschirr im Unterkorb tropf.
- Auf den Wänden und derTür des Geschirrspulers kann sich Kondenswasser
Spülprogramme
| Programm | Grad der Ver-schmutzung | Art der Bela-dung | Programmbeschreibung |
| 65° | Normal ver-schmutzt | Geschirr, Be-steck, Töppe und Pfannen | Vorsprülen Hauptspülgang bis zu 65°C 2 Zwischenklarspülgänge Klarsprülen Trocknen |
| 65°1) | Normal / leicht verschmutzt | Geschirr und Be-steck | Hauptspülgang bis zu 65°C Klarsprülen |
| 50°2) | Normal ver-schmutzt | Geschirr und Be-steck | Vorsprülen Hauptspülgang bis zu 50°C 1 Zwischenklarspülgang Klarsprülen Trocknen |
1) Ideal, wenn der Geschirrspulier nur teilweise beladen ist. Dies ist das perfekte tägliche Spülprogramm für eine 4-köpfige Familie, die lediglich das Frühstücks- und Abendessengeschirr damit Besteck spulen möchte.
2) Testprogramm für Prüfinsitute
Geschirrspulers; das Programm wird an dem Punkt fortgesetzt, an dem es unterbrochen wurde.
Endesplulprogramms
- Der Geschirrspuler stoppt automatisch.
Die Kontrollampe fur Programmende leuchtet auf. - Schalten Sie den Geschirrspüller durch Drehen des Programmwählers auf die Stellung AUS aus. Die Ein/Aus-Betriebsanzeige erlischt.
absetzen, da sich Edelstahl schneller als Geschirr abkühlt.
i Nach dem Ende des Spulprogramms sollen den Netzsteckerdes Gerätesziehen und den Wassershahn schlieben.
| Verbrauchswerte | |||
| Programm | Programmdauer (in Minuten) | Energieverbrauch (in kWh) | Wasserverbrauch (in Litern) |
| 65° | 105-115 | 1,5-1,7 | 23-25 |
| 65° | 30 | 0,9 | 9 |
| 50° | 130-140 | 1,0-1,2 | 14-16 |
Die Verbrauchswerte sind Richtwerte, die von dem Druck und der Temperatur des Wassers, den Schwankungen der
Stromversorgung und der Geschirrmenge abhängen.
Reinigung und Pflege
Filterreinigung
Die Filter mussen regelmäßig kontrolliert und gereinigt werden. Schmutzige Filter beeinträchtigen das Spulergebnis.
Warning! Vergewissern Sie sich vom dem Reinigen der Filter, dass die Maschine ausgeschaltet ist.
- Öffnen Sie die Tür und entfern Sie den Unterkorb.
- Das Filtersystem des Geschirrspulers umfasst einen Grobfilter (A), einen Mikrofilter (B) und ein Filtersieb. Entriegeln Sie das Filtersystem mit dem Griff des Mikrofilters.
Drehen
Sie den
Griff um
1/4 Um-drehung
nach
links und
ziehen
Sie das
Filtersystem
heraus


- Fassen Sie den Grobfilter (A) am Handgriff undziehen Sieihn aus dem Mikrofilter (B).
- Reinigen Sie alle Filter sorgfältig unter flieBendem Wasser.
- Nehmen Sie das Filtersieb aus dem Spülraumboden und reinigen Sie beiden Seiten sorgfältig.
- Setzen Sie das Filtersieb wieder in den Spülraumboden ein und stellen Sie sich, dass es perfect unter den beiden Schieren sitzt (C).

3.
- Setzen Sie den Grobfilter (A) in den Mikrofilter (B) ein und drücken Sie die beiden Filter zusammen.
- Das Filtersystem einsetzen und durch Drehen des Griffs nach rechts bis zum Anschlag verriegeln. Achten Sie darauf, dass das Filtersieb nicht über den Spülraumboden hervorragt.

Benutzen Sie den Geschirrspüller NIEMALS ohne die Filter. Falsches Einsetzen der Filter führt zu schlechten Spülergebnissen und kann Schäden am Gerät verursa-chen.
Versuchen Sie NIE, die Sprüharme auszubauen.
Eventuell durch Schmutz verstopfte LÖcher der Sprüharme mit einem Partystick reinigen.
Reinigung der Außenseiten
Reinigen Sie die Außenseiten und die Bedienblende des Gerätes mit einem weichen feuchten Tuch. Benutzen Sie bei Bedarf nur neutrale Reinigungsmittel. Benutzen Sie keine Scheuermittel, Metallschwämmen oder Lösungsmittel (Azeton, Trichloräthylen usw.).
Reinigung des Geräteinneren
Reinigen Sie die Gummidichtungen der Türen und des Reinigungsmittel- und Klarsprü
Was tun, wenn ...
Der Geschirrspüler startet nicht oder hält während des Betriebs an.
Einige Störungen sind durch nachlüssige Instandhaltung oder Versehen bedingt und können mithilfe der in der folgenden Tabelle
Ierbehalters regelmäßig mit einem feuchten Tuch.
Alle 3 Monate sollen den Sie das Spulprogramm für stark verschmutztes Geschirr ohne Geschirr, aber mit Verwendung von Spulmitteln ausführten.
Lägerer Gerätestillstand
Vor einem längerem Stillstand des Geschirrspluers sollen Sie folgende Vorsichtsmaßnahmen ergreifen:
- Ziehen Sie den Netzstecker und schlieben Sie den Wasserhahn.
- Offnen Sie die Tur einen Spaltbreit, um dem Entstehen unangenehmer Gerüche vorzubeugen.
- Reinigen Sie das Geräteinnere.
Frostschutzmaßnahmen
Stellen Sie den Geschirrspüler nicht in einem Raum auf, in dem die Temperatur unter 0^ absinkt. Sollte dies nicht vermeidbar sein, die Maschine entleeren, die Geräteür schlieben, den Wasserzulaufschlauch entfern und entleeren.
Transport des Gerätes
Halten Sie sich bei einem Transport des Gerätes (Umzug usw.) an folgende Anweisungen:
- Netzstecker ziehen.
- Den Wasserhahn schlieben.
- Den Wasserzulauf- und den Ablaufschlauch abnehmer.
- Ziehen Sie das Gerät zusammen mit den Schläuchen hereus.
Lassen Sie das Gerät beim Transport nicht umkippen.
beschreibenen Maßnahmen ohne Hilfe des Kundendienstes behoben werden.
Schalten Sie den Geschirrspüller ab, öffnen Sie die Tür und führen Sie folgende Kontrollen durch.
| Fehlercode und Störung | Mögliche Ursachen und Abhilfe |
| Ständiges Blinken der Kontrollampe Start/CancelDie Kontrollampe Endeblink 1 MalDer Geschirrspulifer füllt kein Wasser ein | Der Wasserhahn ist blockiert oder durch Kal-kablagerungen verstopfDen Wasserhahn reinigenDer Wasserhahn ist geschlossenDrehen Sie den Wasserhahn aufDer Filter (soweit vorhanden) in der Schlauch-verschraubung des Wasserzulaufs ist verstopft Reinigen Sie den Filter in der Schlauchverschrau-bungDer Wasserzulaufschlauch ist nicht richtig ver-legt oder gequetschtDen Anschluss des Ablaufschlauchs kontrollieren |
| Ständiges Blinken der Kontrollampe Start/CancelDie Kontrollampe Endeblink 2 MalDer Geschirrspulerpumpt nicht ab | Der Siphon ist verstopfDen Siphon reinigenDer Wasserzulaufschlauch ist nicht richtig ver-legeit oder geknicht oder gequetschtDen Anschluss des Ablaufschlauchs kontrollieren |
| Ständiges Blinken der Kontrollampe Start/CancelDie Kontrollampe Endeblink 3 MalDie Aquasafe-Einrichtung ist ausgelöst. | Schließen Sie den Wasserhahn und wenden Sie sich an den lokalen Kundendienst. |
| Störung | Mögliche Ursachen und Abhilfe |
| Das Programm startet nicht | Tür des Geschirrspulers nicht richtig geschlos-sen.Schließen Sie die Tür des Geschirrspulers.Netzstecker nicht eingesteckt.Netzstecker einsteckenDie Sicherung der Hausinstallation ist durchge-brannt.Sicherung ersetzen. |
| Schalten Sie nach diesen Kontrollen das Ge-rät ein.Das Programm wird an dem Punkt fortge-setzt, an dem es unterbrochen wurde.Wenden Sie sich an den Kundendienst, wenn die Störung fortbesteht oder erneut auftritt.Solten Fehler auftreten, die nicht in der o. a. Tabelle behandelt werden, rufen Sieitte den Kundendienst.Wenden Sie sichitte an den Kundendienstund machen Sie folgende Angaben: Modell | (Mod.), Produktnummer (PNC) und Serien-nummer (S.N.).These Daten sind aus dem Typenschild auf der Seite der Geschirrspulertür ersichtlich.Notieren Sie diese Nummern hier, um sie stets bei Bedarf zur Hand zu haben:Modell(Mod).Produkt-Nummer(PNC):Serien-Nr.(S.N.): |
Das Spulergebnis ist nicht zufriedenstelltend
| Das Geschirr ist nicht sauber | · Wahl eines falschen Spülprogramms. · Das Geschirr ist so eingestellt, dass nicht alle Teile gut von Wasser umspütt werden. Die Körbe dürfen nicht überladen werden. · Falsche Beladung befindert die Drehung der Sprüharme. · Die Filter im Spülraumboden sind verstopf oder falsch eingesetzt. · Zu hohe oder zu geringe Reinigungsmitteldosierung. · Bei Kalkbelägen auf dem Geschirr; der Salzbehälter ist leer oder falsche Einstellung des Wasserenthärters. · Ablaufschlauch falsch verlegt. · Verschlusskappe des Salzbehälters nicht richtig geschlossen. |
| Das Spülergebnis ist nicht zufriedenstellt | |
| Das Geschirr ist nass und glanzlos | Es wurde kein Klarspüler verwendet. Der Behälter für Klarspüler ist leer. |
| Schlieren, Streifen, milchige Flecken oder blauschim-mernder Belag auf Gläsern und Ge-schirr | Klarspüerdosierung reduzieren. |
| Eingetrocknete Wassertropfen auf Gläsern und Ge-schirr | Klarspüerdosierung erhöhen. Die Ursache kann beim Reinigungsmittel liegen.itte wenden Sie sich an den Kundendienst des Reinigungsmittel-Herstellers. |
Wenn die Störungen nach diesen Kontrollen fortbestehen, wenden Sie sich an den Kundendienst.
Technische Daten
| Abmessungen | Breite | 59,6 cm |
| Höhe | 81,8 - 87,8 cm | |
| Tiefe | 57,5 cm | |
| Elektrischer Anschluss - An-schlussspannung - Gesamtleis-tung - Sicherung | Die Daten der elektrischen Anschlusswerte befinden sich auf dem Typenschild an der Innenseite der Geschirrspülertür. | |
| Wasserdruck | Mindestdruck | 0,5 bar (0,05 MPa) |
| Höchstdruck | 8 bar (0,8 MPa) | |
| Fassungsvermögen | 12 Maßgedecke | |
| Gewicht | 39,5 kg | |
Hinweise für Prüfinstute
Die Prüfung muss nach EN 60704 bei voller Beladung mit dem Testprogramm (siehe Tabelle "Verbrauchswerte") durchgeführt werden.
Die Prüfung muss nach EN 50242 mit vollem Salz- und Klarspüllerbehälter und mit dem Testprogramm (siehe "Verbrauchswerte") durchgeführt werden.
| Volle Beladung: 12 Maßgedecke | |
| Reinigungsmitteldosierung: | 5 g + 25 g (Typ B) |
| Klarsprüereinstellung | Position 4 (Typ III) |

Anordnung des Oberkorbs

Tassenauflagen: Stellung A

Anordnung des Unterkorbs

Anordnung des Besteckkorbs
Gerä aufstellen

Warning! Der elektrische Anschluss des Gerätes und alle sonstigen Installationsarbeiten dürfen nur von qualifizierten Elektrikern und Installaturen ausgeführrt werden.
Entfernen Sie vor dem Aufstellen der Maschine das gesamte Verpackungsmaterial.
Das Gerät möglichst in der Nähe eines Wasserhahns und eines Wasserablaufs aufstellen.
Der Geschirrspüler ist zum Einbau unter einer Kuchen-Arbeitsplatte bestimmt.
Achtung! Halten Sie sich für den Einbau des Geschirrspulers und der Anbauplatte strikt an die Anweisungen auf der beiliegenden Schablone.
Es sind keine Luftungsöffnungen für den Geschirrspüler erforderlich, sondern nur Durchführungen für den Wasserzulauf- und den Ablaufschlauch und das Netzkabel.
Der Geschirrspüler ist mit hohenverstellbaren Füßen ausgestattet.
Bei allen Arbeitsen, die den Zugang zu den inneren Bauteilen erfordern, muss zuvor der Netzstecker gezogen werden.
Stellen Sie vor dem Einbau des Geschirrspuliers in die Kuchenzeile sicher, dass der Wasser-, der Ablaufschlauch und das Netzkabel weder geknigt noch gequetscht werden.
Fixieren des Geschirrspulers
Der Geschirrspüler muss gegen unbeabsichtigtes Kippen geschützt werden.
Aus thisem Grund ist sicherzustellen, dass die Arbeitsplatte, unter die der Geschirrspuler eingeschoben wird, ordnungsgemäß und safer (an benachbarten Kuchenschränken/möbeln usw.) befestigt ist.
Ausbrichten
Korrektes Ausrichten ist die Voraussetzung darauf, dass die Tur Wasserdicht schlieBt.
Wasseranschluss
Wasserzuleitung
Das Gerät kann mit Warmwasser (max. 60^ ) wie auch mit Kaltwasser gespeist werden. Mit einer Warmwasserversorgung konnen Sie unter Umständen deutlich Energie sparen. Allerdings kommt es darauf darauf auf an, wie das Warmwasser aufbereitet wird. (Wir empfehlen alternative Energiequellen, die besonderss umweltfreiundlich sind wie zum Beispiel Solar- bzw. Photovoltaikanlagen oder Windenergie).
Wenn Sie den Anschluss selbst durchführten: die Kopplungsmutter des Wassereinlaufschlauchs des Gerätes ist für ein Rohrgewinde 3/4" ausgelegt oder für spezielle Schnellkupplungen wie zum Beispiel Press-Block. Der Wasserdruck muss innerhalb des in den "Technischen Daten" aufgeführten Bereichs liegen. Ihr Wasserwerk kann Sie über die durchschnittlichen Druckwerte in Ihr Gebiet informieren.
Der Wasserzulaufschlauch damit beim Anschluss nicht geknickt, gequetscht oder verdreht werden.
Dieses Gerät besitzt einen Zulauf- und Ablaufschlauch, die nach rechts oder links verlegt werden konnen, um die Installation mit der Klemmutter zu erreichtern. Die
Klemmutter muss zur Vermeidung von Lecks richtig angebracht werden.
Achtung! NICHT alle Geschirrspulermodelle werden mit Zulauf- und Ablaufschlauchen mit einer Klemmutter geleifert. In thisem Fall ist die genannte Verlegung nicht möglich.
Falls das Gerät mit neuen oder lange Zeit nicht benutzten Schläuchen angeschlossen wird, halten Sieitte vor dem Anschluss des Zulaufschlauchs eine Minute lang Wasser durch diesen fließen.
Bei richtiger Ausrichtung darf die Tur bei Öffnen auf keiner Seite des Kuchenmöbels anstoßen.
Die Geräteausrichtung ggf. durch Anziehen oder Lockern der Stellübe nachstellen.
BENUTZEN Sie KEINE Anschlusschläuche von Altgeräten.
Das Gerät ist mit einer Sicherheitsvorrichtung versehen, die verhindert, dass das im Geschirrspüller verwendete Wasser in das Trinkwassersystem zurücklaufen kann. Das Gerät entspricht den gültigen Vorschriften für Installationsarbeiten.
Wasserschlauch mit Sicherheitsventil
Nach dem Anschluss des doppelwandigen Wasserschlauchs befindet sich das Sicherheitsventil in der Höhe des Wasserhahns. Der Wasserschlauch steht davon nur während der Versorgung des Geschirrspulers unter Druck. Sobald der Wasserschlauch zu lecken beginnnt, unterbricht das Sicherheitsventil die Wasserversorgung.
Berücksichtigten Sie bei der Verlegung des Wasserschlauchs:
- Das Elektrokabel des Sicherheitsventils befindet sich in dem doppelwandigen Wasserschlauch. Den Wasserschlauch oder das Sicherheitsventil nicht in Wasser tauchen.
- Ziehen Sie sofort den Netzstecker, wenn der Wasserschlauch oder das Sicherheitsventil beschädigt ist.
- Ein Zulaufschlauch mit Sicherheitsventil darf nur von einer Fachkraft des Kunden-dienstes ersetzt werden.
Warning! Gefährliche Spannung

Anschluss des Ablaufschlauchs
Das Ende des Ablaufschlauchs kann wie folgt angeschlossen werden:
- An einen Siphon; bzw den Schlauch an der Unterseite der Arbeitsplatte befestigen. Dadurch wird verhindert, dass Abwasser aus dem Siphon in das Gerät zurückfließen kann.
- An ein Standrohr mit Entlüftungsöffnung und Innendurchmesser von mindestens 4 cm.
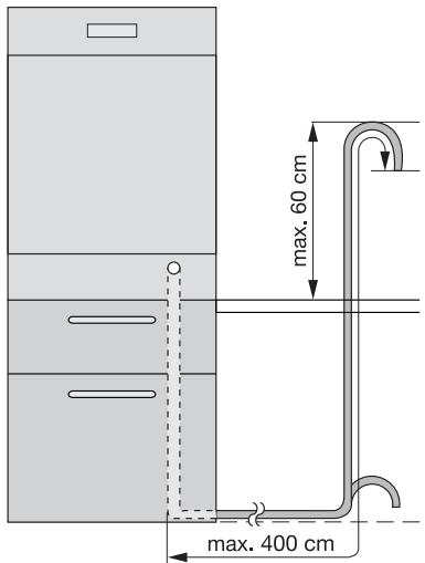
Der Abwasseranschluss muss sich in einer Höhe von maximal 60 cm vom Boden des Geschirrspulers befinden.

Der Ablaufschlauch kann nach rechts oder links verlegt werden
Stellen Sie sichere, dass der Ablaufschlauch nicht geknicht oder gequetscht wird, da das den Wasserablauf behindern kann.
Elektrischer Anschluss
Der Spülbeckenstöpsel darf während des Abpumpens des Gerätes nicht eingesetzt sein, da dadurch das Wasser wieder in die Maschine gesaugt werden kann.
Die Gesamtlänge des Ablaufschlauchs einschließlich einer eventuellen Veränderung darf nicht mehr als 4 Meter betragen. Ebenso darf der Innendurchmesser der Verbindungen für den Anschluss an den Ablauf nicht kleiner sein als der Durchmesser des eingesetzten Schlauchs.
Ebensoarf der Innendurchmesser der Verbindungen fur den Anschluss an den Ablauf nichtkleiner sein als der Durchmesser des eingesetzten Schlauchs.
Wenn der Ablaufschlauch an einen Siphon angeschlossen wird, muss die gesamte Kunststoffmembran (A) entfernt werden. Wird die Membran nicht entfern, kann der Ablaufschlauch im Laufe der Zeit durch eventuelle Ablagerungen von Speiseresten im Siphon verstoptf werden

i Unsere Geräte verfügen über eine Sicherheitsseinrichtung, die den Rückfluss von Schmutzwasser in die Maschine verhindert. Falls der Siphon ihrer Spüle mit einem "Rückschlagventil" ausgestät ist, kann dadurch der Ablauf Ihres Geschirrspulers beeinträchtigt werden. Sie sollen das Ventil davon entfern.
Zur Vermeidung von Undichtigkeiten mussen die Wasseranschlüsse vollkommen dicht sein.
Stellen Sie vor der ersten Benutzung des Gerätes sicher, dass die Netzspannung und -frequenz mit den auf dem Typenschild angegebenen Anschlusswerten übereinstimmen. Die Nennwerte der Sicherung sind ebenfls aus dem Typenschild ersichtlich
Benutzen Sie für den Netzstecker immer eine berührungssichere Steckdose.
Vielfachsteckdosen, Steckverbinder und Verlangerungskabel dürfen nicht verwendet werden. Es besteht Brandgefahr durch Überhitzung.
Lassen Sie ggf. die Steckdose versetzen. Wenden Sie sich für einen eventuellen Austausch des Netzkabels an den Kundendienst.
Der Stecker muss auch nach der Installation des Geschirrspulers zugänglich sein.
Um das Netzkabel von der Steckdose zu trennen,ziehen Sie stets am Netzstecker. Niemals am Netzkabelziehen.
Der Hersteller übernimmt keine Haftung für Unfälle, die aus der Missachtung dieser Vorschrift entstehen sollenn.
Umwelttipps
Das Symbol auf dem Produkt oder seiner Verpackung weist darauf hin, dass thesele Produkt nicht als normaler Haushaltsabfall zu behandeln ist, sondern an einem Sammelpunkt fur das Recycling von elektrischen und elektronischen Geräten abgegeben werden muss. Durch ihren Beitrag zum korrekten Entsorgen thesese Produkt schützen Sie die Umwelt und die Gesundheit ihrer Mitmenschen. Umwelt und Gesundheit werden durch falsches Entsorgen gefährdet. Weitere Informationen über das Recycling这些东西 Produkt erhalten Sie von Ihrem Rathaus, Ihrer Müllabfuhr oder dem Geschäft, in dem Sie das Produkt gekauft haben.
Verpackungsmaterial
Das Verpackungsmaterial ist umweltfreundlich und recyclelbar. Kunststoffeile sind mit
internationalen Abkürzungen wie z. B. >PE< , >PS< usw. gekennzeichnet. Entsorgen Sie das Verpackungsmaterial entsprichend ihrer Kennzeichnung bei den communalen Entsorgungsstellen in den darauf vorgesehenen Sammelbehältern.

Warning! Vor der Entsorgung von Altgeräten:
- Netzsteckerziehen.
- Das Netzkabel abtrennen und entsorgen.
- Das Turschloss entfern. Damit verhindern Sie, dass spielende Kinder sich einschließlich und gefährden konnen.
Inhoud
Elektronisch instellen
Als de droogresultaten nicht bevredigend sein, adviseren wij u:
wwwprogress-hausgeraete.de
EinfachAnleitung