VR34406LV - Aspirapolvere LG - Manuale utente e istruzioni gratuiti
Trova gratuitamente il manuale del dispositivo VR34406LV LG in formato PDF.
Scarica le istruzioni per il tuo Aspirapolvere in formato PDF gratuitamente! Trova il tuo manuale VR34406LV - LG e riprendi in mano il tuo dispositivo elettronico. In questa pagina sono pubblicati tutti i documenti necessari per l'utilizzo del tuo dispositivo. VR34406LV del marchio LG.
MANUALE UTENTE VR34406LV LG
Il migliorere negli angoli
Avendo adottato un design di concetto totalmente nuovo pensato per la pulizia a filo muro e per arrivare negli angoli, la prestazione durante la pulizia di HOM-BOT è incrediblemente effici ciente.
Funzione appendimento
HOM-BOT è capace di memorizzare l'ambiente di pulizia tramite la sua caratteristica Smart Operation per una pulizia più intelligente.
Modalità Turbo
Nella modalità "Turbo", HOM-BOT opera in modo più potente.
La modalità "Turbo" e attivata automaticamente su tappeti, rendendo HOM-BOT in grado di operare con maggiore effi cienza.
Panno per la pulizia dei pavimenti (opzionale)
Panno per la pulizia dei pavimenti rende molto più semplice per gli utenti sostituire il panno perché dover ruotare il dispositivo.
My Space
Ordinandogli di pulire uno spazio particolare, HOM-BOT pulisce rapidamente lo spazio sporco desiderato.
Repeat
HOM-BOT pulirà in modo continuo fina a che la batteria non sare esaurita.
Funzione di localizzazione
Quando HOM-BOT è spostato da un punto durante l'attivazione, il disposito ricercherà automaticamente la posizione, ritornerà in quel punto, e continuera a pulire.
CONTENUTI
1
PRIMA DELL'USO
2-5 Precauzioni di sicurezza
6 Incluso con il prodotto
7~8 Desrzione delle parti
9-10 Funzioni dei tasti
11 Visualizzare informazioni sullo status
12 Prima di iniziare
13 Panoramica
2
METODO D'USO
14 Come installare la base di ricarica
15 Come accendere e spagnere l'alimentazione del HOM-BOT
16 Come avviare et terminare la pulizia
17 Come caricare la batteria
18~19 Modalità di pulizia
20 Modalità di pulizia ausiliarie
21 Pulizia con il panno in microfi bra (opzionale)
22 Funzione ricerca posizione
23-24 Diagnosi intelligente
3
METODO DI GESTIONE DOPO L'UTILIZZAZIONE
25 Pulizia del contentatore della polvere
26 Pulizia del fi Itro del contentatore della polvere
27 Pulizia della spazzola
28 Pulizia del sensore/terminale di carica
29 Pulizia della spazzola laterale
30 Pulizia del panno in microf bra (opzionale)
4
INFORMAZIONI AGGIUNTIVE
31~33 Risoluzione problemi
34 Prima di contattare il servizio clienti
5
RIFERIMENTI
35 Elementi di riferimento
Lo scopo delle precauzioni di sicurezza descritte è di permettere all'utente di utilizzato il prodotto in modo sicuro e di evitare qualsiasi rischio inatteso di infortuni o danni.
Precauzioni di sicurezza di base
Dopo aver concluso lagettura del presente manuale, conservarlo in un luogo fácilmente accesibile.

Questo è il symbolo dell'avviso sulla sicurezza. Questo symbolo avverte di possibili rischi che potrebbero provocare danni alla propietà e/o gravi infortuni fisici o morte.

ATTENZIONE
Indica una situazione di pericolo che, se non viene evitata, potrebbe determinare morte o infortuni gravi.

PRUDENZA
Indica una situazione di pericolo che, se non viene evitata, potrebbe determinare infortuni moderati o di scarsaentities.

ATTENZIONE
- Questo apparecchio non è destinato all'uso da parte di persona (bambini inclusi) con ridotte capacità fisiche, sensoriali o mentali, o che non disponogo dell'esperienza e conoscenza necessarie per utilizzare l'apparecchio, a meno che tali persone non siano state istruite da una persona responsable della loro sicurezza oppure siano assistite durante l'uso dell'apparecchio.
- I bambini devono essere supervisionati per assicurarsi che non giochino con l'apparecchio.
- Se il cavo di alimentazione è danneggiato, deve essere sostituito dal servizio di assistenza di LG Electronics in modo da prevenir agli rischio.
- Questo apparecchio può essere utilizzato da bambini di età superioreagli 8 anni e da persone con ridotte capacità fisiche, sensoriali o mentali, o che non disponogo dell'esperienza e conoscenza necessarie perutilizzare l'apparecchio, a condizione che siano assistite durante l'uso dell'apparecchio o siano state istruite da una persona responsabile della loro sicurezza in merito all'uso dell'apparecchio in modo sicuro e alla comprehensione dei rischi connessi. I bambini non devono giocare con l'apparecchio. La pulizia e la manutenzione dell'apparecchio non devono essere effettuate da bambinienza sorveglianza.

Per garantire la sicurezza, non rimuovere la batteria dall'HOM-BOT. Se è necessario sostiturie la batteria di HOM-BOT, portarlo al centro servizi LG Electronics o al fornitore più vicino per ricevere assistenza.
La non ottemperanza di quello avvertimento cui provocare incendi o il guasto del prodotto.

Non usare HOM-BOT con batterie e/o base di ricarica di prodotti che non siano HOM-BOT.
Cio potrebbe provocare incendio o guasto del prodotto.

ATTENZIONE

Assicurarsi che il cavo d'alimentazione della base di ricarica non sia schiacciato da oggetti pesanti o abbia riportato danni causati alla vicinanza con oggetti affi lati.
La non ottemperanza di quello avvertimento può provocare scosse elettriche, incendi o il guasto del prodotto. Se il cavo d'alimentazione è rotto, non collegarlo. Portare il prodotto da un riparatore autorizzato LG Electronics.

Non sistemare la base di ricarica e HOM-BOT in prossimità di un dispositivo di riscaldamento.
Cio potrebbe provocare deformazione, incendio o guasto del prodotto.

Non forzare iliegamento della spina dell'alimentazione. Non usare una spina d'alimentazione danneggiata o allentata.
Cio potrebbe provocare incendio o guasto del prodotto.

Non toccare la spina dell'alimentazione con le mani bagnate.
Cio potrebbe provocare scosse elettriche.

Non spruzzare o risucchiare materiali infi ammabili, sostanze tensioattive, o acqua nelle vicinanze di HOM-BOT.
Cio potrebbe provocare incendio o guasto del prodotto.
- Materiali infi ammabili: benzina, solvente, ecc.
- Sostanze tensioattive: detergenti, articoli per il bagno, ecc.

Non insere parti del corpo, come mani o piedi, al di sotto della spazzola o delle ruote di HOM-BOT durante l'uso.
Ci potrebbe provocare infortuni o il guasto del prodotto.

Non usare HOM-BOT su mobili strettie alti come guardaroba, frigoriferi, scrivanie, tavoli, ecc.
Ciò potrebbe provocare lesions, guasti del prodotto, o danni non coperti alla garanzia.

Non attivare il dispositivo su un pavimento che presenta una pendenza superiore a 10 gradi.
Il dispositiivo potrebbe non funzionare in modo corretto.

Non usare HOM-BOT quando sul pavimento sono presenti candele o altri oggetti fragili.
Ci potrebbe provocare incendio o guasto del prodotto.

Usare sempre una presa di corrente dedicata con 5 A o superiore.
Se a una presa di corrente sono collegati più appearecchi, possono generate calore suffi ciente a provocare un incendio.

Per estrarre la spina di alimentazione, tirare la spina, non il cavo. Quando si estraie la spina di alimentazione, non toccare i denti con le dita.
Cio potrebbe provocare scosse elettriche.

Non permettere che bambini o cuccioli giochino o poggino sul HOM-BOT. Non usare HOM-BOT se ci sono oggetti appesi.
Cio potrebbe provocare infortuni o il guasto del prodotto.

Spagnere immediatamente l'alimentazione elettrica se da HOM-BOT provengono suoni, odori, o fumi anomali.
La non ottemperanza di quello avvertimento cui provocare incendi o il guasto del prodotto.

Non usare HOM-BOT in una stanza in cui sta dormendo un bambino.
Cio potrebbe provocare infortuni o il guasto del prodotto.

Non lasciare bambini o cuccioli alla controlo delle vicinanze di HOM-BOT.
Cio potrebbe provocare infortuni o il guasto del prodotto.

PRUDENZA

Svuotare di frequente il contentatore della polvere e tenerlo pulito.
La polvere raccolta nel bidone potrebbe provocare allergie o contentere insetti nocivi.

Non lasciar cadere HOM-BOT o sopporlo a urti.
Ciò potrebbe provocare guasti del prodotto, o danni non coperti alla garanzia.

Usare HOM-BOT esclusivamente all'interno.
Usage all'esterno potrebbe provocare il guasto del prodotto e danni irreparabili all'unita.

Non esporre HOM-BOT a temperature molto bajo (inferiori a -5 °C) per un lungo periodo di tempo.
Cio potrebbe provocare il guasto del prodotto.

Chiudere il coperchio del contentatore della polvere sull'unità principale prima iniziare a pulire.
Se il coperchio non è chiuso, più provocare lesioni o danni al prodotto.

Rimuovere cavi o corde lunghe dal pavimento.
I cavi o le corde possono aggrovigliarsi sulle ruote di HOM-BOT, causando il guasto del prodotto o la disconnessione del cavo.

NON usare HOM-BOT intorno a ringhiere, scale,o altri luoghi pericolosi.
In caso contrario, l'utente o il prodotto potrebbero essere esposti a danni.

Assicurarsi che HOM-BOT non sia posto su tavoli o scrivanie con l'alimentazione accesa.
Cio potrebbe provocare lesioni all'utilizzatore o danni al prodotto.

In casi multi rari, la spazzola di HOM-BOT
puo danneggiare i tappeti. Se ci dovesse
verifi carsi, fermare immediatamente
I'operazione di pulizia.
Se il tappeto è dotato di nappe lunghe, potrebbero subire danni.

Non permettere che HOM-BOT spazzi liquidi, lame, trucioli, ecc.
Questi oggetti potrebbero provocare guasti al prodotto.

Non lasciare che l'unità principale e il terminale di ricarica della base di ricarica entrino in contatto con oggetti metallici.
Ciò potrebbe provocare il guasto del prodotto.

Non insertire oggetti affi lati nell'apertura del sensore supersonico di HOM-BOT.
Cio potrebbe provocare guasti al prodotto.

Non immettere acqua, detergenti, ecc., all'interno di HOM-BOT.
Ciò potrebbe provocare il guasto del prodotto. Non versare acqua, detergenti, ecc., su HOM-BOT. Se una sostanza liquida dovesse entrare all'internalo di HOM-BOT, spegnere immediatamente l'alimentazione elettrica e contattare un agente di vendita o un centro di assistenza clienti.

Non usare HOM-BOT quando il contentatore della polvere è completamente pieno.
Cio potrebbe provocare guasti al prodotto.

PRUDENZA

Se il pavimento è bagnato o presenta dei punti umidi, asciugarli prima di usare HOM-BOT. Non usare HOM-BOT su una superficie bagnata.
La non ottemperanza di quello avvertimento cui provocare il guasto del prodotto.

Quando il HOM-BOT è in funzione, potrebbe colpire le gambe di sedie, scrivanie o tavoli, o altri pezzi di mobilio di piccole dimensioni.
Per una pulizia più rapida e migliorare, sistemare le sedie sui tavoli.

Quando sicollege la il panno in microfi bra, non bloccare il sensore della telecamera inferiore.
Bloccare il sensore della telecamera inferiore potrebbe impedire il corretto funzionamento del prodotto. (Alcuni modelli potrebbero non averi il sensore.)

Accertarsi che il piatto si trovi a una
distanza superiore ai 3 cm dal pavimento prima di iniziare la pulizia.
Se la soglia è Bassa, HOM-BOT può percorrerla interamente fi no alla porta d'ingresso.

Per risparmiare energia, spegnere l'interruttore quando l'apparecchio non è in uso, ed accenderlo per effettuire la pulizia e la ricarica.

Consiglio
Controllare i seguenti elementi prima dell'uso:
Svuotare il contentatore della polvere dopo che si è riempito.
Rimuovere cavi o corde lunghe dal pavimento.
Rimuovere l'umidità dal pavimento prima della pulizia.
- Chidere la copertura del contentatore della polvere prima di pulire.
- Rimuovere gli oggetti fragili o non necessari alla stanza da pulire.
Per esempio, rimuovere ceramiciche coste o oggetti di valore dal pavimento.
- Confermare che la batteria dispona di carica sufficiente, e se Bassa, ricaricarla.
- Chidere le porte delle stanze in cui non si desidera che HOM-BOT entri.
Durante la pulizia, HOM-BOT potrebbe entrare in un'altra stanza e continuare a pulire.
Non usare quello prodotto in una stanza dove sta dormendo un bambino. Il bambino potrebberi riportare ferite.
Rimuovere tovaglie, asciugamani o altri panni sottili dal pavimento in quanto potrebbero essere catturati alla spazzola.
- La pulizia sera più difficoltosa su tappeti più alto di 20 mm o sulla moquette.
- Per favore, chiudere le porte dei balconi. Le ruote potrebbero bloccarsi durante la pulizia.

HOM-BOT

Telecomando

Base di ricarica
Le immagini potrebbero presentare delle differenze rispetto ai prodotti reali.

Strumento per la pulizia

Filtro (Hepa11) (opzionale)

DVD manuale

Panno (opzionale)

Il panno in microfi bra (2 pezzi) (opzionale)
Spazzola per la pulizia dei sensori
Pulizia del fltro

Spazzola per la pulizia
(si trova sul coperchio del contentatore della polvere)

Pile alcaline per il telecomando (2 unità AAA)

Vista in pianta

Vista frontale

Vista posteriore

Vista dal basso
Le immagini potrebbero presentare delle differenze rispetto ai prodotti reali.

Base di ricarica

Contenitore per la polvere

Le immagini potrebbero presentare delle differenze rispetto ai prodotti reali.

| TURBO | • Se si preme il tasto, sare è impostata la 'Modalità Turbo' con una guida vocale. • Se il tasto viene premuto quando sia più attiva la 'Modalità Turbo' verrà cancellata. |
| START/STOP | • Usato per accendere, avviare o fermare la pulizia. • Se il tasto viene premuto quando l'alimentazione è su ACCESO, inizIERÀ a pulire. • Se viene premuto il tasto durante la pulizia HOM-BOT interromperà la pulizia. • Se il tasto viene premuto per ca. 2 sec. con l'alimentazione su ACCESO, il prodotto si spegnerà. • Se il tasto viene premuto nella modalità 'Smart Diagnosis', terminerà la diagnosi. |
| HOME | • Usato per ricaricare HOM-BOT spostandolo su Base di ricarica. • Se la pulizia è terminata o la batteria non è sufficiente, HOM-BOT andrà autonomamente alla Base di ricarica per ricaricare la sua batteria. |
| BLOCCO TASTO Acceso/Spento | • Premere i tasti 'TURBO' e 'START/STOP' per min. 3 secondi attiverà o disattiverà la funzione di blocco tasti. • Se il 'Blocco Tasti' è ACCESO, premere quello tasto farà lampeggiare l'icona di Blocco Tasti, e si sentirà il messaggio "Il pannello è stato bloccato." |
| VOICE ALERT On/Off | • Per attivare o disattivare l'ALLARME VOCALE premi contemporanieamente i due pulsanti Avvio e Carica per 3 sec. • Quando l'ALLARME VOCALE viene spento, si accende la spia luminosa MUTO. • Non è possible impostare QUESTa funzione utilizzando il telecommando. |
| Cambia lingua | • Premere il tasto 'Home' per 3 secondi perambiare la lingua dei messaggi vocali. • Non è possible utilizzato cette funzione con il tasto sul telecommando. |


Consiglio
- Il telecomando NON presenta una funzione di ACCENSIONE.
- Quando la macchina è SPENTA, il telecommando potrebbe non funzionare.
- Per SPEGNERE/ACCENDERE, usare il tasto 'START/STOP' sulla sezione superiore di HOM-BOT.
- Usare il tasto 'Mode', 'My Space' dopo aver fermato HOM-BOT.

Controllare questi elementi prima di iniziare
Non usare quello prodotto se in una stanza è presente un bambino alla sorveglianza. Il bambino potrebberiportare ferite.
- Rimuovere gli oggetti fragili o non necessari alla stanza da pulire.
Per esempio, rimuovere ceramiciche coste o oggetti di valore dal pavimento.
- Chiudere la coperchio di HOM-BOT prima di pulire.
Rimuovere umidità eventualmente presente sul pavimento.
Rimuovere cavi, nastri, tovaglie, tappeti, ecc., dal pavimento in modo che non possano essere catturati alla spazzola. - Confermare che la batteria dispona di carica sufficiente, e se è Bassa, ricaricarla.
- Svuotare il contentitore della polvere se è piano.
- Chiudere le porte delle stanze in cui non si desidera che HOM-BOT entri. Durante la pulizia, HOM-BOT potrebbe entrare in un'altra stanza e continuare a pulire.
- Quando il panno è collegato, HOM-BOT non sare in grado di superare soglie superiori ai 5 mm. Se non ha intenzione di usare la il panno in microfibia per pulire, separarla prima di usare HOM-BOT.
- La pulizia sarei più difficoltosa su tappeti più alto di 20 mm o sulla moquette.
Per favore, chiudere le porte dei balconi. Le ruote potrebbero bloccarsi durante la pulizia. - Si prega si mettere via coltelli, chiodi e altri oggetti appuntiti per evitare danneggiare il prodotto.
Caricamento della batteria del telecomando
- Aprire il coperchio della batteria sollevando il gancotto posteriore del telecomando.
- Inserire due batterie AAA, controllare i nodi + - durante la carica.
- Chiudere completeness in modulo da evitare che le batterie cadano.



Precauzioni durante l'uso del telecomando
- Premere un solo tasting alla volta.
Non lasciarlo cadere o sottoporlo a impatti elevati
Non conservarlo nelle vicinanze di dispositivi che emettono calore, fuoco o aria calda. - Alcune lampade fluorescenti, come le lampade fluorescenti e Lampada a tre bande di radiazione, sono interferire con l'attivazione del telecomando. Quindi, uso il più lontano possibile da tali lampade.
- Se il telecomando è lontano da HOM-BOT quando viene attivato, potrebbe non funzionare correttamente. Usare il dispositivo a una distanza massima di 3 m da HOM-BOT se possibile.
1
Installare base di ricarica. (p14)
Inserire la spina del cavo di alimentazione in una presa di corrente e posizionare la stazione contro una parete. Se la corrente non arrivava alla base di ricarica, HOM-BOT non si ricaricherà.

2
Accendere l'alimentazione elettrica di HOM-BOT. (p15)
Accendere l'interruttore dell'alimentazione sulla parte posteriore sinistra di HOM-BOT, e premere il tasto 'START/STOP' sulla parte superiore.
※ Se l'alimentazione non si accende,fare riferimento a pagina 15.

3
Controlla contentatore della polvere.
Controllare lo stato contentitore della polvere. Per la povere prima di iniziare a pulire e chiudere il coperchio sull'unità principale.

4
Iniziare la pulizia. (p16)
Premere il tasting 'START/STOP' ora una volta nelle HOM-BOT è avviato. Sentirà il suono della pulizia, quando l'operazione di pulizia inizIERÀ.

5
Ricarica automatica. (p17)
HOM-BOT eseguirà una auto-diagnosi e ritornerà automaticamente alla base di ricarica per ricaricarsi prima che la batteria sia completenesse scarica. Sono necessarie circa tre ore per caricare la batteria.

6
Usa la modalità pulizia e le funzioni ausiliarie. (p18~21)
Usare i tasti su HOM-BOT e sul telecomando per usare ciascun metodo di pulizia e le caratteristiche di supporto.
Per la modalità di pulizia, è possibile scegliere tra le impostazioni ZIGZAG, MY SPACE e REPEAT; disponibili ancche le funzioni secondarie, manuale e pulizia con panno in microf bra (opzionale).

< Attenzione >
Quando HOM-BOT è in funzione con il coperchio del bidone per la polvere aperto, potrebbe provocare infortuni o danni gravi al prodotto.
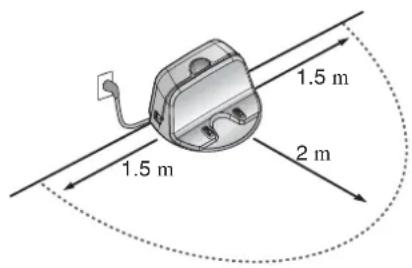
COME INSTALLARE la base di ricarica
- Posizione rare la base di ricarica contro una parete, per evitare che scivoli durante l'agganciamento, su una parte solida del pavimento.
Rimuovere gli oggetti entro 1.5m circa a sinistra e a destra, ed entro 2m circa alla parte anteriore.

O

X

- Inserire il cavo dell'alimentazione nella presa di corrente.
Avvolgere il cavo dell'alimentazione intorno al gancio fissato sul lato posteriore della base di ricarica o lungo la superficie della parete, in modo che il percorso di HOM-BOT non sia ostruito.

Gancio di fi ssaggio del cavodell'alimentazione


O
X

- Fissare la base di ricarica contro la parete in modo che non si muova.
Accendere l'interruttore di alimentazione.
- Quando il telecomando non in uso, conservarlo sul supporto per telecomando
sulla base di ricarica.


Consiglio
- Tenere sempre collegata la base di ricarica. Se la base di ricarica non è collegata, HOM-BOT non ritorrera automaticamente alla stazione per ricaricarsi.
< Attenzione >
NonMETTERTUNFIONHOM-BOTnelcasincuilcavoloaspina sianodanneggiati,se nonsta funzionando in modo corretto,seha subito danni o ecaduto.Per evitare pericoli, il cavo devesse sostituito da LG Electronics, Inc. o da personale di servizio qualificato.
Accensione dell
Assicurarsi di accendere l'interruttore di alimentazione principale sulla parte posteriore sinistra della macchina. Se l'alimentazione è SPENTA, passare l'interruttore su ACCESO.
- Quando si accende l'interruttore di alimentazione, non premere il tasto posizionato sulla sezione superiore di HOM-BOT. Il funzionamento del tasto cui è essere ridardato.
- Specnere l'interruttore di alimentazione se HOM-BOT non sare usato per un lungo periodo di tempo, al fine di proteggregate la batteria.

Accensione da Stand By.
Con l'alimentazione di HOM-BOT spenta, premere il tasto
"START/STOP" finché non si sentirà un tintinnio. In circa 10 secondi, l'alimentazione sare accesa e si sentirà una melodia.
※ Se trascorro n 10 minuti alla che HOM-BOT si muova e la batteria non è carica, l'alimentazione si spegnerà automaticamente.

Spegnimento dell'alimentazione elettrica
Premere il tasto 'START/STOP' per due secondi nelle HOM-BOT è avviato. Si sentirà una melodia quando l'alimentazione è spenta.

Consiglio
-
Se non è possibile accendere l'alimentazione, fare come segue.
-
Accendere l'interruttore di alimentazione e attendere per più di 3 secondi.
- Premere il tasting 'START/STOP' quando l'interruttore dell'alimentazione è acceso.
- Se l'alimentazione non è accessa o se la visualizzazione è assente e si sente soltanto il tintinnio, mettere HOM-BOT sulla base di ricarica.
Uso dei tasti su HOM-BOT
Dopo aver acceso HOM-BOT, premere il tasto 'START/STOP' per iniziare la pulizia. Si sentirà una melodia e la pulizia inizIERA.
Premere il tasto 'START/STOP' durante il ciclo di pulizia per arrestare la pulizia.
- Quando il tasto 'START/STOP'viene premuto quando l'alimentazione di HOM-BOT è spenta, l'alimentazione si accenderà. Premere il tasto 'START/STOP' una o più volte per avviare la pulizia.

Uso del telecomando
Dopo aver acceso HOM-BOT, premere il tasto 'Start' sul telecomando. Si sentirà una melodia e la pulizia inizIERA.
Premere il tasto 'Stop/OK'/'OK' durante il ciclo di pulizia per arrestare la pulizia.
HOM-BOT non può essere acceso dallo Stand By, usando il telecommando quando l'alimentazione di HOM-BOT è spenta. Quando l'alimentazione è spenta, premere il tasto 'START/STOP' sul dato superiore di HOM-BOT per avviare l'alimentazione o permettere l'uso del telecommando.

- Durante la pulizia, possono verificarsi degli urti se il sensore non riesce a rilevare oggetti a causa della loro forma (gambe sottili di sedie e tavoli, angoli di mobili). Quando questo sucede, il sensore interno di rilevazione degli impatti evitera gli ostacoli usando il movimento all'indietro.
- Se HOM-BOT è configurato per iniziare a pulire in una posizione lontana alla base di ricarica, porre il dispositorio su una superficie piana per evitare malfunzionamenti del sensore di rilevamento di ostacoli. Iniziare a pulire da una posizione in cui non siano presenti ostacoli come tende o pareti entro 30cm da HOM-BOT.

Consiglio
Per i migliorori risultati
Controllare rapidamente I'area da pulire alla ricerca di oggetti grandi e piccoli che possono creare dificoltà a HOM-BOT.
- Se la pulizia è iniziata quando HOM-BOT è nella base di ricarica, il dispositorio può rarammente alla base di ricarica in quanto la posizione corrente della casa è stata letta con accuratezza.
- Quando la piatra dello straccio è installata, per evitare un secondo passaggio da parte dello straccio sporco, alla non potra superare soglie superiori ai 5 mm.
Ricarica automatica
HOM-BOT ritorna alla base di ricarica al termine del ciclo di pulizia o quando la batteria si sta scaricando.
- Se trascorrono 10 minuti perché HOM-BOT si muova e la batteria non è carica, l'alimentazione si spegnerà automaticamente.
- Non spegnere l'Interruttore dell'Alimentazione Principale poiché la batteria non sare ricaricata. Se la macchina è ricaricata con l'Interruttore dell'Alimentazione Principale OFF, mostrera un messaggio d'errore, "L'interruttore di alimentazione principale sul dato posteriori dell'HomBot è spento. Attivarlo in posizione 'on'."
- Nel caso in cui l'unità ritorni alla Base di ricarica a causa di carica insufficiente della batteria, la pulizia inizIERà, dopo la ricarica, dal punto più vicino all'area che non è stata pulita in precedenza.
*Se HOM-BOT non e in grado di agganciarsi alla base di ricarica al suo primo tentativo, ritentera fino a quando non ci riuscirà. - Quando HOM-BOT ha completato tutte le aree che è in grado di pulire, ritornerà alla base di ricaricaanche se il livello della batteria non è scarso.
Ricarica manuale
Se sta usando HOM-BOT per la prima volta o durante la ricarica della batteria nel corso della pulizia, è possibile caricare manually le batteria.


Metodo 1. Collegare HOM-BOT alla base di ricarica allineandola al lato anteriore della base di ricarica. Un suono melodioso verrà riproduzione insieme a un messaggio audio per l'avvio della ricarica.
- Se si sente un messaggio vocale, I "L'interrottore di alimentazione principale sul lato posteriori dell'HomBot è spento. Attivarlo in posizione 'on' ", assicurarsi che l'Interrottore dell'alimentazione principale sia su ON.
Metodo 2. Quando il tasto Home del telecommando o di HOM-BOT è premuto, la ricarica inizIERà automaticamente essere generando automaticamente un suono di ricerca e facendo tornare HOM-BOT alla base di ricarica.
- Se HOM-BOT non inizia a pulire alla base di ricarica o se è caricato manually premendo il tasto di ricarica, potrebbe essere necessario un periodo di tempo leggermente superiore per trovare la base di ricarica.
- Se HOM-BOT rests ento 10 cm alla parte frontale del terminale di ricarica mentali l'alimentazione elettrica e accesa, ritornera automaticamente alla base di ricarica e la ricarica inizierà.

Consiglio
Prendere le seguenti precauzioni durante l'uso della base di ricarica:
- Se nel terminale di ricarica entra del materiale estraneo, la ricarica potrebbe non procedere in modo corretto. Pulire regolarmente il terminale con un panno asciutto dopo aver disconnesso la spina dell'alimentazione.(p28)
- Per prevenire scosse elettriche, non toccare il terminale di ricarica con oggetti metallici.
- Per evitare incendi o scosse elettriche, non smontare o modificare la base di ricarica.
Non disporre la base di ricarica o la spina di alimentazione nelle vicinanze di un appearechio per il riscaldamento.
Pulizia a zigzag
Nella modalità a 'zigzag', HOM-BOT ripete una operazione a zigzag per pulire agli singolo punto della casa.
Se è necessario terminare rapidamente la pulizia, scegliere la modalità 'Pulizia a zigzag'.
Premere il tasto 'Mode' sul telecomando per selezionare la modalità 'Pulizia a zigzag' e premere il tasto 'Start'.
※ L'impostazione di default di produzione è 'Pulizia a zigzag'.


Pulizia manuale
Premendo un tasto direzionale sul telecomando, è possible passare HOM-BOT nella modalità Manuale.
HOM-BOT pulira la casa, muovendosi in avanti/indietro/a destra/a sinistra, a seconda del tasto direzionale premuto. Nella modalità 'Manuale', HOM-BOT potrebbe indietreggiare se incontrà un ostacolo.


Pulizia My Space
Premere il tasto 'My Space' sul telecomando permette di impostare la modalità di pulizia su 'Selettiva', con un messaggio vocale. Per pulire degli spazi specifici, selezionare questa modalità.
Prima fase:
Usare il telecomando per eseguire la pulizia manualmente sulle parti esterne di ciascun blocco da pulire.

-
- Puo èssere riconosciuto quando la distanza delle posizioni iniziali e finali è inferiore a 1 m.

Seconda fase:
Premendo il tasto 'Start', HOM-BOT pulirà in modo accurato le aree selezionate.
※ Se non si riesce a selezionare correttamente una zona, un messaggio vocale dirà "L'area non soddisfa le condizioni specificate. Continuare per pulire l'area specifica. Usare il telecomando per assegnare nuovamente una zona.
* Appena completeness programma di pulizia MY SPACE, tale modalita' viene commutata in pulizia automatica ZIGZAG.


Consiglio
- Durante la ricarica, non è possible attivare la modalità 'My Space'.
Per cambiare la modalità di pulizia nelle HOM-BOT è in funzione, premere il tasto 'Stop/OK' per selezionare un modalità.
Modalità Turbo
Premere il tasto 'Turbo' sul telecomando o sull'unità principale potrebbe attivare la modalità 'Turbo' con un messaggio vocale. In modalità 'Turbo', la pressione del medesimo tasto cancellerà la modalità 'Turbo', con un messaggio vocale. In modalità 'Turbo', HOM-BOT esegue una pulizia più potente e approfondita.
※
La modalita Turbo e attivata automaticamente quando HOM-BOT si trova sui tappeti.


Modalità Repeat
La pressione del tasto 'Repeat' sul telecomando attiverà la modalità 'Repeat' con un messaggio vocale.
In modalità 'Repeat', la pressione del medesimo tasto cancellerà la modalità 'Repeat', con un messaggio vocale.
In modalità 'Repeat', HOM-BOT ripete la pulizia fino all'esaurimento della batteria.

Modalità Apprendimento
HOM-BOT è capace di memorizzare l'ambiente da pulire grazie alla sua caratteristica di apprendimento delle operazioni di pulizia intelligenti.
- 'La funzione di appendimento' è disponibile solo quando la macchina inizia a pulire alla Base di ricarica e se la base di ricarica non è stata spostata dall'ultima pulizia.


Consiglio
- Precauzioni con Smart Operation
- Questa caratteristica di pulizia intelligente attiva la memorizzazione delle posizioni degli ostacoli da evitare. HOM-BOT memorizza agli aspetto dell'ambiente in cui è posto sin dall'inizio delle operazioni di pulizia nella Base di ricarica fino alla conclusione della sua missione.
HOM-BOT individua le nuove condizioni quando la Base di ricarica vieneambiata. - Se attiva la funzione di riconoscimento della posizione, verrà trasmesso quello messaggio: "Il processo di apprendimento di pulizia è completato."
PULIZIA CON IL PANNO IN MICROFIBRA (OPZIONALE)
Collegando il panno in microfibrà è possible usare efficacamente HOM-BOT per rimuovere la polvere.
Quando il panno è collegato, HOM-BOT non salute su tappeti o altri le soglie, in modo tale da evitare di trasferire la polvere alla il panno in microfi bra.

Per la pulizia del panno in microfiba, montare il panno in microfiba su HOM-BOT seguendo le istruzioni indicate:
- Collegare il panno in microfi bra al velcro del come indicate nella fi gura.


- Spingere con delicatezza il panno nelle scanalatura sono a che non si sentirà un 'click'.
※ Notare che, se il panno non è fissato in modo corretto, potrebbe staccarsi durante la pulizia.

- Questa modalità richiede che i gancetti del panno siano ben stretti nelle scanalature di bloccaggio.



Consiglio
- Per prevenire cattivi odori, lavare i materiali estranei o la polvere dal panno in microfibia dopo aver completato la pulizia.
Per evitare di macchiare i pavimenti, non usare il panno in microfiba per pulire quando lo sporco è mischiato a liquidi come caffe o inchiostro. - Per evitare di danneggiare i tappeti a causa del velcro o dello sporco trasferito dal panno in microfibra, non pulire il tappeto quando il panno in microfibrà è collegato.
- Tenere asciutto il panno in microfibia e non uso su superfici bagnate.
Se è presente umidità, vuò interferire con la navigazione.
- La caratteristica Smart Diagnosis non è disponibile con il panno attaccato.
- Alcuni modelli potrebbero non avee in dotazione il kit per l'utilizzo del panno in microfibra.
FUNZIONE RICERCA POSIZIONE
HOM-BOT ricorda la sua posizione durante la pulizia.
Se l'utilizzatore sposta HOM-BOT perché è in funzione,esso cercherà la propria posizione con la funzione di ricerca posizione per continuare alla posizione precedente.
Quando l'utilizzatore elimina qualsiasi condizione anomala di HOM-BOT o sposta arbitrariamente la posizione, la funzione di ricerca della posizione si attivera.
- La funzione di navigazione sarea attivata dopo che HOM-BOT riconoscera in modo adeguato le condizioni di pulizia.

Cambiare la location
-
Posizione HOM-BOT in prossimità delippo in cui era stato spostato.
-
La ricerca della posizione è più efi cace quando HOM-BOT è più vicino alla posizione in cui è stato spostato.
※ Se si muove al di fuori di un diametro di 1 metro alla posizione di occorrezza, diventa difficile ricercare la posizione.

- Premere tasto 'START/STOP' su HOM-BOT o il tasto 'Start' sul telecomando. HOM-BOT avviera la funzione di ricerca della posizione insieme a una guida audio.
- Quando la ricerca della posizione è stata completata con successo,esso continuera la pulizia a partire da dove era stato spostato. Se la ricerca della posizione fallisce, ricomincerà dall'inizio.

Luogo dell'incidente
Fase di rilevamento della posizione esatta. Allontanarsi da HomBot.



Consiglio
- Quando l'accensione si spegne dopo aver configurato la funzione di ricerca della posizione, la funzione di ricerca della posizione sarea cancellata.
- La ricerca della posizione è più efficace quando HOM-BOT è più vicino alla posizione in cui è stato spostato.
- Una volta iniziata la funzione di ricerca della posizione, questa si disattiverà se HOM-BOT andra a ricariciarsi.
HOM-BOT uses a funzione Smart Diagnosis per eseguire una diagnosi automatica.
Se alla diagnosi emerge qualihe irregolarita, contattare per favore il centro di servizio LG Electronics locale.
-
Nel corso di Smart Diagnosis, HOM-BOT potrebbe spostarsi entro un raggio di 50 cm. Di conseguenza, accertarsi che non ci siano oggetti entro un raggio di 1 m alla Base di ricarica prima di iniziare Smart Diagnosis.
-
Accendere l'interruttore principale dell'alimentazione sul retro e collegare HOM-BOT alla Base di ricarica.
-
Smart Diagnosis è disponibile solo quando HOM-BOT è collegato alla Base di ricarica.

- Premere il tasto 'Diagnosis' sul telecomando, quando il processo si avviera con un messaggio vocale che dice "Inizio della diagnosi intelligente di Hom-Bot. Allontanarsi e togliere qualsiasi oggettoto entro un raggio di 1 metro."
※ Se il panno è collegato, il processo potrebne non attivarsi.

-
Se Smart Diagnosis ha terminato normalmente, HOMBOT ritornera alla Base di ricarica è comunicherà il risultatotramite un messaggio vocale. Dopo il messaggio vocale, la pressione del tasting 'Home' sul telecomando o sull'unità principale potrebbe far ripetere il messaggio. Per terminare ilprocesso di diagnosi, premere il tasting 'Stop/OK' sul telecomando o sull'unità principale.
-
Nessuna operazione per 1 min. dopo il messaggio vocale porra il robot in modalità 'Ricarica'.
※ In caso di erreore nel Sensore Ostacoli, nel sensore ad ultrasuoni o nel sensore del vuoto HOM-BOT potrebbe non tornare alla Base di ricarica ma terminare Smart Diagnosis, con un messaggio vocale corrispondente.



Consiglio
- Fare attenuation a non toccare HOM-BOT o a non disturbarne le operazioni prima che Smart Diagnosis venga completata. In caso contrario, sare necessario accendere e spegnere l'interrottore principale per riprendere la diagnosi.
- Smart Diagnosis potrebbe non essere attivata in uno dei casi seguenti. In ciascun caso, controllare il problema e riprovare.
HOM-BOT è scollegato alla Base di ricarica
- La batteria è insufficiente
- Il filtró del bidone per la polvere non è disponibile
- Il panno è collegato
Se先进技术 efferent a eseguire l'azione appropriata.
| Messaggio vocale Dimensioni (per riferimento) | |
| Inizio della diagnosi intelligente di Hom-Bot. Allontanarsi e tigliere qualiasi oggetti entro un raggio di 1 m inizio alla Base di ricarica, e stare lontani fino al completamento della diagnosi. | Rimuovere tutti gli oggetti entro un raggio di 1 m inizio alla Base di ricarica. |
| L'Hombot ha necessità di ricariciarsi per attivare la diagnosi intelligente. Riporre l'Hombot sulla base di ricarica. | Spostare HOM-BOT alla Base di ricarica per ricaricarlo. |
| Nessun difetto rilevato durante la diagnosi. | |
| Non è possibile avviare la diagnosi intelligente a causa di bassa carica della batteria. Tentare nuovamente dopo la ricarica della batteria. | Riprovarare Smart Diagnosis dopo aver caricato la batteria. |
| Controllare che il cassetto della polvere e il filtrato siano posizionati correttamente. | Aprire il coperchio del contentatore della polvere ed esaminare il contentitore della polvere. |
| L'HomBot non si carica a causa di un guasto del sensore ad infrarossi. | Eseguire nuovamente Smart Diagnosis e, se si sente lo stesso messaggio, contattare il centro servizi LG Electronics locale. |
| L'HomBot non si carica a causa di un guasto del sensore ad ultrasuoni. | Eseguire nuovamente Smart Diagnosis e, se si sente lo stesso messaggio, contattare il centro servizi LG Electronics locale. |
| L'HomBot non si carica a causa di un problema ai sensori di rilevamento del vuoto. Pulire i sensori. | Pulire i tre Sensori di Rilieviti sulla parte anteriore inferiore. |
| Pulire la telecamera inferiore. | Pulire le lenti del Sensore della Telecamere in basso a sinistra. |
| Pulire le finestre del sensore di rivelamento di ostacoli sul dato si stinto e destro dell'HomBot. | Pulire le lenti del Sensore in sinistra e destra. |
| Si è verificato un problema al Gyrosensor. | Eseguire nuovamente Smart Diagnosis e, se si sente lo stesso messaggio, contattare il centro servizi LG Electronics locale. |
| Controllare la presenza di materiale estraneo sulla ruota sinistra. | Controllare la presenza di materiali estranei sulla ruota sinistra. |
| Controllare la presenza di materiale estraneo sulla ruota destra. | Controllare la presenza di materiali estranei sulla ruota destra. |
| E' stato rilevato un problema dal sensore della ruota sinistra. | Eseguire nuovamente Smart Diagnosis e, se si sente lo stesso messaggio, contattare il centro servizi LG Electronics locale. |
| E' stato rilevato un problema dal sensore della ruota destra. | Eseguire nuovamente Smart Diagnosis e, se si sente lo stesso messaggio, contattare il centro servizi LG Electronics locale. |
| E' stato rilevato un problema alla spazzola centrale. Controllare la presenza di materiale estraneo. | Controllare la presenza di materiali estranei presenti sulla spazzola. |
| E' stato rilevato un problema al motore. | Eseguire nuovamente Smart Diagnosis e, se si sente lo stesso messaggio, contattare il centro servizi LG Electronics locale. |
| E' stato rilevato un problema al sensore di accelerazione. | Eseguire nuovamente Smart Diagnosis e, se si sente lo stesso messaggio, contattare il centro servizi LG Electronics locale. |
| Per ascoltare nuovamente il risultato della diagnosi intelligente, premere il dato di carica. Per arrestare premere il dato stop. | Se è necessario controllare nuovamente il risultato della diagnosi, premere il dato 'Ricaricare', o premere il dato 'Arrestare' per terminare la diagnosi. |
| Tentare nuovamente la diagnosi intelligente dopo aver impostato l'interruttore principale sul dato posteriori di HomBot in posizione 'Off' quindi nuovamente 'On'. Se il problema persistsente, contattare il servizio clienti di LG Electronics. | Accendere e spegnere l'interruttore principale per riprendere la diagnosi. Se il problema persistsente, contattare il centro servizi LG locale." |
| La diagnosi intelligente viene disinserita. | |
| La diagnosi intelligente non funziona con la piastra del panno collegata. Tentare nuovamente dopo aver la rimossa. | Eseguire nuovamente Smart Diagnosis dopo aver rimioso il panno. |
| La diagnosi intelligente è fallita. Tentare nuovamente dopo aver spento e riacceso l'interruttore principale sul dato posteriori di HomBot ('Off' e poi 'On'). | Accendere e spegnere l'interruttore principale per riprendere la diagnosi. NON toccare il robot o disturbare le sue operazioni sono al completeness della diagnosi. |
Se il contentatore della polvere è pieno, la potenza di aspirazione può indebolirsi. Pulire il contentatore della polvere prima e dopo agli sessione di pulizia. Pulire il contentatore della polvere usando la seguente sequenza:
- Apire il coperchio del contentatore della polvere premendo il tasto PUSH su HOM-BOT.
- Afferrare la maniglia del contentatore della polvere e tirarlo in alto.
- Tirare il gancio alla sinistra del modulo di f itraggio HEPA sul retro del contentatore della polvere per separare il filtro e la spugna all'interno diesso.
※ Notare che la separazione del fi Itro potrebbe far cadere dei rifi uti.
*Fare riferimento a p. 26 durante la pulizia del filtró del contentitore della polvere.
- Sollevare il coperchio durante la pressione del tasto di separazione sul contentatore della polvere.
- Svuotare il contentitore della polvere e pulirlo con una spazzola per la pulizia o除去 acqua corrente.
- Dopo aver pulito con acqua, asciugare completeness il contentatore della polvere in un'area ben ventilata al riparo alla luce solare diretta.
-
Quando la pulizia del contentatore della polvere è completa, chiudere il coperchio e inserire la spugna e il fi Itro HEPA.
-
Fare riferimento a p. 26 per le guide per il montaggio dettagliate.
-
Inserire il contentitore della polvere in HOM-BOT e chiudere il coperchio del contentitore della polvere.



3

4

5

6


8

Consiglio
Se il filtr non viene posizionato correttamente, potrebbe verificarsi la fuoriuscita delle polveri all'interno e un guasto.
- Dopo aver pulito il contentitore della polvere, assicurarsi di montare il filtro nel contentitore della polvere.
Se si mette in funzione HOM-BOT senza filtri disponibili o ricerca aver montato il coperchio di filtraggio, si sentirà un messaggio vocale che dice "Controllare che il cassetto della polvere e il filtrio siano installati correttamente."
- Quando il coperchio del dispositivo si stacco nel corso della pulizia, disporre il coperchio verticalmente sulla scanalatura del
bidone per i rifuti.

PULIZIA DEL FILTRO DEL CONTENITORE Della POLVERE
Il filtro del contentatore della polvere consiste di un filtro HEPA e di un Filtrato Spugna.
Pulire i filtri Spugna e HEPA come indicato alla sequenza.
- Tirare il gancio alla sinistra del modulo di filtraggio HEPA sul retro del contentatore della polvere per separare il filtrlo HEPA e la spugna.



-
Pulire a fondo le particelle di polvere fini sul filtrro HEPA, con un aspirapolvere o una spazzola.
-
NON lavare il fi nitro HEPA con acqua. La sua potenza di aspirazione potrebbe diminuire.

- Usare una spazzola per pulire il Filtro Spugna. Se è stata usata dell'acqua per pulirlo, farlo asciugare completamente in un luogo al riparo alla luce.

-
Montare i filtri HEPA e Spugna nel coperchio come indicato alla sequenza.
-
Inflare la figura rettangolare su lato del Filtró HEPA nelle scanalature sul coperchio.
-
Fare attenuationa non montare HEPA e Filtrto Spugna sul coperchio in modo non corretto.




Consiglio
- Per preservare le prestazioni di HOM-BOT, pulire il Filtro HEPA almeno una volta alla settimana, con una spazzola o un aspirapolvere.
- Se si mette in funzione HOM-BOT con il coperchio del filtro montato nel contentatore della polvere eenza filtri inserti potrebbero verificarsi la fuoriuscita della polvere all'interno e dei guasti.
La spazzola, posta sul fondo di HOM-BOT, aiuta ad assorbire le polveri. Pulire la spazzola in base alla sequenza indicata:
- Prima di accendere l'unità principale, disporre un panno morbido sul pavimento e rimuovere il contentitore della polvere. In caso contrario, l'unità principale potrebbe riportare grafi o essere coperta alla polvere del contentitore della polvere
1 Spagnere l'interruttore principale prima di iniziare a pulire. Mettere HOM-BOT a testa in giù su un panno morbido.

2 Dop aver controllato la presenza di materiali estranei, premere il Gancio di Fissaggio e sollevarlo per分开are il coperchio.

3 Usando uno strumento per la pulizia, togliere capelli e altri materiali estranei sulla spazzola.

4Dopo aver indossato dei guanti, spingere la spazzola in fondo fi no a una sporgenza gialla.

5 Mentre si spinge la spazzola, sollevare la parte della sporenza gialla per separarla dall'unità principale.

6 Pulire la spazzola con un aspirapolvere o delle forbici.

7 Ini lare il Gancio di Fissaggio (una forma rettangolare) sul lato della spazzola nelle scanalature, facendo combaciare i colori.

Spingendo la spazzola in direzione della freccia, infi lare il Gancio di Fissaggio (una forma rettangolare sul lato opposto nelle scanalature.

9 Premere e chiudere il coperchio fi no a che non si sentirà uno schiocco da entrambi i lati del Gancio di Fissaggio.
- Fare attenzione a non incastrare la spazzola sul lato nel coperchio.

PULIZIA DEL SENSORE/TERMINALE DI CARICA
Su HOM-BOT sono presenti sensori in grado di rilevare ostacoli, scale e la base di ricarica per la ricarica della batteria. Al fine di preservare le prestazioni di HOM-BOT, pulire regolarmente i sensori e il terminale di carica come indicato:
- Spagnere l'interruttore dell'alimentazione sul fondo di HOM-BOT. L'attivazione di HOM-BOT nel caso in cui l'alimentazione non si spenta potrebbe provocare degli infortuni.
- Porre un panno liscio sul pavimento, capovolgere HOM-BOT e metterlo sul panno.
Assicurarsi di rimuovere il contentatore della polvere prima di battere sull'unita principale. Altrimenti la polvere presente nel contentitore potrebbe cadere potrebbe cadere. - Usare un panno liscio o una spazzola aspirapolvere per togliere la polvere da agli sensore e dal terminale di carica come descritto in basso.



Consiglio
Non pulire HOM-BOT spruzzando acqua, solventi, benzene, ecc., direttamente su diesso.
Contattare il centro di assistenza se il sensore o il terminale di carica è danneggiato. Danni al sensore o al terminale possono provocare il malfunzionamento del prodotto.
- Per pulire filtro e sensori si prega di utilizzato il pennellino di pulizia in dotazione.
- Alcuni modelli potrebbero non avere il sensore fotocamera sulla parte inferiore.
PULIZIA DELLA SPAZZOLA LATERALE
Oggetti / materiali estranei come capelli sono adeire migliormente alla spazzola laterale. Rimuovere quosti materiali almeno una volta alla settimana.
Se sulla spazzola è presente una quantità eccessiva di materiali estranei, esiste la possibilità che danneggino le spazzole.

Se il pavimento è ruvido o le pareti vengono pulite di frequente, la spazzola laterale potrebbe piegarsi o danneggiarsi. In quello caso, usare il metodo seguente per rinsforzare la spazzola laterale.
- La seguente procedura permette di aggiustare le spazzole deformate.
- Spagnere l'alimentazione premendo il tasting/STOP su HOM-BOT per due secondi.
- Collocare HOM-BOT all'estremità del ravolo per facilitare la pulizia della spazzola laterale. Assicurarsi che HOM-BOT non corra il rischio di cadere.
- Immergere la spazzola laterale in acqua calda.
- Premere per circa dieci secondi la spazzola laterale in modo che sua complemente coperta dall'acqua.
- Pulire lentamente la spazzola laterale facendola scivolando nella mano.
- Ruotare la spazzola laterale eripetere le fasi 4-6 per ciascuna sezione della spazzola.
- Usare la spazzola laterale solo après che si è completamente asciugata.
Gestione della spazzola laterale
- Rimuovere le viti usando un cacciavite e分开are la spazzola laterale dall'unità principale.
- Rimuovere peli e capelli dopo la separazione.
- Montare la spazzola laterale da sostituire sul fondo di HOMBOT, con i contrassegni 'R' e 'L' della spazzola corrispondenti alle rispettive controparti su HOM-BOT.










PULIZIA DEL PANNO IN MICROFIBRA (OPZIONALE)
Per evitare cattivi odori, la sporcizia e la polvere dovrebbero essere lavati via dal panno in microf bra fatto averlo usata per la pulizia.
Seguire queste istruzioni per lavare la il panno in microfiba.
- Separare la il panno in microfi bra dal supporto.


- Pulire a fondo con acqua.

-
Usare il panno in microfibia dopo averlo asciugato sotto la luce solare e in un luogo ventilato.
-
Se la il panno in microfibia viene usato quando è ancorta bagnato, potrebbe provocare il malfunzionamento di HOM-BOT.


Consiglio
- Per evitare il malfunzionamento del prodotto, usare esclusivamente la il panno in microfiba offerta in dotazione con HOM-BOT.
- Scope in microfibra aggintiva possone essere acquistate visitando il centro assistenza LG Electronics piu vicino.
- Alcuni modelli potrebbero non ave in dotazione il kit per l'utilizzo del panno in microfibra.
Al messaggio vocale "Le ruote non sono in contatto con il pavimento. Spostare HomBot su di un pavimento piatto."
Si sentirà un messaggio vocale se una ruota non entra in contatto con la superficie del pavimento o si trova sul vuoto.
- Una ruota è incastrata nella porta d'ingresso, su balcone, scale, ecc.?
Spostare HOM-BOT sulla parte pianadel pavimento.


Al messaggio vocale, "Togliere qualsiasi materiale estraneo alla ruota sinistra / destra."
- Ci sono materiali estranei incastrati intorno alla ruota?
Porre un panno liscio sul pavimento, capovolgere HOM-BOT e metterlo sul panno. Rimuovere i materiali estranei alla ruota.
* Assicurarsi di rimuovere il contentitore della polvere prima di battere sull'unità principale.
Altrimenti la polvere nel bidone potrebbe cadere.


Al messaggio vocale, "L'HomBot non può proseguire la pulizia. Controllare l'area attorno adesso."
Si sentir a un messaggio d'avvertimento se HOM-BOT non riesce a proseguire le operazioni di pulizia a causa di una condizione negativa.
HOM-BOT è bloccato?
Dopo aver rimioso la parte bloccata, disporre HOM-BOT su una superficie piana.


Al messaggio vocale, "Controllare che il cassetto della polvere e ilhetto siano installati correttamente."
Si sentir a un messaggio d'avmentamento nel caso in cui non ci siano cassetto della polvere o coperchi per il filtrlo disponibili.
- Su HOM-BOT è montato il cassetto per la raccolta della polvere?
Apire il coperchio del cassetto per la raccolta della polvere, nel caso in cui non sua presente, inseirme uno.
NON lasciare aperto il coperchio del cassetto per la raccolta della polvere.



- Assicurarsi che il coperchio del filtro sa montato nel cassetto per la raccolta della polvere.


Al messaggio vocale, "La batteria ha una carica bassa. Spostare l'HomBot sulla base di ricarica."
Quando la carica restante nella batteria è quasi nulla, sare Generate il messaggio vocale " Batteria quasi scarica."
- Iniziare la ricarica della batteria di HOM-BOT muovendolo nella base di ricarica.
Se HOM-BOT e collegato alla stazione di ricarica, iniziera la ricarica con la melodia di avvio della ricarica.


Al messaggio vocale, "Togliere qualsiasi materiale estraneo alla spazzola centrale di HomBot."
Si sentirà un messaggio d'avertimento se sulla spazzola viene trovato un materiale estraneo.
Collocare un panno morbido sul pavimento e disponre HOM-BOT su diesso a testa in giu.
- Prima di accendere l'unità principale, è necessario smontare il cassetto della raccolta della polvere.
Altrimenti, le polveri contentuti nel cassetto potrebbero fuoriuscire.
- La spazzola emette un suono molto forte e inconsueto.
Confermare il montaggio corretto della spazzola controllingle scanalature di separazione della spazzola.
Rimuovere la spazzola da HOM-BOT er rimuovere tutti i materiali estranei alla spazzola.





5

4
- La spazzola o la spazzola laterale sono bloccate.
Rimuovere materiali estranei come cavi, fili o capelli catturati alla spazzola o alla spazzola laterale.


* Per una descrizione più dettagliata di quello processo,fare riferimento alle istruzioni a pagina 27 e 29.
Confermare prima di notificare il guasto di HOM-BOT.
| Problema Soluzioni (pagina di riferimento) | |
| L'alimentazione non può essere avviata. | Controllare che l'interruttore di alimentazione principale sia accesso. (Pagina 15) |
| L'alimentazione elettrica si spegne automaticamente. | Questo non è un guasto. HOM-BOT è dotato della propria funzione di risparmio energetico.Se non è usato per dieci minuti dopo l'accensione, si spegnerà automaticamente.(Pagina 17) |
| HOM-BOT non si ricarica. Rimuovere gli oggetti intorno alla base di ricarica. (Pagina 15)Confermare che l'alimentazione elettrica è connessa alla base di ricarica.(Pagina 14)Pulire il terminale di carica con un panno asciutto. | |
| La potenza di aspirazione diminuisce. | Controllare la presenza di materiale estraneo che blocca la porta di aspirazione.(Pagina 27)Svuotare il cassetto della polvere. (Pagina 25)Pulire il filtrlo del cassetto della polvere (Pagina 26) |
| Il rumore sta divertando più forte. | Confermare che il cassetto della polvere è stato montato in modo appropriato.Confermare che il filtrlo del cassetto della polvere è stato montato in modo appropriato. (Pagina 26)Controllare se del materiale estraneo è stato catturato nella spazzola. (Pagina 27) |
| HOM-BOT non si attiva. | Confermare che l'interruttore di alimentazione principale è avviato. (Pagina 15)Confermare che la batteria è stata ricaricata. (Pagina 17) |
| La spazzola non ruota. | Pulire la spazzola (Pagina 27)Confermare che la spazzola è stata montata in modo appropriato. (Pagina 27) |
| Movimenti anomali | Pulire con cura il sensore utilizzato un panno liscio. (Pagina 28)Se la il panno in microfibrà è attaccata, confermare che sua montata in modo appropriato. (Pagina 21)Accendere e spegnere l'interruttore di alimentazione. |
| HOM-BOT non può essere attivato con il telecomando. | Sostituire le batterie del telecomando. (Pagina 12)Confermare che il controlled si trovato all'interno dell'area di copertura dell'unità principale,cisiono meno di 3 m.(Pagina 12).Controlla se l'interruttore di corrente principale sul fondo è accesso. (Pagina 15) |
Avviso relativo al software open source
Per ottenere il codice sorgente sotto GPL, LGPL, MPL e altre licenze open source contenate in quello prodotto, visitare http://opensource.lge.com.
In aggiunta al codice sorgente, sono disponibili per il download tutti i termini di licenza, le garanzie e le notifiche di copyright riferiti.
Smontaggio/montaggio della batteria

Spagnere l'interruttre principale sullato posteriori sinistro del HOM-BOT.


Collocare un panno morbido sul pavimento, rimuovere contentitore della polvere girare HOM-BOT.


Rimuovere la vite usando un cacciavite e rimuovere la batteria dal dispositorio.

Per favore, montare la batteria in ordine inverso.


Separare il fi lo alla batteria premendo\
nello stesso tempo il gancio del\
connettore.



ATTENZIONE
Si prega di fare attenzione a: fuoco, esplosioni, shock elettrici o guasti.
Non caricare questa batteria con un qualsiasi tipo di caricabatterie differente da quello fornito originariamente con il prodotto.
Non danneggiare la batteria facendola cadere, schiacciare, forare, tagliare o facendo fare cortocircuito ai contatti esterni.
Non tentare di smontare la batteria. Se la batteria risulta danneggiata o non funzione correttamente portarla al centro di assistenza.
Non collocare la batteria vicino ad una fonte di calore, nel fuoco o nell'acqua.
- Si prega di tenere la batteria lontano da ambienti umidi o bagnati quando carica.
- Si prega di tenere lontano alla portata di bambini o animali domestici.







Notice-Facile