Rocky - Caminetto Wamsler - Manuale utente e istruzioni gratuiti
Trova gratuitamente il manuale del dispositivo Rocky Wamsler in formato PDF.
Scarica le istruzioni per il tuo Caminetto in formato PDF gratuitamente! Trova il tuo manuale Rocky - Wamsler e riprendi in mano il tuo dispositivo elettronico. In questa pagina sono pubblicati tutti i documenti necessari per l'utilizzo del tuo dispositivo. Rocky del marchio Wamsler.
MANUALE UTENTE Rocky Wamsler
ci complimentiamo con Lei per aver acquistato esta stufa da riscaldamento e per l'ottima scelta effettuata!
Questo prodotto Le garantisce
- qualità elevata grazie all'utilizzo di ottimi materiali testati
- funzionamento sicuro grazie alle avanzate technologie verificate in modo rigoroso in base alla norma europea DIN EN 13240
- lunga durata nel tempo grazie alla robusta struttura Per garantire un lungo funzionamento nel tempo della Sua stufa è importante leggere attendamente le seguenti istruzioni, nelle quali troverà tutte le informazioni necessarie或者其他 che utili suggerimenti.
ATTENZIONE
Per la richiesta di pezzi di ricambio indicate il N^ di articolo/Article No. e il N^ di serie/Serial No. riportati sulla targa di identificazione dell'apparecchio.
INDICE
Gentilissimo Cliente, 43
INDICE 43
AVVERTENZE DI SICUREZZA 44
1. Istruzioni per l'uso 46
1.1 Struttura stufa 46
1.2 Accensione 47
1.3 Spegnimento 49
1.4 Generalità sul funzionamento 49
1.5 Pulizia e manutenzione 50
1.6 Cause e risoluzione anomalie 51
2. Installazione 52
2.2 Distanze di sicurezza 53
2.3 Collegamento alla canna fumaria 54
3.1 Disegni dimensionalati e dati 58
3.2 Dimensioni 58
3.3 Informazioni sul peso e dati tecnici 59
AVVERTENZE DISICUREZZA
- L'apparecchio e i loro dispositivi sono stati testati sulla base della norma EN 13240 o secondo EN 12815 (vedi targa di identificazione).
-
Per un funzionamento ottimale della Sua stufa è fondamentale che la canna fumaria alla quale volete effettuare il collegamento sia in condizioni perfette.
-
L'installazione e l'uso delle apparecchiature, deve avvenire esclusivamente in ambiente giudicato idoneo dagli enti preposti e soprattutto in conformità alle norme e prescrizioni vigenti in materia.
Gli impiani technologici e l'installazione degli appearecchi devono essere effettuali da personale professionalmente qualificato, autorizzato a rilasciare certificato di conformità e rispondenza alle norme in vigore. - Nel luogo di installmente devono essere rispetto delle leggi, norme e direttive in vigore, in materia di edilizia civile e/o industriiale, utilizzato sempre i dispositivi di sicurezza individuale e gli altri mezzi di protezione previsti per legge.
Devono inoltre essere rispectate tutte le leggi, norme, direttive in vigore in materia di impiantistica, canne fumarie, elettricità, acqua, ventilazione/aspirazione. - Prima di procedere all'accensione dell'apparecchio, leggere attendamente tutte le istruzioni per l'uso e contattare un technician specializzato.
- Per il posizionamento degli appearecchi si consiglia di indossare quanti puliti di cotone per evitare di lasciare impronte digitali difficili da rimuovere in seguito.
- Per mantenere l'aria pulita e garantire un funzionamento sicuro dell'apparecchio, il carico del combustibile non deve superare le quantità massime indicate nelle istruzioni per l'uso. Gli sportelli devono inoltre rinanere sempre chiusi per evitare un surriscaldamento che danneggerebbe la stufa. Eventuali danni come quello appena descritto non sono coperti alla garanzia.
- Quando l'apparecchio è in funzione gli sportelli devono sempre rimanere chiusi.
- Sono ammessi i seguenti combustibili: - ceppi di legna allo stato naturale (lunghezza max. 25 / 33 cm)
- Non utilizzato combustibili liquidi per l'accensione. Utilizzato solo apposti accendi fuoco o bricchetti di legno.
- É vietato bruciare rifiuti, minuzzoli di legna, corteccia, polverino di carbone, trucioli, legna umida e trattata con antisettici, carta, cartone e simili.
- Durante la prima accensione la stufa potrebbe emanare fumi e odori sgradevoli. Provedere subito ad arieggiare bene il locale (aprire porte e finestre) e riscaldare alla potenza termica nominale massima per almeno un'ora. Se non viene raggiunta la temperatura massima con il primo riscaldamento, quosti fenomeni pottrebbero ripresentarsianche in seguito.
- Gli elementi di commando e i dispositivi di impostazione sono da regolare secondo le istruzioni per l'uso. Se l'apparecchio è caldo si raccomanda di serviri di attrezzi speciali o dei quanti di protezione.
-
Aprendo lo sportello del focolare potrebbe verificarsi un'uscita di fumo dovuta ad un utilizzo improprio o ad uno scarso tiraggio della canna fumaria. Si raccomanda pertanto, di aprire lo sportello lentamente e solo di quale centimetro, prima di aprirlo completeness. Prima di aprire lo sportello per la ricarica di combustibile, assicurarsi che nel focolare vi sia solo il letto di brace e che le fiamme siano tutte spente.
-
Quando la stufa è in funzione tutte le superfici, in particolare i vetri, le maniglie e i dispositivi di commando, possono raggiungere temperature elevate. É importante controllare che bambini, adolescenti, persone anziane e animali domestici mantengano una distance di sicurezza dall'apparecchio quando questo è in funzione. Per manipolare la stufa servirsi del quanto di protezione o degli attrezzi speciali forniti. Bambini e adolescenti al di fatto dei 16 anni possono utilizzato la stufa solo se sorvegliati da uomini.
- Assicurarsi che il cassetto cenere venga sempre spinto nella sua sede fino al raggiungimento dello scatto e, soprattutto, che non vengano smaltiti tizzoni/braci ardenti (pericolò di incendio).
- Nei periodi di mezza stagione possono verificarsi anomale della canna fumaria che possono compromettere la corretta espulsione dei gas combusti. In quello caso è opportuno riempire la camera di combustione con una quantità minore di combustibile, meglio se con trucioli o bricchetti di legno. Quindi mettere in funzione la stufa e con attenzione, stabilizzarne il tiraggio. Per un buon funzionamento della stufa la Griglia Focolare deve essere pulita quotidianamente.
- Dopogni accensione stagionale è opportuno far ispezionare la stufa da tecnici qualificati ed effettuare una pulizia completa di tubi e giro fumi.
- Per eventuali riparazioni o sostituzioni contattare tempestivement il proprio rivenditore avendo cura di comunicare l'esatto n^ di articolo e di series dell'apparecchio. Tutti i componenti dovanno essere sostituiti esclusivamente con pezzi originali Wamsler.
- Eventuali lavori, in particolare l'installazione, il montaggio, la prima accensione, nonché i servizi di assistenza e di riparazione sono essere eseguiti solo da una ditta specializzata (in impianti di riscaldamento o riscaldamento ad aria). Eventuali installazioni errate faranno decadere agli forma di garanzia.
- É importante che vengano rispetto le distance di sicurezza ai lati e sul retro per tutti i componenti e materiali infiammabili. Le distance sono riportate nelle istruzioni per l'uso o sulla targa dell'apparecchio.
- É vietato apportare qualsiasi tipo di modifica all'apparecchio. Non è amesso il collegamento ad una canna fumaria con altezza utile inferiore ai 4 metri.-In caso di incendio della canna fumaria chiudere subito tutte le aperture dell'apparecchio e avvertire i Vigili del Fuoco. Non provare in nessun caso a spegnerlo autonomamente. Dopo l'incendio è assolutamente necessario far ispezionare la canna fumaria da un technician specializzato.
- Poiché i combustibili solidi bruciando producono fuliggine, sul vetro della stufa potrebbero formarsi depositi; ciò non è da considerarsi un difetto dell'apparecchio.
- Essendo la pietra ollare/arena pietre naturali, eventuali alterazioni cromatiche sono normali e non costituiscono motivo di reclamo.
- L'apparecchiatura deve essere impiegata solo per l'uso per il quale è stata esplificamente concepita, altri impieghi sono impropri e pertanto pericolosi.
- L'apparecchiatura non deve essere utilizzata come inceneritore.
- In caso di vetro del portello focolare rotto e/o incrinato, casi come in caso di anomalie di funzionamento, l'apparecchio non può essereMESSO in funzione, se non dopo aver rimioso l'anomalia.
-
Non ostruire le aperture o feritoie di aspirazione o di smaltimento del calore.
-
Tutti i regolamenti locali, inclusi quelli riferiti alle Norme Nazionali ed Europee devono essere rispetto nell'installazione dell'apparecchio.
- Il funzionamento dell'apparecchio è di tipologia intermittente, quando richiede che il combustibile venga caricato manually durante il funzionamento.
1. Istruzioni per l'uso
1.1 Struttura stufa

Fig. 1
- Sportello
- Uscita fumi 150mm
- Leva aria primaria
- Leva aria secondaria
- Maniglia
- Cassetto genere > Targhetta incisa sul retro

Installare la camera di combustione della piastra del deviatore TYP18815 ROCKY
1.2 Accensione
Combustibili
Per garantire un corretto funzionamento della stufa e una formazione minima di fumo devono essere utilizzati esclusivamente i combustibili elencati di seguito: legna secca allo stato naturale con umidità massima del 20%.
| Tipodi combustibile | Valore calorico ca. kWh/kg |
| Legna dura | 4,0 – 4,2 |
| Legna morbida | 4,3 – 4,5 |
| Bricchetti secondo DIN 51731 | 5,0 – 5,2 |
È vietato bruciare i seguenti combustibili:
Rifiuti, minuzzoli di legna, corteccia, polverino di carbone, trucioli, legna umida e trattata con antisettici, carta, cartone e simili. Per l'accensione utilizzato bricchetti di legno o accendi fuoco da grill.
N.B. Per l'accensione non utilizzato mai : alcohol, benzina, o altri combustibili liquidi.
Attenzione!
Durante la prima accensione la stufa potrebbe emanare fumi e odori sgradevoli. Provedere subito ad arieggiare bene il locale (aprire porte e finestre) e riscaldare alla potenza termica nominale massima per almeno un'ora. Se non viene raggiunta la temperatura massima con la prima accensione, quosti fenomeni potrebbero ripresentarsianche in seguito.
Mediante la leva dell'aria primaria è possibile impostare in continuo i valori compresi nel Campo di regolazione per ottenere la potenza calorica desiderata.
Impostazione aria di combustione:
Le leve devono sempre trovarsi al centro dei symboli.
Tabella 1
| Modello | Leva | Accensione | Potenza ter- mica nomina- le | Spegnimento |
| TYP18813 TOMO | Leva aria primaria | |||
| Leva aria secondaria | aperto | aperto | chiuso | |
| TYP18814 OKU | Leva aria primaria | |||
| Leva aria secondaria | aperto | aperto | chiuso | |
| TYP18815 ROCKY | Leva aria primaria | aperto | ½aperto | chiuso |
| Leva aria secondaria | aperto | aperto | chiuso |
Quantità di carico orario:
TYP18814 OKU, TYP18815 ROCKY > 7 kW
Per il legno non superare una quantità di due ceppi (lunghezza max. 25 cm) per un carico di max. 1,7 kg.
TYP18813 TOMO > 9 kW
Per il legno non superare una quantità di due ceppi (lunghezza max. 33 cm) per un carico di max. 2,2 kg.
Prima accensione
- Prima di procedere all'accensione rimuovere il materiale di imballaggio del parafiamma sopra il focolare ed eventualmenteanche il nastro adesivo del vetro除去 lasciare residui.
Aprière lo sportello del focolare sollevando la maniglia verso l'alto. Se l'apparecchio è caldo, utilizzare un dato di protezione isolato. Impostare l'aria primaria e la scelta di combustibile secondo dato significato alla tabella 1.
Posizione sulla griglia focolare bricchetti di legno o accendi fuoco eaggiungervi sopra dei trucoli di legno. Procedere con una piccola carica di legna per poi augmentarne la quantità, accendere, e poi richiudere lo sportello del focolare. Quando
la fiamma si è ben sviluppata, e si è formato un buon strato di brace, aggiungere un'ulteriore carica di combustibile. In seguito impostare l'aria primaria / secondaria secondo quando indicato alla tabella 1.
Per la prima accensione è opportuno procedere in modo "lieve" con piccole quantità di combustibile, per consentire ai componenti di abituarsi al calore. Durante quella fase la stufa potrebbe emanare fumi e odori sgradevoli. Provedere subito ad arieggiare bene il locale (aprire porte e finestre) e riscaldare alla potenza termica nominale massima per almeno un'ora. Se non viene raggiunta la temperatura massima con la prima accensione, questi fenomeni potrebbero ripresentarsianche in seguito.
Il combustibile non deve esseregettato, ma appoggiato nel focolare con delicatetzza per evitare di danneggiare la parte in muratura dell'apparecchio.
Attenzione!
Aprendo lo sportello del focolare potrebbe verificarsi un'uscita di fumo dovuta ad un utilizzo improprio o ad uno scarso tiraggio della canna fumaria. Si raccomanda pertanto di aprire lo sportello lentamente, e solo di quale centimetro, prima di aprirlo completeness. Prima di aprire lo sportello per la ricarica di combustibile, assicurarsi che nel focolare vi sia solo il letto di brace e che le fiamme siano tutte spente.
1.3 Spegnimento
Chiudere gli sportelli e portare la regolazione dell'aria primaria in posizione chiusa. Lasciar consumare la brace rimasta e far raffreddare la stufa. Pulire e svuotare il focolare e il cassetto cenere solo quando la stufa si è raffreddata a temperatura ambiente! Raccomandiamo di far attenzione alla possibile presenza di braci o tizzoni caldi.
1.4 Generalità sul funzionamento
Gli sportelli del focolare devono rinanere sempre chiusi quando la stufa è in funzione. É possibile aprirli per l'accensione, l'aggiunta di carico o per la pulizia del focolaire.
Un adeguato apporto di aria secondaria consente di bruciareanche i componenti combustibili dei gas di scarico. Non più essere escluso un eventuale deposito di sporco sul vetro dovuto ai combustibili solidi ecision non è da considerarsi come un difetto dell'appareccchio. Grazie a questoystema la combustione genera molto e fuliggine garantendo il rispetto dell'ambiente. Qualora la stufa venga utilizzata nei periodi di mezza stagione è necessario prima controllare il tiraggio della canna fumaria, che potrebbe essere scarso se la temperature esterna è elevata. A quello scopo avvincare un fiammifero acceso allo sportello del focolare leggermente aperto. Se la fiamma non dovesse tirare sufficientemente in direzione dell'aperture, bruciare per breve tempo dei trucoli o bricchetti di legno nella stufa o nell'aperture di ispezione della canna fumaria. Per consentire un buon apporto di aria, prima di agli combustione pulire e scuotere la griglia focolare. Svuotare regolarmente il cassetto cenere ad appareccchio freddo. Se l'appareccchio è ancora caldo, indossare il quanto di protezione fornito. Accertarsi che durante esta procedure non vengano smaltiti residui di combustione ardenti (braci o tizzoni caldi).
Assicurarsi che il cassetto cenere venga sempre spinto nella sua sede fino al raggiungimento dello scatto.
Attenzione!
Per garantire aria pulita e una buona resa dell'apparecchio, il carico del combustibile non deve superare le quantità max indicate nelle istruzioni per l'uso per evitare un surriscaldamento che danneggerebbe la stufa. Eventuali danni come quello appena descritto non sono coperti alla garanzia. Una minore resa termica si ottiene soltanto riducendo le quantità di carico e non mediate diminuzione dell'aria primaria.
1.5 Pulizia e manutenzione
Un buon utilizzato dell'apparecchio associato ad un'accurata pulizia e manutenzione garantiscono la stabilità dei valori e una lunga durata nel tempo dell'apparecchio. Ciò consente di risparmiare preziose risorse, rispetto l'ambiente ed evitare ultere-riori spese. In quello modo è possibile pulire il giro fumi dall'interno o, rimuovendo il tubo di scarico, dall'alto.
Al terme dell'operazione di pulizia reinserire il parafiamma nella posizione iniziale.
Attenzione!
A fine stagione è opportuno sottoporre la stufa a una pulizia completa. Per eventuali riparazioni o sostituzioni contattare tempestivamente il proprio rivenditore avendo cura di comunicare l'esatto n^ di articolo e di series dell'apparecchio (v. targa di identificazione).
La pulizia delle superfici esterne è da effettuare a stufa fredda. Devono essere pulite con acqua corrente o, in casi particulari, pretrattate con acqua saponata o detersivo per piatti, e poi strofinate fino a complete asciugatura.
Prima del primo utilizzato pulire il vetro ROBAX S della stufa con un panno umido e pulito e aggiungere poi delle gocce di detergente per vetroceramica su entrambi i lati del vetro mediente carta da cucina.
La pregiata superficie di ROBAX S è rivestita con una pellicola invisibile che consente di mantenere il vetro pulito e che agevola le operazioni di pulizia sequeste sono svolte regolarmente.
I combustibili solidi bruciando producono fuliggine e la formazione sul vetro di eventuali depositi non più essere mai del tutto esclusa; perché non è da considerarsi un difetto dell'apparecchio.
Pulizia delle ceramiche: sporco e grasso possono essere rimossi con acqua e sapore.
Pulizia di pietra ollare e arenaria: essendo pietra ollare e arenaria pietre naturali, eventuali alterazioni cromatiche sono normali e non costituiscono motivo di reclamo! Sporco e grasso possono essere rimossi con acqua e sapone, piccoli graffi con carta abrasiva a umido (grana 240).
Importante: non utilizzare in nessun caso spugne, abrasivi e detergenti aggressivi o che potrebbero graffiare le superfici!
Eventuali lavori, in particolare l'installazione, il montaggio, la prima accensione, nonché i servizi di assistenza e di riparazione sono essere eseguiti solo da una ditta specializzata (in impianti di riscaldamento o riscaldamento ad aria). Eventuali installazioni errate faranno decadere agli forma di garanzia.
1.6 Cause e risoluzione anomalie
| Tipodi di anomalia | Cause possibili | Rimedi |
| Formazione di odori: | Asciugatura della vernice utilizzata ed evaporazione dei residui di olio. | Lasciare la stufa in funzione per diverse ore sulla posizione minima sono comeindicato nelle istruzioni per l'uso. In seguito lasciare riscaldare per diverse ore a potenza massima. |
| Scarsa emissione di calore: | •È stata scelta una potenza troppo Bassa•Tiraggio troppo basso | •Far verificare il Suo fab-bisogno termico da un technician esperto.•La stufa richiede un ti-raggio min di 12 Pa e più arrivare ad un max di 15 Pa per breve tempo. Controllare la tenuta della canna fumaria. Verificare sopratto le aperture della canna fumaria e di pulizia. Se necessario collegare un tratto verticale.•Tutti i collegamenti dei tubi di scarico devono essere una buona tenutaagna ed essere isolati con materiale refrattario.•Controllare la tenuta e chiudere bene gli sportelli. In caso far sostituire i nastri sigillanti.•Utilizzato solamente legna ben asciutta. |
| •Tubo di scarico troppo lungo e non sigillato | ||
| •Sportelli vetro, foco-lare o cenere non ermetici | ||
| •Combustione di legna troppo umida |
Provvedimenti da attuare in caso di incendio di canna fumaria
Una pulizia non completa della canna fumaria, l'utilizzo di combustibile non idoneo (per esempio legna troppo umida) o l'impostazione sbagliata dell'aria della combustione potrebbero provocare un incendio della canna fumaria. In quello caso chiudere la presa d'aria della stufa e chiamare immediatamente i Vigili del Fuoco.
N.B. Non provare mai ad estinguere il fuoco con acqua.
2. Installazione
2.1 Prescrizioni e norme
Leggere attendamente il contento del presente manuale, in quanto fornisce importanti significazioni edistruzioni riguardanti l'installazione, l'uso, la manutenzione e sostrattutto la sicurezza del prodotto.
- L'installazione e l'uso delle apparecchiature, deve avvenire esclusivamente in ambiente giudicato idoneo dagli enti preposti e soprattutto in conformità alle norme e prescrizioni vigenti in materia.
Gli impiani technologici e l'installazione degli apparecchi devono essere effettuali da personale professionalmente qualificato, autorizzato a rilasciare certificato di conformità e rispondenza alle norme in vigore. - Nel luogo di installmente devono essere rispettotte tutte le leggi, norme e direttive in vigore, in materia di edilizia civile e/o industriiale, utilizzando sempre i dispositivi di sicurezza individuale e gli altri mezzi di protezione previsti per legge.
Devono inoltre essere rispectate tutte le leggi, norme, direttive in vigore in materia di impiantistica, canne fumarie, elettricità, acqua, ventilazione/aspirazione. - Il costruttore declina agli responsabilità derivante da installazione errata, manomissione, utilizzo non corretto dell'apparecchio, uso improprio, cattiva manutenzione, inosservanza delle normative vigenti e imperizia d'uso.
Operazioni preliminari
- Togliere delicatamente l'imballo.
Il materiale che compone l'imballo va riciclato mettendolo negli appositi contenti o conferito al site preposto nel comune di residenza. - Prima dell'installazione assicurasi dell'integrità dell'apparecchio, in caso di dubbio non utilizzato e rivolgersi al rivenditore.
Posizionamento apparecchio
Il sito d'installazione dell'apparecchio deve prevedere:
- Una pavimentazione di adeguata capacità di carico, superiore al peso dell'apparecchio. Se la costruzione esistente non soddisfa questo requisito, misure appropriate dovanno essere prese (Es. piatra di distribuzione di carico).
- Una pavimentazione adatta all'irraggiamento calorico che garantisce l' edificio contro i rischi di incendio.
- L'installazione dell'apparecchio deve garantire facile accesso per la pulizia dell'apparecchio stesso, dei condotti dei gas di scarico e della canna fumaria.
2.2 Distanze di sicurezza
Proteggere dall'effetto del calore tutti gli elementi costruttivi, mobili o tessuti di arredamento infiammabili situati nelle vicinanze della stufa.
Oggetti all'interno della zona di irraggiamento
Per gli elementi costruttivi, i mobili e i tessuti di arredamento inflammabili situati nella zona di irraggiamento della stufa è necessario rispetto una distanza minima di 100 cm (A), misurati dal bordo anteriore dell'apertura del focolare. La distanza di sicurezza si riduce ai 50 cm (B) qualora di fronte all'elemento sua installata una protezione areata (v. fig. 2).
Oggetti al di fuori della zona di irraggiamento
Le pareti laterali e quella posteriore all'apparecchio non possono essere realizzate o rivestite con materiale infiammabile qualora la distance laterale sia inferiore ai 60 cm e quella posteriore ai 60 cm.
Anche per mobili in legno o in plastica deve assere rispettata una distanza laterale di 60 cm (v. fig. 3).

Fig. 2

Fig. 3
Pavimento sotto e davanti alla stufa
I pavimenti in materiale infiammabile come moquette, parquet o sughero devono essere sostituiti o protetti fatto la stufa, davanti fino a 50 cm dal bordo del focolare e lateralmente fino a 30 cm da un rivestimento in materiale non infiammabile, come ceramica, pietra, vetro o da una base salva-pavimento in acciaio.
2.3 Collegamento alla canna fumaria
ATTENZIONE!
Prima di procedere al collegamento dell'apparecchio consultare un technique specializzato di zona!
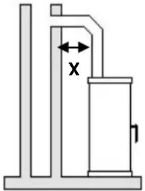
I tratti di collegamento della stufa devono essere ben saldati e sigillati e non devono essere insertiti in profondità nella sezione trasversale libera della canna fumaria. Il tratto di collegamento tra stufa e canna fumaria deve avere un diametro equivalente a quella del bocchettone di uscita fumi della stufa. Tratti orizzontali superiori ai 0,5 metri devono avere una pendenza di 10 grade rispetto alla canna fumaria. Tubi non isolati termicamente o con andamento orizzontale non devono avere una lunghezza superiore ad un metro.
La Misura X (distanza da elementi costruttivi/materiali infiammabili) da rispetto è quella indica dal produttore dell'apparecchio.
ATTENZIONE!
Per il dimensionamento della canna fumaria consultare i dati relativi all'apparecchio nella sezione 3.


CAMINO O CANNA FUMARIA
Il camino o canna fumaria deve rispondere ai seguenti requisiti:
- Essere a tenuta dei prodotti della combustione, impermeabile ed adeguatamente isolato e coibentato alla stregua delle condizioni di impiego (UNI 9615);
- Essere realizzato in materiali adatti a resistere alle normali sollecitazioni meccaniche, al calore, all'azione dei prodotti della combustione e alle eventuali condense;
- Avere andamento prevalente verticale con deviazioni dell'asse non superiore a 45^ ;
- Essere adeguatamente distanziato da materiali combustibili o infiammabili mediente intercapedine d'aria od opportuno isolante;
- Avere sezione interna preferibilmente circolare; lesezioni quadrate o rettangolari devono ave angoli arrotondati con raggio non inferiore a 20~mm
- Avere categoria interna costante, libera e independente;
- Avere lesezionirettangolari con rapporto massimo tra i lati di 1,5;
- Dovranno essere rispetto leindicazioni del costruttore dell'apparecchio per quanto concerne la sezione e le caratteristiche costruttive della canna fumaria/camino. Persezioni particolari, variazioni di sezione o di percorso dovrè essere effettuata una verifica del funzionamento delsystema di evacuationione fumi con appropriato metododi calcolo fluidodinamico (UNI 9615).
- E' consigliato che il condotto fumario sia dotato di una camera per raccolta materiali solidi ed eventuali condense, situata sotto l'imbocco del canale da fumo, in modo da essere facilemente apribile ed ispezionabile da sportello a tenuta d'aria.
In caso di incendio della canna fumaria munirsi di adeguati sistemi per soffocare le fiamme (es. utilizzato un estintore a polvere o ad anidride carbonica) e richiedere l'intervento dei Vigili del Fuoco.
COLLEGAMENTO DELL'APPARECCHIO ALLA CANNA FUMARIA ED EVACUAZIONE DEI PRODOTTI DELLA COMBUSTIONE (vedi ancche normativa UNI 10683)
Il collegamento tra l'apparecchio di utilizzazione e la canna fumaria deve ricevere lo scarico da un solo generatore di calore.
- E' ammessa la realizazione di apparecchio composto da caminetto e forno di cottura con un unico punto di scarico verso il camino, per il quale il costruttore dovrà fornire le caratteristiche costruttive del raccordo dei canali da fumo.
- E' vietato convogliare nelle stesso canale da fumo lo scarico proveniente da cappe sovrastanti gli appearecchi di cottura.
E' vietato lo scarico diretto verso spazi chiusi anche se a cielo libero.
- Lo scarico diretto dei prodotti della combustione deve essere previsto a fatto ed il condotto fumario deve ave le caratteristiche previste precedentamente.
COMIGNOLO
- Il comignolo deve rispondere ai seguenti requisiti:
- Avere sezione interna equivalente a quella del camino;
- Avere sezione utile di uscita non inferiore al doppio di quella interna del camino;
- Essere costruito in modo da impedire la penetrazione nel camino di pioggia, neve, corpi estranei e in modo che ancche in caso di venti di agli direzione e inclinazione sua comunique assicurato lo scarico dei prodotti della combustione;
- Essere posizionato in modo da garantire una adeguata dispersione e diluizione dei prodotti della combustione e comunique al di fuori della zona di reflusso in cui è favorita la formazione di contropressioni. Tale zona ha dimensioni e conformazioni diverse in funzione dell'angolo di inclinazione della copertura, per cui risulta necessario adottare le altezze minime indicate negli schemi seguenti:


| Inclinazione del fatto C (°) | A H | Altezza della zona di reflusso Z (m) | |
| 15 | 1,85 | 1,00 | 0,50 |
| 30 | 1,50 | 1,30 | 0,80 |
| 45 | 1,30 | 2,00 | 1,50 |
| 60 | 1,20 | 2,50 | 2,10 |






REALIZZAZIONE DELL'ALLACCIAMENTO ALLA CANNA FUMARIA
- Eseguire il collegamento dell'apparecchio alla canna fumaria del camino estidente, assicurandosi che il tubo di uscita fumi non occupi la sezione libera della canna fumaria.
- Utilizzare esclusivamente tubi adatti allo smaltimento dei fumi della combustione.
- Limitare i tratti orizzontali del condotto di raccordo alla canna fumaria (max 1 metro) e l'uso di curve. Il foro di entrata del bino in canna


PRESA ARIA COMBUSTIONE DALL'AMBIENTE DI INSTALLAZIONE
- L'apparecchio deve poter disporre dell'aria necessaria a garantirne il regolare funzionamento mediante prese d'aria esterna.
- Le presed'aria devono rispondere ai seguenti requisiti:
a) Avere categoria libera totale minima di 200~cm^2
b) Essere comunicanti direttamente con l'ambiente di installmente;
c) Essere protette con griglia, rete metallica o idonea protezione parché non riduca la sezione minima di cui al punto a) e posizionate in modo da evitare che possano essere ostruite.
-
L'afflusso dell'aria può essere ottenutoanche da un locale adiacente a quello di installatione, purché tale flusso possa avvenire liberamenteattraverso apertura permanenti comunicanti con l'esterno. Il locale adiacente rispetto a quello di installatione non devese essere in depressione rispetto all'ambiente esterno per effetto del tiraggio contrario, provocato alla presenza in tale locale di altri apparecchio di utilizzazione o di dispositivo di aspirazione.
-
Nel locale adiacente le aperture permanenti devono rispondere ai requisiti di cui alle lettere a) e c).
- Il locale adiacente non può essere adibito ad autorimessa, magazzino di materiale combustibile né comunque ad attività con pericolò d'incendio.
NOTA : Ventilatori di estrazione aria, quando usati nella stessa stanza o spazi vicini dell'apparecchio, potrebbero causare problemi di funzionamento.
NOTA : Il locale di installment non deve essere什么意思 in depressione da apparecchiature quali ad esempio: cappe di aspirazione,camini, canne fumarie,ecc., presenti nel locale stesso o nei locali adiacenti posti in Communication. tioning systems (for ex. ventilation systems, exhauster hoods, pneumatic con- veyor systems etc.).
Solo il tipo TYP18814 OKU
0 80 mm

3. Schede tecniche
3.1 Disegni dimensionali e dati

TYP18813

TYP 18814


TYP18815

3.2 Dimensioni
| N° art. | Lar-ghezza(mm) | Profon-dità(mm) | Altezza(mm) | Peso netto(kg) | Peso brutto(kg) |
| G001881310 | 652 | 372 | 768 | 157 | 175 |
| G001881410 | 450 | 475 | 1050 | 135 | 153 |
| G001881510 | 410 | 364 | 800 | 72 | 90 |
Questi dati relativi alle dimensioni sono indicati a solo scopo informativo! Ci riserviamo il diritto di apportare eventuali modifiche strutturali avantaggio del progresso technologico o del miglioramento qualitativo!
3.3 Informazioni sul peso e dati tecnici
| Tipo | 18813 TOMO | 18814 OKU | 18815 ROCKY |
| Potenza nominale termica | 9 kW | 7 kW | 7 kW |
| Volume riscaldabile per utilizzo non conti- nuo in m3 | 200 | 144 | 144 |
| - in condizioni favorevoli, | 120 | 84 | 84 |
| - normali e | 82 | 58 | 58 |
| - poco favorevoli | |||
| secondo DIN 18893/TAB. 2 | |||
| Valori delle emissioni per combustibile: | Scheitholz | Scheitholz | Scheitholz |
| Portata fumi: | 7,3 g/s | 6,0 g/s | 5,6 g/s |
| Temperatura dei fumi: | 325 °C | 332 °C | 318 °C |
| Depressione minima con rendimento | 12 Pa | 12 Pa | 12 Pa |
| Polveri (O2 del 13 %) | ≤ 40 mg/m3 | ≤ 40 mg/m3 | ≤ 40 mg/m3 |
| CO (O2 del 13 %) | ≤ 1250 mg/m3 | ≤ 1250 mg/m3 | ≤ 1250 mg/m3 |
| ≤ 0,10 % | ≤ 0,10 % | ≤ 0,10 % | |
| Rendimento | ≥ 76% | ≥ 79% | ≥ 78% |
| Energy efficiency class | A | A | A |
Tutte le informazioni fornite dai valori dei gas di scarico sono basati sul EN 13240 in condizioni di laboratorioio stazionarie
Ci riserviamo il diritto di apportare modifiche avantaggio del progresso technologico e/o del miglioramento qualitativo. Non ci assumiamo nessuna responsabilità per eventuali errori di battitura o modifiche successive alla messa in stampa.
WAMSLER

ManualeFacile