The Premiere LSP7T - Proiettore SAMSUNG - Manuale utente e istruzioni gratuiti
Trova gratuitamente il manuale del dispositivo The Premiere LSP7T SAMSUNG in formato PDF.
| Caratteristiche Tecniche | Risoluzione 4K UHD (3840 x 2160), Luminosit\u00e0 2200 ANSI Lumens, Tecnologia DLP |
|---|---|
| Utilizzo | Ideale per film, videogiochi e presentazioni, con proiezione a corta distanza. |
| Manutenzione e Riparazione | Filtro aria sostituibile, aggiornamento firmware via USB o rete. |
| Sicurezza | Certificazioni CE, RoHS, protezione da surriscaldamento. |
| Informazioni Generali | Connettivit\u00e0: HDMI, USB, Wi-Fi, Bluetooth. Compatibile con assistenti vocali. |
Domande frequenti - The Premiere LSP7T SAMSUNG
Domande degli utenti su The Premiere LSP7T SAMSUNG
0 domanda su questo apparecchio. Rispondi a quelle che conosci o fai la tua.
Fai una nuova domanda su questo apparecchio
Scarica le istruzioni per il tuo Proiettore in formato PDF gratuitamente! Trova il tuo manuale The Premiere LSP7T - SAMSUNG e riprendi in mano il tuo dispositivo elettronico. In questa pagina sono pubblicati tutti i documenti necessari per l'utilizzo del tuo dispositivo. The Premiere LSP7T del marchio SAMSUNG.
MANUALE UTENTE The Premiere LSP7T SAMSUNG
Prima di leggere questo manuale dell'utente
Samsung dichiara che questo TV è conforme all'art. 3quinquies D.L. 16/2012 convertito con modifiche da L. 44/2012 e successivement modificato da L. 11/15"
Questo proiettre viene venduto con un manuale dell'utente ed un manuale elettronico incorporato.
Prima di leggere quello manuale, vedere:
| Manuale dell'utente | Leggere quello manuale in dotazione per visualizzare le informazioni sulla sicurezza dei prodotti, installazione, accessori, configurazione iniziale e specifiche del prodotto. |
| e-Manual | Per maggiori informazioni su quello proiettre, leggere il manuale elettronico incorporato nel prodotto. • Per accedere al e-Manual, >impostazioni >Supporto >Apri e-Manual |
Nel除去 web (www.samsung.com) è possibile scaricare i manuale e visualizzarne i conteni sul proprio PC o dispositivo mobile.
Conoscere le funzioni di assistenza dell'e-Manual
- Alcune schermate del menu non sono accessibili dal manuale elettronico.
| Q | Ricerca | Scegliere una voce dall'elenco dei risultati per caricare la pagina corrispondente. |
| A-Z | Indice | Selezionare una parola chiave per consultare la relativa pagina.- I menu possono differire in base all'area geografica di apparitenenza. |
| O | Mappa del sito | Visualizza gli elenchi per agli elemento in e-Manual. |
| ← | Visti di recente | Selezionare un argomento dall'elenco di argomenti visualizzati di recente. |
Conoscere le funzione dei tasti visualizzati nelle pagine degli argomenti dell'e-Manual
| Prova ora | Permette di accedere alla voce del menu corrispondente e di provare immediamente la funzione. |
| Collega | Accedere immediamente all'argomento evidenziato di una pagina del e-Manual. |
Italiano-2
Avvertenza! Istruzioni importanti di sicurezza
Leggere Istruzioni di sicurezza prima di usare il proiettre.
Per una spiegazione sui significi che sono comparire sui prodotti Samsung vedere la tabella sotto.
ATTENZIONE
RISCHIO DI SCARICHE ELETTRICHE. NON APRIRE.
ATTENZIONE: PER RIDURRE IL RISCHIO DI SCOSSE ELETTRICHE, NON RIMUOVERE IL COPERCHIO (O IL PANNELLO POSTERIORE). NON CONTIENE PARTI RIPARABILI DALL'UTENTE. RIVOLGERSIA UN TECHNICO DELL'ASSISTENZA QUALIFICATO.

Questo symbolo indica che all'interno sono presenti tensioni pericolose. E' pericoloso toccare in qualsiasi modo le parti interne di quello prodotto.

Questo significato indica la disponibilità di informazioni importanti nella letteratura del prodotto relative al funzionamento e alla manutenzione del dispositivo.

Tensione CA: La tensione nominale contraddistinta con questo significolo è di tipo CA.

Tensione CC: La tensione nominale contraddistinta con questo significolo è di tipo CC.

Attenzione. Leggere le Istruzioni per l'uso: Questo symbolo indica all'utente la necessità di consultare il manuale dell'utente per ottenerulteriori informazioni sulla sicurezza.
Installazione
-
Sul retro o sul fondo del telaio sono presenti aperture di ventilazione. Per evitare il surriscaldamento del dispositivo e garantirne un funzionamento ottimale, non ostruire o copire in nessun caso le aperture di ventilazione.
-
Non posizionare il prodotto all'interno di uno spazio limitato, come per esempio una libreria o un vano a incasso, privo di adeguata ventilazione.
Non esporre il prodotto a luce solare direttane collocarlo vicino o sopra un radiatore o una griglia di un impianto di riscaldamento.
Non collocare sul prodotto recipienti pieni d'acqua (come vasi, ecc...); la mancata osservanza di但这a precauzione cui causare incendio o scarica elettrica.
Non esporre il prodotto a gobce o spruzzi d'acqua.
- Contattare un Centro di assistenza autorizzato Samsung qualora si installi il proiettre in un locale molto polveroso o in presenza di temperature molto alte o molto basse, elevata umidità, presenza di sostanze chimiche o in caso di funzionamento 24 ore su 24, per esempio in aeroporti, stazioni ferroviarie, ecc.. La mancata osservanza di但这a precauzione può causare gravi danni al proiettre.
Non esporre il prodotto a gocce o spruzzi d'acqua.
Non gettare le batterie nel fuoco.
- Le batterie (gruppo batterie o batterie installate) non devono essere esposte a un calore eccessivo, come per esempio luce solare diretta, fiamme libere o simili.
ATTENZIONE: Sostituendo le batterie ESAuste del telecomando con un tipo di batterie di voltaggio errato vi è il pericolo di esplosione. Sostituire solo con batterie dello stesso tipo o equivalenti.
AVVERTENZA - PER EVITARE IL PERICOLO DI INCENDIO, NON AVVICINARE MAI AL PRODOTTO CANDELE ACCESE O ALTRE FIAMME LIBERE.
- Prestare attenzione nel toccare il proiettre dopo che è rimasto acceso per diverso tempo. Alcune parti possono risultare calde al fatto.
Funzione
- Questo prodotto utilizza batterie. Seguire le normative locali in vigore per il corretto smaltimento delle batterie. Contattare l'autorità locale per richiedere informazioni sulle modalità di ricolcio e smaltimento.
Non far cadere o colpire il prodotto. Se il prodotto risulta danneggiato, scollegare il cavodi alimentazione e rivolgersi ad un Centro di assistenza autorizzato Samsung. - Qualora sia necessario spagnere del tutto il proiettre, attendere fino a quando la ventola si ferma completeness in modo che il proiettre possa raffreddarsi completeness.
Alimentazione
Non sovraccaricare le prese a parete, le prolonghe e gli adattatori otre la loro capacità per evitare rischi di incendio o scariche elettriche.
- I cavi di alimentazione devono essere posizionati in modo da non poter essere calpestati o schiacciati da oggetti positonati sopra o contro di essi. Prestare particolare attenzione ai cavi e alle spine, in prossimità delle prese elettriche e nel punto in cui escono dall'apparecchio.
- Per proteggere l'apparecchio in caso di fulmini, o se è stato lasciato incustodito o non utilizzato per un lungo periodo di tempo, scollegarlo alla presa a parete e scollegare ilsystema via cavo/antenna. Questa precauzione proteggerà il prodotto dai danni causati da fulmini e picchi di corrente.
- Prima di collegare il cavo di alimentazione CA, assicurarsi che la tensione operativa del proietto correponda alla tensione erogata alla presa elettrica. Vedere la sezione relativa alle specifiche di alimentazione nel manuale e/o dell'etichetta apposto sul prodotto per conoscere le informazioni di voltaggio ed amperaggio.
Non inseire mai oggetti metallici nelle aperture dell'apparecchio. Ciò potrebbe provocare una scarica elettrica.
- Per evitare il pericolò di scosse elettriche, non toccare mai le parti interne dell'apparecchio. L'apparecchio può essere aperto solo da un technician补水ato.
- Inserire saldamente la spina del cavo di alimentazione nella presa elettrica. Nello scollegare la spina di alimentazione dalla presa a parete, afferrarla per la spina e non per il cavo. Non scollegare mai la presa tirando il cavo di alimentazione. Non toccare il cavo di alimentazione con le mani bagnate.
- Se l'apparecchio funzione in modo anomalo, in particolare se emette odori o rumori insoliti, scollegarlo immediamente dall'alimentazione e contattare un rivenditore autorizzato o un Centro di assistenza Samsung.
- Estrarre la spina dalla presa di corrente qualora il proiettre rimanga inutilizzato o non si intenda utilizzato per un lungo periodo di tempo (in particolare in presenza di minori, anziani o persone diversamente abili non sorvegliati).
-La polvere accumulata cui causare scariche elettriche, perdite di corrente o incendio a causa del calorie o delle scintille generate dal cavo di alimentazione o dal degrado della guaina isolante.
Utilizzare solo una spina e una presa opportunamente collegate a terra.
- Una messa a terra inadeguata cui cause scosse elettriche o danni al prodotto. (Solo dispositivi di Classe I.)
- Per spegnere completeness, scollegare la spina dalla presa di corrente a parete. Per poter scollegare rapidamente il teilevisore alla presa di corrente in caso di necessità, assicurarsi che la spina del cavo di alimentazione sua sempre rapidamente accessibile.
Pulizia
- Per pulire il prodotto, scollegare il cavo di alimentazione alla presa di corrente e pulirlo con un panno morbido e asciutto. Non usare prodotti chimici quali cera, benzene, alcol, solventi, insetticidi, deodoranti per l'ambiente, lubricanti o detergenti. Tali sostanze chimiche possono danneggiare l'aspetto del proietto o cancellare le scritte riportate sul prodotto.
Non spruzzare acqua o soluzioni detergenti direttamente sul proiettre. Qualsiasi liquido cheriesca a penetrare all'interno del prodotto può provocare guasti, incendio o una scossa elettrica.
Laser
Non ostruire il fascio di luce proveniente delle lenti di proiezioni del proietto quando è in funzione. La luce riscaldera l'oggetto, potenzialmente fondendolo o innescando un principio di incendio.
Non guardare direttamente la luce emessa dallementi del proietto o indirizzare la luce verso gliocchi di altri.

- AVVERTENZA: MONTARE AL DI SOPRA DELL'ALTEZZA DEI BAMBINI. Ulteriori avvisi relativi all'esposizione degli occhi per armadiature chiuse inferiori a 1 m.
- Come per qualsiasi altra luce intensa, non fissare direttamente il raggio di luce, RG2 IEC 62471-5:2015.
- Questo proiettre è un appearechio di Classe 1 prodotto di IEC 60825-1:2014 e di Gruppo di rischio 2 secondo le specifiche IEC 62471-5:2015
-
Istruzioni aggintive per la supervisione dei minori, non fissaggio, e non utilizzo di ausili ottici
-
Si raccomanda di supervisionare i minori di non permettere loro in alcun momento di fissare il raggio di proiezione a qualsi distanza dal proiettre.
-
Si raccomanda di prestare attenzione nell'uso del telecomando per l'avvio del proiettor rimanendo davanti alle lenti di proiezione.
-Si raccomanda l'utente di evitare l'uso di ausili ottici come binocoli o telescopi entro il raggio. -
Non aprire o smontare il proietto poiché tale operazione potrebbe creare seri danni esponendo il raggio laser.
Antenna
- Piegare verso il basso la parte dove è situata l'antenna in modo che eventuale pioggia non possa penetrare al suo interno.
- In caso di uso di una antenna esterna, installarla lontano dai cavi elettrici sono da evitare la possibilità che tocchi eventuali cavi nelle sue vicinanzeanche in caso di caduta a causa di vento forte.

Indices
Prima di leggere questo manuale dell'utente 2
Avvertenza! Istruzioni importanti di sicurezza 3
01 Contenuto della confezione
02 Introduzione al prodotto
Informazioni sul proietto 8
03 Samsung Smart Remote
Conoscere i tasti del Samsung Smart Remote. 9
Abbinamento del proiettore al
Samsung Smart Remote 10
Installazione delle batterie nel telecomando
Samsung Smart Remote 10
04 Installazione del proiettre
Dimensioni dell'imagine e distance di proiezione 12
Uso del Tasto di accensione 13
Montare il proietto a parete 14
05 Risoluzione dei problemi e manutenzione
Risoluzione dei problemi 15
Modifica della password del proietto 16
06 Specifiche e altre informazioni
Specifiche 17
Caratteristiche ambientali 17
Riduzione del consumo energetico 18
Licenze 18
01 Contenuto della confezione
Controllare che nell'imballaggio del proietto siano contenti i seguenti componenti. Se eventuali componenti risultano mancanti, contattare il rivenditore.
Samsung Smart Remote & Pile (2 tipo AA)
- Manuale dell'utente
-
Scheda di garanzia / Guida alle normative (non disponibili in tutti i paesi)
Cavo di alimentazione -
La forma e il colore dei componenti possono variare in base al modello.
- Eventuali cavi non forniti possono essere acquistati separatamente.
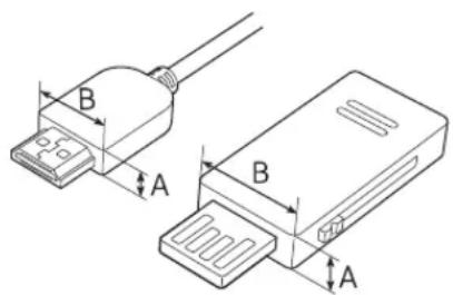
- In caso di connessione mediante un cavo HDMI o USB, o di connessione di una chiavetta USB alla porta HDMI o USB, usare un prodotto con una profondità di 18 mm o meno ed una altezza di 10 mm o meno. Qualora il cavo USB o a chiavetta USB non entri nelle porte USB del proietto, usare un cavo di prolunga in grado di supportare lo standard USB 2.0.
- Usare un cavo certificato riportante il logo HDMI.
- Qualora il cavo HDMI utilizzato non sua certificato, lo schermo potrebbe non essere visualizzato o potrebbe verificarsi un erre di connessione (tipologia di cavi HDMI consigliati).
Cavo HDMI ad alta velocità (3 m o meno)

A ≤ 10mm / B≤ 18mm
Nelle seguenti condizioni è possibile che vengano addebitati costi amministrativi:
(a) l'uscita del tecnico in seguito a una chiamata non porta all'individuzione di alcun difetto nel prodotto (ovvero laddove l'utente non abbia fatto il manuale dell'utente).
(b) L'utente ha consegnato l'unità ad un Centro di assistenza Samsung ma non è stato individuato alcun difetto nel prodotto (ovvero laddove l'utente non abbia letto il manuale dell'utente).
Prima dell'uscita del technique l'utente viene informato delle spese aministrative.
02 Introduzione al prodotto
Informazioni sul proiettre

SP-LSP7TFA SP-LSP9TFA


1 Obiettivo
Sensore telecomando / spi LED
3 Altoparlante
4 Ventilazione
5 Tasti di accensione
6 Piedino di regolazione della inclinazione
- La forma e il colore del prodotto posso sono variate in base al modello.
- Non ostruire le aperture e ventole di ventilazione del proietto.
- Operando il proiettre in uno spazio ristretto, lasciare almeno 50~cm di spazio intorno alle aperture e ventole di ventilazione.
Italiano-8
03 Samsung Smart Remote
Conoscere i tasti del Samsung Smart Remote.
- Le immagini, i tasti e le funzioni del Samsung Smart Remote possono differire in base al modello.
- La funzione Configurazione telecomando universale viene eseguita regolarmente solo se si usa il Samsung Smart Remote fornito in dotazione al Proiettre.

(Accensione)
Premere per accendere e spegnere il proietto.

(tastoNumero)
Se premuto visualizza una striscia
numerica nella parte bassa della
schermata. Selezionare i numero quindi
selezionare Fatto per digitare un valore
numerico. Usare per cancellare il canale
visualizzato, digitare un PIN, un CAP, ecc.
- Se premuto per 1 o più secondi, viene visualizzato il menu TTX.
Selezione
Selezione o esgue un elemento evidenziato. Se premuto durante la visione di un programma, ne visualizza le informazioni dettagliate.

(Ritorna)
Ritorna al menu precedente. Se premuto per 1 o più secondi, la funzione in esecuzione viene terminata. Se premuto durante la visione di un programma, visualizza il canale precedente.

(Riproduci/pausa)
Se premuto, compaioni i controlli di riproduzione. Usando questi controlli, è possibile controllare la riproduzione dei containuti.

(Smart Hub)
Torna alla Schermo Principale.


(Assistente vocale)
Esegue la funzione Assistente vocale selezionata. Tenere premuto il tasto, pronunciare un comando vocale, quando rilasciare il tasto per eseguire Assistente vocale.
- Le lingue e le funzioni di interazione vocale supportate possono differire in base alla regione geografica di apparpenenza.

(tasto Colore)
Utilizzare i tasti colorati per accederare ulteriori opzioni specifiche per la funzione in uso.
Tastodirezionale (su/gi/sinistra/destra)
Usato per navigare il menu del proietto, evidenziare gli elementi nel menu Home e modificare i valori osservati nel menu del proietto.
+/- (Volume)
Spostare il tasto Su o Giu per regolare il volume. Per escludere l'audio, premere il tasto. Se premuto per 1 o più secondi, viene visualizzato il menu Collegamenti di accessibilità.

(Canale)
Spostare il tasting Su o Giu perambiare il canale visualizzato. Per visualizzare la schemata della Guida, premere il tasting
- Se premuto per 1 o più secondi, viene visualizzata la schermata Elenco canali.
Italiano-9
Abbinamento del proiettre al Samsung Smart Remote

Quando si accende il proietto per la prima volta, il Samsung Smart Remote verrà abbinato automaticamente al proietto. Se l'abbinamento automatico tra Samsung Smart Remote ed il proietto non riesce, punctare il disposito verso il sensore del proietto e premere contemporaneamente i tasti eportati nel disegno a sinistra per almeno 3 secondi.
Installazione delle batterie nel telecomando Samsung Smart Remote

Per inseire le batterie, spingere per aprire il coperchio posteriore nella direzione indicata alla freccia in basso nell'illustrazione, quando inseire le batterie come migliorato nella figura. Assicurarsi che i poli positivo e negativo siano rivolti nella direzione corretta. Chiudere il coperchio posteriore come migliorato.
- Per una maggiore durata della batterie si consiglia l'uso di batterie alcaline.
Italiano - 10
04 Installazione del proietto


Installare il proiettre in orizzontale su una superficie piana cosi da prevenire un eventuale ribaltamento. Quando lo schermo ed il proiettre non sono allineati orizzontalmente e verticalmente, oppure lo schermo è curvo, la visualizzazione può risultare distorta.
-
Posizione are il proiettoe ad una distanza adeguata dallo schermo da proiettare, collegarlo con il cavo di alimentazione ed accenderlo.
-
Quando si accende il proiettor per la prima volta, il proiettor esegue automaticamente la funzione di Impostazione iniziale.Seguire le istruzioni visualizzate sullo schermo e configurare le impostazioni base del proiettor per regolare le condizioni ambientali di visione.
-
Per accendere il proietto premei il tasto di accensione sul retro del proietto quindi usare il Menu di controllo. Il Menu di controllo compare alla pressione del tasto di accensione quando il proietto è accesso.
-
Se lo schermo risulta sfocato o distorto, regolare le impostazioni seguendo le istruzioni riportate di seguito.

-
La forma e il colore del prodotto posso variare in base al modello.
-
Regolare l'angolo muovendo il proiettore a sinistra e a destra o regolare il piedino di inclinazione sul fondo per renderere lo schermo rettangolare.


Italiano-11
-
Spostare il proiettre in avanti e indietro per regolare la distance di proiezione per una specifica dimensione di schermo.
-
Quando lo schermo proiettato non è nitido, Impostazioni > Generali > Impostazioni Projector > Messa a fuoco.
-
Quando lo schermo proiettato non è ad angolo retto, regolarlo in Impostazioni Projector > Regolazione schermo.
In tale caso, la risoluzione dello schermo può diminuire. -
Per maggiori informazioni sulle dimensioni dello schermo per agli distanza di proiezione, videere la tabella che segue.

Dimensioni dell'imagine e distance di proiezione
- Le dimensioni dello schermo per agli distanza di proiezione può variarre in base all'ambiente di installmente.


SP-LSP7TFA
| C (pollici) X (mm) Y (mm) A (mm) B (mm) | ||||
| 90 1992 | 121 247 349 | |||
| 95 2103 | 183 | 275 | 364 | |
| 100 | 2214 | 1245 | 303 | 379 |
| 105 | 2324 | 1308 | 331 | 394 |
| 110 | 2435 | 1370 | 359 | 409 |
| 115 | 2546 | 1432 | 387 | 424 |
| 120 | 2657 | 1494 | 415 | 439 |
SP-LSP9TFA
| C (pollici) X (m) Y (mm) A (mm) B (mm) | ||||
| 100 | 2214 | 1245 | 113 | 351 |
| 105 | 2324 | 1308 | 134 | 363 |
| 110 | 2435 | 1370 | 154 | 376 |
| 115 | 2546 | 1432 | 175 | 388 |
| 120 | 2657 | 1494 | 196 | 401 |
| 125 | 2767 | 1557 | 217 | 413 |
| 130 | 2878 | 1619 | 238 | 426 |
Uso del Tasto di accensione
Per accendere il proietto premere il tasto di accensione sul retro del proietto quindi usare il Menu di controlo. Il Menu di controllo compare alla pressione del tasto di accensione quando il proietto è accesso. Per maggiori informazioni sul suo uso, videere la figura sotto.
- Premere i tasti presenti sul lato del prodotto in modo da non coprire lo schermo proiettato.
- Prestare attenzione a non ave l'emissione diretta della luce dalle lenti del proietto.

Menu di controlo
:Spegni
:Canale succ.
:Can.prec.
:Aum.vol.
(一)Dim.vol.
Sorgente
Tastodiaccessione
Premere: Sposta
Tenere premuto: Seleziona
- La forma e il colore del prodotto posso nono variare in base al modello.
Montare il proietto a parete

Per installare il proietto a parete consultare un professionista del settore. In caso contrario il proietto potrebbe cadere provocando danni al prodotto o lesioni alle persone.

Nell'installare il kit di fissaggio a parete, si consiglia di serrare tutte le quattro viti della staffa.
| Specifiche alloggiamento viti (A * B) in millimetri | Spessore vite (mm) | Vite standard | Quantità |
| 235 x 135 7-9 M6 4 |
- La forma e il colore del prodotto possono variare in base al modello.

Non installare il kit di montaggio a parete nelle proiettre è acceso. La mancata osservanza di但这a precauzione può causare lesioni personali causate da scariche elettriche.
Non utilise viti più lunghe delle dimensioni standard o non conformi alle specifiche dello standard VESA. Viti troppo lunghe possono danneggiare i componenti interni del proietto.
- Per sistemi di montaggio a parete non conformi allo standard VESA, la lunghezza delle viti potrebber differire in base alle specifiche del sistema di montaggio usato.
- Non serrare effecssivamente le viti. Ci o potrebne danneggiare il prodotto o causarne la caduta con seguente rischio di lesioni. Samsung non pue essere ritenuta responsabile per tali incidenti.
Samsung non potrè essere ritenuta responsablee per eventuali danni o lesions personali qualora vengano usati sistemi di montaggio a parete diversi o l'utente non si attenga alle istruzioni di installmente fornite.
- É necessario che l'installazione a parete del proiettre sa eseguita da due personne.
05 Risoluzione dei problemi e manutenzione
Risoluzione dei problemi
Se il tevisore sembra funzionare in modo anomalo, controllare per prima casa l'elenco dei possibili problemi e soluzioni. In alternatively, consultare la sezione Risoluzione dei problemi nella'Manual. Se nessuna delle soluzioni fornite si dimostra utile per risolverve il problema, visitare il site "www.samsung.com" quando fare click su Supporto, oppure chiamare il numero del Centro di assistenza Samsung riportato sul retro di copertina di questo manuale.
- Per mantenere il proietto in condizioni ottimali si consiglia di aggiornare il software alla versione più recente. Usare la funzione Aggiorna ora o Aggiornamento automatico nel menu del proiettre (Impostazioni > Supporto > Aggiornamento software > Aggiorna ora or Aggiornamento automatico).
Il proietto non si accende.
- Verificare che la spina del cavo di alimentazione CA sia correttamente collegata alla presa a parete e al proiettre.
- Assicurarsi che la presa a parete sia regolarmente funzionante e che la spia del sensore del telecomando a destra del proiettre sua accesa, fissa e di colore rosso.
- Premere il tasto Accensione sul retro del proiettre per verificare che il problema non sia il telecomando. Se il proiettre si accende, videere la sezione "Il telecomando non funziona" riportata sotto.
Non viene visualizzata alcuna imagine/video.audio da un dispositivo esterno o sullo schermo del proiettre compare il messaggio "Segnale debole o assente" oppure è impossibile trovare il canale.
- Verificare che la connessione al dispositivo sia corretta e che tutti i cavi siano correttamente collegati.
- Rimuovere e ricollegare tutti i cavi collegati al proiettre e ai dispositivi esterni. Se possibile, collegare nuovi cavi.
- Confermare di aver selezionato la sorgente di ingresso corretta (Sorgente).
- Eseguire una diagnosi del proiettre per determinare se la causa del problema è il proiettre o il dispositivo (Impostazioni > Supporto > Manutenzione dispositivo > Auto diagnosi > Test immagine o Test audio).
- Se i risultati del test sono normali, riavviare i dispositivi collegati scollegando i loro cavi di alimentazione e ricollegandoli. Se il problema persistsente, consultare la guida ai collegamenti containuta nella guida dell'utente dei dispositivi collegati.
-
Qualora non si utilizzi un ricevitore via cavo o satellitare ed il proiettre riceva segnali da una antenna o da un cavo, eseguire la funzione Sintonizzazione automatica per cercare i canali (>impostazioni >Trasmissione > (Impostazioni Sintonizzazione automatica) > Sintonizzazione automatica).
-
Il Impostazioni Sintonizzazione automatica potrebbe non essere supportato in base al modello posseduto o all'area geografica di apparomenza.
-
Se siutilizza un ricevitore via cavo o satellitare,vedere il manuale del ricevitore in uso.
Il telecomando non funziona.
- Controllare se la spia di accensione del proietto davanti a destra sul proietto lampeggia premendo il tasto di Accensione del telecomando. Se non lampeggia, sostituire lepile del telecomando.
- Verificare che le batterie siano state inserte nel verso giusto rispetto la polarità (+/-).
- Puntare il telecomando verso il proiettoe a una distanza di 1,5 1,8m
- Se il proietto è dotato di Samsung Smart Remote (telekomando Bluetooth), accertarsi che sia stato abbinato al proietto.
Modifica della password del proiettre
> Impostazioni > Generali > Gestione sistema > Cambia PIN
- Eseguire la funzione Cambia PIN e digitare la password nel relativo Campo. La password predefinita è "0000" (Francia: "1111").
- Digitare una nuova password, quando digitarla nuovamente per la conferma. La password è stata modificata.
- Qualora si sia dimenticato il codice PIN, premere i tasti nella sequenza seguente per ripristinare il codice PIN predefinito "0000" (Francia: "1111"):
Nel Samsung Smart Remote: Selezionare il tasting. > Aum. vol. > Dim. vol. > Aum. vol. >
06 Specifiche e altre informazioni
Specifiche
| Modello | SP-LSP7TFA SP-LSP9TFA | |
| Risoluzione del display 3840 x 2160 | ||
| Obiettivo Lenti fisse | ||
| Dimensione imagine (diagonale) 90" ~ 120" 100" ~ 130" | ||
| Audio (Uscita) 30 W 40 W | ||
| Dimensioni (L x A x P)CorpoCon piedino | 532,0 x 119,1 x 342,0 mm532,0 x 132,7 x 342,0 mm | 550,0 x 128,0 x 367,0 mm550,0 x 141,0 x 367,0 mm |
| Peso (con piedini) | 9,1 kg | 11,5 kg |
Caratteristiche ambientali
| Temperatura di esercizio | Da 10°C a 40°C (da 50°F a 104°F) |
| Umidità di esercizio | Dal 10% al 80%,enza condensa |
| Temperatura di stoccaggio | Da -20°C a 45°C (da -4°F a 113°F) |
| Umidità di stoccaggio | Dal 5% al 95%,enza condensa |
Note
- Design e specifiche sono soggetti a modifiche alla preavviso.
-
Questo prodotto è un'apparecchiatura digitale di Classe B.
Per informazioni riguardanti l'alimentazione elettrica e il consumo di corrente, consultare l'etichetta apposta al prodotto. -
Per le etichette e leindicazioni di precauzione relative al laser, vedere la parte inferiore del proietto.
-
Il consumo elettrico tipico viene misurato conformamente allo standard IEC 62087.
-
Tutti i disegni non sono necessariamente in Scala. Alcune dimensioni sono soggetti a modificaenza preavviso. Vedere le dimensioni prima di procedere con l'installazione del proietto. L'azienda non è responsable per eventuali errorsi tipografici o di stampa.
Per la connessione ad una LAN, usare un cavo CAT 7 (pseudo). -
Shielded Twisted Pair
-
Le figure e le illustrazioni presenti in questo Manuale dell'utente sono fornite unicamente a titolo di riferimento e possono differire da quella del prodotto attuale. Le specifiche e il design del prodotto possono variare nella preavviso.
Samsung non potr è essere ritenuta responsable per danni a cose e persono o per problematiche legate alla sicurezza dovute a riparazioni non effettuate da Samsung o da un fornitore di servizi autorizzato da Samsung in accordo con le linee guida dell'azienda relative alla riparazione ed alla manutenzione dei propri prodotti. Qualsiasi danno causato al prodotto da personale non autorizzato durante un tentativo di riparazione non potr è essere coperto alla garanzia convenzione.
Si prega gentilmente di visitare il site samsung.com/support per ulteriori informazioni sull'adattatore di alimentazione esterno e sul telecomando associati alla direttiva UE sulla progettazione ecocompatibile - Regolamento ErP
Riduzione del consumo energetico
Quando si spegne, il proiettre entra in modalità Standby. In modalità Standby continua a consumare una piccola quantità di energia. Per ridurre il consumo energetico, scollegare il cavo di alimentazione alla presa a parete in caso di inutilizzo prolongato del proiettre.
Licenze
DOLBY AUDIO* POWERED BY QUICKSET rovi guide
Con la presente, Samsung dichiara che questo dispositivo radio è conforme ai requisiti essenziali della Direttiva 2014/53/UE e ad altre disposizioni pertinenti nel Regno Unito.
Il testo completo della Dichiarazione di conformità è disponibile al seguente indirizzo internet:
http://www.samsung.com acceder a Supporto e digitare il nome del modello.
L'uso di questo apparecchio è consentito in tutti i paesi europei e nel Regno Unito.
La funzione 5 GHz WLAN(Wi-Fi) di quello apparecchio può essere utilizzata solo in interno.
Max potenza trasmissione BT: 100mW a 2,4GHz - 2,4835GHz
Max potenza trasmissione Wi-Fi: 100mW a 2,4GHz-2,4835GHz, 200mW a 5,15GHz-5,25GHz, 100mW 5,25GHz-5,35GHz & 5,47GHz - 5,725GHz

Corretto smaltimento del prodotto (rifiuti elettrici ed elettronici) (Applicabile nei Paesi con sistemi di raccolta differenziata)
Il simbolo (un contentatore della spazzatura su ruote barrato accompagnato da una barra piena orizzontale) riportato sul prodotto, sull'imballaggio, sulle istruzioni per l'uso e sulla garanzia,anche se in formato digitale, indica che il prodotto e i relativi accessori elettrici ed elettronici non devono essere smaltiti come rifiuti urbani misti al termine del ciclo di vita ma devono essere raccolti separamente in modo da permetterne il riutilizzo, il riciclaggio e altre forme di recupero in conformità alla normativa vigente. I rifiuti derivanti da apparecchiature elettriche ed elettroniche possono, infatti, contenerere sostanse dannose e pericolose che, se non correttamente gestite, costituiscono un pericolo per l'ambiente e la salute umana.
L'utente ha, quindi, un ruolo attivo nel ciclo di recupero e riciclaggio dei rifiuti di apparecchiature elettriche ed elettroniche.
Al fine di evitare eventuali danni all'ambiente o alla salute causati da uno smaltimento non corretto, si invita pertanto l'utente a分开are il prodotto e i suddetti accessori da altri tipi di rifiuti, conferendoli ai sistemi di ritiro e di raccolta autorizzati seconde le normative locali. Gli utenti domestici possono consignare Gratisamente l'apparecchiatura che desiderano smaltire al distributore, al momento dell'acquisto di una nuova apparecchiatura di tipo equivalente. Presso i distributori di apparecchiature elettriche ed elettroniche con superficie di vendita di almeno 400m2 è inoltre possible consignare Gratisamente,enza obbligo di acquisto,i prodotti elettrici ed elettronici da smaltire con dimensioni esterne inferiori a 25~cm Gli utenti professionali (imprese e professionisti) sono invitatia a contattare il proprio fornitore e verificare i termini e le condizioni del contratto di acquisto.
Corretto smaltimento delle batterie del prodotto (Applicabile nei Paesi con sistemi di raccolta differenziata)
Il simbolo riportato sulla pila, sull'accumulatore o sul pacco batterie o sulla sua documentazione o confazione (un bidone della spazzatura con ruote barrato da una croce) indica che la batteria, l'accumulatore o il pacco batteria non deve essere smaltito insieme al rifiuto urbano indifferenziato ma deve essere raccolto separatamente in modo da permetterne il trattamento, il riciclaggio e lo smaltimento in conformità alla normativa vigente, evitando in questo modo potenziali danni alla salute umana e all'ambiente. L'utilizzatore ha, quindi, un ruolo attivo nel riciclaggio di pile e accumulatorati, potendo disfarsi dei relativi rifiuti nel più vicino punto di raccolta - organizzato e gestito in conformità alla normativa vigente -enza oneri e ricerca l'obbligo di acquistare nuove pile o nuovi accumulatorati.
L'eventuale presenza, sotto il symbolo del bidone della spazzatura con ruote barrato da una croce, del symbolo chimico Hg, Cd o Pb indica che la pila o l'accumatore contiene più di 0,0005 per cento di mercurio (simbolo chimico Hg), più di 0,002 per cento di cadmium (simbolo chimico Cd) o più di 0,004 per cento di piombo (simbolo chimico Pb).
Contact SAMSUNG WORLD WIDE
ManualeFacile