305483 - Webcam Aplic - Manuale utente e istruzioni gratuiti
Trova gratuitamente il manuale del dispositivo 305483 Aplic in formato PDF.
| Caratteristiche tecniche | Risoluzione: 1080p, Frequenza fotogrammi: 30 fps, Connettività: USB 2.0, Angolo di visuale: 90 |
|---|---|
| Utilizzo | Ideale per videoconferenze, streaming in diretta e registrazioni video. |
| Manutenzione e riparazione | Pulire regolarmente l'obiettivo con un panno morbido, verificare gli aggiornamenti del software. |
| Sicurezza | Utilizzare un software di sicurezza per proteggere i dati personali durante l'uso della webcam. |
| Informazioni generali | Compatibile con Windows e macOS, Plug and Play, nessun driver aggiuntivo necessario. |
Domande frequenti - 305483 Aplic
Domande degli utenti su 305483 Aplic
0 domanda su questo apparecchio. Rispondi a quelle che conosci o fai la tua.
Fai una nuova domanda su questo apparecchio
Scarica le istruzioni per il tuo Webcam in formato PDF gratuitamente! Trova il tuo manuale 305483 - Aplic e riprendi in mano il tuo dispositivo elettronico. In questa pagina sono pubblicati tutti i documenti necessari per l'utilizzo del tuo dispositivo. 305483 del marchio Aplic.
MANUALE UTENTE 305483 Aplic
Grazie per aver scelto un prodotto aplic. Perutilizzare con soddisfazione l'apparecchio acquistato, si prega di leggere attendamente le seguenti istruzioni per I'uso.
1. Contenuto della confezione
- Webcam
- Istruzioni per l'uso
2. Dati tecnici
| Collegamento USB | |
| Risoluzione max. 1080p@30fps | |
| Caratteristiche • microfono incorporatofuoco fisso, lunghezza del fuoco 50 cmVisualizzazione di stato (LED bianco)Luci di scena | |
3. Dettagli del prodotto
Interruttore per luci di scena

4. Messa in funzione
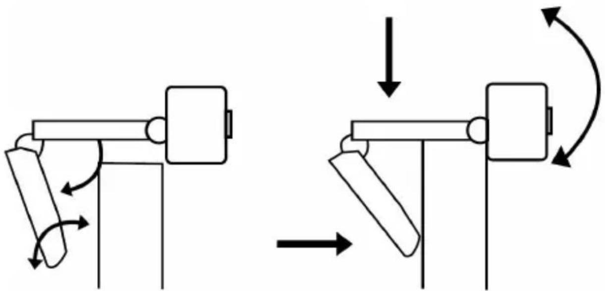
Rimuovere il prodotto dall'imballaggio e togliere qualiasi materiale d'imballaggio. Posizione are la videocamera sul luogo di installatione desiderato. è possible fissare la videocamera sul vostro monitor. Aprire la clip della webcam (supporto) e seguire leindicazioni rappresentate per fissare la webcam sulla parte superiore del vostro display. Accertarsi che la clip (supporto) sia montato fisso e che la camera non rischi di cadere.

In alternatively, sul lato inferiore del supporto si trova una filettatura mediante la quale è possibile fissare la webcam con uno stativo.
Collegare il cavo USB a una porta USB libera del vostro computer. L'apparecchio viene installato automaticamente via Plug&Play ed è primo per l'uso.
Nota: sulla parte posteriore si trovava un interrottore per accendere le luci di scena. Potete impostare l'interruttore su "ON" per accendere le luci di scena, oppure su "OFF" per spegnerle.
5. Avvertenze di sicurezza ed esclusione della responsabilità
Non tentare mai di aprir e l'apparecchio per effettuare riparazioni o trasformazioni. Evitare il contatto con le tensioni di rete. Non cortocircuitare il prodotto. L'apparecchio non è impermeabile, utilizzato solo in luoghi asciutti. Proteggerlo da elevata umidità dell'aria, acqua e neve.
In anni caso, tenere l'apparecchio lontano da elevate temperature. Non esporre l'apparecchio a improvvisi sbalzi termici o forti vibrazioni in quanto potrebbero danneggiarsi le parti elettroniche. Prima di utilizzato l'apparecchio verificare la presenza di eventuali danneggiamenti. Non utilizzato l'apparecchio se ha subito un urto o è stato danneggiato in un altre modo. Rispettare le normative e limitazioni nazionali. Utilizzato l'apparecchio unicamente per gli scopi descritti nelle istruzioni. Questo prodotto non è un glacattolo. Conservarlo fuori alla portata di bambini o persone con capacità mentali limitate. Ogni riparazione o modifica al prodotto non effettuata dal fornitore originale comporta l'estinzione dei diritti di garanzia. Il dispositivo può essere utilizzato solo da persona che hanno letto e compreso le presenti istruzioni. Le specifiche dell'apparecchio possonoambiare sera preavviso.
6. Indicazioni per lo smaltimento
Secondo la direttiva europea RAEE, le apparecchiature elettriche ed elettroniche non possono essere smaltite con i rifiuti domestici. I loro componenti devono essere consegnati separatamente al centro di riciclaggio o smaltimento, in quanto gli eventuali componenti tossici e pericolosi possono inquinare permanente l'ambiente in caso di smaltimento improprio. Secondo la legge sulle apparecchiatura elettriche ed elettroniche (ElektroG) il consumatore è tenuto a restituire gratuiteamente tali apparente chi al termine della loro vita al produttore, al punto vendita o a punti di raccolta pubblici allestiti appositamente. Dettagli in merito sono regolati alla rispetto legge nazionale. Il symbolo riportato sul prodotto, le istruzioni per l'uso e/o la confezione indicano tali disposizioni. Con questo tipo di differenziazione dei materiali, con il riciclaggio e lo smaltimento di apparente vecchi, l'utente da un importante contributo alla tutela dell'ambiente.

Direttiva RAEE 2012/19/UE
Numero reg. RAEE: DE 67896761
Con la presente la ditta WD Plus GmbH dichiara che l'apparecchio
305483 è conforme ai requisiti essenziali e alle rimanenti disposizio-
ni in materia. Una dichiarazione di conformità completa è disponibile presso:
ManualeFacile