305483 - Webcam Aplic - Kostenlose Bedienungsanleitung
Finden Sie kostenlos die Bedienungsanleitung des Geräts 305483 Aplic als PDF.
| Technische Merkmale | Auflösung: 1080p, Bildfrequenz: 30 fps, Konnektivität: USB 2.0, Blickwinkel: 90° |
|---|---|
| Verwendung | Ideal für Videokonferenzen, Live-Streaming und Videoaufnahmen. |
| Wartung und Reparatur | Reinigen Sie regelmäßig die Linse mit einem weichen Tuch, überprüfen Sie Software-Updates. |
| Sicherheit | Verwenden Sie Sicherheitssoftware, um persönliche Daten bei der Verwendung der Webcam zu schützen. |
| Allgemeine Informationen | Kompatibel mit Windows und macOS, Plug and Play, kein zusätzlicher Treiber erforderlich. |
Häufig gestellte Fragen - 305483 Aplic
Benutzerfragen zu 305483 Aplic
0 Frage zu diesem Gerät. Beantworten Sie die, die Sie kennen, oder stellen Sie Ihre eigene.
Eine neue Frage zu diesem Gerät stellen
Laden Sie die Anleitung für Ihr Webcam kostenlos im PDF-Format! Finden Sie Ihr Handbuch 305483 - Aplic und nehmen Sie Ihr elektronisches Gerät wieder in die Hand. Auf dieser Seite sind alle Dokumente veröffentlicht, die für die Verwendung Ihres Geräts notwendig sind. 305483 von der Marke Aplic.
BEDIENUNGSANLEITUNG 305483 Aplic
Vielen Dank, dass Sie sich für ein Produkt von aplic entschieden haben. Damit Sie auch lange Freude mit ihrem erworbenen Gerät haben werden,lesen Sie sichitte die nachfolgende Kurzanleitung aufmerksam durch.
1. Lieferumfang
- Webcam
- Kurzanleitung
2. Technische Daten
| Anschluss USB | |
| Auflösung max. 1080p@30fps | |
| Features • eingebautes Mikrofon | • Fixfokus, Fokuslänge 50 cm • Betriebsanzeige (weiße LED) • Szenenlicht |
3. Produkt-Details
Schalter für Szenenlicht

4. Inbetriebnahme
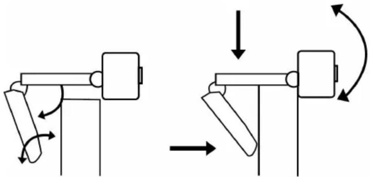
Entnahmen Sie das Gerät aus der Verpackung und entfernen Sie jegliches Verpackungsmaterial. Setzen Sie die Kamera an ihren gewünschten Aufstellungsord. Sie haben die Möglichkeit, die Kamera an ihren Monitor zu heften. Öffnen Sie den Webcam-Clip (Standfuß) und folgen Sie die in der Abbildung gezeugten Methoden, um die Webcam oben auf dem Display zu befestigen. Stellen Sieitte sichere, dass der Clip (Standfuß) fest montiert ist und die Kamera nicht herunterfallen kann.

Alternative befindet sich auf der Unterseite des Standfußes ein Gewinde, um die Webcam an ein Stativ zu befestigen.
Verbinden Sie das USB-Anschlusskabel mit einem freien USB-Anschluss Ihrches Computers. Das Gerät wird per Plug&Play automatisch installiert und ist im Anschluss betriebsbereit.
Hinweis: Auf der Rückseite befindet sich ein Schalter zum Einsatzen des Szenenlichts. Sie können den Schalter auf "ON" stellen, um das Szenenlicht einzuschalten, oder auf "OFF", um es wieder abzuschalten.
5. Sicherheitshinweise und Haftungsausschluss
Versuchen Sie nie das Gerät zu öffnen, um Reparaturen oder Umbauten vorzunehmen. Vermeiden Sie Kontakt zu den Netzspannungen. Schreiben Sie das Produkt nicht kurz. Das Gerät ist nicht wasserdicht,itte verwenden Sie es nur im Trockenen. Schützen Sie es vor hoher Luftfeuchtigkeit, Wasser und Schnee.
Halten Sie das Gerät von hohen Temperaturen fern. Setzen Sie das Gerät keinen plötzlichen Temperaturwechseln oder starken Vibrationen aus, da dies die Elektronikteile beschädigen konne. Prüfen Sie vor der Verwendung das Gerät auf Beschädigungen. Das Gerät sollt nicht benutzt werden, wenn es einen Stoß abbekommen hat oder in sonstiger Form beschädigt wurde. Beachten Sieitte die nationalen Bestimmungen und Beschänkungen. Nutzen Sie das Gerät nicht für andere Zwecke als die, die in der Anleitung beschrieben sind. Dieses Produkt ist kein Spielzeug. Bewahren Sie es außerhalb der Reichweite von Kindern oder geistig be einträchtigten Personen auf. Jede Reparatur oder Veränderung am Gerät, die nicht vom ursprünglichen Lieferanten durchgeführt wird, führt zum Erlöschen der Gewährleistungs- bzw. Garantieansprüche. Das Gerät darf nur von Personen benutzt werden, die diese Anleitung gelesen und verstanden haben. Die Gerätespezifikationen können sich ändern, ohne dass vorher gesondert daraufhin hingewiesen wurde.
6. Entsorgungshinweise
Elektrische und elektronische Geräte)dürfen nach der europäischen WEEE RichtlinienichtmitdemHausmullentsorgtwerden.DerenBestandteilemüssen getrennt der Wiederverwertung oder Entsorgung zugeführrt werden, weil giftinge und gefährliche Bestandteile bei unsachgemäßer Entsorgung die Umwelt nachhaltig schädigen konnen. Sie sind als Verbraucher nach dem Elektro- und Elektronikgerätegesetz (ElektroG) verpflichtet, elektrische und elektronische Geräte am Ende ihrer Lebensdauer an den Hersteller, die Verkaufsstelle oder an dafür eingerichtete, öffentliche Sammelstellen kostenlos zurückgeben. Einzelheiten dazu regelt das jeweilige Landesrecht. Das Symbol auf dem Produkt, der Betriebsanleitung oder/und der Verpackung weist auf diese Bestimmungen hin. Mit dieser Art der Stofftrennung, Verwertung und Entsorgung von Altgeräten leisten Sie einen wichtigen Beitrag zum Schutz unserer Umwelt.

WEEE Richtlinie 2012/19/EU
WEEE Register-Nr: DE 67896761
Hiermit erklärt die Firma WD Plus GmbH, dass sich das Gerät 305483 in Übereinstimmung mit den grundlegenden Anforderungen und den übrigen einschlögigen Bestimmungen befindet. Eine vollständige Konformitätserklärung erhalten Sie unter:
WD Plus GmbH, Wohlenbergstraße 16, 30179 Hannover
WD Plus GmbH, Wohlenbergstraße 16, 30179 Hannover
Wohlenbergstraße 16·30179 Hannover
Germany
V1.0
EinfachAnleitung