MALAUMVW7230HC - Secadora MAYTAG - Manual de uso y guía de instrucciones gratis
Encuentra gratis el manual del aparato MALAUMVW7230HC MAYTAG en formato PDF.
Descarga las instrucciones para tu Secadora en formato PDF gratis! Encuentra tus instrucciones MALAUMVW7230HC - MAYTAG y toma tu dispositivo electrónico nuevamente en la mano. En esta página están publicados todos los documentos necesarios para el uso de su dispositivo. MALAUMVW7230HC de la marca MAYTAG.
MANUAL DE USUARIO MALAUMVW7230HC MAYTAG
Manual de instrucciones de instalación y cuidado de la secadora
Table of Contents Table des matieres indices
DRYER SAFETY 2
INSTALLATION REQUIREMENTS. 4
Tools and parts 4
LOCATION REQUIREMENTS. 5
REQUISITOS DE INSTALLACION 60
Herramentas y piezas 60
REQUISITOS DE UBICACION 61
Espacios libres para la instalacion...61
REQUISITOS ELECTRICOS -
EE.UU.EE.UU. 62
CONEXION PARA SECADEORA ELECTRICA -
SOLAMENTE EN CANADA 63
Requisitos electricos 63
CONEXION DE ENERGIA DE LA SECADEORA
A GAS - EE. UU. Y CANADA 64
Requisitos electricos 64
Requisitos del suministro de gas. 64
Tipode gas. 64
Linea de suministro de gas 65
Requisitos para la connexion
del suministro de gas 65
Requisitos de entrada del quemador.....65
Tubo de gas de la secadora 65
INSTALACION DE LAS PATAS
NIVELADORAS. 66
COMO HACER LA CONEXION
DEL SUMINISTRO ELECTRICO -
SOLO EN EE. UU. 66
Conexión por cable de suministro
eléctrico. 67
Conexión por cable directo 69
CONEXION DEL SUMINISTRO DE GAS -
EE.UU.Y CANADA. 72
VENTILACION 73
Requisitos de ventilacion 73
Planificacion del sistema
de ventilación. 74
Instalacion del system de ventilacion ..75
CONECTE LAS MANGUERAS
DE ENTRADA 75
CONEXION DEL DUCTO DE ESCAPE.76
NIVELE LA SECADERA 77
LISTA DE CONTROL DE LA INSTALACION
TERMINADA. 77
PUERTA DE LA SECADEORA 78
INVERSION DE LA PUERTA. 79
CUIDADO DE LA SECADEORA. 83
DRYER SAFETY
Su seguidad y la seguidad de los demas es muy importante.
Hemos incluio muchos mensajes importantes de seguridad en este manual y en su electrodomestico. Lea y obedezca siempre todos los mensajes de seguridad.

Este es el的概率 de alerta de seguidad.
Este sibolo le llama la atencion sobre peligos poteciales queuten ocasionar la muerte o una lesion austed y a los demas.
Todoos mensajes de seguidar iran a continuacion del symbolo de advertencia de seguidad y de la palabra "PELIGRO" o "ADVERTENCIA".Estaspalabras significan:

PELIGRO
ADVERTENCIA
Si no sigue las instrucciones de inmediato, usted可以选择 morir o sufrir una lesión grave.
Si no sigue las instrucciones,usted能把 morir o sufrir una lesión grave.
Todo los mensajes de seguidad le diran el peligro potencial, le diran como reduir las posibilidades de sufrir una lesion y lo que suele suceder si no se siguen las instrucciones.

ADVERTENCIA
Peligro de incendio
Si no se siguen las advertencias de seguridad con exactitud, se podrjan producir lesiones graves, muertos o daños a la propidad.
No instale un ventilador de refuerzo en el conducto de escape.
Instale todas las secadores de ropa de acuerdo con las instrucciones de instalacion del fabricante de las secadores.
IMPORTANTE: La instalacion de gas debe cumplir con los@ciglos locales y en la ausencia de@ciglos locales, con el Csgido nacional de gas combustible (National Fuel Gas Code), ANSI Z223.1/NFPA 54 o el Csgido de instalacion de gas natural y propano, CSA B149.1.
La secadora deben estar connectada a tierra de acuerdo con loscottigos locales, o en la ausencia de codigos locales, con el Codig nacionl elctrico (National Electrical Code), ANSI/NFPA 70 o el Codigo canadiense de electricidad (Canadian Electrical Code), Parte 1, CSA C22.1.

ADVERTENCIA - "Riesgo de incendio"
- La instalación de la secadora de ropaDebe estar a cargo de un instalador competente.
- Instale la secadora de ropa según las instrucciones del fabricante y loscottigos locales.
- No instale una secadora de ropa con materiales de ventilacion de plastico flexible o un conductor de metal flexible (de hoja de metal). Si se usa un conductor de metal flexible, este deben ser de un tipo spécifique, que este identificado por el fabricante de electrodomesticos como apto para ser uso con secadoras de ropa. Es sabido que los materiales de ventilacion flexible se derrumban, se aplastan con calidad y atrapan pelusa.把这些 condiiones obstruiran el flujo de aire de la secadora de ropa y aumentoan el riesgo de incendio.
- Para reducir el riesgo de lesiones severas o la muerte, siga todas las instrucciones de instalacion.
- Guarde estas instrucciones.
En el estado de Massachusetts se aplican las siguientes instrucciones de instalacion:
Las instalaciones y reparaciones se deben efectuar por un contratista, plomero o gasista calificado o licenciado por el estado de Massachusetts.
Reemplace con dispositivos de ciderre acceptables: las llaves de gas y las valvulas de bola instaladas para el uso deben estar en la lista.
Si se usa un conector de gas flexible no deben exceder de 4 pies (121,9 cm).
REQUISITOS DE INSTALLACION
HERRAMIENTAS Y PIEZAS
Reúna las herramrientas y las piezas necessarias antes de comenzar la instalación. Lea y siga las instrucciones provistas con cualesera de las herramrientas detalladas ahora.
Herramientos necessities para todas las instalaciones:

Destornillador de cabeza plana

Llave ajustable que se abra a 1" o llave de cubo de cabeza hexagonal

Nivel Abrazaderas para ducto


Cuchillo plástico para masilla

Pistola y compuesto para calafateo (para instalar el nuevo ducto de escape)

Tijeras cortachapa (instalaciones del nuevo ducto de escape)

Llave de tuercas de 1/4" (se recomienda)

Destornillador Phillips N° 2 Pelacables (instalaciones de cableado directo)


Cinta metrica Alicate

Herramentas necessities para las instalaciones a gas:



Llave para tubos de 8" o 10" Llave ajustable de 8" o 10" (para conexiones de gas)
Compuesto para unión de tuberías resistente a gas propano
Piezas suministradas (todos los modelos):

Patas niveladoras (4)
Piezas necessities (modelos con vapor):

Conector en "Y"

Manguera de entradaorta

Arandela de goma (4)

Manguera de entrada
Use un jeu de cable de suministro électrique que esté en la lista de UL, para ser uso con secadores de ropa. El juego deverá incluir:
■Un cable de suministro electrico de 30 A que esté en la lista de UL, clasificado para 120/240 V como minimum, con una temperatura nominal minima de 140^ (60 °C). El cable deverá ser del tipo SRD o SRDT, y tener por lo menos 4 pies (1,22 m) de长大o. Los alambres que lo conectan a la secadora deben estar abarcar en terminales de anillo o de horquilla con los extremos hacía arriba.
■Un protector de cables que esté en la lista de UL.
Piezas necessities: (No se proveen con la secadora) Verifique loscottigos locales. Verifique el suministro electrico y la ventilacion existentes.Consulte Requisitos electricos"y "Requisitos de ventilacion"antes de comprar las piezas.
Las instalaciones en casas rodantes requieren piezas para ducto de escape de metal que están disponibles en la tienda al por menor donde usted compró su secadora. Para Obtener más información, consulte la sección "Ayuda o servicios técnico" en la "Guía de referencia<rápida".
REQUISITOS DE UBICACION
ADVERTENCIA

Peligro de Explosion
Mantenga los materiales y vapeores inflamables, como la gasolina, lejos de la secadora.
Cologne la secadora a un minimo de 460~mm sobre el piso para la instalacion en un garaje.
No seguir estas instrucciones pueda occasionar la muerte, explosión o incendio.
Necesitará:
■Unaubicacionquepermitauna instalacionadeducadeducto deescape.Consulte"Requisitos deventilacion".
Se necesita un circuito分开 de 15 o 20 A para las secadoras a gas, y uno de 30 A para las secadoras electricas.
Si está usingo un cable de suministro eletrico, un contacto con connexion a tierra ubicado a no mas de 2 pies (610 mm) de qualquera de los lados de la secadora. Consulte "Requisitos electricos".
■Un peso que soporte el peso de la secadora de 200 lb (90,7 kg). Tenga en cuenta también el peso de otro electrodomestico que le accompanies.
■Un piso nivelado con un declive máximo de 1" (25 mm) bajo de la secadora completa. Si la pendiente es mayor que 1" (25 mm), es possible que la ropa no rote adequamente y los ciclos con sensor automatico posiblemente no funciona eneedidamente.
Para realizar una instalacion en el garaje, colque la secadora por lo menos a 18" (460 mm) por encima del piso.
Solo para los modelos con vapor: Grifos de agua fria umbicados a una distancia de no mas de 4 pies (1,2m) de las valvulas dellenado de agua y una presion de agua de 20 a 100 lb/pulgada2 (137,9 a 689,6 kPa). Puede usar el suministro de agua de la lavadora al comprar las partes necessarias indicadas en "Partes necessities".
IMPORTANTE: No utilise, instale ni garde la secadora donde está expuesta al agua, a la intemperie o a temperatas por debajo de 45^ (7^) . Las temperatas más bajas peuvent hacer que la secadora no se apague al final de los cílicos automaticos con sensor, lo que resultará en tiempos de secado más largos.
NOTA: No se pueda instalar otro electrodoméstico que use combustible en el mesmo closet en el que se encontrarla la secadora.
ESPACIOS LIBRES PARA LA INSTALACION
Para cada disposicion, considere estar mas空間 para facilitar la instalacion y el service Tecnico, asi como空間 para electrodomesticos que le accompanies y espacios libres para las molduras de la pared, de la puerta y del piso. El空間 de ser lo suficientemente grande para permitir que la puerta se abra por complete. Agregue空間 en todos los lateros de la secadora para reducir la transferencia de ruido. Si se instala una puerta de
closet o tipo persiana, es necessario queonga aberturas para el aire en la parte superior e inferior de la puerta.
Verifique los requisitos de los@códigos. Algunos@códigos limitan o no permiten la instalación de la secadora en garajes, closets, casas rodantes o dormitorios. Póngase en contacto con el inspector de constructiones de su localidad.
Espacio para la instalacion en un lugar empotrado o en un closet
Las dimensiones que se ilustran son para el espacio recomendado.
■Debe considerarse espacio adicional para facilitar la instalacion y el serviceo的技术ico.
■Se podrjan就需要ar espacios libres adiconiales para las molduras de la pared, de la puerta y del piso.
■Se recomiendadefer un espacio adicondial de 1'' (25 mm) en todos los lados de la secadora para reducir la transferencia de ruido.
■Para la instalacion en closet, con una puerta, se requieren aberturas de ventilacion minimas en la parte superior e inferior de la puerta. Se ac挑an puertas tipo persianas con aberruras de ventilacion equivalentes.
Tambien se debe considerar espacio adiconal para otore electrodomestico que le acomañe.

Espacios minimos/recomendados
Requisitos de instalación adiconiales para las casas rodantes:
Esta secadora es apropiada para instalaciones en casas rodantes.
La instalacion debeajustarse al Manufactured Home Construction and Safety Standard (Estandar de seguidad y construction de casas fabricadas), Titulo 24 CFR, Parte 3280 (anteriormente conocido como Federal Standard for Mobile Home Construction and Safety (Estandar federal para la seguidad y construccion de casas rodantes), Titulo 24, HUD Parte 280) o al Estandar CAN/CSA-Z240 MH.
Las instalaciones en casas rodantes necesitan:
Todas las secadores:
Piezas para el sistema de escape de metal, que estan disponibles con su distribuidor. Para Obtener mas informacion, consulte la seccion "Ayuda o serviceo的技术o en la "Guia de referencia rapaida".
■Se deben tener medidas especialas en el caso de casas rodantes para introducir el aire del exterior a la secadora. Las aberturas (como la de una ventsa adyacente) deben ser por lo menos del doble de時間 que la abertura de ventilacion de la secadora.
Para las instalaciones de secadoras a gas en casas rodantes:
Está disponible paraordenar el Juego de sujeción para instalaciones en casas rodantes. Para Obtener más información, consulte la sección "Ayuda o servicios técnico" en la "Guía de referencia<rapida".
REQUISITOS ELECTRICOS - EE. UU. EE. UU.
Es su responsabilidad:
■Ponerse en contacto con un instalador来电lico calificado.
■Aseguarse de que la conexión electrica sea adecuada y de conformidad con el Codigio Nacional Eléctrico, ANSI/NFPA 70 (ultima edisión) y con todos los codigos y ordinanzas locales.
El Código Nacional Eléctrico requiere una conexión de suministro de energia eléctrica de 4 cables para aquellos hogares construidos después de 1996, para los circuitos de secadora que se hayan reformado después de 1996 y todas las instalaciones de casas rodantes.
Puede obtener una copia de las normas de los@cadores antes indicados en: National Fire Protection Association, One Batterymarch Park, Quincy, MA 02269.
Proveer el suministro electrico-Requerido de 3 o 4 hilos, monofasico, de 120/240 V, 60 Hz, CA solamente (o un suministro electrico de 3 o 4 hilos, de 120/208 V, si se escribes en la plac indicaora de clasificacion/de la series) en un circuito separado de 30 A, protegado con fusibles en ambos lados de la linea. Conectelo a un circuito derivado individual. Noonga un fusible en el circuito neutro o de conexion a tierra.
■No use un cable electrico de extension.
Si los@cuidos lo permitted y sesuma un cable de conexión a tierra分开, se recomienda que un electricista calificado determine si la trayectoria de descarga a tierra es adecuada.
Conexión electrica
Para instalar su secadora adecuadamente, usted debe determinar el tipo de conexión electrica que va a usar yooting las instrucciones queaquiseproveenparael caso.
- Estasecadora ha sido manufacturada lista para ser instalada enuna conexion de suministro de energia elctrica de 3 hilos.El conductor neutro de conexion a tierra esta permanente conectado al conductor neutro (cable blanco) Dentro de la secadora. Si la secadora está instalada conuna conexion de suministro elctrico de 4 hilos,el conductor neutro de conexion a tierra seDebe qutar del conductor de conexion a tierra exterior (tornillo verde)y seDebeajustardebajo de la terminal neutra (cable central o blanco) delbloque de terminal. Cuando el conductor neutro de conexiona tierra esteajustado debajo de la terminal neutra (cable central o blanco) delbloque de terminal, el gabinete de la secadora quedaaislado del conductor neutro.
Si loscottigos locales no permiten la conexion de un cable neutro de conexion a tierra al cable neutro, consulte la seccion "Conexion optional de 3 cables".
- Debera usarse una connexion con suministro de energia de 4 hilos cuando el aparato está instalado en unaubicacion en la cuales este prohibida la connexion a tierra a través del conductor neutro.Esta prohibido hacer la puesta a tierra a través del conductor neutro para (1) las新品as instalaciones de circuito derivado, (2) casas rodantes, (3) vehículos de recreación y (4) Areasdonde los@cuidos localesprohibenla connexion a tierra a través del conductor neutro.
Si exemple un cable deuministroelectrico:
Use un jeu de cable de suministro électrique que esté en la lista de UL, para ser uso con secadores de ropa. El juego deben incluir:
■Un cable de suministro electrico de 30 A que esté en la lista de UL, clasificado para 120/240 V como minimo, con una temperatura nominal minima de 140^ (60^) . El cable deverá ser del tipo SRD o SRDT y tener por lo menos 4 pies (1,22m) de长大o. Los alambre que lo connectan a la secadora deben estar en terminales de anillo o de horquilla con los extremos hacía arriba.
■Un protector de cables que esté en la lista de UL.
Si el contacto de pared luce como este:

Tomacorriente para 4 hilos (14-30R)
Entonces elija un cable de suministro eletrico de 4 hilos con terminales de anillo o de horquilla y con protector de cables que este en la lista de UL. El cable de suministro de energia de 4 hilos, de por lo menos 4 pies (1,22 m) de长大o, debe tener 4 hilos de cobre solido de calibre 10 y encajar en un tomacorriente para 4 hilos tipo NEMA de 14-30R. El cable de puesta a Tierra (conductor a Tierra)uede ser verde o desnudo. El conductor neutro debe ser identificado con una cubierta blanca.
Si el contacto de pared luce como este:

Tomacorriente para 3 hilos (10-30R)
Entonces elija un cable de suministro electrico de 3 hilos con terminales de anillo o de horquilla y con protector de cables que esté en la lista de UL. El cable de suministro electrico de 3 hilos, de por lo menos 4 pies (1,22 m) de长大o, deben tener 3 hilos de cobre de calibre 10 y encajar en un tornacorroiente para 3 hilos tipo NEMA de 10-30R.
Si hace la conexión con cableado directo:
El cable de suministro electrico debe ser igual al suministro electrico (de 4 hilos o de 3 hilos) y debe ser:
Cable blindado flexible o cable de cobre forrado no metalico (con cable de connexion a tierra), cubierto con un conductor metalico flexible. Todos los cables conductores de corriente deben estar aislados.
■Hilos de cobre sólico de calibre 10 (no use aluminio) de por lo menos 5 pies (1,52m) de长大o.
INSTRUCCIONES PARA LA CONEXIONA TIERRA
Para la connexion de una secadora mediante cable electrico connectado a Tierra:
Esta secadora debeestarconectadaatierra.Enel caso defuncionamentodefectuoso oaveria,la conexiona tierrareduciréleriesgo dechoqueelectricoalproporcionarunavia demenor resistenciaparalacorrienteelectrica.Este secadorausauncablequecuentaconun conductor para laconexiona tierra delequipoyun enchufedeconexionaatierra.El enchufedebeconectarseuncontactoapropiado,que estedebidamenteinstaladoyconectaratoatierredacuerdocon todosloscuidogysordenanzaslocales.
- Para la conexión permanente de una secadora:
-Esta secadora debe estar connectada a un sistemas de cableado de metal permanente, connectado a tierra, o se debe tender un conductor para la conexión a tierra del equipo con los conductores de circuito y connectado al terminal de tierra del equipo o al conductor de suministro de la secadora.
ADVERTENCIA: La connexion indefinida del conductor para la connexion a Tierra del equipo puede occasionar un riesgo deCHOque elctrico.Verifique con un electricista,representante o personal de serviceo technician calificado para asegurarde que la connectiona tierra de la secadora sea apropiada.No modifie el enchufe que viene con el cable elctrico.Si no encaja en el contacto,contrate un electricista calificado para que instale un contacto adecuado.
GUARDE ESTAS INSTRUCCIONES
CONEXION PARA SECADEORA ELECTRICA - SOLAMENTE EN CANADÁ
REQUISITOS ELECTRICOS
ADVERTENCIA

Peligro de Choque Eléctrico
Conecte a un contacto de pared de conexión a tierra de 4 terminales.
No seguir estas instrucciones pueda occasionar la muerte, incendido o什麽 electrico.
Es su responsabilitad:
■Ponerse en contacto con un instalador来电lico calificado.
■Asegurarse de que la conexión electrica sea adecuada y de conformidad con el Codigoelectrico canadiense, C22.1 (ulta edicnion) y con todos los codigos locales. Usted peut tener una copia de todas las normas arriba indicadas en: Asociacion canadiense de normalizacion (Canadian Standards Association), 178 Rexdale Blvd., Toronto, ON M9W 1R3 CANADA.
■Proveer el suministro eletricorequiredo de 4 cables, monofasico, de 120/240 V, 60 Hz, CA solamente en un circuito分开ado de 30 A, protegido con fusibles en ambos lados de la linea. Se recomienda un fusible retardador o un disyuntor. Conectelo a un circuito derivado individual.
La secadora está equipada con un cable de suministro electrico certificado por CSA International y UL para ser enchufado en un tomacorriente de paredstickar tipo 14-30R. El cableiene 5 pies (1,52m) de长大o.Cerciorese de que haya un tomacorriente de pared al alcance de laubicacion final de la secadora.
Tomacorriente para 4 hilos (14-30R)

Para Obtener más información,onga como referencia los numberos de servicios umbicados en la sección "Ayuda o servicios técnico" del "Manual de uso y cuidado".
INSTRUCCIONES PARA LA CONEXión A TIERRA
Para la connexion de una secadora mediante cable electrico connectado a tierra:
Esta secadora debeestarconectara tierra.Enel caso defuncionamentedefectuoso oaveria,la conexiona tierra reduciré el riesgo dechoqueelectrico alproporcionaruna víade menor resistencia para la corrienteelectrica.Esta secadora estáequipada con un cable que cuenta con un conductor para la conexiona tierra del equipo y un enchufede conexiona tierra.El enchufe debeconectarse en uncontactoaproviado,que estedebidamenteinstalado yconectarao tierra de acuero con todos loscódigos yordenanzas locales.
ADVERTENCIA: La conexión independida del conductor para la conexión a tierra del equipo pueda occasionar un riesgo deCHOque electrico.Verifique con un electricista,representante o personal de serviceo的专业 calificado para asegurarde que la conexióna tierra de la secadora sea apropiada.No modifie el enchufe proportionsacion con la secadora.Si no encaja en el contacto, contrate un electricista calificado para que instale un contacto adecuado.
GUARDE ESTAS INSTRUCCIONES
CONEXION DE ENERGÍA DE LA SECADEORA A GAS - EE. UU. Y CANADÁ
REQUISITOS ELECTRICOS
ADVERTENCIA

Peligro de Choque Eléctrico
Conecte a un contacto de pared de connexion a tierra de 3 terminales.
No quite la terminal de connexion a tierra.
No use un adaptor.
No use un cable electrico de extension.
No seguir estas instrucciones pueda occasionar la muerte, incendido o什麽 eletrico.
■Se requiere un suministro electrico de 120 V, 60 Hz, CA solamente, con fusibles de 15 o 20 A. Se recomienda un fusible retardador o un disyuntor. Asimismo se recomienda el uso de un circuito independiente que preste servicios únicamente a esta secadora.
INSTRUCCIONES PARA LA CONEXIONA TIERRA
Para la connexion de una secadora mediante cable electrico connectado a Tierra:
Esta secadora depearestocnectadaatiemar. Enel caso defuncionamento defectuoso oaveria,la conexiona tierra reduciréleriesgo dechoqueelectricoalproporcionaruna víademenor resistenciaparalacorrienteelectrica.Este secadora estáequipadaconuncablequecuenta con un conductor para la conexiona atierra del equipo y un enchufede conexiona atierra.El enchufe depebeneconnectarse en uncontactoaproviado,que estedebbidamenteinstalado yconectarato atierra de acuero con todos los@cuidos yordenanzas locales.
ADVERTENCIA: La connexion indefinida del conductor para la connexion a Tierra del equipo可以选择 occasionar un riesgo deCHOque elctrico.Verifique con un electricista,representante o personal de serviceo tncico calificado para asegurarde que la connectiona tierra de la secadora sea apropiada.No modifie el enchufe proportionsacion con la secadora.Si no encaja en el contacto, contrate un electricista calificado para que instale un contacto adecuado.
GUARDE ESTAS INSTRUCCIONES
REQUISITOS DEL SUMINISTRO DE GAS
ADVERTENCIA

Peligro de Explosion
Use una linea de suministro de gas nuevo con aprobacion CSA Internacional.
Instaleunavalvula de cierre.
Apriete firmamente todas las conexiones de gas.
Si se conecta a un suministro de gas propano, la presión no debe exceder una columna de agua de 330 mm (13 pulg) y debe ser verificada por una persona calificada.
Ejobellos de una persona calificada incluyen: personal de service del systeme de calefacion con licencia,
personal autorizzato de la compania de gas, y personal autorizzato para dar serviceo.
No seguir estas instrucciones pueda occasionar la muerte, explosión o incendio.
TIPO DE GAS
Gas natural:
Esta secadora está equipada para uso con gas natural. Cuenta con la certifications de UL para el uso con gas propano con la conversion adequada.
■ Su secadora debe tener el quemador adecuado para el tipo de gas que tiene en su casa. La informacion respecto al quemador está ubicada en la placac de clasificacion que está en la cavidad de la puerta de su secadora. Si esta informacion no está de acuerdo con el tipo de gas disponible,pongase en contacto con el distribuidor o llama a los numero de Telefono mentionados en la seccion "Ayuda o serviceo专业技术" de su Manual de uso y cuidado.
Conversion a gas propane:
IMPORTANTE: La conversion deben落户a cabo un technician calificado.
No se deben hacer intento algo para convertir la secadora del gas asignado en la placía indicadora del modelo/de la série para usar un gas distinto sin consultar con la compañero de gas
LINEA DE SUMINISTRO DE GAS
Opinion 1 (Método recomendado)
Conector de gas flexible de acero inoxidable:
■Si los@códigos locales lo permiten,use un conector de gas flexible nuevo de acero inoxidable (diseño certificado por la Asociación americana de gas o CSA International) para connectar su secadora a la linea rigida de suministro de gas. Use un codo y un accesorio adaptador abocinado NPT de 3 / 8'' x 3 / 8'' entre el conector de gas de acero inoxidable y el tubo de gas de la secadora según seanecessary para evitar que se doblen.
Opcion 2 (Meteo alternative)
Tubería aprobada de aluminio o de cobre
Debe incluir una derivacion tapada NPT de por lo menos 1 / 8 accessible para la connexion del manometro de prueba, inmediamente arriba de la connexion de suministro de gas a la secadora.
■Se recomienda un tubo IPS de 1/2".
■Es acceptable una tuberia aprobada de aluminio o cobre de 3 / 8'' para las longitudes menores a 20 pies (6,1m) si lo permiten los@c Rodrigos locales y del proveedor de gas.
Siusted está usingo gas natural, no use tuberia de cobre.
■Para las longitudes mayores de 20 pies (6,1 m) se deben usar tuberlas mas largas y un accesorio adaptador de時間distincto.
Si su secadora ha sido convertida para usar gas LP, se pueda usar una tuberia de cobre compatible de 3/8" . Si la longitud total de la linea de suministro es mayor que 20 pies (6,1m) , use un tubo mas largo.
NOTA: Deben usarse compuestos para uniones de tuberia que Sean resistentes a la action del gas propano. No utilise cinta TEFLON*t.
Debeteneruna valvula de cierre.
En los EE. UU.:
Se debe instalar una valvula de cierre individual manual a un maximo de seis (6) pies (1,8m) de la secadora, de acuerdo con el Codigono Nacional de gas combustible, ANSI Z223.1. La valvula devera ubicarse en un lugar donde se pueda alcanzar con calidad para cerrarla yAbrirla.
En Canadá:
Se deben instalar una valvula de cierre individual manual que esté de acuerdo con el Codigfo de instalacion de gas natural y propano (Natural Gas and Propane Installation Code) B149.1. Se recomienda instalar una valvula de cierre individual manual a una distancia de no mas de seis (6) pies (1,8m) de la secadora. La valvula deberá ubicarse en un lugar donde se pueda alcantar con calidad para cerrarla y abrirla.

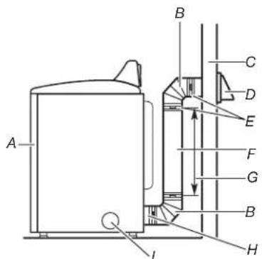
A. Conector flexible de gas de 3/8"
B. Accesorio adaptador abocinado para tubo de 3/8"
C. Derivación tapada NTP por lo menos de 1/8"
D. Linea de suministro de gas NPT de 1/2"
E. Valvula de cierre de gas
REQUISITOS PARA LA CONEXION DEL SUMINISTRO DE GAS
De ser besoino, use un dato y un accesorio adaptador abocinado NPT de 3 / 8'' x 3 / 8'' entre el conector de gas flexible y el tubo de gas de la secadora, para evaporar que se doblen.
■Use solamente compuesto para unión de tuberías. No utilise cinta TEFLON30†.
- Estasecadoradebeconectarsealelineaduministrode gas con un conectoraprobadogasflexiblequempla conlasnormasparaconectoresdeelectrodomesticosagas, ANSI Z21.24oCSA6.10.
REQUISITOS DE ENTRADA DEL QUEMADOR
Elevaciones por encima de 2000 pies (610 m):
Si se instalala la secadora a un nivel superior a los 2000 pies (610 m) dealtitude,se requiere una reduccion del 4 % de la clasificacion de BTU del quemador,que se muestra en la placal del numero de modelo/serie, por cada incremento de 1000 pies (305m) dealtitude.
Prueba de presión del suministro de gas
- Durante pruebas de presión a presiones mayores de 1/2 lb/pulgada², la secadora debe ser desconectada del sistema de tuberia del suministro de gas.
TUBO DE GAS DE LA SECADEORA
El tubo de gas que sale por la parte posterior de su secadora Tiene una rosca macho de 3 / 8"

Tubo de gas NPT de 3/8 de la secadora
NOTA: Para realizar una instalación en el garaje, la tuberia de gas deberá tener una.altura adicondialde 18^ (460 mm)desedel piso.
INSTALLACION DE LAS PATAS NIVELADORAS
ADVERTENCIA
Peligro de Peso Excesivo
No seguir esta instruccion possible occasionar una lesion en la espalda u othero tipo de lesiones.
1. Prepare la secadora para las patas niveladoras

Sujete con firmeza el cuerpo de la secadora (no el panel de la consola) y colocque la secadora suavamente sobre esquineros con la parte trasera de cartón.
IMPORTANTE: Si apoya la secadora sobre la parte trasera, use los esquineros con los que está empacada la secadora para evaporar daños en la parte trasera de la secadora.
2. Atornille las patas niveladoras

Con una llave y una cinta para medir, atornille las patas niveladoras bajo de los orificios para las patas hasta que la base del pie está a的概率mente 1'' (25 mm) de la base de la secadora.
Ahora colloque la secadora en posicion vertical. Deslice la secadoraerca de su ubicacion final. Deje suficiente espacio para conectar el ducto de escape.
Para uso en casas rodantes
Las secadoras a gasdeferán sujetarsefirmamente al piso.
Las instalaciones en casas rodantes
requieren un jeu de sujeción para la instalación en casas
rodantes. Para Obtener información sobre pedidos, consulte la "Guía de referencia<rapida".

CÓMOC HACER LA CONEXión DEL SUMINISTRO ELECTRICO - SOLO EN EE. UU.
CONEXION ELECTRICA
Cable de suministro electrico
ADVERTENCIA

Peligro de Incendio
Use un cable de suministro eletrico nuevo de 30 amperios que este en la lista de UL.
Use un protector de cables que este en la lista de UL.
Desconecte el suministro electrico antes de hacer las conexiones electricas.
Conecte el alambre neutro (el blanco o el del centro) a la terminal central (plateada).
El alambre de tierra (el verde o el no aislado) se debe conectar con el conector verde de tierra.
Conecte los 2 alambre de suministro restantes con las 2 terminales restantes (las doradas).
Apriete firmamente todas las conexiones electricas.
No seguir estas instrucciones pueda causar la muerte, incendio, oCHOque eletrico.
Opiones para la connexion electrica
1. Seleccione el tipo de connexion electrica

Tomacorriente del cable de suministro de energia de 4 hilos
(tipo NEMA 14-30R):
Vaya a Conexión por cable de suministro electrico.

Tomacorriente del cable de suministro de energia de 3 hilos
(tipo NEMA 10-30R):
Vaya a Conexión por cable de suministro electrico.

Conexión directa de 4 hilos:
Vaya a Conexión de cable directo.

Conexión directa de 3 hilos:
Vaya a Conexión de cable directo.
NOTA: Si los@cuidos locales no permiten la conexion de un conductor para conexion a tierra de la carcasa al cable neutro, vaya a "Conexion optional de 3 hilos".Esta conexion se peut utiliser con un cable de suministro eletrico o un cable directo.
2. Quite la tapa del bloque de terminal

Quite el tornillo de sujecion y la cubierta de la caja de terminal.
CONEXION POR CABLE DE SUMINISTRO ELECTRICO
Protector del cable de suministro electrico
1. Sujete el protector de cables del cable de suministro electrico

Quite los tornillos de un protector de cables de 19 mm (3/4") que esté en la lista de UL. Coloque las lengüetas de las dos secciones de la abrazadora (C) en el orificio que está bajo de la abertura del bloque de terminal (B) deforma que una lengueta está apuntando hacía arriba (A) y la othera este apuntando hacía bajo (D), y sujételas en su lugar. Apriete los tornillos del protector de cables solo lo suficiente paramantener las dos secciones de la abrazadora (C) juntas.
2. Sujete el protector de cables del cable de suministro de energia

Haga pagar el cable de suministro electrico a工程技术 del protector de cables. Asegürese de que el aislamento de cables del cable de suministro electrico está Dentro del protector de cables. El protector de cables deberte encasar deforma ajustada con el gabinete de la secadora y estar en posicion horizontal. No ajustaste los tornillos del protector de cables en este momento.
Si el contacto de pared luce como este:

Tomacorriente de 4 hilos ( Tipo NEMA 14-30R) para cable de suministro electrico: Vaya a la seccion "Conexion por cable de suministro electrico de 4 hilos".

Tomacorriente de 3 hilos (Tipo NEMA 10-30R) para cable de suministro electrico: Vaya a la seccion "Conexion por cable de suministro electrico de 3 hilos".
Conexión con cable de suministro electrico de 4 hilos
IMPORTANTE: Se necesita una conexión de 4 hilos para las casas rodantes y donde loscottigos locales no permitan el uso de conexiones de 3 hilos.

Tomacorriente de 4 hilos (NEMA tipo 14-30R)

Enchufede 4 terminales

Terminales de horquilla con extremos hacer arriba

Terminales de anillo
1. Prepárese para conectar el cable neutro a tierra y el cable neutro

Quite el tornillo central del bloque de terminal (B). Saque el cable neutro de puesta a tierra (E) del tornillo conductor a tierra externo (A).
2. Conecte el cable neutro a tierra y el cable neutro

Conecte el hilo neutro de puesta a tierra (E) y el cable neutro (hilo blanco) (C) del cable de suministro electrico bajo del tornillo central del bloque de terminal (B). Apriete el tornillo.
3. Conecte el cable a tierra

Conecte el cable a tierra (F) (verde o desnudo) del cable de suministro electrico al tornillo conductor a tierra externo (A). Apriete el tornillo.
4. Conecte los hilos restantes

Conecte los hilos restantes a los tornillos externos del bloque de terminal. Apriete los tornillos. Porultimate vuelva a insertar la lengueta de la tapa del bloque de terminal bajo de la ranura del panel posterior de la secadora. Asegure la tapa con un tornillo de sujecion. Ahora vaya a "Requisitos de ventilacion".
Conexión con cable de suministro electrico de 3 hilos
Uselo donde los@cuidos locales permitan la conexión del conductor de tierra de la carcasa al cable neutro.

Tomacorriente de 3 hilos (NEMA tipo 10-30R)

Enchufe de 3 terminales

Terminales de horquilla con extremos hacia arriba

Terminales de anillo
1. Quite el tornillo central

Quite el tornillo central del bloque de terminal (B).
2. Conecte el cable neutro

Conecte el cable neutro (hilo blanco o central) (C) del cable de suministro electrico al tornillo central delbloque de terminal (B). Apriete el tornillo.
3. Conecte los hilos restantes

Conecte los hilos restantes a los tornillos externos del bloque de terminal. Apriete los tornillos. Porultimate vuelva a insertar la lengueta de la tapa del bloque de terminal Dentro de la ranura del panel posterior de la secadora. Aseguire la tapa con un tornillo de sujeccion. Ahora vaya a Requisitos de ventilacion".
CONEXION POR CABLE DIRECTO
ADVERTENCIA

Peligro de Incendio
Utilice alambre de cobre solido de ancho 10.
Use un protector de cables que este en la lista de UL.
Desconecte el suministro electrico antes de hacer las conexiones electricas.
Conecte el alambre neutro (el blanco o el del centro) a la terminal central (plateada).
El alambre de tierra (el verde o el no aislado) se debe conectar con el conector verde de tierra.
Conecte los 2 alambre de suministro restantes con las 2 terminales restantes (las doradas).
Apriete firmamente todas las conexiones electricas.
No seguir estas instrucciones pueda causar la muerte, incendio oCHOque electrico.
Protector de cables para cable directo
1. Sujete el protector de cables para cable directo

Desatornille el conductor de conducto extraible (A) yrialquier tornillo del protector de cables de 3 / 4'' (19 mm) que está en la lista de UL.
Haga pagar la sección trenzada del protector de cables (C) a工程技术 de la abertura del bloque de terminal (B). Busque dentro de la abertura del bloque de terminal y atomille el conductor de conductor removable (A) sobre las rocas del protector de cables.
2. Sujete el cable directo al protector de cables

Haga pagar el cable directo a工程技术 del protector de cables. El protector de cables deberá encasar de manière ajustada con el gabinete de la secadora y estar en posición horizontal. Apriete el tornillo del protector de cables contra el cable directo.
Si el cableado luce como este:

Conexión directa de 4 hilos:
Vaya a "Conexión por cable directo de 4 hilos" en esta頁ina.

Vaya a "Conexión por cable directo de 3 hilos" en la párgina 11.
Conexión por cable directo de 4 hilos
IMPORTANTE: Se necesita una conexión de 4 hilos para las casas rodantes y donde loscottigos locales no permitan las conexiones de 3 hilos.
1. Prepare el cable de 4 hilos para la conexión directa

El cable del hilo directo deben tener 5 pies (1,52 m) de largo adicional, para poder mover la secadora si esnecessary.
Pele 5" (127 mm) de la cubierta exterior del extremo del cable,
dejando el cable a tierra desnudo a 5" (127 mm).Corte 112 38 mm) de los 3 hilos restantes. Pele el aislamento 1" (25 mm).
De forma de gancho a los extremos de los alambres.
2. Prepárese para conectar el cable neutro de connexion a tierra y el cable neutro

Quite el tornillo central del bloque de terminal (B). Saque el cable neutro de puesta a tierra (E) del tornillo conductor a tierra externo (A).
3. Conecte el cable neutro a tierra y el cable neutro

Conecte el cable neutro de puesta a tierra (E) y colque el extremo en forma de gancho (gancho mirando hacla la derecha) del cable neutro (blanco o central) (C) del cable de conexion directa bajo del tornillo central del bloque de terminal (B). Apriete los extremos en forma de gancho y apriete el tornillo.

Conecte el cable a tierra (verde o desnudo) (F) del cable directo al tornillo conductor a tierra externo (A). Apriete el tornillo.
5. Conecte los hilos restantes

Coloque los extremos en forma de gancho de los hilos restantes del cable de conexión directa bajo de los tornillos exteriores del bloque de terminal (con los ganchos mirando hacía la derecha). Apriete los extremos en forma de gancho y apriete los tornillos. Porultimate vuelva a insertar la lengüeta de la tapa del bloque de terminal Dentro de la ranura del panel posterior de la secadora. Asegure la tapa con un tornillo de sujeccion. Ahora vaya a "Requisitos de ventilacion".
Conexión por cable directo de 3 hilos
Useloonde los codigos locales permitan la conexion del conductor de tierra de la carcasa al cable neutro.
1. Prepare el cable de 3 hilos para la conexión directa

El cable del hilo directo deben tener 5 pies (1,52 m) de largo adicional, para poder mover la secadora si es Needed.
Pele 3112 (89 mm) de la cubierta exterior del extremo del cable. Pele el aislamento 1" (25 mm). Si va a usar el cable de 3 hilos con cable a tierra, corte el cable desnudo alineado con la cubierta exterior. De forma de gancho a los extremos de los alambres.
2. Quite el tornillo central

Quite el tornillo central del bloque de terminal (B).
3. Conecte el cable neutro

Cologne el extremo en forma de gancho del cable neutro (blanco o central) (C) del cable directo bajo del tornillo central (B) del bloque de terminal. Apriete y junte el extremo en forma de gancho. Apriete el tornillo.

4. Conecte los hilos restantes

Coloque los extremos en forma de gancho de los hilos restantes del cable de conexión directa bajo de los tornillos exteriores del bloque de terminal (con los ganchos mirando hacía la derecha). Apriete los extremos en forma de gancho y apriete los tornillos. Porultimate vuelva a insertar la lengüeta de la tapa del bloque de terminal Dentro de la ranura del panel posterior de la secadora. Asegure la tapa con un tornillo de sujeccion. Ahora vaya a "Requisitos de ventilacion".
Conexión optional de 3 cables
Antes de hacer la connexion, usted deben verficar con un electricista competente que este método de connexion a tierra sea acceptable.
1. Prepárese para conectar el cable neutro de connexion a tierra y el cable neutro

Quite el tornillo central del bloque de terminal (B). Saque el cable neutro de puesta a tierra (E) del tornillo conductor a tierra externo (A).
2. Conecte el cable neutro a tierra y el cable neutro

Conecte el cable neutro de puesta a tierra (E) y el cable neutro (hilo blanco o central) (C) del cable de suministro electrico bajo del tornillo central del bloque de terminal (B). Apriete el tornillo.
3. Conecte los hilos restantes

Conecte los hilos restantes a los tornillos externos del bloque de terminal. Ajuste los tornillos.
4. Conecte el hilo externo a tierra

Conecte un hilo a tierra de cobre Separado (G) desde el tornillo conductor a tierra externo (A)a una conexion a tierra adecuada. Porultimate vuelva a insertar la lengueta de la tapa del bloque de terminal bajo de la ranura del panel posterior de la secadora. Asegure la tapa con un tornillo de sujeccion. Ahora vaya a "Requisitos de ventilacion".
CONEXION DEL SUMINISTRO DE GAS - EE. UU. Y CANADA
ADVERTENCIA

Peligro de Explosion
Use una linea de suministro de gas nuevo con aprobacion CSA Internacional.
Instaleuna valvula de cierre.
Apriete firmamente todas las conexiones de gas.
Si se conecta a un suministro de gas propano, la presión no debe exceder una columna de agua de 330 mm (13 pulg) y debe ser verificada por una persona calificada.
Ejemplos de una persona calificada incluyen:
personal de servicios del sistema de calefaction con licencia,
No seguir estas instrucciones pueda occasionar la muerte, explosión o incendio.
1. Conecte la linea de suministro de gas a la secadora

Accesorio macho abocinado

Accesorio macho no abocinado
Quite la tapa roja del tubo de gas. Utilizando una llave de tuercas paraaabustar,conecte el suministro de gas a la secadora.Use compuesto para unionde tubos en las roscas de todos los accesorios macho no abocinados.Si se usa tuberia flexible de metal,asegúrese de que no hayan partes retorcidas.
NOTA: Para las conexiones de gas propano, deben usar un compuesto para unión de tuberías resistente a laakening del gas propano. No utilise cinta TEFLON*t.
2. Planifique la connexion del accesorio para la tuberia

A. Conector flexible de gas de 3/8"
B. Tubo de la secadora de 3/8"
C. Codo para tubo de 3/8" a 3/8"
D. Accesorio adaptador abocinado para tubo de 3/8"
Se debe usesuna combinacionde accesos para tuberias para
conectar la secadora a la linea de suministro de gas existente.
Se muestra una connexion recomendada. Su connexion peut ser
distinta, de acuerdo con el tipo de linea de suministro, su tamenyo ubicacion.
3. Abra la valvula de cierre

Abra la valvula de cierre en la linea de suministro; la valvula está abierta cuando la manija está paralela al tubo de gas. Luego pruebe todas las conexiones aplicando con un cepillo una solución aprobada para detectión de fugas que no sea corrosiva. Se observaran burbujas si hay fugas. Corrija todas las fugas que工程技术.
+TEFLON es unamarca comercial registrada de Chemours.
VENTILACION
REQUISITOS DE VENTILACION
ADVERTENCIA

Peligro de Incendio
Use un ducto de escape de metal pesado.
No use un ducto de escape de plástico.
No use un ducto de escape de aluminio.
No seguir estas instrucciones pueda occasionar la muerte o incendidio.
ADVERTENCIA: Para reducir el riesgo de incendio, esta secadora DEBE VENTILARSE HACIA EL EXTERIOR.
IMPORTANTE: Respete todos loscottigos y lasordenanzas vigentes.
El ducto de escape de la secadora no debe conectarse a ningún ducto de gas, chimenea, pared, techo, desvan, espacio angosto o el espacio oculto de un edificio. Deberá usarse solamente un ducto de metal rígido o flexible para la ventilación.

Ducto de escape de metal pesado de 4^ (102 mm)
Sólo pueda usarse un ducto de escape de metal pesado de 4^ (102 mm) y abrazaderas.
■No utilise un ducto de escape de plástico ni de aluminio.
Ducto de escape de metal ríoido:
■Se recomienda para un mejor desempo en el secado y para evitar que se aplaste o se tuerza.
Ducto de escape de metal flexible: (Es acceptable solo si es accesible para la limpieza)
Debera extendere por completeness tener soporte en laubicacion final de la secadora.
■Quite el excesso del本身就是 para evitar que se doble y se tuerza, lo cual podra dar lugar a una reduccion del flujo de aire y a un rendimiento insufiente.
■No instale un ducto de escape de metal flexible en paredes, techos o pisos encerrados.
La longitudinal total no deben excessoder los 7 /4 pies (2,4m)
■Ellarge del ducto metalico flexible que se va autilizardebe incluirse en el diseñocomplete delsystema deventilacion, como se muestra en los "Cuadros del systema deventilacion".
NOTA: Si se usa un sistema de ventilación existente, limpie la pelusa de toda la longitud delsystems y asegúrese de que la capota de ventilación no está obstruida con pelusa. Reemplace los ductos de escape de plástico o de hoja de metal por ductos de metal rígido o de metal flexible. Consulte "Cuadros del sistemas de ventilación" y, si esnecessary, modifique el sistemas de ventilación existente para lograr el mejor desempo de secado.
Capotas de ventilación:
Deberan estar a por lo menos 12'' (305 mm) desde el piso oequalier objecto que pueda obstruir la salute (tales como flores, rocas, arbustos o nieve).
Estilos recomendados:

Capota tipo persiana

Capota tipo caja
Estilo acceptable:

Capota angular
Codos:
■Los codos de 45^ proveen un mejor flujo de aire que los codos de 90^ .

Estilos recomendedos:

Abrazaderas:
■Utilice abrazaderas para sellar todas las juntas.
■No debe conectarse ni asegurar el ducto de escape con tornillos ni con ningún other disposito vdo sujeccion que se extienda hacia el interior de dicho ducto y atrape pelusa.No utilise cinta para ductos.


Los productos de ventilación se pueda comprar con su distribuidor. Para Obtener más información, consulte la sección "Ayuda o servicios专业技术" en la "Guía de referencia<rápida".
PLANIFICACION DEL SISTEMA DE VENTILACION
Instalaciones recomendadas de ventilacion
Las instalaciones tíicas tienen la ventilación de la secadora en la parte posterior de laquia. Otras instalaciones son posibles.

A. Secadora
B. Codo
C.Pared
D. Capota de
ventilación
E. Abrazaderas
F. Ducto de escape de metal rigido o flexible
G. Longitudnecessaryadeductodeescape paraconectarloscodos
H. Salida de escape
I. Salida de escape lateral optional
Instalaciones.optionales de escape:
ADVERTENCIA

Peligro de Incendio
Cubra los orificios de escape no usados con un juego de cubierta para orificios de escape del fabricador.
Comuniquee con su distribuidor local.
No seguir estas instrucciones pueda occasionar la muerte, incendio,CHOque elctrico, o lesiones graves.
Si lo prefiere, la secadora pueda convertirse para la ventilacion por la parte inferior y los costados. Debera ponerse en contacto con su distribuidor local para hacer convertir la secadora.



A B C
A. Instalación estandar con ventilación por la parte posterior y conexión indirecta
B. Instalación de ventilación lateral a la izquierda o a la derecha
C. Instalación con ventilación por la parte inferior
Previsiones especials para casas rodantes:
El ducto de escape deberá sujetarsefirmamente en un lugar no inflamabilede la casa rodante y no debe terminardebajo de la casa rodante. El ducto de escape debe terminar en el exterior.

Instalación del ducto de escape en casas rodantes
Determinación de la via del ducto de escape:
■Selección la via que proportionscione el trayecto más recto y directo al exterior.
Planifique la instalacion a fin de usar el menor numero possible de codos y vueltas.
Cuando use@codos o vueltas,deje todo el espacio que sea possible.
Doble el ducto gradualmente para evaporar torceduras.
Use la menorcantidadpossible de vueltasde 90^
Determinación de la longitud del ducto de escape y el número de codos necessarios para Obtener un optimo rendimiento de secado:
■Use el cuadro del sistemas de ventilacion a continuacion para determinar las combinaciones acceptables de tipo de material para ducto y capota a usar.
NOTA: No use tendidos de ducto de escape mas largos que los especialcados en el cuadro del systeme de ventilacion. Los sistemas de ventilacion mas largos que los especialcados:
Acortarán la vidautilde la secadora.
- Reducirán el rendimiento, dando lugar a tiempos de secado más largos y un aumento en el Consumo de energia.
Los cuadros del sistema de ventilación indican los requisitos de ventilación que le ayudaran a Obtener el mejor rendimiento de secado.
| Cuadro del sistemas de ventilación | ||
| Número de vueltas de 90° o codos | Tipo de ducto de escape | Capotas angulares |
| 0 | Metal ríoido 64 | pies (20 m) |
| 1 | Metal ríoido 54 | pies (16,5 m) |
| 2 | Metal ríoido 44 | pies (13,4 m) |
| 3 | Metal ríoido 35 | pies (10,7 m) |
| 4 | Metal ríoido 27 | pies (8,2 m) |
NOTA: Las instalaciones de ventilacion inferiores tienen una vuelta de 90^ bajo de la secadora. Para determinar la longitudina maxima de ventilacion, agregue una vuelta de 90^ a los cuadros.
INSTALLACION DEL SISTEMA DE VENTILACION

Instale la capota de ventilacion y use compuesto para calafateo para sellar la abertura exterior de la pared alrededor de la capota de ventilacion.

El ducto de escape debe encajar sobre la capota de ventilacion. Asegure el ducto de escape a la capota de ventilacion con una abrazadora de 4^ (102 mm). Exienda el ducto de escape a laubicacion de la secadora usinga la trayectoria mas recta quesea possible. Evite giros de 90^ .Utilice abrazaderas para sellar todas las juntas. Para asegurar el ducto de escape, no use cinta para ductos, tornillos nithersdispositivosdefijacionque se extiendan hacer el interior de dicho ducto, ya que pueda atrapar pelusa.
CONECTE LAS MANGUERAS DE ENTRADA
Para los modelos sin vapor, vaya a "Conexión del ducto de escape".
La secadora debeconectarse al grifo de agua fria usingo las mangueras de entrada新品as.No use mangueras viejas.

Cierre el grifo de agua fria y quite la manguera de entrada de la lavadora.
Quite la arandela vieja de goma de la manguera de entrada y reemplacela por la arandela nueva de goma.

Fije la manguera de entrada de 2 pies (0,6 m) al grifo de agua fria. Atornille el acoplimiento con la mano hasta que quede asentado en el grifo. Luego sujete el conductor en "Y" al extremo macho de la manguera de entrada de 2 pies (0,6 m). Atornille el acoplimiento con la mano hasta que quede asentado en el conductor.

Con las pinzas, apriete los acoplamenteos dos tercios de vuelta adicional.
NOTA: No apriete demasiado. Se pueda darar el acoplamento.
4. Sujete la manguera larga al conector en "Y" y apriete los acoplamentos

Fije los extremos de la manguera de entrada de 5 pies (1,5 m) de la secadora al conector en "Y". Fije la manguera de entrada de agua fria de la lavadora al(otherado del conector en "Y". Atornille el acoplamento con la mano hasta que quede asentado en el conector. Con las pinzas, apriete los acoplamenteos dos tercios de vuelta adiconiales.
NOTA: No apriete demasiado. Se pueda darnar el acoplamento.
5. Sujete la manguera larga a la valvula de llenado de la secadora y apriete el acoplamento

Sujete el除外 extremo de la manguera larga a la valvula de llenado en la parte inferior del panel posterior de la secadora. Atornille el acoplimiento con la mano hasta que quede asentado en el conductor de la valvula de llenado. Con las pinzas, apriete los acoplimientos dos tercios de vuelta adiconionales.
NOTA: No apriete demasiado. Se pueda darar el acoplamento.

6. Abra el grifo del agua fria

Verifique que esté abierto el grifo de agua.
7. Revise si hay fugas

Revise si hay fugas alrededor del conector en "Y", de los grisos y de las mangueras.
CONEXION DEL DUCTO DE ESCAPE
1. Conecte el ducto de escape a la calidad de escape

Usando una abrazadora de 4^ (102 mm), conecte el ducto de escape a laitters de aire en la secadora. Si se conecta a un ducto de escape existente, asegurese de que el本身就是 limpio. El ducto de escape de la secadora debe encasar sobre laitters de aire de la secadora y bajo de la capota de ventilacion. Cerciorese de que el ducto de escape ested asegurado a la capota de ventilacion con una abrazadora de 4^ (102 mm).
2. Traslade la secadora hacía suubicación final

Traslade la secadora hacía su ubicación final. Evite aplastar o retorcer el ducto de escape.
NIVELE LA SECADORA

Revise la nivelación de la secadora de lado a lado. Repita el procedimiento de adelante hacía除外.
NOTA: La secadora debe estar nivelada para que el systema de detectacion de humedad funciona correctamente.

No nivelado NIVELADO No nivelado

Si la secadora no está nivelada, apuntálela con un bloque de madera. Use una llave para regular las patas hacía arriba o hacía abajo y verifique;nuevamente si la secadora está nivelada.
3. Contramarco (en algunos modelos)
Para instalar:

Cologne el contramarco en el fondo de la secadora y haga coincidir las clavijas de ubicacion con los orificios. Presione con firmeza el contramarco hacia arriba hasta que quede colocado a presion en su lugar.
Para desinstalar:

En cada esquina. 1) Empuje hacer abajo la parte superior del contramarco. 2) Girela en direccion opuesta a la secadora y quítela.
LISTA DE CONTROL DE LA INSTALACION TERMINADA
Verifique que todas las piezas estén ahora instaladas. Si sobra una pieza,whelming a revisar todos los pasos para ver què se omitio.
Verifique queonga todas las herramentas.
Deseche o recicle todos los materiales de embalaje.
Revise laubicacion final de la secadora.Aseguese de que el ducto de escape no este aplastado ni retorcido.
Verifique que la secadora esté nivelada. Vea "Nivelación de la secadora".
Quite la película que está en la consola yrialquier cinta adhesiva que haya quedado en la secadora.
Limpie el interior del;tambor de la secadora metriculosamente con un pano humedo para quitar residuos de polvo.
Lea "Uso de la secadora" en la "Guia de referencia rápida".
Modelos electricos:
Para una instalacion con cable de suministro electrico, enchufe en un tomacorriere con connexion a tierra. Para una instalacion con cableado directo, enciende el suministro electrico.
Modelos a gas:
Verifique que el suministro de gas está abierto.
Revise si hay fugas.
Solo para los modelos con vapor:
Verifique que los grisos de agua estén abiertos.
Revise si hay fugas alrededor del conector en "Y", del grifo y de las mangueras.
Si vivo en una zona donde hay agua dura, se recomienda usar ablandador de agua para controlar la acumulación de sarro en el sistemas de agua en la secadora. Conforme眼看 el tiempo, la acumulación de depósitos calcáreos pueda obtruir differsentes partes del sistemas de agua, lo cual reducirá el rendimiento del producto. La acumulación excesiva de sarro puede occasionar la necessities de reemplazar o reparar ciertas piezas.
Todo los modelos:
Selectione un ciclo de Timed Dry (Secado programado) con calor ypongla secadora en marcha.No seleccione el ajustede temperatura de Air Only (Solo aire).
Si la secadora no funciona, revise lo siguientes:
- Que los controlles estén fjados en una posicion de funciona u "ON" (Encendido).
- Que se haya presionado con firmeza el botón de Inicio (Start).
- Que la secadora está enchufada en un tomacorriente y/o el suministro electrico está conectado.
- Que el fusible de la casa está intacto y ajustado, o que no se haya disparado el disyuntor.
- Que la puerta de la secadora está cerrada.
Esta secadora haceFuncionarautomaticamenteunarutina de diagnóstico de instalación al comienzo del primer ciclo.
Si el calentador de la secadora no se enciende, es posible queonga un problema de suministro electrico en su hogar. Recibira un numero L2 para este problema.Consulte "Solucion de problemas".
Si en la pantalla Airflow (Fluo de aire) aparece el mensaje "Check vent" (Revisar ducto de ventilacion), el ducto de escape de la secadora puede estar prensado o bloqueado. Consulte "Solucion de problemas".
NOTA: Podrá notar un olor cuando la secadora se calienta por primera vez. Este olor escomings cuando se usa por primera vez el elemento calefactor. El olor desaparecerá.
PUERTA DE LA SECADEORA (EN ALGUNOS MODELOS)
Para el uso normal de la secadora, se sugiere no retiring la puerta. Sin embargo, si esnecessary quitarla, asegurese de que la secadora este apagada y fría. Después, siga estas instrucciones. La puerta de la secadora es pesada.
Para desinstalar:
- Abra por Completely la puerta de la secadora.
- Use un destornillador de cabeza plana paraAbrir la trabajo de la bisagra.

- Pellizque la traba de la bisagra con 2 dedos y tire hacía adelante. Repita en el otro lado de la puerta de la secadora.

A. Traba de bisagra
- Cierre la puerta de la secadora tanto como sea possible.
- Levante la puerta de la secadora sostieneola de todos los días.
Continué empujando la puerta de la secadora para cerrarla y sáquela del marco.

Para colocarla:
- Inserte los dos brazos de suspENSION en el panel frontal.

- Abra la puerta de la secadora.
Debería escuchar un chasquido cuando la puerta queda en su lugar. - Mueva las palancas de la bisagra-Newamente a la posicional trabada. Verifique que la puerta pueda abrirse y cerrarse bien. De lo contrario, repita los procedimientos para retirar e instalar la puerta.
INVERSION DE LA PUERTA (EN ALGUNOS MODELOS)
Las siguientes instrucciones son para los modelos con puertas de aperture lateral.
Herramientos necessities:


Destornillador TORX T25 de 8" de长大o como微量元素


Destornillador Phillips N° 2
Usted pueda invertir el ciere de la puerta de la abertura hacla la derecha a la abertura hacla izquierda, si lo desea.
- Coloque una toalla o un paño suave en la parte superior de la secadora o de la superficie de trabajo, para evaporar dañar la superficie.
Quite la puerta del gabinete de la secadora.
- Abra la puerta de la secadora.
- Use un destornillator T25 para guitar los tornillos (A) y bajo los tornillos (B) de cada una de las dos bisagras que unen la puerta de la secadora al panel frontal de la secadora. Colque los tornillos de las bisagras a un lado para cuando vuelva a instalar la puerta.

-
Para quitar la puerta de la secadora, levántela y retirela hacía afuera del gabinete. Coloque la puerta sobre una superficie plana y cubierta, con elazo interior de la puerta mirando hacía arriba.
-
Quite los 2 tapones de plástico (A) ubicados fuera de la abertura de la puerta de la secadora.

- Instale los 2 tapones de plástico (A) en los orificios de los tornillos en los que se quitaron las bisagras en el Paso 4.
como invertir el tope
- Quite el tope de la puerta (A) de la abertura de la puerta de la secadora.
- Quite el tornillo de adorno (B) delgado opuesto del tope de la puerta (A).

A. Tope de la puerta
B. Tornillo de adomo
- Vuelva a instalar el tope de la puerta y el tornillo de adorno en elazo opuesto de la abertura de la puerta de la secadora de donde se quitaron.
NOTA: El tope de la puerta y los tapones deben estar del misismo bajo de la abertura de la puerta de la secadora.
Quite el ensamblaje de la puerta
- Coloque la puerta sobre una superficie plana y cubierta, con elazo interior de la puerta mirando hacía arriba. Quite los 3 tapones con un cucillo de plástico para masilla. Hay un recorte donde se pueda introducir el cucillo para masilla a fin de hacer presión.

- Quite de la puerta de la secadora los 10 tornillos y los tornillos fjitos. Colquelos a un lugar.

- Para qutar la puerta interna, use un cuchillo de plástico para masilla y separe los lados y la parte inferior de la puerta y el borde de la secadora. Hay 2 broches a presión en los lados izquierdo y derecho, y en la parte inferior de la puerta. Inserte el cuchillo para masilla bajo a los broches a presión.

- Cuando la puerta estáSeparated del marco, use un cucillo para masilla para elevarla en la lengüeta central y bajo tirar de la puerta hacía usted y hacía afuera.

- Quite el tapón del tope de la puerta con un destornillador de cabeza plana. Para qitar el tope de la puerta, pellizque los sujetadores del panel interno de la puerta y bajo gire y empujé hacer afuera el lado delantero. Para insertar el tapón de la puerta, ubicado del除外o lado de la puerta de la secadora, empujélo hacía adentro y bajo agregue el tapón de tope de la puerta.

- Retire las bisagras de la puerta y colóquelas a un lado.
- Quite los 3 tornillos en los lados inferior izquierdo yaretho de la puerta para retirar las piezas del borde externo.

- Levante la puerta y gire las piezas del borde al bajo opuesto del que se quitaron. A continuacion, vuelva a atornillar las piezas del borde.

- Coloque las bisagras en el lado derecho de la puerta y, a continuación, invierta la bisagra etiquetada con el número 1 al lado inferior derecho y la etiquetada con el número 2 al lado superior derecho de la puerta.

- Vuelva a colocar la parte posterior del panel interno en la puerta de la secadora. Para hacerlo, deslice la parte superior en la pieza del borde superior y bajo haga descender la puerta. A continuación, presione hacer abajo las esquinas para colocarlas a presión en las bisagras alineadas con los orificios de bisagra.

- Instale 6 tornillos de bisagra y los除外 4 tornillos.

- Instale cubiertas y tapones de bisagras. Las cubiertas de bisagras deben introducirse para cuando girarse 90^ y quedar colocadas a presión en su lugar.

- Para colgar la puerta, Coloque un pasador de ajuste en el orificio del gabinete de la secadora y deslice la puerta hacia bajo. Con un destornillador T25®, instale tornillos (A) y bajo tornillos (B). Apriete todos los tornillos de las bisagras.

CUIDADO DE LA SECADEORA
LIMPIEZA DEL LUGAR DONDE ESTÁ LA SECADEORA
Mantenga el area donde está la secadora despejada y libre de articulos que pueda abstruir el flujo de aire para el funciona satisfactorio adecuado de la secadora. Esto incluye retina las pilas de ropa que haya delante de la secadora.
ADVERTENCIA

Peligro de Explosion
Mantenga los materiales y vapeores inflamables, como la gasolina, lejos de la secadora.
Coloque la secadora a un minimo de 460 mm sobre el piso para la instalacion en un garaje.
No seguir estas instrucciones pueda occasionar la muerte, explosión o incendio.
LIMpieZA DEL INTERIOR DE LA SECADEORA
Para limpiar el tiempo de la secadora
- Use un detergente suave para lavar vajilla a mano mezclado a una concentracion baja con agua muy tibiay frote con un paño suave.
- Enjuague bien con una esponja o una toalla humeda.
- Haga rotar unaarga de ropa limpia o toallas para secar el futuro. O
Use un paño de microfibra y agua caliente en una botella de rociado para limpar el;tambor y otherpaño de microfibrara para secarlo.
NOTA: Las prendas de-coloredes que destiñen,los pantalones de jean o los articulos de algodón de-coloredes vivos poderneir alinterde la secadora.Estas manchas no dañan la secadora ni mancharán las carrgas futuras de ropa. Seque los articulos de-coloredes que destiñen del revés para evitrar la transferencia del tinte.
CÓMO QUITAR LA PELUSA ACUMULADA
En el interior del gabinete de la secadora
Según el uso de la secadora, se debe quitar la pelusa cada 2 años o con más Frequencia. La limpieza debe estar a cargo de personal de servicios para electrodométricos competente o de un limpiador de sistemas de ventilación.
En el ducto de escape
Según el uso de la secadora, se debe quitar la pelusa cada 2 años o con más Frequencia.
LIMPIEZA DEL FILTRO DE PELUSA
Limpieza en cada carga
El filtro de pelusa está en la abertura de la puerta de la secadora. Un filtro obstruido con pelusa puedeDSPargar el tiempo de secado.
Para limpiarlo:
Estilo 1
- Jale el filtro de pelusa directamente hacía arriba para extraerlo. Presione la lengüeta delante para abrir el filtro de pelusa. Quite la pelusa enrollándola con los dedos. No enjuague ni lave el filtro para quitar la pelusa. La pelusa mojada es dificil de sacar.

Estilo 2
- Jale el filtro de pelusa fauna del receptaculo. Quite la pelusa enrollandola con los dedos. No enjuague ni lave el filtro para quitar la pelusa. La pelusa mojada es dificil de sacar.


- Empujé el filtro de pelusa con firmeza nuevomente en su lugar.
IMPORTANT:
No ponga a funciona la secadora con el filtro de pelusa flojo, dañado, obstruido o sin el. Eso pueda causar sobrecalentimiento y dañar tanto la secadora como las prendas.
Si al qutar la pelusa del filtro esta cae bajo de la secadora, revise la capota de ventilacion y quite la pelusa. Consulte "Requisitos de ventilacion" en las Instrucciones de instalacion.
Limpie el espacio donde se encuesta el filtro de pelusa según sea necesario. Use una aspiradora para retirar con suavididad toda la pelusa que se haya acumulado bajo del filtro de pelusa.

Limpieza según la necessities
Los residuos de detergente y suavizante de telas能把 acumularse en el filtro de pelusa.Esta acumulación puede dar lugar a que se prolongue el tiempo de secado de la ropa, o a que la secadora se detenga antes de que la ropa está Completely平整mente seca. El filtró probablemente está abstruido si cae pelusa del filtró cuando está bajo de la secadora.
Limpie el filtro de pelusa con un cepillo de nylon cada 6配送es, o con más Frequencia, si se obtruye bajo a la recuperación de residuos.
LIMPIEZA DEL FILTRO DE PELUSA (CONT.)
Para lavar:
- Quite la pelusa enrollandola con los dedos.
- Moje también lados del filtro de pelusa con agua caliente.
- Moje un cepillo de nylon con agua caliente y detergente liquido. Frote el filtro de pelusa con el cepillo para quitar la acumulación de residuos.

Estilo 1 Estilo 2

- Enjuague el filtro con agua caliente.
- Seque minuciosamente el filtro de pelusa con una toalla limpia. Vuelva a colocar el filtro en la secadora.
CAMBIO DE LA LUX DEL TAMBOR (EN ALGUNOS MODELOS)
- Desenchufe la secadora o desconecte el suministro electrico.
- Abra la puerta de la secadora. Localice la cubierta del foco de luz en la pared posterior de la secadora. Con una llave de tuercas o llave de tubo hexagonal de 1/4 (6 mm), retire el tornillo ubicado en la esquina inferiorjeta de la cubierta. Quite la cubierta.

- Gire elAGO en sentido contrario a las manecillas del reloj. Reemplacelo unicamente por unAGO para electrodomesticos de 10 W. Vuelva a colocar la cubiertay asegurela con un tornillo.
- Enchufe en un contacto de connexion a tierra o reconnectece el suministro electrico.
REVISE QUE EL SISTEMA DE VENTILACION TENGA UN BUEN FLUJO DE AIRE
ADVERTENCIA

Peligro de Incendio
Use un ducto escape de metal pesado.
No use un ducto de escape de plástico.
No use un ducto de escape de aluminio.
No seguir estas instrucciones puede occasionar la muerte o incendio.
BUEN FLUJO DE AIRE
Además de calor, las secadoras también necesitan un buena flujo de aire paraocularas prendas deforma eficiente. La ventilación adecuada reducirá la duración del secado y mejorará su ahorro de energia.Consulte las Instrucciones de instalación.
El Sistema de ventilación conectado a la secadora despeña una función muy importante para el flujo de aire adecuado. Los ductos de ventilación bloqueados o aplastados, asi como una instalación con ventilación inadequada, disminuiirán el flujo de aire y el rendimiento de la secadora.
Las visitas de servicios debidas a la ventilacion inadequada no estan cubiertas por la garantia y correran por cuenta del cliente, sin importar quien haya instalado la secadora. Para limpar o reparar la ventilacion, comuniquese con un especialista en ventilacion.
PARA MANTENER UN BUEN FLUJO DE AIRE, HAGA LO SIGUIENTE:
Limpiar el filtro de pelusa antes de cada energia.
Reemplazar el material del ducto de plastico u hoja de metal con uno de metal pesado rigo de 4" (102 mm) de diametro.

- Usar un ducto con la longitud más corta possible.
No utilise mas de quatre codos de 90^ en un système de ventilationacion; cada angulo y curva reduce el flujo de aire.


- Quitar la pelusa y los desechos de la capota de ventilación.
- Quitar la pelusa de toda la longitud del sistema de ventilación al menos cada 2 años. Cuando se haya terminado la limpieza, revise por ultima vez el producto asegurándose de seguir las Instrucciones de instalación que apareñan a su secadora.
Retirar los articulos que estén frente a la secadora.
CUIDADO DURANTE PERÍODOS SIN USO, ALMACENAMIENTO Y MUDANZAS
Solo para los modelos con vapor: Instale y guarde la secadora en un lugar donde no se congele. Debido a que pueda quedar un poco de agua en la manguera, el congelamente可能导致la secadora. Si va a guardar o trasladar la secadora durante una temporada de invierno riguroso, acondicionela para el invierno.
Cuidado durante la falta de uso o el almacenimiento
Ponga la secadora a functionar solo cuando esté en casa. Si va a partir de vacaciones o no va a usar la secadora por un tiempo prolongado, deben hacer loCEEjiente:
- Desenchufe la secadora o desconnecte el suministro electrico.
- Limpie el filtro de pelusa. Vea "Limpieza del filtro de pelusa".
- Interrumpa el suministro de agua a la secadora. Esto ayuda a evaporar inundaciones accidentales (debido aurrentos en la presion del agua) en su ausencia.
Cuidados en caso de mudanza
Para las secadoras conectadas con cable de suministro electrico:
- Desenchufe el cable de suministro electrico.
- Solo los modelos a gas: Cierre la valvula de cierre en la linea de suministro de gas.
- Solo los modelos a gas: Desconecte el tubo de la linea de suministro de gas y quite los accesos sujetos al tubo de la secadora.
- Solo los modelos a gas: Coloque una taps en la linea abierta del suministro de combustible.
- Solo para los modelos con vapor: Cierre el grifo de agua.
- Solo para los modelos con vapor: Desconecte la manguera de entrada de agua del grifo y eliminhe el agua de la manguera. Transporte la manguera en formaSeparated.
- Asegürese de que las patas niveladoras estén fijas en la base de la secadora.
- Use cinta adhesiva para asegurar la puerta de la secadora.
- En modelos con contramarco: Quite el contramarco antes de mover la secadora. Consulte "Contramarco".
ADVERTENCIA

Peligro de Choque Eléctrico
Desconecte el suministro de energia antes de darle mantenimiento.
Vuelva a colocar todos los componentes y paneles antes de hacerlo funciona.
No seguir estas instrucciones pueda occasionar la muerte oCHOque electrico.
Para secadoras con cable directo:
- Desconecte el suministro electrico.
- Desconecte el cableado de la secadora y asegure los extremos de los cables.
- Solo para los modelos con vapor: Cierre el grifo de agua.
- Solo para los modelos con vapor: Desconecte la manguera de entrada de agua del grifo y elimine el agua de la manguera. Transporte la manguera en formaSeparated.
- Asegürese de que las patas niveladoras estén fjias en la base de la secadora.
- Use cinta adhesiva para asegurar la puerta de la secadora.
- En modelos con contramarco: Quite el contramarco antes de mover la secadora. Consuite "Contramarco".
como volver a instalar la secadora
Siga las Instrucciones de instalacion para ubicar, nivelar y conectar la secadora.
INSTRUCCIONES ESPECIALES PARA MODELOS CON VAPOR
Manguera de entrada de agua
Reemplace la manguera de entrada y el filtró de la manguerauponésde5anosdeuso para reducir el riesgo de que fallen. Inspeccione periodicamente y cambie la manguera de entrada si encontrartra protuberancias, torceduras, cortes, desgaste o perdidas de agua.
Cuando reemplace la manguera de entrada, anote la Fecha de reposión.
Para acondicionar la secadora para el invierno
- Desenchufe la secadora o desconnecte el suministro electrico.
- Cierre el grifo de agua.
- Desconecte la manguera de entrada de agua del grifo y elimine el agua.
Para usar nuevomente la secadora
- Deje correr agua por las tuberías. Vuelva a conectar la manguera de entrada del agua al grifo. Abra el grifo del agua.
- Enchufe la secadora o vuelva a conectar la electricidad como se describe en las Instrucciones de instalacion.
NOTES
NOTES
ManualFacil