7244 062 - Cocina Foster - Manual de uso y guía de instrucciones gratis
Encuentra gratis el manual del aparato 7244 062 Foster en formato PDF.
Questions des utilisateurs sur 7244 062 Foster
0 question sur cet appareil. Repondez a celles que vous connaissez ou posez la votre.
Poser une nouvelle question sur cet appareil
Descarga las instrucciones para tu Cocina en formato PDF gratis! Encuentra tus instrucciones 7244 062 - Foster y toma tu dispositivo electrónico nuevamente en la mano. En esta página están publicados todos los documentos necesarios para el uso de su dispositivo. 7244 062 de la marca Foster.
MANUAL DE USUARIO 7244 062 Foster
manual de instrucciones
gebruikshandleiding
pykoBOdCTBO NO 3KcPnyaTaun
námod k použití
instrukcja obslugi
Su preferencia es para nosotros motivo de orgullo y de satisfacción.
En el presente documento hemos reunido los consejos y las instruccionesURTAS a los cuales podra utiliser de la mejor forma la placacde coocion adquirida y garantizar su mayor conservacion en el tiempo. Le solicitamosfewosminutos de atencion para salvaguardar la eficiencia del producto y asegurar su satisfacion.
Atentamente
Foster spa
Índice

ADVERTENCIAS GENERALES
Los consejos generales para consulting antes de la instalacion y del uso de la plac de cocccion adquirido.
- Advertencias para el uso 79
- Advertencias de seguridad 80
- Advertencias para la eliminacion 80
- Conozca su aparato 81

INSTRUCCIONES PARA EL INSTALADOR
Están destinadas al的技术ico calificado que deben realizar la instalación, lapellaa en serviceo y el control del aparato.
- Antes de la instalacion 82
- Posicjionamento en el plano de trabajo 82
- Fijacion de la placacde coccio al mueble 84
- Conexión de la placá de coccción a la red de gas 87
- Ventilación de los locales 88
- Descarga de los productos de la combustion (aspiracion) 89
- Adaptación a losDistinctostipsode gas 89
- Regulacion del minimum 91
- Conexión electrica de la placá de coccción 91

INSTRUCCIONES PARA EL USUARIO
Indican los consejos de uso, la descripción de los mandos y las correctas operaciones de limpieza y mantenimiento del aparato.
- Uso de la placacde cocción 92
- Limpieza y mantenimiento 95
Sintesis del manual placas de cocci n a gas 215
1. Advertencias para el uso

Este manual es parte integrante del aparato. Esnecessary conservarlo integro y a mano por todo el ciclo de vida de la plaza. Aconsejamos una lecture atenta del documento y de todas lasindicacionescontentidas enel本身就是nantesdeutilizarel aparato.
La instalación deben ser realizada por personal calificado y Respectando las normas vigentes. Este aparato está previsto para un uso de tipo dométrico, y hasido realizado en conformidad con las directivas CEactualmente en vigor: 2009/142/CE (aparatos de gas), 2006/95/CE, 2004/108/CE.

La función para la cuales el aparato ha sido fabricado es: COCCION Y CALENTAMIENTO DE ALIMENTOS; CUALQUIER OTRO USO SE CONSIDERA IMPROPIO.
El fabricante declina cualquier responsabilidad cuando se usa con fines distinctos de los queaquise indican.
- No utilise nunca este aparato para calefactionar ambientes.
No deja los residuos del embalaje sin vigilancia en el ambiente domestico. - Separe losDistinctos materiales de descarte provenrientes del embalaje y entradalos a loscentros de recoleccion diferenciada mas cercanos.

Este aparato está incluido en la directiva europea 2002/96/CE en materia de residuos, de aparatos electricos y electrónicos (waste electrical and electronic equipment - WEEE).Esta directiva define las normas para la recoleccion y el reciclaje de los aparatos fuera de uso, validas en todo el territorio de la Unión Europea.

La plac de identificacion, con los datos tecnicos, numero de matricula y la MARCADA estávisiblemente ubicada bajo de la plac metalica de proteccion [Fig.1].
LA PLACA DE IDENTIFICACION NUNCA DEBE SER RETIRADA.

Fig. 1: direccion de la plac de identificacion
Las conditiones de regulación del aparato está indications en la plac de datos.
2. Advertencias de seguridad

En su propio interes y por su propia seguidad, la ley establece que la instalacion y el mantenimiento de todos los aparatos electricos o a gas Sean efectuados por personal calificado y en el respeto de las normas vigentes y de los requisitos de las entreprises locales que suministran el gas y la energia electrica.
- Los aparatos a gas o electricos deben ser siempre desconnectados por personas competentes.
- El enchufe que se conecta al cable de alimentacion y la toma correspondiente deben ser del mesmo tipo y en conformidad con las normas en vigor.
- La toma deverá ser accesible una vez que el aparato está instalado.
- Nunca intente desenchufar el aparato tirando del cable.
- Es obligatoria la connexion a tierra según las modalidades previstas por las normas de seguridad de la instalación electrica.
No obstruya las aberturas de ventilacion y de eliminacion del calor.

Inmediamente después de la instalación efectue un breve control del aparato siguiendo las instrucciones descriñas más adelante. En caso de fallas de funcionaamiento, desconnecte el aparato de la red electrica y consulte en el centro de asistencia技术水平a más cercano: NUNCA INTENTE REPARAR EL APARATO.
Durante su uso de guantes tírmicos adequados. Este aparato no está destinado a ser usado por personas (inclujo niños) con capacities psíquicas o motrices reduidas, o con falta de experiencia y conocimientos, a menos que una persona responsable por su seguridad las supervise o las instruya acerca del uso del aparato. LOS NÍOS DE-BEN SER SUPERVISADOS PARA GARANTIZAR QUE NO JUEGUEN CON EL APARATO.

El fabricante declina cualquier responsabilidad por daños sufridos por personas y cosas, causados por la falta de cumplimiento de las prescrições aquí indicadas o como consecución de la alteración de una parte del aparato y de la utilización de piezas de repuesto no originales.
3. Advertencias para la eliminacion
CUIDAMOS EL AMBIENTE
Para el embalaje de nuestros productos se utilizes materiales no contaminantes, por lo tanto compatibles
con el ambiente y reciclables. Solicamos su collaboration con el objetivo de eliminar el embalaje cuidadosamente y deforma correcta. Solicite a su revendedor o a las organizationes competentes,information sobre las direcciones de los centres de recoleccion, de reciclaje, de eliminacion.

NO DEJE ABANDONADO EL EMBALAJE O PARTE DEL Mismo. ESTOS PUEDEN REPRESENTAR UN PELIGRO DE SOFOCAMIENTO PARA LOS NINOS, EN PARTICULAR MODE LAS BOLSAS DE PLASTICO.
Tambien con su viejo aparato esnecessaryrealizaruna correctaeliminacion,contribuyendo aevitar consecuencias negativas para el ambiente y la salute,que severificarian enel caso deunaeliminacion inadequada.

IMPORTANTE: este aparato no pueda ser tratado como residuo domístico. Entregue el aparato viejo a laEmpresa de la zona, autorizada a realizar la recoleccion de los electrodomesticos en desuso. Una eliminacion correcta permitte recuperar inteligentemente los materiales valiosos. Esnecessarymente cortar el cable de conexión a la red electrica y retirarlo unto con el enchufe.
4. Conozca su aparato
En la parte final del presente manual, Sintesis del manual plac de cocciña a gas [Pág. 215], se incluyen todos los dibujos relativos a las placas de cocción Foster actualmente en producción.
Le Solicitamos que reconozca el dibujo de la plac de cocccion adquirida por usted, para familiarizarse con las principales caracteristicas tecnicas y functionales.
Por practicidad de businga, las placas de cocción se distinguen en dos macro-familias:
- Placas de coccción con encastre tradicional: "borde 8 mm", "borde Q4" y "borde semifilo";
- Placas de cocccion con encastre al filo: borde "filotop".
El primer grupo independiente del tipo di borde tiene un simple agujero para encastrar tradicional. Las placas de cocccion con borde "filotop"ienen un disen lo precise para permitir la realizacion de un agujero "a medida", eskaar, el perimetro del agujero posee una rebaja necessaria para CONTENER el borde de la placac de coccion de manera que esta resulte al filo" con el plano de trabajo.
En todos los dibujos se.Encuentran presentes losnumeros en correspondencia con los quemadores. Estos numeros identifican el tipo di quemador. Para poder las potencias de los quemadores de la placacde cocciudad por usted, remitase a la lectura de la tabla de las potencias en funcion del tipo de gasutilizzato [Pag.215].
5. Antes de la instalación

No deje los residuos del embalaje sin vigilancia en el ambiente domestico. Separe losDistinctos materiales de descarte del embalaje y depositelos en el centro de recoleccion diferenciada mas cercano.
Con el objetivo de remover todos los residuos de fabricacion, se aconseja limpiar el aparato.
Para mayores informaciones sobre la limpieza vea el Capitulo 15 [Pag. 95].
6. Posicionamento en el plano de trabajo
Este placacocciptionempotradaesdeclase3.

Las intervenciones siguientes exigen un trabajo de albañilería y/o de carpintería y deben ser realizadas por lo tanto por un的技术e competente. La instalación se pueda realizar sobre materiales distinctos, vampostería, metal, madera maciza y madera revestida de laminados plásticos, siempre que Sean resistentes al calor (T 100^ ).
6.1 Instalación a la estrutura de sostén (plano de trabajo) de una plaza de coccción de encastre tradicional (borde 8 mm, borde Q4, borde semifilo)

Realice una aperture en el plano de trabajo del mueble con las dimensiones y en la posicion indicadas y representadas en el dibujo [Fig. 2].
Las dimensiones del agujero para encastrar estaras descritas en la seccion Sintesis del manual plac de coccioca gas - modelos con encastre tradicao [Pag.215],encorrespondencia con el dibujo de la plac de coccioca adequirida por usted.

Fig. 2: realización del agujero para encasar

- La distancia de la placá de coccción desde el borde posterior debe ser de 50~mm como minimo;
- La distancia de la placía de coccción desde las paredes que superan enaltura el plano de trabajo debe ser de 100mm comominimo;
- Cuando se instale una campana sobre la superficie de cocción, consulte las instrucciones de montaje de la campana, en las que figuran la distancia correcta que se debe respetar.

Fig. 3: distancias de la plaza de cocccion

- Posicionc cuidadosamente el burlete aislante suministrado, sobre el perimetro externo del agujero realizado en el plano de trabajo, tratando de adherirlo sobre toda la superficie con una leve presion de las manos [Fig. 4].
- Una vez realizadas estas operaciones, utilise las abrazaderas de sujeción suministradas para fjjar la placà a laestructura.Consulte el apartado "Fijación de la placá de coccción al mueble" [Pág. 84].

Fig. 4: ubicación del burlete aislante
6.2 Instalación en la estrutura de sostén (plano de trabajo) de una plaza de coccción con encastre al filo (borde filotop)

Este tipo de aparato necesita una rebaja sobre el plano de trabajo de 1,5 mm de profundidad cuyas medidas se indican en el dibujo de la placar identificable en la seccion Sintesis del manual Placas de cocciudad a gas - modelos con encastre al "filo" [Pag. 215]. La rebaja es necessitiesa para CONTENER el borde de la placar de cocciudad deforma que esta resulte "al filo" con el plano de trabajo.

Limpiesciousamente la rebaja.
- Antes de ubicar la placas es necessario extender sobre toda la superficie de la rebaja el burlete aislante que se suministra [Fig. 5].
- Una vez realizadas estas operaciones, utilise las abrazaderas de sujeccion suministradas para fazer la placaa la estructura.Consulte el apartado "Fijacion de la placae de coccional mueble" [Pag.84].

Fig. 5: ubicación del burletaislante

Entre las dimensiones externas de la bandeja de acero inoxidable y las dimensiones internas de la rebaja se preve una luz constante de minimum 0,5 mm que deben ser Respectada durante el montaje. Las temperatas que se alcanzan durante la realizacion de la placac de cocccion inducen sobre la bandeja de acero inoxidable un leve alargamento y por lo tanto la luz prevista evita eventuales interferencias. En lo que respects a lozano de trabajo de la cucina, las temperatas inducidas desdela placac de cocccion-ya sea en la seccion como sobre el plano de contacto -son moderadas. Se aconseja montar las placas de cocccion con borde filotop sobre materiales Completely hidrofugos.
7. Fijación del plano de coccción al mueble

Fijar los ganchos suministrados sobre las abrazaderas de sujeccion bajo del aparato como se ilustra a continuacion. Los ganchos suministrados permiten la fijacion a planos de trabajo con un espesor comprenderdo entre los 30 y los 40mm

IMPORTANT:
- Para la fijación de este producto a la estructura de sostén, se aconseja no utilizez atornilladores mecánicos o electricos y ejercitar una presión manual moderada sobre los elementos de*fijación.
- El plano ubicado bajo del aparato debe encontrarse a por lo menos 5 mm desde el fondo del本身就是 y deben poseer una aperture de pasaje para los conductos del gas y electricos de 50 × 50 mm como minimum.
- Si este producto se instalala encima de unorno, este debe poseer un ventilador de enfiambre.
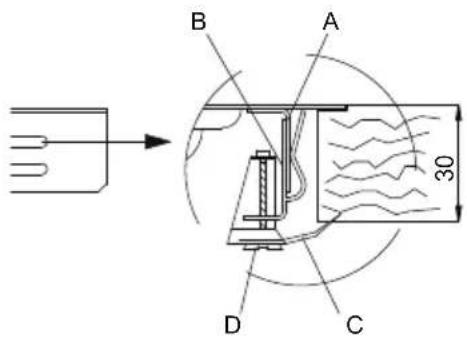
7.1 Ganchos fijos
Permiten la fijacion de placas de coccion con mensulitas de fijacion ubicadas en+puntos fieos.


Borde estandar (8 mm)



Borde Q4 (4 mm)



Borde semifilo (3 mm)



Borde filotop



Encastre el gancho B en la mensulita A fija da sobre el plano, cuidando de sujetarla en los agujeros adecuados en referencia del espesor del plano de trabajo (con un espesor de 30~mm ,sujete el gancho en el agujero superior de la mensulita; con un espesor de 40~mm ,sujete el gancho en el agujero inferior de la mensulita).
Gire la lengüeta C hasta posicionarla bajo del plano, a continuación ajuste el tornillo D.


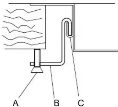
7.2 Ganchos corredizos
Permiten la fijación dePlaces de coccción sin punto de fijación preparados.


Borde estándar (8 mm)



Borde filotop - Q4 (sólo para la série S4000)

Introduzca el gancho B en la guia corrediza C.
Bloquee manualmente el gancho mediente el tornillo A.
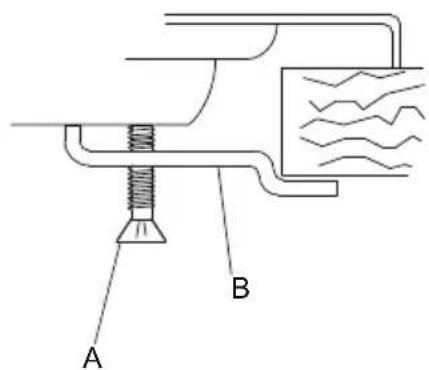
7.3 Abrazaderas fijas
Permiten la fijación dePlaces de coccción sin punto de fijación preparados.


Borde estandar (8 mm)


Introduzca la abrazadora B en la sede correspondiente de la placa. Bloquee manualmente la abrazadora mediante el tornillo A.
8. Conexión de la placá de coccción a la red de gas

Es Neededo que la instalacion de gas se ajuste a las normas locales en vigor.
Es necessario verificar que las conditiones locales de distribución (naturaleza y presión del gas) y el tipo de regulación del aparato sean compatibles.
IMPORTANTE: Si el aparato se instala sobre unorno es besoino evaporar que el tubo de gas pase por detrás del hora con el objetivo de prevenir sobrecalentimientos.

La connexion a la red de gas peut de ser efectuada con un tubo rigido de cobre o con un tubo flexible de acero a la pared continua y respetando las prescripiones existables por la norma en vigor [Fig. 6]. En todos los casos cada tubo que se connecta a la red de gas deben poseer una llave de paso de seguridad.

Fig. 6: conexión a la red de gas

IMPORTANTE: Interponer siempre la junta entre la connexion presente en la placá y el tubo de connexion.

- Si se utilizes un tubo flexible de acero inoxidable, este deben ser instalado de manière tal que no pueda entrada en contacto con una parte del mueble, sino que pase por un punto libre de obstáculos y pueda ser inspeccionado a todo lo large. El tubo flexible deben tener un长大o inferior a los 2 metros de extensionación Tmaxima.
- La connexion al gas es del tipo roscada 1/2 gas ISO R7 cónica.

Luego de haber connectado el aparato a la red del gas verifique siempre la estanquidad de las conexiones realizando una solución jabonosa.
ESTÁ ABSOLUTAMENTE PROHIBIDO VERIFICAR LA ESTANQUIDAD UTILIZANDO LLAMA LIBRE.

La plac de cocción está controlada con gas metano G20 (2H) con una presión de 20 mbar. Para la alimentación con otros temas de gas, consulte la tabla Adaptación a losDistinctos temas de gas [Pag.89].
8.1 Conexión a gasístico

Utilice un regulator de presión y realize la connexion sobre la bombona suguiendo las prescrições existecidas por las normas vigentes.
Asegúrese que la presión de alimentación respeze los values indicados en la tabla Adaptación a losDistinctostipsde gas [Pág.89].Tambien en este caso la connexiondebeserefectuadaconun tubo rígode cobre o conun tuboflexiblede aceroa laparedcontinua.
9. Ventilación de los locales

IMPORTANTE: El aparato debe ser instalado solo en locales permanenteventilados, como se prevé en las normas en vigor.
10. Descarga de los productos de la combustión (aspiración)

Este aparato no está connectado a un sistema de evacuación de los productos de la combustión. Se debe instalar Respectando las normas en vigor. Preste una atencion especial a los requisitos sobre la ventilacion.

La descarga de los productos de la combustion debe ser asegurada mediante campanas connectadas a una chimenea con tiraje natural de segura eficiencia o mediante aspiracion forzada.
Un sistema eficiente de aspiracion requiere un cuidadoso diseño por parte de un especialista habilido para realizarlo, respetando las posiciones y las distacias indicadas por las normas.

IMPORTANTE: A conclusión de la intervención, el instalador deben encontrar el certificado de conformidad.
11. Adaptación a losDistinctostips de gas
| Tipode gas | Quemador | Potencia nominal(KW) | Consumo nominal(g/h) | Inyector(ø mm) | Potencia nominal min.(KW) | ||
| Serie N. Ref | |||||||
| GAS GPLG30/G31 28-30/37 mbar | II | 2 Auxiliar 1,00 73 0,50 0,52 | |||||
| 3 Semirrápido 1,75 127 0,65 0,52 | |||||||
| 4 Rápido 2,70 196 0,80 0,90 | |||||||
| 5 Triple corona | 3,50 254 0,95 1,80 | ||||||
| 10 Dual | 4,50 | 328 | 0,46 / 0,66 | i 0,30 / 1,40 | |||
| III | 6 Auxiliar 1,10 80 0,52 | ||||||
| 7 Semirrápido 1,75 127 0,65 0,52 | |||||||
| 8 Rápido 3,00 218 0,85 0,90 | |||||||
| 9 Triple corona | 3,80 276 0,98 1,80 | ||||||
| AE | 11 Auxiliar 1,00 73 0,50 0,52 | ||||||
| 12 Semirrápido 1,75 127 0,65 0,52 | |||||||
| 13 Rápido 3,00 218 0,85 0,90 | |||||||
| 14 Doble corona | 5,00 | 364 | 0,46 / 0,95 | i 0,40 / 1,70 | |||
| GAS METANO G20 20 mbar | II | 2 Auxiliar 1,00 95 0,72 0,52 | |||||
| 3 Semirrápido 1,75 167 0,97 0,52 | |||||||
| 4 Rápido 2,70 257 1,08 0,90 | |||||||
| 5 Triple corona 3,50 333 1,35 1,80 | |||||||
| 10 Dual 4,50 429 0,72 / 1,02 | i 0,30 / 1,40 | ||||||
| III | 6 Auxiliar 1,10 105 0,73 0,52 | ||||||
| 7 Semirrápido 1,75 167 0,98 0,52 | |||||||
| 8 Rápido 3,00 285 1,26 0,90 | |||||||
| 9 Triple corona 3,80 362 1,35 1,80 | |||||||
| AE | 11 Auxiliar 1,00 95 0,72 0,52 | ||||||
| 12 Semirrápido 1,75 167 0,97 0,52 | |||||||
| 13 Rápido 3,00 285 1,32 0,90 | |||||||
| 14 Doble corona 5,00 476 0,75 / 1,51 | i 0,40 / 1,70 | ||||||

La plac de coccción está controlada con gas metano G20 (2H) con una presión de 20 mbar. En el caso de configuracion con otros temas de gas es Neededo sustituir las boquillas sobre los quemadores y regular la llama minima en las llaves de gas. Para la sutitudon de las boquillas, es neededo proceder como se describe en los apartados siguientes.
11.1 Sustitución boquillas de la plac de cocción

IMPORTANTE: Antes de realizar las siguientes operaciones asegúrese siempre que el aparato está disconectado de la red electrica.

- Extraiga las parrillas de apoyo, retire todas las tapas y las bases de los quemadores.
- Con una llave de tubo de 7 mm desatornille las boquillas de los quemadores [Fig. 7].
- Proceda a la sustitución de las boquillas según el gas que se deba utiliser (tabla “Adaptación a los distinctostipsodegas” [Pag.89]).
- Ubique correctamente los quemadores en los lugares adecuados.

Fig. 7: sustitución de las boquillas

IMPORTANTE: Luego de la regulación con un gasdistinct del original verificado, sustituya la etiqueta puesta en la plac de proteccion del aparato con una correspondiente al nuevo gas.
12. Regulación del minimum

Instrucciones para gas ciudad y metano
- Encienda el quemador y llévelo a la posición minima.
- Extraiga la manilla de mando de la llave del gas y ajuste el tornillo de regulacion [Fig. 8] que se eyecharra en el interior o al lado de la varilla de la llave (según los modelos) hasta Obtener una llama minima regular. Si incluye llave del gas de 2 vias [Fig. 12-13] hay 2 tornillos de regulacion del nivel minimumo.
- Monte-Newamente la manilla y verifique la estabilidad de la llama del quermedor (girando rápidamente la manilla desde el máximo al minimumla llama noDebeapagarse).
- Repetir la operation en todas las llaves de gas.

Fig. 8: regulación del minimo

Instrucciones para gas liquido (GPL)
Atornille Completely en sentido de las agujas del reloj el tornillo alojado en el interior o al lado de la varilla de la llave (según los modelos).
13. Conexión electrica de la plac de coccción

IMPORTANT: Antes de realizar las siguientes operaciones asegúrese siempre que el voltaje y el dimensionamento de la linea de alimentación correspondan a las caractéristicas indicadas en la placña puesta bajo de la placña metálica del aparato.Esta placña nunca debe ser retirada.

Es obligatoria la connexion a tierra según las modalidades previstas por las normas de seguridad de la instalación electrica.
- Para la connexion directa a la red, esnecessary prever un dispositivo que garantice la desconexión de la red, con una distancia de aperture de los contactos que permita la desconexión completa en las conditiones de la categoria de sobretension III, según las reglas de instalación.
- Si se utilizes una connexion con enchufe y toma, verifique que这些东西 Sean del mismo tipo. Evite la utilizacion de reducciones, adaptadores o derivadores que podrieran provocar calentimiento o quemaduras.

IMPORTANTE: El fabricante declina cualquier responsabilidad por danios sufridos por personas y cosas, causados por la falta de cumplimiento de las prescririentes ahora indicadas o como consecuencia de la alteracion de una parte del aparato.

En caso de sustitución del cable de alimentacion, se deberá utiliser un cable de tipo H05RR-F de seccion 3 × 0,75 ~mm^2 .



marrón

azul

amarillo-verde
14. Uso de la placá de coccción
14.1 Encendido de los quemadores

Antes de encender los quemadores de la plac asegürese que las coronas estén montadas de manière correcta y bien direccion, con las respectivas tapas.




Fig. 9: posicón de las coronas

En algunos placas de cocción han sido montados quemadores nuevos denominados "III série". El sistemas bloqueante entre la tapa (B) y la corona (A) garantiza un positional perfecto y gran praticidad en la limpieza.

Fig. 10: direccionamento del quemador III series
La tapa superior (B) de los quemadores debe ser colocada en la posicion correcta con dos muescas de insertion en correspondencia de los dos cilindros ubicados bajo (C) y atornillada en el sentido de las agujas del reloj.

En correspondencia con cada manilla está indicado el quemador asociado. El aparato posee un dispositivo de encendido electrico. Es suficiente presionar y girar en sentido contrario a las agujas del reloj la manilla sobre el símbolo de llama Tmaxima, hasta queonga lugar el encendido. Si no se enciende durante los primeros 15 segundos, lleve la manilla a [chiuso] (cerrado) y no intente encenderlo nuevomente por 60segundos.
Cuando el encendido haya tenido lugar, mantenga presionada la manilla por algunos segundos para permitirle al termopar calentarse. Puede succeeder que los quemadores se apaguen en el momento de liberar la manilla: significa que el termopar no se calento suficientmente. Espereunos instantes y repita la operationMainteniendo presionada la manilla por más tiempo. Una vez encendido el quemador se pueda regular la llama según las necessities.

Al finalizar cada uso de la plac, verifique siempre que las manillas de mando se enquiryr en posicjion chiuso] (cerrado).
Si los quemadores se apagan en accidentalmente, bajo de un intervalo de aproximadamente 20 seguidos intervendra un dispositivo de seguridad para blocar la calidad de gas, inclusive con la llave abierta. En este caso lleve la manilla a la posicion de [chiuso] (cerrado) y no intente encender el quemador por al menos 60seguidos.

Fig. 11: manilla quemador estandar

Fig. 12: manilla quemador dual (S4000) / doble corona

Fig. 13: manilla quemador dual (GIOTTO/VULCANO)
14.2 Consejos practicos para el uso de los quemadores

Para un mejor rendimiento de los quemadores y un consumo minimo de gas esnecessaryusarrecipientes con fondoplanoyregular,provistosde tapayproportionadosal tamanodelquemador, conelobjecto deevitarque la llama entre encontactoconlosladosdel os mismos (vea apartado“Diametro dellosrecipientes” [Pag.94]).Cuandoselegueal puntodeebullicionreduzca la llama lo suficientepara impedirel derramamento delliquido.

Fig. 14: uso de los recipientes

Durante la cocción, inclusive paraatarqumaduras o daños a la placarol calor excessivo, todos los recipientes o las planchas deben tener medidas que no superen aquellas indicadas en el apartado "Diámetro de los recipientes" [Pag. 94]). No caliente ollas o sartenés vacías, ya que podrán sobrecalentarse.

Utilizando grasas o aceites, preste la maxima atencion ya que这些东西, recalentandose, pueda arder. Si una olla con grasas o aceite arde, no le vuelque encima agua porque podra causar quemaduras; apague el fuego cubriendo la olla con un trapo mojado y desconnecte el aparato de la red electrica.
14.3 Diámetro de los recipientes
- Quemador auxiliar: de 6 a 14 cm
- Quemador semirápido: de 15 a 20 cm
- Quemador rápidó de 21 a 26 cm
- Quemador doble corona, triple corona, dual de 24 a 28 cm

Durante el funciona, la plac de cocción genera calor y humedad en la habitacióndonde está instalada. Asegúrese que la cucina está bien ventilada. La realizacion prolongada del aparato con algunos o todos los quemadores peuvent requisir una ventilación complementaria como la aperture de una ventilana y/o una mayor potencia de aspiración por parte de la campana extractor.
15. Limpieza y mantenimiento

No utilise un chorro de vapor para limpiar el aparato.
Antes de cada intervencion es Neededo desenchufar la alimentacion eletrica al aparato.
Evite dejar sobre el acero, sobre las parrillas y sobre otheras partes del aparato, sustancias acidas o alcalinas (vinagre, jugo de limon, sal, jugo de tomate,...)
15.1 Limpieza del acero inoxidable
Para una buena conservacion del acero inoxidable esnecessary limpiarlo regularmente al finalizar cada uso, bajo de haberlodeojadoenfriar.
15.1.1 Limpieza ordinaria diaria
Para limpiar y conservar las superficies de acero inoxidable use solo productosesionicos que no contengan abrasivos o sustancias acidas a base de cloro.
Modo de uso: Vierta el producto sobre un paño humedo y páseo por la superficie. Para finalizar quite el producto con un paño humedo limpio.
15.1.2 Manchas de alimentos o residuos

Evite siempre el uso de esponjas metálicas y raspadores cortantes para no darar las superficies. Use los productos normales para acero, no abrasivos, utilizing eventualmente utensilios de materia o material plástico. Enjuague cuidadosamente y seque con un paño suave o con una gamuza.
Como producto para la limpieza del acero se aconseja Foster Steel Clean; para informaciones sobre su localizacion dirijase al centro de asistencia技术水平.
No utilise detergentes químicos como spray paraorno o quitamanchas.
15.2 Limpieza de los componentes de gas
Las parrillas, las tapas, las coronas, se extraen para poder la limpieza: se lavan con agua caliente y detergente no abrasivo teniendo cuidado de retiringrialocrustacion y secandolos inmediamente con un paño. Monte-Newamente las tapas sobre las correspondientes coronas. Los componentes defundacion, como las parrillas y los quemadores, no debenponerse en el lavavajilla.
Para un buena funciona y es como lo que el termopar decide estar bien limpios. Contróleos frecuentemente y si esnecessary limpielos con un paño humedo y bajo sequelos. Eventuales residuos secs deben ser退还 con una varillita de madera o con una agua.
Limpie regularmente las tapas y las coronas de los quemadores al final de cada uso. Para eliminar la suciedad más fácil de quitar y para el pulido del quemador, use crema Foster Steel Clean con un paño de microfibra a lo largo de la direction del acabado.
15.3 Limpieza de las bandejas esmaltadas
Para una buena conservacion de la bandeja esmaltada esnecessary limpiarla regularmente al final de cada uso, bajo de haberla dejo.
Para limpiar y conservar el esmalte use siempre un paño en microfibra humedecido y con jabón neutro.
No use products que contenga abrasivos o sustancias acidas a base de cloro.
Evite sempre el uso de esponjas metálicas y raspadores cortantes para no darar las superficies.
15.4 Limpieza de los mandos
Hay que limpiar los mandos con un paño suave, humedecido con agua tibia y secarlos bien.
Para poder la limpieza se pueda extraer los mandos tirandolos hacer arriba.
No use productos agresivos que contenga alcohol, cloruros o productos abrasivos.
15.5 Serigrafía de las bandejas
Preste especial atencion a no使用者 producto abrasivo o quimico encima de la serigrafia de la bandeja. Use solo un pano de microfibra humedecido.

Foster S.P.A. no responde por las posibles inexactitudes imputables a erros de impresion o de trascrip-. cion, contentados en el presente folleto. Se reserva el decrecho de aportar a sus produits modificaciones que considere necessities o utiles, incluso en el interes de los.usquarios, sin prejuzgar lascharacteristicas de funcionalidad y seguidad.
Geache klant,
6. Posicionamento no plano de trabajo (top)
Esteplano decozedura encastrado pertencea classe3.


Fig. 3: Distáncias da placá de cozimento

15.3 Limpeza das plataformas esmaltadas
Sintesis del manual placas de cocción a gas
| Leyenda | ||
| Serie N. Quemador Potencia (W) | ||
| 1 Manilla de mando | ||
| II | 2 Auxiliar 1.000 | |
| 3 Semirrápido 1.750 | ||
| 4 Rápido 2.700 | ||
| 5 Triple corona 3.500 | ||
| 10 Dual 4.500 | ||
| III | 6 Auxiliar 1.100 | |
| 7 Semirrápido 1.750 | ||
| 8 Rápido 3.000 | ||
| 9 Triple corona 3.800 | ||
| AE | 11 Auxiliar 1.000 | |
| 12 Semirrápido 1.750 | ||
| 13 Rápido 3.000 | ||
| 14 Doble corona 5.000 | ||
| Tipo de borde |
| Borde estándar (8 mm) STD |
| Borde Q4 (4 mm) Q4 |
| Borde semifilo (3 mm) SF |
| Borde filotop FT |

Referencia a los métodos de medicación y de calculo usados para establecer la conformidad con disrespect a los limites de prestación de eficiencia energetica
La eficiencia energetica de la placac de coccion de gas para uso domestico se calcula en base al relogamento UE n. 66/2014: los values para cada quemador se determinan mediante la prueba establecida por la norma EN 30-2-1. Se excluyen los quemadores auxiliares, porque tiene una potencia nominal inferior a 1,16 kW.
ManualFácil