7244 062 - Fogão Foster - Manual de utilização gratuito
Encontre gratuitamente o manual do aparelho 7244 062 Foster em formato PDF.
Questions des utilisateurs sur 7244 062 Foster
0 question sur cet appareil. Repondez a celles que vous connaissez ou posez la votre.
Poser une nouvelle question sur cet appareil
Baixe as instruções para o seu Fogão em formato PDF gratuitamente! Encontre o seu manual 7244 062 - Foster e retome o controlo do seu dispositivo eletrónico. Nesta página estão publicados todos os documentos necessários para a utilização do seu dispositivo. 7244 062 da marca Foster.
MANUAL DE UTILIZADOR 7244 062 Foster
manual de instruções
prirucnik s uputama
Italiano 2
English 21
Francais 40
Deutsch 59
Espanol 78
Nederlands 97
Pycckn 116
Cesky 136
Polski 155
Portugues 174
Hrvatski 193
Schweizerische vorschriften / Prescriptions suisses / Specifiche svizzere 240
Foster
Gentile Cliente,
Agradecemos por ter escolhido una plaza de cozimento Foster.
A sua preferência é, para nos, motivo de orgulho e satisfação.
Gracias aos conselhos e às instruções que se encontrar no presente documento é posível usar a placar de cozimento adquirida da melhor maneira possível e garantir a sua melhor conservação, como o decorrer do tempo. Pedimos poucos minutos de atençao para tutelar a eficiência do produits e a sua satisfação.
Cordiais saudaoes,
Foster spa
Índice

ADVERTÉNCIAS GERAIS
Conselhos gerais a consulutar antes da instalação e do uso da placar de cozimento adequira.
- Advertências para o uso 175
- Advertências para a segurarça 176
- Advertências para a eliminação 176
- Conheça o seu aparecido 177

INSTRUÇÉS PARA O INSTALADOR
São destinadas ao técnico qualificado que deve efetuar a instalação, ativação e o teste do aparelho.
- Antes da instalacao 178
- Posicjomento no plano de trabajo (top) 178
- Fixao da placacdecozimento ao molevel 180
- Ligação da placá de cozimento à rede do gás 183
- Ventilação dos locais 184
- Descarga dos produits de combustao (aspiracao) 185
- Adaptação aos diversos temas de gas 185
- RegULA o do minimo 187
- Ligação eletrica da placac de cozimento 187

INSTRUÇÉS PARA O USUÁRIO
Indicam conselhos de uso, a descricao dos comandos e as corretas operacoes de limpeza e manutenao do aparelho.
- Uso da placac de cozimento 188
- Limpeza e manutenção 191
Resumo das placas de cozimento a gás 217
1. Advertências para o uso

Este manual é parte integrante do aparelho. É necessário conservá-lo integro e à disposicao por toda a vidautil da plac. Aconselhamos ler atenciosamente este documento e todas as indications nele contidas antes de utilizes o aparelho.
A instalação deve ser efetuada por pessoas qualificadas respeitando as normas em vigor. Este aparecido é precedo para o uso domestico e está em conformidade com as diretivas CE atualmente em vigor: 2009/142/CE (aparelhos a gás), 2006/95/CE, 2004/108/CE.

O aparecido foi projetado para desenvolver a segunte funcção: COZIMENTO E AQUECIMENTO DE ALIMENTOS. QUALQUER OUTRTO TIPO DE USO É CONSIDERADO IMPROPrio.
O fabricante declina qualquer tipo de responsabilitadpe por usos diversos dos que foram indicados.
- Nunca utiliser este aparelho para o aquecimiento de ambientes.
- NãoDEXIAR RESIDUOS DE embalagem sem vigilência no ambiente dométrico.
- Separar os various materiais de eliminação, provenrientes da embalagem, e entrega-os ao centro de recolhimento diferenciado maisproximo.

Este aparelho está identificado com a marca para aparelhos electrolycos e eletronicos (waste electrical and electronic equipment - WEEE) nos termos da diretiva europeia 2002/96/CE sobre os detritos.Esta diretiva define as normas para o recolhimento e a reciclagem de aparelhos não mais realizados para todo o territorio da Uniao Europeia.

A plac de identificacao, com os dados tecnicos, numero de inscricao e a markao, está visivelmente posicao da embaixo do carter (Fig. 1).
A PLACA DE IDENTIFICacao DO APARELHO NUNCA DEVE SER REMOVIDA.

Fig. 1: Posicaoamento da placar de identificacao
As condições de regulação do aparecido está指示ando na place de dados.
2. Advertências para a segurarça

Para o seu interesse e segurar, é estabelecido por lei que a instalação e a assistência de todos os apareirosétricos ou a gás sejam efetuadas por pessoas qualificadas, respeitando as normas em vigor e os requisitos das entreprises locais distribuidoras de gás e de energiaétrica.
Os aparehos a gás ou electrolycos devem ser desconnectados por pessoas提供优质as.
- A tomada e a respectiva ficha para conectar o cabo de alimentacao devem ser do mesmo tipo e em conformidade com as normas em vigor.
- A tomada deve ser acessivel para o aparecido embutido.
- Nunca destacar a ficha puxando o cabo.
- É obligatório ligar à terra, de acordo com as modalidades previstas pelas normas de segurarça doSYSTEMA elétrico.
- Não obtruír as aberturas ou fissuras de ventilação e de eliminação de calor.

Logo après a instalação efetuar um teste breve do aparelho, seguido as instruções descritas a seguir. Se o aparelho não funciona, desconectá-lo da redeétrica e dirigir-se ao centro de assistência técnica mais proxies: NUNCA TENTAR CONSERTAR O APARELHO.
O aparecido torna-se muito quente durante a utilização. É aconselhavel utilizes luvas termicas espécicas para efetuar qualquer tipo de operação. Este aparecido não está destinado para o uso por parte de pessoas (incluindo crianças) com reduzidas capacidades psíquicas ou motoras, ou sem experiência ou conheçimento, exceto sob a supervisão ou instrução sobre o uso do aparecido por parte de uma pessoa responsavel pela sua segança. AS CRIANÇAS DEVÉM SER VIGIADAS NO SENTIDO DE ASSEGURAR QUE NÃO BRINQUEM COM O APARELHO.

O fabricante declina qualquer tipo de responsabilitadepor danos as pessoas e ou objetos decorrentes da inobservancia das prescriçõesmentionadas ou de eventuais violacoes,masmoque sera de una so parte do aparelho,e do uso de peças de troca não originais.
3. Advertências para a eliminação
NOSSO CUIDADO PARA COM O AMBIENTE
Para a embalagem de todos os produits são realizados materiais não poluentes, compatíveis com o
ambiente e reciclaveis. Pedimos gentilmente a的合作ação para que está feito a eliminação correta da embalagem. O seu revendedor, ou osentes elesicos, de zona pode Offerecer as informações necessarias sobre os centros de recolhimento, reciclagem e eliminação e seu respectivos endereços.

NÃO ABANDONAR A EMBALAGEM, OU PARTES DELA, SEM VIGILANCA, POIS PODEM REPRESENTAR UM PERIGO DE SUFOCAMENTO PARA AS CRIANÇAS, ESPECIALMENTE OS SACOS PLASTICOS.
É necessário efetuar a correta eliminação de seu aparecido antigo para que não fazer acontecções negativas para o ambiente e a Saúde, ou que pode acontecer em caso de eliminação inadequada.

IMPORTANTE: Este aparecido não pode ser tratado como detrito dométrico. Entregar o aparecido antigo na Empresa de zona, autorizada para o recolhimento dos eletrodométricos em desuso. A eliminação correta permit a recuperação inteligente de materiais valiosos. É necessárioURTAR o cabo de ligaçao à rede elétrica e remove-lo jusqu'à ficha.
4. Conheça o seu aparelho
Na parte final do presente manual, "Resumo dasplacedescozimentoagás" (pag. 217), encontrar-se todos os desenhos relacionados com os planos de cozimento Foster atualmente em producao.
Pedimos que identifique o deseno da plac de cozimento adquirida para familiarizar-se com as principais caracteristicas的技术ico-functionais.
Para poder a pesquisa, as partes de cozimento diferenciam-se em bois grandes-grupos:
- Placas de cozimento de encaixe tradicional: "borda 8 mm", "borda Q4" e "borda semirente";
- Placas de cozimento de encaixe rente: borda "rente ao top".
OPrimeiroGrupo, independente do tipo de borda, possui um simples furo para encaixe tradicional. As placas de cozimento com borda "rente ao top" tem um desenso mais detalhado que permite realizar o furo "sob medida", ou seja, com a escala necessaria para alojar a borda de cozimento para que esteja rente com o plano de trabalho.
Em todos os desenhos encontrar-se números que se correspondem com os queimadores. Estes números identificam o tipo de queimador. Para conhecer a potência dos queimadores da placá de cozimento a gás adquirida consulçar a respectiva tabela, de acordo com o tipo de gásutilizzato (pág. 217).
5. Antes da instalacao

Nãodeerarresiduoadembalagemsem vigilancia no ambientedomestico.Separar osvariosmateriaisdeeliminaçãodaembalagemeentropyá-losao centro de recolhimento diferenciado maisproximo.
Para remover todos os resíduos de fabricação é aconselhável limpar o aparelho.
Para ulteriores informacoes sobre a limpeza consultar o Capitulo 15 (pag. 191).
As operações descritas a seguir Solicitam tratabhos de alvenaria e ou marcenaria e vem ser efetuados por uma pessoa especializada. A instalação é realizada em diversos materiais, como, por exemplo, alvenaria, metal, madeira bruta e Madeira revestida por laminados plácicos desde que sejam resistentes ao calor (T 100^)
6.1 Instalação na estrutura de sustentação (plano de trabalho) de umaplaça de cozimento embutida tradicional (borda 8 mm, borda Q4, borda semi-rente)

Efetuar una abertura no plano top do molevel com as dimensoes e no posicionamento indicados a seguir, representados na ilustracao (Fig. 2).
As dimensoes do furo de embutir encontram-se na secao "Resumo das placas de cozimento a gás - modelos com encaixe internacional" (pag. 217), em correspondência com o desinho da placadecozimento adequira.

Fig.2:Realização do furo para embutir

- A distência da placá de cozimento da borda posterior deve ser de, pelo menos, 50 mm;
- A distência da placá das paredes, que superam a placá de cozimento em alta, delve ser de aproximately 100 mm;
- Caso seja instalada uma coifa sobre o plano de cozimento, consulutar as instruções de montagem da coífa nas quando está referida a distência corrente a ser respeitada.
- Posicionar cuidadosamente a guar-nião isolante fornecida de série no perimetro externo do furo efetuado no plano do topo e ader-la em toda a sua superficie, pressionando-a leve-mente com as mãos (Fig. 4).
Depois de efetuar estas operacoes, utilizes os suportes fornecidos de sétrie para fixar a superficie à estrutura. Referir-se ao paragrafo "Fixação dapla de cozimento ao molevel" (pag. 180).

Fig. 4: Posicionamento da guarência isolante
6.2 Instalação da placá de cozimento com encaixe rente (borda Rente ao top) na estrutura de sustentação (plano de trabalho)

Este tipo de aparecido necessita de fresagem no plano de trabalho com 1,5 mm de profundidade, cujas medidas são indicadas no desinho do plano que pode ser identificado na secção Resumo dasplacedascozimentoagás-modelos "rentes"de embutir (pag.217).A escalae necessaria para alojar a borda daplaça de cozimento para que esteja rende ao plano de lavoro.

- Limpar cuidadosamente a fresagem.
- Antes de posicionar a plac distender a guarriçao de vedação fornecida de série em toda a superficie da freesagem (Fig. 5).
Depois de efetuar estas operacoes, utilizes os suportes fornecidos de sétrie para fixar a superficie à estrutura. Referir-se ao paragrafo "Fixação da placá de cozimento ao molevel" (pág. 217).

Fig. 5: Posicionamento da guarência isolante

Entre as dimensoes externas da superficie de inox e as internas do rebaixamento é prevista uma luz constante de 0,5 mm, pelo menos, que deve ser respeitada durante a montagem. As temperatas que são geradas durante a utilização da placac de cozimento induzem a superficie de inox a um levissimo alongamento e, portanto, a luz prevista permite evaporar eventuais interferências. No tocante ao plano de trabalho da cozinha, as temperatas induzidas da placac de cozimento - tanto na secção quando na superficie de contacto - são muito reduzidas. Aconselha-se vivamente montar as placas de cozimento com borda rente ao top em materiais absolutamente hidrorrepellentes.
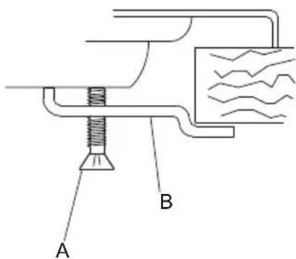
7. Fixação da placá de cozimento ao|móvel

Fixar os ganchos fornecidos de série aos suportes do aparecido, como ilustrado a seguir. Os ganchos fornecidos de série permitem a fixação do top com values de espessura entre 30 e 40 mm.

IMPORTANT:
- Para a fixação deste produits à estrutura de sustentarção é aconselhável não utilizear aparafusadores mecânicos ouétricos e exercer pressão moderada a maior nos orgões de fixação.
- A superficie adjoininge ao aparelho deve estar ha 5 milimetros,elo menos,do seuundo e deve haber una abertura de passagem para as conducas do gaseleétricas de,aproximamente, 50 × 50 mm .
- Se este produit for instalado sobre umorno, esteultimate deve ser dotado de ventilador de arrefecimento.
7.1 Ganchos fixos
Permitem a fixação de planos de cozimento com suportes de fixação localizados em pontos fixos.


Borda padrão (8 mm)



Borda Q4 (4 mm)



Borda semi-rente (3 mm)



Bordarenteao top



Encaixar o gancho B no suporte A soldado na paca, com o cuidado de bloqueá-lo nos respectivos furos feitos de série, na espessura do top (para tops com 30 mm de espessura bloquear o gancho no furo mais alto do suporte e para tops com 40 mm de espessura bloquear o gancho no furo mais baixo).
Girar a lingueta C até posicioná-la embaixo do top e aparafusar o parafuso D.


7.2 Ganchos deslizantes
Permitem a fixação dasplacedocozimento sem pontos predispostos defixação.


Borda padrão (8 mm)

Bordarenteao top-Q4 (somenteparaaserieS4000)
Inserir o gancho B na guia deslizante C.
Bloquear manualmente o gancho através do parafuso A.
7.3 Suportes fixos
Permitem a fixação deplaces de cozimento em pontos predispostos de fixação.


Borda padrão (8 mm)

Inserir o suporte B no respectivo alojamento da plac. Bloquear manualmente o suporte atraves do parafuso A.
8. Ligação da placá de cozimento à rede do gás

É necessário que o Sistema de alimentação a gás esteja em conformidade com as normas locais em vigor.
É necessário verificar se as condições locais de distribuição (origem e pressão do gás) e o estado de regulação do aparecido são compatíveis.
IMPORTANT: Se o aparecido for instalado em umorno evitar que o tubo do gás passae antes doorno para evaporar sobraquecimentos.

A ligaçao à rede do gás pode ser efetuada com um tubo rígido de cobre ou com um tubo flexivel de aço de parede continua, respeitando as prescrições estabelecidasPGA.ola norma em vigor (Fig.6).De qualquer modo, o tubo a ligar à rede de gás deve ser dotado de uma torneira de intercêção de seguranca.

Fig. 6: Ligação à rede de gás

IMPORTANTE: Interpor a guarriçao entre a ligaçao presente na plac e o tubo de ligaçao.

- Se for utilizes um tubo flexivel de aço inox deve ser instalado de modo que não possa entra em contacto com uma parede do mover, que passe em um punto livre, sem impedimentos, e que possa ser inspecionado em todo o seu complemento. O tubo flexivel deve ter um complemento inferior a 2 metros de extensão maior.
- A ligação do gás possui roscagem 1/2" gás ISO R7 cónica.

DepoS de ligar o aparecido à rede do gás verificar a estanquicidade das conexõesutilizando uma soluçao com sabão.
É PROIBIDO VERIFICAR A ESTANQUICIDA UTILIZANDO CHAMAS LI-VRES.

A placacdecozimento etestada comgasmetanoG20(2H)com 20 mbar de pressao.Para a alimentacao comotvostipsodegasconsultaratabelaAdaptaçãoaosdiversostipodesgaspag.185).
8.1 Ligação ao gás liquido

Utilizar um regulator de pressão e efetuar a ligação à botija respeitando as prescrições estabelecidas pelas normas em vigor.
Verificar se a pressão de alimentação respeita os values indicados naanela Adaptação aos diversos problemas de gás (pág. 185). Mesmo neste caso, a ligação deve ser efetuada com um tubo rígido de cobre ou com um tubo flexível de aço, de parede continua.
9. Ventilação dos locais

IMPORTANTE: O aparecido pode ser instalado somente em locais permanentemente ventilados, como previsto pelas normas em vigor.
10. Descarga dos produits de combustão (aspiração)

Este aparecido não está connectado a umsystema de evacuação de produits da combustão. Deve ser instalado em conformidade com as regulamenteções em vigor. Prestar atençao especial aos requisitos referentes à ventilação.

A descarga dos produits da combustão deve ser garantida atraves de exaustores ligados em uma chamé com tiragem natural, de segança eficiência, atraves de uma aspiração forçada.
Um Sistema eficiente de aspiracao requireo projetode um especialista habilido para efetuá- lo, respeitando os positionamentos e as distancias indicadas pelas normas.

IMPORTANTE: No final da operação, o instalador deveOOTRG a certificado de conformidade ao cliente,
11. Adaptação aos diversosços de gás
| Tipode gás | Queimador | Potência nominal (KW) | Consumo nominal (g/h) | Injetor (ø mm) | Potência nominal min. (KW) | ||
| Série | No Ref. | ||||||
| GAS GPL G30/G31 28-30/37 mbar | II | 2 Auxiliar 1,00 73 0 | 50 0,52 | ||||
| 3 Semi-rápido 1,75 | 127 0,65 0,52 | ||||||
| 4 Rápido 2,70 196 0 | 80 0,90 | ||||||
| 5 Coroa tripla 3,50 | 254 0,95 1,80 | ||||||
| 10 | Dual | 4,50 | 328 | i 0,46 / e 0,66 | i 0,30 / e 1,40 | ||
| III | 6 Auxiliar 1,10 80 0 | 52 0,52 | |||||
| 7 Semi-rápido 1,75 | 127 0,65 0,52 | ||||||
| 8 Rápido 3,00 218 0 | 85 0,90 | ||||||
| 9 Coroa tripla 3,80 | 276 0,98 1,80 | ||||||
| AE | 11 | Auxiliar 1,00 | 73 0,50 0,52 | ||||
| 12 | Semi-rápido 1,75 | 127 0,65 0,52 | |||||
| 13 | Rápido 3,00 | 218 0,85 0,90 | |||||
| 14 | Coroa dupla | 5,00 | 364 | i 0,46 / e 0,95 | i 0,40 / e 1,70 | ||
| Tipodegas | Queimador | Potência nominal(KW) | Consumo nominal(g/h) | Injetor(ø mm) | Potência nominal min.(KW) | ||
| Série | No Ref. | ||||||
| GAS METANOG20 20 mbar | II | 2 Auxiliar 1,00 95 0 | 72 0,52 | ||||
| 3 Semi-rápido 1,75 | 167 0,97 0,52 | ||||||
| 4 Rápido 2,70 257 1 | 08 0,90 | ||||||
| 5 Coroa tripla 3,50 | 333 1,35 1,80 | ||||||
| 10 | Dual | 4,50 | 429 | i 0,72 / e 1,02 | i 0,30 / e 1,40 | ||
| III | 6 Auxiliar 1,10 105 | 0,73 0,52 | |||||
| 7 Semi-rápido 1,75 | 167 0,98 0,52 | ||||||
| 8 Rápido 3,00 285 1 | 26 0,90 | ||||||
| 9 Coroa tripla 3,80 | 362 1,35 1,80 | ||||||
| AE | 11 | Auxiliar 1,00 | 95 0,72 0,52 | ||||
| 12 | Semi-rápido 1,75 | 75 167 0,97 0,52 | |||||
| 13 | Rápido 3,00 | 285 1,32 0,90 | |||||
| 14 | Coroa dupla | 5,00 | 476 | i 0,75 / e 1,51 | i 0,40 / e 1,70 | ||

O aparecido é testado com gás metano G20 (2H) com 20 mbar de pressão. Se foragemazao um outro tipo de gás é necessário substituir os bicos ejetores dos queimadores e regular a chama minima nas torneiras de gás. Para a substituição dos bicos ejetores seguir a indentação descrita nos parágrafos a seguir.
11.1 Substituição dos bicos ejectores da placac de cozimento

IMPORTANTE: Antes de efetuar as seguiñes operações verificar se o aparecido está desconectado da rede electrica.

- Extrair as grades, remove todas as tampas protectoras e as coroasSeparatedas de chama.
- Com una chave de tubo de 7mm desaparafusar os bicos injetores dos queimadores (Fig. 7).
- Substituir os bicos ejentes de acordo com o gás a utilizes (tabela "Adaptação aos diversostipso de gás", pág. 185).
- Reposicionar corretamente os queimadores nos locais apropriados.

Fig. 7: Substituição dos bicos ejetores

IMPORTANTE: Ao s a regulaçao com um gás diferente do que o tipo para o qual foi testado, substituir a etiqueta situada no carter do aparelho por uma nova, que corresponda ao tipo de gás em uso.
12. RegULAção do minimumo

Instruções para gás de idade e metano
- Acender o queimador e colocá-lo em seu posic-.
cionamento minimo. - Extrair o Manipulo da torreira do gás e atuar no parafuso de regulação (Fig.8) no interior ou ao lado da haste da torreira (de acordo com os modelos) até obter uma chama minima regular. Em caso de torreira de gás com 2 vias, (Fig. 12-13), encontrar-se 2 parafudos de regulação do minimo.
- Montar novamente o Manipulo e verificar a estabilitadade da chama do queimador (girando rapidamente o Manipulo da posicao de maximo para minimo a chama não deve apagar-se).
- Repetir a operação em todas as torneiras de gás.

Fig. 8: RegULAção do minimo

Instruções para gás liquido (GPL)
Aparafusar completeness in sentido horario o parafuso situado no interior ou ao lado da haste da torneira (dependendo do modelo).
13. Ligação eletrica da placá de cozimento

IMPORTANTE: Antes de efetuar as següntes operações verificar se a voltagem e o dimensionamento da LINHA de alimentação correspondem às caractéristicas indicadas na placá de identificacao localizada embaixo do carter do aparelho. A placá de identificacao nunca deve ser removida.

É obligatório ligar à terra de acordo com as modalidades previstas pelas normas de segurarça doSYSTEMA elétrico.
- Para a conexão direta à rede, é necessário poder conta com um dispositalo que assegure a desconexão à rede, com uma distência de abertura dos contactos que permit a desconexão completenessa das categoria de sobretensão I1I, em conformidade com a regra de instalação.
- Se for utilizesa uma ligaço com ficha e tomada verificar se são do mesmo tipo. Evitar a utilização de reduções, adaptadores ou derivadores porque pode provocar aquecimentos ou queimaduras.

IMPORTANTE: O fabricante declina qualquer tipo de responsabilitadepor danos as pessoas e ou objetos decorrentes da inobservancia das prescriçõesmentionadas ou eventuais violacoes, mesmo que sera de uma so parte do aparelho.

No caso de substituição do cabo de alimentaçãodeer serutilizando um cabo do tipo H05RR-F de seccao 3x0,75mm^2


L marromn
N azul
amarelo-verde
14. Uso da placar de cozimento
14.1 Acendimento dos queimadores

Antes de acender os queimadores da placac verificar se as coroas distribuidoras de chama está posiconidas nos proprios locais, com as respectivas tampas de protecao.


Fig. 9: Posicionamento das coroas

Em algumasplacedacozimento está montados os novos queimadores denominados "III série".Osystemabloqueadorentre tampa (B)e coroa distribuidora de chama (A)garante o perfeito posicionamento e grande faculdade na limpeza.

Fig. 10: Posicionamento do queimador "III série"
A tampa superior (B) dos queimadores deve ser colocada no local spécifique, com osinous indicadores de niven de insercao, em correspondencia com os dos cilindros adjacentes (C), e aparafusado em sentido horario.

O respective queimador está indicado em cor-respondência a cada Manipulo. O aparecido é dotado de dispositivo de acendimento eletrico. Basta pressionar e girar o Manipulo em sentido anti-horário no símbolo de chama Tmaxa até que esta ultima apareça. Se não acender nos primeiros 15 segundos colocar o Manipulo em Chiuso] (fechado) e não tentar acender novamente por 60 segundos.
Quando o queimador acender, manter pressionado o Manipulo por algunos segundos para permitir que o termopar se aqueça. Pode acontecer que o queimador apague-se quando o Manipulo for liberado: Isto significica que o termopar não está suficientemente aquecido. Aguardar algunos instantes e repetir a operação, fazer o Manipulo pressionado por mais tempo. Regular a chama do queimador, de acordo com asproprias necessidades.

Fig. 11: Manipulo padrão do queimador

Fig. 12: Manipulo do queimador dual (S4000)/ coroa dupla

Após cada utilizesçao,verificar se os Manipu-los de commando está em posicaoamento [chiuso] (fechado).
Se os queimadores apagarem acidentalmente, après um intervalo de circa 20 segundos, intervem um dispositivo de segurar para bloquear a saida do gás, inclusive com a tornira aberta. Neste caso, colocar nowamente o Manipulo no posicionamento de [chiuso] (fechado) e não tentar recendidé-lo por 60 segundos,leo menos.

Fig. 13: Manipulo do queimador dual (GIOTTO/VULCANO)
14.2 Conselhos práticos para o uso dos queimadores

Para o melhor rendimento dos queimados, com um minimo consumo de gás, utilizes recipientes com fundo plano e regular, com tampa e proportionados ao queimador para fazer que a chama ultrapasse oproprio recipiente (consultar o parágrafo "Diâmetro dos recipientes" pág. 190). No momento da ebulização reduzir a quantidade de chama para impeder o transbordamento do liquido.

Fig. 14: Utilização de recipientes

Durante o cozimento, e también para evitar queimaduras ou danos na placar por excesso de calor, todos os recipientes ou os grelhadores não devem superar as medidas indicadas no paragrafo "Diametro dos recipientes" (pag. 190). Não aquecer panelas ou frigideiras vexias porque podem sobraquecer.

Prestar muito atençao ao utilizeg gorduras e oleos porque pode sobraquecer e pegar fogo. Se uma frigideira que contentem gorduras ou oleo incendiar não tentar apagar o fogo com agua pois pode causar queimaduras. Para apagar o fogo, cobrir a frigideira com um pano molhado e desconectar o aparelho da rede elétrica.
14.3 Diâmetro dos recipientes
- Queimador auxiliar: de 6 a 14 cm
-
Queimador semi-rápido: de 15 a 20 cm
-
Queimador rápido: de 21 a 26 cm
- Queimadores com dupla e tripla coroa, dual: de 24 a 28 cm

A placacdecozimento gera calor e humididade,duarte ofuncionamento,no localonde estiver instalada.Verificar se a cozinha está bem arejada.Autilização prolongada doaparelho comalguns ou todos os queimadores pode solicitaruma ventilação adi-cional, como, porexample,aabertura deuma janela eouuma maior potencia deaspiracao do exaustor.
15. Limpeza e manutenção

Não utilizes jatos de vapor para limpar o aparelho.
É necessário disconnectar o aparecido da alimentação eletrica antes de limpar-lo.
Evitar quesubstanciaicidas ou alcalinas (vinagre, suco de limao, sal, suco de tomatete, etc.) permanecam no aço, nas grades e em outras partes do aparelho.
15.1 Limpeza do aço inox
Para a boa conservação do aço inox é necessário limpa-lo regularamente antes cada uso ecede de estar arrefecido.
15.1.1 Limpeza ordinária diária
Para limpar e conservar as superficies de aço inox'utilizar somente produits especialicos que não contenham abrasivos ou substâncias acidas a base de cloro.
Modo de uso: Deitar o produit sobre um pano humido e passar sobre a superficie. Então, remover completeness o produits com um pano humido limpo.
15.1.2 Manchas residuales de alimento

Evitar o uso de esponjas metálicas e raspadores cortantes para não danIFICAR as superfícies. Usar os produits normais para aço, não abrasivos, e utilizes utensílos de fazer ou de plástico. Enxaguar cuidadosamente e seca com um pano macio ou com pele de gamo.
Para a limpeza do aço aconseixa-se o produits "Foster Steel Clean". Para obter informações sobre onde encontrar o produits dirigir-se ao centro de assistência técnica.
Não utilizes detergentes químicos como, por exemplo, aerossol paraorno ou produits para remover as manchas.
15.2 Limpeza dos componentes a gás
As grades, tampas protetoras e as coroas distribuidoras de chama são extráveis para fazer a limpeza. Lava-las em água quente e deterrente não abrasivo e remove as incrustações, secando-as imeditamente com um pano. Remontar as tampas protetoras nas respectivas coroas. Os componentes de ferro fundido como as grades e os queimadores, não devem ser colocados na区内a de lavar louças.
As velas de acendimento e os termopares devem estar bem limpos para que funciona bem. Controlá-los frequentlymente e, se necessário, limpá-los com um pano humido e secá-los, a seguir, os resíduos secs devem ser removidos com um palito de dente demadeira ou uma agulha.
Limpar regularamente as tampas e as coroas espalhadoras antes cada uso. Em caso de sujidade menos profunda e para o polimento do espalhador utilize o creme Foster Steel Clean com um pano de microfibra no seguido a direção de acabamento.
Para uma boa conservação da plataforma esmaltada é necessário limpa-la regularamente antes qualsequer uso,deois de deixa-la resfiar.
Para limpar e conservar o esmalte usar sempre e sente um pano de microfibra humedecido e com sabão neutro.
Não usar produits que contenham abrasivos ousubstâncias acidas à base de cloro.
Evitar absolutamente usar esponjas metálicas e raspadores apiados para não danIFICAR as superficies.
15.4 Limpeza dos Manipulos
Os Manipulos devem ser limpos com um pano macio, humedecido com agua morna, e enchugados cuidadosamente.
Para poder a limpeza é possivel remover os Manipulos puxando-os para cima.
Não utilizes produits agressivos que contenham alcool, cloretos ou produits abrasivos.
15.5 Serigrafia da plataforma
Preste muito atençao para nao usar nenhum produit abrasivo ou quimico sobre a serigrafia da plata-forma. Usar apenas um pano de microfibra humedecido.

A Empresa Foster S.P.A. não se responsabiliza por inexistções deidas aROS de impressão ou de transcrição contidas no presente opusculo. AEmpresa reserva-se o direito de efetuar as 修改es queconsiderar necessarias ou uweis em seu proprios produits, inclusive para o interesse dos Utilizadores, sem prejudicar as caracteristicas de funcionalidade e segurar.
Stovani korisnice,
Zahvaljujemo Vam sto ste kupili plocu za kuhanje tvrtke Foster.
U ovom dokumentu smo sakupili savjete i upute, Zahvaljujuci kojima cete moci koristiti na najbolji moguci način kuplejenu ploču za kuhanje i zajamčiti nzejino dobro očuvanje tijekom vremena. Tražimo od Vas nekoliko minuta pozomosti, kakobiste očuvali učinkovitost proizvoda i ostali zadovoljni njime.
Srdacan pozdrav
Foster spa
Sadržaj

OPCA UPOZORENJA
Radi se o općim savjetima, koje trebate konzultirati prije instalacije i uporabe, kuplejene ploce za kuhanje.
- Upozorenja za uporabu 194
- Sigurnosna upozorenja 195
- Upozorenja za odlaganje 195
- Poznajete li Vaš aparat 196

UPUTE ZA INSTALLATERA
One su namijenjene kvalificiranom tehnicaru, koji mora obaviti postavljanje, pušanje u pigeon i testiranje uredaja.
- Prije instalacije 197
- Postavljanje na radnu povrsinu 197
- Pričvršćivanje ploce za kuhanje na namješaj 199
- Povezivanje ploce za kuhanje na plinsku mrežu 202
- Provetravanje prostorija 203
- Ispust produkta izgaranja (usisa) 204
- Prilagodba na razlicite vrste plina 204
- Reguliranje minumuma 206
- Elektricno povezivanje poce za kuhanje 207

UPUTE ZAKORISNIKA
Prikazuju savjete za uporabu, opis komandi i prvilne procedure cisćenja i odžavanja aparata.
- Uporaba ploce za kuhanje 208
- Ciśćenje i održavanje 211
Rezime plinskih ploča za kuhanje 218
1. Upozorenja prilikom uporabe

Ovaj prisčnik predstavlja neraskidivi dio aparata. Morate ga Čuvati na nacin da ostane cjelovit i na dohvat ruke tijekom Čitavog Životnog vijeka ploce. Savjetujemo Vam pozorno Čitanje dokumenta i svih indikacija koje sadrži prijeedo što ga počnete koristiti.
Postavljanje ploce mora obaviti kvalificirano osoblje i to pošivanjem propisa na snazi. Ovaj je aparat namijenjen kućanskoj uporabi te je u skladu sa smjernicama CE trenutno na snazi: 2009/142/EZ (aparatima na plinovita goriva), 2006/95/EZ, 2004/108/EZ.

Aparat je proizveden da bi obavljao slijedeću funkcjju: KUHANJE I ZAGRIJAVANJE HRANE; SVAKA DRUGA UPORABA SE SMATRA NEPRIKLADNOM.
Proizvočač otklanja sa sebe bilo koju odgovornost za uporabu, koja se razlikuje od one navedene.
- Nemojte nikada koristiti ovaj aparat za zagrijavanje prostora.
- Nikada ne ostavlajte ostatke ambalaže bez nadzora u kuçanskom prostoru.
- Odvojite razne opadne materijale, koji proizlaze iz ambalaže te ih dostavite najblizem centru za prikupljanje diferencijalnog otpada.

Ovaj aparat je označen u skladu s europskom Smjernicom 2002/96/EC o opadu elektrickih i elektronickih aparata (waste electrical and electronic equipment - WEEE). Ova smjernica definira propise za sakupljanje i recikliranje odbačenih aparata, koji važe po cijelom teritoriju Europske Unije.

Identifikacijska pločica s tehnickim podatcima, serijskim brojem i oznakom je postavljena na vidljivom mjectu ispod kučista[Sl.1].

PLOČICA SE NE SMIJE NIKADA SKIDATI.
Resumo das placas de cozimento a gás
| Legenda | |||
| Série No | Queimador | Potência (W) | |
| 1 | Manipulo de commando | ||
| II | 2 | Auxiliar | 1.000 |
| 3 Semi-rápido | 1.750 | ||
| 4 | Rápido | 2.700 | |
| 5 Coroa tripla | 3.500 | ||
| 10 | Dual 4.500 | ||
| III | 6 | Auxiliar | 1.100 |
| 7 Semi-rápido | 1.750 | ||
| 8 | Rápido | 3.000 | |
| 9 Coroa tripla | 3.800 | ||
| AE | 11 | Auxiliar | 1.000 |
| 12 | Semi-rápido | 1.750 | |
| 13 | Rápido | 3.000 | |
| 14 | Coroa dupla | 5.000 | |
| Tipo de borda |
| Borda padrão (8 mm) STD Borda Q4 (4 mm) Q4 Borda semi-rente (3 mm) SF Borda rente ao top FT |

Rezime plinskih ploča za kuhanje
| Tumač | |||
| Serija= | Br.=Plamenik=Snaga (W) | ||
| 1 Upravljáčka tipka | |||
| II | 2 Pomoćno=1.000 | ||
| 3 Polubrzo=1.750 | |||
| 4 Brzo=2.700 | |||
| 5 Trostruka kruna=3.500 | |||
| 10 Dual 4.500 | |||
| III | 6 Pomoćno=1.100 | ||
| 7 Polubrzo=1.750 | |||
| 8 Brzo=3.000 | |||
| 9 Trostruka kruna=3.800 | |||
| AE | 11 Pomoćno=1.000 | ||
| 12 Polubrzo=1.750 | |||
| 13 Brzo=3.000 | |||
| 14 Dvostruka kruna | 5.000 | ||


Referência aos métodos de medicação e de calculo realizados para estabe-learcer a conformidade aos limites de desempenho de eficiência energetica
A eficiência energetica da placá de cozinha a gás para uso dométrico é calculada com base no regu-lamento UE n°. 66/2014: os values para cada queimador são determinados com testes conforme a norma EN 30-2-1. São excluídos os queimadores Auxiliares, poi possuem uma potência nominal inferior a 1,16 kW.
ManualFácil