Performance 463274419 - Parilla CHAR BROIL - Manual de uso y guía de instrucciones gratis
Encuentra gratis el manual del aparato Performance 463274419 CHAR BROIL en formato PDF.
Descarga las instrucciones para tu Parilla en formato PDF gratis! Encuentra tus instrucciones Performance 463274419 - CHAR BROIL y toma tu dispositivo electrónico nuevamente en la mano. En esta página están publicados todos los documentos necesarios para el uso de su dispositivo. Performance 463274419 de la marca CHAR BROIL.
MANUAL DE USUARIO Performance 463274419 CHAR BROIL
6-QUEMADORES PARILLA DE GAS

FOR OUTDOOR USE ONLY
POUR USAGE EN MILIEU EXTERIEUR UNIQUEMENT ESTE JUEGO SOLO SE PUEDE USAR EXTERIORS
- This grill is designed for use with LP gas only.
- Ce grill est concu pour etre utilise avec du gaz propane-.
seulement. - España parrilla está diseñada para usarse solo con gas LP.
MODEL
MODELE
MODELO
463274419
SERIAL NUMBER NUMERO DE SÉRI
NUMERO DE SERIE
See rating Label on grill for serial number.
- Ce numero se trouve sur l'étiquette signaletique sur i'appareil.
- El número de series se incluye en la etiqueta deespecificaciones de la parrilla.
DATE PURCHASED DATE D'CHAT
FECHA DE COMPRA
HERRAMIENTAS NECESARIAS PARA EL MONTAJE:
- Llave ajustable (no inclusido)
- Destornillador (no inclusio)
7/16" Combinación llave (no incluido)
TABLE OF CONTENTS
For Your Safety 2-4
Use and Care. 4-10
Limited Warranty 11
Parts Diagram 32
Parts List 33
Hardware List 36
Assembly 37-47
Grilling Guide 48-51
Troubleshooting 60-61
Por su propia seguidad. 22-24
Uso y mantenimiento 24-30
Garantia limitada. 31
Vista esquemática de las piezas. 32
Liota de piezas 35
Liasta de herrajes 36
Armado 37-47
Guia para asar a la parrilla 56-59
Resolucion de problemas 64-65
Tarjeta de inscripción 67
A LA PERSONA QUE INSTALE O ENSAMBLE ESTA PARRILLA:
Deje estemanualalcliente.
AL CONSUMIDOR:
Conserve estemanualparaque locouldasconsultar enel futuro.
Simbolos de seguridad
Los@simbolos y las casillas ilustradas más adelante explican lo que significa cada encabezado. Lea y cumpla lo indicado en los mensajes que se.Encuentran en todo el manual.

ADVERTENCIA

ADVERTENCIA: Indica una situacion potencialmente peligrosa o una practica insegura que, de no evitarse,edia causar lesiones leves o meores.

ADVERTENCIA

ADVERTENCIA: Indica una situacion potencialmente peligrosa que, de no evitarse, podria causar la muerte o lesiones graves.

PELIGRO

PELIGRO: Indica una situacion peligrosa inminente que, de no evitarse, occasionar la muerte o lesiones graves.

ADVERTENCIA

Sólo para uso particular. No lo use para fines commerciales.
ESTA PARRILLA SOLO SE PUEDE USAR EN EXTERIORES.

PELIGRO

Si siente olr a gas:
- Cierre el paso de gas al aparato.
- Prague toda llama al descubierto.
- Abra la tapa.
- Si el olor continua, guarde lejos de la aplicacion y llame inmediamente su surtidor del gas o su cuerpo de bomberos.

ADVERTENCIA

- No guarde ni use gasolina niculos gases o liquidos inflamables circa de este ni de qualquier other aparato.
- No guarde un tanque de gas propano, que no este conectado, circa de este ni de qualquier other aparato.

ADVERTENCIA

No intente reparar ni modifierla unidad de la manguera/la valvula/el regulatordebido a un "supuesto"defecto. toda Modificationsa esta unidad anulara la garantia y crear el riesgo de una fuga de gas e incendio.Useunicamente repuestos autorizados, suministrados por el fabricante.

PELIGRO

Si durante el funcionaimiento las llamas se apagan (Huele a gas o no se ve la llama)
- Gire los controlles del quemador a APAGADO.
- Abra la tapa.
- Espere 5 Minutes y repita el procedimiento de encendido.
Si el quemador se apaga, el gas continuaar escapando del quemador y pueda accidentalmente encenderse con riesgo de lesiones.

ADVERTENCIA

No cubra las rejoillas con papel aluminio ni con ningún或其他 material. Este bloqueará la ventilación del quemador y creará situaciones peligrosas que podrián provocar daños materiales o lesiones corporales.

ADVERTENCIA

El no cumplir con todas instrucciones del fabricante(puede occasionar graves y/o daños materials.

ADVERTENCIA

Antes de empezar a ensambarla parrilla y cocinar,lea y sigalas todasindicacionesde seguridad,las instruetiones deensamblado y las instruetiones de uso y de cuidado

ADVERTENCIA

Cieras pueda tener cordes cortantes. Si es Neededo, use guantes protectores.

ADVERTENCIA

Fuego de Grasa
- No es possible apagar los fuegos provocados por la grasa cerrando la tapa. Por razones de seguridad, las parrillas tienen aberturas de ventilacion.
- No use agua para apagar los fuegos provocados por la grasa. Esto peutecasionar lesiones. Si surge un fuego provocado por la grasa, cierre las perillas y el tanque de gas.
- Si el asador no se ha limpiado regularmente, podra occurrir fuego causado por la grasa que podria darar el producto. Preste mucha atencion,mIENTras precaliente o quema los residuos de comida para asegurar que no se cause fuego debido a la grasa.
- La mejor forma de prevenir el incendio de grasas es limpiar frecuentemente la parrilla siguiendo las instrucciones de Limpieza general de la parrilla y Limpieza delconjunto quemador.

ADVERTENCIA

PROPOSICION 65 DEL ESTADO DE CALIFORNIA
- En el estado de California se@sabe que los subproductos de la combustion, que se producen al食用 este producto, contienen substancias quimicas que causan cancer, defectos congenitos u other lesions al aparato reproductor.
- Este produit contiene substancias químicas, incluyendo el plomo y compuestos de plomo, que en el estado de California se@sabe que las causan cancer, defectos congenitos u.Other lesiones al aparato reproductor.
Lávese las manos afterwards de Manipular este
ADVERTENCIA

El uso de macetas de mas de 6 cuartos de la capacité podra superar limite de peso de lado el quemador plataforma o bajo plataforma lo que resulta en el fracaso de la parrilla carrito componentes.


PELIGRO

- NUNCA guarde los cilindros de gas de repuestos debajo del aparato, cerca del mesmo, ni en areas cerradas.

- Nunca cargue el tanque con más del 80% de su capacité.
- Los tanques de gas propano de repuestos sobrecargados o mal llenados son peligrosos, ya que la valvula de seguridad pueda partir salir gas. Esto peutecocar incendios intensos que pueeden causar daños materiales, lesiones graves o la muerte.
- Si observa, huele o escucha una fuga de gas, alejese de inmediato del cilindro y del aparato, y llame a los bomberos.
Medidas de seguridad para la instalacion
- Utilice la parrilla, tal como se compró,soleo con LP (propano),el gas y el regulator / valvula de montaje suministrado. Si su parrilla es de doble combustible lista, un kit de conversion debe ser adquirido para su uso con gas natural.
- La instalación de la parrilla debe cumplir con las dispositions de loscottigos locales, o, en su defecto, con el National Fuel Gas Code (o Codigono nacional sobre gases combustibles), y las normas NFPA 54/ANSI Z223.1 y Natural Gas and Propane Installation Code (Codigo de la instalacion del gas natural y del propano), CSA B149.1.
- Todos los accesos electricos (tal como el asador) deben estar connectados a tierra de conformidad con loscottigos locales, o con el National Electrical Code (Código nacional sobre electricidad), ANSI / NFPA 70. Mantenga todo cable electrico o tuberia de suministro de combustible alejados de las superficies calientes.
-Esta parrilla unicamente cuenta con la certifications de seguidad para ser usada en los Estados Unidos.No la modifique para usarla en ningun除外 lugar.Cualquier modificacion可以使poner en peligro su seguidad.
USO Y MANTENIMIENTO
Remoción, transporte y almacenimiento del tanque de gas propano
- CIERRE todas las perillas de control y la valvula del tanque. Gire la tuerca de unión en sentido contrario a las agujas del reloj, a mano solamente; no use ferramentas para desconectarla. Afloje el tornillo, ubicado bajo de la repisa, o desconnecte el dispositivo de retencion del tanque, bajo levante el tanque de gas para sacarlo del carrito. Instale la tapa de seguridad en la valvula del tanque de gas. Use siempre la tapa y la correa que你需要 con la valvula. Si la tapa de sécurité no se usa tal como se indica, this could be occasionar lesiones o daños materiales graves.
- Los tanques de gas desconectados, guardados o en transporte, deben tener instalada la tapa de seguridad (como se ilustra). No guarde el tanque de gas en situos cerrados, tales como cocheras, garajes, porches, patios techados u另一边 edificaciones.
- No guarde un tanque de gas en un aire donde el jugan niños.

Válvula del tanque de gas
Tanque de gas propano
- El tanque de gas que use con su parrillaDebeFULR los seguidentes requisitos:
- Use únicamente tanques de gas que tengan las siguientes medidas obligatorias: 12 PULGADAS (30.5 cm) (diametro) x 18 PULGADAS (45.7 cm) (altura), con una capacité maxima de 20 lb. (9 kg).
- Los tanques de gas propano deben ser fabricados y codificados según las specifications para tanques de gas propano del Departamento de Transporte de los Estados Unidos (DOT), oén Canadá, segúnlas normas CAN/CSA-B339, sobre cilindros, esferas y tubos para el transporte de mercancías peligros as del Ministeriode Transportes de Canadá(CT). El número se encuesta en el collarín del tanque de gas.
-
La valvula del tanque de gas debe tener: Una calidad de tipo 1, compatible con el regulador o la parrilla.
-
Una valvula de paso de seguidad.
-
Un dispositivo de seguridad volumétrica (OPD por sus siglas en ingles) certificado por UL.Esta característica de sécurité OPD se identifica mediante una manilla de forma triangular. Use únicamente tanquesequipados con valvulas de este tipo.

Manilla del dispositivo de seguidad volumetrica
- El cilindro de gas LP debe estar en posicion vertical para la eliminacion de vapeores e incluir un cuello para proteger la valvula del cilindro de gas LP. Siempre mantenga los cilindros en posicion vertical durante el uso, transporte y almacenamento.

Tanque de gas en posicion vertical para extraer el vapor
El gas propano (GLP)
- Es atóxico, inodoro e incoloro en el momento en que se produce. al gas propano se le ha Para su seguridad incorporado un olor (parecido al de la col podrida), de modo que se pueda oler.
- El gas propano es sumamente inflamable y se pueda encender en forma inesperada al mezclarse con el aire.
Carga de los tanques de gas propano
- Recurra solamente a vendedores autorizados y con experiencia.
- purgar el tanque nuevo El vendedor de gas debe antes de carrarlo.
- NUNCA El vendedor no debe cargar el tanque de gas con mas del 80% de su volumen. El volumen de propano en el tanque pueda variar con la temperatura.
- Si el regulator está empanado, ese indica que el tanque está sobrecargado. Cierre de inmediato la valvula del tanque y solicitetipsa del vendedor del gas propano.
- No deje escapar gas propano a la atmósfera. Ísta es una practica peligrosa.
- Solicitetipsd vendedor de propano o de los bomberos, para vaciar el gas de su tanque.Identifique a los vendedores autorizados de propano de su region en la seccion de "companias de gas"de la guia Telefonica.
Cambio del tanque de gas
- Muchos commerciantes minoristas que venden parrillas, le-ofrecen la option de combustar su tanque de gas vacio mediante un service de recambio. Emplee unicamente entreprises de recambio de buena reputacion, que inspecccionen, carguen conprecision, verificufen y certifiquen sus cilindros. Bombie suntanque solo porothers tanques equipados con eldispositivo de seguridad volumetrica que se describe enla seccion de tanques de gas de este manual.
- Siempre mantenga los tanques de gas, nuevo y de repuestos, en posicion vertical durante su uso, su transporte o su almacenimiento.
- Verifique que el tanque de gas, nuevo o de recambio, noonga fugas ANTES de conectarlo a la parrilla.
- Coloque la tapade seguidad sobre la calidad de la valvula del tanque de gas cuando no lo use. Instale unicolemente el tipo de tapade seguidad que viene con la valvula del tanque. Losotrostipso de tapas o tapones podendeferear escapar el gas propano.
Prueba para detectar fugas del tanque de gas propano
Por su propia su seguidad
- Se doit avoir le prueba para detectar fugas cada vez que se cambie o se recargue el tanque.
- No fume durante la prueba para detector fugas.
- No use una llama al descubierto para comprar si el tanque Tiene fugas.
- La prueba para detectar fugas de la parrilla se debe efectuar al aire libre, en un area bien ventilada, alejada de toda fuente de ignacion tal como los artefactos a gas o electricos. Durante la prueba para detectar fugas, mantenga la parrilla alejada de las llamas al descubierto o de las chispas.
-
Use una BROCHA de pintura limpia y una solución de 50/50 de agua y jabón suave. Pinte con la SOLUTION jabonosa las Areas indicadas por las flechas en la ilustración que sige.
-
No use productos de limpieza del hogar. Esto可以选择 darar los componentes del circuito de gas.


ADVERTENCIA

Si aparecen burbujas que aumento de時間, no use ni眼看 el tanque de gas. Comuniquese con el proveedor de gas propano o con los bomberos!
Como conectar el regulador al tanque de gas propano
- El tanque de gas debe quedar bien fjado a la parrilla. (Lea la seccion de ensamblado.)
- Gire todas las perillas de control a la posicion APAGADO (OFF).
- CIERRE el tanque de gas, girando la manilla de la valvula en el sentido de las agujas del reloj, hasta que se detenga.
- Retire la tapa de seguidad de la valvula del cilindro de gas LP. Siempre use la tapa y correa, si se suministraron con la valvula.


Cierre en el sentido de las agujas del reloj
No use un tapón
POL para transporte
(la pieza de plástico con roscas en el exterior)! Anulará la característica de seguridad de la valvula.
5. Sostenga el regulator e inserte el manguito de unión en la valvula del tanque de gas. Apriete a mano la tuercia de unión, cuando sostiene el regulator en linea recta con la valvula del tanque, para no saltar ninguna roscá de la connexion.

- Gire la tuerca de unión en el sentido de las agujas del reloj, apretándola hasta que no se mueva más. El regulator formará un sello en el dispositivo de seguridad de la valvula del tanque, lo que creará cierta resistencia. Se deben hacer girar la tuerca entre un cuarto y tres cuartos de vuelta adiciones, para completar la connexion. Apriétela a mano, no use herramentas.
NOTA: Si no pueda completar la conexión, desconecte el regulator repita los pasos 5 y 6. Si a pesar de haberlo hecho, todas no pueda completar la conexión, no use este regulator!

PELIGRO

No introduzcaacularherramientaningúnobjetoextraeno en la salute de la valvula ni en la valvula de seguidad. Puede dañarla y causaruna fuga.Las fugas de gas propano能把ncausarexplosiones,incendios,lesionesgraves o lamuerte.

ADVERTENCIA

- No use la parrilla sin antes haber verificado que no tengas fugas.
- Si en algunosmomento detecta una fuga, jDETENGASE! Apague la fuente de gas y corrija la fuga.
- Si no可以选择 detener una fuga de gas cerrando la zona bajo vavle del tanque de gas y llame a los bomberos.
Prueva para detectar fugas de las valvulas, las mangueras y el regulador
1. Cierre todas las perillas de control de la parrilla.
- Cerciorese de que el regulator está bien conectado al tanque de gas.
- Abra por Completely la valvula del tanque, girando la manilla en sentido contrario a las agujas del reloj. Si escucha un sentido de rafaga, cierre de inmediato el paso de gas. La connexion Tiene una fuga considerable. Corrija esta situacion antes de continuar.
- Aplique solución jabonosa con la brocha, en las areas marcadas con un circulo en la ilustracion que sigue. uthers accesos similares en su parrilla.


NOTA: Para mayor claridad, no se ilustra la mascara de del estante del quemador lateral y otheras partes.
NOTA: Su parrilla puede no tener una hornilla lateral.
- Si aparecen burbujas que aumento de時間, existe una fugá. Cierre de inmediato la valvula del tanque de gas y vuelva a apretar las conexiones. Si no可以选择 eliminar las fugas, nointa reparlas. Solicite una pieza de repuesto. Encargue las piezas cualesindicando el numero de série, de modelos y el nombre de las piezas que requiera (vea la lista de piezas), llamando al centro de servicios para parrillas
- Después de hacer una prueba para detectar fugas, cierre siempre la valvula del tanque de gas, girando la manilla en el sentido de las agujas del reloj.

ADVERTENCIA

- El aparato a gas para uso al aire libre no ha sido Diseñado para ser instalado en embarcaciones.
- El aparato a gas para uso al aire libre no ha sido disnado para ser instalado en vehículos de recreo.
- Nunca trate de conectar esta parrilla al sistema de gas propano independiente de un remolque de recreo o de una casa rodante.
Consejos de segurança
- Verifique que la tuerca de unión está bien ajustada antes de partir la valvula del tanque de gas.
- Cuando no use la parrilla, ciere todas las perillas de control y la valvula del tanque de gas.
- Nunca nuevo la parrilla cuando la está usingo o@mstead escaliente.
- Algunas superficies peuvent estar calientes durante el uso. Use utensilios para parrilla de mango largo y guantes para hornear, para evaporar quemaduras y salpicaduras.
- El peso máximo que soportan el quemador lateral y la repisa lateral es de 10 lb.
- La bandeja o el recipiente para la grasa debe estar colocado siempre que use la parrilla, y lo debe vaciar cada vez antes de usesl. No retire la bandeja o el recipiente para la grasa hasta que la parrilla se haya enfirado por complete.
- Limpie la parrilla con fecuencia; de preferencia cada vez despues de usela. Si utilizes un cepillo de cerras para limpar las superficies para cocinar, antes de usar la parrilla verifie que no queden cerras sueltas sobre estas. Se recomienda no limpar las superficies para cocinar cuando la parrilla está aun caliente.
- Si observa que de la parrilla caen gotas de grasa u或其他 sustancias calientes sobre la valvula, la manguera o el regulator, ciderre inmediamente el paso de gas. Establishzca la causa, corrija el problema, limpie e inspeccione la valvula, la manguera y el regulator, antes de proseguir. Haga una prueba para detectar fugas.
- Mantenga limpias y sin residuos las abertas de ventilacion del recinto para el cilindro de gas (del carrito de la parrilla).
- No guarde objetivos ni materiales dentro del carrito de la parrilla que你能an bloquear la circulacion del aire de la combustion a la parte inferior del tablero de control o de la caja de la camara de combustion.
- El regulador可以选择 emitir un sonido zumbante o sibilante durante su uso. Esto no afechara la seguridad ni el uso de la parrilla.
- Si Tiene un problema con la parrilla, lea la seccion de Resolucion de problemas.
- Si el regulador se empña, apague inmediamente la parrilla y ciderre la valvula del tanque de gas. Esto indica que existe un problema con el tanque y no debe ser uso en ningún除外

ADVERTENCIA

PELIGRO DE ASFIXIA: Piezas pequeñas.
No apto para niños menosores de 3 años.
Bateria
a. Tamaño/tipo/denominación de la bateria: AAA
b. Voltaje nominal: 1,5 v
c. Cantidad de baterias necessities: 1 unidad
d. Bateria inclida: Si
Las baterias no recargables no deben recargarse. Las baterias deben insertarse con la polaridad correcta. Las baterias agotadas deben retirarse del producto. No arroje las baterias al fuego. Las baterias peuvent explotar o experimentar fugas.
ALTO!

ADVERTENCIA

INSPECCION DEL SELLO DE GOMA DEL CILINDRO DE GAS LP.
- Inspeccione el sello de goma de la valvula del cilindro de gas LP para detectar grietas, desgaste o deterioro antes de cada uso. Un sello de goma dañado pueda causar una fuga de gas, lo que posiblemente pueda resultar en una explosión, incendio o lesiones corporales graves.
Se recomienda que inspeccione el sello de goma cada vez que se conecte el cilindro de gas LP al disposito, cada vez que se rellene, o si no hasido utilized en mas de 60 días.
NO utilise un cilindro de gas LP con un sello de goma dañado. El sello de goma NO PUEDE ser reparado o reemplazado. Compre un cilindro nuevo o cambio. Debe inspeccione el sello antes de acceptar un cilindro nuevo o转型发展. NO inserte Herramrientas u objetos extraños en la abertura de la valvula del cilindro ya que podra做不到 el sello de goma. - El procedimiento de comprobacion de fugas descripto en el manual de ensamblaje/guia del producto DEBE seguirse cada vez que el cilindro de gas LP se conecta al aparato. Consulte el manual de ensamblaje/guia del producto para ver el procedimiento y lasubicaciones correctas para la comprobacion de fugas.



ADVERTENCIA

Para usar su parrilla en forma segura y para evitar lesiones graves:
- No deje que los niños usen la parrilla ni que juguen cerca de la misma.
- Mantenga el area de la parrilla limpia y sin materiales combustibles.
- No obstruya los orificios laterales ni los de la parte posterior de la parrilla.
Revise periodically las llamas del quemador. - Use la parrilla solo en lugares bien ventilados. NUNCA la use en lugares cerrados tales como cocheras, garajes, porches, patios techados o bajo de superficies de ningún tipo.
- No use carbón ni briquetas de cerámica en una parrilla a gas.
- No cubra las rejillas con papel aluminio ni con ningún或其他材料. Este bloqueará la ventilación del quemador y creará situaciones peligrosas que podrian provocar daños materiales o lesiones corporales.
- Use la parrilla al menos a 3 pies de distancia de cualquier pared o superficie. Deje un espacio de 10 pies entre la parrilla y los objetivos que PODAN incendiarse o que Sean fuentes de ignacion, tal como las llamas piloto de calentadores de agua, aparatos electricos conectados, etc.

- NUNCA trate de encender el quemador con la tapa cerrada. Las acumulaciones de gas no encendido en las parrillas tapadas son peligrosas.
- Nunca use la parrilla si el tanque de gas no está en la posicion correcta que se especifica en las instrucciones de armado.
- Siempre cierre la valvula del tanque de gas y retire la tuerca de unión antes de mover el tanque del situño spécifique de uso.
- Para personas que viven en apartamentos: Pidale al administrador que le indique los requisitos y loscottigos contra incendios que corresponden al uso de parrillas de gas propano en un edificio de apartamentos. Si se le permite usarla, hagalo al aire libre, en la planta bajo,øjando un espacio libre de tres (3) pies entre la parrilla y las paredes o las barandillas. No la use en balconones o debajo de los mismos.
como usar el encendedor
-
No se incline sobre la parrilla al encenderla.
-
Gire las valvulas de control de gas del quemador a O (apagado).
- Abra la tapa durante el encendido o al volver al encender.
- ABRA el gas en el cilindro de gas LP.
- Para encender, presione y gire la perilla del QUEMADOR DE ENCENDIDO a la posicion ALTO. Inmediamente, presione y mantenga presionado el boton de ENCENDIDO ELECTRONICO hasta que el quemador encienda.
- Si NO enciende en 5 segundos, gire la perilla de control del quemador a la posicion apagado, espere 5 horas y repita el procedimiento de encendido.
- Para encender losDEMASquemadores, presione y gire la perilla a la posicionALTO,comenzando primero por los quemadores mas cercanos al QUEMADOR DE ENCENDIDO.

ADVERTENCIA

CIERRE los controles y la fuente de suministro de gas cuando no la use.

ADVERTENCIA

Si NO se enciende en 5 segundos, gire los controlles del quemador a la posicion de apagado, espere 5 Minutes y repita el proceso de encendido. Si el quemador no se enciende con la valvula abierta, el gas continua saliendo por el mismo y pueda encenderse accidentalmente, con el riesgo de occasionar lesiones.
Encendido con fosforos
-
No se incline sobre la parrilla al encenderla.
-
Gire las valvulas de control de gas del quemador a O (apagado).
- Abra la tapa durante el encendido o al volver al encender.
- ABRA el gas en el cilindro de gas LP.
- Lugar partido en partido titular (colgando de izquierda panel lateral de la parrilla). Coinciden con la luz,其中之一 que quemador partido colocando el partido a工程技术 de la luz agujero a la izquierda de la parrilla. Inmediamente presione y gire la perilla del quemador del extremo del izquierdo a la posicion de llama ALTA. Verifique que el quemador se encienda y que permanece encedido.
- Encienda los quemadores en secuencia oprimiendo las perillas y girandolas a la graduacion ALTA.

como usar el encendedor quemador de "SEAR"
-
No se incline sobre la parrilla al encenderla.
-
Gire las valvulas de control de gas del quemador a O (apagado).
- Abra la tapa durante el encendido o al volver al encender.
- ABRA el gas en el cilindro de gas LP
- Para encender, empujar y dar vuelta a la perilla de la hornilla de "SEAR" al ALTA. Inmediamente, presione y mantenga presionado el boton de ENCENDIDO ELECTRONICO hasta que el quemador encienda.
- Si NO enciende en 5 segundos, gire la perilla de control del quemador a la posicion apagado, espere 5 horas y repita el procedimiento de encendido.
Encendido con fósforos quemador de "SEAR"
- No se incline sobre la parrilla al encenderla.
- Gire las valvulas de control de gas del quemador a O (apagado).
- Abra la tapa durante el encendido o al volver al encender.
- ABRA el gas en el cilindro de gas LP.
- Lugar partido en partido titular (colgando de izquierda panel lateral de la parrilla). Coinciden con la luz, entones la luz quemador partido colocando el partido a工程技术 de la luz agujero a la izquierda de la parrilla. Inmediamente presione y gire la perilla del quemador del "SEAR" del izquierdo a la posicion de llama ALTA. Verifique que el quemador se encienda y que permanece encendido.

Nota: Es possible que su parrilla NO venga equipada con un quemador lateral.
Encendido con el encendedor del quemador lateral
-
No se incline sobre la parrilla al encenderla.
-
Gire las valvulas de control de gas del quemador a O (apagado).
- Abra la tapa durante el encendido o al volver al encender.
- ABRA el gas en el cilindro de gas LP.
- Gire la perilla del quemador lateral a la graduacion de llama ALTA, oprima y mantenga oprimido el boton del ENCENDEDOR ELECTRONICO.
- Si el quemador no se enciende, gire la perilla a la posicion de O apagado, espere 5 horas y repita el procedimiento de encendido.
Encendido con fósforos del quemador lateral
- No se incline sobre la parrilla al encenderla.
- Gire las valvulas de control de gas del quemador a O (apagado).
- Abra la tapa durante el encendido o al volver al encender.
- ABRA el gas en el cilindro de gas LP.
- Coloque el fosforo encendido cerca del quemador. Inmediamente y gire la perilla del quemador lateral a la posicion maxima Verifique que el quemador se encienda y que permanezca encendido.

Control de la llama del quemador
- Retire las parrillas de cocción y los reguladores de llama. Encienda los quemadores y gire las perillas, de la graduación ALTA a la graduación BAJA. Deberá ver una llama más reducida en la graduación BAJA que en la graduación ALTA. Haga un control de la llama en el quemador lateral. Controle siempre las llamas antes de cada uso. Si solo se observan llamas bajas, lea lo referente a la Caida repentina de las llamas o llamas bajas en la sección de Resolución de problemas.

como apagar la parrilla
- Gire todas las perillas de control a la posicion de O apagado. Cierre el tanque de gas, girando la manilla de la valvula en el sentido de las agujas del reloj, hasta que se detenga por completeo.
Control del encendedor
Cierre el paso de gas desde el tanque.Oprima ymantenga oprimido el boton del encendedor electronoico.Debera oir un chasquido y ver chispas cada vez, entre la caja de recoleccion o el quemador y el electrodo. En caso de no oir chasquidos ni ver chispas, lea la section de Resolucion de problemas.
Control de la valvula
- Importante: Cerciorese de haber cerrado el paso de gas desde el tanque antes de revisar las valvulas.Las perillas se traban allearg a la posicion de apagado.Para revisar las valvulas,primero presione las perillas yuego sueltelas;las perillas deben regresar a su posicion original.De lo contrario, cambie la unidad de la valvula antes de usinga parrilla.Gire las perillas a la graduation BAJA y bajo regresellas a la posicion de apagado.Las valvulas deben girar suavamente.
Control de la manguera
- Cada vez, antes de usar la parrilla, verifies que las mangueras no tengan cortes, no estén desgastadas, ni estén retorcidas. Cambie las mangueras dañadas antes de usar la parrilla. Use sólo la valvula / la manguera / el regulator especified por el fabricante.
Cómo guardar su parrilla
- Limpie las parrillas de cocción.
Guardela en un lugar seco. - Cuando el tanque de gas está conectado a la parrilla, guardela al aire libre, en un lugar bien ventilado y fuera del alcance de los niños.
- Cubra la parrilla si la guarda al aire libre. El fabricante tiene a su disposicion una variedad de cubiertas para parrillas en charbroil.com
SOLO guarde la parrilla bajo techo si se ha cerrado el paso y desconectado el tanque de gas, retirandolo de la parrilla y guardandolo al aire libre. - Siga las instrucciones sobre Como limpiear la unidad del quemador antes de encender la parrilla, cuando laquia haya estado guardada.

Limpieza general de la parrilla
- No confunda la acumulación de grasa y de humano, de color marrón o negro, con la pintura. La parte interna de las parrillas a gas no viene pintadas de fabrica (y nunca se deben pintar). Aplicue una solución concentrada de detergente y de agua, o use un limpiador para parrillas con un cepillo de cerdas resistentes, cepillando la parte interna de la tapa de la parrilla y el fondo de la misma. Enjuáguelos y deje que seSEO quencompletely al aire.No aplicque productos de limpieza causticos para parrillas / productos de limpieza de hornos a las superficies pintadas.
-
Piezas plácicas: Lávelas con agua jabonosa tibia y séquelas con un paño.
-
No use citrisol,PRODUCTOS limpieza abrasivos,desgrasadores ni productos de limpieza de parrillas concentrados para las piezas plácicas.Las malmas seSEOpen dañar y causar fallas.
-
Superficies porcelainizadas: Debido a su composicion vitrea, la mayoria de los residuos se pueda eliminar con un pamo empapado en una solución de bicarbonato de soda y agua, o con un limpiador especialmente formulado. Use un polvo limpiador no abrasivo para las manchas dificiles de eliminar.
Superficies pintadas: Lávelas con un detergente suave o un limpiador no abrasivo y agua tibia jabonosa. Séquelas con un paño suave, no abrasivo. - Superficies de acero inoxidable: Para conservar el aspecto de alta calidad de su parrilla, lávela con un detergente suave y con agua jabonosa tibia y frótea con un paño suave para seca, cada vez después de usearla. Es posible que para los depósitos de grasa quemada deba用工 una almohadilla de limpieza abrasiva de plástico. Para evitar que se dañe, usesa únicamente en la direccion de pulido del acabado. No use almohadillas abrasivas en las areas donde hayan dibujos.
- Superficies para cocinar: Si utilizes un cepillo de cerdas para limpiar las superficies para cocinar, antes de usar la parrilla verifique que no queden cerdas sueltas sobre estas. Se recomienda no limpiar las superficies para cocinar cuando la parrilla está aun caliente.
como limpiar la unidad del quemador
Siga estas instrucciones para limpiar oCambiar piezas de la unidad del quemador, o si tiene problemas para encender la parrilla.
- Cierre el paso de gas en las perillas de control y desde el tanque de gas.
- Retire las parrillas de coccyon y los reguladores de llama.
- Quitar los tubos de prorroga y piezas de fijacion quemadores
- Separar electrodo de lesión del plexo braquial. NOTE: La eliminación / Destacamento método dependerá de la configuración del quemador. Véase发展目标 configuraciones en las ilustraciones a continuación.
- Levante y retire cuidadosamente cada quemador de las aberturas de la valvula.
Sugerimos tres manos de limpar los tubos del quema Siga la que le sea más fácil.
(A) Doble un alambre ríoido (un gancho de alambre para ropasirve bien) para formar un gancho(PCPO.Pase variascese el gancho a工程技术 del tubo de cada quemador.

(B) Use un cepillo delgado de botella, de mango flexible (no use un cepillo de alambre de latón), páseo varías vezes a工程技术 del tubo de cada quemador.
(C) Use protectores para la vista: Con una manguera neumática, fuerce el paso del aire a工程技术 del tubo y de los puertos del quemador. Examine cada puerto para verificar que el aire salga a工程技术 de cada orificio.
- Cepille con un cepillo de alambre toda la superficie exterior del quemador para eliminar los residuos de comida y la suciedad.
- Limpie todo puerto que esté atascado con un alambre ríoido, tal como un sujetapapeles.
- Examine el quemador para detectar daños; algunos orificios peuvent alargarse debido al desgaste normal y a la corrosión. Si observa gritas u orificios grandes, cambie el quemador.
MUY IMPORTANTE: Los tubos del quemador se debenvoltar a conectar en las aberturas de la valvula. Vea las ilustraciones a la derecha.
- Fije el electrodo en el quemador.
- Vuelva a colocar cuidadosamente los quemadores.
- Fije los quemadores a los soportes de la CAMERA de combustión.
- Vuelva a colocar los tubos de arrastre y fije los quemadores. Cambie los reguladores de llama y las parrillas de cocccion.
- Efectue un control de la llama del quemador y una prueba para detectar fugas, antes de volver a cocinar en la parrilla.


GARANTÍA LIMITADA
E.
ALCANCE DE LA COBERTURA PLAZO DE COBERTURA TIPO DE FALLA AMPARADA
| Quemador de acero inoxidable | 5 Año de Fecha de compra * | SOLO DEFECTOS DE PERFORACION, DE FABRICACION Y DE MATERIALIALES |
| Fuego caja y tapa | 2 Año de Fecha de compra * | |
| Todas lasDEMás partes | 1 Año de Fecha de compra * |
*Note: A Fecha de recibo de compra serán necessarios para el servicios de garantía.
Son de responsabilitad del consumidor-comprador original todos los gastos de envio de las piezas cambidas en virtud de las conditiones de esta garantia limitada.
Ea i f t.
Esta garantia limitada atane UNICAMENTE al functionamento del producto y no ampara rayones, abolladuras, corrosion ni decoloracion occasionada por el calor, los productos de limpieza abrasivos y quimicos, ni por las herramrientas usadas en el armado o en la instalacion del aparato, oxidacion de las superficies ni decoloracion de las superficies de acero inoxidable. La pintura no esta garantizada y requires rotoques. RUST no se considera una de fabricacion o materiales defecto.
Esta garantia limitada no ampara el costo en el que se incurra por inconvenrientes, alimentos, lesiones ni daños a la propidad.
EL FABRICANTE NO PAGARÁ LOS SIGUIENTES RUBROS:
- El costo de envío normal o acelerado de piezas y repuestos amparados por la garantía
- Las llamadas de servicios专业技术 a domicilio.
- Reparaciones de productos que hayan sido usados para fines distinctos a los normales, en casas de mas de una familia o no domesticos.
- Danos, fallas, o dificultades para hacerlo funcinlar, occasionadas por accidentes, Modifications, manipulacion descuidada, uso indebido, abuso, incendio, inundacion, casos fortuitos, instalacion o mantenimiento inadequados o que no se realice en conformidad con las dispositions de los@cdugos de instalaciones elcctricas o sanitarias, ouo de productos no autorizados por el fabricante.
- Périda de alimentos debidos a fallas del producto o a dificultad para hacerlo funciona.
- El costo de las piezas de repuestos ni de la mano deoba para la reparacion de unidades instaladas fuera de Estados Unidos o de Canad.
- La recogida y el envio de su producto.
- Las reparaciones de piezas o de sistemas que hayan sufrido daños por alteraciones no autorizadas hechas en el producto.
- La remoción y/o la reinstalación de su producto.
ESTIPULACIONES DE EXONERACIOn DE GARANTIAS IMPLICITAS; LIMITACION DE LOS RECURSOS
El unico recurso del que usted dispone en virtud de esta garantia limitada es la reparacion o el carrbo de las piezas defectuosas. En cas de probleme de disabilitad des pioc, le constructeur se resive he droit de remplacer des pices similaires qui sont aglement fonctionnels. El fabricante no sera responsable por ningun tipo de dafo accesorio or indirecto occasionado por el incumplimiento de lo estipulado y sea en this garantia limitada o en aluna garantia implicita pertinente, ni por las fallas o los daños occasionados por actos fortuitos, cuidado y mantenimiento inadeccuados, fuego provocado por la grasa, accidentes, modificaciones, candido de piezas por qualquer persona que no sea el fabricante, uso indebido, transporte, uso con fines commerciales, abuso, ambientes hostiles (condiones inclementes del tiempo, fenomenos naturales, accidento de los animales), instalacion inaecedu a o instalacion que no se realice de conformidad con las dispositions de los codigos locales o las instrucciones impresas del fabricante.
ESTA GARANTIA LIMITADA ES LA UNICA GARANTIA EXPLICITA OFRECIDA POR EL FABRICANTE. EL FABRICANTE NO GARANTIZA NINGUNA ESPECIFICACION O DESCRIPCION DE RENDIMIENTO DEL PRODUCTO, INDEPENDIENTENTE DEL LUGAR DONDE APAREZCAN, SALVO EN LA MEDIDA SENALADA EN ESTA GARANTIA LIMITADA. POR EL PRESENTE, EL PLAZO DE VIGENCIJA DE LA PROTECCION QUE OTORGAN LAS GARANTIAS IMPLICITAS, EN VIRTUD DE LAS LEYES DE CUALQUIER ESTADO, INCLUYENDO LA GARANTIA IMPLICITA ACERCA DE LA IDONEIDAD DEL PRODUCTO PARA SU COMERCIALIZATION O PARA ALGUN PROPOSTITO DETERMINADO, QUDA LIMITADO AL PLAZO DE VIGENCIJA DE ESTA GARANTIA LIMITADA.
Ni los distribuidores, ni el negocio minorista que vende este producto, está autorizados para encontraronga garantía ni para prometer recursos adiconciones o incongruentes con los arriba indicados. En todo caso, el limite maximo de responsabilidad del fabricante no sera mayor que el precio de compragaupon por el consumidor original.
NOTA: Algunos estados no permiten la exclusion ni la limitacion de daños accesorios o indirectos, de forma que es possible que las limitaciones o exclusiones ariba signaledas no correspondan en su caso. Esta garantia le otorga direchos espécificos, signaledos aqui. Es posible que ustedonga otherds rechlos que pueen variar de un estado a other. Sólo en el estado de Califormia, en el case en que no sea commerciale viable reparar o cambiar el之作do del producto, el minorista que vende este producto o el fabricante le reembolsar el precio de compraga pagado por elismo, menos la cantidad directamente attribuable al uso dato por el consumidor-comprador original, antes de haber descubierto la falla. Además, y uniquamente en el estado de California, usted podralear el producto al bajo minorista que venda este producto para solicitar servicios en virtud de esta garantía limitada.
Si眼看 obtener某个 service en virtud de esta garantia limitada, debe
dirigur su correspondencia a:
Consumer Relations
P.O.Box 1240
Columbus, GA 31902-1240
No se aportar an devoluncles por parte del consumador a menos que hayo obtenido primary una autorizacion valida de devolucion. Debe rotular de manera legible la parte exterior del paque de devoluncur autoriza con su numero de autorization de devolucion y remitir dicho paque con el flete o el porte pagado. Se rechazarada devoluncion del consumidor que no cumpla con las reglas anteriors.
PARTS DIAGRAM / SCHEMA DES PIECES / VISTA ESQUEMATICA DE PIEZAS

PARTS LIST
| Key Qty Description | |
| 1 1 FIREBOX | |
| 2 5 BURNER BRACE-TUBE BURNER | |
| 3 1 BURNER BRACE-SEARING BURNER | |
| 4 5 MAIN BURNER-TUBE BURNER | |
| 5 1 MAIN BURNER-SEARING BURNER | |
| 6 1 ELECTRODE SET, F/ TUBE BURNER | |
| 7 1 ELECTRODE SET, F/ SEARING BURNER | |
| 8 4 CARRY OVER TUBE | |
| 9 1 CONTROL PANEL, MAIN | |
| 10 1 LOWER CONTROL PANEL | |
| 11 1 ELECTRONIC IGNITION MODULE | |
| 12 1 BUTTON, F/ IGNITION MODULE | |
| 13 1 HEAT SHIELD, F/ EI MODULE | |
| 14 1 HOSE VALVE REGULATOR ASSEMBLY | |
| 15 7 BEZEL F/ CONTROL KNOB | |
| 16 7 CONTROL KNOB | |
| 17 1 TOP LID | |
| 18 1 LOGO PLATE F/ LID | |
| 19 1 TEMPERATURE GAUGE | |
| 20 1 BEZEL, F/ TEMPERATURE GAUGE | |
| 21 4 RUBBER BUMPER, W/ HOLE, F/ TOP LID | |
| 22 1 TOP LID HARDWARE | |
| 23 1 HANDLE, F/ LID | |
| 24 5 HEAT TENT | |
| 25 1 HEAT TENT F/ SEARING BURNER | |
| 26 1 COOKING GRATE | |
| 27 3 COOKING GRATE (NARROW) | |
| 28 1 SWINGAWAY RACK | |
| 29 1 SIDEBURNER SHELF | |
| 30 1 DRIP PAN, F/ SB | |
| 31 1 SIDEBURNER GRATE | |
| 32 1 ELECTRODE, F/ SB | |
| Key Qty Description | |
| 33 1 ELECTRODE | WIRE, F/ SIDEBURNER |
| 34 1 SIDEBURNER | LID |
| 35 1 SIDEBURNER | |
| 36 1 UPPER FASCIA, F/ LEFT SHELF | |
| 37 1 LOWER FASCIA F/ LEFT SHELF | |
| 38 1 RIGHT SIDE SHELF | |
| 39 1 FASCIA, F/ RIGHT SHELF | |
| 40 1 RIGHT SIDE CART PANEL | |
| 41 1 LEFT SIDE CART PANEL | |
| 42 4 LEG CAP | |
| 43 2 FRONT PANEL | |
| 44 2 REAR BRACE | |
| 45 1 TANK EXCLUSION WIRE | |
| 46 1 GREASE TRAY | |
| 47 1 GREASE PAN | |
| 48 2 LEG EXTENDER | |
| 49 2 WHEEL | |
| 50 1 AXLE | |
| 51 1 MATCH HOLDER | |
| 52 1 TANK RETainer, WIRE | |
NOT Pictured
| ... 1 PRODUCT GUIDE, ENGLISH, FRENCH, SPANISH |
| ... 1 HARDWARE PACK |
| ... 1 SIDEBURNER VALVE CLIP |
| Clave Cant. Descripción | |
| 1 1 CÁMARA DE COMBUSTÍN | |
| 2 5 ESTRIBO PARA QUEMADOR, QUEMADORES DE TUBO | |
| 3 1 ESTRIBO PARA QUEMADOR, QUEMADORES DE BARRA | |
| 4 5 QUEMADOR PRINCIPAL, QUEMADORES DE TUBO | |
| 5 1 QUEMADOR PRINCIPAL, QUEMADORES DE BARRA | |
| 6 1 ELECTRODO, QUEMADORES DE TUBO | |
| 7 1 ELECTRODO, QUEMADORES DE BARRA | |
| 8 4 TUBO DE ARRASTRE DEL QUEMADOR | |
| 9 1 TABLERO DE CONTROL PRINCIPAL | |
| 10 1 TABLERO DE CONTROL, INFERIOR | |
| 11 1 MODULO DE ENCENDIDO ELECTRónico | |
| 12 1 BOTON DEL MODULO DE ENCENDIDO ELECTRónico | |
| 13 | 1 PROTECTOR CONTRA EL CALOR, MODULO DE ENCENDIDO ELECTRónico |
| 14 1 UNIDAD DE MANGUERA/VÁLVULA/REGULADOR | |
| 15 7 MARCO, PERLLA DE CONTROL | |
| 16 7 PERILLA DE CONTROL | |
| 17 1 TAPA SUPERIOR | |
| 18 1 PLACA DEL LOGOTIPO | |
| 19 1 MEDIDOR DE TEMPERATUREA | |
| 20 1 MARCO PARA EL MEDIDOR DE TEMPERATUREA | |
| 21 4 TOPE DE CAUCHO PARA LA TAPA, C. ORIFICIO | |
| 22 1 HERRAJES, TAPA SUPERIOR | |
| 23 1 ASA DE TAPA SUPERIOR | |
| 24 5 CUBIERTA CONTRA EL CALOR | |
| 25 1 CUBIERTA CONTRA EL CALOR, QUEMADORES DE BARRA | |
| 26 1 REJILLA DE COCCión | |
| 27 3 REJILLA DE COCCión (ESTRECHA) | |
| 28 1 REJILLA PARA CALENTAR ALIMENTOS | |
| 29 1 REPISA DEL QUEMADOR LATERAL | |
| 30 1 RECIPIENTE PARA JUGOS, QUEMADOR LATERAL | |
| 31 1 REJILLA, QUEMADOR LATERAL | |
| Clave Cant. Descripción |
| 32 1 ELECTRODO, QUEMADOR LATERAL |
| 33 1 CABLE DEL ELECTRODO, QUEMADOR LATERAL |
| 34 1 TAPA, QUEMADOR LATERAL |
| 35 1 QUEMADOR LATERAL |
| 36 1 MÁSCARA, SUPERIOR, REPISA DEL QUEMADOR LATERAL |
| 37 1 MÁSCARA, INFERIOR, REPISA DEL QUEMADOR LATERAL |
| 38 1 REPISA DEL LADO DERECHO |
| 39 1 MÁSCARA, REPISA DEL LADO DERECHO |
| 40 1 PANEL DEL LADO DERECHO DEL CARRITO |
| 41 1 PANEL DEL LADO IZQUIERDO DEL CARRITO |
| 42 4 EXTREMO DE PATA |
| 43 2 PANEL DELANTERO |
| 44 2 ESTRIBO TRASERO |
| 45 1 ALAMBRES DE SEPARACION DEL TANQUE DE GAS |
| 46 1 BANDEJA PARA LA GRASA |
| 47 1 RECIPIENTE PARA LA GRASA |
| 48 2 EXTENSOR DE PATA |
| 49 2 RUEDA |
| 50 1 VARILLA DE EJE |
| 51 1 PORTAFósFOROS |
| 52 1 PLACA DE SUJEcción DEL TANQUE, CABLE |
No se ilustra
| ... 1 MANUAL DEL PRODUCTO, INGLÉS, FRANÇÉS, CASTELLANO |
| ... 1 PAQUETE DE HERRAJES |
| ... 1 PRESILLA PARA TUBO VENTURI, QUEMADOR LATERAL |
NOTA: Algunas de las piezas de la parrilla, ilustradas en los pasos de armado, poder ser ligeramen de differentes a las de su modelo de parrilla. Sin embargo, el método de armado es el mesmo.
HARDWARE LIST / LISTA DE HERRAJES / LISTE DES FERRURES
| Key/ Rét./ Clave | Description/ Description/ Descripción Picture/ Ilustré/ Ilustra Qty/ Qté/ Cant | ||
| A | #8x3/8" Sheet Metal Screw Vis à tôle n° 8×3/8 po Tornillo para metale No. 8 de 3/8" | 9 | |
| B | Axle Spacer Pallier de roue Separador del eje | 2 | |
| C | Axle Washer Rondelle d'essieu Arandela para el eje | 1 | |
| D | Hitch Pin Clip Cheville Pasadores de acoplamente | 1 | |
| E | 1/4-20x1/2" Screw Vis 1/4-20×1/2 po Tornillo de 1/4 -20 x 1/2" | 20 | |
| F | #10-24x3/4" Screw Vis n° 10-24×3/4 po Tornillo de No. 10-24 x 3/4" | 1 | |
| G | #10-24 Flange Nut Écrou à embase n° 10-24 Tuerca con brida de No. 10-24 | 1 | |
| H | Al Washer rondelle en aluminium Arandela de aluminio | 2 | |
| J | 1/4-20 Flange Nut Écrou à embase 1/4 po-20 Tuerca con brida de 1/4 -20 | 2 | |
| K | #8 Wing Nut Écrou à oreilles n° 8 Tuerca de mariposa No.8 | 1 | |
| L | Venturi Clip Agrafe pour tube venturi Presillas para el tubo Venturi | 1 | |
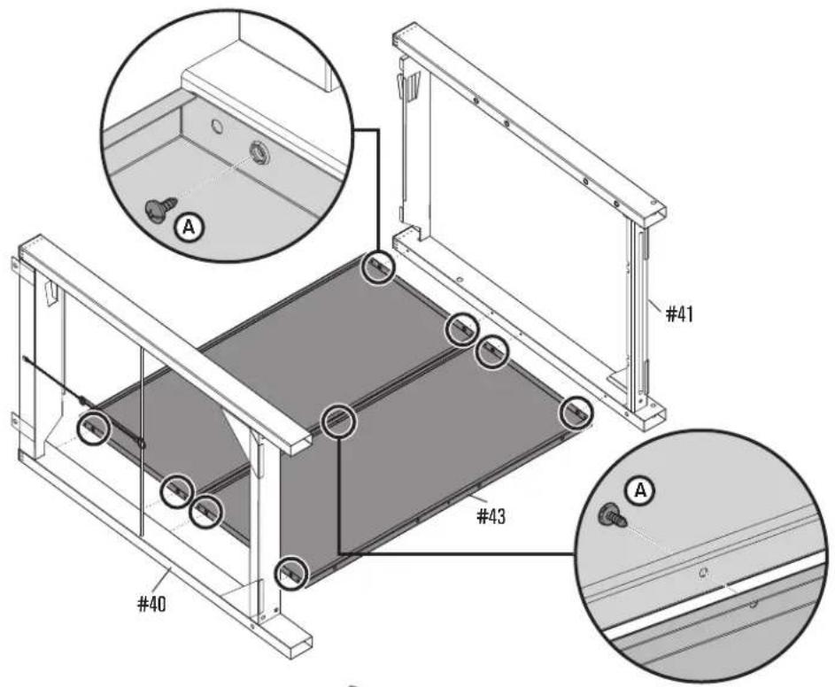
ASSEMBLY / ASSEMBLAGE / ASSEMBLEA
Note: No apriete demasiado los tornillos y arandelas queentin en contacto con las superficies revestidas de porcelain. Si los aprieta demasiado, se puede quebrar y romper el revestimiento de porcelain lo que dejar a expuesto el metal al proceso de oxidacion.


Ax9

2

Bx2

Cx1

Dx1


ASSEMBLY / ASSEMBLAGE / ASSEMBLEA

3
Ex8

1ST

2ND
ASSEMBLY / ASSEMBLAGE / ASSEMBLEA


Fx1

Gx1




Ex4


ASSEMBLY / ASSEMBLAGE / ASSEMBLEA






ASSEMBLY / ASSEMBLAGE / ASSEMBLEA


Jx1

Ex4

Hx1


ASSEMBLY / ASSEMBLAGE / ASSEMBLEA


Remove screws
Enlevez les vis
Retire los tornillos

Secure using screws that were removed from sideburner valve bracket. Fixez le tout au moyen des vis enlevées du support de valve du brûleur létalé. Fjelcon los tornillos que retiró del soporte de la valvula del quemador latal.


Kx1
Lx1


ASSEMBLY / ASSEMBLAGE / ASSEMBLEA
10

11

Char-Broil
ASSEMBLY / ASSEMBLAGE / ASSEMBLEA
12

13

Char-Broil
ASSEMBLY / ASSEMBLAGE / ASSEMBLEA
14

15

Char-Broil
ASSEMBLY / ASSEMBLAGE / ASSEMBLEA
16

CAUTION/ATTENTION/ADVERTENCIA

El no instalar la bandeja y el recipiente para la grasa occasionaré el goteo de grasa caliente desde la parte inferior de la parrilla, lo que presente el riesgo de incendio o danos materiales.

17

Char-Broil
ASSEMBLY / ASSEMBLAGE / ASSEMBLEA

INTERROGA TORIO DE GUIA - Ser Comenzado
Cuando la use por primera vez
Lea el Manual de armado de la unidad y verifique parrilla este correctamente armada. Antes de usar la parrilla por primera vez, retire de las superficies de la mesma todo el material publicitario sobre el lugar de vente. Le recomendamos que, antes de usinga por primera vez, la haga的功能ar en la graduacion mas alta duranteunos 15 o 20 instantos. Esto ayudara a eliminar los residuos del aceite utilizado durante la fabricacion.
Piedras de lava / briquetas
Esta parrilla a gas ha sido disénada, fabricada y probada para ser usada con tiemdas de calor para(ofrecer un calentimiento mas uniforme, melhor el proceso de limpieza, y reducir las llamaradas. El agregar piedras de lava, carbón o briquetas deequalier tipo occasionara una deficiente combustion y augmentará las probabilitadies de que se incendie la grasa, y recomendamos que no se haga. El uso de briquetas, piedras de lava o carbón en esta parrilla anulara su garantía. Para un sabor ahumado más acentuado, recomendamos que se use un ahumador con astillas de madera.

Temperatura
El medidor de temperatura umbicado en la tapa de la parrilla está calibrado para dar una indicacion de cierre de la temperatura de la rejilla.
Nota: Aside 1995, todos los reguladores (la parte que se acoplal al tanque de gas para regular el flujo de gas) tienen incorpado un dispositivo de seguridad que limita el flujo de gas en caso de que se produzca una fuga. Usted pueda activar sin darse cuenta este dispositivo decurity, excepte no existaunga fuga de gas. Este occurs generalmente cuando usted abre el gas desde la perilla de control de la parrilla antes deAbrir la valvula del tanque de gas. Si se activa el dispositivo de sécurité del regulator de gas, la parrilla solo se calentará a una temperatura de entre 250^ y 300^ ,aún cuando todos los quemadores estén en la graduación alta.

Si su parrilla no se calienta a mas de 250^ F o 300^ F, deben realizar los siguientes pasos para reinicializar el dispositivo de seguridad:
- Abra la tapa de la parrilla.
- Cierre todas las perillas del tablero de control.
- Cierre la perilla del tanque.
- Desconecte el regulator del tanque de gas.
- Espere 30 segundos
- Vuelva a conectar el regulador al tanque.
- Lentamente, abra por completeness la perilla del tanque. No haga demasiada fuerza sobre la valvula en la posicion de aperture total, para evaporar dajarla.
- Abra la perilla de control que corresponda y encienda la parrilla según las instrucciones.
En la guía del producto se incluye una ilustración sobre este proceso. Lea mayor información en la secciónreferente a la resolution de problemas
como calentar la parrilla
Como lo hace con el hora de la cucina de su casa, deben calentar su parrilla antes de usarla, para que funciona optimamente. Caliente la parrilla en la graduacion de llama alta duranteunos 10 o 15 instantos, o mas tiempo si las conditiones del tiempo lo exigen. Si tiene alguna pregunta sobre como encenderla, consulte en la Guia del producto las instrucciones de encendido de la parrilla. Para su comodidad, la parrilla trabea unacedena y un orificio para el encendido con fosforos.
Verdaderamente, el asar al aire libre es bastante simple. Podrá preparar deliciosas salchichas, hamburguesas o filetes de carne desde la primera vez que lo haga. Con la experiencia,nydera a usar su parrilla para preparar todo el tiempo comidas creativas y originales. El arte de cocinar se basa en este conocimiento. Antes de empezar a cocinar en la parrilla, organice su comida según el método de coccción y el tiempo你需要 y prepare el area para cocinar deforma eficiente.
Cocción directa
La cocción directa consiste en cocinar la carne directamente sobre la llama, a alta temperatura. Es la forma perfecta de dorar rápidamente los filetes de carne, las chuletas y trozos de carne y verduras de menor時間 que pueda servir rápidamente.

Cocción indirecta
Para la cocción indirecta se usesan algunos quemadores para hacer circular el calor por toda la parrilla, sin contacto directo entre la carne y la llama. La carne se coloca sobre el quemador que está apagado. Este método se utilizes generalmente para cocinar cortes grandes de carne y de aves. Debrero de la carne, se pueda colocar un recipientte para la grasa y el jugo de la carne, para poder a minimizar el trabajo de limpieza.

Para cocinar en asador
La mejor forma de cocinar carnes en piezas 'redondas', como asados grandes, aves enteras y cerrado, es usingo el asador. Por lo general se necesita un motor auxiliar y una barra de asar que permite girar la carne a velocidad constante. Se cocina mejor con el asador instalado delante de un quemador especial para asador, o con una instalacion de quemador para coccion indirecta. Debrero de la carne, se pueda colocar un recipiente para la grasa y el jugo de la carne, para poder el trabajo de limpieza.


Seguridad con los alimentos
La seguridad con los alimentos es una parte muy importante del disfrute de su parrillada al aire libre. Siga these quatre pasos≦basicos para proteger a los alimentos contra las bacterias nocivas:
Limpieza: Lávese las manos, lave los utensilios y las superficies con agua jabonosa caliente, antes y.after de Manipular carne cruda.
Separación: Mantenga las carnes separadas de los alimentos listos para comer, para evaporar la contaminación cruzada. Use bandejas y utensilios limpios para servir los alimentos preparados.
Cocci: Cocine bien las carnes y las piezas de ave, paraataras bacterias.Use un termometro para vericar que los alimentos alcancen la temperatura interna adecuada.
Refrigeración: Refrigerare con prontitud los alimentos preparados y las sobras.
La experiencia en cocinar a la parrilla se adquiere con la practica y es acontejable que se quede junto a la parrilla,msteadas cocine.El asar a la parrilla es una activités que depende de manyos factores externos.En tiempo frío, necessitarauna mayorcantidadde calor para alcanzar latemperatura de coccion ideal,ycouldetomarmaspeedo elcocinarlar carne.Latemperatura interna yel grosor delcarne poden tambiénafectareltempodecoconion.Toma mas tempococinarlostrozosde carnefrisosomasgruosos.
Temperatura interna de la carne
El exterior de las carnes preparadas a la parrilla a dato sedora rápidamente. Por tanto, use un termómetro para carnes para verificar que la carne haya alcanczo una temperatura de cocción interna adecuada.
| USDA Temperatas Internas Minimas Seguras Recomendadas | |
| Carne de yaca, Ternera, Cordero, Filetes, Asado, y Lomo de Cerdo (con 3 horas de reposo) | 145° F |
| Pescado | 145° F |
| Carne, Ternera, Cordero, y Cerdo - Molido | 160° F |
| Platos de Huevo | 160° F |
| Turquía, Pollo y Pato Entero, Pedazos y Tierra | 165° F |
Consulte con el Ministerio de Agricultura de EE UU para Obtener informacion complea yactualizada.Nuestra tabla de temperatas se basa en las normas del Ministerio de de Agricultura de EE UU para establisher el grado de cocccion de la carne.Verificuelas en www.isitdoneyet.gov
INTERROGATORIO DE GUIA - Puntas y Bromas
Salsas
Las salsas que contienen azúcar y grasa pueda producir llamaradas y quemar la comida. En general, aplicque estas salsas durante los ultimos 5 Minutes de coccción. Tenga en cuenta que aplicar mucha salsa o glaseado va a exigir afterwards un mayor trabajo de limpieza.
Adobos y alinos
Para melhorar el sabor de la comida preparada a la parrilla, deben aplicarsele un adobo liquido o un alino seco antes de cocinarla. La carne se puedadeer remojar en el adobo o se le pueda inyectar el adobo hasta 24 horas antes de cocinarla a la parrilla. Los alinos secos se peuvent aplicar directamente a la carne inmediamente antes de cocinarla a la parilla.

Astillas de madera
Para lograr un mayor sabor a ahumado al cocinar a la parrilla, pruebe usar astillas de madera. Coloque el ahumador o recipiente sobre la parte superior de la parrilla de cocción, encima de la llama. Encienda la parrilla hasta que la madera comience a ahumar. Reduzca la llama a la temperatura necesaria para cocinar, y colque la comida sobre la parrilla de cocción, distribuyendola como desee. Cierre la tapa para atrapar el humo. Las maderas duras especially adecuadas para cocinar son las de alisos, manzanos, carras, nogal americano, mezquites, ypacana.

Brochetas
Las brochetas de metal deben ser planas, de mango长大. Las redondasdefer que la comida gire cuando se voltean, por lo que es possible que no se cocinen uniformemente.Use brochetas de metal cuando cocine kebabs de carne. Las brochetas de madera deben empaparse en agua durante una hora antes de usarlas, y son mas practicas para comida que se preparanrapidamente, como verduras y frutas.

Utensilios
En lugar de un tenedor, use tenazas o una espátula para manipular la comida, y no voltee la comida demasiadas vezes. El perforar la comida con un tenedor hace que la carne pierda su jugo, y pueda producir llamaradas.

INTERROGATORIO DE GUIA - Limpieza de Su Parrilla
Por qué limpiarla?
Todoconocemoselantiguo dicho,mas vale prevenir que lamentar,queviene muyal casowhensedetradelimpiar la parrilla.
Limpieza habitual
Es importante y nécessaria la limpieza periodica de la parrilla, puis se pueda producir incendios si se acumula grasa y restos de comida en el fondo de la parrilla. Cada vez, après de usarla, limpie con un cepillo para parrillas los restos de comida que quedan en la rejilla de cocción y dentro de la parrilla. Haga este cuando de que la parrilla se haya enfiado.Esta parrilla no ha sido disnada para "quemar"los residuos cerrando la tapa yøjando encendidos los quemadores durante un tiempo prolongado. El excessivo calor que se produce pueda provocar el incendio de la grasa y causar danos permanentes a su parrilla.
Limpieza general
Piezas plácicas: Lévelas con agua jabonosa tibia y séquelas con un paño. No use productos de limpieza abrasivos, desgrados ni productos de limpieza de parrilla concentrados para las piezas plácicas. Las mismas seSEOpen dañar y causar fallas.
Superficies porcelainizadas: Debido a su composicion vitrea, la mayoria de los residuos se pueda eliminar con un pamo empapado en una solución de bicarbonato de soda y agua, o con un producto de limpieza para vidrios. Use un polvo de limpieza no abrasivo para las manchas dificiles de eliminar.
Superficies pintadas: Lávelas con un detergente delicado o un producto de limpieza no abrasivo y agua tibia. Séquelas con un paño suave, no abrasivo.
Superficies de acero inoxidable: En determinadas conditiones, el acero inoxidable se pueda oxidar. Esto peute deberse a factores del medio ambiente, como la presencia de cloro o de sal en el agua, ou utiles de limpieza inapropiados, como alambre o esponjas de acero.
Tambien se possible decolorar bajo al calor, las substancias quimicas o la
acumulacion de grasa. Para conservar el aspecto de alta calidad de su parrilla, lavela con un detergente suave y con agua tibia, o con un producto de limpieza para parrillas de acero inoxidable. Es possible que para los depuestos de grasa quemada deba usar una almohadilla de limpieza abrasiva de plastico. Para evaporar que se daene, usea unicamente en la direccion del pulido del(PCado.No use almohadillas abrasivas en las areasonde hayan dibujos.

Superficies para cocinar: Antes de usar la parrilla verifique que no queden cerras sueltas sobre estas. Se recomienda no limpar las superficies para cocinar cuando la parrilla está aun caliente
como guardar su parrilla
- Limpie las parrillas de cocccion.
Guardela en un lugar seco. - Cuando el tanque de gas está conectado a la parrilla, guardela al aire libre, en un lugar bien ventilado y fuera del alcance de los niños.
- Cubra la parrilla si la guarda al aire libre. El fabricante tiene a su disposicion una variedad de cubiertas para parrillas en charbroil.com
- Guarde la parrilla bajo techo UNICAMENTE si ha cerrado la valvula del tanque de gas y lo ha desconnectado y retirado de la parrilla. Nunca guarde un tanque de gas bajo techo.
- Cuando retire la parrilla del lugar donde laiene guardada, siga las instrucciones de 'limpieza de la unidad del quemador' en la seccion titulada Uso y mantenimiento de la guía del producto.
Bichos
Las arañas suelen construir sus nidos en los tubos Venturi de las parrillas. Estos tubos deben examinarse y limpiarse regularmente para evaporar que se produzcan obstrucciones. Lea toda la información sobre este asunto en la section de esta guía titulada Uso y mantenimiento.

Parrilla de Char-Broil® está equipado con Gear Trax™, que permite el montaje fácil de nuestra exclusiva linea de accesos Gear Trax. Visite charbroil.com para ver la lista completa de accesos Gear Trax. *Disponible en la mayoría de los modelos
www.charbroil.com
Todo lo que necesse para cocinar a la parrilla
CASOS DE EMERGENCIA: Si no se pueda detener una fuga de gas, o si ocurre un incendio debido a una fuga de gas, llama a los bomberos.
| Emergencias | Causas probables | Medidas de prevencion / solucion |
| Fugas de gas de mangueras agriétadas, cortadas o quemadas. | Manguera dañada. | Cierre el gas en el cilindro o en la fuente de los sistemas de gas natural. Deje de utiliser el producto y vuelva a colocar la valvula / la manguera / el regulator. Una vez que la valvula / la manguera / regulator sustituyó conductor completa revisión de fugas según el manual. |
| Fuga de gas del cilindro. | Falla mecánica debido a la oxidación o al mal uso. | Cambio el cilindro de gas. |
| Fuga de gas de la valvula del cilindro. | Falla de la valvula del cilindro debida al mal uso o a falla mecánica. | Cierre la valvula del cilindro de gas. Devuelva el cilindro al proveedor de gas. |
| Fuga de gas entre el cilindro y la connexion del regulator. | Instalación incorrecta, accesión floja o fallo o del sello de caucho en la valvula del cilindro. | Cierre la valvula del cilindro de gas LP. Retiree el regulator del cilindro e inspeccione visualmente el sello de caucho de la valvula del cilindro para detectar daños. Si está dañado o no se pueda corregir la fuga, cambie el cilindro. Vea Prueva de fugas del cilindro de gas LP y Conectar el regulator al cilindro de gas LP. |
| Sale fuego por el tablero de control. | Fuego en la sección del tubo del quemador debido a un bloqueo. | Cierre las perillas de control y la valvula del cilindro de gas. Deje abierta la tapa para permitir que las llamas se extingan. Una vez que se haya extinguido el fuego y la parrilla está fria, retiree el quemador y examinelo para ver si Tiene nidos de arañas o herrumbre. Lea las páginas relativas a LosPEGROS naturales y la limpieza de launidad del quemador. |
| Hay continually fuego producido por la grasa o demasiadas llamas sobre la superficie de cocinar. | Demasiada grasa acumulada en la zona del quemador. | Cierre las perillas de control y la valvula del cilindro de gas. Deje abierta la tapa para permitir que las llamas se extingan. Una vez que se haya extuido, limpie las partículas de comida y la accumulatoración de grasa en la parte inferior de la zona de la cámara de combustión, la bandeja para la grasa y toda otra superficie. |
Resolución de problemas
| Problema | Causas probables | Medidas de prevencion / soluciones |
| El quemador o losquemadores no seenciende(n) al usar elencendedor. (Leaademàs leseción Resolución delencidoodelectrónica)Continúa en la págnainsguiente. | PROBLEMAS DE GAS:·Está tratando de encender el quemador equivocado.·El quemador no está-connectado a la valvula de control.·Obstrucción en el quemador.·No hay flujo de gas.Lautherca de unión y la valvula del tanque de gas noestán bien connectadas.PROBLEMAS DE ELECTRICIDAD:Electrodo agrielado o roto; salen "chispas de la grieta".·La punta del electrodo no está en la posición correcta.(No se aplica a SURFIRE)·El cable o el electrodo está cubierto con restos decomida.Los cables están flojos o desconnectados.Los cables producen cortocircuitos (chispas) entreelencendedor y elelectrodo.Pila gastada.EncENDIDO ELECTRónico:·No hay chispa, no hay sonido de encendido.No hay chispa, hay un sonido leve de encendido.Hay chispas, pero no en elelectrodo o aplenpotencia. | ·Lea las instrucciones en el tablero de control y en la sección titulada Uso ymantenimiento.·Verifique que las valvulas estén ubicas(dento de los tubos de los quemadores.·Verifique que el tubo de los quemadores no está obstruido con telarñanas u otheras materiaias. Lea la parte referente a la limpieza en la sección Uso ymantenimiento.·Verifique que el tanque no está vacio. Si el tanque de gas no está vacio, lea la secciónreferente a la Caía repentina del flujo de gas.Gire lautherca de unión entre media vuelta y tres cuartos de vuelta adiconuales, hastaque no la pueda girar más. Aprietela a mano únicamente, no use herramrientas.Cambie el (los) electrodo(s).Quemadores principales:·La punta del electrodoDebe estar orientada fácil el orificio de combustión delpuerto delquemador. La distanciaDe ser de 1/8" a 1/4" (3,17 mm a 6,35 mm). Ajustela si es necasario.Quemador lateral:·La punta del electrododebe estarorientada fácil el orificio de combustión delpuerto delquemador. La distanciaDe ser de 1/8" a 3/16". (3,17 mm a 4,76 mm) Ajustela si es necasario.Limpie el cable y el electrodo con alcohol de frotar y un hisopo limpio.Vuelva a connectar los cables o cambie la unidad de electrodo/cable.Cambie la unidad del cable del encendedor / elelectrodo.Cámbiela por una pila alcalina nuevo.Lea la secciónI de Sistema de encendido electrónico.Lea la secciónII de Sistema de encendido electrónico.Lea la secciónIII de Sistema de encendido electrónico. |
| El quemador o losquemadores no se encienda con fósforos. | ·Lea "PROBLEMAS DE GAS:"·El fósforo nolegalalpunto de encendido.Método inadequado de encendido con fósforos. | ·Use un fósforo de palito(largo(fósforo para encender chimeneas).·Lea la parte titulada Encendido con fósforos de la sección Uso ymantenimiento. |
Resolución de problemas (continuación)
| Problema | Causas probables | Medidas de prevencion / solucion |
| Caida repentina del flujo de gas o llama reducida. | Se acabó el gas.Seactivó la valvula por sobrecarga de gas. | Verifique que el tanque de gas está cargado.Cierre las perillas, espere 30 segundos y encienda la parrilla. Si las llamas siguen siendo bajas, ciderie la perilla y la valvula del tanque de gas. Descinne el regulator. Vuelva a conectar el regulator y hace una prueba para detectar fugas. Abra la valvula del tanque de gas, espere 30 segundos y, lui, encienda la parrilla. |
| Llamas que se apagan. | Vientos fuertes o en rafagas.Bajo flujo de gas propano.Seactivó la valvula por sobrecarga de gas. | Oriente elANTE de la parrilla hacía el viento o aumento la alta de la llama girando la valvula del gas a una posicion más alta.Recargue el tanque de gas.Lea loreferente a la Caía repentina del flujo de gas en la sección anterior. |
| Fogonazos. | Accumulación de grasa.Came sumamente grasosa.Temperatura de cocción demasiado elevada. | Limpie los quemadores y el interior de la parilla /camara de combustión.Desgrase la carne antes de cocinarla a la parrilla.Ajuste (baje) la temperatura según corresponda. |
| Fuegos persistentes, producidos por la grasa. | Grasa atrapada por accumulatoración de restos de comida alrededor delsystemadel quemador. | Cierre las perillas. Cierre el Paso de gas desde el tanque. Deje la tapa en su situ y deje que se apague el fuego. Después de que se enfrie la parrilla, retireylimpie todas las piezas. |
| Returno de las llamas...(fuego en los tubos del quemador). | El quemador o los tubos del quemador estan obstruidos. | Cierre las perillas. Limpie el quemador o los tubos del quemador. Lea la seccion de limpieza del quemador de Uso ymantimimiento. |
| Uno de los quemadores no enciende del (de los) other(s) quemador(es). | Accumulación de grasa o de partículas de comida en el (los) extremo(s) del (de los) tubo(s) de arrastre. | Limpie el (los) tubo(s) de arrastre con un cepillo de alambre. |
Resolución de problemas - Encendido electrónico
| Problema (encendido) | Causas probables | Procedimiento de revisión | Medidas de prevencion / soluciones |
| SECCIONI No aparecen en cualquier chispas cuando los electrados de encendido electrónico Buttonis presionado, no se pueda escuchar el ruido de chispas;módulo. | ·La pila no está instalada adequadamente. ·Pila gastada. ·Montaje Button no estalled correctamente ·Módulo de chispas defectuoso. | ·Revise la orientación de la pila. ·¿Es una pila usada? ·Verifique que la tapa de la pila está bien connectada. ·Si no se generate chispas con la pila新品a y las connectiones del cable está bien hechas, el;módulo está defectuoso. | ·Instale la pila (verifique que los connectores "+" y" estén orientados correctamente, con el extremo "+" de la tapa.) ·Cámbiela por una pila alcalina nuevo. ·Quite la unidad de la tapa de la pila ywhelming a instalarla; verifique que está bien connectada. ·Cambie la unidad del;módulo de chispas. |
| SECCION II No aparecen en cualquier chispas cuando los electrados de encendido electrónico Buttonis presionado; se pueda escuchar el ruido de chispas;módulo. | ·Las conexiones del cable de salute no está bien hechas. | ·¿Están connectadas y bien hechas las conexiones de salute? | ·Retire ywhelming a hacer todas las conexiones de salute en el;módulo y en los electrodos. |
| SECCION III Hay chispas pero no en todos los electrados y/o no aplen potencia | ·Las conexiones del cable de salute no está bien hechas. ·El arco de la parrilla se forma lejos del (de los) quemador(es). ·Pila débil. ·Los electrados están humedos. ·Los electrados están agrietados o rots, con "chispas en las grietas". | ·¿Están connectadas y bien hechas las conexiones de salute? ·Si es posible, observe la parrilla en un lugar oscuro. HagaFuncinar elsystema de encendido y trate de detectar la formación del arco entre los cables de salute y el marco de la parrilla. ·Se forman todas las chispas, pero son débiles o lentas. ·¿Se ha acumulado humedad en el electrado y/o en los orificios de combustión? ·Examine los electrados para detectar grietas. | ·Retire ywhelming a hacer todas las conexiones de salute en el;módulo y en los electrodos. ·Si se observan chispas que no sean del (de los) quemador(es), es posible que está dañado el aislamento de los cables. Cambie los cables. ·Cambie la pila por una pila alcalina nuevo. ·Use una toalla de papel para secar la humedad. ·Cambie los electrados agrietados o rots. |
PRODUCT REGISTRATION
Dos manos convenientes de registrar su producto:
1 Online En liang
2 By Mail | Par la poste | Por correo
Por favor llene esta tarjeta y adjunte una copia de su recibo de compra. Devuelva en el plazo de 10 días de la compra para el service de la garantia. Se requires prueba de compra. La garantia no es transferible.
*Required / Obligatoire / Necessario
**Please Print / Veuilles imprimer / Por favor imprima
*1. First Name | Prénom | Nombre Initial | Initiale | Inicial Last Name | Nom de famille | Apellido
Address | Adresse | Dirección Apt. No | No d'appt | No de partir
City | Ville | Ciudad State | Etat | Estado Zip Code | Code post | Codig poost
2. E-mail Address | Adresse e-mail | Dirección de correjo electrónico
3. Phone Number | Numero de téléphone | N Creamo de Telefono
*4. Model Number | Numéro de modèle | NOMBRE de modele
Si estasUGCando un lugar para alojarse en Char-Broil,compruebeaqu.
Adjunte una copia de su recibo de ventequiry.
Tel producto asociado con esta guia ha sido fabricado en China.

ManualFácil