Ester Forno Evo - Cocina La Nordica - Manual de uso y guía de instrucciones gratis
Encuentra gratis el manual del aparato Ester Forno Evo La Nordica en formato PDF.
Preguntas frecuentes - Ester Forno Evo La Nordica
Descarga las instrucciones para tu Cocina en formato PDF gratis! Encuentra tus instrucciones Ester Forno Evo - La Nordica y toma tu dispositivo electrónico nuevamente en la mano. En esta página están publicados todos los documentos necesarios para el uso de su dispositivo. Ester Forno Evo de la marca La Nordica.
MANUAL DE USUARIO Ester Forno Evo La Nordica
MANUAL DEL USUARIO PRODUCTOS DE LEÑA
ITALIANO 5
ENGLISH 19
DEUTsCH 33
FRANCAIS 47
ESPANOL 61
INSTALLAZIONE. INSTALLATION. INSTALLATION.L'INSTALLATION.LA INSTALACION

NON FORNITO
NOT SUPPLIED
NICTIM LIEFERUMFANG
PAS FOURNIS
NO SUMINISTRADO


FRAGILE
ZERBRECHLICH


ATTENZIONE


LE SUPERFICI pOSSONO DIVENTARE MOLTO CALDE! UTILIZZARE SEMpRE I GUANTI DI pROTEZIONE!
Durante la combustion se emana energia tarmica que compona un notable calentamento de las superficies, de las puertas, manijas, mandos, vidrios, tubo de humos y eventualmente de la parte delantera del aparato.
Eviten el contacto con这些东西 elementos sin la adecuad indumentaria protectora (guantes de proteccion en dotacion). Asegurense que los niños Sean conscientes de these peligros y mantenerlos aleados del fogon durante su functiomento.
ESPÁNOL -ÍNDICE
LA INSTALLACION 3
DATOS TECNICOS 64
ADVERTENCIAS GENERALES 64
DECLARACION DE CONFORMIDAD DEL FABRICANTE 64
NORMAS PARA LA INSTALLACION 64
SEGURIDAD ANTIINCENDIO 65
INTERVENTION RAPIDA 65
DESCRIPCION TECNICA 66
CONDUCTO DE HUMO 66
POSICION DEL CAPUCHON 67
CONEXION CON LA CHIMENEA 67
CONEXION CON EL CONDUCTO DE HUMO DE UNA CHIMENEA O DE UN HOGAR ABIERTO 67
FLUJO DE AIRE EN EL LUGAR DE INSTALLACION DURANTE LA COMBUSTION 68
COMBUSTIBLES ADMITIDOS / NO ADMITIDOS 68
ENCENDIDO 69
Encendido de BAJAS EMISSIONES 69
LIMPIEZA DEL CRISTAL. 71
LIMPIEZA DEL CENICERO 71
LIMPIEZA DEL CONDUCTO DE SALIDA DE HUMOS. 71
PARADA DE VERANO 71
LAS MAYOLICAS (donde este presente). 71
PRODUCTOS EN PIEDRA OLLAR (donde este presente) 72
PRODUCTOS BARNIZADOS (donde esté presente) 72
PRODUCTOS ESMALTADOS (donde esté presente) 72
COMPONENTES CROMADOS (donde esté presente) 72
LIMPIEZA DE LA REJILLA DEL HOGAR 72
MANTENIMIENTO DEL HORNO (donde este presente) 72
DETERMINACION DE LA POTENCIA TÉRMICA 72
CONDICIONES DE GARANTIA 73
DIMENSIONES 80
ADVERTENCIAS
Este manual de instrucciones constitue parte integrante del producto, asegúrese de que"a Companion sempre el equipo, incluso en caso de cesión a otro propietario o usuario, o bien al transferirlo a otro lugar. En caso de dano o perdida solicite除外 ejemplar al servicecio的专业o de la zona. Este producto se debe destinar al uso para el que ha sido realizado. Se excluyeequalquierresponsabidadcontractual yextracontractual delfabricante pordañoscausadosa personas, animales o cosas, por errores de instalacion, de regulacion, de mantenimiento y por usos inapropiados.
La instalación la debe realizar personal的技术icoequalificado y habilido, el qual asumirá toda la responsabilidad por la instalacion definitiva y por el consiguiente buena functionamento del producto instalado. Es necessario considerar también todas las leyes y las normativas naciales, regionales, provinciales y municipales presentes en el pais en el que se instala el equipo, además de las instrucciones containidas en el presente manual.
El fabricante no se responsabiliza en caso de violacion de estas precauiones.
Después de guitar el embalaje, asegúrese de la integridad del contenido. En caso de no correspondencia, dirijase al revendedor donde ha comprado el equipo. Todos los componentes electricos que forman parte de la estufa, garantizando su funciona correcto, se deben sustituir con piezas originales, y la sustitución debe realizarla unicolemente un centro de assistencia的技术ica autorizzato.
SEGURIDAD
- EL APARATO PUEDE SER USADO POR NINOS DE EDAD NO INFERIOR A 8 ANOS Y POR PERSONAS CON REDUCIDAS CAPACIDADES FISICAS, SENSORIALES O MENTELES, O SIN EXPERIENCIA O SIN EL NECESARIO CONOCIMIENTO, SIempre que ESTEN BAJO VIGILANCIA O DESPUES QUE LAS MISMAS HAYAN RECIBIDO INSTRUCCIONES RELATIVAS AL USO SEGULO DEL APARATO Y A LA COMPRENSION DE LOS PELIGROS INHERENTES AL Mismo.
- SE PROHIBE EL USO DEL GENERADOR POR PARTE DE PERSONAS (INCLUIDOS LOS NINOS) CON CAPACIDADES FISICAS, SENSORIALES Y MENTALES REDUCIDAS, O A PERSONAS INEXPERTAS, A MENOS QUE NO SEAN SUPERVISADAS Y CAPACITADAS EN EL USO DEL APARATO POR UNA PERSONA RESPONSABLE DE SU SEGURIDAD.
LA LIMpieZA Y EL MANTENIMIENTO QUE DEBE REALizar EL USUARIO NO DEBE SER EFFECTUADO POR NINOS SIN VIGILANCIA. - CONTROLE A LOS NINOS PARA ASEGURARSE DE QUE NO JUEGUEN CON EL EQUIPO.
- NO TOQUE EL GENERADOR CON LOS PIES DESCALZOS Y CON PARTES DEL CUERPO MOJADAS O HUMEDAS.
- SE PROHÍBE MODIFICAR LOS DISPOSITIVOS DE SEGURIDAD O DE REGULACION SIN LA AUTORIZACION O LAS INDICACIONES DEL FABRICANTE.
- NO HALE, DESCONECTE O TUERZA LOS CABLES ELECTRICOS QUE SALEN DE LA ESTUFA AUNIQUE ESTÉ DESCONECTADA DE LA RED DE ALIMENTACION ELECTRICA.
- SE RECOMIENDA COLOCAR EL CABLE DE ALIMENTACION DE MODO TAL QUE NO ENTRE EN CONTACTO CON PARTES CALIENTES DEL EQUIPO.
- EVITE TAPAR O REDUCIR LAS DIMENSIONES DE LAS ABERTURAS DE VENTILACION DEL LOCAL DE INSTALACION, LAS ABERTURAS DE VENTILACION SON INDISPENSABLES PARA UNA COMBUSTION CORRECTA.
-
NO DEJE LOS ELEMENTOS DEL EMBALAJE AL ALCANCE DE LOS NINOS Y DE PERSONAS INCAPACITADAS SIN SUPERVISION.
DURANTE EL FUNCIONAMIENTO NORMAL DEL PRODUCTO LA PUERTA DEL HOGAR DEBE PERMANECER SIempre CERRADA. -
TENGÀ CUIDADO SOBRETodo CON LAS SUPERFICIES EXTERNAS DEL EQUIAPO, YA QUE ÉSTE SE CALIENTA CUANDO ESTÁ EN FUNCIONAMIENTO.
- CONTROLE LA PRESENCIA DE POSIBLES OBSTRUCCIONES ANTES DE ENCENDER EL EQUIPO, DESPUES DE UN PERÍODO PROLONGADO DE INUTILIZACION.
- EL GENERADOR SE HA DISEÑADO PARA FUNCIONAR EN CUALQUIER CONDICION CLIMÁTICA, EN CASEO DE CONDICIONES PARTICULARARMENTE DIFÍCILES (VIENTO FUERTE, HIELO) PODRIAN INTERVENIR SISTemas DE SEGURIDAD QUE APAGAN EL GENERADOR. SI ESTO SUCEDE, CONTACTE CON EL SERVICIO DE ASISTENCA TÉCNICA Y, EN CUALQUIER CASO, NO DESHABILITE LOS SISTemas DE SEGURIDAD.
- EN CASO DE INCENDIO DEL CONDUCTO DE SALIDA DE HUMOS, USE LOS SISTemas ADECUADOS PARA ELIMINAR LAS LLAMAS O REQUIERA LA INTERVENTION DE LOS BOMBEROS.
- ESTE EQUIPO NO SE DEBE UTILizar COMO INCINERADOR DE RESIDUOS.
NO UTILICE LIQUIDOS INFLAMABLES PARA EL ENCENDIDO
LAS MAYÓLICAS SON PRODUCTOS DE ALTA FACTURA ARTESANAL Y POR TANTO PUEDEN ENCONTRARSE EN LAS MISMAS MICRO-PICADURAS, GRIETAS E IMPERFECCIONES CROMÁTICAS. ESTAS CARACTERÍSTICAS DEMUESTRAN SU ELEVADA CALIDAD. EL ESMALTE Y LA MAYÓLICA PRODUCEN, DEBIDO A SU DIFERENTE COEFICIENTE DE DILATACION, MICROGRIETAS (CRAQUELADO) QUE DEMUESTRAN SU AUTENTICIDAD. PARA LA LIMpieZA DE LAS MAYÓLICAS, ES RECOMENDABLE UTILIZAR UN PANO SUAVE Y SECO; SI SE UTILIZAN DETERGENTES O LIQUIDOS, ESTOS PODRIAN PENETRAR EN EL INTERIOR DE LAS GRIETAS, PONIENDOLAS EN EVIDENCIA.
DATOS TECNICOS
| ESTER BII ESTER Forno EVO | ||
| Definisión según : | EN 13240 EN 13240 | |
| Sistema constructivo | 1 | 1 |
| Potencia nominal (útil) en kW | 7,5 8,2 | |
| Rendimiento en % | 80 86,7 | |
| Diámetro tubo salute humo in mm | 130 130 | |
| Conducto de salute de humos: Altura ≥ (m)- dimensiones min (mm) | 4 - 200x200 Ø200 | |
| Depresión a rendimiento calorífico nominal en Pa (mm H2O) | 11 (1,1 mm H2O) | 12 (1,2 mm H2O) |
| Consumo horario leña en kg/h (contenido de agua max. 20%) | 2,2 | 2,2 |
| CO medio al 13% de oxígeno en % | 0,09 - 1142 mg/m3 | 0,07 - 857 mg/m3 |
| Emission de gases de descarga en g/s - leña | 6,5 | 6 |
| Temperatura de gases de descarga en °C | 284 199 | |
| Toma de aire exterior Ø en mm (superficie minima cm) | 120 (100 cm2) | 120 (100 cm2) |
| Dimensiones de la aperture del fogón en mm (L x P) | 300 x 350 | 300 x 340 |
| Dimensiones del cuerpo de fogón / plano fogón en mm (L x H x P) | 295 x 390 x 300 | 295 x 315 x 300 |
| Dimensiones del hora in mm (L x H x P) | / | 268 x 238 x 338 |
| Tipo de rejilla Plana, giratoria desde exterior | ||
| Altura estufa en mm | 950 | 1300 |
| Ancho estufa en mm | 540 540 | |
| Profundidad estufa (con manillas) en mm | 478 478 | |
| Peso en kg Capitulo DIMENSIONES | ||
| Distancias de seguridad antiincendios Capitulo SEGURIDAD ANTINCENDIO | ||
| m3 con posibiliad de calentimiento (30 kcal/h x m3) (#) | 215 | 235 |
(#) Para edificios@cuyos aislamento t#mico no corresponde a los requisitos del Reglamento sobre la proteccion del calor, la capacidad de calefacion de los locales es: tipo de construccion favorable (30 kcal/h x m³); tipo de construccioniros favorable (40 kcal/h x m³); tipo de construccion desfavorable (50 kcal/h x m³).
El volumen de calefacción aumento con un aislamentoTERMicoquesea conforme con las dispositionses sobre la proteccion del calor. En caso de interrupciones superiores a 8 horas, con calefacion temporal, la calidad de calefacion disminuye el 25% aproximamente.
ADVERTENCIAS GENERALES
La responsabilidad de LaNORDICA S.p.A. se limita al suministro del aparato.
Su instalación debe ser efectuada en conformidad con las prescripiones de estas instrucciones y las reglas de la profesión, por personalrialcado, que representa las empressas que pueen asumirse la responsabilitad total de la instalacion.
A Empresa LaNORDICA S.p.A. no se responsabiliza de modificaciones del producto efectuadas sin autorizacion, asi como del uso de repuestos no originales.
Es obligatorio respeter las normas nacionales y europeas, las dispositions locales o en materia de construccion, asi como las reglamentaciones antiincendio.

NO DEBEN APORTARSE MODIFICACIONES AL APARATO. AEmpresa LaNORDICA S.p.A. no se responsabilizará en caso de incumplimiento de estas precauciones.
DECLARACION DE CONFORMIDAD DEL FABRICANTE
Asunto: ausencia de amIENTO y cadmio
Se declara que todos nuestros aparatos se ensamblan con materiales que no presentan partes de amiente o sus derivados y que en el material正常使用 para las soldaduras no se enquiryra presente y no ha sido usido de nlinguna forma el cadmio, segun lo establecido por la norma de referencia.
Asunto: Reglamento CE n.° 1935/2004
Se declares que en todos los aparatos fabricados por nosotros, los materiales destinados a estar en contacto con comidas son adequados para uso alimentario, y estan en conformidad con el Reglamento CE en cuestion.
NORMAS PARA LA INSTALLACION
La instalacion del termoproducto y de los equipos auxiliares, correspondientes a la instalacion de calefacion, debe complir con las normas y reglamentoes vigilentes y con todas las dispositionsestablecidas por la ley.
La instalacion, las respectivas conexiones de la instalacion, la puesta en service y el control del functiomento correcto deben ser技术水平s a cabo a la perfeccion por personal profesionalmte autorizado, conforme a las normas vigentes, ya Sean naciones, regionales, provinciales y locales, del Pais en el que se ha instalado el equipo, asi como a estas instrucciones.
La instalación debe ser realizada por personal autorizo, que debe entregar unadeclaracion de conformidad de la instalacion al comprador, el cui asumirá toda la responsabilidad de la instalacion definitiva y del consiguiente Buen functiomento del producto
instalado.
La estufa se encuentra ensamblada y lista para la conexión y debe ser conectada medante un racor al conductor de salute de humos presente en la casa. El racor debe ser, si es posible, corto, rectilineo, horizontal o colocado en un tramo ligeramente hacia arriba. Las conexiones deben ser estancas.
Antes de la instalación, realizar los 控lesesiones:
- calidad de humos SUPERIOR - POSTERIOR - LATERAL;
- compruebe si la capacité de la estructura es adecuada para el peso de su equipo. En caso de capacité insufficiente es requisiteo tornar OPPUNAS medidas. La responsabilitad de LaNORDICA S.p.A. se limita al suministro del aparato.
- Asegurarse de que el sueño pueda sostener el peso del aparato y realizar un aislamento adecuado caso de estar fabricado en material inflamabile (DIMENSIONES SEGUN CADA NORMA LOCAL).
- Asegurarse de que en el ambiente donde se instale haya una ventilación adequada (presencia de toma de aire), es por tanto fundamental prestar atencion a ventanas y puertas estancas (juntas estancas).
- Evitar la instalacion en ambientes con presencia de conductos de ventilacion colectiva, campanas con o sin extractor, aparatos de gas de tipo B, bombas de calor o la presencia de aparatosswithofunctionamento simultaneo可以更好poner en depresion el ambiente (ref. Norma UNI 10683).
- Asegurarse de que el numero y los tubos a los que se conecte el aparato Sean idoneos, NO está permitida la connexion de mas de un equipo a la mesma chimenea.
- El diámetro de la aperture para la conexión al conductor de salute de humos debe corresponder por lo menos al diámetro del conductor de humos. La aperture deberta estar provista de una conexión de pared para introducir el tubo de descarga y una aro.
- La instalacion debe permittir el acceso para la limpieza y elostenimiento del producto y de la chimenea.

A Empresa LaNORDICA S.p.A. declina toda responsabilidad por días, causados por la instalación, a cosas y/o personas. Además no se responsibiliza de modificaciones del producto efectuadas sin autorización, como del uso de repuestos no originales.
Informe al deshollinador habitual local acerca de la instalacion del producto, para que pueda comprobar la correcta instalacion y la eficiencia de la conexion al conducto de salute de humos.
SEGURIDAD ANTIINCENDIO
Durante la instalación del producto se deben cumplir las siguientes medías de seguridad:
a) para asegurar un aislamento temico adecuado, debe respetarse la distancia minima de segudad desde la parte trasa y
desde ambos lados de construcciones y objetos inflamables y sensibles al calor (muebles, revestimientos de madera, telas, etc.) (vease Figura 4 - A). Todas las distancias minimas de seguidat se muestran en la plac tcnica del producto y NO deben ser empleadas medidas inferiores a estas.
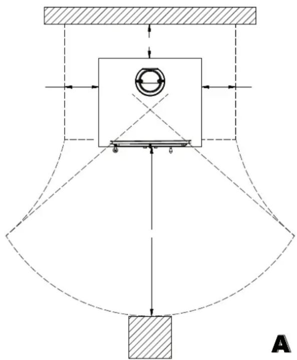
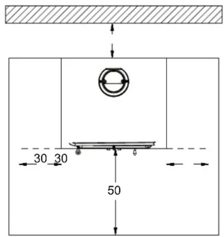
b) Delante de la puerta del fogón, en el área de radiación de laquia no debe haber ningún objeto o material de construcción inflamable y sensible al calor a menos de 100 cm de distancia. Dicha distancia peut reducirse a 40 cm si se instala una protección, ventilada en el respaldo y resistente al calor, que cubra por Completely el objerto entero que se ha de proteger.
c) En caso el producto sea instalado sobre un piso de material inflamable, deben ser aplicada una subcapa ignifuga. Pisos echos en material inflamable, como moquette, parquet o corcho etc, deben ser cubiertos por una capa de material no inflamable, por exemple cerámica o piedra, vidrio o acero etc. (dimensiones según cada norma local). La subcapa debe sobresalir por atraz de almenos 30 cm por lado y por adelante 50 cm mas alla de la abertura de la puerta de carga (Figura 4 - B).
d) No deben colocarse encima del producto componentes inflamables (como muebles o armarios suspendidos).
El producto debe funcionar siempre con el cenicero introducido. Los residuos solidos de la combustiion (cenizas) deben recogerse en un recipiente hermético y resistente al fuego. Nunca encienda la estufa si hay emisiones de gas o vapores (como cola para linoleo, gasolina etc.). No deposite materiales inflamables circa de ella.

Durante la combustion se descarrlla una energia tarmica que implica un marcado calentamento de las superficies, de la puerta y del cristal del hogar, asi como de las manillas de las puertas o de los mandos, del tubo de humos y de la parte anterior del aparato. Evite el contacto con dichos elementos sin el adecuado vestuario o accesos de proteccion (guantes resistentes al calor, dispositivos de mando). Informe a los niños acerca de these peligros y mantengalos lejos del hogar,mñtras esté functiOnando.
Si se utilizes un combustible equivocado o demasiado humedo, pueda formarse sedimentos (creosota) en el conducto de salute de humos, y por consiguiente el possible incendio del conductoismo.
INTERVENTION RAPIDA
Si se produce un incendio en la conexión o en el conducto de salute de humos:
a) Cierre la puerta de carga y del cenicero.
b) Cierre los reguladores del aire comburente.
c) Apaguelo utilizing extintores de anhídido carbónico (CO, en polvo).
d) Solicite la intervencion inmediata de los Bomberos.

NO APAGUE EL FUEGO UTILIZANDO CHORROS DE AGUA.
Cuando el conductor de humos termina de quemar, pida a un especialista que lo revise para detectar posibles gritas o pontos permeables.
DESCRIPCION TECNICA
Las estutas chimenea de La Nordica son adecuadas para calentar viviendas por algunos periodos. Como combustibles seutilizan cepas de leña. La estufa es un aparato de combustión de forma intermitente.
La estuía está constituida por placas de chapac de acero pintada y galvanizada, fusiones de aleación (rejilla y portarejilla del hogar, anillo homo), placas de piedra ollar. El hogar está revestido internamente con placas individuales defundación y refractario (NORDIKER).
En su interior, se encuentran un portarejilla y una rejilla plana defundacion con espesor grueso, que puebe ser extraida fácilmente. El deflector interior refleja la irradiacion del fuego y aumenta aun mas la temperatura en el interior de la camera de combustion. De esta wayra, aprovechando los flujos de los gases de descarga, se optimiza la combustion y se aumenta el grade de eficiencia.
El vidrio ceramico de la puerta, en una sola pieza (resistente hasta 700^ ), permite una fascinante vista sobre las llamas ardientes e impideequalquiersalidadechispas yhumo.
Debrero de la rejilla del fogón está ubicado un cenicero extraíble (Figura 8 - B).
| ACCESORIOS | ATIZADOR GUANTE PARRILLA HORNO ARO Ø 120mm Racor de aire | ||
| ESTER BII | DE SERIE DE SÉRIE - OPCIONAL | ||
| ESTER Forno EVO | DE SERIE DE SÉRIE DE SERIE OPCIONAL | ||
El calentimiento del ambiente se realiza por iradiación: El calor se irrádia en el ambiente agravés del cristal panoramic y de las superficies externas calientes de la estufa (ver capitulo DETERMINACION DE LA POTENCIA TÉRMICA).
La estufa cuenta con reguladores para el aire primario y secundario, por medio de los cuales se regula el aire de combustión.
1A - Regulador de aire PRIMARIO (Figura 6)
Debrero de la puerta del hogar a la izquierda se encuesta la palanca de mando del regulator de aire primario. Este regulator permite regular el pasaje del aire, que entra por la parte baja de la estufa y a工程技术 de los correspondientes conductos, se dirige hieracel combustible. El aire primario es necessario para el proceso de combustion durante la fase de encendido. El cenicero se debevaciar regularmente, de manera que la ceniza no impida la entrada de aire primario. Para abrir el pasaje del aire primario hay que extraer totalmente (tirar) la palanca.
El regulador de aire primario se debe abrir por poco tiempo durante la combustión de la leña, de lo contrario la leña arde demasiado rápido y la estufa se pueda sobrecalentar (ver capitulo FUNCIONAMIENTO NORMAL).
2A - Regulador de aire SECUNDARIO (Figura 6)
En cima de la puerta del hogar se encuesta la palanca del aire secundario
Cuando la palanca está Completely a la derecha, el pasaje del aire está totalmente abierto (er capitulo FUNCIONAMENTO NORMAL). A工程技术 de este registrar es possible regular el funciona de la estufa. Dejandolo ligeramente abierto, según el tiro de la chimenea, se pueda Maintener el cristal limpio.
El aire secundario se pueda extraer directamente del exterior mediante un tubo flexible ignifugos NO suministrado (ver capitulo FLUJO DE AIRE EN EL LUGAR DE INSTALLACION DURANTE LA COMBUSTION).
La regulación de los reguladores nécessaria para Obtener un rendimiento calorífico nominal es laARRY:
| Consumo horas en kg /h Aire PRIMARIO Aire SECUNDARIO Aire TERZIARIO | ||||
| ESTER BII | 2,2 | FECHADO | 9 mm ABERTO | PRECALIBRADO |
| ESTER Forno EVO | 2,2 | 67 mm ABERTO | 7 mm ABERTO | PRECALIBRADO |
CONDUCTO DE HUMO
Requisitosfundamentalesparauncorrectofunacionamento delaparato:
- la sección interna tiene que ser, preferiblemente, circular;
-iene que estar temicamente aislada y ser impermeable,iene que estar construida con materiales idoneos para la resistencia al calor, a los productos de la combustion y a eventuales condensaciones; - no tiene que presentar estrangulamente y tener una marcha vertical con desviaciones no superiores a los 45^
- si ya se la ha utilisé, hay que limpiarla;
- respetar los datos技术和es del manual de instruciones;
En el caso que las chimeneas tvuieren la seccion cuadrada o rectangular, las aristas internas tienen que ser redondeadas con radio no inferior de 20~mm . Para la seccion rectangular, la relacion maxima entre los lados Tiene que ser ≤ 1,5
Un seion demasiado pequeira provoca una disminuacion del tiraje. Es aconsejable considerar una altea minima de 4 m.
Estan PROHIBIDOS y, por lo tanto, perjudican el buen functionamento del aparato: fibrocimento, acero cincato, superficies internas asperas y porosas. En la Figura 1 se presentan algunos ejemplos de solución.
La sección minima tiene que ser de 4 dm² (por exemple: 20x20 cm.) para los aparatosswith diámetro de conductor es inferior a 200 mm., o 6,25 dm² (por exemple: 25x25 cm.) para los aparatos con diámetro superior a 200 mm.
El tiraje que create su chimenea Tiene que ser suficiente, aunque no excessivo.
Unasecion de la chimenea demasiado importante puee dar un volumen demasiado grande a calentar y por lo tanto,puede provocar dificultades de functiamento en el aparato; a fin de evitar esta situacion, hay que proveer a entubar la chimenea a lo largo de toda su alte. Una seccion demasiado petite provoca una disminuacion del tiraje.

ATENCL: para realizar la connexion al tubo de homo y los materiales inflamables complir con la Norma UNI10683. La chimeneaiene que estar a una distancia adecuada de los materiales inflamables o combustibles,utilizing para eloo un oportuno aislamiento o un intersticio de aire.
Esta ProHIBIDO hae ransitar en el interor de la chimenea tuberias de instalaciones o canales de aduccion de aire. Esta prohibido, ademas, realizear en la msta aperturas moviles o fias para conectar ulteriores aparatos distinctos (ver capitulo CONEXION CON EL CONDUCTO DE HUMO DE UN CHIMENEA O DE UN HOGAR ABIERTO).
POSICION DEL CAPUCHON
El tiraje de la chimenea depende también de la idoneidad del capuchon de la chimenea.
Es indispensable, por lo tanto, que, en el caso que hubiere sido construido artesanalmente, la seccion de salute sea, como minimum, dos vezes mas grande que la seccion interna de la chimenea (Figura 2).
El capuchón de la chimenea siempre Tiene que superar la cumbrera del tejado, por lo que tendrá asegurar la descarga inclusive en presencia de viento (Figura 3).
El capuchón de la chimenea Tiene que responder a los siguientes requisitos:
- Debe presentar una sección interna equivalente a la de la chimenea.
- Debe presentar una secciónCTL de salute doble con respecto a aquella interna de la chimenea.
- Debe estar Construido de manière tal que impida la penetracion en la chimenea de la lluvia, la nieve y de qualquier other cuerpo extraño.
- Debe ser fácil de inspectionsar, para llhear a cabo eventuales operaciones deostenimiento y limpieza.
CONEXION CON LA CHIMENEA
El aparato con cierre automatico (como 1) de la portezuela tiene que functionar obligatoriamente, por motivos de seguidad, con la portezuela del hogar cerrada; (excepto para las fases de energia de combustible o la eventual remocion de cenizas).
El aparato con las portezuelas con cierre no automatico (esto 2), tener que estar connectadas con su propia chimenea.
El funciona con portezuela abierta está permitted solamente previa supervisión.
El tubo de conexión con la chimenea Tiene que ser lo más corto possible, rectilneo y hermetico.
La connexion se doit realizar con tubos estables y robustos, debe complir con las normas y reglamentos vigentes y con todas las dispositionses existecidas por la ley, e los cuales tienen que fjarse herméticamente en la chimenea. El diametro interno del tubo de connexion tiene que corresponder con el diametro externo del tronco de descarga humos de el producto (DIN 1298).

ATENCL: para realizar la connexion al tubo de homo y los materiales inflamables complir con la Norma UN10683. El conducto de salida de humos se debe colocar a una distancia adecuada de materiales inflamables o combustibles mediante un adeudo aisalmiento o una camar de aire. Distancias minimales de segudad 25 cm.
La depresion en la chimenea (TIRAJE)iene que ser de, por lo menos 11 Pa 12 Pa Pascal (=1,1 =1.2 mm de columna de agua). La medicacion se debe realizar siempre con el aparato caliente (rendimiento calorifico nominal). Cuando la depresion supra los 17 Pascal es necessario reduir la mesma con la instalacion de un regulator de tiraje suplementario (falsa valvula de aire) direccionado en el tubo de descarga o en la chimenea anterior, segun las normativas vigilentes.

Para lograr un buena configuracion del aparato es esencial que en el lugar de la instalacion haya suficiente aire para la combustion (vease el parrafo FLUJO DE AIRE EN EL LUGAR DE INSTALACION DURANTE LA COMBUSTION).
CONEXION CON EL CONDUCTO DE HUMO DE UNA CHIMENEA O DE UN HOGAR ABIERTO
El canal humos es el trayecto de tubo que conecta el producto con la chimenea; en la connexion hay que Respectar these simples principios, aueque importantisims:
- Por ningun motivo hay que utiliser el canal homo con un diametro inferior a aquel del collarin de salute del cui está dotado el termoproducto;
- Cada metro recorro en horizontal del canal homo provoca una sensible perdida de energia, que, eventualmente, se deben compensar con un aumento de la alta de la chimenea;
- El trayecto horizontal no tendrá que superar nunca, de todas manos, los 2 m. (UNI 10683);
- Cada curva del canal humos reduce sensiblemente el tiraje de la chimenea, que tendrá que ser compensada, eventualmente, alzando su.altura de manera adecuada;
- la Normativa UNI 10683 - ITALIA préve que las curvas o variaciones en ningún caso tienen que ser superiores a 2, incluida la inmisión en la chimenea.
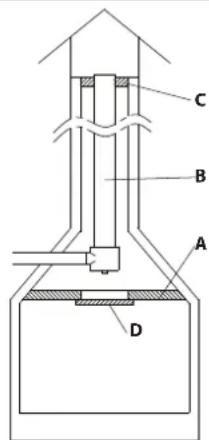
Si se desea utilize la chimenea de un hogar abierto, sera necessario cerrar herméticamente la campana que se oculta por debajo del punto de entrada del canal homo, pos. A - Figura 5.
Si fue lo chieema resultare muy grande, (por exemple: cm. 30 x 40, o, sino, 40 x 50), es necessario entubarla con un tubo de acero inoxidable de, por lo menos, 200 mm. de diametro, pos. B, prestando atencion de cerrar bien el espacio que queda entre el tuboismo y la chimenea, inmediamente por debajo del capuchon de la chimenea, pos. C.
FLUJO DE AIRE EN EL LUGAR DE INSTALLACION DURANTE LA COMBUSTION
Considerando que el producto toma el aire de combustion del local donde han sido instaladas, es OBLIGATORIO que en el lugarismo entre una calidad de aire sufiente. En el caso de ventanas y puertas herméticas (por exemple: casas construidas sugiendo el criterio de averro energetico), es possible que el ingresso de aire fresco no este garantizado, y elo compromete el tiraje del aparato, su proprio bienestar y su propia seguridad. Hay que garantizar, por lo tanto, una alimentacion suplementaria de aire fresco medante una toma de aire externo, posiconada en las inmediaciones del aparato, o bien mediate la creacion de un conductor para el aire de combustion que se dirja hacer el exterior o hacer un local cercano aireado, excepto el local donte se encuena la caldera o el garaje (ESTA PROHIBIDO).
IMPORTANTE: Para su bienestar y la correspondiente oxigenacion del ambiente, el aire del producto pueda ser obtenido directamente del exterior conectando el termoproducto a la toma de aire externa mediante un empalme (vease el parrabo DIMENSIONES en Figura 10). El tubo de connexion tiene que ser liso con un diametro de, por lo menos, 120~mm ,iene que tener una longitud maxima de 3 mt. y no debe presentar mas de tres curvas. En el caso que el tubo este directamente connectado con el exterior,iene que estar dotado de un expresso rompevientos.
La entrada del aire para la combustion en el lugar de instalacion noiene que presentar obstrucciones durante el funciona del producto. Es absolutamente requisiteo que en los ambientes en los cuales se hacen funcar termococinas con un tiraje natural de la chimenea, entre tanto aire como sea requisiteo para la combustion, es decir: hasta 20 (<11kW) m³/ora. La natural recirculacion del aireiene que estar garantizada por algunos aperturas fjias hacer el exterior; la normativa en materia es la que establece las dimensiones de las aperturas. Hay que solicitar informacion al propio deshollinador de confianza. Las aperturasienen que estar protegidas con rejillas, pero nunca hay que obstruirlas. Una campana de extracion (aspirante), que este instalada en la misma habitacion o en una alado, provoca una depresion en el ambiente. Illo implica la calidad de gases combustos (humdo denso, olor); es requisiteo, por lo tanto, asegurar una mayor entrada de aire fresco.

La depresion de una campana aspirante peut, en la peor de las hipotesis, transformar la chimenea de la cucina en una toma de aire externa, succionando los humos en el ambiente con consecuencias gravimas para las personas.
Los combustibles admitidos son cepas de leña. Debe ser realizada exclusivamente leña seca (contenido de agua max. 20%).
Deberian ser cargados como maximo 2 o 3 cocos de leña por vez. Los troncos de leña deben poseer una longitud deodos 20 - 30 cm y una circunferencia de 30 - 35 cm max.
Los niños tronos de mader prensados no resinados, deben utilizese con cautela para evitar sobrecalentamente perjudiciales para el aparato, bajo que tenen un poder calorifico elevado.
La leña realizada como combustible debe tener un contenido de humedad inferior al 20% ,que se obtiene ubicandola en un lugar seco y ventilado (por exemple bajo de un tinglado), con un tiempo de secado de al menos un año (leña tierna) o de dos años (leña dura). La leña humeda dificultla la combustion, porque se necesita una mayorcantidad de energia para hacer evaporar el agua presente. El contentido humedo tiene además la desventaja, al disminuir la temperatura, de hacer condenser el agua primo en el hogar y bajo en la chimenea. La madera fresca contiene alrededor del 60% de H_2O , por lo tanto no es adecuada para ser quemada.
Hay que guardar dicha leña en un lugar seco y ventilado (por exemple, decrement de un tinglado) durante por lo menos dos años antes de su uso. No se pueda quemar: residuos de carbón, recortes, residuos de corteza y paneles, madera humeda o tratada con pinturas, materiales de plástico; en este caso noiene validez la garantía del aparato. Carta y carton deben ser realizados solo para el encendido. Está PROHIBIDA la combustión de los residuos ya que podra做不到 el producto y el conductor de salute de humos, causando daños a la salute y reclamaciones por parte de la vecindad debido al oror que produce.
La leña no es un combustible de larga duración y por tanto no es possible un calentimiento continuo del producto durante la noche.
| Especie kg/mc kWh/kg Humedad 20% | ||
| Haya 750 4,0 | ||
| Rebollo 900 4,2 | ||
| Olmo 640 4,1 | ||
| Álamo 470 4,1 | ||
| Alerce europeo* 660 4,4 | ||
| Abeto rojo* 450 4,5 | ||
| Pino albar* | 550 4,4 | |
- MADERAS RESINOSAS POCO ADECUADAS PARA EL PRODUCTO

ATENCL: El uso continu y prolongado de madera muy rica de aceites aromaticos (p.ej. Eucalipto, Mirto, etc.)
causa el deterioro (exfoliacion) rapiido de los componentes de fundacion del producto.
Los datos tecnicos declarados se obtuvieron utilizing madera de haya de category "A1" de(acuerdo a la norma UNI EN ISO 17225-5 y a la humedad inferior del 20% . El uso de other especies podria requireir de ajustespecificos y podria causar differentes rendimientos del producto.
ENCENDIDO

IMPORTANTE: Durante el primer encendido es inevitable que se produca un olor desagradable (debido al secado de las colas presentes en la junta o a las pinturas de proteccion), que desaparece tras un breve uso. De todasomanerasdebeser garantizada una adecuada ventilacion del ambiente.Durante el primer encendido es aconsejable introducirunacantidad reducida de combustible y augmentar lentamente el rendimiento calorifico del aparato. Esta PROHIBIDO todaslas sustancias liquidas como por exemple alcohol, gasolina, petroleo y similares.
Nunca encender el aparato cuando haya gases combustibles en el ambiente.
Para efectuar un correcto primer encendido de los productos tratados con pintura para elevadas temperatas, es necessario saber lo suiviente:
- los materiales de fabricacion de los productos realizados no son homogeneos, tienen partes de fundacion, de acero, de refractario y de mayólica;
- la temperatura a la cider está sujeto el cuerpo del producto no es homogenea: de una zona a la other se detectan temperatas variables desdelos 300^ hasta los 500^
- durante su vida útul, el producto se somete a ciclo alternados de encendido y de apagado durante el mesmo día y a ciclo de uso intenso o de reposo total con el cambio de estación;
- la estufa nuevo, antes de poderse considerar lista para el uso, deben ser sometida a différentes ciclos de encendido para permitir todos los materiales y a la pintura de completar los differentes esfuerzos elásticos;
- especially al principio podran haber olores típicos de los metales sometidos a un gran esfuerzoTERMIO y de pintura toda fresca. Dicha pintura, excepte en fase de fabricacion sea cocida a 250^ poralgunas horas, debera superar mas vezes y por una cierta duracion la temperatura de 350^ , antes de ser incorpora perfectamente a las superficies metálicas.
Por tanto es muy importante CFRPIR, en la fase de encendido, con lo seguido:
- Comprobar que sea garantizo un fuerte intercambio de aire en el lugar donde está instalado el aparato.
- En los primeros encendidos, no cargas excessivamente la camar de combustion (mitad de la cantidad indicada en el manual de instrucciones) ymanter el producto encendido por al menos 6-10 horas seguidas con los reguladores abierto些ns de como indicated en el manual de instruetiones.
- Repetir esta operation por lo menos 4-5 o más vezes, según su disponibiliad.
- Sucesamente cargas siempre mas (siguiendo de todos modelos lo que se muestra en el manual de instrucciones en relation a la energia maxima) ymantener encendido, si es possible, por un tiempo largo evitando, por lo menos en la fase inicia, ciclos de encendido-apagado de breve duracion.
- No apoyar, durante los primeros encendidos, ningún objeto arriba de la estufay especialmente sobre las superficies esmaltadas. No tocar las superficies esmaltadas durante el calentimiento.
- Una vez superado el "rodaje", el producto pourrait ser utilisé como el motor de un vehiculo, evitando bruscos calentimientos con cargas excessivas.
Para encender el fuego aconsejamos el uso dePEGs listones de mader con papel others productos de encendido en commercio. Las aperturas para el aire (primario y secundario) deben abrirse simultaneamente pero de manners parcial (debe abrirse, si está presente, también la valvula de palomilla, ubicada en el tubo de descarga de humos). Cuando la leña empieza a arder, se pueda carrgar other combustible regulando el aire para la combustion segun las indicaciones del parrfo DESCRIPCION TECNICA.Durante esta fase, no dejar nunca la estufa desatendida.

No sobrecargar nunca o produits (ver la tabla的技术ica -cantidad max. de combustible que se pueda cargar/consumo horario leña). Demasiado combustible y demasiado aire para la combustión能把uclearmente y por tanto dañar la estufa. Se excluyen de la garantía los días debidos al sobrecalentimiento.
Encendido de BAJAS EMISIONES
La combustión sin humano es un método de encendido para reducir de modo significativo las emisiones de sustancias nocivas. La leña quema gradualmente de arriba hacía abajo, asi la combustión se realiza más lentamente y de modo más controlado. Los gases producidos por la combustión se queman casi Completely al atravesar las elevadas temperatas de la llama.
Ponga los troncos de leña en el hogar a una cierta distancia el uno del(other, como pueda verse en la Figura 7. Coloque los más gruesos en la parte inferior y los más delgados en la parte superior, o en posicón vertical si se tratate de camaras de combustión estrechas y altas. Coloque el modulo de encendido encima de la pila, ponga los primeros troncos del modulo perpendicularamente a la pila de leña.
MÓDULO DE ENCENDIDO. Este modulo de encendido sustituya al de papel o cartón.
Prepare 4 troncos conuna secon transversal de 3 cm x 3 cm y una longitud de 20 cm Figura 7. Pongalos cruzados encima de la pila de leña, transversalmente a la misma, y en el centro del modulo colque la tea, que peut ser lana de mader impregnada de cera. Basta un fosforo para encender el fuego. Si lo desea possible usar piezas de mader mas微量元素: en dicho caso se necessitar a una mayorcantidad. Tenga abierta la valvula de evacuation de humos y el registrar para el aire comburente.
Despues de haber encendido el fuego,除去 registo que regula el aire para la combustion en la posicjion que se indica:
| Combustible Aire PRIMARIO Aire SECUNDARIO Aire TERZIARIO | ||
| Leña CERRADO | 1/2 ABIERTO PRECALIBRADO | |
IMPORTANT:
- no anada leña entre dos cargas completas;
- noague el fuego cerrando las tiomas de aire;
- la limpieza regular realizada por un deshollinador reduce las emisiones de polvos finos.
- Estas indicaciones proceden de ENERGIA Legno SVIZZERA (Energia madera Suiza) www.energia-legno.ch
Despues de positionalar los reguladores correctamente introduzca la carga horaria indicada, evitando sobrecargas que provocan desgastes anomalos y deformaciones(segun lasindicaciones del parrfo DESCRIPCION TECNICA).El Producto debe usese siempre con la puerta cerrada, para evitar daños debidos al excessivo calentamento (efcto fora). El incumplimiento de dicha regla hacer caducar la garantia.
Los aparatos con cierre automatico de la puerta (como 1) deben functionar obligatoriamente, por razones de seguidad, con la puerta del hogar cerrada (excepto en la fase de carga del combustible o de la eliminacion de la ceniza).
Los aparatos con las puertas que no tienen cierre automatico (esto 2) deben ser connectados a un conductor de salute de humos propio. Estas permitido el functionamento con la puerta abierta solamente bajo vigilancia.

IMPORTANTE: Por razones de seguidad, la puerta del hogar peut estar abierta solo durante la fase de carga del combustible. El hogar debe estar cerrado durante el functiomento y los periodos en los que no se utilize.
Los reguladores en la parte delantera del aparato regularan la emision de calor del hogar. Deben abrirse segun la necessities calorifica. La mayor combustion (emisiones minimas) se obtiene cuando, al cargar la leña, la mayor parte del aire para la combustion pasa a工程技术 de aire secundario. No sobrecargar nunca el aparato.
Demaisto combustible y demasiado aire para la combustion可以把 un sobrecalentamento y por tanto daar la estufa. Se excuyen de la garantia los daños debidos al sobrecalentamento.
Por tanto, hay que utiliser siempre la estufa con la puerta cerrada(baja) para evitar el efecto forja.
La regulación de los reguladores nécessaria para Obtener un rendimiento calorífico nominal con una depresión en la chimenea de 11 Pa 12 Pa 1,2 mm de columna de agua) es la asigniente: vexe cap. DESCRICIPION TECNICA. L'aparato es un aparato de combustión de forma intermitente.
Además de la regulación del aire para la combustión, la chimenea también afecta a la intensidad de la combustión y bajo el rendimiento calorífico de su aparato. Un buena tiro de la chimenea nécessita una regulación más reducida del aire para la combustión, cuando que un tiro escaso, necesita aun más una regulación exacta del aire para la combustión.
Para comprobar si la combustion es buena, controlar si el homo que sale de la chimenea es transparente.
Si es blanco, significa que el aparato no está regulado correctamente o la leña está demasiado mojada; si, en cambio, es gris o negro, significa que la combustión no esplete (es necesaria una mayorcantidad de aire secundario).

ATENCL: Cu do agre austi a h, en uic de lmas, se pria veriruna eada producion de homo. Si estu suediera, se podria formar une mezla explosiva de gas y aire y, en casos extremos, se podria veriruna explosion. Por motivos de segudad, se aconseja efectuar un novo proso de encendido, a ravis de la utilizacion de pequeños listones.
USO DEL HORNO (donde esté presente)
Gracias al aporte de aire de combustión, la temperatura del hora pueda ser sensiblemente influenciada. Un sufiente tiro de la chimenea y los canales bien limpios para el flujo de humos calientes alrededor del hora sonfundamentales para un Buen resultado de la cocción. El registrar de humos debe colocarse Completely hacer al exterior.
La parrilla del hora y la rejilla de hora cromada pueda colocarse a distinguas alturas. Tortas altas y carnes de gran tamanio deben colocarse en el nivel más bajo. Tortas bajas y galletas van en el nivel medio. El nivel superior se pueda utiliser para calentar o dorar (vease cap. Descripción Tecnica - ACCESORIOS).
Cuando cocinamos alimentos con alta humedad, pasteles con fruta o solo fruta se produce agua de condensacion. Durante la coccion se suele tener vapor de agua que se deposita en la parte superior o lateral de la puerta, formando gotas de agua de condensacion. Es un fenomeno fisico.
Al abrir la puerta brevemente y con cuidado (1 o 2 vces, con mayor fecuencia en el caso de tiempos de cocci nmas largos) se.
pe dejar salir el vapor de la camera de coccion y reducir considerablemente la condensacion.
FUNCIONAMIENTO EN LOS PERÍODOS DE TRANSICón
Durante el periodo de transicion, cuando las temperatas externas son mas elevadas, en caso de un aumento repentino de la temperatura, se pueda produir problemas en el conducto de salute de humos que implican la incompleta aspiracion de los gases de combustion. Los gases de descarga no salen totalmente (olor fuerte a gas).
En este caso, sacuda más_freqeenthmente la rejilla y aumento el aire para la combustión. Luego introducir unacantidad reducida de combustible hacer que queme más rápido (condesarrollo de llamas), de esta manera el tiro del conductor de salute de humos se mantiene estable. Después, controlar que todas las apertureas para la limpieza y las conexiones a la chimenea se encontrarherméticas. En el caso en que tengan dudas, renuncien al functionamento de la estufa.
Controlar, realizando su limpieza, por lo menos una vez al ano, la toma de aire exterior. Hacer controlar a su deshollinator responsable de la zona, la correcta instalacion del producto, la connexion a la chimenea y la ventilacion.

IMPORTANTE: El mantenimiento y cuidado de ser efectuada exclusivamente con el aparato frio. Se pueda utilizear exclusivamente piezas de repuestos autorizadas y entregaas por La NORDICA. En caso de necessities dirijase a su revendedor especializzato. JEL APARATO NO SE DEBE MODIFICAR!
LIMPIEZA DEL CRISTAL
Un especifica entada de aire secundario reduce la formacion de sedimento de sociedad en el cristal de la puerta. En todo caso dicha formacion no suepe ser evitada dado el uso de combustibles solidos (sobre todo de leña humeda), lo que no debe ser considerado como un defecto del aparato.

IMPORTANTE: La limpieza del cristal panoramicico seiene que realizar una y exclusivamente con el aparato frio, paraatar la explosión del本身就是. Para la limpieza se pueda utilizear productosesionicos, o bienuna bola de papel de periodico (diario) humedecida, pasada en la ceniza, fregando el cristal. Noutilizar pao, productos abrasivos o quimicamente agresivos.
El procedimiento correcto de encendido, el uso de cantidades y temas de combustibles adecuados, la correcta colocacion del regulator de aire secundario, el sufiente tiro de la chimenea y la presencia de aire comburente son indispensablees para el optimo funciona del aparato y para tener el cristal limpio.

ROTURA DE CRISTALES: Los cristales, al ser de vitroceramica, resistentes hasta un saltoTERMico de 750^ , no está suspectos aCHOques termicos. Su rotura, solo la pueda causar los choques mecánicos (choques o ciere violento de la puerta, etc.). Por lo tanto, su sustitución no está incluida en la garantía.
LIMPIEZA DEL CENICERO
Tos los aparatos tien enuna rejilla de hogar y un cenicero para la recogida de la ceniza Figura 8.
Le aconsejamos vacia periodically el cenicero y evitar el lienado total del mesmo para no sobrecalentar la rejilla. Ademas le aconsejamosdefer siempre 3-4 cm de ceniza en el hogar.

ATENCL: recoger la ceniza del hogar en un recipiente de material ignifugo provisto de una tapa hermetica. El recipiente debe ser colocado sobre un pavimento ignifugo, lejos de materiales inflamables hasta que la ceniza no se haya apagado y enfiado totalmente.
LIMPIEZA DEL CONDUCTO DE SALIDA DE HUMOS
El procedimiento correcto de encendido, el uso de cantidades y temas de combustibles adecuados, la correcta colocacion del regulador de aire secundario, el sufiente tiro de la chimenea y la presencia de aire comburette son indispensablees para el optimo funciona del aparato y para Maintener el cristal limpio. Durante el uso normal, la chimenea no se daña de ninguna manera. El equipo sedea limpiar Completely al menos una vez al ano o cada vez que sea necessario. Un sedimento de hollin (creosota) excessivo pueda causar problemas en la descarga de humos y el incendio del conducto de salute de humos.

La limpieza debe ser efectuada exclusivamente con el aparato frio. esta operacion la debe realizar un deshollinador, que pueda inspeccionar al mesmo tiempo.
Durante la limpieza, es necessities qutar del aparato el cajon de la ceniza, la rejilla y los deflectores de humos, para favorecer la caida del hollin. Los deflectores se peuvent sacar fácilmente de sus alojamente, bajo que no estan fijados con tornillos.
Una vez realizada la limpieza, seienen que volver a colocar en sus alojamente.(Figura 9)
ATENCL: La ausencia del deflector causa una fuerte depresion, con una combustion demasiado rapiida, excesivo consumo de leña y consequente sobrecalentamento del aparato.
PARADA DE VERANO
Despues de haber efectuado la limpieza del hogar, de la chimenea y del conducto de salute de humos, eliminar totalmente la ceniza y otros posibles residuos, cerrar todas las puertas del hogar y los reguladores correspondientes. En el caso en que el aparato sea desconectado de la chimenea, hay que cerrar el hueco de la salute de modo queoras chimeneas connectadas al mesmo humero能把an funcinar igualmente.
Aconsejamos efectuar la operacion de limpieza del conducto de salute de humos al menos una vez al anio; controlar las condiones efectivas de las juntas, porque si no estan perfectamente integras, no garantizan el functiomento correcto del aparato!
En este caso esnecessaryusstituirlas.

En caso de humedad en el ambiente donde esta instalado el aparato, colocar sales absorbentes en el interior del hogar. Proteger las partes de fundacion con vaselina neutral, para mantener invariado en el tiempo el aspecto estetico.
LAS MAYÓLICAS (donde esté presente)
Las mayólicas La NORDICA son produits de alta factura artesanal y por tanto pueda encontrar en las mismas micro-picaduras, grietas e imperfecciones cromáticas. Estas caracteristicas demuestran su preciadaestructura.
El esmalte y la mayólica producen, bajo a su diferente coeficiente de dilatabacion, microgretas (craquelado) que demuestran la autenticidad efectiva.

Para la limpieza de las mayóicas, es recomendable utiliser un paño suave y seco; si se utilizes deterentes o liquidos, ),estos mismos podrián penetrar en el interior de las grietas, poniendolas en evidencia de forma permanente.
PRODUCTOS EN PIEDRA OLLAR (donde esté presente)
La piedra ollar tiene que ser limpiada con papel abrasivo muy fino o una esponja abrasiva. NO utilizear某个 detergente o liquido.
PRODUCTOS BARNIZADOS (donde esté presente)
Luego años de uso del producto, la variación de color en particulares barnizados es un fenómeno normal. Ese fenómeno se debe a las considerables excursioniones de temperadura que el producto sujeta cuando encendido y al envejecimiento de la misma barniz con el pasado del tiempo.
AVISO: Antes de la possible aplicacion de neue barniz, hay que limpar y quitar cada residuo desde la superficie de barnizacion.
PRODUCTOS ESMALTADOS (donde esté presente)
Usar agua con jabon o detergentes no abrasivos o quimicamente agresivos para limpiar las partes esmaltadas.

Luego de la limpieza NO se deje secar el agua enjabonada o el detergente, proveer enseguida a la remocion.NO utilise papel de lija o lana de acero.
COMPONENTES CROMADOS (donde esté presente)
Si los componentes cromados quedaran azulados a causa de un recalentamento, se pueda utilizar un producto spécifique para su limpieza.
LIMPIEZA DE LA REJILLA DEL HOGAR
Utilizar combustible NO ADECUADO, por exemple leña con arena, compromete el deslizamente de la rejilla defundación hasta el bloqueo total de la misma; por tanto, se deben quitar el deposito de sociedad de las superficies de deslizamente de la rejilla defundación y del portarejilla como se muestra en la Figura 8.
MANTENIMIENTO DEL HORNO (donde esté presente)
Paraatarlapossibleformaciondeoxido,serecomienda:
- Dejar salir el vapor del hora para reducir la formacion de condensacion, abriendo la puerta brevamente y con cuidado (1 o 2);
-每次, con mayor fecuencia en el caso de coccion de alimentos muy humedes y con tiempos de coccion muy largos); - Retirar la comida del hora cuando está cocinada; Dejar enfiar los alimentos en elorno a menos de 150^ trae como resultado la formacion de condensacion;
- Después de la cocción,deer la puerta del hora parcialmente abierta para secar la posible condensacion;
- En el caso de que se formara humedad bajo del hora, aconsejamos tratar con vaselina neutra el interior de la puerta de hierro fundido (donde este presente).
- Repetir el tratimiento con la vaselina en el interior de la puerta de hierro fundido cada 3-6 meses, según cuando se utilizes el horno;
- En el caso de que se formara herrumbre en el interior de la puerta de hierro fundido, eliminar el oxido utilizing material abrasivo y luego PTR a superficie de hierro fundido con vaselina neutra.
Al fin de garantizar la calidad de los alimentos que se cocinan en el hora, el interior de las puertas de hierro fundido no ha sido tratado con ningún producto.
DETERMINACION DE LA POTENCIA TÉRMICA
No existe una regla absoluta que permita calcular la potencia correcta necessitiesia.Esta potencia varia en funcion del espacio a calentar, pero también depende en gran parte delaislamento. De promedio, la potencia calorifica necessitiesia para un ambiente adecadamente aislado, sera 30 kcal/h por m³ (con una temperatura exterior de 0°C).
Puesto que 1kW corresponde a 860 kcal/h,≦podemos adoptar un valor de 35 W/m³.
Suponiendo que ustedes queran calentar un ambiente de 150m^3 (10 x 6 x 2,5 m.) en una vivienda aislada, necessitarán 150m^3 × 35W / m^3 = 5250W o 5,25 kW. Por lo tanto, como calefaction principal, un aparato de 8 kW sera sufiente.
| Valor indicativo de combustión | Cantidad necesaria en relacion a 1 kg de leña seca | |||
| Combustible Unidad kcal/h kW | ||||
| Leña seca (15% de humedad) | kg 3600 | 4.2 1,00 | ||
| Leña mojada (50% de humedad) | kg 1850 | 2.2 1,95 | ||
| Briquetas de leña | kg 4000 | 5.0 0,84 | ||
| Briquetas de lignito | kg 4800 | 5.6 0,75 | ||
| Antracita normal | kg 7700 | 8.9 0,47 | ||
| Coke | kg 6780 | 7.9 0,53 | ||
| Gas natural m | 3 | 7800 9.1 0,46 | ||
| Nafta L 8500 9.9 0,42 | ||||
| Electricidad | kW/h | 860 | 1.0 4,19 | |
CONDICIONES DE GARANTIA
- Los productos La Nordica S.p.A. está garantizados, en el marco de la Comunidad Europea, durante un periodo de 24 días desde la Fecha de compra.
La compra deas credirase medante un documento fscalmente vido emito por el distribuidor (recibo, factura o albaran de transporte) que identique el producto adquirido y la fecha de compra oenta del mesmo.
ATENCL: this guarantia convencional no sustituye la garantia prevista por las normas europeas de proteccion de los consumidos.
La garantía convencional se entiende limitada al territorio italiano y a los territorios de la Comunidad Europea cubiertos por el service de los centres de asistencia技术水平ica autorizados (consulte la page web www.lanordica-extraflame.com).
Tambn deentendre delimitada territorialmente al pds de residencia o domicilio del consumidor, que debe ser el mmo done el vender del producto La Nordica S.p.A. teng a sede legal o teng a domiciliada su actividad.
Estas no se aplican en caso de compra del producto en el ambito de actividades commerciales, empressarias o profesionales.
En these cason, la garantia del producto estara limitada a un periodo de 12 mees a partir de la fecha de compra.
GARANTÍA EN ITALIA
Que hacer en caso de funciona un anomalo del producto:
Consulte el manual de instrucciones para ver si la anomía pueda ser resuelta mediante la aplicación correcta de las unidades del producto en cuestion. Asegúrese de que el defecto se incluye en el tipo de anomalías cubiertas por la garantía; de lo contrario, el coste de la intervención corra en su totalidad a cargo del consumidor. Cuando Solicite la intervención del Servicio de Asistencia, indique siempre al Centro de Asistencia Autorizado: - la naturaleza del defecto - el modelo de su aparato - la direccion completa - el número de téléphone.
GARANTÍA EN EUROPA
Que hacer en caso de funciona anomalo del producto:
Consulte el manual de instrucciones para ver si la anomía pueda ser resuelta mediante la aplicación correcta de las functions del producto en cuestion. Asegúrese de que el defecto se incluye en el tipo de anomalías cubiertas por la garantía; de lo contrario, el coste de la intervención correrá en su totalidad a cargo del consumidor. Solicite la intervención del Servicio de Asistencia o la direccion del Centro de Asistencia Técnica Autorizo al vendedor, indicando siempre: la naturaleza del defecto, el Modelo de su aparato, la direccion completa y el número de téléphone.
En caso de falta de conformidad que se manifiesto en los 6 primeros meSES de vida del producto, el consumidor tiene derecho a la reparacion del defecto de forma gratuite.
Del séptimo al vigésimo cuarto mes, en caso de que se comprueba una falta de conformidad, el consumidor tendrá que asumir el coste de la llamada, cuando que el vendedor seguiráHCIendose cargo del coste de la mano de obr y de posibles recambios functionales realizados.
- Si el defecto observado es atribuable a condidiones o eventos externos, tales como, a modo de exemple y sin ser exhaustivos, la insufficiente capacité de las instalaciones; la instalacion o mantenimiento erroneoledge a cabo por personal que no cumple los requisitos establescidos por la legislacion vigente en el pais de residencia del consumidor; la negligencia; la imposibidad de uso y elostenimiento incorrecto por parte del consumidor respecto al indicado y recomendado en el manual de instruetiones del producto, que forma parte del contrato de vente, se anula la presente garantia.
Tampoco se incluyen en esta garantía los daños sufridos por el producto en ausencia de causas comprobadas imputables a defectos de fabricación. Del本身就是 mode, que dan excluidos de la presente garantía los defectos implicados al functionamento incorrecto del conducto de humos, en virtud de la legislación vigente en el País en el momento de la compra, como todos los defectos del producto debidos a desidia, rotura accidental, Manipulación o daños en el transporte (arañazos, abolladas, etc.), intervenciones realizadas por personal no autorizo y otherdaos causados por intervenções erroneas del consumidor en un intento de remediar la averia inicial.
Se excuyen de la garantía los siguientes consumables: juntas, cristales ceramicos o Templados, revestimientos y rejillas de hierro fundido, materiales refractarios (p. ej., Nordiker u除外), componentes pintados, cromados o dorados, elementos de mayólica, manillas, brasero y componentes relacionados. En los productos Ido, el intercambiador de calor está excluido de la garantía si no se realiza un circuito anticonducción adecuado que garantice una temperatura de returno del aparato de al menos 55 grados. Por lo general, se excuyen de la garantía todos los componentes externos al producto en los que el consumidor pueda intervenir directamente durante el uso o mantenimiento, o que pueda estar susertos a desgaste, o la formación de oxido y manchas en el acero debido al uso de productos de limpieza agresivos.
En caso de indicar defectos no observados afterwards en la fase de comprobacion por parte de un technician autorizzato, la intervencion correra en su totalidad por conta del consumidor.
-
Si no fuera posible restablecer la conformidad medante la reparacion del producto/componente, se proceder a su sustitucion, sin alterar el periodo de vencimiento y los关键时刻 de garantia adquiridos en el momento de la compra del producto/componente a sustituir.
-
La Nordica S.p.A. declina toda responsabilidad por posibles danos que pueda sufrir, directa o indirectamente, personas, animales y objetivos como consecuencia del incumplimiento de todas las prescrições indicadas en el correspondiente manual de instrucciones y relativas advertencias en cuestion de instalacion, uso y mantenimiento del producto, que también puede descargarse de la pagea web.
- Se excuyen de la garantía las intervenciones para el calibrado o regulación del producto en relacion con el tipo de combustible u除外.
- Si el producto fuese reparado en uno de los Centros de Asistencia Técnica Autorizados indicados por La Nordica S.p.A. y en caso de sustitución del producto, el transporte sera gratis. En los casos en los que el的技术ico fuera capaz de reparar el producto en el domicilio del usuario y este ultimate se negara a algo, el transporte al laboratorio y la devolución estaran a su cargo.
- Tras el periodo de 24 meses de garantía,rialquier intervención de reparación sera abonada en su totalidad por el consumidor.
- En caso de litigio, el organo judicial de competencia sera exclusivamente el foro de la sede legal de La Nordica S.p.A. (Vicenza-Italia).
ADVERTENCIAS ADICIONALES
- Utilice solo el combustible recommendado por el fabricante. El producto no debe ser utilisé como incinerador.
- No utilise el producto como escalera o estructura de apoyo.
No ponga a secar lenceria sobre el producto. Posibles tendederos o similares deben mantenerse a una distancia adeuada del producto. Peligro de incendio y daños al revestimiento. - Cualquier responsabilidad por un uso inadequado del producto recae en su totalidad en el usuario, declinando el fabricante,
):
-尤为重要 y critical:
- Cualquier responsabilidad civil y penal. - Cualquier tipo de Manipulacion o sustitución no autorizada de piezas no originales del producto pueda resultar peligrosa para la integridad del operario, declinando la Empresa toda responsabilidad civil y penal.
- Gran parte de las superficies del producto está muy calientes (puerta, manilla, cristal, tubos de salute de humos, etc.). Aspirues, deben evitarseentar en contacto con estas partes sin indumentaria de proteccion o medios adecuados, como por exemple quantes de proteccion semiclassical.
- Queda prohibidoponer enfunctionamento el producto con la puerta abierta o el cristal roto.
- El producto debe connectarse electricamente a una instalacion provista de un systema de tierra eficaz.
- Apane el producto en caso de avería o mal funciona.
- No lave el producto con agua. El agua podría penetrar en el interior del aparato y dañar el aislamento electrico, provocando descargas electricas.
Las instalaciones que no cumplen las normas vigentes anularan la garantia del producto, asi como el uso inadequado y la falta de mantenimiento segun lo previsto por el fabricante.

1
1

2

3

4
| 1* | Canna fumaria in acciaio con dopbia camera isolata con materiale resistente a 400°C. Efficienza 100% ottima. Steel flue with double chamber insulated with material resistant to 400°C. Efficiency 100% excellent. Schornsteinrohr aus Stahl mit doppelter mit 400°C beständigem Material verkleideter Kammer. Wirkungsgrad 100 % ausgezeichnet. Conduit de fumée en acier avec double chamble isolée avec matériel résistant à 400°C. Efficnce 100% excellente. Conducto de salute de humos de acero con doble-cameraaislada con material resistente a 400 °C. Eficiencia 100% optima. |
| 2* | Canna fumaria in refrattario con dopbia camera isolata e rivestimento esterno in calcestruzzo alleggerito. Efficenza 100% ottima. Refractory flue with double insulated chamber and external coating in lightweight concrete. Efficiency 100% excellent. Schornsteinrohr aus feuerfestem Material mit doppelter isolierter Kammer und Außenverkleidung aus Halbdichtbeton. Wirkungsgrad 100 % ausgezeichnet. Conduit de fumée en refractaire avec double chamble isolée et revêtement externe en béton allégé. Efficence 100% excellente. Conducto de salute de humos de refractario con doble-cameraaislada y revestimiento exterior de hormigon alivianado. Eficiencia 100% optima. |
| 3* | Canna fumaria tradizionale in argilla sezione quadrata con intercapedini. Efficienza 80% buona. Traditional clay flue square section with cavities. Efficiency 80% good. Traditionelles Schornsteinrohr aus Ton - viereckiger Querschnitt mit Spalten. Wirkungsgrad 80 % gut. Conduit de fumée traditionnel en argile section carrée avec séparations. Efficence 80%arbonate. Conducto de salute de humos tradicional de arcilla de sección cuadrada con crujias. Eficiencia 80% buena. |
| 4 | Evitare canne fumarie consezione rettangolare interna il cui rapporto sa diverso dal disegno. Efficienza 40% mediocre. Avoid flues with rectangular internal section whose ratio differs from the drawing. Efficiency 40% poor. Schornsteinrohr mit rechteckigem Innenquerschnitt sind zu vermeiden, dessen Verhältnis von der Zeichnung abweicht. Wirkungsgrad 40 % Éviter conduits de cheminée avec section rectangulaire interne dont le rapport soit différent du dessin. Efficence 40% medico. No utilizes conductos de salute de humos con sección rectangulare interior cuya relacion sea differente de la del dibujo. Eficiencia 40% medicre. |
* - Materiale conforme alle Norme e Regolamentazioni attuali ed a quanto previsto alla Legge.
- Material comply with all current Standards and Regulations and to those envisioned by the Law.
- Material samllichen geltenden und vom Gesetz vorgesehenen Normen und Vorschriften entsprechen.
- Matériau conforme à toutes les Normes et aux Réglementations actuelles prévues par la Loi.
- Material裱 up con las normas y reglamentos vigentes y con todas las disponeciones existables por la ley.

2
1

2

3


4
| 1 | Comignolo industriale ad elementi prefabbricati, consente un ottimo smaltimento dei fumi. Industrial chimney cap with pre-fabricated elements - it allows an excellent discharge of the smokes. Industrialschornstein mit Fertigielelemente - er gestattet eine ausgezeichnete Abgasentsorgung. Tete de cheminée industrielle à éléments préfabriqués, elle permet une excellente évacuation des fumées. Sombreete industrial de éléments prefabricados, permite una optima eliminación de los humos. |
| 2 | Comignolo artigianale. La giusta sezione di uscita deve essere minimo 2 volte la sezione interna della canna fumaria, ideale 2,5 volte. Handicraft chimney cap. The right output section must be at least twice as big as the internal section of the flue (ideal value: 2.5 times). Handwerklicher Schornstein. Der richtige Ausgangsquerschnitt muss mindestens 2 Male des Innenquerschnittes des Schornsteinrohrs betragen, idealäre: 2,5 Male. Tete de cheminéeartisanale. La juste section de sortie doit être minimum 2 fois la section interne du conduit de fumée, idéal 2,5 fois. Sombreete artesanal. La sección correcta de salute debeser comominimum 2 vezes la sección inferior del conducto de salute de humos, idéal 2,5 vezes. |
| 3 | Comignolo per canna fumaria in acciaio con cono interno deflettore dei fumi. Chimney cap for steel flue with internal cone deflector of smokes. Schornstein für Schornsteinrohr aus Stahl mit einer Kegelförmigen Rauchumlenkplatte. Tete de cheminée pour conduit de fumée en acier avec côte interne déflecteur des fumées. Sombreete para conductions de salute de humos de acero con cono interior deflector de humos. |
| 4 | In caso di canne fumarie affiancate un comignolo dovrá sovrastare l'alerno 50 cm al fine d'evitare trasferimenti di pressione tra le canne stesse. In case of flues side by side, a chimney cap must be higher than the other one of at least 50 cm in order to avoid pressure transfers between the flues themselves. Im Falle von naheliegenden Schornsteinrohren muss ein Schornstein den anderen um mindestens 50cm übbragen, um Druckübertragungen unter den Schornsteinrohren selbst zu vermeiden. En cas de conduits de cheminée à côté, une tête de cheminée devra surmonter l'autre d'au moins 50 cm dans le but d'éviter transferts de pression parmi les conduits mêmes. Em caso de conduits de evacuation de fumos paralleLAS, um dos cones de chaminé deve ser instalado em uma posção mais elevada (50 cm, pelo menos,) para impeder a transforência de pressão entre asproprias conduitas. |

3
5
5
El sombreroete no debe enarar obstaculos en un radio de 10 m de muros, faldones y arboles. De lo contrario elvelo por lo menos de 1 metro por encima del obstaculo. El sombreroete debe superar la cumbrera del techo de por lo menos 1 m.
| COMIGNOLI DISTANZE E POSIZIONAMENTO UNI 10683 CHIMNEY CAPS - DISTANCES AND POSITIONING UNI 10683 SCHORNSTEINE ABSTÄNDE UND STELLUNG UNI 10683 TETES DE CHEMINEE ET POSITIONNEMENT UNI 10683 SOMBRERETES DISTANCIAS Y UBICACION UNI 10683 | |
| Inclinazione del fatto Inclination of the roof Dachneigung Inclinaison du toit Inclinación del techo | a >10° |



4
A


B
Todas las distancias minimas de segudad (cm) se muestran en la plac tcnica del producto y NO deben ser empleadas medidas inferiores a estas (vease DELARACION DE PRESTACION - INFORMACION DE LA MARCA CE).
5
| A | Chiusura ermetica | Hermetic closure | Hermetischer Verschluss | Fermeture hermetique | Cierre hermético |
| B | Acciaio Inox Stainless steel Stainless steel Acier Inox | Acier inox | |||
| C | Tamponamento Plugging Abdichtung Tamponnement Tampón | ||||
| D | Sportello di ispezione | Inspection hatch Inspektionsklappe Porte inspection | Portezuela de inspeccion |


6




7
Se expide esta declaracion de prestacion bajo la responsabilitad exclusiva del fabricante, segun se establece en el punto 4.
09/06/2013 Montecchio Precalcino (VICENZA)
Se expide esta declaracion de prestacion bajo la responsabilitad exclusiva del fabricante, segun se establece en el,punto 4.
Se expide esta declaracion de prestacion bajo la responsabilitad exclusiva del fabricante, segun se establece en el punto 4.
PARA CONOCER EL CENTRO DE ASISTENCIA MÁS CERCANO CONTACTAR A SU REVENDEDOR O CONSULTAR EL SITIO WWW.LANORDICA-EXTRAFLAME.COM
IL FABBRICANTE SI RIServa DI VARIARE LE CARATTERISTICHE E I DATI RIPORTATE NEL PRESENTE FASCICOLO IN QUALUNQUE MOMENTO E SENZA PREAVVISO, AL FINE DI MIGLIORARE I PROPRI PRODOTTI.
QUESTO MANUALE, PERTANTO, NON PUO ESSERE CONSIDERATO COME UN CONTRATTO NEI CONFRONTI DI TERZI.
EL FABRICANTE SE RESERVRA EL DERECHO A MODIFICAR LAS CARACTERISTICAS Y LOS DATOS CONTENIDOS EN EL
PRESENTE MANUAL Y SIN PREVIO AVISO, CON EL OBJECTIVO DE MEJORAR SUS PRODUCTOS.
POR LO TANTO Este MANUAL NO SE PUEDE CONSIDERAR COMO UN CONTRATO RESPECTO A TERCEROS.
ManualFácil