HCH6100ACS - Capucha HAIER - Manual de uso y guía de instrucciones gratis
Encuentra gratis el manual del aparato HCH6100ACS HAIER en formato PDF.
Preguntas frecuentes - HCH6100ACS HAIER
Questions des utilisateurs sur HCH6100ACS HAIER
0 question sur cet appareil. Repondez a celles que vous connaissez ou posez la votre.
Poser une nouvelle question sur cet appareil
Descarga las instrucciones para tu Capucha en formato PDF gratis! Encuentra tus instrucciones HCH6100ACS - HAIER y toma tu dispositivo electrónico nuevamente en la mano. En esta página están publicados todos los documentos necesarios para el uso de su dispositivo. HCH6100ACS de la marca HAIER.
MANUAL DE USUARIO HCH6100ACS HAIER
Montaje mural campana extractora de 24", 30" y 36"

SEGURIDAD DE LA CAMPANA DE COCINA 35
REQUISITOS DE INSTALACIÓN ....38
Herramientas y piezas....38
Requisitos de ubicación....39
Requisitos eléctricos 40
INSTRUCCIONES DE INSTALACIÓN 41
Preparación de la ubicación....41
Instalación de la campana de cocina....43
Conexión del sistema de ventilación 43
Conexión del suministro eléctrico....45
Finalización de la instalación ....45
USO DE LA CAMPANA DE COCINA....46
Controles de la campana de cocina 46
USO DE LA CAMPANA DE COCINA....47
Limpieza 47
SOLUCIÓN DE PROBLEMAS....49
LIMITED WARRANTY 50
INFORMACIÓN A TENER EN CUENTA
Le agradecemos la compra de este producto de marca Haier. Este manual para el usuario le ayudará a obtener el mejor funcionamiento de su nueva campana de cocina.
Para referencia futura, anote el número de modelo y de serie en el interior de la campana de cocina, y la fecha de compra.
Engrape la prueba de compra a este manual para asistirle cuando necesite obtener servicio bajo la garantía.
Número de modelo
Número de serie
Fecha de compra
Su seguridad y la seguridad de los demás es muy importante.
Hemos incluido muchos mensajes importantes de seguridad en este manual y en su electrodoméstico. Lea y obedezca siempre todos los mensajes de seguridad.

Este es el símbolo de advertencia de seguridad.
Este símbolo le llama la atención sobre peligros potenciales que pueden ocasionar la muerte o una lesión a usted y a los demás. Todos los mensajes de seguridad irán a continuación del símbolo de advertencia de seguridad y de la palabra "PELIGRO", "ADVERTENCIA" o "PRECAUCIÓN".
Estas palabras significan:
! PELIGRO
ADVERTENCIA
Se trata de una situación de peligro inminente. Si no sigue las instrucciones de inmediato, usted puede morir o sufrir una lesión grave.
Se trata de una situación posiblemente peligrosa que, de no evitarse, podría causar la muerte o una lesión grave.
PRECAUCIÓN
Se trata de una situación posiblemente peligrosa que, de no evitarse, podría causar lesiones moderadas o leves.
Todos los mensajes de seguridad le dirán el peligro potencial, le dirán cómo reducir las posibilidades de sufrir una lesión y lo que puede suceder si no se siguen las instrucciones.
INSTRUCCIONES IMPORTANTES DE SEGURIDAD
ADVERTENCIA: Para reducir el riesgo de incendio, choque eléctrico, lesiones a personas o daños al utilizar la campana de cocina, siga precauciones básicas, incluyendo las siguientes:
- Este aparato está diseñado exclusivamente para el uso doméstico normal de una familia.
- Antes de dar servicio o limpiar esta unidad, apague el suministro de energía en el panel de servicio, y bloquee los medios de desconexión del servicio para evitar que se encienda accidentalmente el suministro de energía. Cuando el medio de desconexión del servicio no se pueda bloquear, sujete de manera segura un dispositivo de advertencia prominente, como una etiqueta, al panel de servicio.
- El trabajo de instalación y cableado eléctrico se debe llevar a cabo por una persona(s) calificada(s), en conformidad con todos los códigos y estándares aplicables, incluyendo construcciones clasificadas como resistentes al fuego.
- No opere ningún ventilador que tenga un cable o enchufe dañado. Deshágase del ventilador o devuélvalo a un centro de servicio técnico autorizado para que sea examinado y/o reparado.
- Es necesario que haya suficiente aire para la adecuada combustión y ventilación de gases a través del conducto (la chimenea) del equipo que consume combustible para evitar que ocurra contratiro. Siga la guía y los estándares de seguridad del fabricante del equipo de calefacción, como son aquellos publicados por National Fire Protection Association (NFPA) (Asociación nacional de protección contra incendios), American Society for Heating, Refrigeration and Air Conditioning Engineers (ASHRAE)) (Sociedad americana de ingenieros de calefacción, refrigeración y aire acondicionado) y las autoridades de códigos locales. A fin de reducir el riesgo de incendio o de choque eléctrico, no use este ventilador con ningún dispositivo semiconductor para el control de la velocidad.
- Cuando corte o taladre en una pared o techo, no dañe el cableado eléctrico ni otros servicios públicos.
- Los ventiladores con conductos siempre deben dar salida al aire hacia el exterior.
- Para usarse solamente en ventilación común. No lo utilice para ventilar materiales y vapores peligrosos o explosivos.
INSTRUCCIONES IMPORTANTES DE SEGURIDAD
- Para reducir el riesgo de incendio y para ventilar el aire adecuadamente, asegúrese de dirigir el aire hacia el exterior; no ventile el aire de salida a espacios dentro de paredes o techos, desvanes, espacios angostos o garajes.
- Para reducir el riesgo de incendio, solo use conductos metálicos.
- A fin de reducir el riesgo de incendio o de choque eléctrico, no use este ventilador con ningún dispositivo semiconductor para el control de la velocidad.
Para reducir el riesgo de incendio provocado por grasa en la superficie de la estufa:
- Nunca deje las unidades de superficie sin vigilancia cuando estén en ajustes altos. Los derrames por hervor causan salpicaduras grasosas y humeantes, las cuales pueden encenderse. Caliente los aceites lentamente y con ajustes bajos o medios.
- Siempre ENCIENDA la campana cuando cocine con calor alto o cuando flamee alimentos (por ejemplo, crepes Suzette, cerezas Jubileo y flameado de carne de res con pimienta).
- Limpie los ventiladores con frecuencia. No permita que se acumule la grasa en el ventilador o en el filtro.
- Limpie los ventiladores con frecuencia. No permita que se acumule la grasa en el ventilador o en el filtro.
Limpie los ventiladores con frecuencia. No permita que se acumule la grasa en el ventilador o en el filtro.
- Nunca deje las unidades de superficie sin vigilancia cuando estén en ajustes altos. Los derrames por hervor causan salpicaduras grasosas y humeantes, las cuales pueden encenderse. Caliente los aceites lentamente y con ajustes bajos o medios.
- La grasa ardiendo fuera del utensilio se puede apagar con bicarbonato de sodio o, si está disponible, un extinguidor de tipo espuma o químico seco multiuso.
- Nunca agarre una cacerola que está ardiendo. Extinga el incendio o use un extinguidor de tipo espuma o químico seco.
- Limpie los derrames de inmediato.
- No deje que el papel aluminio, plástico, papel o telas entren en contacto con una superficie caliente.
- No permita que las cacerolas hiervan estando vacías.
- Siempre tenga un detector de humo en funcionamiento cerca de la cocina.
INSTRUCCIONES IMPORTANTES DE SEGURIDAD
Siempre tenga un detector de humo en funcionamiento cerca de la cocina.
- Extinga el incendio o la llama o use un extinguidor de tipo espuma o químico seco.
Use solo agarraderas secas para ollas
- Las agarraderas para ollas húmedas o mojadas en las superficies calientes pueden ocasionar quemaduras por vapor. No deje que la agarradera para ollas toque los elementos calefactores calientes. No use una toalla ni otros paños voluminosos.
LEA Y GUARDE ESTAS INSTRUCCIONES
REQUISITOS DE INSTALACIÓN
HERRAMIENTAS Y PIEZAS
Reúna las herramientas y piezas necesarias antes de comenzar la instalación. Lea y siga las instrucciones provistas con cualquiera de las herramientas detalladas aquí.
Herramientas necesarias
- Nivel
- Taladro con brocas de 1 ^1/4 " (3 cm), 1 ^1/8 " (3,2 mm) y 5 ^5/16 " (7,9 mm)
• Lápiz - Pelacables o cuchillo de uso general
• Cinta de medir o regla -
Pinzas
-
Pistola para calafateo y masilla para calafateo a prueba de agua
• Abrazaderas para ducto - Sierra de vaivén o sierra caladora
- Destornillador de hoja plana
• Tijeras de hojalatero - Destornillador Phillips
- Juego de llaves hexagonales métricas
Para las instalaciones sin ducto de escape (con recirculación), también necesitará:
- Ducto de ventilación redondo de metal de 6" (15,2 cm) de diámetro - el largo necesario está determinado por la altura del techo.
Piezas suministradas
Retire las piezas de los paquetes. Verifique que estén todas las piezas.
- Cable eléctrico de 120 V con enchufe de 3 terminales
- Ensamblaje del escudete para campana con soplador, pieza de transición del ducto, foco y escudete de vidrio instalados
- Filtro metálico para grasa
-
Soporte de la cubierta del ducto de ventilación
• Plantilla de montaje -
Cubierta del ducto de ventilación de 2 piezas
• 4 tornillos de 4 x 8 - 6 tornillos de montaje de 5 x 45 mm
• 2 anclajes de pared de 8 x 40 mm
• 4 anclajes de pared de 10 x 50 mm
REQUISITOS DE UBICACIÓN
IMPORTANTE: Observe todos los códigos y ordenanzas aplicables.
Haga que un técnico calificado instale la campana de cocina. Es la responsabilidad del instalador cumplir con los espacios libres de instalación especificados en la placa indicadora de modelo/serie. La placa indicadora de modelo/serie está ubicada detrás del filtro izquierdo, en la pared posterior de la campana de ventilación.
La ubicación de la campana con escudete deberá estar lejos de zonas con corrientes fuertes de aire, tales como ventanas, puertas u orificios de calefacción fuertes.
Se requiere un tomacorriente con conexión a tierra. Vea la sección "Requisitos eléctricos".
PARA LA INSTALACIÓN EN CASAS RODANTES
La instalación de esta campana de cocina debe ajustarse a los Manufactured Home Construction Safety Standards (Estándares de seguridad y construcción de casas fabricadas), Título 24 CFR, Parte 328 (anteriormente conocidos como Federal Standard for Mobile Home Construction and Safety [Estándar federal para la seguridad y construcción de casas rodantes], Título 24, HUD Parte 280), o cuando dicho estándar no sea aplicable, el estándar Manufactured Home Installation (Estándar para instalación en casas fabricadas) de 1982 (Manufactured Home Sites, Communities and Setups [Obras, comunidades y proyectos de casas fabricadas]), ANSI A225.1/NFPA 501A, o la última edición o con los códigos locales.
REQUISITOS ELÉCTRICOS
Observe todos los códigos y ordenanzas aplicables.
Asegúrese de que la instalación eléctrica sea adecuada y en conformidad con el National Electrical Code (Código Nacional Eléctrico), ANSI/NFPA 70 (última edición) o las normas de CSA C22.1-94, Canadian Electrical Code (Código canadiense de electricidad), Parte 1 y C22.2 N.° 0-M91 (última edición), y todos los códigos y ordenanzas locales.
Si los códigos lo permiten y se emplea un alambre de conexión a tierra separado, es recomendable que un instalador eléctrico calificado determine si la trayectoria de conexión a tierra es la correcta.
Usted puede obtener una copia de las normas de los códigos arriba indicadas en:
Es importante asegurarse de que cuenta con la conexión eléctrica adecuada.
MÉTODO DE CONEXIÓN A TIERRA RECOMENDADO
Se requiere suministro eléctrico de 120 Voltios, 60 Hz, CA solamente y con fusibles de 15 amperios, debidamente conectado a tierra. Use un tomacorriente que no se pueda apagar con un interruptor. No use un cable eléctrico de extensión.
NOTA: Antes de limpiar o quitar el foco, gire y retire la campana de ventilación y luego, desconéctela de la fuente de energía eléctrica. Cuando termine, vuelva a conectar la campana de ventilación a la fuente de energía eléctrica.
INSTRUCCIONES DE INSTALACIÓN
PREPARACIÓN DE LA UBICACIÓN
- Se recomienda que el sistema de ventilación sea instalado antes de que se coloque la campana.
- Antes de hacer los recortes, asegúrese de que haya suficiente espacio libre dentro del techo o la pared para el ducto de escape.
-
Verifique la altura de su techo y la altura máxima de la campana antes de seleccionar su campana.
-
Desconecte el suministro de energía.
-
Decida qué método de ventilación usar: techo, pared o sin ducto de escape.
-
Seleccione una superficie plana para ensamblar la campana de cocina. Cubra dicha superficie.
ADVERTENCIA
Peligro de Peso Excesivo
Use dos o más personas para mover e instalar la campana de cocina. No seguir esta instrucción puede ocasionar una lesión en la espalda u otro tipo de lesiones.
- Con la ayuda de dos o más personas, levante la campana de cocina y colóquela en la superficie cubierta.
MONTAJE DE LA CAMPANA DE COCINA EN LA PARED
- Determine y marque la línea central en la pared en donde se instalará la campana con escudete.
- Seleccione una altura de montaje entre un mínimo de 24" (61 cm) para una superficie de cocción eléctrica, un mínimo de 27" (68,6 cm) para una superficie de cocción a gas y un máximo sugerido de 36" (91,4 cm) por encima de la estufa hasta la base de la campana. Marque una línea de referencia en la pared.
- Coloque la campana de ventilación en la pared, sujete para alinear y fijar con tornillos y anclajes de tornillos aptos para el tipo de pared (hormigón armado, placa de yeso, etc.).
- Marque los centros de las ubicaciones de los ajustadores a través de la plantilla en la pared.
IMPORTANTE: Todos los tornillos deben instalarse en madera. Si no hay madera en la cual instalarlos, se necesitarán soportes adicionales para el marco de pared.
Retire la plantilla.
-
Taladre orificios piloto de 316 " (4,8 mm) en todos los lugares donde se colocarán los tornillos.
-
Instale los 2 tornillos de montaje de 5 x 45 mm. Deje un espacio de 1/4" (6,4 mm) entre la pared y la parte posterior de la cabeza del tornillo para deslizar la campana de cocina en su lugar.

text_image
1/4" (6,4 mm)INSTALACIÓN DEL SOPORTE DE LA CUBIERTA DEL DUCTO DE VENTILACIÓN
- Sujete el soporte de la cubierta del ducto de ventilación a la pared de modo que quede alineado al techo usando 2 tornillos de 5 x 45 mm.

FINALIZACIÓN DE LA PREPARACIÓN
- Determine y haga todos los cortes necesarios en la pared para el sistema de ventilación. Instale el sistema de ventilación antes de instalar la campana. Vea la sección "Requisitos de ventilación".
- Determine la altura necesaria para el cable de suministro eléctrico de la casa y taladre un orificio de 1 ^1/4 " (3,2 cm) en esa ubicación.
- Haga pasar el cable de suministro de energía de la casa según las normas del National Electrical Code (Código Nacional Eléctrico) o CSA (Asociación de Normalización Canadiense) y los códigos y ordenanzas locales. Debe haber suficiente conducto de 12 " y alambres de la caja de desconexión con fusible (o cortacircuitos) para hacer la conexión en la caja eléctrica de terminales de la campana.
NOTA: No reconecte el suministro de energía hasta que se haya completado la instalación.
- Use masilla de calafateo para sellar todas las aberturas.
INSTALACIÓN DE LA CAMPANA DE COCINA
- Con la ayuda de dos o más personas, cuelgue la campana de cocina sobre 2 tornillos de montaje a través de las ranuras de montaje que están sobre la parte posterior de la campana.

- Retire el filtro para grasa. Vea la sección "Cuidado de la campana de cocina".
- Nivele la campana de cocina y apriete los tornillos de montaje superiores.
- Instale 2 tornillos de montaje inferiores de 5 x 45 mm y apriételos.
CONEXIÓN DEL SISTEMA DE VENTILACIÓN
Solamente para las instalaciones sin ducto de escape (con recirculación):
- Ensamble el desviador de aire con el soporte de la cubierta del ducto usando 4 tornillos de ensamblaje provistos con el juego de recirculación.

Ⓐ Tornillos de ensamblaje
B Desviador de aire
© Soporte de la cubierta del ducto
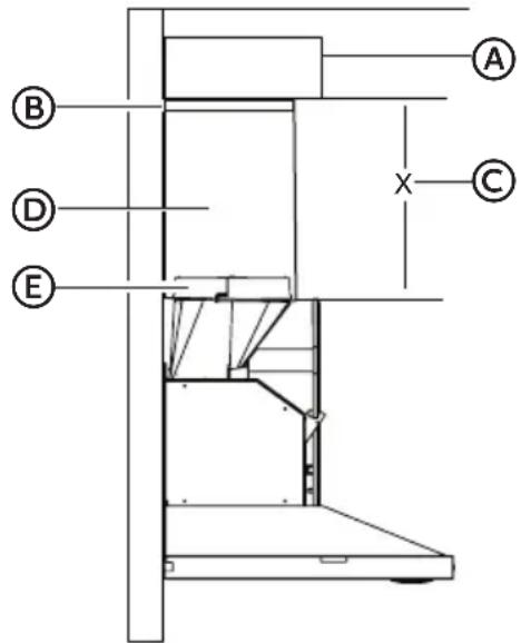
- Mida desde la parte inferior del desviador de aire hasta la parte inferior de la salida de la campana.

text_image
A B D E CⒶ Desviador de aire
B Abrazadera para ducto
© X = longitud para cortar el ducto de ventilación
Ducto de ventilación
E Salida de escape
- Corte el ducto para el tamaño medido (X).
- Retire el desviador de aire.
- Deslice el ducto sobre la parte inferior del desviador de aire.
- Coloque el desviador de aire y el ducto ensamblados sobre la salida de escape que viene de la campana.
- Vuelva a ensamblar el desviador de aire al soporte de la cubierta del ducto con los 4 tornillos de ensamblaje.
- Selle las conexiones con las abrazaderas para ducto.
ADVERTENCIA

Peligro de Choque Eléctrico
Conecte a un contacto de pared de conexión a tierra de 3 terminales.
No quite el terminal de conexión a tierra del cable de alimentación.
No use un adaptador.
No use un cable eléctrico de extensión.
No seguir estas instrucciones puede ocasionar la muerte, incendio o choque eléctrico.
- Enchufe un tomacorriente de conexión a tierra de 3 terminales.
FINALIZACIÓN DE LA INSTALACIÓN
- Solamente para las instalaciones sin ducto de escape (con recirculación), instale los filtros de carbón sobre el filtro metálico para grasa. Vea la sección "Cuidado de la campana de cocina".
- Instale los filtros de metal. Vea la sección "Cuidado de la campana de cocina".
- Verifique el funcionamiento del soplador de la campana de cocina y la luz. Vea la sección "Uso de la campana de cocina".
NOTA: Para obtener un uso más eficaz de su nueva campana de cocina, lea la sección "Uso de la campana de cocina".
USO DE LA CAMPANA DE COCINA
La campana de cocina se ha diseñado para sacar humo, vapores provenientes de la cocción y olores del área de la superficie de cocción. Para obtener mejores resultados, encienda la campana antes de cocinar y permita que funcione por 15 minutos después de haber cocinado, para que quite todo el humo y los olores de la cocina.
Los controles de la campana están ubicados en el lado frontal del escudete.

Ⓐ Cubierta del ducto
B Panel de control
© Escudete de vidrio
© Cubierta de la lámpara
E Foco halógeno
F Liberación del filtro para grasa
© Filtro para grasa
CONTROLES DE LA CAMPANA DE COCINA

text_image
A B C D E I II III ☀️(A) Encendido/apagado
B Velocidad 1
© Velocidad 2
(D) Velocidad 3
E Luz
CÓMO UTILIZAR LA LUZ
El botón de la luz controla ambas luces. Presione una vez para Encendido y nuevamente para Apagado.
CÓMO UTILIZAR EL SOPLADOR
Los botones de velocidad del soplador encienden el soplador y controlan la velocidad y el nivel de sonido de éste para un funcionamiento silencioso. La velocidad se puede cambiar en cualquier momento mientras el ventilador esté funcionando, presionando el botón de la velocidad deseada del soplador.
USO DE LA CAMPANA DE COCINA
LIMPIEZA
IMPORTANTE: Limpie con frecuencia la campana y los filtros para grasa de acuerdo con las instrucciones a continuación. Vuelva a colocar los filtros para grasa antes de poner a funcionar la campana.
SUPERFICIES EXTERIORES:
Para evitar daños a la superficie exterior, no use estropajos de acero ni jabonosos.
Siempre séquela con un paño para evitar manchas de agua.
Método de limpieza:
- Detergente líquido y agua o producto de limpieza general
- Límpiela con un paño suave húmedo o una esponja no abrasiva, enjuáguela con agua limpia y séquela con un paño.
FILTRO METÁLICO PARA GRASA
- Empuje hacia arriba la parte del medio del lado derecho del vidrio decorativo para abrir la puerta.

- Retire los filtros de metal.
- Lave los filtros de metal cuando sea necesario en la lavavajillas o con una solución caliente de detergente.
- Vuelva a colocar los filtros metálicos para grasa.
FILTRO DE CARBÓN
El filtro de carbón no se puede lavar. Debe durar hasta 6 meses con un uso normal.
Para reemplazar el filtro de carbón:
- Retire el filtro metálico para grasa de la campana de cocina. Vea "Filtro metálico para grasa" en esta sección.
- Doble los sujetadores con resorte para separarlos del filtro metálico para grasa.

- Coloque el filtro de carbón en el lado superior del filtro metálico.
- Doble los sujetadores con resorte nuevamente hacia dentro en su lugar para asegurar el filtro de carbón al filtro metálico.
- Vuelva a colocar el filtro metálico para grasa. Vea "Filtro metálico para grasa" en esta sección.
CÓMO REEMPLAZAR UNA LÁMPARA
Apague la campana de cocina y espere a que se enfríe la lámpara. Para evitar dañar o disminuir la vida útil del nuevo foco, no lo toque con los dedos descubiertos. Reemplace el foco usando un pañuelo de papel o guantes de algodón para manipular el foco.
Si las nuevas lámparas no funcionan, cerciórese de que se han insertado correctamente antes de llamar para solicitar servicio técnico.
- Desconecte el suministro de energía.
- Use un destornillador de hoja plana para abrir la cubierta de luz.
- Evite el contacto con la piel, reemplace el foco usado con un foco halógeno nuevo del mismo tamaño, forma y vatiaje.

- Vuelva a colocar la pantalla de luz y cierre a presión.
- Vuelva a conectar el suministro de energía.
SOLUCIÓN DE PROBLEMAS
Prueve primero las soluciones sugeridas aquí para evitar posiblemente el costo de una visita de servicio técnico.
| Problema Posible Causa Solución | ||
| La campana no funciona | Suministro eléctrico Verifique | que que la campana esté enchufada en un contacto. |
| Verifique que esté encendida. | ||
| Flujo de aire deficiente | Los filtros de aluminio para grasa están obstruidos. | Limpie y seque los filtros y, luego, vuélvalos a colocar. |
| Los filtros de carbón están obstruidos. | Reemplace los filtros de carbón. | |
| El motor funciona, pero no hay flujo de aire. | La válvula de mariposa está atascada. | Llame para solicitar servicio técnico. |
| Después de funcionar por un rato, el motor se detiene. | Está activado el dispositivo de seguridad de alta temperatura. | La cocina no se ventila lo suficiente. |
| La campana está instalada demasiado cerca de la estufa. | La campana debe estar, por lo menos, a 25 ^5/8 " (65 cm) arriba de la estufa. | |
| Fuerte olor de la cocina | No se instalaron los filtros de carbón. | En el modo de recirculación, se deben instalar los filtros de carbón. |
| Gotea aceite sobre la estufa | La taza de aceite no está o no se instaló. | Vuelva a colocar el filtro de aluminio y la taza de aceite. |
| Filtro de aluminio para grasa saturado. | Lave los filtros de aluminio para grasa. | |
| Sonido de runruneo | Problema con las aspas del ventilador. | Llame para solicitar servicio técnico. |
SI NECESITA MÁS AYUDA, VISITE HAIER.COM O COMUNÍQUESE CON LA LÍNEA DE AYUDA AL CONSUMIDOR LLAMANDO AL 1-877-377-3639.
GARANTÍA LIMITADA
SERVICIO EN EL HOGAR
GARANTÍA COMPLETA POR UN AÑO
Durante 12 meses a partir de la fecha de compra original en la tienda, Haier reparará o reemplazará cualquier pieza del aparato sin costo, incluyendo la mano de obra, si la misma falla debido a defectos en los materiales o en la mano de obra.
Haier puede reemplazar o reparar, a su sola discreción, cualquier pieza, subsistema, incluso el producto entero.
El producto debe ser accesible, sin inconvenientes, e instalarse de forma adecuada para recibir el servicio técnico de reparación por parte de la garantía.
GARANTÍA LIMITADA
NOTA: Esta garantía comienza en la fecha de compra de este producto, y el recibo original deberá presentarse al representante autorizado de servicio antes de hacerse las reparaciones bajo la garantía.
Excepciones: Garantía uso comercial
90 días en la mano de obra a partir de la fecha de compra original
90 días en las piezas a partir de la fecha de compra original
No es aplicable ninguna otra garantía.
PARA OBTENER SERVICIO BAJO LA GARANTÍA
Póngase en contacto con el centro de servicio autorizado más cercano a su localidad. Todo servicio deberá ser realizado por un centro de servicio autorizado por Haier. Para obtener el nombre y el número de teléfono del centro de servicio autorizado más cercano, llame al 1-877-337-3639.
Antes de llamar, tenga a mano la siguiente información:
Número de modelo y de serie del aparato. El nombre y la dirección del distribuidor en donde compró la unidad y la fecha de compra. Una descripción clara del problema.
Un comprobante de compra (recibo de compra).
Esta garantía cubre servicios para electrodomésticos dentro de los Estados Unidos continental y Canadá y donde esté disponible en Alaska, Hawaii y Puerto Rico. Lo que no está cubierto bajo esta garantía:
Reemplazo o reparación de fusibles domésticos, cortacircuitos, cableado o plomería.
Un producto cuyo número de serie original haya sido removido o alterado.
Cualquier cargo por servicio que no haya sido identificado específicamente como servicio normal, como puede ser el área o las horas de servicio.
Daños a la ropa.
Daños ocurridos durante el transporte.
Daños ocasionados por la instalación o el mantenimiento inadecuados.
Daños por el uso incorrecto, abuso, accidente, incendio, inundación o fenómenos de la naturaleza.
Daños debidos al servicio efectuado por un distribuidor o centro de servicio que sea diferente del autorizado por Haier.
Daños ocasionados por la corriente, el voltaje o el suministro eléctrico incorrectos.
Daños que resulten de cualquier modificación hecha en el producto, alteración o ajustes no autorizados por Haier.
Ajuste de los controles manejados por el cliente según han sido identificados en el manual del propietario.
Mangueras, perillas, bandejas de pelusa y todos los otros aditamentos, accesorios y piezas desechables.
Cargos por mano de obra, transporte para el servicio y envío para la remoción y el reemplazo de las piezas defectuosas que se efectúen después del período inicial de 12 meses.
Daños ocasionados por un uso diferente al doméstico normal.
Cualquier gasto de transporte y de envío.
ESTA GARANTÍA LIMITADA REEMPLAZA TODAS LAS OTRAS GARANTÍAS, EXPRESAS O IMPLÍCITAS QUE INCLUYAN, ENTRE OTRAS, LAS GARANTÍAS DE COMERCIABILIDAD O DE CAPACIDAD PARA UN PROPÓSITO EN PARTICULAR
El recurso provisto en esta garantía es exclusivo y está otorgado en lugar de cualquier otro recurso.
Esta garantía no cubre daños incidentales o consecuentes, de modo que las limitaciones indicadas anteriormente pueden no aplicarse en su caso. Algunos estados no permiten las limitaciones acerca de cuánto tiempo dura una garantía implícita, de modo que las limitaciones arriba indicadas quizás no le correspondan.
Esta garantía le otorga derechos legales específicos, y es posible que usted tenga otros derechos, los cuales varían de un estado a otro.
Haier America
Wayne, NJ 07470
IMPORTANT
Do Not Return This Product To The Store
No regrese este producto a la tienda
Si tiene algún problema con este producto, por favor contacte el
"Centro de Servicio al Consumidor de Haier" al
1-877-337-3639 (Válido solo en E.U.A).
NECESITA UNA PRUEBA DE DE COMPRA FECHADA, NÚMERO DE MODELO
Y DE SERIE PARA EL SERVICIO DE LA GARANTÍA
Made in China
Fabriqué en Chine
Hecho en China
Haier
Haier America
Wayne, NJ 07470
ManualFácil